Контрольная работа: Розрахунок і вибір елементів електропривода механізму підйому
|
Название: Розрахунок і вибір елементів електропривода механізму підйому Раздел: Промышленность, производство Тип: контрольная работа | ||||||||||||
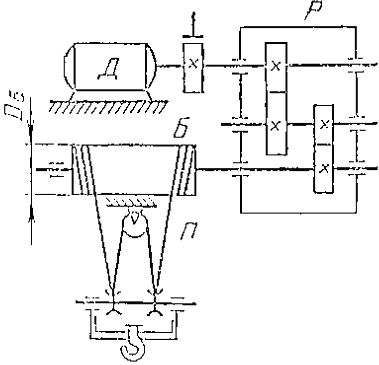
Розрахунок і вибір елементів електропривода механізму підйому 1. Визначення типу привідного електродвигуна та основних параметрів кінематичної схеми Основною напругою для живлення кранових механізмів необхідно прийняти трифазну напругу Uл = 380 В частотою f = 50 Гц. У якості привідного двигуна механізму підйому доцільно прийняти асинхронний трифазний електродвигун із фазним ротором типу МТН. Ураховуючи те, що електродвигун, як правило, має кутову швидкість більшу, ніж швидкість обертання барабана лебідки, в кінематичній схемі механізму підйому необхідно передбачити застосування стандартного знижувального редуктора. Для розрахунку слід прийняти однокінцеву підйомну лебідку (неврівноважений підйомний механізм). Потрібно орієнтуватись на кінематичну схему механізму підйому (рис.1).
![]() Рис.1. Кінематична схема механізму підйому мостового крана Для таких механізмів залежно від максимальної висоти підйому Н розрахункова швидкість підйому вантажу визначається як
Кранові асинхронні двигуни з фазним ротором мають стандартні значення частоти обертання електромагнітного поля: nо = 600 хв-1 ; wо = 62,8 c-1 ; nо = 750 хв-1 ; wо = 78,5 c-1 ; nо = 1000 хв-1 ; wо = 104,7 c-1 . Величина n0 залежить від параметрів таким чином :
де i – передавальне число редуктора (i= 9; 10; 11; 12; 12,5; 14; 16; 18; 20; 22,4; 25; 28; 31,5; 35,5; 40; 45; 50; 56; 63; 71; 80; 90; 100; 112; 125; 140); m – кратність поліспаста (практично m = 1, 2, 3, 4, 5, 6, 7, 8); Rб – радіус барабана лебідки, м . На попередньому етапі розрахунку необхідно визначити добуток
Значення nо слід вибрати з трьох наведених вище, починаючи з більшого (менша кількість пар полюсів приводить до зниження вартості двигуна). Використовуючи стандартний ряд значень передавальних чисел редуктора, необхідно визначити кратність поліспаста m і передавальне число i , після чого потрібно уточнити фактичну швидкість підйому за формулою
Подальші розрахунки необхідно виконувати на базі фактичної швидкості 2. Визначення статичних навантажень, побудова статичної навантажувальної діаграми та встановлення режиму роботи електропривода При побудові статичної навантажувальної діаграми слід визначити статичні навантаження на валу двигуна і барабані при підйомі та опусканні вантажу гака. Сила опору при підйомі вантажу F = (Gвант +Gо ) , Н. ( 5 ) Статичний момент опору на валу барабана
Статичний момент опору на валу двигуна при підйомі вантажу
Статичний момент опору на валу двигуна при опусканні вантажу
Статичний момент опору на валу двигуна при підйомі гака
Статичний момент опору на валу двигуна при опусканні гака
де Rбар – радіус барабана лебідки, м ; m – кратність поліспаста; і – передавальне число редуктора;
g = 9,8 – прискорення вільного падіння, м/с2 . Для механізму підйому необхідно взяти до уваги чотири робочі операції: підйом вантажу, опускання вантажу, підйом гака, опускання гака. Розрахункову тривалість робочих операцій потрібно визначати таким чином:
де Н – висота підйому вантажу, м ;
У процесі розрахунку необхідно прийняти
де На першому етапі розрахунку слід побудувати в масштабі статичну (без урахування динамічних навантажень) навантажувальну діаграму механізму підйому, беручи до уваги розрахункову тривалість робочих операцій (рис. 2). Потім необхідно уточнити навантажувальну діаграму (врахувати динамічні навантаження). У процесі розрахунку потрібно визначити режим роботи електропривода. Особливість роботи механізму підйому – часті пуски електродвигуна при відносно невеликій тривалості робочих операцій. Це відповідає повторно-короткочасному режиму роботи електрообладнання. За даними статичної навантажувальної діаграми необхідно визначити розрахункове значення тривалості ввімкнення (ТВ)
де S tP і S tп – тривалість відповідно робочих операцій та пауз між ними, с ; сума S tP + S tп – тривалість циклу. Величину ТВ далі слід уточнити і при виборі двигуна за каталожними даними (або з додатків) прийняти з ряду стандартних значень: ТВкат = 25; 40; 60; 100 %. 3. Розрахунок необхідної потужності привідного електродвигуна Для попереднього розрахунку необхідної потужності електродвигуна потрібно визначити статичний момент механізму підйому
Розрахункову потужність двигуна слід визначати з рівності
Потужність двигуна необхідно привести до стандартного (каталожного) значення
де R кат , T B кат – каталожні значення потужності і тривалості ввімкнення; R розр , T B розр – розрахункові значення цих величин. Згідно з додатком 4 потрібно вибрати найближчий більший за потужністю двигун. При цьому треба виконати умову
Якщо потужність вибраного електродвигуна більша (160 кВт (при ТВ
= = 40%) або 125 кВт (при ТВ
= 60%)), то необхідно розрахунок виконати знову, збільшивши добуток 4. Побудова повної навантажувальної діаграми Для побудови повної навантажувальної діаграми необхідно розрахувати приведений до вала двигуна момент інерції механізму, який з урахуванням моменту інерції ротора потрібно встановити з умови
де Jдв – момент інерції ротора, кг. м2 ; 0,15Jдв – момент інерції (приведений) передавального механізму, кг. м2 ; m = Gвант + G0 – маса поступально-рушійних частин механізму з ураху- ванням маси вантажу, кг ;
Приведений момент інерції необхідно визначити для номінального навантаження привода, тому що в інших режимах він несуттєво відрізняється від номінального. Доцільно обчислити середній пусковий момент за формулою
де
Час (тривалість) пуску електродвигуна на робочих операціях необхідно визначити за формулами :
Динамічні моменти під час пуску електродвигуна слід обчислити за формулами:
Час (тривалість) роботи механізму при виконанні робочих операцій у статичному режимі необхідно визначити за формулами:
Базуючись на розрахункових значеннях При побудові повної навантажувальної діаграми має виконуватись умова
Для операції підйому вантажу необхідно визначити суму
та розрахувати похибку
Розрахункова похибка не повинна перевищувати 10% . Якщо похибка буде більшою від 10%, то треба попередній розрахунок виконати ще раз, вибравши більший за потужністю електродвигун при тому ж значенні ТВ. 5. Перевірка температурного режиму (нагрівання) та перевантажувальної здатності вибраного електродвигуна Перевірку вибраного двигуна механізму підйому на нагрівання потрібно здійснювати з урахуванням повної навантажувальної діаграми. При цьому еквівалентний момент навантаження становить
де a = 0,75; b = 0,5 – коефіцієнти, що враховують умови охолодження в режимах “пуск” та “стоп”; tпi – час пуску на кожній операції, с ; Mст.і – статичний момент на кожній операції, Н. м ; tст.i – час роботи при виконанні кожної операції у статичному режимі, с; tпауз.i – тривалість пауз, с. Умовою перевірки перевантажувальної здатності електродвигуна є
де Слід зробити висновок про виконання умови 6. Розрахунок та побудова природної механічної характеристики Для побудови природної механічної характеристики потрібно визначити номінальне ковзання
Далі необхідно розрахувати критичне ковзання
де У процесі проектування слід побудувати природну механічну характеристику, використовуючи рівняння механічної характеристики (спрощену формулу Клоса),
Значення n необхідно розрахувати за формулою
7. Розрахунок і вибір пускових резисторів Пускові резистори при пуску АД із фазним ротором служать для обмеження величини пускового струму двигуна та збільшення значення пускового моменту і тим самим поліпшення умов проходження процесу пуску. Пускові резистори вмикаються у кожну фазу ротора АД (рис. 3). Зазвичай повний опір пускових резисторів Rп розбивається на секції, кількість яких відповідає кількості штучних механічних характеристик.
![]() Рис. 3. Принципова схема АД із фазним ротором На цій схемі пускові резистори в кожній фазі складаються з двох секцій Rп =R01 +R02 . Кожному значенню опору кола ротора (R1 =Rрот +R01 +R02 , R2 =Rрот +R02 , R3 =Rрот ) відповідає своя механічна характеристика, за котрою двигун прискорюється. При пуску двигуна першими замикаються контакти Л
у колі статора (при розімкнених контактах прискорення 1п
, 2п
). При цьому статор під’єднується до мережі живлення з повним опором Rn
у колі ротора. Це обмежує пусковий струм та збільшує початковий пусковий момент. Ротор під дією початкового пускового моменту Зі збільшенням обертів двигуна опір кола ротора необхідно зменшувати. При досягненні швидкості n1
та зменшенні моменту на валу контактами прискорення 1п
вимикається (шунтується) перша секція (резистори R01
), а при швидкості n2
контактами 2п
вимикається друга секція (резистори R02
). Пуск закінчується на природній механічній характеристиці Величини пускових резисторів і їх кількість можна розрахувати аналітичним або графічним методами. |

, ( 2 )
. ( 6 )
. ( 7 )
, Н.
м. ( 8 )
, Н.
м. ( 9 )
, Н.
м, ( 10 )
, ( 11 )
, %, ( 13 )
( 14 )
, кВт, ( 15 )
, кг.
м2
, ( 16 )
– номінальна швидкість двигуна, с-1
.
( 17 )
(18)
( 19 )
( 20 )
( 21 )
( 22 )
( 23 )
( 24 )
. ( 31 )
( 32 )
, Н.
м.
( 33 )
( 34 )
( 35 )