Курсовая работа: Самоходный стреловый кран
|
Название: Самоходный стреловый кран Раздел: Рефераты по транспорту Тип: курсовая работа | ||||||||||||||||||||||||||||||||||||||||
| Содержание Введение 1. Описание машины 2. Описание и работа рабочих органов 2.1 Ходовая часть 2.2 Поворотная платформа 2.3 Стреловое оборудование 2.4 Гидравлическое оборудование крана 3. Расчет механической части Заключение Список литературы Грузоподъёмные машины – это машины циклического действия, предназначенные для подъёма и перемещения грузов на небольшие расстояния в пределах определенной площадки. Грузоподъёмные машины разнообразны по принципам действия, назначению, исполнению, конфигурации обслуживаемой площади. Наибольшее распространение имеют машины общего назначения, универсальные, предназначенные для выполнения только подъёмно-транспортных операций. В частности, к таким устройствам относят самоходные гусеничные и пневмоколесные краны общего назначения. Их преимущество перед остальными видами кранов проявляется в высокой мобильности устройств: возможности быстрого перемещения грузоподъемного механизма с одного места на другое, возможность использования на практически любом грунтовом основании без существенной подготовки, достаточно компактные размеры. Их недостатки: ограниченная грузоподъемность и размеры. В данной работе рассмотрен самоходный стреловый кран с грузоподъемностью 50 тонн. 1. Описание машины Стреловой самоходный полноповоротный кран на специальном шасси автомобильного типа КШТ-50.01 (рис. 1) предназначен для выполнения строительно – монтажных, погрузочно – разгрузочных, аварийно – восстановительных работ на рассредоточенных объектах. Может работать с основным крюком на телескопической стреле длиной от 10,6 м до 34,5 м; вспомогательным крюком при установке удлинителей 9,5м или 16м. Работа крана в соответствии с грузовыми характеристиками только при работе на выносных опорах. Основные технические характеристики представлены в таблице 1. Таблица 1. Технические характеристики КШТ-50.01.
Общий вид и основные размеры крана в транспортном положении приведены на рисунке 1.
Рис. 1. Общий вид крана КШТ-50.01 в транспортном положении. 1 – стрела; 2 – ходовая часть; 3 – крюковая подвеска 50т; 4 – шкворень; 5 – платформа поворотная; 6 – сменное стреловое оборудование (на рисунке показана часть удлинителя стрелы). Основные составные части: - ходовая часть; - поворотная платформа; - телескопическая стрела; - сменное стреловое оборудование. Ходовая часть – 4-х-осное шасси автомобильного типа. На шасси устанавливают насосы гидросистем. Поворотная платформа служит базой для установки крановых механизмов. Механизмы на платформе приводятся в действие при помощи аксиально-поршневых гидродвигателей и гидроцилиндров, питающихся от насосов расположенных на шасси. Применение гидроприводов обеспечивает широкие диапазоны регулирования. Телескопическая стрела – 4-х секционная с регулируемой длиной от 10,6 м до 34,5 м. Стрела обеспечивает выдвижение при наличии груза на крюке, что увеличивает возможности крана. Сменное стреловое оборудование: удлинители 9,5 м и 16 м, увеличивают высоту подъема и пространство под стрелой, что позволяет поднимать грузы больших габаритов. 2. Описание и работа рабочих органов 2.1 Ходовая часть Ходовая часть – шасси автомобильного типа 6923 – 0000010 - это 4-хосное колесное шасси. Общий вид колесного шасси представлен на рис. 2.
Рис. 2. Ходовая часть. 1 – шасси 6923-0000010; 2 – опоры выносные; 3 – стойка поддерживающая; 4 – гидрооборудование; 5 – вал карданный привода установки; 6 – редуктор; 7 – гидрораспределитель выносных опор. Шасси оснащено выносными опорами, поддерживающей стойкой и гидрооборудованием: масляным баком, гидропанелью, гидрораспределителями выносных опор, гидрооборудование опор, редуктор привода насосов и тремя гидронасосами. Привод гидронасосов осуществляется от входного вала раздаточной коробки шасси при помощи карданного вала. В передней и задней частях шасси расположены выдвижные балки выносных опор. Они увеличивают опорную базу крана. В каждую балку вмонтированы гидроцилиндры выдвижения балки и силовой гидроцилиндр для установки крана на опоры. При установке на опоры используются подпятники, которые крепятся на штоках опор при помощи рычагов. При транспортном положении – они крепятся на крыльях шасси. 2.2 Поворотная платформа Состоит из поворотной рамы, опорно-поворотного устройства, механизма поворота, основной грузовой лебедки с ограничителем сматывания и прижимным роликом; вспомогательной лебедки с ограничителем и прижимным роликом; противовеса, гидрооборудования, гидроцилиндр подъёма стрелы, кабины с постом управления, электрооборудования и стопоры поворотной платформы. К поворотной раме крепятся шарнир крепления стрелы, цилиндр подъёма стрелы. Общий вид поворотной платформы представлен на рис. 3.
Рис. 3. Платформа поворотная общий вид. 1 – опорно-поворотное устройство; 2 – гидроцилиндр подъёма стрелы; 3 – пост управления; 4 – кабина; 5 – токоприёмник кольцевой; 6 – механизм поворота; 7 – лебедка вспомогательная; 8 – лебёдка основная; 9, 11 – ролики прижимные; 10 – противовес; 12 – рама поворотная; 13 – маслоохладитель; 14 – соединение шарнирное; 15 – стопор. 2.3 Стреловое оборудование Стреловое оборудование крана включает в себя телескопическую стрелу и крюковую подвеску грузоподъёмностью 50т. Кран может оснащаться сменным стреловым оборудованием из монтируемого удлинителя и крюковой подвески грузоподъёмностью 6,3т. Общий вид телескопической стрелы приведен на рис. 4, вид крана с дополнительным стреловым оборудованием – рис. 5. Стрела состоит из 4-х секций: основания, 2-х выдвижных секций и головки. В стреле находятся гидроцилиндр и канатный механизм телескопирования. Стрела выполнена сварной, из высокопрочной малолегированной стали. Концы секций имеют окантовку которая придаёт им прочность и жесткость.
Рис. 4. Стрела телескопическая
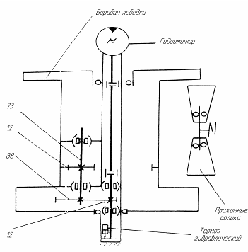
Рис.5. Стреловое оборудование сменное. 1 – стрела; 2 – крюковая подвеска грузоподъёмностью 50т; 3 - крюковая подвеска грузоподъёмностью 6,3т; 4 – удлинитель 9,5м; 5 – трос; 6 – удлинитель 16м. 2.4 Гидравлическое оборудование крана Применение гидравлического привода обусловлено несколькими причинами, основная из которых – малые габариты при высокой удельной мощности, возможность плавного регулирования скорости движения, надежность и долговечность. Гидроприводы используются в тех случаях, когда невозможно использовать электропривод (например, если требуются относительно небольшие по размеру устройства), в т.ч. – в самоходных подъёмных устройствах большой грузоподъёмности. Недостатками выбранного типа приводов можно считать: высокая стоимость, трудность предупреждения утечек рабочей жидкости, ухудшение работы при низких температурах, необходимость частой смены рабочей жидкости. В данной модели применили объёмный гидропривод, с приводом от двигателя шасси. Служит для установки и снятия крана с выносных опор и питает рабочей жидкостью гидросистемы поворотной платформы. Гидросистема поворотной платформы служит для привода крановых механизмов: основной и вспомогательной лебёдок, механизмов подъёма и телескопирования стрелы. Гидросистема состоит из 2-х основных и контура управления. Контур 1 – привод механизмов поворота, механизма подъёма и телескопирования стрелы. Контур 2 – приводы основной и вспомогательной лебедок. Контур управления – дистанционное управление контура, привод компрессора кондиционера и вентилятора маслоохладителя. 3. Расчет механической части Произведем расчет мощности двигателя привода главной лебедки, как одной из наиболее ответственных частей, обеспечивающих подъём груза требуемой массы на определённую высоту с заданной скоростью. Кинематическая схема привода приведена на рис. 6.
Рис. 6. Кинематическая схема привода главной лебедки. Максимальное натяжение каната определим по формуле:
где G – вес груза, Н; η – КПД полиспаста, а – кратность полиспаста.
Момент сопротивления на валу двигателя, создаваемый весом груза и силами трения в элементах механизма:
где Средний пусковой момент
где Момент инерции барабана
Общий КПД подъёмного механизма
Момент на валу двигателя при подъёме груза с постоянной номинальной скоростью
Мощность двигателя при подъёме груза с постоянной номинальной скоростью
Механизм привода барабана главной лебедки приведен на рис. 7.
Рис. 7. Привод барабана главной лебедки. 1 – барабан; 2 – основание; 3 – вал; 4 – подшипник; 5 – вал-шестерня; 6 – пробка; 7 – подшипник; 8 – корпус; 9 – тормоз; 10 – опора; 11, 17 – болт; 12 – крышка; 13 – колесо зубчатое; 14 – подшипник; 15 – вал; 16 – подшипник; 18 – опора; 19 – шайба; 20 – гидромотор; 21 – втулка шлицевая; 22 – сапун; 23 – крышка; 24 – подшипник; 25 – клин. На примере крана КШТ - 50.01 был рассмотрен целый класс устройств, предназначенных для выполнения погрузочно-разгрузочных работ. При этом данный кран обладает большим преимуществом перед другими аналогичными механизмами. Несомненным преимуществом является возможность высокой подвижности, позволяющей в предельно короткие сроки развернуть работы на новом месте. Полная энергетическая независимость устройства от электрических сетей, наличие мощной многоосной автомобильной базы позволяет использовать кран даже в условиях малоподготовленных площадок на больших удалениях от населенных пунктов и электросетей. Большой диапазон регулирования вылета стрелы позволяет повысить универсальность крана – увеличивает возможности его применения при выполнении работ по подъёму и переносу грузов на различных высот. Наличие дополнительного оборудования в виде дополнительных удлинителей и вспомогательных крюков – позволяет оперировать с крупногабаритными грузами, например – длинные металлоконструкции большого веса. Как существенные недостатки – можно выделить большие габариты и масса крана, жестко связанные с грузоподъёмностью устройства, - это затрудняет его использование при ограниченных размерах рабочей площадки, частые замены рабочей жидкости в крановых механизмах, высокую стоимость устройства. Список литературы 1. Кран на спецшасси КШТ-50.01. Руководство по эксплуатации. Часть 1, 2. Описание и работа, использование по назначению. 2. Кран на спецшасси КШТ-50.01. Руководство по эксплуатации. Часть 3. Альбом рисунков и схем. 3. Александров М.П., Колобов Л.Н., Лобов Н.А. и др. Грузоподъёмные машины. М.: Машиностроение, 1986г. – 400с. 4. Зайцев Л.В., Полосин М.Д. Автомобильные краны. М.: Высшая школа, 1987г. – 208с. 5. Зайцев Л.В., Полосин М.Д. Автомобильные краны. М.: Высшая школа, 1978г. – 327с. |






- момент инерции массы груза приведенный к валу двигателя.
