Реферат: Люминесцентный анализ методические рекомендации
|
Название: Люминесцентный анализ методические рекомендации Раздел: Остальные рефераты Тип: реферат | ||
| ФЕДЕРАЛЬНОЕ АГЕНТСТВО ПО ОБРАЗОВАНИЮ Бийский технологический институт (филиал) государственного образовательного учреждения высшего профессионального образования «Алтайский государственный технический университет им. И.И. Ползунова» Н.В. Степанова, Т.В. Сеношенко, Н.А. Крамаренко, З.В. Татарникова
ЛЮМИНЕСЦЕНТНЫЙ АНАЛИЗ Методические рекомендации по выполнению лабораторных работ по курсу «Аналитическая химия и физико-химические методы анализа» для студентов специальностей 240701, 240702, 240901, 260204 и для специальности 080401 по курсу «Физико-химические методы анализа» всех форм обучения Бийск Издательство Алтайского государственного технического университета им. И.И. Ползунова 2010 УДК 543. 06(075.8) Рецензент: к.т.н. К.С. Барабошкин ФНПЦ «Алтай»
Степанова, Н.В. Люминесцентный анализ: методические рекомендации по выполнению лабораторных работ по курсу «Аналитическая химия и физико-химические методы анализа» для студентов специальностей 240701, 240702, 240901, 260204 и для специальности 080401 по курсу «Физико-химические методы анализа» всех форм обучения / Н.В. Степанова, Т.В. Сеношенко, Н.А. Крамаренко, З.В. Татарникова; Алт. гос. техн. ун-т, БТИ. – Бийск: Изд-во Алт. гос. техн. ун-та, 2010. – 20 с. Методические рекомендации составлены для студентов специальностей «Химическая технология органических соединений азота» (240701), «Химическая технология полимерных композиций, порохов и твердых ракетных топлив (240702), «Биотехнология» (240901), «Технология бродильных производств и виноделие» (260204), «Товароведение и экспертиза товаров» (080401) в соответствии с требованиями Государственных образовательных стандартов высшего профессионального образования (Москва, 2000 г.). Настоящие методические рекомендации содержат основные сведения о люминесцентном методе анализа различных веществ. Приводятся краткие теоретические положения люминесцентного метода анализа и рекомендации к выполнению двух лабораторных работ с помощью флуориметрического метода анализа. Методические рекомендации содержат вопросы и задачи для контроля знаний студентов по рассматриваемой теме. УДК 543. 06(075.8) Рассмотрены и одобрены на заседании кафедры общей химии и экспертизы товаров. Протокол № 70-05/08 от 02.09.2008 г. © Н.В. Степанова, Т.В. Сеношенко, Н.А. Крамаренко, З.В. Татарникова, 2010 © БТИ АлтГТУ, 2010 СОДЕРЖАНИЕ 1 Теоретическая часть……………………………………………………..4 1.1 Теоретические основы люминесцентного анализа……………4 1.2 Методы определения содержания веществ в люминесцентном анализе………………………………………………..7 1.3 Флуориметрия……………………………………………………9 1.4 Аппаратура для люминесцентного анализа…………………..11 2 Экспериментальная часть……………………………………………...12 2.1 Определение содержания рибофлавина (витамин В2 ) ………12 2.2 Флуориметрическое определение содержания родамина 6Ж……………………………………………………………....16 3 Общие указания к лабораторным работам……………………………17 4 Контрольные вопросы для допуска к выполнению лабораторных работ………………………………………………………18 5 Вопросы для защиты работ…………………………………………….18 Литература………………………………………………………………...19 1 ТЕОРЕТИЧЕСКАЯ ЧАСТЬ 1.1 Теоретические основы люминесцентного анализа Способность атомов и молекул поглощать энергию, поступающую к ним извне, вызывает новое энергетическое состояние вещества, которое называется возбужденным. Избыточная энергия атомов или молекул, полученная при возбуждении, может быть израсходована на отрыв электронов - ионизацию вещества; на какие-либо фотохимические реакции; на нагрев вещества, т. е. переход избыточной энергии в тепловую. Кроме того, возбужденные атомы или молекулы способны отдавать всю избыточную энергию или часть ее в виде света. Как правило, большинство твердых веществ при сильном нагревании светятся. Такое свечение раскаленных тел называют температурным или тепловым излучением. Чем больше энергии при данной температуре поглощает тело, тем оно больше ее излучает. У некоторых веществ наблюдается свечение и без нагревания при комнатной температуре, которое называют холодным свечением или люминесценцией. В отличие от температурного люминесцентное излучение является неравновесным и продолжается относительно долгое время после прекращения действия внешнего возбуждающего фактора. Таким образом, люминесценция – свечение вещества после поглощения им энергии возбуждения: M ∙ ↔ M + hν . Переходя в более низкое энергетическое состояние, возбужденные частицы испускают квант света – люминесцируют . Длительность послесвечения для различных люминесцирующих веществ различна: от миллиардных долей секунды (для отдельных атомов и молекул) до часов и даже нескольких суток (для кристаллофосфоров). Явления люминесценции многообразны по свойствам и происхождению. Различные виды люминесценции определяются характером энергии возбуждения, продолжительностью свечения и химическими свойствами люминесцирующих веществ. В зависимости от вида люминесценции рассматривают следующие разделы люминесцентного анализа: 1) фотолюминесценция, или флуоресценция, основанная на свечении вещества при поглощении лучистой, или световой энергии; 2) катодолюминесценция, вызванная бомбардировкой быстролетящих электронов; 3) хемилюминесценция - свечение веществ под действием некоторых химических процессов; 4) триболюминесценция - люминесценция трения и т. п. Все люминесцирующие вещества имеют общее название люминофоры. Неорганические люминофоры называют чаще всего просто люминофорами, а органические - органолюминофорами. Органические и неорганические люминофоры существенно отличаются по природе свечения. У первых процессы поглощения возбуждающего света и излучения протекают в пределах каждой способной люминесцировать молекулы. У вторых, чаще всего активированных и имеющих кристаллическую структуру, в акте люминесценции участвуют не отдельные атомы и молекулы, а кристаллы. Эти люминофоры называют кристаллофосфорами. Известно два механизма возникновения свечения: 1) свечение отдельных центров, когда процесс возникновения люминесценции протекает лишь в одной частице (центр свечения), являющейся как поглотителем энергии, так и излучателем световых квантов, и 2) рекомбинационные процессы свечения, при которых, как правило, поглощение энергии осуществляется не теми частицами, которые излучают световые кванты. По первому механизму осуществляется свечение большинства органических веществ в растворе, в том числе и внутрикомплексных соединений органических люминесцентных реагентов с катионами. Свечение кристаллов с решетками молекулярного типа, например, нафталина, антрацена и их производных, определяется рекомбинационными процессами. Такое свечение наблюдается и у сульфида цинка, сульфида кадмия, оксида кальция и т. п., кристаллические решетки которых обладают некоторыми дефектами, вызванными внедрением примесей (или активаторов) - ионов тяжелых металлов. В этом случае в возникновении флуоресценции принимает участие весь кристалл в целом, такой вид свечения называют свечением кристаллофосфоров. В качественном люминесцентном анализе по цвету свечения и особенно по спектрам люминесценции можно установить присутствие того или иного вещества в пробе. При сопоставлении спектров люминесценции пробы и индивидуальных веществ, которые могут входить в состав пробы, основное внимание обращают на положение максимумов и ширину полос, наличие и характер их тонкой структуры. Установить присутствие вещества в пробе по цвету ее свечения или спектру люминесценции - задача непростая. Сложность этой задачи обусловлена тем, что многие вещества обладают одинаковым (с точки зрения восприятия человеческим глазом) свечением, а спектры их люминесценции состоят из широких, размытых полос. В этом случае нельзя рассчитывать на успешную идентификацию веществ. Лишь немногие вещества обладают достаточно четкими и характерными спектрами люминесценции, позволяющими надежно установить их присутствие в пробе. К ним относятся соединения урана (VI), лантаноидов, бензопирены, порфирины и др. При наличии в пробе нескольких люминофоров обычно проводят процедуру их разделения, используя чаще всего методы экстракции и хроматографии. Селективно возбуждая спектры люминесценции отдельных компонентов, в некоторых случаях удается провести качественный анализ многокомпонентных проб, минуя процедуру предварительного разделения компонентов. На основании изучения спектров люминесценции можно сделать некоторые выводы относительно химической структуры исследуемого вещества, а также проследить за изменением, претерпеваемым веществом во времени. Для обнаружения веществ, не обладающих собственной люминесценцией, используют реакции, приводящие к образованию люминофоров, - так называемые люминесцентные реакции. Иногда наличие искомого вещества в пробе удается установить по частичному или полному тушению люминесценции вспомогательного люминофора, введенного в пробу. Количественный люминесцентный анализ базируется на зависимости между интенсивностью люминесценции I f (отн. ед.) и содержанием люминофора в пробе (с): I f = k . c , (1. 1) где I f - интенсивность люминесценции; с - молярная концентрация, моль/л; k – коэффициент, зависящий от природы вещества. Эта зависимость соблюдается лишь в том случае, если содержание определяемого компонента в пробе не превышает некоторого порогового значения: 10-4 …10-3 М (для жидких проб); 10-4 …10-3 % (для твердых проб). Проведение количественного люминесцентного анализа осложняется тем, что интенсивность люминесценции зависит не только от содержания определяемого вещества в пробе, но и от ряда других факторов: тушения люминесценции, значения рН среды, массовой доли комплексонов и др. В связи с этим, следует строго соблюдать все рекомендации, касающиеся подготовки проб, а также условия возбуждения и регистрации спектров люминесценции. Чаще всего для возбуждения люминесценции используют источники ультрафиолетового (УФ) излучения. Если же люминофор обладает интенсивным поглощением в видимой области спектра, то для возбуждения его люминесценции можно использовать лампу накаливания. В настоящее время для возбуждения люминесценции все чаще используют лазерное излучение. Люминесцентный метод анализа, так же как и фотометрический метод, относятся к группе оптических методов анализа, и потому они имеют много общего. Однако по сравнению с фотометрией люминесцентный метод имеет существенные преимущества. Прежде всего, чувствительность люминесцентного метода гораздо выше чувствительности фотометрического метода. Это связано с тем, что в люминесцентном методе определяют абсолютную величину светового потока, испускаемого возбужденной молекулой, и, таким образом, отношение полезного сигнала к шуму очень велико. В противоположность фотометрическому методу (где измеряется величина отношения двух световых потоков) в люминесцентном методе величина фототока, пропорциональная свету люминесценции, может быть многократно усилена электронным усилителем. Последнее обстоятельство позволяет определять количества вещества, на один-два порядка меньшие, чем в фотометрическом методе анализа. Второе преимущество заключается в относительно высокой селективности люминесцентного метода анализа, поскольку сравнительно небольшое число веществ способно люминесцировать. 1.2 Методы определения содержания веществ в люминесцентном анализе Определение содержания вещества в пробе люминесцентным методом основано на сравнении интенсивности люминесценции пробы и стандартных образцов. Последние должны отвечать ряду требований: - содержание определяемого вещества в стандартном образце должно быть точно известно; - химический состав матрицы (основы) стандартного образца должен быть идентичен (или подобен в практически достижимой мере) матрице пробы; - стандартный образец и проба должны обладать близкими физическими свойствами. В практике люминесцентного анализа используют как жидкие, так и твердые стандартные образцы. Жидкие стандартные образцы готовят растворением определяемого вещества в подходящем растворителе. При этом в раствор добавляют в необходимых количествах вещества, составляющие основу пробы. Применение люминесценции кристаллофосфоров для определения неорганических веществ связано с использованием твердых стандартных образцов. Как правило, процедура их приготовления трудоемка, требует тщательности и особых мер предосторожности и обычно проводится на специальной аппаратуре. Для расчета содержания вещества в пробе по результатам люминесцентных измерений чаще всего используют метод градуировочного графика, сравнения и добавок. Метод градуировочного графика . В этом методе измеряют интенсивность люминесценции серии стандартных образцов (обычно не менее пяти), охватывающих весь диапазон ожидаемых содержаний определяемого вещества в пробе, и строят график зависимости интенсивности люминесценции от массовой доли определяемого вещества. В идеальном случае градуировочный график должен быть линейным и проходить через начало координат. На практике он оказывается линейным лишь в узком диапазоне содержаний определяемого вещества и редко выходит из начала координат. Метод добавок. Наиболее простой способ приготовления стандартных образцов, соответствующих пробе по составу матрицы, заключается в использовании метода добавок. Его целесообразно использовать в тех случаях, когда состав матрицы пробы неизвестен или меняется от пробы к пробе. Сущность метода заключается в следующем. Берут три одинаковых образца пробы. Ко второму и третьему образцам добавляют точное количество определяемого вещества. Размеры добавок подбираются с таким расчетом, чтобы содержание определяемого вещества во всех трех образцах пробы после указанной процедуры отвечало соотношению сх : (сх +Dc1 ): (сх +Dс2 ) = 1:2:3, где Dc1 и Dс2 - изменение содержания определяемого вещества, вызванное процедурой добавки. После измерения интенсивности люминесценции всех трех образцов строят график в координатах «I -Dc». Содержание определяемого вещества в пробе сх находят путем экстраполяции графика на значение I =0. 1.3 Флуориметрия В аналитической практике наиболее широкое применение получила фотолюминесценция, а именно флуоресценция. Флуоресценция - это характерное свечение анализируемых растворов и кристаллофоров в ультрафиолетовом свете. Флуориметрия - метод определения содержания люминофора в растворе, основанный на измерении спектра его флуоресценции. В основе этого метода лежат следующие закономерности. Независимость спектра люминесценции от длины волны возбуждающего света . Это объясняется тем, что возбужденные молекулы, поглотившие кванты различной величины, попадают на уровни разных возбужденных электронно-колебательных состояний. После такого перераспределения избыточной энергии происходит излучательный переход с одних и тех же электронных уровней, поэтому спектр люминесценции не изменяется. Закон Стокса–Ломмеля. Стоксом было сформулировано правило, согласно которому спектр флуоресценции вещества всегда имеет большую длину волны, чем спектр поглощения. Ломмель уточнил правило Стокса, предложив для него следующую формулировку: «Спектр излучения в целом и его максимум всегда сдвинуты по сравнению со спектром поглощения и его максимумом в сторону длинных волн». Закон Стокса-Ломмеля строго выполняется для широкого круга флуоресцирующих веществ. Правило зеркальной симметрии спектров поглощения и излучения. Это правило характеризует взаимное расположение спектров поглощения и излучения веществ, обладающих люминесценцией, и может быть сформулировано следующим образом: «Нормированные (приведенные к одному максимуму) спектры поглощения и излучения, изображенные в функции частот, зеркально симметричны относительно прямой, проходящей перпендикулярно к оси частот через точку пересечения обоих спектров» (рисунок 1). Это правило весьма полезно при выполнении люминесцентного анализа, а также при расшифровке спектров и установлении энергетических уровней исследуемых молекул. У веществ, подчиняющихся правилу зеркальной симметрии, можно по одному из спектров (поглощения или люминесценции) без их измерений установить форму другого спектра и выбрать подходящие для данного вида анализа светофильтры.
Рисунок 1 - Зеркальная симметрия спектров поглощения ε = f (v ) (кривая 1) и флуоресценции I /v = f (v ) (кривая 2) родамина 6Ж в ацетоне Вещества-люминофоры определяют по их собственной флуоресценции. Если определяемые вещества не являются люминофорами, то для их определения используют люминесцентные реакции. Последние должны сопровождаться возникновением или ослаблением флуоресценции раствора. Как и каждая реакция, применяемая в анализе, люминесцентная реакция должна протекать быстро, количественно, быть воспроизводимой и по возможности избирательной. При флуориметрическом определении ионов металлов чаще всего используют реакции комплексообразования с органическими реагентами. В идеальном случае применяемые для анализа реагенты не должны флуоресцировать, а образующиеся комплексы, напротив, должны обладать интенсивной флуоресценцией. Молекулы таких реагентов обычно имеют неплоскую и нежесткую ароматическую структуру и содержат электронодонорные заместители. В результате комплексообразования они приобретают плоскую жесткую конфигурацию, склонную к флуоресценции. Для определения анионов часто используют косвенный флуориметрический метод, основанный на тушении люминесценции. Примером такого метода может служить определение иодид-ионов по тушению флуоресценции флуоресцеина. На чувствительность флуориметрических определений существенное влияние оказывает присутствие посторонних веществ. Посторонние вещества могут снижать выход люминесценции либо уменьшать интенсивность свечения люминофора за счет эффекта внутреннего фильтра, понижая тем самым чувствительность определений. Для достижения максимальной чувствительности определения из двух реагентов выбирают тот, который приводит к образованию люминофора, характеризующегося минимальным перекрыванием спектров поглощения и излучения. Пределы обнаружения веществ флуориметрическим методом составляют от 10-8 до 10-4 %. 1.4 Аппаратура для люминесцентного анализа
При проведении люминесцентного анализа необходимо измерять всевозможные спектрально-люминесцентные характеристики люминофора: интенсивность люминесценции, спектр возбуждения, спектры люминесценции и др. С этой целью используют различные люминесцентные приборы. Каждый такой прибор включает в себя шесть основных узлов: – источник возбуждающего света; – селектор частоты возбуждающего света и частоты люминесценции; – кюветное отделение, предназначенное для размещения кюветы с измеряемым образцом (стандартным образцом или пробой); – фотоприемник люминесценции (фотоэлемент, фотоумножитель, фотодиод); – усилитель сигнала; – миллиамперметр. Приборы, предназначенные для измерения флуоресценции, можно разделить на три категории: – флуориметры, флуоресцентные приставки к спектрофотометрам и спектрофлуориметры. Схема простейшего флуориметра приведена на рисунке 2. Во флуориметрах селекция частот возбуждающего света и света флуоресценции осуществляется с помощью светофильтров. Флуориметры применяют для проведения серийных анализов, где снижение селективности не является большим недостатком, а высокая чувствительность, напротив, представляет собой важное достоинство.
1 − источник УФ излучения; 2 − первичный светофильтр; 3 − кювета с образцом; 4 − вторичный светофильтр; 5 − фотоприемник; 6 - усилитель; 7 − миллиамперметр Рисунок 2 - Схема простейшего флуориметра При измерении флуоресценции с помощью флуориметров существенное значение имеет правильный выбор светофильтров, необходимых для разделения света, возбуждающего флуоресценцию (первичный светофильтр), и света флуоресценции (вторичный светофильтр). Первичный светофильтр должен пропускать свет в области поглощения определяемого вещества и не должен пропускать свет в области, отвечающей флуоресценции вещества. Вторичный светофильтр должен пропускать флуоресценцию, но возбуждающий свет должен им полностью поглощаться. Источниками возбуждающего света во флуориметрах обычно служат ртутные лампы низкого давления. С целью получения практически сплошного спектра излучения внутренние стенки этих ламп часто покрывают люминофором. 2 ЭКСПЕРИМЕНТАЛЬНАЯ ЧАСТЬ 2.1 Определение содержания рибофлавина (витамина В2 ) (6 часов)
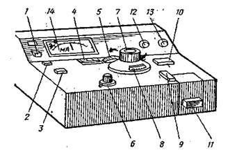
Цель работы: освоение методов количественного люминесцентного анализа, приобретение навыков работы на флуориметре «Квант», определение витамина В2 методом прямой флуориметрии. 2.1.1 Краткая характеристика метода Метод основан на сравнение интенсивности флуоресценции стандартного и анализируемого растворов витамина В1 при облучении светом ультрафиолетового диапазона. Содержание витамина В1 определяют, не прибегая к построению градуировочного графика лишь по одной точке, стандартный раствор при этом готовят с содержанием рибофлавина, близким к определяемому содержанию и не превышающим 1. 10-5 моль/дм3 . 2.1.2 Необходимые реактивы 1. Рабочий стандартный раствор. 2. Анализируемый раствор. Для приготовления рабочего стандартного раствора , содержащего 0,04 мг/см3 рибофлавина, взвешивают 0,0400 г рибофлавина в стаканчике или в фарфоровой чашке (навеску пересчитывают на чистую субстанцию). Затем навеску растворяют в горячей воде и переносят в мерную колбу объемом 1 дм3 на водяной бане. После охлаждения объем доводят до метки дистиллированной водой. Раствор годен в течение 1 месяца при условии его хранения в бутылке из темного стекла в холодильнике при температуре от 5 до 10 0 С. В день проведения испытаний часть основного раствора переносят в стаканчик и выдерживают в темном месте до приобретения комнатной температуры, затем отбирают пипеткой 10 см3 раствора в мерную колбу объемом 100 см3 и доводят объем раствора до метки (1 см3 раствора содержит 0,0004 мг/см3 рибофлавина). Раствор годен только в день приготовления, а между измерениями хранится в темном месте. В качестве анализируемого раствора используют или готовый раствор рибофлавина, или его готовят следующим образом: навеску растертых в ступке драже массой около 1 г взвешивают с точностью до 0,0002 г, растворяют в горячей дистиллированной воде при подогревании на водяной бане и количественно переносят в мерную колбу объемом 500 см3 . Затем раствор охлаждают, доводят объем до метки и фильтруют через обычную фильтровальную бумагу (первые 10 см3 отбрасывают). Из полученного раствора готовят раствор второго разведения. Для этого отбирают 10 см3 раствора в мерную колбу на 100 см3 и доводят до метки дистиллированной водой. Расчетное содержание рибофлавина в растворе около 0,4 мкг/см3 или 0,0004 мг/см3 . Между замерами раствор хранится в темном месте. 2.1.3 Выполнение работы на приборе «Квант» Определение содержания рибофлавина проводят на приборе «Квант», внешний вид которого представлен на рисунке 3.
1 - включение прибора в сеть; 2 - чувствительность; 3 - измерение; 4 - переключатель установка 100 % грубо; 5 - установка 0 %; 6 - установка 100 % точно; 7 - отсчетный лимб; 8 - шкала отсчетного лимба; 9 - первичный фильтр; 10 - вторичный светофильтр; 11 - кюветное отделение; 12 - установка нуля; 13 - установка чувствительности; 14 - миллиамперметр Рисунок 3 - Внешний вид флуориметра «Квант» Для проведения измерений на флуориметре «Квант» необходимо соблюдать следующий порядок. 1. Включить прибор в сеть переменного тока с напряжением 220 В и нажать кнопку 1 «сеть», при этом загорается индикаторная лампочка. 2. Дать прибору прогреться не менее 60 мин. 3. По спектрам поглощения и флуоресценции (экспериментальные или литературные данные) выбрать необходимые первичный и вторичный светофильтры. При установке светофильтра необходимо следить, чтобы зеркальная поверхность первичного светофильтра была обращена к источнику света, а вторичного - к кювете. При определении рибофлавина первый светофильтр синий (длина волны 440 нм), а второй светофильтр – зеленый (длина волны 520 нм). 4. Установить электрический нуль прибора, проделав следующие операции: – перевести в левое положение ручку «0 %» до упора; – вращением ручки «установка нуля» установить стрелку индикатора миллиамперметра на нуль. 5. Определить фон «холостого опыта» или растворителя и провести его компенсацию: – установить в прибор кювету с растворителем («холостая проба»); – нажать кнопку «Измерение» и вращением ручки отсчетного лимба установить стрелку индикатора на нуль (показания лимба будут соответствовать величине фона растворителя («холостого опыта»)); – установить на нуль шкалу отсчетного лимба «%», нажать кнопку «Измерение» и вращением ручки «установка 0 %» вывести стрелку индикатора на нуль. Фон растворителя будет скомпенсирован, и при дальнейших измерениях его можно не учитывать. Внимание! При определении содержания рибофлавина «холостой пробой» является дистиллированная вода. 6. Заполнить кювету стандартным раствором. Нажать кнопку «Чувствительность» и вращением ручки «Установка чувствительности» добиться отклонения стрелки индикатора до деления 20 слева от 0. При этом надо следить, чтобы был выставлен 0 % на отсчетном лимбе и ручка «0 %» находилась в левом положении. 7. Не вынимая кювету с эталонным раствором, установить шкалу отсчетного лимба на деление 50 %. Нажать кнопку 1 переключателя «грубо», кнопку «Измерение» и вращением ручки «установка 100 % точно» установить стрелку индикатора на нуль. Если стрелка на нуль не устанавливается, включить кнопку 2 или 3 на переключателе «грубо», а затем нажать кнопку «Измерение» и ручкой «установка 100 % точно» добиться установки стрелки индикатора на нуль. 8. Определить интенсивность флуоресценции анализируемого раствора: – установить в прибор кювету с анализируемым раствором; – нажать на клавишу «Измерение» и вращением отсчетного лимба установить стрелку индикатора на нуль. Показания лимба будут соответствовать интенсивности светового потока флуоресценции исследуемого раствора в процентах.
2.1.4 Обработка результатов анализа Содержание рибофлавина в одном драже (С) в граммах вычисляют по формуле С
= где А - показания флуориметра при замере испытуемого раствора; В – показания флуориметра при замере стандартного образца; А 1 и В 1 - показания флуориметра после гашения флуоресценции гидросульфитом натрия в растворах ( из опытных данных равно 1). V 1 – объем испытуемого раствора, взятый для разведения (10 см3 ); V 2 – окончательный объем разведения (100 см3 ); 500 – первичный объем раствора, см3 ; а – масса навески, взятая для испытания, г; б – средняя масса одного драже, г; 1000 – коэффициент пересчета в граммы. Содержание рибофлавина в готовом растворе (С , мг/см3 ) вычисляют по формуле С
= где Сст – содержание рибофлавина в стандартном растворе, мг/см3 .
2.2 Флуориметрическое определение содержания родамина 6Ж (6 часов)
Цель работы: определить содержание родамина 6Ж в исследуемом растворе с помощью метода калибровочного графика. 2.2.1 Краткая характеристика метода Родаминовые красители (родамины) относятся к группе полярных ксантеновых красителей. Они обладают яркой флуоресценцией в жидких растворах (вода, спирт), что объясняется наличием у родаминов кислородных мостиков, придающих их молекулам необходимую «жесткость», а следовательно, и способность к флуоресценции. Родамины интенсивно поглощают в видимой и менее интенсивно в ультрафиолетовой части спектра. Поэтому для возбуждения их флуоресценции можно применять как видимый, так и ультрафиолетовый свет. Эти соединения характеризуются молекулярным типом свечения, спектры поглощения и флуоресценции зеркально симметричны. 2.2.2 Необходимые реактивы Стандартные растворы родамина 6Ж, содержащие 1,0 , 10-5 ; 1,0 . 10-6 и 1,0 , 10-7 г/см3 родамина 6Ж. 2.2.3 Выполнение работы Согласно правилу зеркальной симметрии (см. рисунок 2) флюоресценцию родамина 6Ж необходимо измерять при длине волны возбуждения 520 нм и длине волны флюоресценции 580 нм. В зависимости от концентрации исследуемого раствора готовят одну из серий эталонных растворов родамина 6Ж: первая серия (мкг): 1,0; 2,0; 4,0; 6,0; 8,0; вторая серия (мкг): 0,2; 0,4; 0,6; 0,8; 1,0. Для этого в ряд мерных колб вместимостью 25 см3 вводят соответствующие объемы стандартных растворов родамина 6Ж (1,0 , 10-6 или 1,0 , 10-7 г/см3 ) и разбавляют дистиллированной водой до метки. В кювету флуориметра «Квант» наливают 10 см3 стандартного раствора родамина 6Ж и измеряют флуоресценцию. Затем стандартный раствор выливают, кювету ополаскивают несколько раз дистиллированной водой и 2–3 раза анализируемым раствором, заполняют кювету анализируемым раствором и измеряют флюоресценцию. Измерение интенсивности флуоресценции проводится по отношению к воде. По полученным данным строят градуировочный график, откладывая по оси абсцисс содержание С родамина (мкг), по оси ординат – интенсивность флуоресценции I f . Исследуемый раствор (контрольная задача) разбавляют водой до метки в мерной колбе вместимостью 25 см3 , перемешивают и измеряют интенсивность флуоресценции. Содержание родамина в исследуемом растворе определяют по градуировочному графику. 3 ОБЩИЕ УКАЗАНИЯ К ЛАБОРАТОРНЫМ РАБОТАМ
При выполнении лабораторных работ необходимо следовать перечисленным ниже рекомендациям. 1. Прочитать все разделы методического указания, касающиеся выполняемой работы. 2. Познакомиться с описанием приборов и порядком работы на них. Включать приборы следует непосредственно перед проведением измерений. 3. Стандартные и анализируемые растворы следует готовить одновременно в строгом соответствии с методикой, а посуда для их приготовления и кюветы должны быть тщательно вымыты. 4. Кюветы перед заполнением необходимо два раза ополоснуть небольшим количеством измеряемого (стандартного или анализируемого) раствора и перед установкой в кюветное отделение тщательно осушить фильтровальной бумагой их внешние стенки. Заполняют кювету измеряемым раствором до такого уровня, чтобы поток возбуждающего света проходил полностью через слой раствора. 5. Чтобы не загрязнять рабочие поверхности светофильтров и кювет, их следует брать только за кромки или углы. Загрязненные светофильтры аккуратно протирают чистой фланелью, а кюветы - фильтровальной бумагой. 6. По окончании работы необходимо отключить все приборы, вымыть кюветы дистиллированной водой и сдать их лаборанту. Привести рабочее место в порядок. 7. Записи в лабораторном журнале рекомендуется делать в следующем порядке: а) название выполняемой лабораторной работы; б) формулы люминесцирующих соединений и краткая методика их анализа; в) условия проведения измерений; г) результаты измерений в виде таблиц и графиков; д) обработка результатов измерений и оценка определяемых величин.
4 КОНТОЛЬНЫЕ ВОПРОСЫ ДЛЯ ДОПУСКА К ВЫПОЛНЕНИЮ ЛАБОРАТОРНЫХ РАБОТ
1. Устройство прибора «Квант» и принцип его работы. 2. Методика проведения лабораторной работы. 3. Порядок приготовления стандартных и анализируемых растворов, используемых в работе. 4.Техника безопасности при проведении лабораторной работы. 5. Порядок представления результатов анализа.
5 ВОПРОСЫ ДЛЯ ЗАЩИТЫ РАБОТ 1. Какова природа люминесцентного излучения? 2. Каким образом классифицируют методы люминесцентного анализа? 3. На чем основан качественный люминесцентный анализ? 4. От чего зависит интенсивность люминесценции? Как она связана с концентрацией? 5. Каковы достоинства и недостатки люминесцентного анализа? 6. Какие методы используют для определения концентрации вещества в люминесцентном методе анализа? 7. На чем основан флуориметрический метод анализа? 8. Какие вещества можно анализировать с помощью флуориметрического метода анализа? 9. С чем связана необходимость применения в флуориметрии двух светофильтров? 10. Почему для измерения флуориметрии используют только разбавленные растворы с концентрацией не более 10-3 …10-4 моль/дм3 . 11. На чем основан закон Стокса–Ломмеля? 12. Для чего используется правило зеркальной симметрии спектров поглощения и излучения? 13. Приведите схему простейшего флуориметра. 14. На чем основан метод определения содержания витамина В2 ? 15. На чем основан метод определения содержания родамина 6Ж? ЛИТЕРАТУРА
1. Крешков, А.П. Основы аналитической химии / А.П. Крешков. - М.: Химия, 1976. - Т.2. - 480 с. 2. Алексеев, В.Н. Количественный анализ / В.Н. Алексеев. - М.: Химия, 1972. - 504 с. 3. Пономарев, В.Д. Аналитическая химия / В.Д. Пономарев. - М.: Высшая школа, 1982. - 304 с. 4. Скуг, Д.А. Основы аналитической химии / Д.А. Скуг, Д.М. Уэст. - М.: Мир, 1979. - 480 с. 6. Основы аналитической химии / под ред. Ю.А. Золотова. - Кн. 1-2. - М.: Химия, 1999. 7. Лебухов, В.И. Физико-химические свойства и методы потребительских товаров / В.И. Лебухов, А.И. Окара, Л.П. Павлюченкова. – Хабаровск: Хабаровская ГАЭиП, 1999. – 252 с. 8. Аналитическая химия. Кн. 2. Физико-химические методы анализа. – М.: Дрофа, 2001. – 340 с. 9. Васильев, В.П. Теоретические основы физико-химических методов анализа / В.П. Васильев. – М.: Высш. шк., 1979. – 184 с. 10. Практическое руководство по физико-химическим методам анализа / под редакцией И.П. Алимарина, В.М. Иванова. – М.: Изд-во Моск. ун-та, 1987. – 208 с. Учебное издание Степанова Наталья Владимировна Сеношенко Тамара Владимировна Крамаренко Нина Алексеевна Татарникова Зоя Васильевна ЛЮМИНЕСЦЕНТНЫЙ АНАЛИЗ Методические рекомендации по выполнению лабораторных работ по курсу «Аналитическая химия и физико-химические методы анализа» для студентов специальностей 240701, 240702, 240901, 260204 и для специальности 080401 по курсу «Физико-химические методы анализа» всех форм обучения
Редактор Идт Л.И. Технический редактор Сазонова В.П. Подписано в печать 19.02.2010. Формат 60´84 1/16 Усл. п. л. - 1,16. Уч.-изд. л. - 1,25 Печать - ризография, множительно-копировальный аппарат «RISO EZ300» Тираж 30 экз. Заказ 2010-29 Издательство Алтайского государственного технического университета 656038, г. Барнаул, пр-т Ленина, 46 Оригинал-макет подготовлен ИИО БТИ АлтГТУ Отпечатано в ИИО БТИ АлтГТУ 659305, г. Бийск, ул. Трофимова, 27 |


