Реферат: работа по дисциплине «Машины и оборудование отраслевого машиностроения» «Изготовление втулки цилиндра среднеоборотного дизеля» Руководитель работы Ружицская Е. В
|
Название: работа по дисциплине «Машины и оборудование отраслевого машиностроения» «Изготовление втулки цилиндра среднеоборотного дизеля» Руководитель работы Ружицская Е. В Раздел: Остальные рефераты Тип: реферат | ||||||||||||||||||||||||||||||||||||||||||||||||||||||||||||||||||||||||||||||||||||||||||||||||||||||||||||||||||||||||||||
| Федеральное агенство морского и речного транспорта Федеральное государственное образовательное учреждение Морской Государственный Университет им. Адмирала Г.И. Невельского кафедра ТОСР КУРСОВАЯ РАБОТА по дисциплине «Машины и оборудование отраслевого машиностроения» «Изготовление втулки цилиндра среднеоборотного дизеля» Руководитель работы Ружицская Е.В Выполнила ст.гр.13.31 Матвеенко А.М. Владивосток 2010 Содержание I.Чертёж детали с техническими требованиями. II.1.Служебное назначение детали, её функции для обеспечения работоспособности узла или системы в целом. 2.Исполнительные поверхности и предъявляемые к ним требования. 3.Химический состав и физико-механические свойства материала детали. 4.Причины и вид изнашивания исполнительных поверхностей. 5. 5.1Тип производства 5.2Форма организации производственного процесса. 6.Способ получения заготовки и оборудование для её изготовления. 7.Технологический маршрут изготовления детали с указанными маркой и техническими характеристиками применяемого оборудования и оснастки. Мероприятия по механизации и автоматизации производства. 8.Требования техники безопасности при организации работ на технологическом оборудовании, используемом для изготовления детали. 9.Список использованных источников. II . 1.Назначение детали. 7.Технологический маршрут изготовления детали с указанными маркой и техническими характеристиками применяемого оборудования и оснастки. Мероприятия по механизации и автоматизации производства. Выбор и обоснование технологических баз Точность обработки зависит от правильного базирования заготовки на металлообрабатывающих станках в процессе их обработки. Базирование – это придание заготовке или изделию требоваемого положения относительно выбора системы координат. База – это поверхность, сочетание поверхностей, ось, точка, принадлежащие заготовке или изделию и используемые для базирования. По назначению базы бывают конструкторские, технологические и измерительные. Технологическими базами называют поверхности, которые ориентируют деталь необходимым образом при установке ее на станке или приспособлении и при обработке. Технологические базы бывают также черновыми и чистовыми. К черновым относятся необработанные поверхности, служащие базой для первых операций, а к чистовым – обработанные установочные поверхности на следующих операциях. Кроме того, базы делятся на основные, вспомогательные и дополнительные. В случаях, когда в качестве технологической базы приняты сборочные, их называют основными. В тех случаях, когда обработанная поверхность не требуется по конструкции, а нужна только с целью базирования, ее называют вспомогательной базой. От правильного выбора баз зависит рациональность технологического процесса. Желательно стремиться к совмещению баз, так как при этом обеспечивается более точная обработка. Кроме того, следует придерживаться принципа постоянства баз. Если возможно выдержать постоянные базы при выполнении разнообразных операций, получается рациональный, эффективный технологический процесс с минимальными погрешностями. В нашем случае зажим заготовки происходит в цанговом патроне, вследствие чего она лишается пяти степеней свободы. Выбор методов и количество необходимых переходов обработки поверхности деталей, формирование маршрута изготовления деталей и выбор состава технологического оборудования. При формировании маршрута изготовления руководствуются следующими принципами: 1. В первую очередь обрабатывают те поверхности, которые являются базовыми при дальнейшей обработке.
Формирование маршрута технологических операций, выбор методов и количества необходимых переходов, группы технологического оборудования для изготовления детали «Втулка цилиндра». Разработка технологических операций Выбор средств технологического оснащения операций Технологическое оснащение представляет собой дополнительные устройства, применяемые для повышения производительности труда, улучшения качества. Для изготовления детали «Втулка цилиндра» необходимо выполнить различные операции, такие как, токарная, шлифовальная. Для выполнения этих операций применяются различные станки, основные характеристики которых сведены в таблицу:
8.Требования техники безопасности при организации работ на технологическом оборудовании, используемом для изготовления детали. Безопасность труда на предприятии. В нашей стране установлены правила и нормы по обеспечению безопасности труда и производственной санитарии, регламентации режима рабочего времени и отдыха трудящихся. Общее руководство и контроль за соблюдением правил безопасности труда на предприятии осуществляет главный инженер. Инструктаж по безопасности труда на предприятии проводится для всех вновь поступающих на предприятие и состоит из вводного инструктажа и инструктажа на рабочем месте, который в течение работы на предприятии неоднократно повторяется. Контроль за своевременным и качественным проведением инструктажа и обучением работающих безопасным приемам и методам работы осуществляет инженер по технике безопасности, производственный мастер и начальник цеха. Для работающих на установках и оборудовании, эксплуатация которых связана с повышенной опасностью, помимо типовых правил имеются специальные. На территории завода рабочий обязан выполнять следующие правила: быть внимательным к сигналам электрокаров, автомашин и электровозов, выполнять требование световых сигналов и других предупреждающих знаков; не прикасаться к токоведущим частям электроарматуры; не включать оборудование, работа на котором не поручена администрацией. Безопасность работы на токарных станках. Основной причиной травматизма при работе на токарных станках является несоблюдение правил безопасности труда, а также работа на неисправном станке с нарушением режима обработки. Перед началом работы токарь обязан: 1. Привести в порядок одежду, подобрать волосы под головной убор и застегнуть обшлага рукавов. 2. Осмотреть рабочее место и убрать лишние предметы. 3. Проверить наличие заграждений на станке. 4.Проверить заземление. 5. Проверить исправность станка на холостом ходу. Во время работы на станке запрещается. 1.Работать без защитных экранов или очков. 2. Удалять стружку предметами, не предназначенными для этого. 3.Останавливать вращающийся патрон рукой после выключения вращения. Необходимо соблюдать следующие правила: 1. Следить за тем, чтобы при закреплении заготовки в патроне кулачки не выступали из корпуса более чем на1/3 длины заготовки. 2.Длинные и тонкие заготовки обрабатывать только с использованием люнетов. 3. Не устанавливать резец ниже центров заготовки, что может привести к вырыву детали со станка. 4. Не оставлять ключ в патроне станка после снятия детали. 5. Измерение обрабатываемой детали производить только при остановленном шпинделе. 6.Измерение частоты вращения шпинделя и подачи производить только при остановленном шпинделе. 7.Установку и снятие режущего инструмента производить только при выключенном электродвигателе станка. 8. Пользоваться только исправным режущим инструментом, приспособлениями и вспомогательным инструментом. 9.Тяжелые заготовки устанавливать на станок с помощью подъемных устройств. 10.Работать на станке с соблюдением рекомендуемых технологической картой режимов обработки. 11. В случае поломки станка вывешивать надпись «НЕ ВКЛЮЧАТЬ». 12.Содержать рабочее место в чистоте и своевременно убирать лишние предметы. По окончании работы необходимо : 1. Остановить станок, убрать стружку, вытереть и смазать станок. 2. Привести в порядок рабочее место. 3. Сообщить мастеру о работоспособности станка. 4. Заключение В данной курсовой работе рассмотрено много вопросов, касающихся непосредственно самой детали «Втулка цилиндра среднеоборотного дизеля ». Раскрыты такие вопросы как материал, выбор заготовки и методы ее обработки, формирование маршрута изготовления детали и выбор технологического оборудования. Использование типового технологического процесса облегчает проектирование, конструирование детали, ее изготовление и контроль. Благодаря экономии не только времени, которое было бы затрачено на разработку в случае отсутствия такого "прототипа", но и сокращение затрат, требующихся на исправление и утилизацию брака при использовании неотработанных технологии, оборудования и оснастки, удается получить хорошие экономические показатели технологического процесса изготовления и сборки даже для небольших партий продукции и оборудования. Наибольшее время при использовании типового процесса приходится затрачивать на технологическую подготовку производства, которая необходима для подгонки "прототипа" для конкретной детали. Учитывая, что многие операции из ТПП являются стандартными и вполне могли бы выполняться с помощью вычислительной техники, в настоящее время преобладающим является тенденция к полной или хотя бы частичной автоматизации процесса технологической подготовки производства. Список литературы 1.Макаренков А.С. Машины и оборудование судового машиностроения;учеб. пособие. Владивосток 2005, 108с. 2.. Возницкий И.В Судовые двигатели внутреннего сгорания. Моркнига, Санкт-Петербург 2007. 284с. 3. Седых В.И; Балякин О.К. Технология судоремонта. Учебник. Владивосток. МГУ. Дальнаука. 2008. 403с Федеральное агентство морского и речного транспорта Морской государственный университетимени адмирала Г.И. Невельского Кафедра ЭПТ и ОПМ ТЕХНИЧЕСКОЕ ЗАДАНИЕ на выполнение курсового проекта по дисциплине «Детали машин и основы конструирования» Привод машины КП.1302.00.00.00
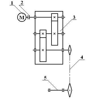
1 – электродвигатель; 2 – муфта; 3 – редуктор зубчатый; 4 – цепная передача; 5 – выходной вал привода (ведущий вал машины) Рисунок 1 – Структурная схема привода Исходные данные: Мощность на ведущем валу машины Р4 , кВт….............................…….4,1 Частота вращения ведущего вала конвейера n4 , об/мин.............…........40 Угол наклона цепи к горизонту, g, град ……………..………….………..0 Срок службы привода L г , лет..............................................................….. 9 Перечень отчетной конструкторской документации. Представить пояснительную записку и чертежи: 1) сборочный чертеж привода; 2) сборочный чертеж редуктора; 3) рабочие чертежи деталей привода и редуктора – быстроходного вала (вала-шестерни); тихоходного вала редуктора, зубчатого колеса; крышки подшипника глухой, крышки подшипника сквозной. Стадии разработки курсового проекта
Сроки защиты проекта с июня по июня 2009 года Дата выдачи технического задания февраля 2009 года
1 ВЫБОР ЭЛЕКТРОДВИГАТЕЛЯ. КИНЕМАТИЧЕСКИЙ И СИЛОВОЙ РАСЧЕТ ПРИВОДА Общий КПД привода
где Требуемая мощность электродвигателя
Принимаем электродвигатель марки 4А122М4У3 [1, табл.18.1], мощность которого P дв = 5,5 кВт, синхронная частота вращения nс = 1500 об/мин, скольжение s = 3,7 %. Диаметр выходного конца ротора dдв = 32 мм, а его длина l дв = 80 мм [1, табл.18.2]. Номинальная частота вращения вала электродвигателя
Номинальная угловая скорость двигателя
Общее передаточное число привода
где
Предварительное передаточное отношение редуктора
Предварительное передаточное отношение тихоходной ступени редуктора [1, табл.9.3]
Предварительное передаточное отношение быстроходной ступени редуктора
Из ряда стандартных значений [1, табл.10.1] и с учетом рекомендаций [1, табл.9.2] принимаем Расчетное передаточное отношение редуктора
Расчетное передаточное отношение цепной передачи
Кинематические параметры привода по валам: быстроходный вал редуктора
промежуточный вал редуктора
тихоходный вал редуктора
выходной вал привода (ведущий вал машины)
Силовые параметры привода по валам:
Данные расчета сводим в таблицу 1. Таблица 1 - Кинематические и силовые параметры привода по валам
2 РАСЧЕТ ЦЕПНОЙ ПЕРЕДАЧИ Исходные данные для расчета: Число зубьев: ведущей звездочки ведомой звездочки
Принимаем
Предварительный шаг приводной роликовой цепи (типа ПР) Принимаем цепь ПР-31,75-8850 ГОСТ 13568-75,[1,табл.13.1] для которой Скорость цепи Окружная сила Расчетный коэффициент нагрузки где [1.табл.13.4]; звездочек к горизонту (угол наклона 0º) [1, табл.13.4]; (периодическое регулирование) [1,табл.13.4] [1, табл.13.4] (работа в одну смену) [1, табл.13.4] Давление на шарнире цепи Допускаемое давление где Условие работоспособности Необходимое число звеньев цепи где Расчетное число звеньев цепи (округляем до четного числа) Расчетное межосевое расстояние цепной передачи
Диаметры делительных окружностей звездочек
Геометрическая характеристика зацепления
где Диаметры наружных окружностей звездочек
где Силы в цепной передачи: окружная (определена выше) от центробежных нагрузок от провисания цепи где Расчетная нагрузка на валы
где Коэффициент запаса прочности цепи
где Размеры ведущей звездочки: диаметр ступицы где длина ступицы где ширина зуба (для однорядной звездочки) [1,табл.13.8]
где 3 РАСЧЕТ РЕДУКТОРА 3.1 Расчет быстроходной ступени 3.1.1 Выбор материала и расчет допускаемых напряжений Так как в техническом задании нет ограничений по габаритам, то выбираем материал с твердостью до 350 НВ [1, табл.10.2]: принимаем для шестерни сталь 45, термическая обработка – улучшение , средняя твердость НВ 1 = 280 НB, для колеса – сталь 45, термическая обработка – улучшение, но средняя твердость (с учетом диаметра заготовки) на 80 единиц ниже – НВ2 = 200 НВ. Разность средней твердости рабочих поверхностей зубьев шестерни и колеса более 70 НВ приводит к увеличению нагрузочной способности передачи, уменьшению ее габаритов и металлоемкости. Допускаемые контактные напряжения
где циклов [1, табл.10.3]; Ресурс привода где Действительное число циклов нагружения: для колеса для шестерни Число циклов нагружения, соответствующее пределу контактной выносливости, Допускаемые контактные напряжения для материала шестерни колеса Расчетные допускаемые контактные напряжения (передача косозубая и разность твердости материалов шестерни и колеса более 70 НВ) [1, табл.10.3]
Требуемое условие Допускаемые напряжения изгиба (нагрузка односторонняя)
где Предел выносливости при изгибе при базовом числе циклов длястали 45 [1, табл. 10.4]: для шестерни для колеса Число циклов нагружения, соответствующее пределу выносливости при изгибе, для всех сталей Коэффициент безопасности
где материала [1, табл. 10.4]; зубчатого колеса [1, табл. 10.4]. Допускаемые напряжения изгиба для шестерни для колеса 3.1.2. Проектировочный расчет передачи Принимаем коэффициент концентрации нагрузки при симметричном расположении колес по межосевому расстоянию с учетом твердости материала Межосевое расстояние из условия прочности по контактным напряжениям
где Стандартное межосевое расстояние принимаем Угол наклона зубьев должен находиться от 8° до 22° [1, табл.10.1]. Предварительно принимаем угол наклона зубьев Число зубьев шестерни
принимаем Число зубьев колеса Фактическое значение передаточного отношения от расчетного нет (допускается ±4,0%). Угол наклона зубьев
Основные размеры шестерни и колеса диаметры делительные
проверка диаметры вершин зубьев
диаметры впадин зубьев
ширина зубчатого венца колеса и шестерни
3.1.3 Проверочный расчет зубьев колес по контактным напряжениям Коэффициент ширины шестерни по диаметру
Окружная скорость колес
При данной скорости принимаем 8-ю степень точности [1, табл.10.7]. Коэффициент нагрузки
где [1, табл. 10. 11]; Прочность зубьев по контактным напряжениям
Недогрузка Допускается недогрузка не более 15 %, а перегрузка не более 5 %. 3.1.4 Силы в зацеплении Силы, действующие в зацеплении: окружная радиальная осевая 3.1.5 Проверочный расчет зубьев колес по напряжениям изгиба Коэффициент нагрузки
[табл. 10. 11] Эквивалентное число зубьев у шестерни у колеса Коэффициенты формы зуба Коэффициент наклона зуба
Прочность зуба шестерни и колеса на изгиб
Условие прочности выполнено. 3.2 Расчет тихоходной ступени 3.2.1 Выбор материала и расчет допускаемых напряжений Материал для зубчатых колес тихоходной ступени примем такой же, как и для быстроходной ступени: для шестерни - сталь 45 [1, табл. 10.2], термическая обработка – улучшение, средняя твердость HB
=280; для колеса – сталь 45, термическая обработка – улучшение, но средняя твердость (с учетом диаметра заготовки) на 80 единиц ниже - Допускаемые напряжения материала зубчатых колес тихоходной ступени будут иметь другое значение, в отличие от быстроходной ступени, только в том случае, если отличаются коэффициенты долговечности. Действительное число циклов нагружения для колеса для шестерни Число циклов нагружения, соответствующее пределу контактной выносливости, Число циклов нагружения, соответствующее пределу выносливости при изгибе, для всех сталей Так как материалы колес и коэффициенты долговечности для быстроходной и тихоходной ступени одинаковы, то и допустимые напряжения материалов колес равны (см. п.3.1.1). Расчетные допускаемые контактные напряжения [ Допускаемые напряжения изгиба для шестерни [ для колеса [ 3.2.2 Проектировочный расчет передачи Принимаем коэффициент концентрации нагрузки при несимметричном расположении колес Межосевое расстояние из условия прочности по контактным напряжениям Стандартное межосевое расстояние принимаем Нормальный модуль зацепления с учетом твердости колес [1, табл. 10.1]
принимаем Угол наклона зубьев должен находиться от 8 Число зубьев шестерни принимаем Число зубьев колеса Фактическое значение Угол наклона зубьев Основные размеры колеса и шестерни: диаметры делительные
проверка диаметры вершин зубьев
диаметры впадин зубьев
ширина зубчатого венца колеса и шестерни
3.2.3 Проверочный расчет зубьев колес по контактным напряжениям Коэффициент ширины шестерни по диаметру
Окружная скорость колес
При данной нагрузке принимаем 8-ю степень точности [1, табл. 10.7]. Коэффициент нагрузки
где
Прочность зубьев по контактным напряжениям
=397МПа<[ Недогрузка Допускается недогрузка не более 15%, а перегрузка не более 5%. 3.2.4 Силы в зацеплении Силы, действующие в зацеплении: окружная радиальная осевая 3.2.5 Проверочный расчет зубьев колес по напряжениям изгиба Коэффициент нагрузки
где [табл. 10. 11] Эквивалентное число зубьев у шестерни у колеса Коэффициенты формы зуба Коэффициент наклона зуба
Прочность зуба шестерни и колеса на изгиб
Условие прочности выполнено. 3.3 Проектировочный расчет валов редуктора Материал валов принимаем сталь 45, термическая – обработка улучшение. Проектировочный расчет валов выполняем по касательным напряжениям от кручения, то есть не учитываем напряжения от изгиба, влияние концентраторов напряжений и циклический характер действия напряжений. Поэтому для компенсации приближенности проектировочного расчета допускаемые напряжения принимаем заниженными: 3.3.1 Быстроходный вал Диаметр выходного конца вала
Так как быстроходный вал редуктора соединен муфтой с валом электродвигателя (
С учетом типоразмеров подшипников качения и необходимости на валу буртика определенной высоты [1, табл. 14.1] для упора ступицы шкива при сборке редуктора, принимаем диаметр вала под подшипниками Предполагаемый диаметр вала под шестерней Расстояние от впадин зубьев шестерни до шпоночного паза
где
Так как Диаметры остальных участков вала назначаем исходя из конструктивных соображений при компоновке редуктора. 3.3.2 Промежуточный вал Диаметр вала под колесом и шестерней
Принимаем из стандартного ряда [1, табл.14.1] С учетом типоразмеров подшипников качения принимаем Условие совместного изготовления вала заодно с шестерней [1, табл.10.12]. Расстояние от впадин зубьев шестерни до шпоночного паза где Окружной модуль зубьев колес тихоходной ступени где
Диаметры остальных участков вала назначаем исходя из конструктивных соображений при компоновка редуктора. 3.3.3 Тихоходный вал Диаметр выходного конца вала
Принимаем из стандартного ряда [1, табл.14.1] Диаметр вала под колесом Диаметры остальных участков вала назначаем исходя из конструктивных соображений при компоновке редуктора. 3.4 Проектировочный расчет шпоночных соединений Размеры сечений шпонок и пазов и длины шпонок принимаем по ГОСТ 23360-78 [1, табл.7.1]. Материал шпонок – сталь 45, термическая обработка – нормализация. Рабочая длина шпонки из условия прочности
где стандарту. Допускаемые напряжения смятия неподвижных шпоночных соединений при циклическом нагружении и стальной ступице
Быстроходный вал. Шпонка на выходном конце вала, сопряжение "вал - полумуфта". ступицы полумуфты Рабочая длинна шпонки
Минимальная расчетная длина шпонки (исполнение 1)
С учетом длины полумуфты и стандартного ряда длин шпонок принимаем шпонку длиной Промежуточный вал. Шпонка на выходном конце вала, сопряжение "вал – ступица зубчатого колеса". Рабочая длинна шпонки
Минимальная расчетная длина шпонки (исполнение 1)
С учетом стандартного ряда длин шпонок принимаем шпонку длиной Тихоходный вал.
Шпонка под колесом, сопряжение "вал - ступица зубчатого колеса". Рабочая длина шпонки
Минимальная расчетная длина шпонки (исполнение 1)
С учетом стандартного ряда длин шпонок принимаем шпонку длиной Шпонка на выходном конце вала, сопряжение "вал - ступица звездочки". Рабочая длина шпонки
Минимальная расчетная длина шпонки (исполнение 3)
С учетом стандартного ряда длин шпонок принимаем шпонку длиной 3.5 Конструктивные размеры зубчатых колес Шестерня быстроходной ступени, размеры которой определены выше, выполнена заодно с валом. Геометрические параметры зубчатого колеса [1, табл. 10.12]: диаметр ступицы длина ступицы с учетом ширины зубчатого венца (см. п.3.1.2) и длины шпонки в сопряжении "вал - ступица зубчатого колеса" (см. п.3.4)
толщина обода принимаем толщина диска диаметр центровой окружности
диаметр отверстий
Геометрические параметры шестерни тихоходной ступени: учитывая длину шпонки в сопряжении “вал-шестерня” (см. п.3.4) и незначительные радиальные размеры шестерни (см. п.3.2.2) выполняем её плоской (дискового типа) с осевой шириной Геометрические параметры колеса тихоходной ступени: диаметр ступицы длина ступицы с учетом ширины зубчатого венца (см. п.3.2.2) и длины шпонки в сопряжении "вал - ступица зубчатого колеса" (см. п.3.4)
толщина обода принимаем толщина диска диаметр центровой окружности
диаметр отверстий
3.6 Конструктивные размеры корпуса редуктора Толщина стенок корпуса и крышки [1, табл. 17.1]:
принимаем Толщина фланцев поясов корпуса и крышки [1, табл. 17.1]: верхнего пояса корпуса и крышки
нижнего пояса корпуса без бобышек
Диаметры болтов[1, табл.17.1]: фундаментных
принимаем болты с резьбой М 18 [1, табл.6.13]; крепящих крышку к корпусу у подшипника
принимаем болты с резьбой М 14 [1, табл.6.13]; соединяющих крышку с корпусом
принимаем болты с резьбой М 10 [1, табл.6.13]. 3.7 Эскизная компоновка редуктора В соответствии с рекомендациями [1, табл. 15.14 и 2, с.28] для опор валов редуктора назначаем шариковые радиальные подшипники. Габариты подшипников выбираем по диаметру вала в месте посадки подшипников В соответствии с рекомендациями [1, табл. 19.3] смазывание подшипников осуществляем маслом в картере за счет брызг при работе редуктора, так как окружная скорость колеса быстроходной ступени v > 3 м/с (см. п.3.1.3). Таблица 2 – Параметры подшипников
Эскизную компоновку (рис.2) выполняем в двух проекциях в следующей последовательности: а) намечаем расположение проекций компоновки в соответствии со схемой привода и наибольшим размером зубчатых колес; б) на горизонтальной проекции проводим две вертикальные параллельные линии на расстоянии в) вычерчиваем упрощенно зубчатую пару колес в виде прямоугольников в соответствии с геометрическими параметрами, полученными в результате проектировочного расчета (см. п.3.1.2 и п.3.2.2), с учетом того, что шестерня выполнена заодно с валом; г) проводим контур внутренней стенки корпуса на расстоянии А=10 мм от торцов колес для предотвращения их контакта во время работы редуктора; при этом зазор между наружным диаметром подшипников и контуром стенок должен быть не менее величины А; расстояние между дном корпуса редуктора и поверхностью колес должно быть не менее А , >4А; д) вычерчиваем контуры подшипников согласно размерам, приведенным в таблице.2; в соответствии с принятой системой смазки размещаем подшипники в корпусе редуктора, углубим их от внутренней стенки корпуса на 5 мм; е) на выходных концах быстроходного и тихоходного валов вычерчиваем гнезда под подшипники; глубина гнезда ж) вычерчиваем торцовые крышки узлов подшипников в соответствии с размерами [1, табл. 17.6]; з) вычерчиваем ступени валов на соответствующих осях по размерам, полученным выше (см. п.2 и п.3.3); ступени выходных концов быстроходного и тихоходного валов располагаем на расстоянии 5 мм от внешнего торца крышки подшипников, при этом длина ступени соответственно равна длине полумуфте и) измерением устанавливаем расстояние между точками приложения реакций опор валов и силами в зацеплении зубчатых колес:
3.8 Проверочный расчет подшипников 3.8.1 Опоры быстроходного вала Из предыдущих расчетов:
Реакции опор от сил в зубчатом зацеплении (рис.3, б): в плоскости xz
проверка: в плоскости yz Рисунок 3 – Расчетная схема и эпюры силовых факторовбыстроходного вала редуктора проверка: Реакции опор от силы
проверка:
Суммарные реакции опор
Эквивалентная нагрузка
в которой Отношение [1, табл. 15.9]. Рассмотрим подшипник опоры 1.
Рассмотрим подшипник опоры 2.
Так как
Расчетная долговечность в часах
что больше ресурса привода !!!!!!!!!!!!!!!!!!!!!!!!!!!!!!!!!!!!!!!!!!!!!!!!!!!!!!!!!!!!!!!!!!!!!!!!!!!!!!!!!!!!!!!!!!!!!!!!!!!!!!!!!!!!!!!!!!!!!!!!!!!!!!!!!!!!!!!!!!!!!!!!!!!!!!!!!!!!!!!!!!!!!!!!!!!!!!!!!!!!!!!!!!!!!!!!!!!!!!!!!!!!!!!!!!!!!!!!!!!!!!!!!!!!!!!!!!!!!!!!!!!!!!!!! 3.8.2 Опоры промежуточного вала Из предыдущих расчетов: Реакции опор (рис.4): в плоскости xz
проверка: в плоскости yz
проверка:
Рисунок 4 – Расчетная схема и эпюры силовых факторовтихоходного вала редуктора Суммарные реакции опор
Эквивалентная нагрузка
в которой Отношение [1, табл. 15.9]. Рассмотрим подшипник опоры 3. нагрузку не учитываем. Тогда
Рассмотрим подшипник опоры 4. нагрузку не учитываем. Тогда
Так как
Расчетная долговечность в часах
что больше минимальной долговечности подшипников 3.8 Конструктивная компоновка редуктора Используем чертеж эскизной компоновки (см. рис. 1.2). На данном этапе компоновки необходимо конструктивно рассмотреть основные детали редуктора, что будет затем использовано при проверочном расчете валов на прочность и оформлении сборочного чертежа. Схема смазки зацепления и подшипников принята в п.3.6. В нижней части корпуса устанавливаем пробку для спуска масла [1, табл. 17.2] и жезловый маслоуказатель [1, табл.17.9]. Конструкция корпуса должна обеспечить сборку редуктора. Геометрические размеры некоторых элементов корпуса определены в п.3.5, а остальных - принимаем конструктивно. Основные конструктивные размеры валов и зубчатых колес определены в п.3.2 и п.3.4. Для фиксации зубчатого колеса в осевом направлении предусматриваем заплечики вала с одной стороны и установку распорной втулки с другой; место перехода вала под распорной втулкой смещаем на 1...2 мм внутрь ступицы колеса с тем, чтобы гарантировать прижатие торца втулки к торцу ступицы колеса, а не к галтели вала. Крышки подшипниковых узлов на валах с одной стороны глухие, а с другой – сквозные с манжетными уплотнениями. Под крышки устанавливаем набор металлических прокладок для регулирования зубчатого зацепления при сборке редуктора. 3.9 Выбор посадок сопряжений основных деталей Посадки назначаем в соответствии с указаниями, данными в табл.3.8 [1]: – посадка зубчатого колеса на вал – H7/r6; – посадка звездочки цепной передачи на тихоходный вал редуктора – H7/h6; – посадка полумуфты на быстроходный вал редуктора – H7/k6; – посадка подшипников на вал (нагружение внутреннего кольца – циркуляционное) – L0/k6 [ 1, табл. 15.16]; – посадка подшипников в корпусе редуктора (нагружение наружного кольца – местное) – Н7/l 0; – посадка распорных втулок на вал – H7/k6; – посадка шпонок в паз вала – N9/h9, а в паз ступицы – Js9/h9 [ 1, табл.7.4]. 3.10 Проверочный расчет валов Расчет производим для предположительно опасных сечений каждого из валов. Проверочный расчет валов состоит в определении коэффициентов запаса прочности Результирующий коэффициент запаса прочности
где напряжениям Коэффициенты запаса прочности по нормальным напряжениям (нормальные напряжения от изгиба изменяются по симметричному циклу и поэтому средние напряжения цикла
где цикла напряжений; данного сечения вала. Коэффициенты концентрации напряжений для данного сечения вала
где Быстроходный вал
(см. рис.3). Материал вала тот же, что и для шестерни (шестерня выполнена заодно с валом), то есть сталь 45, термическая обработка – улучшение. При диаметре заготовки до 80 мм (в нашем случае Пределы выносливости материала
Сечение А – А.
Диаметр вала в этом сечении Коэффициенты концентрации напряжений для данного сечения вала
Изгибающий момент (см. рис.3)
где Полярный и осевой моменты сопротивления сечения (
Амплитуда и среднее напряжение цикла касательных напряжений
Амплитуда нормальных напряжений изгиба
Коэффициент запаса прочности по нормальным напряжениям
Коэффициент запаса прочности по касательным напряжениям
Результирующий коэффициент запаса прочности
Большой коэффициент запаса прочности объясняется тем, что диаметр выходного конца вала был увеличен при конструировании для соединения его стандартной муфтой с валом электродвигателя (см. п.3.2.1) По той же причине проверять прочность в сечении Б – Б нет необходимости. Прочность вала обеспечена. Тихоходный вал (см. рис.4). Материал вала – сталь 45, термическая обработка – улучшение. Наибольший диаметр вала [1, табл.14.1]
где При диаметре заготовки до 80 мм предел прочности табл. 10.2]. Пределы выносливости материала
Сечение В – В.
Диаметр вала в этом сечении отношения При расчете учитываем источник концентрации с наибольшим отношением. Коэффициенты концентрации напряжений для данного сечения вала
Изгибающий момент (см. рис.4)
Полярный и осевой моменты сопротивления сечения (
Амплитуда и среднее напряжение цикла касательных напряжений
Амплитуда нормальных напряжений изгиба
Коэффициент запаса прочности по нормальным и касательным напряжениям
Результирующий коэффициент запаса прочности
Сечение Г – Г
. Диаметр вала в этом сечении Коэффициенты концентрации напряжений для данного сечения вала
Изгибающий момент (см. рис.4)
где Полярный и осевой моменты сопротивления сечения (
Амплитуда и среднее напряжение цикла касательных напряжений
Амплитуда нормальных напряжений изгиба
Коэффициенты запаса прочности по нормальным и касательным напряжениям
Результирующий коэффициент запаса прочности
Сечение Д – Д.
Диаметр вала в этом сечении Коэффициенты концентрации напряжений для данного сечения вала
Изгибающий момент (см. рис.4, ж)
Полярный и осевой моменты сопротивления сечения (
Амплитуда и среднее напряжение цикла касательных напряжений
Амплитуда нормальных напряжений изгиба
Коэффициенты запаса прочности по нормальным и касательным напряжениям
Результирующий коэффициент запаса прочности
Прочность вала обеспечена. 3.11 Выбор смазочных материалов Так как окружная скорость зубчатого колеса v > 1 м/с (см. п. 3.1.3), то смазывание зубчатого зацепления производится окунанием зубчатого колеса в масло, заливаемое внутрь корпуса редуктора до уровня, обеспечивающего погружение колеса примерно на 10 мм. По табл.19.4 [1] устанавливаем вязкость масла. При контактных напряжениях 3.12 Сборка редуктора Перед сборкой внутреннюю полость корпуса редуктора тщательно очищают и покрывают маслостойкой краской. Сборку производят в соответствии со сборочным чертежом редуктора, начиная с узлов валов: – на быстроходный вал напрессовывают подшипники, предварительно нагретые в масле; – в тихоходный вал закладывают шпонки и напрессовывают зубчатое колесо до упора в бурт вала; затем надевают распорные втулки и напрессовывают подшипники, предварительно нагретые в масле. Собранные валы укладывают в основание корпуса редуктора и устанавливают крышку корпуса, покрывая предварительно поверхности стыка крышки и корпуса спиртовым лаком. Для центровки устанавливают крышку на корпус с помощью двух конических штифтов; затягивают болты, крепящие крышку к корпусу. После этого устанавливают крышки подшипников с комплектом металлических прокладок для регулировки положения зубчатого зацепления. Перед постановкой сквозных крышек в проточки закладывают манжетные уплотнения. Проверяют проворачиванием валов отсутствие заклинивания подшипников (валы должны проворачиваться от руки) и закрепляют крышки нишами. Затем ввертывают пробку маслоспускного отверстия с прокладкой и жезловый маслоуказатель. Заливают в корпус масло и закрывают смотровое отверстие крышкой с прокладкой из технического картона; закрепляют крышку болтами. Собранный редуктор обкатывают и подвергают испытанию на стенде по программе, устанавливаемой техническими условиями. 4 ВЫБОР МУФТЫ Исходя из характера выполняемого производственного процесса машиной и технического задания на проектирование привода, для соединения выходных концов выходного вала привода и быстроходного вала редуктора, установленных на общей раме, принимаем упругую втулочно-пальцевую муфту (МУВП). Эта муфта обладает достаточными упругими свойствами и малым моментом инерции, что снижает действие пусковых нагрузок на валы. Типоразмер муфты выбираем с учетом диаметров соединяемых валов (см. п. 3.2.2) и по величине расчетного вращающего момента
где С учетом длины шпонки в сопряжении "вал - ступица полумуфты" (см. п. 3.3), принимаем муфту МУВП 250-38-I.1-32-I.2-УЗ ГОСТ 21424-93 [1, табл. 16.1]. 5 СБОРКА ПРИВОДА Сборку привода производим в соответствии со сборочным чертежом в следующей последовательности: – в шпоночный паз выходных концов вала электродвигателя и быстроходного вала редуктора закладываем шпонки, устанавливаем соответственно ведущий и ведомый шкивы ременной передачи и закрепляем их от осевого сдвига торцовым креплением; – в шпоночный паз выходных концов выходного вала привода и тихоходного вала редуктора закладываем шпонки и устанавливаем полумуфты; – устанавливаем электродвигатель и редуктор на раму машины, производим сборку и центровку муфты и ременной передачи; – производим крепление узлов привода на раме машины при помощи фундаментных болтов. После сборки привода устанавливаем по месту кожух ограждения ременной передачи. Собранную машину подвергнуть испытанию по программе, установленной технической документацией. СПИСОК ИСПОЛЬЗОВАННЫХ ИСТОЧНИКОВ 1. Арон А.В. Справочное руководство по проектированию деталей машин: Уч. пос. - Владивосток, Морской государственный университет им. адм. Г.И. Невельского, 2002. 200 с. |
||||||||||||||||||||||||||||||||||||||||||||||||||||||||||||||||||||||||||||||||||||||||||||||||||||||||||||||||||||||||||||


мм.
мм.

мм;
мм, где
мм.
мм.
мм.

Н;
Н;
млн об.
Н;
млн об.



МПа.
МПа.
МПа.
МПа.