Учебное пособие: Методические указания по решению задач курсовой работы 7 определение показателей безотказности функциональной системы (подсистемы) ла 7
|
Название: Методические указания по решению задач курсовой работы 7 определение показателей безотказности функциональной системы (подсистемы) ла 7 Раздел: Остальные рефераты Тип: учебное пособие | |||||||||||||||||||||||||||||||||||||||||||||||||||||||||||||||||||||||||||||||||||||||||||||||||||||||||||||||||||||||||||||||||||||||||||||||||||||||||||||||||||||||||||||||||||||||||||||||||||||||||||||||||||||||||||||||||||||||||||||||||||||||||||||||||||||||||||||||||||||||||||||||||||||||||||||||||||||||||||||||||||||||||||||||||||||||||||||||||||||||||||||||||||||||||||||||||||||||||||||||||||||||||||||||||||||||||||||||||||||||||||||||||||||||||||||||||||||||||||||||||||||||||||||||||||||||||||||||||||||||||||||||||||||||||||||||||||||||||||||||||||||||||||||||||||||||||||||||||||||||||||||||||||||||||||||||||||||||||||||||||||||||||||||||||||||||||||||||||||||||||||||||||||||||||||||||||||||||||||||||||||||||||||||||||||||||||||||||||||||||||||||||||||||||||||||||||||||||||||||||||||||||||||||||||||||||||||||||||||||||||||||||||||||||||||||||||||||||||||||||||||||||||||||||||||||||||||||||||||||||||||||||||||||||||||||||||||||||||||||||||||||||||||||||||||||||||||||||||||||||
| СОДЕРЖАНИЕ 2. СТРУКТУРА КУРСОВОЙ РАБОТЫ.. 6 3. МЕТОДИЧЕСКИЕ УКАЗАНИЯ ПО РЕШЕНИЮ ЗАДАЧ КУРСОВОЙ РАБОТЫ 8 3.1. ОПРЕДЕЛЕНИЕ ПОКАЗАТЕЛЕЙ БЕЗОТКАЗНОСТИ ФУНКЦИОНАЛЬНОЙ СИСТЕМЫ (ПОДСИСТЕМЫ) ЛА.. 8 3.2. ОПРЕДЕЛЕНИЕ ОБОБЩЁННЫХ ПОКАЗАТЕЛЕЙ ЭКСПЛУАТАЦИОННОЙ ТЕХНОЛОГИЧНОСТИ ЛА . 15 3.3. ВЫБОР РАЦИОНАЛЬНЫХ СТРАТЕГИЙ ТЕХНИЧЕСКОГО ОБСЛУЖИВАНИЯ ИЗДЕЛИЙ ФУНКЦИОНАЛЬНОЙ СИСТЕМЫ.. 20 3.4.формирование оптимального регламента технического обслуживания изделий фс. 25 ПРИЛОЖЕНИЯ…………………………………………………………………..…53 КУРСОВАЯ РАБОТА Тема: Проектирование эффективного процесса технической эксплуатации летательного аппарата Выполнение курсовой работы является промежуточным этапом в изучении дисциплины "Основы теории эксплуатации АТ". Цель курсовой работы - приобретение студентами навыков разработки эффективного процесса технической эксплуатации (ПТЭ) ЛА, включающего решение задач: определения показателей безотказности на примере одной из функциональных систем (ФС) или подсистем; определения обобщенных показателей эксплуатационной технологичности ЛА; выбора рациональных стратегий технического обслуживания (ТО) изделий ФС (подсистемы); формирования оптимального регламента ТО ФС (подсистемы); анализа и оценки эффективности проектируемого ПТЭ ЛА. Объектом исследования является ЛА, ФС (подсистема) и ее изделия. Тип ЛА, ФС (подсистемы), изделия выбираются преподавателем с учетом пожеланий студента и записываются в техническом задании (приложение 1). Там же указываются условия эксплуатации парка ЛА (№ варианта по приложению 7). Все необходимые исходные данные для выполнения курсовой работы содержатся в приложениях к пособию. При выполнении курсовой работы автор несет ответственность за правильность расчетов, принятые технические решения. Преподаватель, обеспечивающий руководство работой студента, уточняет объем и глубину проработки отдельных частей и вопросов, проводит консультации и осуществляет текущий контроль. При оформлении курсовой работы необходимо соблюдать определенные требования. Изложение материала должно быть конкретным и четким. Заимствованные цитаты, таблицы и другие материалы должны иметь ссылку на источник. Текст курсовой работы оформляется по ГОСТу 2.105-75 "Общие требования к текстовым документам" и ГОСТу 2.106-68 "Текстовые документы", п.7 "Расчеты". Титульный лист должен быть оформлен чертежным шрифтом (Приложение 2). За ним следует техническое задание и далее лист "Содержание", на котором выполняется основная надпись по форме рис. 1.1.
Рис.1.1. Пример заполнения основных надписей пояснительной записки Шифр работы формируется в следующей последовательности: 1) шифр студенческой книжки; 2) дисциплина - ОТЭ АТ; 3) обозначение работы - КР (курсовая работа); 4) вариант задания - соответствует обозначению функциональной системы по классификации АТА-100. Текст ПЗ должен быть написан разборчиво на одной стороне листов формата А4 (297х210 мм) с полями слева 20 мм. Необходимые схемы, графики в тексте ПЗ могут выполняться на стандартах А4 миллиметровой бумаги. Числовые значения в формулах объясняются. Окончательный результат приводится с указанием размерности. На графиках необходимо указывать масштаб и размерность изображаемых величин. Иллюстрации должны иметь номера и подрисуночные надписи. Таблицы, помещенные в тексте, должны иметь номера и названия. На все иллюстрации и таблицы в тексте должны быть даны ссылки. В тексте необходимо выделить заголовки отдельных частей работы, их разделов и подразделов в соответствии с содержанием. В конце ПЗ дается литература, используемая при выполнении курсовой работы. Общий объем ПЗ должен составлять 25...30 страниц формата А4. Проектирование эффективного процесса технической эксплуатации ЛА представляет последовательное решение следующих задач: Задача 1. Определение показателей безотказности ФС (подсистемы) ЛА. Задача 2. Определение обобщенных показателей эксплуатационной технологичности (ЭТ) ЛА. Задача 3. Выбор рациональных стратегий ТО изделий ФС (подсистемы). Задача 4. Формирование оптимального регламента ТО ЛА на примере ФС (подсистемы) Задача 5. Построение модели процесса технической эксплуатации ЛА и расчет показателей его эффективности. Каждая задача решается для указанных в техническом задании типа ЛА, ФС (или подсистемы) и ее основных изделий. Эффективность спроектированного ПТЭ определяется по результатам оценки его показателей и сравнения их с заданными нормативными значениями. Пояснительная записка оформляется в следующей последовательности: Титульный лист. Техническое задание. Введение. 1. Определение показателей безотказности ФС (подсистемы). 1.1. Описание функциональных задач, выполняемых ФС (подсистемой). 1.2. Определение показателей безотказности основных изделий. 1.3. Определение показателей безотказности блоков и ФС (подсистемы). 2. Определение обобщенных показателей ЭТ ЛА. 2.1. Определение показателя КОП . 2.2. Определение показателя КОТ . 2.3. Определение показателя Рy (t 3. Выбор рациональных стратегий ТО изделий ФС (подсистемы). 4. Формирование оптимального регламента ТО ЛА на примере ФС (подсистемы). 4.1. Определение периодичности ТО изделий ФС. 4.2. Группировка операций ТО изделий в оптимальные формы регламента ФС. 5. Построение модели ПТЭ ЛА и расчет показателей его эффективности. 5.1. Построение модели ПТЭ. 5.2. Оценка уровня эффективности проектируемого ПТЭ. 5.3. Разработка предложений по совершенствованию процесса ТО и улучшению ЭТ ЛА. Выводы. Литература. 3. МЕТОДИЧЕСКИЕ УКАЗАНИЯ ПО РЕШЕНИЮ ЗАДАЧ КУРСОВОЙ РАБОТЫ 3.1. ОПРЕДЕЛЕНИЕ ПОКАЗАТЕЛЕЙ БЕЗОТКАЗНОСТИ ФУНКЦИОНАЛЬНОЙ СИСТЕМЫ (ПОДСИСТЕМЫ) ЛА Определение показателей безотказности ФС и ее изделий выполняется с целью последующего выбора рациональных стратегий ТО, формирования оптимального регламента и проектирования эффективного ПТЭ ЛА. Исходной информацией является: принципиальная схема ФС (справочный материал при необходимости выдается на кафедре); характеристики безотказности изделий ФС (параметры потока отказов Анализ и оценка безотказности ФС выполняется на основе функциональных задач, решаемых ФС (подсистемой) и основными ее изделиями. Функциональные задачи, выполняемые ФС и каждым ее изделием, студент изучает по техническим описаниям и непосредственно при изучении конкретной техники. На основе полученной информации составляется краткое описание функционирования системы. Принципиальная схема ФС (подсистемы) со спецификацией должна быть представлена в записке на листе формата А4. Описывается назначение каждого изделия и приводятся типовые (возможные) отказы и повреждения как изделий, так и системы в целом. Материал оформляется самостоятельным подразделом в соответствии с предложенной структурой курсовой работы. 3.1.1. Определение показателей безотказности отдельных изделий Определяется вероятность безотказной работы каждого изделия из предположения стационарного потока отказов: для t = tБ.П ; t = tФ1 ; t = tФ2 ; t = tФ3 , где tФ1 , tФ2 , tФ3 - периодичность выполнения 1, 2, 3-й форм регламента для типа ЛА (приложение 4); 3.1.2. Определение показателей безотказности ФС (подсистемы) Анализ и оценка безотказности ФС проводится с целью ответа на вопрос, влияют ли отказы изделий ФС на безопасность полетов. Для определения показателей безотказности ФС (вероятности безотказной работы за t
= В результате построения структурной схемы выделяются изделия, отказы которых не влияют на безопасность полетов (параллельное соединение), и изделия, отказы которых влияют на безопасность полетов (последовательное соединение). Для расчета вероятности безотказной работы ФС P(t) используются выражения, представленные в табл. 3.1. Таблица 3.1 Оценка P(t) ФС методом структурных схем.
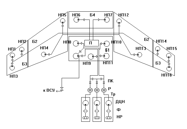
Рассмотрим в качестве примера топливную систему самолета Ту-154М, принципиальная схема которой приведена на рис.3.1. Топливная система состоит из:
После краткого описания работы топливной системы анализируются отказы изделий, при которых они не выполняют своих функций, и последствия отказов с учетом последовательного и параллельного соединения. Например, в насосе перекачки НП3 могут отказать электрическая и механическая части. Оба этих отказа приводят к отказу насоса. Отказ насоса приведет к тому, что на больших высотах нарушится бесперебойная подача топлива от топливного бака Б3 к насосу двигателя ДЦН. Это означает, что в структурной схеме насос НП3 и бак Б3 должны быть соединены последовательно. Отказ насоса перекачки НП3 приводит к отказу одной ветви системы питания от Б3. Однако подачу топлива будут обеспечивать насосы НП1 и НП2. Отсюда следует, что в структурной схеме НП1, НП2, НП3 должны быть соединены параллельно.
Для упрощения расчета систему рекомендуется разбить на блоки I-VIII. Блоки целесообразно составлять из элементов, имеющих функциональную связь (рис. 3.2). Далее определяется вероятность безотказной работы для каждого блока. В рассмотренном примере имеем: 1) для блока I: PI =PБ ЗЛ [1-(1-PНП1 ·PОК1 )·(1-PНП2 ·PОК2 )·(1-PНП3 ·PОК3 )] 2) для блока II: PI =PБ2л [1-(1-PНП4 ·PОК4 )·(1-PНП5 ·PОК5 )] 3) для блока III:PIII =PБ4 [1-(1-PНП6 ·PОК6 )·(1-PНП7 ·PОК7 )] 4) для блока IV:PIV =PБ2п [1-(1-PНП12 ·PОК12 )·(1-PНП13 ·PОК13 )] 5) для блока V:PV =PБ3п [1-(1-PНП14 ·PОК14 )·(1-PНП15 ·PОК15 )·(1-PНП16 ·PОК16 )] 6) для блока VI:PVI =PП ·PБ1 7) для блока VII:PVII =1-(1-PНП8 ·PОК8 )·(1-PНП9 ·PОК9 )·(1-PНП10 ·PОК10 )·(1-PНП11 ·PОК11 ) 8) для блока VIII:PVIII =Рпк·Рр·Рдцн·Рф·Рнр·Ртр В блоке VIII условно представлены все три двигателя
Строим укрупненную структурную схему ФС (рис. 3.3).
Рис. 3.3. Укрупненная структурная схема системы. Из схемы следует, что вероятность безотказной работы топливной системы будет равна: PФС =[1-(1-PI )·(1-PII )·(1-PIII )·(1-PIV )·(1-PV )]·PVI ·PVII ·PVIII Расчет доводится до числовой оценки подстановкой значений вероятности безотказной работы блоков и изделий в соответствии с табл. 3.1 и выполняется для t
= Результаты определения показателей безотказности ФС и ее изделий представляются в форме табл. 3.2. Таблица 3.2 Результаты определения показателей безотказности отдельных изделий, блоков и ФС в целом
По результатам расчетов, проведенных в данном разделе (на основании информации, представленной в табл. 3.2), необходимо: 1) проанализировать значения показателей безотказности изделий, блоков и ФС в целом и динамику их изменения от наработки; 2) выделить наименее надежные изделия и блоки и дать предложения по повышению безотказности ФС; 3) выделить изделия, отказы которых влияют на безопасность полётов, отметив их знаком + в графе 8 табл. 3.2. 3.2. ОПРЕДЕЛЕНИЕ ОБОБЩЁННЫХ ПОКАЗАТЕЛЕЙ ЭКСПЛУАТАЦИОННОЙ ТЕХНОЛОГИЧНОСТИ ЛА Эксплуатационная технологичность ЛА оценивается совокупностью обобщенных и единичных показателей. Обобщенные показатели характеризуют ЭТ ЛА с точки зрения потребных затрат времени и труда на проведение ТОиР. Единичные показатели характеризуют лишь отдельные стороны ЭТ. Выбор состава обобщенных показателей ЭТ осуществляется исходя из принятых структуры и совокупности показателей эффективности ПТЭ ЛА. Значения показателей ЭТ определяются на основе использования данных по ТОиР, а также по действующим ресурсам самолетов, двигателей, комплектующих изделий. В курсовой работе для заданного типа ЛА предлагается определить значения следующих обобщенных показателей ЭТ: а) КОП - удельная суммарная оперативная продолжительность ТОиР; б) КОТ - удельная суммарная оперативная трудоемкость ТОиР; в) Рy (t 3.2.1. Определение показателя КОП . Показатель “удельная суммарная оперативная продолжительность ТОиР КОП ” определяется из выражения:
где tоп , tп - суммарная оперативная продолжительность выполнения всех форм оперативного и периодического обслуживания, соответственно, за межремонтный ресурс (ремонтный цикл) самолета Tрес.с , ч; tрем.с – средняя оперативная продолжительность ремонта самолета или суммарная средняя оперативная продолжительность всех ремонтных форм за Tрес.с , ч; tсм - средняя оперативная продолжительность замены двигателя, ч; Tрес.д – межремонтный ресурс двигателя, ч; Kд – коэффициент досрочных замен двигателей; b - коэффициент, учитывающий количество замен двигателей, которые не совмещаются по времени с проведением периодических форм ТОиР на самолете. Значения toп и tп определяются исходя из принятых для каждого типа самолета форм технического обслуживания, периодичности и средних значений оперативной продолжительности их выполнения: где tA , tБ - средние значения оперативной продолжительности выполнения оперативных форм ТО самолета (форм А и Б); nA ,nБ - общее число соответствующих форм обслуживания за TРЕС.С ; tФ1 , tФ2 , tФ3 - средние значения оперативной продолжительности выполнения периодических форм ТО самолета (Ф-1, Ф-2, Ф-3); nФ1 , nФ2 , nФ3 - общее число соответствующих форм обслуживания за TРЕС.С . Общее число оперативных форм обслуживания за TРЕС.С рекомендуется определять из выражений: где nп - суммарное число периодических форм ТО, выполняемых за TРЕС.С ; tФБ - периодичность выполнения формы Б в сутках (приложение 4); TГСС - средний годовой налет на списочный самолет (приложение 4). Общее число периодических форм ТО nп за TРЕС.С определяется с использованием данных о периодичности выполнения форм Ф-1, Ф-2, Ф-3 для заданного типа самолета (приложение 4). При этом используются следующие выражения:
Необходимые для расчета исходные данные о TPEC.C , TPEC.Д , TГСС , tPEM , tCM , b , KД и другие содержатся в приложениях 4 и 5. Результаты расчета представляются в форме табл. 3.3. Таблица 3.3 Результаты расчета суммарной оперативной продолжительности ТОиР самолёта (для первого члена выражения 3.2)
Далее с использованием результатов расчета (табл. 3.3.) и других необходимых исходных данных по выражению (3.2) определяется искомое значение КОП . 3.2.2. Определение показателя КОТ . Показатель "удельная суммарная оперативная трудоемкость ТОиР" определяется из выражения где TОП - суммарная оперативная трудоемкость всех форм оперативного технического обслуживания, включая работы по устранению отказов и повреждений за TPEC.C . чел.-ч; TП - суммарная оперативная трудоемкость всех форм периодического обслуживания за TPEC.C , чел.-ч; TРЕМ.С , ТРЕМ.Д , ТРЕМi - трудоемкость ремонта самолета, двигателя, i-го изделия соответственно, чел.-ч; TCM - трудоемкость замены двигателя, чел.-ч; TPEC.Иi - межремонтный ресурс i-го изделия, ч; aИi - коэффициент досрочных замен i-го изделия; nД , nИi - число двигателей и изделий каждого типа на самолете, заменяемых в пределах TPEC.Д и TPEC.C соответственно; NИ - число типов изделий, заменяемых на самолете в пределах TPEC.C . Величины TОП и TП определяются исходя из принятых для самолета форм ТО в пределах TPEC.C , средних значений оперативной трудоемкости каждой из форм и их числа за TPEC.C . Число обслуживаний определяется по выражениям, приведенным выше (п.3.2.1). Исходные данные об оперативной трудоемкости форм ТОиР приведены в приложении 6. Результаты расчета представляются в форме табл. 3.4. Таблица 3.4 Результаты расчета суммарной оперативной трудоемкости ТОиР самолёта (для первого члена выражения (3.7))
Необходимые исходные данные для определения значения второго члена выражения (3.7) содержатся в приложениях 4 и 6. Третий член выражения (3.7) из-за отсутствия полных и достоверных исходных данных при выполнении курсовой работы можно не рассчитывать, а принять его равным 10% от удельной оперативной трудоемкости ТОиР самолета (первого члена выражения (3.7)). Имея исходные данные для определения всех трех членов выражения (3.7), рассчитывается искомое значение показателя KOT для рассматриваемого типа самолёта. 3.2.3. Определение показателя Р
у(
t Вероятность выполнения внепланового текущего ремонта Ру(t Если ФС и их изделия модульного типа ,а текущий ремонт осуществляется методом замены, то, как правило, имеет место экспоненциальное распределение времени текущего ремонта и, следовательно: Ру(t где m -интенсивность текущего ремонта; tз –заданное время для устранения отказа. В случаях, когда интенсивность текущего ремонта m является величиной, постоянной во времени, а закон распределения времени устранения отказов- экспоненциальный, m определяется как величина, обратная среднему времени устранения отказов (текущего ремонта): m=1/ ty . За величину tз принимается значение tст.м –наименьшее время плановой стоянки самолета в транзитных аэропортах, рекомендуемое для задействования в расписании полетов. Исходные данные, необходимые для определения показателя Ру(t Показатель Ру(t Результаты расчета сводятся в табл.3.5. Таблица 3.5.
Результаты определения показателя Ру(t Анализ Ру(t 3.3. ВЫБОР РАЦИОНАЛЬНЫХ СТРАТЕГИЙ ТЕХНИЧЕСКОГО ОБСЛУЖИВАНИЯ ИЗДЕЛИЙ ФУНКЦИОНАЛЬНОЙ СИСТЕМЫ В зависимости от имеющихся возможностей определения работоспособного состояния изделий в процессе эксплуатации и от принятого критерия для установления сроков их замен на самолете различают следующие стратегии эксплуатации (использования): до выработки ресурса (срока службы), до отказа, до предотказового состояния. Выбор наиболее рациональной стратегии использования изделий производится в соответствии со схемами рис. 3.4 и 3.5 с учетом результатов анализа, выполненного в предыдущих разделах курсовой работы.
Структурный Статистический Анализ кон- Анализ анализ безот- анализ безотказ- тролепригод- ЭТ
По степени По уровню без- По диагности- По признакам резервиров. отказности и ческим призна- ЭТ
Эксплуатация Эксплуатация до Эксплуатация до пред- до выработки отказа отказового состояния ресурса Рис. 3.4. Последовательность действий при выборе стратегий использования изделий ФС
Влияет отказ на регу- Влияет отказ на регу-
Возможно опре- Возможно опре- Возможно опре- деление предот- деление предот- деление предот-
нет да нет да да нет
Использование (эксплуатация) Использование (эксплуатация) до Использование (эксплуа- до выработки ресурса предотказового состояния тация) до отказа
ТОНАР ТОСКП ТОСКУН Рис. 3.5. Логическая схема выбора рациональных стратегий использования и ТО и Р для изделий ФС Стратегии эксплуатации (использования) изделий ФС ЛА связаны со стратегиями ТО. Различают стратегии: техническое обслуживание по наработке (ТОНАР); техническое обслуживание по состоянию с контролем параметров (ТОСКП); техническое обслуживание по состоянию с контролем уровня надежности (ТОСКУН). При ТОНАР перечень и периодичность выполнения операций определяются значением наработки изделия с начала эксплуатации или после капитального ремонта. Техническое обслуживание по состоянию характеризуется тем, что перечень и периодичность выполнения операций определяется фактическим техническим состоянием изделия. При ТОСКП изделие используется до предотказового состояния. Критерием технического состояния изделия является значение контролируемого параметра или совокупности параметров. При ТОСКУН изделие используется до отказа, межремонтный ресурс не устанавливается, ТО содержит работы по регулировке, калибровке, обнаружению отказов и их устранению. Критерием технического состояния является уровень надежности совокупности однотипных изделий. Для каждой стратегии эксплуатации (использования) можно выбрать вполне определенные, отличающиеся наибольшей эффективностью стратегии технического обслуживания (обозначены знаком "+" в табл. 3.6). Таблица 3.6 Взаимосвязь стратегий эксплуатации и ТО изделий ФС
Результаты логического выбора стратегий использования изделий рассматриваемой ФС в соответствии со схемами, приведенными на рис.3.4 и 3.5, и последующее формирование наиболее рациональных стратегий ТО изделий, в соответствии с табл.3.6, должны быть обобщены и представлены по форме табл.3.7. Таблица 3.7 Результаты выбора стратегий ТО изделий ФС
Примечание: ответы на вопросы в графах 3, 4, 5 даются в форме "да", "нет". 3.4. ФОРМИРОВАНИЕ ОПТИМАЛЬНОГО РЕГЛАМЕНТА ТЕХНИЧЕСКОГО ОБСЛУЖИВАНИЯ ИЗДЕЛИЙ ФС Формирование оптимального регламента технического обслуживания функциональной системы ЛА выполняется в два этапа: 1 этап: определение оптимальной периодичности технического обслуживания изделий – t пр.опт . 2 этап: группировка работ по техническому обслуживанию изделий в оптимальные формы регламента ФС. 3.4.1 Определение периодичности технического обслуживания изделий ФС. Под периодичностью ТО изделий (tПР ) понимается интервал времени или наработки между данным видом ТО и последующим таким же видом или другим большей сложности. Назначение сроков проведения ТО подразумевает определение оптимальной периодичности выполнения работ по ТО (tПР.ОПТ ) для каждого изделия заданной ФС в соответствии с принципиальной схемой системы (п. 3.1). В зависимости от эксплуатационно-технических характеристик изделий ФС определение tПР.ОПТ производится различными методами (табл. 3.8) c использованием различных критериев оптимизации (табл. 3.9). Выбор нужного критерия осуществляется в зависимости от: вида выполняемых на изделии регламентных работ в соответствии с принятым перечнем; условий поставленной задачи (что требуется получить: максимум безопасности, регулярности, исправности, экономической эффективности). В большинстве случаев для определения периодичности ТО отдельных изделий используются вероятностные методы. При решении данной задачи студент определяет оптимальную периодичность ТО для каждого из изделий заданной ФС, подбирая для каждого из них "свой" критерий в соответствии с табл. 3.9. Таблица 3.8 Классификация методов определения tПР.ОПТ для изделий ФС .
Таблица 3.9 Математическое обеспечение и критерии оптимизации
Для изделий, безотказность которых влияет на безопасность полётов и для которых не представляется возможным определить предотказовое состояние в связи с отсутствием контролируемого параметра или средств диагностирования, рекомендуется применять индивидуальный метод определения tПР.ОПТ . Графическая интерпретация метода представлена на рис. 3.6. Исходной информацией для расчета является характеристика безотказности рассматриваемого изделия - параметр потока отказов w0 (t), значения которого даны в приложении 3. Вероятность безотказной работы изделия за период между формами ТО P(tПР ) определяется подстановкой различных значений tПР в основное уравнение метода:
Результаты расчета для изделий, оптимальная периодичность ТО которых определяется по критерию P(tПР )³PНОРМ , сводятся в табл. 3.10. Таблица 3.10 Результаты расчета tПР.ОПТ изделий ФС
Для определения tПР.ОПТ рекомендуется использовать PНОРМ ³ 0,99
1 PНОРМ tПР ,ч. tПР.ОПТ Рис. 3.6. Схема определения tПР.ОПТ изделий ФС индивидуальным методом Для изделий, отказы которых не оказывают заметного влияния на безопасность полётов, определение оптимальной периодичности осуществляют с учетом экономических показателей. В данном случае максимизируется отношение вероятности безотказной работы изделия в межпрофилактический период P(tПР ) к трудоемкости его технического обслуживания (и текущего ремонта) за tПР с учетом устранения отказов в случаях их появления (TТОиР ). В данном случае TТОиР представляется в виде двух слагаемых: 1) трудоемкости плановых (профилактических) работ TTO ; 2) трудоёмкости работ по устранению неисправностей и отказов (текущего ремонта) TP . TТОиР =TTO +TP (3.11) В свою очередь где: `TTO , `TP - средние значения трудоемкости разового планового обслуживания и устранения неисправности или отказа, соответственно; tПР - действующая периодичность ТО изделия; tПР - варьируемая периодичность ТО; w0 - параметр потока отказов изделия (статистическая оценка). Развернутое выражение для определения П(tПР ) имеет вид: Необходимые для расчета исходные данные можно получить из приложения 3. Для тех изделий ФС, включенных в приложение 3, оптимальная периодичность ТО которых определяется по критерию П(tПР )®max, результаты расчета представляются в форме табл. 3.11. Таблица 3.11 Результаты расчета TTOиP , П и tПР.ОПТ .
В графе 2 задаются различные значения tПР . Определяются значения P(tПР ), TTOиP , П(tПР ) и для одного из изделий дается графическое изображение зависимостей P(tПР ), TTOиP и П(tПР ) от tПР (рис. 3.7).
Рис. 3.7. Характер изменения P(tПР ), TTOиP , П(tПР ) в зависимости от tПР . Оптимальное значение tПР.ОПТ находится в зоне максимального значения П(tПР )max . Для изделий, влияющих на безопасность полетов, применяется метод, основанный на анализе закономерностей развития отказов. Предполагается, что с устранением неисправностей в установленные сроки предупреждается развитие отказов (рис. 3.8).
0 t1 t2 Рис. 3.8. Модель развития отказа: 0 - t1 - время развития неисправности; t1 - момент появления неисправности; t1 - t2 - время развития отказа; t2 - момент возникновения отказа. Для оптимизации сроков выполнения ТОиР максимизируется вероятность совместного события - возникновение неисправности и непоявление отказа где tПР - периодичность ТО; wH ,w0 - параметр потока неисправностей и отказов, соответственно. Необходимые для расчёта исходные данные для тех изделий, периодичность которых определяется по критерию Таблица 3.12 Результаты расчёта
В графе 2 задаются различные значения tПР
. Определяются значения:
Рис. 3.9. Характер изменения Оптимальные значения tПР.ОПТ
будут при максимальном значении Итоговые результаты определения tПР.ОПТ для всех изделий ФС (в соответствии с приложением 3) с использованием различных методов представляются в форме табл. 3.13. Таблица 3.13 Результаты определения tПР.ОПТ изделий ФС
Примечание: в графе 2 указывается "да", "нет"; в графе 5 проставляются данные табл. 3.10 (графа 6). 3.4.2. Группировка работ по техническому обслуживанию изделий в формы регламента ФС При решении задачи группировки работ по техническому обслуживанию следует иметь в виду следующее: вся совокупность изделий ФС, в зависимости от последствий их отказов при эксплуатации, подразделяется на две группы: - к 1-й группе относятся изделия, отказ которых оказывает непосредственное влияние на безопасность полетов; - к 2-й группе относятся изделия, отказы которых не оказывают заметного влияния на безопасность полетов. В зависимости от этого при группировке работ по ТО изделий в формы регламента используются разные схемы и критерии. Один из подходов к задаче группировки работ по ТО изделий состоит в том, что наилучший вариант структуры регламента выбирается по критерию минимума дополнительных затрат трудоемкости на проведение технического обслуживания ФС. Также может использоваться и другой подход, когда наилучший вариант структуры регламента выбирается по критерию минимума дополнительных затрат стоимости ТО. В конечном счете задача группировки индивидуальных периодичностей ТО изделий (tпр.опт.) в формы регламента заключается в том, чтобы получить наилучший ( с точки зрения дополнительных затрат в отношении трудоемкости и стоимости) вариант структуры регламента ФС (числа форм ТО и периодичности их выполнения). К I группе относятся изделия, tПР.ОПТ
которых определяется по критериям Ко II группе относятся изделия, tПР.ОПТ
которых определяется по критерию Схемы группировки работ по ТО изделий в формы регламента для каждой из групп представлены на рис. 3.10 и 3.11 соответственно.
Рис. 3.10. Схема группировки работ по ТО изделий в формы регламента ФС (для изделий I группы) На схеме в качестве примера условно представлены значения tПР.ОПТ (t1 , t2 , ... t5 ) для пяти изделий ФС, отказы которых влияют на безопасность полетов, и трудоемкости работ по ТО Ti (T1 , T2 , ... T5 ). Цифрами 1, 2, ..., 5 обозначены номера изделий ФС. Работы по ТО таких изделий связаны с предотвращением появления опасных отказов и должны выполняться с периодичностью, не превышающей tПР.ОПТ (ti £ tПР.ОПТ ) для каждого i-го изделия. Рассмотрим случай группировки операций ТО изделий ФС с оптимальной для каждого из них периодичностью tПР.ОПТ в заданные формы регламента для ЛА (Ф-1, Ф-2, Ф-3), выполняемых с периодичностью tФ1 , tФ2 , tФ3 соответственно. Значения периодичности даны в приложении 4. Из рассмотрения схемы, приведенной на рис 3.10, следует , что при группировке работ в соответствующую j-ю форму регламента потеря по наработке для каждого i-го изделия составит Dtij. Трудоемкость Тi , приходящаяся на 1 час наработки i-го изделия, составит Ti/ti. Убытки из-за увеличения трудоемкости от совмещения работ для i-го изделия составят Ti/ti*Dtij. Для всей группы изделий (группа 1) разовые дополнительные затраты трудоемкости D где i - порядковый номер изделия; nI - количество изделий в I-ой группе; j - порядковый номер формы регламента ТО; k - количество форм регламента; ti- оптимальная периодичность ТО i-го изделия; Dtij –потери по наработке от совмещения t пр.опт. с j-й формой регламента. С учетом того, что за цикл форм ТО, определяемый периодичностью самой трудоемкой формы, менее трудоемкие формы повторяются несколько раз, дополнительные затраты трудоемкости будут намного больше и составят: где nj- количество j-й формы регламента, повторяющейся за цикл. Для рассматриваемого примера (рис. 3.10) имеем: На рис. 3.11 представлены периодичности tПР.ОПТ и трудоемкости Ti технического обслуживания 4-х изделий ФС, отказы которых не влияют на безопасность полетов (II группа). Для группировки операций ТО в заданные формы регламента ЛА (Ф-1, Ф-2, Ф-3) с периодичностью tФ1 , tФ2 , tФ3 используется критерий минимальных трудозатрат (min Ti ).
Рис. 3.11. Схема группировки работ по ТО изделий в оптимальные формы регламента ФС (для изделий II группы) Чтобы обеспечить выполнение критерия min Δ Ti для каждого i-го изделия необходимо построить зависимость Ti =f(tпр ), сравнить убытки по трудоемкости ТО i-го изделия при условии выполнения операций на одной из двух соседних форм регламента (DTij ) и выбрать DTij min . Зависимости Ti =f(tпр ) для рассматриваемых изделий можно построить с использованием данных, приведенных в табл. 3.11 (графы 2 и 6) или с использованием формул 3.11 - 3.13. Величины DTij вычисляются подстановкой tпр =tфj в расчетные формулы 3.11 - 3.13; tфj - периодичность выполнения j-ой формы регламента ЛА. Для всей группы изделий (группа 2) разовые дополнительные затраты трудоемкости где DTij min - минимальные убытки по трудоемкости ТО i-го изделия на j-ой форме регламента; i - порядковый номер изделия; nII - количество изделий во II-ой группе; j - порядковый номер формы регламента ТО; k - количество форм регламента. Для рассматриваемого примера (рис. 3.11) имеем: для изделия 1: DT11 min =DT11 ; для изделия 2: DT21 <DT22 ; DT21 min =DT21 ; для изделия 3: DT32 <DT33 ; DT32 min =DT32 ; для изделия 4: DT43 min =DT43 . Здесь так же, как и для изделий 1-й группы, следует учесть повторяемость за цикл форм технического обслуживания Ф-1 и Ф-2. Следовательно, дополнительные затраты трудоемкости для всех изделий 2-й группы составят: Наилучший вариант регламента с учетом двух групп изделий выбирается по критерию: В качестве основы для решения задачи группировки операций ТО изделий ФС в оптимальные формы регламента используются следующие варианты: 1) базовый, при котором для группировки принимается действующая периодичность форм регламента ЛА в соответствии с приложением 4; 2) расчетный, при котором число форм регламента ФС и периодичность выполнения форм выбираются студентом самостоятельно на основе анализа материалов, полученных в п. 3.4.1 и в табл. 3.13. Результаты расчетов для каждого варианта регламента по I и II группам изделий оформляются по форме табл. 3.14. Таблица 3.14 Выбор оптимального регламента ФС
В результате оценки дополнительных затрат трудоемкости ТО при реализации базового и расчетного вариантов из них выбирается наилучший: при DTбаз <DTрасч -базовый ; при DTбаз >DTрасч - расчетный. 3.5. ПОСТРОЕНИЕ МОДЕЛИ ПРОЦЕССА ТЕХНИЧЕСКОЙ ЭКСПЛУАТАЦИИ ЛА И РАСЧЕТ ПОКАЗАТЕЛЕЙ ЕГО ЭФФЕКТИВНОСТИ Конечной целью курсовой работы является проектирование эффективного процесса технической эксплуатации (ПТЭ) ЛА в соответствии с заданными условиями эксплуатации (приложение 7). ПТЭ ЛА представляет собой последовательную во времени смену состояний эксплуатации: полет, техническое обслуживание, ремонт, ожидание технического обслуживания, доработки, готовность и др. Для оценки эффективности ПТЭ применяется совокупность показателей, представленных в табл. 3.15. Таблица 3.15 Показатели эффективности ПТЭ ЛА
Обеспечение эффективности проектируемого ПТЭ ЛА производится по схеме, представленной на рис. 3.12. Оценка эффективности проектируемого ПТЭ конкретного типа ЛА производится сравнением рассчитанных показателей эффективности с их нормативными значениями. В случае, если расчетные значения показателей эффективности проектируемого ПТЭ превышают нормативные (ПНОРМ £ПРАСЧ ) - цель достигнута, проектируемый ПТЭ действительно эффективен. В противном случае необходимо дополнительно разработать мероприятия, повышающие эффективность проектируемого ПТЭ, скорректировать его характеристики и заново рассчитать показатели. Задача считается выполненной при соблюдении условия ПНОРМ £ПРАСЧ . 3.5.1. Построение модели процесса технической эксплуатации ЛА Для оценки эффективности технической эксплуатации используется полумарковская модель ПТЭ. Состояния ПТЭ и последовательность переходов ЛА из состояния в состояние иллюстрируется графом. На рис. 3.13 представлен примерный граф состояний и переходов ПТЭ ЛА. Перечень возможных состояний и их границы определены Инструкцией по почасовому учету исправности и использования самолетов (табл. 3.16). При построении модели проектируемого ПТЭ ЛА используются: примерный граф (рис. 3.13); перечень возможных состояний ПТЭ ЛА (табл. 3.16); заданные условия эксплуатации парка ЛА (приложение 7), а также данные, полученные в предыдущих разделах курсовой работы.
Исходная информация для проектирования ПТЭ ЛА Нормативные Стратегии ТО Заданные хар-ки знач.показа- изделий ФС ПТЭ ЛА телей эффек- тивн. ПТЭ ЛА Заданные ус- Оптимальный Констр.-экспл. ловия эксплу- регламент ТО характеристики атации парка ЛА ФС ЛА Построение модели Нормирование пока- проектируемого ПТЭ зателей ЭТ ЛА Определение характерис- Требования к ЭТ ЛА тик ПТЭ Расчет показателей эф- фективности проектиру- емого ПТЭ ПРАСЧ ПНОРМ ДА ПНОРМ £ПРАСЧ Проект ПТЭ ЛА нет Разработка предложений по повышению эффективности ПТЭ Рис. 3.12. Блок-схема обеспечения эффективности проектируемого ПТЭ ЛА Таблица 3.16 Перечень возможных состояний ПТЭ ЛА
Рис. 3.13. Примерный граф состояний и переходов ПТЭ ЛА Обозначения состояний по табл. 3.16. Основными характеристиками модели являются: количество состояний проектируемого ПТЭ - N; количество попаданий ЛА в каждое из состояний - ni ; относительная частота попаданий в состояние -pi ; среднее время пребывания в состоянии -mi ; средние трудозатраты в состояниях ТО и Р -ti . Характеристики модели проектируемого ПТЭ: ni , pi , mi , ti , а также pi ×mi , pi ×ti определяются для каждого из состояний N (1,2, ..., i, ..., N) за рассматриваемый период эксплуатации (1 год) всего парка ЛА с учетом условий их эксплуатации, заданных в приложении 7. Определение характеристик модели осуществляется с использованием данных табл. 3.16. Последовательно определяются характеристики: ni - по формулам табл. 3.17; Таблица 3.17 Формирование характеристик проектируемого ПТЭ ЛА
Продолжение табл. 3.17
Продолжение табл. 3.17
*)
Примечание. Перед тем, как определять mi
по состояниям, необходимо проверить условие: Сформированные характеристики состояний ПТЭ ЛА должны быть представлены по форме табл. 3.18. Таблица 3.18 Характеристики проектируемого ПТЭ ЛА
3.5.2. Расчет показателей и оценка уровня эффективности проектируемого ПТЭ ЛА Расчет показателей эффективности ПТЭ ЛА выполняется по формулам табл. 3.19. Рассчитываются показатели эффективности проектируемого ПТЭ на основании разработанной модели и сформированных характеристик (табл. 3.18). Состояния, которые в проектируемом ПТЭ отсутствуют согласно заданному варианту (приложение 7), в расчете показателей не учитываются.
Таблица 3.19 Расчетные формулы для определения показателей
Результаты расчета оформляются по форме табл. 3.20. Нормативные значения соответствующих показателей ПНОРМ для конкретных типов ЛА представлены в Приложении 10. Оценка уровня эффективности проектируемого ПТЭ производится по критериям обеспечения регулярности, использования, исправности ЛА и экономичности ТОиР путем сравнения соответствующих показателей ПТЭ (расчетных ПРАСЧ и нормативных ПНОРМ ). Для оценки уровня эффективности используются относительные показатели По результатам оценки принимается решение о соответствии или несоответствии уровня эффективности проектируемого ПТЭ нормативам. При условии: `П<1 - для КП , КТ ; `П>1 - для Р100 ТП , КИ , КИР , КВИР , КИСПР , проектируемый ПТЭ соответствует нормативам. При несоблюдении данного условия требуется разработка соответствующих предложений, направленных на повышение эффективности проектируемого ПТЭ ЛА. Таблица 3.20 Показатели эффективности ПТЭ и оценка уровня его эффективности
3.5.3. Разработка предложений по совершенствованию процесса ТО и улучшению эксплуатационной технологичности ЛА В качестве основы для разработки предложений принимаются полученные характеристики проектируемого ПТЭ (табл. 3.18). Среди всех состояний ПТЭ, кроме состояния использования по назначению "П" выделяются состояния с наибольшими значениями характеристик pi ×mi и pi ×ti (доминирующие состояния). Предложения по совершенствованию ПТЭ должны быть разработаны с учетом результатов, полученных в предыдущих разделах курсовой работы, и направлены на уменьшение количества попаданий ЛА в выделенные доминирующие состояния ПТЭ, а также на сокращение времени пребывания и трудовых затрат в этих состояниях. Предложения разрабатываются в двух направлениях: а) в направлении совершенствования процессов технического обслуживания ЛА; б) в направлении улучшения эксплуатационной технологичности конструкции ЛА. Выполняется сравнение полученных в п. 3.2 фактических значений обобщенных показателей ЭТ КОП и КОТ с нормативными значениями этих показателей для ЛА подобного класса. Для определения нормативных значений показателей КОП и КОТ используются номограммы (приложение 11), полученные при исследовании большого объема наблюдений за эксплуатацией парка ЛА различных типов. Исходные данные, необходимые для решения этой задачи, приведены в соответствующих приложениях. Так, исходными данными для определения нормативного значения показателя КОП для интересующего типа ЛА являются: ТГСС - средний годовой налет на списочный самолет (приложение 4); КСЕЗ - коэффициент сезонности (приложение 11); h1 - статистический коэффициент (приложение 11). С помощью номограмм (приложение 11, рис. П11.1 и П11.2) определяются нормативные значения показателей: КОП.О - для оперативного цикла эксплуатации; КОП.П - для цикла восстановления. В сумме значения этих показателей дадут нормативное значение искомого показателя КОП - удельной суммарной оперативной продолжительности ТОиР ЛА. Исходными данными для определения нормативного значения показателя КОТ для интересующего типа ЛА являются: m0 - масса конструкции ЛА (приложение 11); `tБП - длительность беспосадочного полета (приложение 4); h2 - статистический коэффициент (приложение 11). С помощью номограмм (приложение 11, рис. П11.3 и П11.4) определяются нормативные значения показателей: КОТ.О - для оперативного цикла эксплуатации и КОТ.П - для цикла восстановления. В сумме значения этих двух показателей составят нормативное значение искомого показателя КОТ - удельной суммарной оперативной трудоемкости ТОиР ЛА. Данные о показателях КОП и КОТ сводятся в табл. 3.21. Таблица 3.21 Значения показателей КОП и КОТ .
В случае существенных (> 10%) отклонений фактических значений показателей от нормативных разрабатываются предложения по улучшению эксплуатационной технологичности ЛА. При разработке предложений следует использовать материалы, содержащиеся в главе 7 учебного пособия [3]. Работа над курсовой работой заканчивается изложением выводов. 1. Техническая эксплуатация летательных аппаратов: Учебник для вузов. Под ред. Н.Н.Смирнова. - М.: Транспорт, 1990. 2. Смирнов Н.Н. Научные основы построения системы технического обслуживания и ремонта самолётов ГА. - М.: МГТУГА, 1994. 3. Смирнов Н.Н., Чинючин Ю.М. Эксплуатационная технологичность летательных аппаратов. - М.: Транспорт, 1994. 4. Смирнов Н.Н. Основы теории технической эксплуатации летательных аппаратов. Части 1 и 2. – МГТУ ГА, 2001, 2003. 5. Эксплуатационная надёжность и режимы технического обслуживания самолётов/ Н.Н. Смирнов, А.М. Андронов, Н.И. Владимиров, Ю.И. Лемин. М.: Транспорт, 1974. 6. Смирнов Н.Н., Ицкович А.А., Чинючин Ю.М. Надёжность и эксплуатационная технологичность летательных аппаратов. - М.: МИИГА,1989. 7. Деркач О.Я. Формирование систем технического обслуживания самолётов при их создании. - М.: Машиностроение, 1994. 8. Смирнов Н.Н., Ицкович А.А. Обслуживание и ремонт авиационной техники по состоянию.-2-е изд. - М.: Транспорт, 1987. Приложение 1 Московский государственный технический университет гражданской авиации Кафедра технической эксплуатации ЛА и АД Техническое задание на курсовую работу по дисциплине “Основы теории эксплуатации АТ” студенту ___________________ группы________ I. Задачи, подлежащие решению: 1. Определение показателей безотказности функциональной системы (подсистемы) ЛА. 2. Определение показателей эксплутационной технологичности ЛА. 3. Выбор рациональных стратегий ТОиР изделий функциональной системы. 4. Формирование оптимального регламента ТО ЛА (на примере функциональной системы). 5. Построение модели процесса технической эксплуатации ЛА и расчёт показателей его эффективности. II. Тип ЛА Функциональная система(подсистема):_______________________ Изделия ФС:______________________________________________ Условия эксплуатации:№ варианта__________________________ III. Литература: Пособие по выполнению КР по дисциплине “ОТЭАТ”.-М.: МГТУ ГА, 2007. Начало работы над КР - февраль, окончание - май 200... г. Руководитель: _________________ _______________ _________________ (должность) (подпись) Ф.И.О. Студент: ________________ ________________ (подпись) Ф.И.О. “ “ ____________ 200...г. Приложение 2 Московский государственный технический университет гражданской авиации Кафедра технической эксплуатации ЛА и АД “Проверен” Руководитель КП ______________________ (степень,звание,Ф.И.О.) ______________________ (подпись,дата) “Защищён” с оценкой_______ Комиссия:_____________ ________________________ (подпись) (Ф.И.О.) ________________________ (подпись) (Ф.И.О) “ “________200... г. КУРСОВАЯ РАБОТА по дисциплине “Основы теории эксплуатации АТ” на тему “Проектирование эффективного процесса технической эксплуатации самолета________” _________________ Курсовую работу выполнил (шифр КП) студент _________________ Ф.И.О. группа___________________ ________ ____________ (подпись) (дата) Москва 200... г. Приложение 3 Данные о надежности, действующей периодичности ТО изделий, трудоемкости обслуживания и устранения неисправностей
Продолжение прил. 3
Продолжение прил. 3
Продолжение прил. 3
Приложение 4 Исходные данные для определения обобщённых показателей ЭТ ЛА
Приложение 5 Данные об оперативной продолжительности ТОиР ЛА
Приложение 6 Данные об оперативной трудоёмкости ТО и Р ЛА
Приложение 7 Варианты по условиям эксплуатации парка ЛА для проектируемого ПТЭ
Приложение 8 Суммарное время пребывания парка самолётов за 1 год эксплуатации в состояниях ПТЭ (ti , час).
Приложение 9 Данные о трудоёмкости ТО и Р ЛА τ в состояниях ПТЭ.
Приложение 10 Нормативные значения показателей эффективности ПТЭ ЛА.
Приложение 11 Исходные данные для проектирования ПТЭ ЛА Табл.П.11.1
|
|||||||||||||||||||||||||||||||||||||||||||||||||||||||||||||||||||||||||||||||||||||||||||||||||||||||||||||||||||||||||||||||||||||||||||||||||||||||||||||||||||||||||||||||||||||||||||||||||||||||||||||||||||||||||||||||||||||||||||||||||||||||||||||||||||||||||||||||||||||||||||||||||||||||||||||||||||||||||||||||||||||||||||||||||||||||||||||||||||||||||||||||||||||||||||||||||||||||||||||||||||||||||||||||||||||||||||||||||||||||||||||||||||||||||||||||||||||||||||||||||||||||||||||||||||||||||||||||||||||||||||||||||||||||||||||||||||||||||||||||||||||||||||||||||||||||||||||||||||||||||||||||||||||||||||||||||||||||||||||||||||||||||||||||||||||||||||||||||||||||||||||||||||||||||||||||||||||||||||||||||||||||||||||||||||||||||||||||||||||||||||||||||||||||||||||||||||||||||||||||||||||||||||||||||||||||||||||||||||||||||||||||||||||||||||||||||||||||||||||||||||||||||||||||||||||||||||||||||||||||||||||||||||||||||||||||||||||||||||||||||||||||||||||||||||||||||||||||||||||||
Работы, похожие на Учебное пособие: Методические указания по решению задач курсовой работы 7 определение показателей безотказности функциональной системы (подсистемы) ла 7
Рис.3.1. Принципиальная схема топливной системы самолета Ту-154М
Рис. 3.2. Детализированная структурная схема системы.
; (3.5)
; (3.6) 
; (3.7) 












да нет


да нет да нет







P(tПР
)
(3.10)
; (3.12)
(3.14) 
; (3.15) 

, [чел. ч] (3.16)
, [чел. ч] 
(3.17)
(из приложения 8, 9); 








