Реферат: Технология приготовления хлеба
|
Название: Технология приготовления хлеба Раздел: Рефераты по кулинарии Тип: реферат | ||||||||||||||||||||||||||||||||||||||||||||||||||||||||||||||||||||||||||||||||||||||||||||||||||||||||||||||||||||||||||||||||||||||||||||||||||||||||||||||||||||||||||||||||||||||||||||||||||||||||||||||||||||||||||||||||||||||||||||||||||||||||||||||||||||||||||||||||||||||||||||||||||||||||||||||||||||||||||||||||||||||||||||||||||||||||||||||||||||||||||||||||||||||||||||||||||||||||||||||||||||||||||||||||||||||||||||||||||||||||||||||||||||||||||||||||||||||||||
Таблица№ 3.1
ПЛАНВВЕДЕНИЕ: РАЗВИТИЕ ТЕХНИЧЕСКОЙ БАЗЫ ХЛЕБОПЕЧЕНИЯ 1 I. Личная гигиена и санитария работников пищевой промышленности 8 II. Технологический процесс приготовления роглика с маком 12 2.1. Технические требования 12 2.4. Укладка, хранение и транспортирование 19 2.5. Технологический режим и рецептура на рогалик с маком 20 III. МЕХАНИЗИРОВАННЫЕ ПОТОЧНЫЕ ЛИНИИ ДЛЯ МЕЛКОШТУЧНЫХ И СПЕЦИАЛЬНЫХ ХЛЕБНЫХ ИЗДЕЛИЙ 65 МЕХАНИЗИРОВАННЫЕ ПОТОЧНЫЕ ЛИНИИ ДЛЯ ПРОИЗВОДСТВА БУЛОЧНЫХ ИЗДЕЛИЙ 66 3.1 Механизированная линия А2-ХЛП 66 3.2. Механизированная поточная линия для производства рожков (рогликов) 67 ОБОРУДОВАНИЕ ДЛЯ СКЛАДОВ МУКИ И ДОПОЛНИТЕЛЬНОГО СЫРЬЯ И ТРАНСПОРТНЫЕ УСТРОЙСТВА 70 3.3. Оборудование для складов муки и дополнительного сырья 70 3.4. Установки механического транспорта 76 3.5. Оборудование для бестарного хранения муки с применением пневмотранспорта 82 3.6. ОБОРУДОВАНИЕ ДЛЯ ЗАМЕСА 96 Контроль влажности в хлебопекарном производстве 109 Мероприятия по предупреждению несчастных случаев 112 Мероприятия по предупреждению заболеваний на производстве 113 Мероприятия по улучшению условий труда 113 Мероприятия по предупреждению электротравматизма 114 Меры пожарной безопасности 114 Правила эксплуатации и меры безопасности при работе на агрегатах 115 Правила обслуживания тестомесильных машин с подкатными дежами 116 Общие правила по эксплуатации тестоделительных машин 117 Налоги и основы налоговых отношений 118 ВВЕДЕНИЕ: РАЗВИТИЕ ТЕХНИЧЕСКОЙ БАЗЫ ХЛЕБОПЕЧЕНИЯВ дореволюционной России хлебопечение было преимущественно кустарным производством, основанным на применении ручного труда. Хлебные изделия выпекались в кустарных пекарнях с числом рабочих в основном до 10 человек. До Великой Октябрьской социалистической революции и в первые годы Советской власти (в период нэпа) в хлебопечении господствовал частный капитал. Оборудование пекарен было крайне примитивным: корыто (квашонка), лопата для подсадки и в основном жаровая печь, отапливаемая дровами или переносной паронефтяной форсункой. Только в конце прошлого века в некоторых крупных пекарнях Петербурга и Москвы стали применяться приобретенные за рубежом тестомесильные машины с подкатными дежами и печи с выдвижными металлическими подами. В других городах на всех, даже крупных, предприятиях с числом рабочих свыше 15 человек замес теста и другие операции выполнялись вручную, а хлеб выпекался преимущественно в жаровых печах. Применение ручного труда в хлебопечении объяснялось дешевизной рабочих рук, что позволяло владельцам пекарен получать высокие прибыли от эксплуатации своих предприятий без затрат на механическое оборудование. В период первой мировой войны на хлебобулочных предприятиях потребительской кооперации и городских управ, организовывавших хлебопечение, в связи с недостатком рабочих из-за мобилизации их в армию начали широко применять машины для замеса теста с подкатными дежами, ручные тестоделители и печи с выдвижными подами, приобретаемые у заграничных фирм. Военное и военно-морское ведомства для снабжения армии и флота в конце прошлого века в ряде городов и гарнизонов (Брянск, Казань и др.) построили крупные механизированные предприятия с заграничным оборудованием для выработки хлеба и ржаных сухарей. Попытки создать отечественное оборудование для хлебопечения предпринимались передовыми русскими инженерами еще в середине XIX в. Так, инженеры Ровенсков и Выльчитский, генерал-майор Васмут, капитан Мирзоев создали оригинальные конструкции хлебопекарных печей непрерывного действия, приспособленных для твердого и жидкого топлива, а инженер-капитаном Михайловым еще в 60-е годы была построена хлебопекарная печь с выдвижным подом. Некоторые изобретатели предлагали различные конструкции машин для замеса теста. Однако эти предложения и идеи не были реализованы. Хлебопечение как промышленность является детищем Великой Октябрьской социалистической революции. Уже с первых дней существования Советского государства хлебопечение вступило на путь механизации производства. В 1918-1919 гг. в Петрограде были введены в действие два хлебозавода с просеивательными, тестомесильными и формующими машинами и механическими печами с выдвижными подами. Для осуществления механизации хлебопечения в стране было создано отечественное машиностроение. Организованное в 1921 г. государственное акционерное общество «Мельстрой» в 1923 г. приступило к изготовлению на своих машиностроительных заводах в городах Воронеже и Нижнем Новгороде тестомесильных машин с подкатными дежами, автомукомеров, просеивателей типа бурата и вагонеток. Одновременно на Симферопольском машиностроительном заводе «Крыммашстрой» началось изготовление тестомесильных машин с вилочным месильным органом по образцу машин датской фирмы «Стремен». В марте 1925 г. Совет труда и обороны вынес решение о необходимости ускорить механизацию хлебопечения в стране и развернуть строительство хлебозаводов. Это историческое решение послужило основной вехой в создании в Советском Союзе новой отрасли пищевой промышленности– хлебопекарной индустрии. О размерах механизации и строительства хлебозаводов в первый период развития хлебопечения в СССР свидетельствуют следующие данные. На 1 января 1928 г. (т.е. к началу первой пятилетки) в стране было построено и введено в эксплуатацию 34 хлебозавода суточной мощностью 2156 т. хлеба, а так - же построено и переоборудовано из кустарных пекарен 103 механизированных пекарни суточной мощностью 2847 т. В 1927-1928 гг. инж. Г.П.Марсаков начал работать над новым типом хлебозавода с кольцевым конвейером. В 1929 г. в Москве был построен и пущен в эксплуатацию опытный хлебозавод этой системы производительностью 50 т. пшеничного подового хлеба в сутки. Этот хлебозавод представлял собой комплексное предприятие, которое по механизации производственных процессов не имело себе равных в мире. В 1931-1936 гг. в Москве и Ленинграде был построен ряд хлебозаводов с жестким кольцевым конвейером системы Марсакова производительностью 200-250 т. в сутки. Создание оригинального оборудования для этих хлебозаводов явилось крупнейшей победой советских конструкторов и машиностроителей. Для оснащения строящихся хлебозаводов большой мощности «Мельстрой» в 1929 г. начал производство конвейерных люлечно-подиковых печей АЦХ производительностью 35 – 45 т. в сутки. В дальнейшем в конструкцию этих печей были внесены изменения и производительность их была увеличена до 70 и 90 т. в сутки. В начале 30-х годов советские конструкторы создали ряд конвейерных печей средней и большой мощности. Инж. Н.В.Молодых разработал конвейерную печь средней мощности с ленточным подом и канальным обогревом ХПЛ производительностью 20 – 25 т. в сутки. Г.Я.Гриншпун предложил в габаритах печи с выдвижными подами ХВ конвейерную двухъярусную печь с гибким подом ХПГ производительностью 10 – 12 т. в сутки. В 1939 г. лауреаты Государственной премии проф. Н.И.Краснопевцев и инж. В.Н.Лавров создали универсальную люлечно-подиковую печь с канальным обогревом ФТЛ-2, нашедшую широкое применение в отечественном и зарубежном хлебопечении. Позднее инж. И.Г.Лифенцев на базе печи ХВ создал конвейерную люлечно-подиковую печь с комбинированной системой обогрева ХВЛ производительностью 15 – 20 т. в сутки. Если в области создания производительных и экономичных конвейерных хлебопекарных печей было сделано много, то в тестоприготовлении, разделке, формовании и расстойки теста в промышленности долгое время использовалось в основном оборудование, изготовлявшееся по устаревшим образцам. Только в конце 40-х годов наметился перелом в этой области. Были начаты работы по созданию нового оборудования для хлебопекарного производства. Некоторые поисковые работы по приготовлению теста непрерывным способом производились в 1931-1936 гг. инж. Н.В.Молодых во Всесоюзном научно-исследовательском институте хлебопекарной промышленности (ВНИИХПе). Независимо от этого в Рыбинске инж. В.А.Проворихин в 1934 г. разработал конструкцию агрегата для непрерывного замеса и выбраживания опары и теста в потоке. Эта идея не была осуществлена, но в дальнейшем легла в основу разработанной инж. И.Л.Рабиновичем конструкции агрегата непрерывного действия ХТР. Этот агрегат, предназначенный для приготовления в потоке теста из ржаной и пшеничной муки для хлеба массового ассортимента, получил широкое распространение на хлебопекарных предприятиях Советского Союза и некоторых социалистических стран. Большую работу по созданию бункерных тестоприготовительных агрегатов с порционным замесом теста провел проф. Н.Ф.Гатилин. Им разработаны агрегаты для обслуживания комплексных поточных линий большой и средней мощности. В Москве, Ленинграде, Свердловске и других городах на хлебозаводах, оборудованных печами АЦХ, установлены тестоприготовительные агрегаты, обеспечивающие выработку формового хлеба до 90 т. в сутки. Бункерные тестоприготовительные агрегаты БАГ – 20/30, предназначенные для выработки хлебобулочных изделий широкого ассортимента, нашли применение на предприятиях средней мощности – от 15 до 30 т. в сутки. На базе предложенных проф. Н.Ф.Гатилиным бункеров были созданы однобункеровые тестоприготовительные агрегаты МТИПП – РМК, Л4 – ХАГ, И8 – ХАГ и др. различной производительности, предназначенные для приготовления опары для теста из пшеничной муки. В связи с внедрением в промышленность новых способов приготовления теста на жидких фазах без брожения до разделки ВНИИХПом разработана конструкция тестоприготовительного агрегата т. – 4. Этот агрегат предназначен для приготовления как ржаного, так и пшеничного теста для хлебобулочных изделий широкого ассортимента. В настоящее время взамен тестомесильных машин с подкатными дежами «Стандарт» ВНИИХП разработал машину для интенсивного замеса ТПИ – 1, которая повышает качество замеса и способствует сокращению продолжительности брожения теста. Для приготовления теста для баранок, сушек, рогликов и других изделий ВНИИХПом создан тестоприготовительный агрегат непрерывного действия. Процесс приготовления бараночного теста принят двухфазный (опара-тесто). Кроме непрерывного замеса теста в агрегате предусматрено устройство для уплотнения теста, заменяющее трудоемкий процесс его натирки. Большая работа проведена ВНИИХПом и его Ленинградским отделением, УкрНИИпродмашем, изобретателями, рационизаторами и новаторами промышленности в области создания оборудования для разделки, формирования и расстойки теста для хлебных, булочных, бараночных и сухарных изделий, а также посадки заготовок в печь. Это позволило создать механизированные поточные линии для производства формового и круглого хлеба, батонов, булочной мелочи, баранок, сушек и сдобных изделий. Значительный вклад в создание тесторазделочного и формирующего оборудования внесли В.В.Комаров и В.А.Колесников, разработавшие делительно-формующей машины для баранок и сушек. Конструкторы УкрНИИпродмаша разработали формующую машину для бараночных изделий, работающую на новом, более эффективном принципе. Механизация процесса формирования плит для сдобных сухарей из тестовых долек успешно решена инж. В.И.Ушниковым, который разработал конструкцию тестоделительно-закаточной машины МПС-2. По предположению инженеров Е.М.Зельцермана, А.Н.Родионова, Н.И.Сытина и др. созданы механизмы для укладки тестовых заготовок в формы или непосредственно на люльки шкафов окончательной расстойки. Это позволило ликвидировать ручной труд на этих участках производства. В последние годы в хлебопекарной промышленности успешно внедряется система бестарных перевозок и хранения муки. Это мероприятие устраняет применение на предприятиях тяжелого физического труда грузчиков и рабочих по засыпке муки в приемные ковши норий, улучшает санитарно-гигиенические условия труда и дает большой экономический эффект. Особенно эффективным оказалось размещение силосов открытым способом на территории предприятия вне производственного здания: это позволило снизить затраты на капитальное строительство. Нашли применение на предприятиях также бестарная перевозка и хранение дополнительного сырья. В последние годы успешно внедряется хранение сахара и соли в растворенном виде, применение емкостей для хранения растительного масла, дрожжевой суспензии, молочной сыворотки и других продуктов. Внедрение новых машин, аппаратов и механизмов позволяет механизировать производственные процессы, способствует улучшению качества вырабатываемой продукции, облегчает условия труда и повышает культуру производства. Однако далеко еще не все хлебопекарные предприятия достигли уровня механизации передовых хлебозаводов и не все еще производственные процессы механизированы. Особенно это относится к складским операциям по подсобному сырью и готовой продукции, производству мелкоштучных и сдобных изделий. Еще мало сделано в области автоматизации основных технологических процессов и их контроля. В хлебопечении имеется много резервов для дальнейшего повышения производительности труда.
Личная гигиена
и санитария
работников
пищевой I. Личная гигиена и санитария работников пищевой промышленностиЛичная гигиена – это гигиенические правила поведения человека на производстве и в быту. Содержание тела в чистотеОсобенно тщательно надо следить за зубами. После приема пищи рот следует полоскать. Зубы необходимо чистить два раза в день.Содержание рук в чистоте Особенно тщательно надо следить за чистотой рук. Руки надо мыть перед началом работы, при переходе от одной работы к другой. После каждого перерыва, после пользования туалетом, надо мыть руки теплой водой с мылом, щеточкой, мочалкой. После мытья руки надо дезинфицировать 0,2% раствором хлорной извести. Потом руки вытирают чистым полотенцем, электрополотенцем сушат, но лучше использовать индивидуальные салфетки, разового использования. Ногти следует стричь коротко. Работники делают производственный маникюр – полную обработку ногтей, без покрытия их лаком. На руках не должно быть часов, колец и других украшений. Они препятствуют тщательной мойке рук и могут быть причиной попадания в пищу микробов. На руках не должно быть гнойничков, поэтому порезы, ожоги, надо своевременно полностью лечить. Санитарная одежда Назначение – защищать пищевые продукты от возможного загрязнения их одеждой работников. Санитарную одежду шьют из белой хлопчатобумажной, легко стирающейся ткани, она не должна стеснять движения работников и должна полностью закрывать его личную одежду. В карманах запрещается хранить предметы личного туалета (зеркала, расчески, бумагу, помаду и т.д.). Нельзя закалывать санитарную одежду булавками и иголками. Санитарную одежду разрешается носить только в помещении. При выходе из производственного помещения, работники обязаны снимать спецодежду, а при возвращении одевать ее, предварительно вымыв руки. Категорически в ней запрещается посещать туалет. Косынки или колпаки, должны полностью закрывать волосы – это предает работникам опрятный вид и исключение попадания волос в пищу. На ногах обувь удобная, легкая, не скользкая, без каблуков. Запрещается носить серьги, бусы. Медосмотр Цель – не допустить к работе на производство больных и бактерионосителей. Бактерионосители – это лица, которые выздоровели, но продолжают выделять во внешнюю среду возбудителей перенесенной болезни. Медосмотр проходят регулярно, один раз в пол года. Проверка на бактерионосительство, глистоносительство, флюрография – один раз в год. Анализ крови – один раз в пять лет. Профилактические прививки проводятся для предупреждения кишечных инфекционных заболеваний и создания иммунитета (невосприимчивость организма к различным болезням). К работе на пищевые предприятия не допускаются:
Технологический процесс приготовления роглика с маком II. Технологический процесс приготовления роглика с макомОбщие технические условия2.1. Технические требования2.1.1 Изделия сдобные и булочные должны вырабатываться в соответствии с требованиями настоящего стандарта по рецептуре и технической инструкции, утвержденным в установленном порядке с соблюдением санитарных норм и правил, установленных для хлебопекарных предприятий. 2.1.2 Для приготовления изделий сдобных и булочных должно применяться сырье, отвечающее требованиям действующей нормативно – технической документации:
пищевые 8016-63 2.1.3 Изделия сдобные и булочные должны вырабатываться следующих наименований и массы, указанных в таблице № 2.1. Таблица № 2.1.
П р и м е ч а н и е. Допускаемые отклонения от установленной массы через 6 ч. после выпечки не должны превышать для изделий массой не более 0,2 кг +/- 3% и через 10 ч после выпечки для изделий массой более 0,2 кг +/- 2,5% и должны определяться по средней массе, полученной при одновременном взвешивании 10 шт. изделий. Допускаемые отклонения в массе отдельного изделия массой не более 0,2 кг в меньшую сторону не должны превышать 5%, изделия массой более 0,2 кг – 3%.
Таблица № 2.2
2.1.5 По физико-химическим показателям изделия сдобные и булочные должны соответствовать требованиям, указанным в таблице № 2.3. Таблица № 2.3.
П р и м е ч а н и я: 1. Нормы массовой доли сахара и жира являются гарантийными и определяются в случаях разногласий. При контрольных анализах не допускаются отклонения от установленных норм в меньшую сторону по массовой доле сахара – более 1,0% по массовой доле жира – более 0,5%. 2. При работе на жидких дрожжах или молочнокислых заквасках допускается увеличение кислотности на 1 градус. 2.1.6 В изделиях не допускаются посторонние включения, хруст от минеральной примеси, признаки болезней и плесени. 2.1.7 Предприятие-изготовитель гарантирует соответствие изделий сдобных и булочных требованиям настоящего стандарта. 2.2. Правила приемки2.2.1 Определение партии и правила приемки – по ГОСТ 5667 – 65. Каждая партия продукции должна сопровождаться документом установленной формы, удостоверяющим ее качество. 2.3. Методы анализа2.3.1 Отбор проб и органолептическая оценка качества изделий – по ГОСТ 5667 – 65.
2.4. Укладка, хранение и транспортирование2.4.1 Укладка, хранение и транспортирование изделий сдобных и булочных производится по ГОСТ 8227 – 56. Характеристика изделийРоглики вырабатывают из муки первого сорта. Роглики представляют собой трубочки в виде подковки, постепенно суженные к концам, посыпанные маком или смесью тмина и соли, с наличием рельефов от закаточных витков. Масса одного изделия 0,2 килограмма. При выработке изделий на листах рогликам может придаваться форма подковки. Качество рогликов должно соответствовать требованиям стандарта ГОСТ –18-66-72. 2.5. Технологический режим и рецептура на рогалик с макомТаблица № 2.4.
I. Расчет производственной рецептуры. 1. Сколько муки надо взять на замес теста, в деже емкостью 330 л. 100кг – 35 кг 330 л – Х Х =(35кг*330л)/100кг=115,5кг 2. Сколько дрожжей надо взять для замеса теста из муки 115,5кг 100кг – 2кг 115,5кг – Х Х=(115,5кг*2кг)/100кг=2,31кг 3. Сколько соли надо взять для замеса теста из муки 115,5кг 100кг – 1,5кг 115,5кг – Х Х=(115,5кг*1,5кг)/100кг=1,73кг 4. Сколько сахара надо взять для замеса теста из муки 115,5кг. 100кг – 5кг 115,5кг – Х Х=(115,5кг*5кг)/100кг=5,78кг 5. Сколько маргарина надо взять для замеса теста из муки 115,5кг. 100кг – 8кг 115,5кг – Х Х=(115,5кг*8кг)/100кг=9,24кг На обсыпку: Мак: 100кг – 1кг 115,5кг – Х Х=(115,5*1кг)/100кг=1,16кг 6. Сколько нужно взять масла на разделку. 100кг – 0,15кг 115,5кг – Х Х=(115,5*0,15кг)/100кг=0,17кг II. Расчет количества воды на замес теста для рогалика с маком если влажность мякиша 35%. Таблица № 2.5.
1. Сколько воды содержится 115,5кг муки, если влажность 14,5% 14,5%/100кг*115,5кг=16,748кг 2. Сколько сухих веществ в 115,5кг муки. 115,5кг-16,748кг=98,752кг 3. Сколько воды содержится в дрожжах, если влажность 75% 75%/100кг*2,31кг=1,733кг 4. Сколько сухих веществ в дрожжах. 2,31кг-1,733кг=0,577кг 5. Сколько воды в маргарине, если влажность 16% 16%/100кг*9,24кг=1,4784кг 6. Сколько сухих веществ в маргарине. 9,24кг-1,4784кг=7,7616кг 7. Общий вес сухих веществ. 98,752кг+0,577кг+1,73кг+5,78кг+7,7616кг=114,6006кг 8. Какова влажность теста. 35%+1%=36% 9. Рассчитать количество воды на замес теста. В=Св*100/(100*Wт)-gc В=114,6006кг*100/(100-36%)-134,56кг=44,5кг III. Распределение сырья по фазам приготовления теста. Таблица № 2.6
1. Сколько надо взять муки на замес опара 115,5кг - 100% Х - 60% Х=(115,5кг*60%)/100%=69,3 2. Сколько муки остается на замес теста 115,5кг-69,3=46,2 3. Сколько воды надо взять на замес опары 44,5л - 100% Х - 70% Х=(44,5л*70%)/100%=31,15кг 4. Сколько воды остается на замес теста 44,5л-31,15л=13,35л Технологическая схема
Подготовка сырья 2.6. Подготовка сырьяМУКА Мукомольная промышленность нашей страны выпускает пять сортов пшеничной муки и три сорта ржаной хлебопекарной муки. Крупчатка – 10% Сеяная – 63% Высший сорт – 30% Обдирная – 87% Первый сорт – 72% Обойная – 95% Второй сорт – 85% Обойная – 96% Кроме того, из смеси пшеницы и ржи готовят два сорта муки типа обойной: пшенично- ржаная и ржано-пшеничная. Процесс производства муки состоит из подготовки зерна к помолу и самого помола. Обойную муку получают измельчением всего зерна в целом, другие сорта (сортовую муку) готовят из эндосперма с небольшой примесью оболочек. Соответственно помолы делят на обойные (простые) и сортовые (сложные). Сортовой помол в зависимости от количества сортов муки, получаемых из одной партии зерна может быть одно-, двух- и трехсортовым. Полученное количество муки каждого сорта должно соответствовать установленной норме ее выхода (выходом называют количество муки, выраженное в процентах к массе переработанного зерна базисной влажности – 14,5%). Отдельные партии зерна имеют различные показатели качества. Для получения муки стандартного качества партии зерна имеют различные показатели качества партии зерна на мельницах подсортировывают – составляют из них помольную смесь. При этом учитывают влажность, зольность, цвет, стекловидность, клейковину и другие показатели зерна. Подготовка зерна к помолу заключается в удалении примесей, очистке поверхности зерна и кондиционирование зерновой массы. Сорную и зерновую примесь удаляют с помощью специальных зерноочистительных машин, металлические примеси извлекают на магнитных сепараторах. ХРАНЕНИЕ Муку доставляют на хлебозавод с мельницы или базы, хранят в отдельном складе, который должен вмещать семисуточный ее запас, что позволяет своевременно проверить качество и подготовить ее к пуску в производство. Мука поступает на хлебозавод отдельными партиями (определенное количество муки одного вида и сорта, изготовленное одновременно и поступившее с одним качественным удостоверением). В качественном удостоверении, выписываемым лабораторией мельницы, указывают вид и сорт муки, цвет, вкус, запах и влажность, крупность примеси, состояние клейковины, зольность и другие показатели качества. Муку доставляют на хлебозавод бестарным способом (в цистернах автомуковоза вместимостью 8 – 8,5 т.) и в таре (текстильные мешки). Масса в мешке составляет 70 кг. Муку хранят в тарных или бестарных складах. Бестарная перевозка и хранение муки позволяют ликвидировать ручной труд на складе, улучшить санитарное состояние склада, снизить в 2 – 3 раза потери муки и ликвидировать расходы на тару (мешки). На тарных складах мешки с мукой помещают на деревянные стеллажи высотой от пола около 15 см. (для вентиляции муки). Мешки укладывают штабелями, но не более 10 – 12 рядов по высоте. После хранения мука поступает на производство, для удаления случайных посторонних примесей применяют просеиватели «Пионер» и «Воронеж». ВКУС И ЗАПАХ МУКИ Вкус и запах муки определяют органолептически. Вкус муки слегка сладковатый, не кислый и не горький, хруст в муке ощущаться не должен. Запах специфический, слабый. Затхлый или другой ненормальный запах не допускается. ВЛАЖНОСТЬ Влажность муки весьма важный ее показатель качества, по которому устанавливают количество воды на замес теста. Базисная влажность муки – 14,5%. Допустимая стандартная 12 – 15,5%. Для определения влажности муки берут два металлических бюкса с крышками предварительно высушивают. Из пробы муку, оставленной для определения влажности отвешивают в каждый бюкс 5 гр. Навески с открытыми бюксами, поставленные на снятые с них крышки, помешают в предварительно нагретый сушильный шкаф с t 130 гр.С. После этого образцы высушивают в течение 40 мин. Затем вынимают бюксы тичельными щипцами закрывают крышками и охлаждают в эксикаторе от 20 мин. до 2 часов. Влажность муки рассчитывают по формуле: Х= (g – g1)/ M * 100% g – масса бюкса с мукой до высушивания g1 – масса бюкса с мукой после высушивания M – навеска муки взятая для высушивания в = (М = 5гр) КИСЛОТНОСТЬ Кислотность муки влияет на кислотность готового продукта и характеризует свежесть муки . кислотность муки зависит от кислотности зерна, актианости ферментов, сорта муки, а также сроков и условий хранения. В муке низких сортов содержится больше жира, фосфора и ферментов, а потому кислотность ее больше, чем муки высших сортов. При хранении кислотность муки увеличивается. Кислотность муки определяют. На технических весах отвешивают 5гр. Муки из средней пробы и пересыпают в коническую колбу вместимостью 100 – 150мл. Отмеривают мерным цилиндром 50 мл. дистилированной воды и приливают к муке постепенно при взбалтывании до исчезновения комочков. В смесь добавляют 5 капель 1% - ного спиртового раствора фенолорталена и титруют ее децинормальным раствором NaOH до ярко – розового окраса, не исчезающий в течении 1 мин. Кислотность определяют по формуле: Х = 2АК; где 2 – постоянный коэффициент; К – постоянный коэффициент; А – количество раствора. КЛЕЙКОВИНА Количество и качество клейковины – способствует сокращению формы, рисунка, пористости мякиша готовых изделий, а тесту придает эластичность и упругость. Упругое тесто формуется не прилипает к рукам и тестоделителю, ценится мука из сильной клейковины. Клейковина – белковые вещества муки, которые при замесе теста впитывают воду. Есть свойство муки которое способствует брожению теста, окрашивают корку готовых изделий, обеспечивают форму изделий и такая группа свойств муки называется хлебопекарные. Качества и количества сырой клейковины определяют. На технических весах отвешивают 25 г муки и помещают ее в фарфоровую чашку. Туда же вливают 13 мл водопроводной воды t = 18 гр С и замешивают тесто до однородной массы. Тесто формуют в виде шара, кладут в чашку закрывают стеклом и оставляют в покое на 20 мин. Затем промывают тесто пока вода не станет прозрачной в миске. Для определения количества клейковины отмытую массу отжимают 2 – 3 раза мужду сухими ладонями, пока она не начнет прилипать к рукам, а затем взвешивают. Содержание клейковины в муке определяют по формуле: Х = (100Мк)/М = 4 Где Мк – масса сырой клейковины, гр. М – навеска муки, = (М=25=). Качество клейковины определяют по ее цвету, расклеиммости, эластичности и упругости. Сила муки – в кляпичной муке «Сила» обеспечивается состоянием белковых веществ – качеством клейковины. По качеству делится на три группы, а главным свойством является раскеиммостью до 10 см, средняя эластичность – от 10 до 20, длинная слабая свыше 20 см. УГЛЕВОДЫ Мука в основном состоит из сложных нерастворимых в воде углеводов. Крахмал является важнейшим углеводом содержание которого доходит до 80% на сухое вещество муки. Чем больше в муке крахмала, тем меньше в ней белков и наоборот. В процессе замеса теста значительная часть воды удерживается на поверхности крахмальных зерен, в процессе брожения теста часть крахмала осапаривается под действием В – амилазы, превращая в мальтозу, необходимую для брожения теста; при выпечке крахмал клейстеризуется связывая образование сухого, эластичного мякиша, в процессе хранения хлеба крахмальный клейстер стареет и выделяет влагу, что вызывает черствение. Содержание клетчатки зависит от сорта муки. Клетчатка хорошо впитывает воду и повышает водонакопительную способность муки особенно обойной. Слизи способные к сильному набуханию, повышает водопоглатительную способность муки и укрепляет консистенцию теста. САХОРООБРАЗУЮЩАЯ СПОСОБНОСТЬ МУКИ Брожение теста, окраска корки изделий зависит от сахорообразующей способности муки – способность муки из кромла муки под действием фермента муки В – амилаза образовать сахар. Мука по сахарообразующей способности бывает с высокой сахорообразующей способностью (слабая памар): нормальная: низкая сахарообразующая способность – (крепкая памар). ОПРЕДЕЛЕНИЕ ЦВЕТА МУКИ Цвет муки имеет большое значение так как от нее в основном зависит цвет хлебного мякиша. Для определения цвета муки по сухой и мокрой пробе: Берут две сухие стеклянные пластинки размером 50/150 мл. На одну из них шпателем посыпают кучкой 5гр испытуемой муки и рядом на другой стороне кладут такую же эталоной муки. Затем ребром 2-ой пластинки кучку муки несколько уравнивают, и покрывают несколько уравнивают плотно прессуя их. После этого осторожно снимают пластинку. При разном цвете образцов муки линия раздела ясно видна. Пластинку с прессованной мукой опускают наклонно в сосуд с водой комнатной t и держат в воде в наклонном положении до тех пор пока не прекратится выделение пузырей. Затем пластинку вынимают немного подсушивают и определяют цвет муки: границы раздела нет, мука одного сорта; если граница раздела есть значит мука разных сортов. ОТЛЕЖКА Созревание – это процесс улучшения хлебопекарных свойств свежесмолотой муки при ее хранении. Свежесмолотая мука из зерна нового уровня отличается повышенной активностью ферментов, относительно слабой клейковиной, имеет низкую водопоглащательную способность. Хлеб из свежесмолотой несозревшей муки получается расплывчатым, с плотным и липким мякишем, пониженной пористостью. При отлежке свежесмолотая мука приобретает нормальные хлебопекарные свойства. Сущность созревания муки заключается в повышении силы муки в результате окислительного влияния кислорода воздуха, перекисейи свободных жирных кислот на белки клейковины и ферменты. Время, необходимое для созревания муки, зависит от ее сорта и исходного качества, отлежки зерна перед помолом, температура муки, чем выше сорт, тем медленнее она созревает. В обычных условиях хранения пшеничная сортовая мука созревает в течение 45 – 60, а обойная 20 – 30 дней. ВАЛКА МУКИ Перед пуском в производство проверяют качество муки, подсортировывают и просеивают. Мука обладает разными свойствами, поэтому перед пуском в производство производят валку муки – смешивание одного и того же сорта муки, но с разными хлебопекарными свойствами. Значение валки: Не надо часто менять технологический процесс. Изделие выпекается в каждую смену разного качества. Составленной валки муки проверяют пробными выпечками. ПРЕССОВАННЫЕ ДРОЖЖИ Прессованные дрожжи для равномерного распределения дрожжевых клеток в опаре разводят водой в дочках с мешалками. Приготавливая такую систенцию, на 1 часть дрожжей добавляют 2 – 4 части воды температурой 29 – 32 гр С. Нельзя брать воду температурой более 40 гр С, так как это ухудшит подъемную силу дрожжей. Замороженные дрожжи медленно оттаивают (при температуре 4 – 6 С). Активация состоит в том, что дрожжи размешивают в жидкой питательной среде, состоящей из муки и различных добавок и оставляют на 30 – 90 мин. в процессе активации дрожжи не размножаются, но выходят из состояния анабиоза и становятся жизнедеятельными. Дрожжевые клетки привыкают к новой среде и переключаются на брожение. Активация улучшает подъемную силу дрожжей и позволяет снизить их расход на 20 – 25% против нормы или готовить тесто ускоренно. Дрожжи размножаются при температуре 23 – 30гр.С. прессованные дрожжи стандартного качества имеют однородный светло – желтый цвет, плотную консистенцию, нормальный вкус, запах, влажность дрожжей не должна превышать 75%, а подъемная сила 75 мин. подъемная сила или быстрота подъема теста – основной показатель качества дрожжей характеризующий их способность разрыхлить тесто. Прессованные дрожжи хранят на хлебозаводе при температуре 0 – 4 гр. С. Гарантийный срок хранения дрожжей в таких условиях составляет 12 суток. ВОДА Вода является одним из видов основного сырья. Для приготовления теста требуется 40 – 70 л воды на каждые 100 кг муки. Хлебозаводы для технологических и хозяйственных нужд обычно используют воду из городского питьевого водопровода. При отсутствии его (по согласованию с органами Государственного санитарного надзора) используют местные источники водоснабжения (преимущественно артезианские скважины). Вода, полученная из глубинных слоев почвы, содержит меньше бактерий и нежелательных примесей, чем вода колодцев, рек, озер. Качество питьевой воды независимо от источника водоснабжения должно соответствовать требованиям ГОСТа 2874 – 73. Питьевая вода должна иметь нормальные органолептические свойства, безвредный химический состав и быть безопасной в бактериальном отношении. Органолептические показатели воды – это вкус запах, цвет и мутность. Ощутимый привкус и запах в воде не допускается. Питьевая вода должна быть прозрачной и бесцветной, не содержать пленки или различаемых глазом частиц. При оценке цветности и мутности воды на фотоэлектроколориметре эти показатели должны соответствовать ограничительными нормами. Вода содержит некоторое количество минеральных и органических веществ, попадающих в нее из почвы, окружающей среды, а также при ее обработке. Некоторые минеральные вещества опасны для здоровья человека, другие могут изменить вкус, запах и цвет воды. Присутствие вредных веществ (мышьяка, селена и других) в воде не допускается или ограничивается специальными нормами. Установлены также предельные нормы содержания хлора, железа, марганца, алюминия и меди так далее эти вещества влияют на органолептические показатели воды. Содержание растворенных солей кальция и магния характеризуется жесткость воды. Жесткость выражается в миллиметрах – эквивалентах кальция или магния. Жесткость питьевой воды не должна превышать 7, а с разрешения санитарного надзора 10м – экв/л. Высокая жесткость воды, применяемой для бытовых целей или для питания котлов, нежелательна, однако для приготовления теста такая вода не вредна. Соли кальция и магния несколько укрепляют клейковину, что оказывает положительное влияние на качество хлеба при переработке слабой муки. Бактериальные свойства воды характеризуются общим числом бактерий в 1 мл воды, а также содержанием кишечной палочки. Повышенное содержание кишечной палочки указывает на загрязненность воды оренальными массами. Вода не должна содержать болезнетворных бактерий. Для бесперебойного снабжения водой необходимо температуры и создания постоянного напора во внутренней водопроводной сети на хлебозаводах устанавливают специальные баки. Вместимость бака холодной воды рассчитывают на распад воды для всех производственных нужд в течении 8 часов. Бак горячей воды должен вмещать запас, необходимый для приготавления теста в течение 5 – 6 часов и питания экопомайзеров в течение 3 часов температура горячей воды в этом баке должна быть 70 гр. С. Баки для воды устанавливают в отдельном помещении, расположенном на верхнем этаже здания (для создания необходимого напора). Из этих баков вода идет по трубам в бочек тестомеса. В этом бочке тестомес устанавливает нужную температуру воды. И из этого бочка вода идет на замес теста. ПОВАРЕННАЯ СОЛЬ Поваренная соль представляет собой хлористый натрий с небольшой примесью других солей. В зависимости от способа добычи различают каменную (замечают в земле), самосадочную (добывают со дна соленых озер) и бассейную соль (получают выпариванием воды соленых водоемов). Пищевую поваренную соль в зависимости от количества примесей подразделяют на сорта: экстра, высший, первый и второй сорт. Содержание хлористого натрия в различных сортах соли должно быть не менее 97,0 – 99,7 %, а нерастворимого в воде остатка не более 0,00 – 0,85 % на сухое вещество. По способу обработки соль подразделяют на мелкокристаллическую (выварочную) молотую и немолотую (кормовая, дробленная или зерновая). Соль экстра должна на 95% просеиваться через сито с отверстиями диаметром 0,5/5мм. Соль высшего, первого и второго сортов может иметь разную крупность в зависимости от помера помола (помол 0; 1; 2; 3). В хлебопекарном производстве обычно применяют молотую соль первого и второго сортов 1,2 или 3. Реакция раствора соли должна быть нейтральная, вкус чисто соленый. Растворимость соли в воде незначительно зависит от температуры. Насыщенный раствор содержит 26 – 28% соли. Соль входит в рецептуру каждого хлебного изделия в дозировке 1 – 2,5% от массы муки. Соль улучшает структурно – металлические свойства теста и вкус изделий. Клейковина под действием соли становится более плотной, активность протеалетических ферментов несколько снижается. Несоленое или пересоленое тесто имеет слабую, липкую консистенцию. Соль несколько уметает дрожжевые клетки и молочно – кислые бактерии, а следовательно, замедляет процессы спиртового и молочнокислого брожения в полуфабрикатах. Поваренную соль доставляют на хлебозавод в мешках или насыпью в самосвалах. Соль очень микроскопична, поэтому ее хранят в отдельном помещении, насыпью или в ларях. В тесто соль добавляют в виде раствора 23 – 26% - ной концентрации. Раствор соли готовят в солерастворителях системы Лифенцева или марки ХСР. В одном отделении растворителя образуется насыщенный раствор соли, в других отделениях он отстаивается и фильтруется. В последние годы широко применяют так называемое мокрое хранение соли, то есть хранение соли в растворе. Соль доставляют на хлебозавод на самосвале, сразу ссыпают в хранилище – растворитель, представляющее собой большую емкость из 2 –3 отделений. Образующийся в 1 отделении раствор соли проходит через филтры во 2-е и 3-е отделения, а затем перекачиваются в расходные баки. Сухую соль применяют для посыпки поверхности некоторых изделий (соленые сушки, соленая соломка). В этом случае используют поваренную соль помола 2 (предварительно просеянную). Плотность соли должна быть 1,18 – 1,20. Основной дозировки солевого раствора является удельный вес – плотность раствора. Плотность раствора определяется ареометром. Ареометр показывает содержание соли в растворе. Расчет количества солевого раствора производятся по формуле: С = АБ / В САХАР В хлебопечении широко применяют сахар, который входит в рецептуру булочных, сдобных и многих хлебных изделий. Сахар – песок и другие виды сахара почти целиком состоят из сахарозы (С12 Н22 О11). Сахар значительно влияет на свойства теста и качество изделий. Небольшое количество сахара ускоряет брожение теста, однако большие дозировки угнетают дрожжи и задерживают брожение полуфабрикатов. Сахар несколько разжижает консистенцию теста, отнимая воду у набухающих белков, поэтому сдобное тесто, содержащее много сахара, готовят с меньшим содержанием влаги, чем хлебное и булочное. Часть добавленного в тесто сахара – песка сбраживается дрожжами. Оставшийся несброженный сахар участвует в образовании красящих и ароматических веществ во время выпечки хлеба, а также остается в хлебе, улучшает его вкус и повышая калорийность. Сахар – песок просеивают, пропускают через машины и упаковывают в мешки. Мешки с сахаром – песком хранят в сухом помещении, так как он очень гигроскопичен. Сахар применяют для замеса теста в растворенном виде. В тесто для сдобных изделий, имеющих низкую влажность и большое содержание сахара, добавляют обычно сухой сахар. В этом случае его просеивают через машины. Раствор сахар – песок растворяют в бочке с мешалкой и фильтром. Раствор сахара должен иметь определенную и постоянную плотность и температуру. МАРГАРИН Маргарин – специально приготовленный жир, который по химическому составу, калорийности и усвоямости подобен сливочному маслу. Цвет маргарина белый или желтый, консистенция (при температуре 15 гр. С.) плотная, однородная, вкус и запах в соответствии с рецептурой без посторонних привкусов. Маргарин выпускают трех видов: столовый, маргарин для промышленной переработки со вкусовыми добавками (например, шоколадный, содержащий порошок какао). Маргарин со вкусовыми добавками в хлебопекарном производстве не применяют. Каждый вид маргарина имеет несколько разновидностей с различной рецептурой, температурой плавления и другими показателями. Так, маргарин столовый подразделяют на молочный, сливочный (10 – 25% сливочного масла), российский (10% топленого масла), любительский (10% сливочного масла). Маргарин для промышленной переработки имеет разновидности: кондитерский, безмолочный, и жидкий для хлебопечения. Жидкий маргарин поступает на хлебозавод в автоцистернах; его хранят в емкостях с обогревающими рубашками и мешалками при температуре 15 – 20 гр. С. до 2 суток. Периодическое включение мешалок предупреждает расслаивание массы. Маргарин – скоропортящийся жир. Твердые жиры, освобожденные от тары, осматривают и в случае загрязнения поверхности жира ее очищают. Затем жиры разрезают на куски и тщательно осматривают внутреннее состояние жира. Если жиры употребляют в растопленном состоянии, то после зачистки поверхности жир закладывают в бочек с водяной рубашкой, мешалкой и фильтром. Температура растопленного маргарина должна быть не выше 40 – 45 гр. С., так как в противном случае произойдет расслоение массы на жир и воду, что вызовет неравномерное распределение жира в тесте. МАК Семена однолетнего растения того же названия. Влажность мака должна не болеет 11 %, а содержание сорной примеси 3 %. Мак применяют для обсыпки тестовых заготовок в производстве некоторых булочных, бараночных и сдобных изделий, а также для начинки рулета. Мак просеивают через сито с ячейками диаметром 2 – 2,5 мм и промывают водой на сите с ячейками диаметром 0,5 мм. Если мак сильно загрязнен, рекомендуется поместить его в раствор соли плотностью 1,2 при этом минеральные примеси тонут, а мак всплывает. Его промывают затем проточной водой. Приготовление опарыТрадиционный способ приготовления теста на опаре применяют в производстве различных хлебных, булочных и сдобных изделий. Влажность густой опары составляет 42 – 48%. Основное назначение опары – активация и размножение дрожжей, а также накопление продуктов созревания (кислот, ароматических и водорастворимых веществ). Приготавливая опару, соблюдают определенные условия, стимулирующие размножение дрожжей и процессы созревания. Соль и жиры в опару не добавляют, так как эти вещества отрицательно влияют на дрожжи. Температура 29 – 31 гр. С. оптимальная для размножения дрожжей. Влажность опары на 1 – 3% выше влажности теста, что улучшает обмен веществ в дрожжевой клетке, активизирует ферменты и ускоряет набухание клейковины. Длительное брожение опары (3 – 5 ч) обеспечивает достаточное размножение дрожжей и накопление продуктов созревания. Опару готовят из 45 – 60% муки, большей части воды и всего количества дрожжей, полагающихся по рецептуре. Если на хлебозаводе имеется одновременно сильная и слабая мука, то сильную берут на замес опары, а слабую на тесто, так как оно бродит недолго и клейковина будет ослаблена в меньшей степени. При приготовлении опары в машинах с подкатными дежами в пустую дежу отливают необходимое количество воды, добавляют дрожжевую суспензию, включают тестомесильную машину и при непрерывном перемешивании добавляют муку. Замес опары до получения однородной массы ведут на машине «Стандарт» в течении 5 – 6 мин. После замеса зачищают рычаг и края дежи. Замешенную опару пасыпают сверху мукой чтобы предотвратить заветривание, и оставляют бродить на 3 – 5 ч. Готовность опары определяют оргомолептически и по кислотности. Выброженная опара имеет резкий спиртовой запах и равномерно – сетчатую структуру, что указывает на образование в ней нормального клейковитого каркаса. Объем опары в конце брожения увеличивается в 2 – 2,5 раза, при слабом катании на поверхность опары опадает. Замес теста Тесто – однородная масса – полученная в результате перемешивания муки с опарой и дополнительным сырьем по рецептуре. В настоящее время тесто для рогликов замешивается порционно – через определенные промежутки времени. В этом случае используются тестомесильные машины с подкатными дежами определенной емкости 330 литров. Для обеспечения рецептурного колличества сырья используют дозаторы периодического действия (дозатор соли, авто – весы и другое). Тесто обладает определенными физическими свойствами: упругое, эластичное. Это достигается благодаря составу муки и особенно белковым веществам муки. При замесе теста они впитывают воду в 2 раза больше своего веса образуя вязкую, растяжимую массу – клейковину. Тесто становится упругим и эластичным, а во время выпечки белки свертываются и закрепляют форму, рисунок изделий. Во время выпечки крахмал клейстеризуется, поглощая воду и поэтому мякиш изделий становиться сухим. Таким образом тесто – это однородная масса, состоящая из клейковинного каркаса, который заполнен и окружен слабо набухшим крахмалом и растворенными в нем сахаров и менеральных веществ. При замесе теста необходимо знать норму загрузки дежи мукой. Для каждого вида есть норма расхода воды: Булочное – 35 – 40 литров; Хлебное – 44 – 46 литров; Сдобное – 30 – 38 литров; Ржаное – 48 – 50 литров; На 100 килограммов муки Влажность теста всегда на 1% больше влажности мякиша изделий. Дежу с опарой подкапывают к тестомесильной машине, добавляют солевой раствор, раствор сахара, остаток воды, маргарин и в последнюю очередь муку. Замешиваем до однородности, t теста 28 – 30 гр. С. Края дежи и месильный рычаг (после замеса теста) зачищают скребком, с тесто ставят на брожение. Во время брожения тесто «созревает»:
В конце брожения тесто увеличено в 2 – 2,5 раза поверхность теста выпуклая. По упругости – если нажимать на тесто и оно будет восстанавливаться тесто не добродившее – «молодое»; если восстанавливается медленно, то тесто готовое; не восстанавливается - то тесто перекисшее – «старое». Запах готового теста:
После того, как определили готовность теста, производят его разделку. Разделка теста При разделке выброженное тесто поступает в буклер над воронкой делительной машины. С помощью шибера в нижнем отверстии тестоспуска регулируют поступление теста в воронку делительной машины. Из воронки делителя тесто попадает в его рабочую камеру, а затем помещается особым устройством в мерники, откуда выталкивается в виде отдельных кусков равного объема и массы. Масса куска теста на выходе из делителя должна обеспечивать стандартную массу изделия 220 гр. В среднем масса куска теста должна быть на 10 -–12% больше остывшего изделия, так как в процессе выпечки и хранения масса теста и хлеба уменьшается. При пуске тестоделителя после остановки первые 8 – 10 кусков теста следует возвратить в воронку машины, так как они обычно имеют неточную массу. Массу следующих кусков следует проверять на весах несколько раз. Округление Округление кусков теста применяют в производстве пшеничного подового хлеба, булочных и сдобных изделий. Округлять куски теста можно в ручную. Однако, для этого применяют специальные машины – округлители. Рабочими органами округлителей является вращающаяся коническая чаша и расположенный над нею неподвижный спиральный желоб. Тестовые заготовки, попадая через воронку на дно чаши, перемещается по желобу снизу вверх, совершая сложное вращательное движение. В процессе округления стаживаются неровности на поверхности заготовки, уплотняется поверхностный слой теста, заготовка получается шарообразной формой. Кроме того, округление улучшает пористость изделий и состояние их поверхности. Уплотненный при округлении поверхностный слой теста хорошо задерживает газы внутри заготовки. Тесто слабой консистенции размазывается и прилипает к поверхности округлителя. Для устранения прилипания теста внутреннюю поверхность округлителя смазывают растительным маслом и обдувают (с помощью вентилятора) теплым воздухом. Предварительная расстойка Предварительная расстойка – это отлежка округленных кусков в течении 5 – 10 мин. Предварительную расстойку применяют только в производстве булочных и сдобных изделий. В процессе предварительной расстойки восстанавливается структура клейковины, нарушенная при делении и округлении теста. Восстановление клейковинного каркаса улучшается пористость и увеличивается объем готовых изделий. Предварительную расстойку округленных кусочков теста можно производить на разделочном столе, ленточном транспортере, ковшевом конвейере или в специальных конвейерных шкафах. Расстойку проводят при обычной температуре и влажности воздуха, куски теста при этом несколько подсыхают с поверхности, что положительно влияет на процесс формирования заготовок (снижает прилипание теста к валкам тестозакаточной машины).
Формование
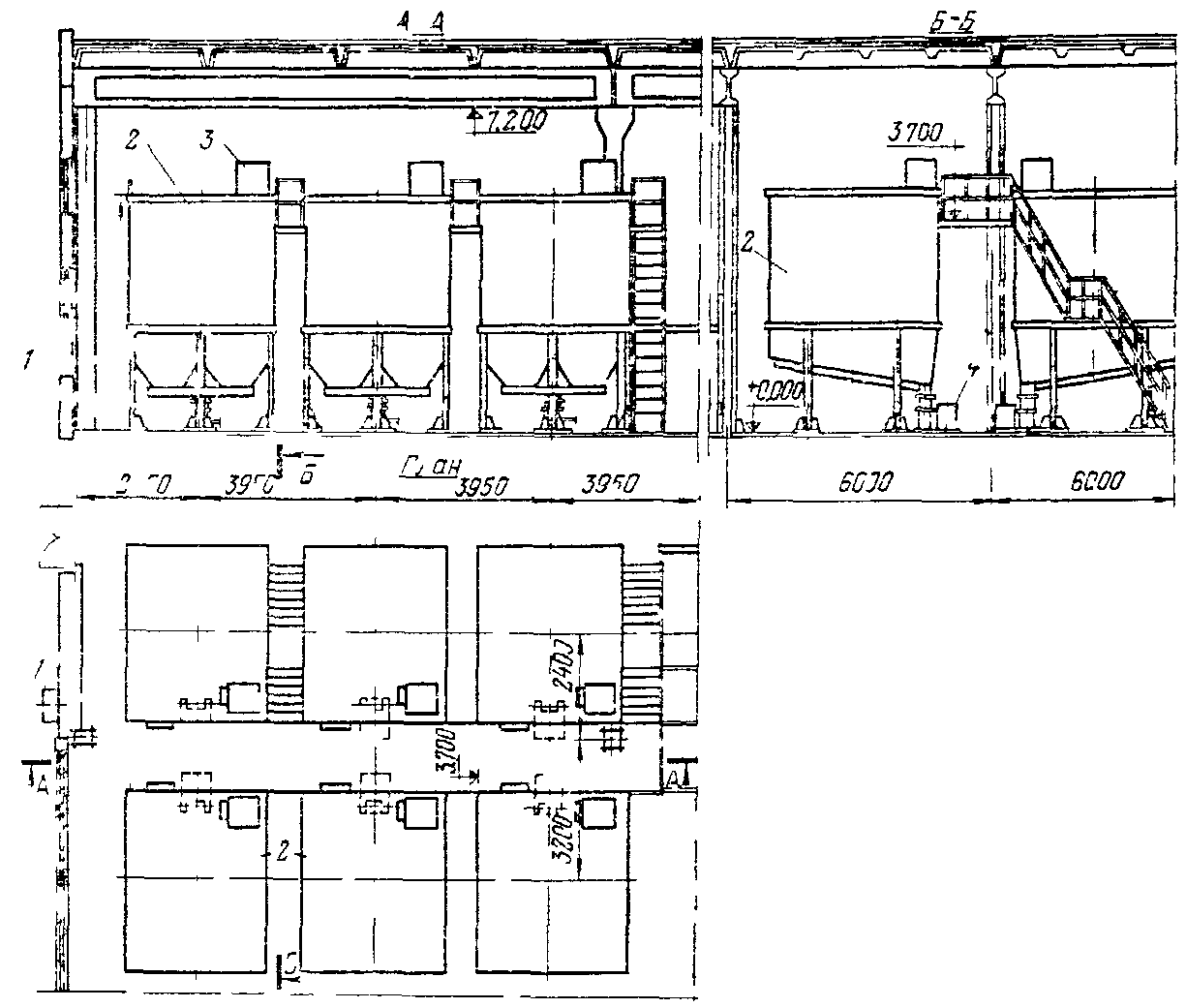
тестовых В процессе формования тестовые заготовки форму, установленную для данного изделия. При нарушении формы или состояния поверхности изделия бракуют. Правильное формование обеспечивает привлекательный внешний вид изделия, хорошее состояние мякиша, рельефность надрезов на поверхности. Рожки, роглики и некоторые виды сдобных изделий формуют на тестозакаточной машине, где заготовка раскатывается в блин и свертывается в слоистый рулон. Окончательная расстойка Окончательная расстойка – это период брожения сформированных тестовых заготовок перед выпечкой. В процессе деления, округления и формирования разрушается пористая структура теста и почти полностью удаляется углекислый газ. Если сформированные заготовки испечь сразу, то изделие приобретет рваную корку, низкий объем, плотный мякиш и другие дефекты. В процессе окончательной расстойки тестовые заготовки интенсивно разрыхляются и значительно увеличиваются в объеме, поверхность заготовок становится гладкой и эластичной, что обеспечивает стандартный вид и хорошую пористость изделия. В процессе расстойки наряду с брожением протекают и другие процессы созревания теста. Окончательную расстойку проводят в атмосфере влажного и теплого воздуха температурой 35 – 40 гр. С. и относительной влажностью 75 – 85 %. Такие условия обеспечивают интенсивное брожение внутри тестовых заготовок и хорошее состояние их поверхности. Конец расстойки тестовых заготовок определяют органолептически по увеличению объема теста, а также при легком нажатии пальцами на поверхность теста. Оборудование для расстойки служит конвейерные – люлечные шкафы и вагонетки. Выпечка Выпечка – заключительная стадия производства хлебных изделий, окончательно формирующая качество хлеба. Все изделия и процессы, превращающие тесто в готовый хлеб, происходят в результате прогревания тестовой заготовки и увлажнения ее поверхности во время выпечки. Хлебные изделия выпекают в пекарной камере хлебопекарных печей при температуре паровоздушной среды 200 – 280 С. Тестовые заготовки прогреваются постепенно, начиная с поверхности, поэтому все процессы, характерны для выпечки хлебных изделий, происходят не одновременно во всей их массе, а последовательно, сначала в наружных, а потом во внутренних слоях. Образование твердой хлебной корки происходит в результате обезвоживания наружных слоев тестовой заготовки. Твердая корка прекращает прирост объема теста и поэтому корка должна образоваться не сразу, а через 6 – 8 мин. после начала выпечки, когда максимальный объем заготовки будет уже достигнут. В первую зону пекарной камеры подают пар, конденсация которого на поверхности заготовок задерживает обезвоживание верхнего слоя и образование корки. Однако через несколько минут верхний слой, прогреваясь до температуры 100 С, начинает быстро терять влагу и при температуре 110 – 112 С превращается в тонкую корку, которая затем постепенно утолщается. При обезвоживании корки часть влаги (около 50%) испаряется в окружающую среду, а другая часть переходит в мякиш, так как влага при нагревании различных материалов всегда переходит от более нагретых участков (корка) к менее нагретым (мякиш). Процессы, происходящие в поверхностном слое заготовки и в корке, - это клейстеризация и декристализация крахмала, денатурация белков, образование ароматических и темноокрашенных веществ и удаление влаги. В первые минуты выпечки в результате конденсации пара крахмал на поверхности заготовки клейстеризуется, переходя частично в растворенный крахмал и декстрины. Жидкая масса растворенного крахмала и декстринов заполняет поры на поверхности заготовки, сглаживаются мелкие неровности и после обезвоживания придает корке блеск. Окраска корки зависит от содержания сахара и аминокислот в тесте, от продолжительности выпечки и от температуры в пекарной камере. При выпечке внутри тестовой заготовки подавляется бродильная микрофлора, изменяется активность ферментов, происходит клейстеризация крахмала и тепловая денатурация белков, изменяется влажность и температура внутренних слоев теста, хлебных изделий. При температуре 55 – 60 С отмирают дрожжи и нетермоорильные молочнокислые бактерии, а при температуре 80 С погибают и термоорильные бактерии. Активность ферментов в каждом слое выпекаемого изделия сначала повышается и достигает максимума, а затем падает до нуля, так как ферменты, являются белковыми веществами при нагревании свертываются и теряют свойства катализаторов, значительное влияние на качество изделия может оказать активность а – амилозы, так как этот фермент сравнительно устойчив к нагреванию. Изменение состояния крахмал вместе с изменениями белковых веществ является основным процессом, превращающим тесто в хлебный мякиш. Влажность мякиша горячего хлеба (в целом) повышается по сравнению с влажностью теста на 1,5 – 2,5 % за счет влаги, перешедшей из верхнего слоя заготовки. Изменение состояния белковых веществ начинается при температуре 50 – 70 С и заканчивается при температуре около 90 С. Белковые вещества в процессе выпечки подвергаются денатурации (свертыванию). При этом они уплотняются и выделяют влагу, поглощаемую ими при образовании теста. Свернувшиеся белки фиксируют (закрепляют) пористую структуру мякиша и форму изделия. После тепловой денатурации белков в наружных слоях изделия прекращается прирост объема заготовки. Объем выпеченного изделия на 10 – 30 % больше объема тестовой заготовки перед посадкой ее в печь. Степень увеличения объема выпекаемого хлеба зависит от состояния теста, способа посадки заготовки на под печи, режима выпечки и других факторов. Торное определение готовности изделия имеет важное значение. Если изделие недопечено, то имеет много дефектов, а излишнее увеличение продолжительности выпечки увеличивает упек, снижает производительность печи, вызывает перерасход топлива. Объективным показателем готовности изделия является температура в центре мякиша, которая в конце выпечки должна составлять 95 – 97 С. Однако готовность определяют органолептически по следующим признакам: цвету корки – окраска должна быть светло-коричневая или коричневая; состоянию мякиша – мякиш готового изделия сравнительно сухой и эластичный; относительной массе – масса пропеченного изделия меньше, чем масса неготового изделия. Упек – это уменьшение массы тестовой заготовки при выпечке, то есть разность между массой (Мт) теста и массой горячего изделия (Мг). Упек (Муп) выражается в процентах к массе теста перед посадкой его в печь. Муп = (Мт – Мг)/Мт * 100% Основная причина упека – испарение влаги при образовании корки. Для снижения упека необходимо знать факторы, на него влияющие. Прежде всего упек зависит от формы и массы тестовой заготовки. Чем меньше масса изделия, тем выше упек, так как упек происходит в результате образования корки, а процентное содержание корки у мелкоштучных изделий больше, чем у крупных. Под режимом выпечки понимают ее продолжительность, а также температуру и влажность среды в разных зонах пекарной камеры. Советским ученым установлены параметры наиболее рациональных режимов выпечки различных групп изделий, при которых достигается высокое качество продукции, снижается упек и расход топлива. Все изделия выпекают при переменном режиме, в результате в пекарной камере должно быть несколько зон различной влажности и температуры среды. Для большинства изделий рекомендуется режим, при котором тестовые заготовки последовательно проходят зону увлажнения, зону высокой температуры и зону пониженной температуры. Хранение готовых изделий Выпеченные изделия, как правило, поступают по транспортерам на циркуляционные столы, где их сортируют и укладывают в деревянные лотки (изделия с дефектами отбраковывают). Изделия укладывают плашмя в 1 ряд – сдобные. Формовой хлеб в 1 – 2 ряда на боковую и нижнюю корку, подовый хлеб, булки, батоны - в 1 ряд на нижнюю корку или на ребро. Если сдобные изделия укладывают в лотки на ребро, то нарушается отделка поверхности. Лотки и изделием устанавливают на вагонетки. Вагонетки вручную перемещают к месту укладки изделий и на погрузочную рамку. В настоящее время механизации укладочных и погрузочно-транспортных работ в хлебохранилищах и экспедициях уделяется большое внимание. Весьма перспективен контейнерный метод хранения и перевозки хлеба, который применяют в разных вариантах на многих хлебозаводах страны. Контейнер загружают и доставляют на рамку вручную, а затем с помощью грузоподъемного борта автомашины закатывают в кузов и доставляют в магазин. Применение закрытых контейнеров снижает усушку и задерживает процесс черствения изделий. Для хранения хлебных изделий на предприятиях и в магазинах установлены максимальные сроки. Отклонения времени доставки продукции допускается не более чем на 1 ч. в дневное и на 2 ч в ночное время. После выпечки хлеб стерилен, но в процессе хранения и перевозки он может быть загрязнен или обсеменен различными микроорганизмами (при нарушении установленных санитарных правил). Хлебные лотки должны быть чистыми. По мере надобности их моют в специальных машинах растворами соды и других моющих средств, а затем промывают и сушат. Хлебохранилище располагают в чистом, сухом и хорошо вентилируемом помещении. В нем нельзя хранить другие продукты и материалы, а также держать бракованные изделия. Усушка – это уменьшение массы выпеченных изделий в процессе хранения. Для определения усушки за определенный период надо из массы горячего хлеба (Мг) вычесть массу хлеба после хранения (Мх). Обычно усушка выражается в процентах по отношению к массе горячего хлеба. Мус = (Мг – Мх)/Мг * 100 Усушка за максимальный срок хранения изделия на предприятии составляет 3 – 4 % массы горячей продукции. Усушка вызывается тем, что при хранении хлебных изделий влага из мякиша перемещается к корке и с ее поверхности испаряется в окружающую среду. Так как влажность мякиша всегда выше влажности корки, горячее изделие усыхает особенно интенсивно, а остывшее усыхает медленно. Чем быстрее будут охлаждены изделия, тем ниже окажется усушка за один и тот же срок хранения. На величину усушки влияет также и другие факторы: влажность изделия, состояние его корки, удельная поверхность хлеба, температура и влажность воздуха в хлебохранилище. Для снижения усушки следует быстро охладить изделия, а затем хранить их в условиях, замедляющих усыхание. На некоторых предприятиях вагонетки с выпеченными изделиями закрывают пластмассовыми чехлами. Все эти меры не только снижают усушку, но и замедляют черствение продукции. Значительно снижается усушка упа. Хлеб начинает черстветь через 8 – 10 ч. после выпечки. Мякиш при этом теряет эластичность, становится жестким и крошащимся, ухудшается вкус и снижается аромат, свойственный свежему изделию. Хрупкая после выпечки корка превращается в мягкую, эластичную. Черствение вызывается в основном изменением структуры крахмала при хранении. Оклейстеризованный крахмал в процессе выпечки с течением времени стареет – выделяет поглощенную им влагу и переходит в прежнее состояние, характерное для крахмала муки. Крахмальные зерна при этом уплотняются и значительно уменьшаются в объеме, между ними образуются воздушные прослойки. Поэтому черствеющий мякиш становится крошковатым. Свободная влага, выделенная крахмалом, при черствении впитывается белками и частично испаряется (усушка), а также остается в образовавшихся воздушных прослойках. Факторы, влияющие на черствение хлебных изделий многочисленны: вид и сорт муки, рецептура и технологический режим приготовления изделий, условия хранения изделий и другие. В настоящее время широко применяют упаковку хлебных изделий в различные виды мягкой тары (целлофан, полиэтиленовую пленку). Все упаковочные материалы должны быть безвредными, не реагировать с веществами хлеба, быть непроницаемыми для паров и газов. Перед упаковкой изделия охлаждают, в термоусадочную пленку изделия упаковывают горячими. Упаковка не только задерживает черствение изделий на 4 – 5 суток, но и позволяет хранить и транспортировать их в хорошем санитарном состоянии. Болезни хлебных изделий Болезни хлеба вызываются развитием в нем некоторых микроорганизмов. Наиболее часто встречается картофельная болезнь хлеба и плесневение. Очень редко хлеб поражают возбудители меловой болезни и покраснение мякиша. Все виды болезней делают хлеб непригодным к употреблению. Картофельная болезнь вызывается развитием в хлебе спороносных бактерий – картофельной, или сенной палочкой. Эти бактерии, широко распространенные в природе, находится на поверхности зерна (особенно если зерно произрастало в жарком климате). Споры картофельной палочки при помоле переходят в муку, при выпечке хлеба термоустойчивые споры сохраняют свою жизнедеятельность. В процессе хранения хлеба споры при благоприятных условиях образуют бактериальные клетки, которые своими ферментами разлагают мякиш хлеба. Для размножения картофельной палочки оптимальным является температура 37 – 40 С и слабокислая или щелочная реакция среды. Первые признаки болезни (пятна в мякише, посторонний запах) появляются через 10 – 20 ч. после выпечки хлеба. Для предупреждения болезни применяют следующие меры. На мельницах и хлебозаводах в теплое время года проверяют степень зараженности муки спорами картофельной палочки. Хлебец, приготовленный безопарным способом и завернутый во влажную бумагу, выдерживают в термостате при температуре 37 – 40 С в течение 24 ч., а затем разрезают. Если мякиш имеет признаки болезни, то зараженность муки считается опасной. В этом случае муку используют для выпечки баранок, сухарей, печенья и других изделий, не болеющих картофельной болезнью из-за низкой влажности. При опасности возникновения картофельной болезни бракованные изделия необходимо перерабатывать как можно быстрее и высушивать при температуре не ниже 100 С, что задерживает развитие картофельной палочки. Хлебную мочку и крошку в этом случае применять нельзя. При вспышке картофельной болезни заболевший хлеб уничтожают, оборудование и помещение хлебозавода дезинфицируют. Болезнь, вызываемая бактерией чудесная палочка, встречается очень редко. Чудесная палочка – бесспоровая бактерия, образующая пигмент красного цвета. Оптимальная температура для ее роста 25 – 30 С. Чудесная палочка встречается на земле, в воде и на пищевых продуктах. Попадая в хлеб из внешней среды, она окрашивает мякиш в красный цвет, осахаривает крахмал и разлагает белки хлеба. Эта бактерия не образует вредных для человека веществ, однако пораженный ей хлеб теряет товарный вид и негоден к употреблению. Для борьбы с чудесной палочкой (при вспышке болезни) достаточно вымыть помещение горячей водой, а оборудование обдать кипятком. При температуре 40 С этот микроорганизм погибает. Меловая болезнь вызывается особыми дрожжеподобными грибками, которые попадают в хлеб с мукой. В результате на корке и в мякише хлеба образуются белые сухие пятна, напоминающие мел. Меловая болезнь встречается очень редко, для здоровья человека она не опасна, однако заболевший ею хлеб не годен для употребления. Плесневение возникает при длительном хранение хлеба. Оно происходит в результате попадания спор плесени из окружающей среды на выпеченный хлеб. Оптимальные условия для развития плесени – температура 23 – 35 С и относительная влажность воздуха 70 – 80 %. Плесневые грибки сначала поражают корку хлеба, а затем и мякиш. Ферменты плесени разлагают мякиш хлеба, портят его вкус и запах. Заплесневевший хлеб не пригоден к реализации или вторичной переработке. Чтобы предупредить плесневение, поверхность такого хлеба обрабатывают этиловым спиртом или сорбиновой кислотой, а затем упаковывают в мягкую тару. Хлеб длительно хранения сохраняется без порчи в течение нескольких месяцев. III. МЕХАНИЗИРОВАННЫЕ ПОТОЧНЫЕ ЛИНИИ ДЛЯ МЕЛКОШТУЧНЫХ И СПЕЦИАЛЬНЫХ ХЛЕБНЫХ ИЗДЕЛИЙМЕХАНИЗИРОВАННЫЕ ПОТОЧНЫЕ ЛИНИИ ДЛЯ ПРОИЗВОДСТВА БУЛОЧНЫХ ИЗДЕЛИЙ3.1 Механизированная линия А2-ХЛПЛиния разработана УкрНИИ-продмашем для производства мелкоштучных сдобных и булочных изделий массой до 100 г. (рис. 3.1). В состав линии входит тестоприготовительное оборудование, деже опрокидыватель 1; делительно-округлительная машина А2-ХЛ1-С9 (2); машина для формования тестовых заготовок А2-ХАС (3), укладчик 4 тестовых заготовок на листы: посадчик листов (5) в шкаф расстойки; конвейерный шкаф 6 окончательной расстойки; посадчик листов 7 на сетчатый под туннельной печи и туннельная печь ПХК-16 (8). В конце линии предусмотрена установка для ориентирования листов 9, машина 11 для чистки и смазки листов; транспортер 12 для возврата листов к месту загрузки; накопитель листов 13 и транспортер 10 для готовых изделий.
Рис. 3.1. Схема
механизированной
поточной линии
для производства
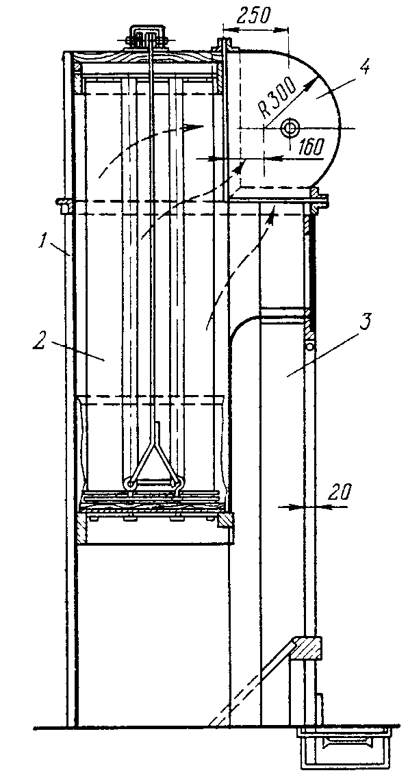
Для приготовления теста в линии могут быть использованы тесто-приготовительные агрегаты, приспособленные для замеса сдобного теста или тестомесильные машины «Стандарт» с подкатными дежами. В последнем случае в состав линии включаются машины для подъема и опрокидывания дежей с целью перегрузки теста в воронку делительно-округлительной машины. Сформованные на агрегате А2-ХАС тестовые заготовки по пять штук в ряду формующим транспортером подаются на механизм укладки, действующий по принципу убегающей ленты, с помощью которой перекладываются на листы. Листы с заготовками специальным механизмом пересаживаются в люльки шкафа окончательной расстойки. После окончания расстойки листы автоматически пересаживаются на под туннельной печи ПХК-16. После выпечки листы с готовыми изделиями механически выгружаются из печи на ленточный транспортер, с которого производится перекладка изделий в лотки. Освободившиеся листы поступают в машину для чистки и смазки и далее по транспортеру направляются к месту загрузки у тестофор-мующего агрегата. Эксплуатация тестоформующего агрегата А2-ХАС на московском № 5 и киевском хлебозаводах показала, что он обеспечивает механизированную выработку сдобных мелкоштучных изделий хорошего качества и внешнего вида, высвобождает рабочих от ручных операций и повышает производительность труда. 3.2. Механизированная поточная линия для производства рожков (рогликов)Линия разработана ВНИИХПом. Она состоит (рис. 3.2) из тестоприготовительного агрегата (на рисунке не показан), применяемого для бараночных изделий, тестоделительной округлительной машины 1 с механизмом для раскладки кусков теста в люльки, шкафа предварительной расстойки 2 с вертикально расположенным конвейером, тестозакаточной машины.3 для рожков (рогликов), шкафа окончательной расстойки 4 с механизмом загрузки листов на люльки 5, рольгангового механизма 6 для посадки листов с тестовыми заготовками на ленточный под туннельной печи 7. В этой линии ручные операции остались только при раскладке тестовых заготовок на листы с приданием им формы рожка после закаточной машины. При использовании в этой линии для выпечки тупиковых конвейерных люлечно-подиковых печей марки ФТЛ-2, П-1-57 и пр. посадка листов с тестовыми заготовками на люльки печи производится вручную. Эта линия может быть применена и для выработки других мелкоштучных булочных изделий: розанчиков, русских булочек и т. п.— при условии замены оборудования для приготовления теста и его формования. Для производства обыкновенной и выборгской сдобы и других улучшенных мелкоштучных изделий на предприятиях малой мощности применяются линии с механизацией отдельных процессов: тесто-приготовления с дозировкой сырья, тесторазделки, предварительной и окончательной расстойки. Формование и раскладка тестовых заготовок на листы, посадка их в шкаф окончательной расстойки, а затем в печь и последующая выемка изделий из печи и отделка поверхности (обсыпка сахарной пудрой, смазка помадой и др.) производится вручную.
Рис. 3.2.
Механизированная
поточная линия
для производства
рожков В этом случае тестовые заготовки формуются на столах с деревянными крышками, оборудованных ленточными транспортерами для перемещения листов к шкафу окончательной расстойки. ОБОРУДОВАНИЕ ДЛЯ СКЛАДОВ МУКИ И ДОПОЛНИТЕЛЬНОГО СЫРЬЯ И ТРАНСПОРТНЫЕ УСТРОЙСТВАМеханизация процессов подготовки муки и дополнительного сырья имеет большое значение для повышения качества продукции, экономии сырья и повышения эффективности производства. 3.3. Оборудование для складов муки и дополнительного сырьяСклады для хранения муки и дополнительного сырья подразделяют на тарные и бестарные. Тарные склады имеют оборудование, исключающее применение тяжелого физического труда. К данному оборудованию относятся установки механического транспорта и вспомогательное оборудование мучных складов. При бестарной перевозке и хранении муки и дополнительного сырья полностью механизируются погрузочно-разгрузочные операции, уменьшается штат рабочих, сокращаются простои автомобилей, снижаются затраты на перевозку и хранение, уменьшается распыл муки, ликвидируются затраты на тару, улучшается общее санитарное состояние предприятия. В бестарных складах хранение муки осуществляют в силосах и бункерах, что имеет и технологические преимущества: муку легко перемещать из одного силоса в другой, аэрировать, подсортировывать, просушивать, быстро прогревать, используя теплые потоки воздуха. Кроме того, силосы и бункера для хранения муки могут размещаться в отдельном здании, в пристройке к основному корпусу, встраиваться в габариты основного корпуса. Рекомендуется также открытая установка силосов и бункеров вне здания. Отдельно стоящий бестарный склад муки. Склад (рис. 3.3) размещен в отдельном здании, примыкающем к хлебозаводу. Помещение для воздуходувок размещено в здании хлебозавода. Муку хранят в металлических круглых силосах ХЕ-160А диаметром 2500 мм; вместимость каждого составляет 30 т. При разгрузке муки из муковоза гибкий шланг присоединяется к одной из линий пневмотранспортной установки, выходящей на щиток 1, и мука по трубе подается в силос 2. Для учета поступающей и отпускаемой муки предусмотрена установка каждого силоса на тензометрические датчики массы 4. Отпуск муки в производство осуществляют с помощью питателей 5.
1—приемный щиток; 2—силос для муки; 3—фильтр; 4 — тензометрические датчики для определения массы муки в силосах; 5 — питатели для подачи муки в производство. Встроенные бестарные склады муки. Схема данного склада показана на рис. 4. Склад размещен в торцевой части хлебозавода. Над бестарным складом отсутствуют другие помещения.
Рис 3.4 Встроенный
в здание хлебозавода
бестарный
склад муки с
1—приемный щиток 2— бункера для муки 3 — фильтры 4 — воздуходувка Склады бестарного хранения муки открытого типа. Склады данного типа имеют следующие преимущества: отпадает необходимость в затратах времени и средств на строительство зданий для мучных складов с системами отопления, освещения, вентиляции и т. д.; значительно сокращаются сроки проектирования и монтажа установок; снижаются эксплуатационные расходы (на отопление, текущий и капитальный ремонт зданий и т. д.); значительно уменьшается опасность взрыва; ликвидируется возможность появления мучных вредителей; упрощается обслуживание автоматики. Эксплуатация таких складов показала, что они успешно работают в течение всего года, даже при температуре —30°С, так как мука является плохим проводником тепла и во всем ее объеме, за исключением слоя, прилегающего к стенкам бункера, сохраняется первоначальная температура. В зависимости от типа применяемых бункеров имеются склады с бункерами М-137 и ХЕ-233. Склад муки с бункерами М-137 (рис.3.5) предусматривает установку 12 металлических бункеров в четыре ряда по три бункера в каждом. Диаметр каждого из них 3 м, вместимость 32—35 т. Такое количество бункеров позволяет одновременно хранить несколько сортов муки, производить ее санитарную обработку.
Рис. 3.5. Склад муки открытого типа с бункерами М-137: 1—бункер для муки; 2—фильтр встряхивающий; 3 — питатель. Для взвешивания и учета муки, поступающей на хранение и в производство, бункера имеют четыре датчика 1ЭДВУ-7 электронно-тензометрического весодозирующего устройства. Бункера устанавливают на бетонной открытой площадке. На нижней части бункера размещают технологическое оборудование. Поэтому ее защищают от метеорологических воздействий индивидуальной для каждого бункера металлической конструкцией цилиндрической формы с дверью. Для обрушения сводов муки в бункере установлено два вибратора. Для обслуживания верхней части бункеров и фильтров предусмотрены металлические ограждения, переходные мостики на отметке Ими лестницы. Склад муки с бункерами М-137 работает по следующей схеме. Трубопроводы муки от питателей, расположенных под двумя рядами бункеров (6 шт.), соединены с помощью шестипозиционного переключателя в один трубопровод, от других шести бункеров— в другой трубопровод. По двум трубопроводам мука аэрозоль-транспортом подается в производство. Предусматривается одновременно подача муки в производство только по одной линии. При необходимости работы одновременно двух линий аэрозоль-транспорта количество воздухонагнетателей должно быть соответственно увеличено.
Рис. 3.6. Склад муки открытого типа с бункерами ХЕ-233:
1—бункер
для муки; 2—фильтр
встряхивающий;
3 — стойка
тензодатчика;
Склад муки с бункерами ХЕ-233 (рис. 3.6) состоит из шести бункеров в 2 ряда по три бункера в каждом ряду. Каждый бункер имеет диаметр 5 м, вместимость 63—64 т. Бункера устанавливают на опорах; между опорами и бункером располагаются датчики тензометрического весодозирующего устройства. В нижней части бункера располагают технологическое оборудование и датчики. Поэтому ее ограждают облегченной металлической конструкцией. Для обслуживания люков бункеров и фильтров на отметках 4,8 и 8,9 м устраивают площадки. Склад муки с бункерами ХЕ-233 работает следующим образом. Трубопроводы муки от питателей, расположенных под бункерами, соединены с помощью трехпозиционного переключателя s один трубопровод, другого ряда—в другой трубопровод. По двум трубопроводам мука аэрозольтранспортом подается в производство. Предусматривается работа одновременно только одной линии. Производительность линий аэрозольтранспорта для двух вариантов составляет 4 т. муки в час. Для подготовки сжатого воздуха предусмотрена установка газодувок 1А22-80-2А, которые устанавливают на открытой площадке, примыкающей к складу бестарного хранения муки. Длина трубопровода муки от бункеров до просеивателя, установленного па хлебозаводе, должна быть не более 60 м, а длина трубопровода сжатого воздуха от газодувки к питателю — не более 20 м. Каждая газодувка закрыта звукопоглощающим защитным кожухом. Воздух забирается газодувками через шумоглушители. В шумоглушитель входит фильтр для очистки воздуха и устройство для глушения шума на всасывающем воздуховоде. Трубопроводы сжатого воздуха от газодувок объединены в один общий трубопровод, из которого воздух подается по четырем линиям: по одной линии сжатый воздух подается к питателям, установленным под бункерами бестарного хранения муки, по второй линии—на продувку трубопроводов муки, по третьей—для возможной подачи сжатого воздуха на хлебозавод к питателям, установленным под просеивателями. При применении на хлебозаводе механического транспорта муки следует устанавливать только две газодувки. Компрессоры устанавливают вместо газодувок при необходимости транспортирования муки от склада до производственных бункеров на расстояние до 100 м. Компрессорная станция работает следующим образом. Воздух забирается компрессорами непосредственно из атмосферы через ячейковые унифицированные фильтры ФЯР. Сжатый воздух поступает в конечный холодильник ХРК-9, затем в маслоотделитель 100-ОММ и воздухосборник. Из воздухосборника воздух поступает в воздухоочиститель с маслоотделителем и фильтром ХВО-6, а затем к потребителям. Сжатый воздух распределяется по четырем линиям. По одной линии сжатый воздух подается к питателям, установленным под бункерами в складе муки, по второй — на обрушение сводов муки в бункерах (только при варианте с бункерами ХЕ-233), по третьей — на продувку трубопроводов муки и четвертая линия предусматривается для подачи сжатого воздуха к питателям, установленным на линиях под просеивателями. Следует отметить, что одновременно можно эксплуатировать только одну просеивательную линию. 3.4. Установки механического транспортаК установкам механического транспорта относятся спуски и скаты, ручные тележки, вилочные погрузчики, конвейеры разных типов. Спуски и скаты. Для разгрузки мешков с мукой, солью и других грузов из вагонов и автомашин в склады, а также передачи грузов с этажа на этаж применяют спуски, которые бывают прямые и спиральные. Прямые спуски (наклонные плоскости, лотки, трубы) применяют для перемещения грузов одновременно в вертикальном и горизонтальном направлениях. Наклон спуска обычно равен 20—25°. Наклонные плоскости и лотки изготавливают из деревянных гладкостроганых досок толщиной 30—50 мм. Спиральные винтовые спуски применяют при транспортировании грузов вертикально вниз. Они представляют собой расположенный по винтовой линии желоб (чугунный или деревянный), который укрепляют вокруг вертикальной колонны. Наружный диаметр его чаще всего равен 1,5—2,0 м. Чугунные спуски делают из отдельных винтовых звеньев, надеваемых на общую ось и соединяемых болтами. Перемещение грузов вниз может производиться также свободным падением по трубе. На хлебозаводах с многоэтажным размещением технологического оборудования тесто к тестоделительным машинам, как правило, подают по вертикальной трубе. Ручные тележки и вилочные погрузчики. Для перевозки грузов внутри предприятия применяют ручные тележки (рельсовые и безрельсовые), а также вилочные погрузчики. Рельсовые тележки используют только при транспортировании груза на большое расстояние по прямой. Безрельсовые тележки применяют для внутризаводского транспорта при относительно небольших, но сложных трассах. По конструкции ручные тележки могут быть двух-, трех- и четырехколесными. На мучных складах предприятий малой и средней мощности применяют подъемно-транспортные тележки. Для механизации работ на мучных складах применяют автопогрузчики и электропогрузчики. Наибольшее применение получили электропогрузчики, так как они более удобны в эксплуатации, имеют меньшие размеры и не загрязняют воздух отработанными газами. Электропогрузчик предназначен как для перемещения, так и для штабелирования мешков с мукой и других грузов. Он работает следующим образом: груз укладывают на поддон (площадку), погрузчик перемещается по направлению к грузу, вилки подходят под поддон, затем рама вместе с вилками отклоняется назад на 8—10°, и груз приподнимается. Наклон вилок в сторону погрузчика обеспечивает устойчивое положение перемещаемого груза. Если необходимо уложить груз в штабель, вилки электропогрузчика поднимаются. Наибольшая высота подъема у погрузчиков различных марок колеблется от 1500 до 2800 мм. Электропогрузчик приводится в движение с помощью электродвигателя постоянного тока, питаемого от аккумуляторной батареи. Для движения вилок по раме и наклона рамы служит гидравлический привод. Насос гидропривода работает от отдельного электродвигателя. Аккумуляторные батареи погрузчика необходимо заряжать через каждые 7-8 ч работы. Электропогрузчик обслуживает специально обученный водитель. Конвейеры. По конструкции рабочего несущего органа различают конвейеры ленточные, скребковые, ковшовые, винтовые и др. Ленточные конвейеры (рис. 3.7, а) получили широкое распространение, так как они более экономичны, плавно и бесшумно работают и просты по конструкции. Эти конвейеры состоят из бесконечной ленты, ведущего и натяжного барабанов и рамы, по длине лента поддерживается опорными роликами или гладким настилом.
Рис.
3.7 Конвейеры:
а – ленточный
транспортер,
б – ковшовый
элеватор, На предприятиях хлебопекарной промышленности ленточные конвейеры (подвижные и стационарные) применяют для горизонтального и наклонного перемещения мешков с мукой, кусков теста и пр. Для транспортировки муки в мучных складах при бестарном хранении получили широкое распространение конвейеры с погруженными скребками (редлеры). Продукт перемещается в закрытом желобе сплошным потоком с помощью цепи. Скребковые конвейеры сплошного волочения делят на следующие группы: конвейеры, предназначенные для перемещения материалов по горизонтальному направлению или под углом, меньшим, чем угол естественного откоса транспортируемого материала; в большинстве случаев тяговым органом в данной группе является пластинчатая цепь с широкими звеньями; конвейеры, предназначенные для перемещения материалов в вертикальном направлении; в качестве тягового органа применяют цепи с контурными лопатками или захватами Для подъема муки на хлебопекарных предприятиях применяют ковшовые элеваторы—нории. Ковшовый элеватор (рис. 3.7, б,) состоит из вертикально-замкнутого тягового элемента с жестко прикрепленными к нему ковшами. Тяговый элемент огибает верхний приводной и нижний натяжной барабаны (или звездочки). Тяговый элемент (цепь или лента) с ковшами получает движение от привода и предварительное натяжение от натяжного устройства. Мука подается в загрузочный патрубок нижней части элеватора и разгружается в патрубок верхней части элеватора. Для равномерной подачи муки в норию (в количестве, не превышающем ее пропускную способность) в нижней части элеватора размещается крыльчатый питатель, приводимый в движение от вала натяжного барабана. Для перемещения муки и других сыпучих грузов (соль, сахар) в горизонтальном и вертикальном направлениях применяют винтовые конвейеры, называемые шнеками (рис.3.7, б). Принцип действия горизонтальных винтовых конвейеров заключается в следующем. Силой трения о стенки желоба, а также под действием собственной массы транспортируемый материал удерживается от вращения и перемещается в осевом направлении. В вертикальных винтовых конвейерах, кроме того, горизонтальный шнек загрузочного устройства конвейера создает нагнетающее действие. Винтовые конвейеры имеют простую конструкцию и небольшие габариты. Уход за ними несложен, имеется возможность герметизации транспортируемых грузов. Однако в связи с большим Удельным расходом энергии их применяют для перемещения груза на небольшое расстояние (до 40, редко до 60 м). Основной деталью конвейера является винт. Спираль винта выполнена сплошной для сухих и мелкозернистых грузов (мука), в виде ленты — для кусковых мелких грузов, в виде отдельных лопастей—для слеживающихся материалов. В последнем случае в процессе транспортирования происходит также перемешивание и разминание транспортируемого материала. Вспомогательное оборудование мучных складов. К вспомогательному оборудованию мучных складов относятся поддоны, мешковыбивальные машины, пылесосы, весы и др. Перемещение мешков с мукой по складу и их штабелирование осуществляют на поддонах с помощью электропогрузчиков. Поддоны (площадки) имеют полость, в которую входят вилки электропогрузчика при подъеме н перемещении. Поддоны с мешками ставят друг на друга на высоту до 3 м. Данный способ транспортирования и штабелирования мешков наиболее прогрессивен. Мешковыбивальная машина БЦВ служит для очистки мешков от тестовой корки и мучной пыли. При этом мешок подается на столик к рабочему отверстию и при открытии заслонки воздухом аспирационной сети попадает в рабочую зону машин, после чего заслонка закрывается. В рабочей зоне мешок захватывается вращающимся диском и совершает сложное движение. Ударяясь о выступающие уголки на диске, обечайке и передней стенке, мешок выколачивается. Разрушенная тестовая корка и выколоченная мучная пыль отсасываются из камеры, а крупные фракции через отверстия обечайки падают на дно камеры, откуда их периодически извлекают через очистные отверстия. Процесс обработки мешка длится от 5 до 30 с в зависимости от сорта муки и влажности мешка. Для выброса мешка необходимо нажать педаль и повернуть заслонку рукояткой в положение «Открыто». Мешок под действием центробежной силы попадает в зону загрузочного окна и извлекается из машины вручную. При незначительной затечности в машину можно одновременно загружать несколько мешков. Пылесосы устанавливают в местах разгрузки мешков или в других местах пыления муки. Они предназначены для улавливания пыли, поднимающейся при высыпании муки. Пылесос (рис. 3.8) представляет собой каркас 1, обшитый листовой сталью. Внутри размещены камера 2 с 12 матерчатыми рукавами и камера 3 для высыпания муки и встряхивания мешков. В верхней части размещен вентилятор 4. Воздух засасывается вентилятором, проходит через фильтры, где очищается, и выходит наружу. При встряхивании фильтров (вручную) мука падает в приемную воронку, над которой устанавливают пылесос. На предприятиях хлебопекарной промышленности применяют весы различных типоразмеров. Вагонеточные, или платформенные, весы состоят из платформы, которая с помощью опорных кронштейнов опирается на призмы, укрепленные в серьгах, подвешенных на рычагах. Рычаги соединены с коромыслом весов. До взвешивания с помощью регулятора с винтовой нарезкой устанавливают в равновесии коромысло, момент которого определяют по совпадению острия подвижного указателя (на коромысле) с острием неподвижного указателя (на стойке). При взвешивании груза гирю перемещают вдоль коромысла, пока не установится равновесие, и по шкале определяют массу груза.
Рис. 3.8. Пылесос В настоящее время широко применяют настольные циферблатные весы с пределами измерений до 10 кг. Взвешиваемый груз укладывают на платформу весов, а по стрелке на циферблате определяют его массу; шкала имеет деления от 10 г до 1 кг. 3.5. Оборудование для бестарного хранения муки с применением пневмотранспортаНа предприятиях хлебопекарной промышленности широкое распространение получили установки пневматического транспорта муки, принцип действия которых основан на сообщении насыпному грузу скорости движения потоком воздуха. Устройства пневматического транспорта делят на всасывающие, нагнетающие и смешанные (всасывающе-нагнетательные). Во всасывающих пневмотранспортных установках движение потоку воздуха с грузом сообщается благодаря всасыванию воздуха вентилятором, установленным за разгрузочным устройством, и образуемой при этом разнице между атмосферным давлением и разрежением внутри устройства. В нагнетающих устройствах воздух подается под давлением в загрузочную часть системы. Поэтому перепад давления между загрузочным и разгрузочным устройствами может быть значительно большим. На больших расстояниях транспортирования нагнетательные устройства работают эффективнее. Разновидностью способа пневматического транспортирования муки является насыщение муки воздухом (аэрация) и сообщение ей вследствие этого свойств текучести. Для транспортирования муки применяют нагнетающие и смешанные устройства. На рис. 3.9 показана одна из схем установки бестарного хранения и транспортирования муки. Муку завозят в машинах — муко-возах, которые оборудованы компрессором для подачи муки в пневмотранспортную систему завода (при доставке муки в мешках ее загружают в воронку шнекового или шлюзового питателя).
Рис. 3.9. Схема
установки
бестарного
хранения муки
с 1 — приемный щиток; 2 — мучные силосы; 3 — переключатели; 4 — барабанные дозаторы; 5— сборные шнеки; 6—шнековые питатели; 7—электромагнитные сепараторы; 8—рассевы; 9—автоматические порционные весы; 10—производственные бункера; 11—циклоны-разгрузители; 12—центробежные вентиляторы; 13—загрузка муки из мешков; 14— воздух от компрессора станции. Выпускной патрубок муковоза с помощью гибкого шланга соединяется с патрубком на приемном щитке системы пневмотранспорта. На трубопроводах установлены переключатели, которыми можно направлять муку в соответствующий силос. Из силосов мука разгружается с помощью питателей, подающих муку по трубопроводу на производство или в другой силос (при перегрузке). В некоторых случаях под силосами устанавливают сборный шнек, соединяющий группу в 4—6 силосов, который соединяется с питателем пневмотранспорта. Из силосов через систему материалопроводов мука через автоматические дозирующие весы подается в производственные бункера. Аэрозольтранспортная установка для муки. Она состоит из разгрузочного рукава, приемного щитка для муки, материалопроводов с переключателями, емкости для хранения муки, фильтров, питателей, дозировщиков, аэрожелобов, компрессорных установок и контрольных приборов. Разгрузочный рукав М-113 служит для подачи муки под давлением из автомуковоза в патрубок мукопровода. Он представляет собой гибкий прорезиненный шланг диаметром 75 мм, длиной около 5 м с наконечниками. Наконечники имеют специальное рычажное устройство с крючками, с помощью которых рукав плотно соединяется с патрубками цистерны автомуковоза и приемного щитка. Приемный щиток ХШП-2 устанавливают вне завода. Он предназначен для присоединения мукопроводов, пневмопроводов и подключения электроэнергии для привода компрессора автомуковоза и осветительной переносной лампы. Приемный щиток представляет собой стальной сварной шкаф, внутри которого расположены два приемных патрубка для присоединения разгрузочных рукавов, два патрубка для присоединения гибких рукавов диаметром 38 мм для сжатого воздуха, две розетки трехфазного тока для подключения электродвигателя компрессора автомуковоза, розетки для переносной лампы. Патрубки сжатого воздуха предназначены для подачи сжатого воздуха при разгрузке автомуковоза без включения компрессора, установленного на нем. Уход за приемным щитком и разгрузочным рукавом заключается в поддержании их в чистоте и проверке исправности зажимов и прокладок, а также в защите от статического электричества. Материалопроводы предназначены для перемещения муки. Их изготавливают из стальных бесшовных труб размером 42х2, 56Х2 и 80Х5,5 мм и отводов этих же размеров с углами 30, 60 и 90°. Участки трубопроводов соединяют разъемными самоуплотняющимися муфтами ХТП, кранами и переключателями. Внутренняя поверхность материалопроводов должна быть гладкой, без заусенцев и выступов. Материалопроводы снабжают краном для сброса давления, манометром, продувочным штуцером и предохранительным клапаном. При движении муки по трубам может возникнуть статическое электричество. Для предохранения от возникновения электрического разряда и возможного взрыва материалопровод должен быть заземлен, при этом все его части должны быть изготовлены из электропроводного материала. В некоторых случаях применяют специальную электропроводную резину. Переключатели служат для направления потока муки с магистрального трубопровода в боковые отводы. Переключатели, как правило, устанавливают на фланцах. Наиболее широкое применение получили двухпозиционные переключатели М-125, М-126 и ПДЭ-75. Применяют также трехпозицнонные переключатели М-121 и М-132 и шестипозиционные М-129, М-130 и Х6П. Двухходовые переключатели М-125, и М-126 (рис. 3.10) могут работать при дистанционном и ручном переключении.
Рис. 3.10. Двухходовые переключатели М-125 и М-126: /—корпус: 2—рукоятка; 3— конечные переключатели; 4— редуктор; 5—ходовой винт; 6— электродвигатель; 7—болт; 8— пробка; 9—упоры. При дистанционном переключении поворот пробки переключателя осуществляется от электродвигателя через червячный редуктор и ходовой винт, соединенный с рукояткой. Фиксация крайних положений осуществляется конечными выключателями. Для перехода на ручное управление ходовой винт отключают от рукоятки управления. В переключателе ПДЭ-75 привод поворота осуществляется от электродвигателя через червячный редуктор и цепную передачу, а остановка — с помощью конечного выключателя с упорами. При эксплуатации переключателей особое внимание следует обращать на конечные положения поворота барабана, так как даже незначительное отклонение оси отверстия в пробке от оси мукопровода значительно увеличивает сопротивление линии, снижает производительность и может привести к засорению мукопровода. При ручном управлении аэрозольтранспортом и на пневмопроводах применяют пробковые запорные краны М-107 и М-108 с условным проходом соответственно 75 и 50 мм. Для смазки трущихся поверхностей в резьбовое отверстие со стороны ручки управления закладывают смазку, которая при завинчивании винта проникает в смазывающую полость через шариковый клапан, препятствующий вытеканию смазки. При заедании крана следует на несколько оборотов повернуть винт. Приемник для ХМП входит в комплект аэрозольтранспорта. Его монтируют на складе хлебозавода. Подъем мешков для опорожнения производят пневматическим мешкоподъемником. Мука поступает через загрузочный бункер в шлюзовый питатель, и далее сжатым воздухом направляется в мукопровод. Опорожненный мешок надевается открытым концом на горловину пневмоочистителя и очищается потоком воздуха, всасываемого вентилятором. Мучная пыль, оседающая в циклонах, периодически выпускается и собирается в мешок. При выполнении правил эксплуатации приемник муки обеспечивает разгрузку 60 мешков в час. Емкости для муки. На предприятиях хлебопекарной промышленности широкое распространение получили металлические бункера для муки (рис. 3.11). При бестарном хранении муки используют емкости от 15 до 120 т. каждая. Во избежание образования мучных сводов стенки сужающейся части емкости имеют наклон не менее 60°. Для равномерного поступления муки сделаны специальные днища и установлены побудители. Разгрузку мучных сводов осуществляют продувкой сжатым воздухом, а также с помощью вибраторов. По производственным и санитарно-гигиеническим соображениям на хлебозаводах получили распространение емкости, выполненные из листовой стали. Бункер ХБГ-2 (см. рис. 3.11, а) изготовлен из стали. Он имеет в нижней части четыре призматических желоба с откосами под углом 60° и продольным наклоном под углом 7° к горизонту. Желоба имеют плоские днища шириной 250 мм, образованные туго натянутой хлопчатобумажной транспортерной лентой. Дверцы люков в торцевой стенке предназначены для очистки, осмотра и ремонта бункера. Они застеклены органическим стеклом, на котором установлены приводимые вручную стеклоочистители. Для очистки выходящего наружу воздуха в верхней крышке бункера размещено 8 комплектов складчатых матерчатых фильтров. Под нижними пористыми днищами имеются воздушные каналы, в которые нагнетается воздух под давлением до 2,4 кПа. Для аэрации муки в 1 мин расходуется до 4 м3 воздуха на 1 м2 площади днища. Бункер ХБГ-2 изготовляют путем установки дополнительной секции высотой 0,54 м на бункер ХБГ, за счет чего емкость его достигает 40 м3, а грузоемкость 23 т. Бункер А1-ХБУ (см. рис. 3.11, б) является унифицированным для различной вместимости и предлагается как для действующих, так и для вновь строящихся заводов. Конструкция бункера аналогична конструкции бункера ХБГ. Бункер М-111 (см. рис. 3.11, в) секционный, прямоугольный с аэрируемым днищем. Он предназначен для одноэтажных мучных складов и состоит из нижней секции с устройством для аэрирования и выгрузки муки из бункера и верхних секций, установленных одна над другой. Пневмоднище, имеющее уклон 15°, покрыто керамическими пористыми плитками. При подаче под керамические плитки воздуха
Рис. 3.11. Емкость для муки: а – бункер ХБГ-2, б- бункер А1-ХБУ-64, в – бункер М-111, г – силос ХЕ-160А, д – силос ХЕ-233. (вентилятором высокого давления) образующаяся смесь муки и воздуха стекает вниз и удаляется из бункера Боковые стенки нижней части бункера установлены под углом 65—75° Бункер М-118 состоит из двух бункеров М-111 (по длине) Мука стекает по аэрожелобам (керамическим плитам, покрытым брезентом) к центру бункера Бункер М-119 имеет вместо пирамидальной секции наклонные (под углом 15° к горизонту) стенки, что обусловливает его меньшую высоту Силос ХЕ-160А (см рис 3.11, г) представляет собой емкость, состоящую из цилиндрической и конической частей Коническая часть наклонена под углом 60° Силос состоит из трех основных частей крышки, обечайки и конуса Крышка имеет люк, загрузочный патрубок и один пояс обечайки Люк предназначен для осмотра силоса. К корпусу силоса крышка крепится легко откидывающимися скобами В нижней части обечайки имеется герметически закрывающийся люк лаз, предназначенный для осмотра и ремонтных работ Конусное основание силоса состоит из цилиндрической части, опорного кольца со стойками, верхнего и нижнего конусов и пере ходной течки Для разгрузки сводообразований в верхнем конусе предусмотрены продувные трубы, идущие от коллектора Сюда импульсами подается воздух от компрессора или воздуходувки Через нижний аэрируемый конус осуществляют выгрузку муки Он состоит из наружного сплошного конуса, внутреннего дырчатого конуса и конуса из шестислойного бельтинга. Последний укладывают на внутренний конус с отверстиями Таким образом, образуется камера, в которую через патрубок подается воздух от вентилятора высокого давления. Воздух, проходя через бельтинг, аэрирует муку, обеспечивая ее выход из конуса. Силос ХЕ-233 (см рис. 3.11, д) имеет цилиндрическую форму и диаметр 5000 мм Его устанавливают на четырех опорах. Между опорами и корпусом силоса устанавливают тензометрические датчики Сверху на крышке имеются патрубок для выпуска муки, фильтр и люк, а снизу (в конической части) —устройство для аэрации и разгрузки сводов при выгрузке муки При эксплуатации бункеров для муки нельзя допускать сверхнормативную подачу муки. Перед разгрузкой емкостей следует произвести аэрирование муки в течение 15—20 мин, после чего можно начинать разгрузку. Воздух, поступая в муку через пористые днища желобов, придает ей в нижней части свойства текучести, в связи с чем мука стекает по желобам к выходу По окончании разгрузки подачу воздуха под днища прекращают Если образовался свод муки, то следует подать воздух от компрессоров в боковые панели и нижние трубы. При перемене сорта муки, а также не реже 1 раза в месяц, особенно в весенний и летний периоды года, бункера изнутри обметают и очищают. При эксплуатации бункера следует соблюдать следующие меры безопасности:
Техническая характеристика бункеров для бестарного хранения муки приведена в таблице № 3.1. Питатели применяют для подачи муки из бункеров или из мешков в материалопроводы. Питатели бывают непрерывного (шлюзовые, или роторные, и шнековые), а также периодического действия (камерные). Роторные питатели представляют собой цилиндр, по образующей которого сделаны приемные карманы для материала. Ребра этих карманов создают со стенками кожуха шлюзовые затворы. Сжатый воздух подводится в нижнюю часть корпуса. При вращении ротора мука попадает в нижнюю часть корпуса питателя и транспортируется в нужном направлении. При эксплуатации роторных питателей необходимо регулярно проверять зазоры, так как при их увеличении больше допустимых размеров (более 0,25 мм) утечка воздуха достигает 50%. Шнековый питатель состоит из шнека с уменьшающимся к концу шагом и аэрационной камеры, разделенной слоем бельтинга на 2 части. Мука, подаваемая через входной патрубок, уплотняется витками шнека и образует пробку, которая препятствует прорыву воздуха из аэрокамеры в шнек. Недостатками шнековых питателей являются перегрев шнека, большой расход электроэнергии и возможность прорыва воздуха через шнек. Камерный питатель состоит из корпуса, в нижней части которого смонтировано коническое матерчатое днище из бельтинга. Мука вводится в резервуар через приемную воронку в верхнем днище. Воронка плотно закрывается изнутри коническим клапаном. Пневматический мембранный двигатель открывает клапан приемного отверстия и одновременно открывает воздушный клапан для выпуска через фильтр воздуха из камеры. Количество загружаемой муки определяют с помощью весового рычага, к которому подвешен резервуар. После загрузки муки клапан приемного отверстия и воздушный клапан закрывают и подают сжатый воздух под бельтинговое днище. Аэрированная мука под давлением воздуха поступает в мукопровод. После опорожнения резервуара давление воздуха падает и дается сигнал на повторение цикла. Основными недостатками однокамерных питателей являются периодичность работы и большие габариты установки. Фильтры применяют в системах пневмотранспорта. Фильтры М-102, ХЕ-161 и ХЕ-162 предназначены для очистки воздуха, вытесняемого из силосов. Фильтр- разгрузитель М-104 предназначен для разделения аэросмеси муки и воздуха на составные части (пропускная способность 50—75 м3/ч). Фильтрующая поверхность у фильтров М-102 и М-104 составляет 0,33 м2, у фильтра ХЕ-161 —9, а у фильтра ХЕ-162—3,4 м2. Фильтры устанавливают над отверстием крышки силоса. При этом запыленный воздух, вытесняемый из силоса, должен направляться в рукава. Мучная пыль остается на внутренней поверхности рукавов, а очищенный воздух проходит через фильтр в помещение. В процессе встряхивания, которое производят после каждого цикла работы фильтра, но не реже чем через 30 мин работы, мучная пыль с внутренней поверхности рукавов падает обратно в силос. При эксплуатации фильтров необходимо периодически следить за удельной нагрузкой на фильтровальную ткань. Так, при удельной нагрузке 2,5—3 м3/мин воздуха на 1 м2 ткани аэродинамическое сопротивление фильтра должно быть 40—50 кг/м2. Сопротивление меньше приведенного указывает на изношенность фильтровальной ткани или неплотности в местах крепления ткани. Сопротивление больше приведенного указывает на плохую очистку или чрезмерную плотность фильтровальной ткани. Меры безопасности при эксплуатации оборудования для бестарного хранения муки. При пневматическом транспортировании муки в процессе ее перемещения по трубопроводу возникает трение между отдельными частицами муки и стенками трубопровода пневмотранспортных установок. В результате возникает опасная электризация, для уменьшения которой на предприятиях хлебопекарной промышленности осуществляют следующие мероприятия:
3.6. ОБОРУДОВАНИЕ ДЛЯ ЗАМЕСАДля замеса теста на предприятиях хлебопекарной промышленности применяют тестомесильные машины. Процесс замеса заключается в смешивании муки, воды, дрожжей, соли, сахара-песка, масла и других продуктов в однородную массу, придании этой массе необходимых физических и механических свойств и насыщении ее воздухом с целью создания благоприятных условий для брожения. Существуют два способа приготовления теста — порционный и непрерывный. При порционном тестоприготовлении применяют машины периодического действия со стационарно закрепленными или подкатными дежами. Тесто в этих машинах замешивают отдельными порциями через определенные интервалы. При непрерывном способе приготовления теста применяют тестомесильные машины непрерывного действия. В этих машинах замес теста происходит одновременно на всех стадиях и участках, по которым тесто продвигается, и выходит оно из машины непрерывным потоком. После замеса опару или тесто подвергают брожению в дежах (чанах) и тестоприготовительных агрегатах, в состав которых входит оборудование для замеса, брожения и дозировочная аппаратура. 3.6.1 Машины периодического действия со стационарно закрепленными дежами К данному типу машин относятся тестомесильные машины ТМ-63, ТММ-120, М2М-50 и ТПИ-1. Машина ТМ-63 (рис. 3.12) предназначена для замеса крутого теста. Ее применяют в производстве бараночных, мучнистых кондитерских и макаронных изделий.
Рис. 3.12. Машина ТМ-63: 1 — привод поворота корыта; 2 — привод лопастей; 3—месильное корыто; 4—станина. Машина состоит из стационарно установленного корыта, дно которого представляет собой два полуцилиндра. Замес производится двумя z-образными лопастями, вращающимися в противоположном направлении в четырех подшипниках, установленных в стенках месильного корыта. Подшипники имеют шипы, которыми они упираются в выемки литой станины. Корыто разгружается при повороте его вокруг оси передней месильной лопасти, вал которой установлен в подшипниках станины. Месильные лопасти получают движение от электродвигателя через клиноременную передачу и две пары цилиндрических косозубых шестерен. Поворот корыта производится червячным механизмом, получающим движение от электродвигателя через клиноременную передачу и пару цилиндрических шестерен. Тесто замешивается на машине следующим образом. Через патрубки в крышке корыта загружают муку, воду, дрожжи и другие компоненты, включают электродвигатель, приводящей в движение месильные лопасти. После окончания замеса включают электродвигатель поворота корыта и оно наклоняется на угол 90°. Верхний край корыта и крышка представляют собой цилиндрическую поверхность, ось которой совпадает с осью вращения корыта. При повороте крышка, установленная на стойках, остается на месте, и месильный рычаг выбрасывает тесто из корыта. В неподвижной крышке имеются патрубки для загрузки машины и откидная крышка для наблюдения за процессом замеса. Машины ТММ-120 и М2М-50 аналогичны по конструкции и предназначены для замеса теста в кондитерском производстве. Месильная машина ТПИ-1 (рис. 3.13) предназначена для интенсивного замеса, который производят в стационарной камере с полуцилиндрическим дном. Рабочий орган машины состоит из двух, имеющих отдельный привод, двуплечих крестовин, одно из плеч которых выполнено в виде цилиндрической горизонтальной лопасти. Свободные плечи крестовин соединены между собой цилиндрической штангой. Соединение произведено через систему шарниров, обеспечивающих движение соединительной штанги при различной угловой скорости крестовин. При таком движении постоянно изменяется конфигурация рабочего органа в целом.
Рис. 3.13. Месильная машина ТПИ-1 с интенсивным замесом. 1—месильные органы; 2—крышка; 3—месильная камера; 4—пульты управления; 5—электродвигатели привода месильных органов; 6 — электродвигатели привода поворота камеры. Совершая сложное движение, соединительная штанга переворачивает и уплотняет тесто и оказывает на него всестороннее деформирующее воздействие. Каждая из двуплечих крестовин приводится в движение через систему передач от трехскоростного электродвигателя. При эксплуатации машины в автоматическом режиме смена частоты вращения рабочего органа происходит по определенной программе, выбираемой в зависимости от качества сырья для замеса. Для выгрузки готового теста месильная емкость поворачивается вокруг горизонтальной оси. Поворот осуществляется от отдельного привода. Технические характеристики тестомесильных машин периодического действия со стационарной дежой приведены в таблице № 3.2. Таблица № 3.2
Тестомесильные машины периодического действия с подкатными дежами. К данному типу машин относятся машины «Стандарт», Т1-ХТ2А и ТММ-1М, предназначенные для замеса опары и теста из пшеничной и ржаной муки.
Рис. 3.14. Тестомесильная машина «Стандарт»: а—общий вид машины 1—фундаментная плита; 2—корпус машины; 3—крышка; 4— месильный рычаг; 5— дежа; 6 ч 7 — направляющие для колес; 8—запорный механизм с педалью; 9 — месильная лопасть, б—дежа машины: 1—ось направляющего колеса; 2—направляющее колесо; 3— палец крепительный; 4—ходовые колеса; 5—ось ходовых колес; 6—корпус тележки; 7 — рычажная защелка; 8 — пружина защелки; 9 — цапфа центральная; 10 — фланец чана; 11—чан; 12 - червячное колесо; 13— кронштейн направляющего колеса. Тестомесильная машина «Стандарт» (рис. 3.14). состоит из фундаментной плиты, корпуса машины с ограждающим щитком, месильного рычага с приводом и подкатной дежи. Месильный рычаг представляет собой изогнутый вал с лопастью на конце, дежа — чан вместимостью 330 л, установленный на грехколесной тележке. Для замеса дежу накатывают на плиту по направляющим до упора и закрепляют на плите. Дежи загружают до начала замеса или в течение замеса. После установки дежи опускают крышку и включают электродвигатель. Одновременно с вращением месильного рычага приводится во вращение и дежа. Чтобы придать деже вращательное движение, чан установлен на оси, представляющей собой цапфу, входящую во втулку каретки. К днищу чана прикреплено червячное колесо, находящееся в зацеплении с червяком, установленным в нижней части машины. По окончании замеса крышку поднимают, специальная фрикционная муфта выключается, и вращение дежи и месильного рычага прекращается. Достоинствами машины является простота ее конструкции. Тестомесильная машина ТММ-1М имеет аналогичную конструкцию, но меньшей мощности, и предназначена для механизации тестомесильных работ на малых хлебопекарных предприятиях и в кондитерских цехах хлебозаводов. Машина тестомесильная унифицированная Т1-ХТ2А предназначена для замеса в дежах «Стандарт» и подкатных унифицированных дежах Т1-ХТ2Д. Машина отличается от описанной тем, что дежа не имеет устройства для вращения и жестко закреплена на тележке, приводится во вращение вместе со столом, вмонтированным в фундаментную плиту. Червячный привод площадки размещен в масляной ванне, что удлиняет срок его службы. На стол фундаментной плиты накатывают дежу, в которой производится замес. При вращении месильного рычага одновременно приводится во вращение стол вместе с дежой. Технические характеристики тестомесильных машин «Стандарт», Т1-ХТ2А и ТММ-1М приведены в таблице № 3.3. Таблица № 3.3
В машинах «Стандарт», ТММ-1М и Т1-ХТ2А скорость качания месильного рычага и частота вращения дежи подобраны таким образом, что при каждом качании месильная лапа попадает в новую область объема дежи. При этом траектория движения месильного рычага с лапой близка к внутренней поверхности чана. При работе на машинах дежа накатывается вручную на фундаментную плиту машины (у машины Т1-ХТ2А дежа накатывается на стол). При этом дежа сцепляется с фундаментной плитой (столом) с помощью защелки. После опускания крышки дежи можно включить электродвигатель. После окончания замеса необходимо поднять крышку (при этом двигатель выключится) и нажатием на педаль освободить защелку и выкатить дежу. Месильный вал машин приводится в действие через фрикционную муфту, которая включается при опускании крышки дежи. Одновременно дежа начинает вращаться. Очень важно, чтобы запорный механизм работал четко, так как неправильная установка дежи приводит к преждевременному выходу из строя червячных колес, установленных на дежах. Корпус машины не менее 3 раз в смену протирают. В процессе работы внутреннюю и наружную поверхности чана нужно зачищать пластмассовым скребком. Если фрикционная муфта не выключает месильный вал при поднятом щитке, муфту следует отрегулировать. Машины непрерывного действия. На предприятиях хлебопекарной промышленности широкое применение получили машины Х-12 (Х-12Д), Х-26А и ХТП. Тестомесильная машина Х-12 (рис. 40) представляет собой корыто, изготовленное из нержавеющей стали. По его оси находится вал с восемью лопастями, установленными по винтовой линии. Вал приводится в движение от электродвигателя через редуктор и цилиндрическую передачу. Мука, вода и другие компоненты для замеса теста непрерывно поступают в корыто. В первой части данная масса тщательно перемешивается лопастями, в средней части корыта имеется перегородка. Перемешанная масса, вытесняемая по мере поступления новых порций через перегородку, дополнительно прорабатывается и пластифицируется лопастями, после чего через выпускное отверстие поступает в аппарат для брожения. В тестомесильной машине Х-12Д применен дозатор муки. Она комплектуется автоматической дозировочной станцией ВНИИХП-0-6. Месильная машина Х-26А представляет собой камеру с двумя параллельно расположенными валами, вращающимися навстречу друг другу. Машины Х-12Д и Х-26А работают следующим образом. Мука подается в трубу автоматического питателя, уровень муки в котором поддерживает электромеханический датчик уровня и дозировочный барабан. Затем мука дозируется в корпус тестомесильной машины. Одновременно с мукой подаются жидкие ингредиенты от дозировочной станции. В тестомесильной машине ХТП замес производится следующим образом. Мука с помощью дозаторов подается в приемную воронку центробежного смесителя, откуда поступает в центральную часть вращающейся центробежной крылатки. Одновременно подаются в заданной пропорции жидкие компоненты. Попадающие на месильную крылатку потоки муки и жидкости отбрасываются к периферии, где захватываются спиральными лопастями и проталкиваются под выступы месильной крылатки. Поступающая на замес смесь при своем перемешивании в рабочей емкости центробежного смесителя претерпевает сложный комплекс внешних воздействий, способствующих относительному перемещению смешиваемых частиц в тонком слое и образованию однородной гомогенной массы. Вышедшее из центробежного смесителя тесто поступает в приемную воронку пластификатора, откуда месильными органами перемещается вдоль корпуса к его выходному патрубку. На выходе из пластификатора жгут теста делится заслонкой на два потока, один из которых через выходной патрубок направляется в бункер тестоделителя, а другой поступает обратно в приемную воронку смесителя, где смешивается с тестом, поступающим из центробежного смесителя. Положение заслонки определяет степень пластификации теста.
Рис. 3.15. Тестомесильная машина Х-12: / — привод дозаторов; 2 — дозирующий пульт; 3 — месильное корыто; 4— месильный вал с лопастями; 5— привод месильной машины; 6— электронный указатель уровня муки. Наладку тестомесильной машины и системы автоматического управления следует выполнить по расходу компонентов и влажности теста. Перед запуском машины необходимо произвести смазку подшипников скольжения консистентной смазкой и проверить наличие масла в редукторах. Мембранный разделитель следует заполнить водой. Технические характеристики тестомесильных машин непрерывного действия приведены в таблице № 3.4. Таблица № 3.4
IV. Новое в технологииКонтроль влажности в хлебопекарном производствеВлажность сырья и полуфабрикатов – одни из важнейших показателей, контролируемых в процессе производства хлеба и хлебобулочных изделий. От соблюдения этого параметра зависит качество готовой продукции и выход хлеба, то есть экологические показатели работы предприятия. В течении нескольких десятков лет все хлебопекарные предприятия России использовали для высушивания навесок и полуфабрикатов при определении их влажности прибор ВНИИХП-ВЧ и ВЧМ, созданные старейшим работником Института хлебопечения К.М. Чижовой. Методика экспресс-контроля влажности сырья и полуфабрикатов с помощью этих приборов вошла во все последние издание книги «Технический контроль хлебопекарного производства» и является обязательной для использования в отрасли. Большое удобство этого метода привело к тому, что он нашел широкое распространение и в других пищевых отраслях: кондитерской, консервной, пищеконцентратной, молочной и так далее. К сожалению, серийное производство этих приборов давно прекращено и у предприятий бывают сложности с комплектацией лабораторий оборудованием для контроля влажности. В связи с этим возникла необходимость создания и начала производства подобных устройств, что и было сделано МПП «Пирс» по техническому заданию ГОсНИИХП в 1993 году. Специалисты предприятия разработали устройство ПИВИ-1, которое является модернизированным вариантом приборов К.Н. Чижовой. Устройство выполнено на современном техническом уровне с применением высокоэффективных плоских нагревательных элементов, технические характеристики которых позволяют достигать заданной температуры высушивания за 3-5 минут и поддерживать необходимый режим с точностью 20С. Окончание операции высушивания отмечается звуковым сигналом. Результаты испытаний устройства ПИВИ-1, проведенных в техническом отделе хлебопекарного производства ГОсНИИХП под руководством кандидата биологических наук И.П. Петраш, показали, что это устройство обеспечивает испарение влаги из сырья и полуфабрикатов хлебопекарного производства по действующей в отрасли методике удобно в работе и может быть использовано в лабораториях хлебозаводов, контрольно-исследовательских и других организациях: может заменить выпускавшееся ранее устройство ВНИИХП-ВЧ или ВЧХ для высушивания образцов при определении влажности сырья и полуфабрикатов. Устройство производится серийно и используется на предприятиях хлебопекарной промышленности в Москве, Санкт-Петербурге и других городах по всей России. До отправки потребителю устройство ПИВИ-1 проходит многократный контроль качества и проверяется метрологической службой предприятия. По результатам проверки в паспорте устройства вносятся данные о гарантии стабильной работы устройства. V. Охрана трудаВиды инструктажейПо действующему трудовому законодательству ни один рабочий не может быть допущен к работе на предприятие без прохождения инструктажа по технике безопасности. Проведение инструктажа по технике безопасности возлагается на администрацию предприятия. Вводный инструктаж проходят все лица поступающие на работу, а также учащиеся проходящие практику. На этом инструктаже рассказывают об основных правилах техники безопасности, санитарии, с правилами внутреннего распорядка, а также с порядком оказания помощи при несчастных случаях. Инструктаж на рабочем месте проходят лица поступающие на работу на предприятие, учащиеся на практику, работники переводимые с одной работы на другую, даже если перевод временный. Работникам разъясняют устройство оборудования, его эксплуатацию, рациональную организацию рабочего места. Работники не прошедшие этот инструктаж к работе не допускаются. Периодический (повторный) инструктаж проводится для проверки знаний по технике безопасности. Такой инструктаж проводят один раз в три месяца. Внеплановый инструктаж проводят при нарушении техники безопасности, при несчастных случаях, при установке нового оборудования. Мероприятия по предупреждению несчастных случаевВключают:
Мероприятия по предупреждению заболеваний на производствеВключают:
Мероприятия по улучшению условий трудаРациональное использование естественного и искусственного освещения. Устройство по конструкции и переоборудование душевых, гардеробных, умывальных комнат для приема пищи и других санитарно-бытовых помещений. Оборудование кабинетов, уголков, выставок по охране труда. Приобретение наглядных пособий по вопросам охраны труда. Мероприятия по предупреждению электротравматизмаВключают:
Меры пожарной безопасностиПожары возникают в результате нарушений или незнаний правил пожарной безопасности. Для предупреждения пожаров проводят инструктаж о мере пожарной безопасности. Территорию предприятия необходимо содержать в чистоте и порядке, ко всем зданиям обеспечивают свободный подход. Производственные и складские помещения после работы осматривают, отключают электрооборудование, освещение, газовое оборудование. Чердачные помещения должны быть закрыты и содержаться в чистоте. Запрещается в них хранить различные материалы. Проходы, выходы, коридоры, лестницы, тамбуры содержать в чистоте, не загромождая тарой. Производственные и складские помещения обеспечиваются первичными и вторичными средствами пожаротушения. Дымоходы огневого и газового оборудования регулярно очищают от сажи. Неисправности в электроустановках вызывающие короткое замыкание, нагревание проводов или искрение, немедленно устраняют. Установку нового электрооборудования, электрических и электроосветительных приборов производят с учетом допустимых нагрузок на электросеть. Монтаж оборудования и электроремонт электросетей осуществляют электрики. В производственных помещениях предусматривают не менее двух выходов, при этом двери у них должны открываться в сторону выхода. На предприятиях основными причинами пожара могут быть:
Правила эксплуатации и меры безопасности при работе на агрегатахВключают:
Правила обслуживания тестомесильных машин с подкатными дежамиПеред началом работы, рабочие должны пройти инструктаж по правилам обслуживания т/м машин. Проверить техническую исправность машины, заземление, ограждение вращающих частей, санитарное состояние машины. Загружаем в дежу жидкие компоненты. Дежа накатывается на фундаментальную плиту до упора. Проверяем надежность закрепления дежи. Нажимаем кнопку «Вниз», дежа закрывается крышкой. Через отверстие в крышке производят загрузку дежи мукой. Нажатием кнопки «Пуск» включается электродвигатель (автоматически) привода месильного органа, который совершает планомерное движение, производят замес. По истечении заданным временем электродвигатель автоматически отключается, открывается крышка дежи, месильный рычаг выходит из дежи. Рычаг и края дежи зачищают скребком, смазывают растительным маслом и откатывают дежу на брожение. Общие правила по эксплуатации тестоделительных машинДля безаварийной работы тестоделителя необходимо:
Запрещается:
VI. ЭкономикаНалоги и основы налоговых отношенийКаждому государству для выполнения своих функций необходимы фонды денежных средств. Источником этих финансовых ресурсов могут быть только средства, которые правительство собирает со своих «подданных» в виде физических и юридических лиц. Эти обязательные сборы взимаются на основе государственного законодательства и есть налоги. Маркс определил налоги как взносы граждан, необходимые для содержания публичной власти. В докапиталистических вариациях в условии государства натурального хозяйства, налоги имели форму натуральных сборов (продовольствие, фураж, снаряжение для армии и т.д.) и личных повинностей (участие в походах и т.д.). С развитием товарного производства и товарно-денежных отношений в доходах государства повышается роль денежных налогов, подушных и подельных, появился промысловый налог и акцизы. Денежные отношения целиком вытесняют натуральные, складываются и возникают налоговые системы. В древнерусском государстве (9-12 вв.) основным источником доходов государственной казны была дань с населения. Средства казны расходовались на содержание княжеского двора, органов управления, княжеской дружины, оборону страны. В 13-14 вв. дани широкое распространение получили. Они взимались на границах земель отдельных феодалов и при проездах через заставы и мосты. Источником доходов служили так же пошлины: судебные, торговые, с соленых варниц, серебренного шитья и др. При монголо-татарском иге (1243-1480 гг.) население уплачивало еще дань в пользу Золотой Орды. Когда сложилось Русское централизованное государство (14-16 вв.), дань становится прямой податью в казну великого Московского князя, и за единицу податного обложения принимается соха, которая служила условной мерой обрабатываемой земли. В XVI веке контроль за государственными доходами осуществляли финансовые приказы. Большое значение для развития финансовых отношений имела унификация денежной системы, в 1535 г., в результате которой, рубль стал единой счетной единицей. Со второй половины 16 века многие налоги и повинности стали взиматься в денежной форме. В этот период существовали следующие налоги: пищальня – деньги предназначались для производства огнестрельного оружия, жемчужные – для изготовления пороха, полоняничные – на выкуп русских из плена и т.д. Подворный налог – эта форма прямого обложения, объектом которого был двор. Этот налог был введен указом. В 1704 году подворное обложение было заменено подушной податью, которая взималась со всего мужского населения, включая стариков и детей. Подать – простейшая форма прямого налога, который взимался в равных суммах независимо от размеров дохода или имущества. Дефицит бюджета за 2-ую половину XVIII века составил 200 млн. рублей. Но огромный рост военных расходов и покрытие дефицита бюджета за счет ассигнаций и займов привели к инфляции. Была проведена денежная реформа. Но она не смогла упорядочить денежные обращения. В 1862 году винные откупа были заменены акцизом. В 1895-97 г. была проведена денежная реформа, в результате которой был установлен золотой стандарт. При подготовке к реформе были увеличены косвенные налоги на предметы массового потребления. Это позволило значительно сократить дефицит бюджета. Изменен промысловый налог. Промысловый налог устанавливался в твердых ставках (в рублях) в зависимости от разряда предприятия и класса местности. Прогрессивными ставками (налог на прибыль) и пропорциональными ставками. После Октябрьской революции налоговая система была перестроена таким образом, чтобы лишить имущие классы собственности. Для обеспечения бюджетных доходов наряду с прямыми налогами проведена коренная перестройка налоговой системы. Основными плательщиками налогов становятся предприятия, у которых изымались все прибыли в централизованные фонды. После революции старая система финансовых учреждений была заменена Министерством финансов, которому подчинялась система местных органов. Таким образом, налог выражает обязанности всех юридических и физических лиц участвовать в формировании государственных финансовых ресурсов. Поэтому налоги выступают важнейшим звеном финансовой политики государства. За счет налогов формируется основная часть доходов бюджета. Кроме того, налоги являются фактором перераспределения национального дохода, налоги призваны гасить возникающие «сбои» в системе распределения и стимулировать (или сдерживать) людей в развитии той или иной формы деятельности. Налоги как экономическая категория выражает отношение между государством (в лице органов власти) и налогоплательщиками (в лице субъектов хозяйствования и физических лиц). Сколько веков существует государство столько же существуют и налоги и столько же экономическая теория ищет принципы оптимального налогообложения. Налоговые отношения – это процесс принудительного обчуждения, который имеет одностороннее движемостоимости (от налогоплательщика к государству) без эквивалентного обмена. Источником налогов выступает новая стоимость – национальный доход, который включает стоимость необходимого продукта (заработанная плата), стоимость прибавочного продукта или прибавочную стоимость (прибыль, рента, проценты). Налоги как часть новой стоимости принудительно либерализируются государством. Изъятие государством в свою пользу определенной части валового внутреннего продукта в виде обязательного взноса и составляет сущность налога. Налоги кроме общественного содержания, имеют материальную основу. Они часть денежных доходов общества. Увеличение налоговых доходов влечет за собой все большее обобществление национального дохода. Налоги имеют двойственный характер: выступают специфической формой производственных отношений и является частью национального дохода в денежной форме. Из всей совокупности финансовых отношений налоги, как финансовая категория, выделяется своими отличительными признаками, собственной формой движения. Функция налога – это проявление его сущности в действии, способ выражения его свойства. Основная функция налогов – фискальная (бюджетная) с ее помощью образуется фонды денежных средств государства и тем самым создаются материальные условия его функционирования. Выполняя распределительную функцию налоги частично обслуживают воспроизводственный процесс, обеспечивают общегосударственные потребности и формируют ресурсы для сферы на всех уровнях власти. Контрольная функция обеспечивает возможность количественного отражения налоговых поступлений и их сопоставлений с потребностями государства в финансовых ресурсах. Контрольная функция помогает оценивать эффективность налоговых поступлений, определять необходимость своевременного предпринимательства, решения социальных проблем. VII. Использованная литература
VIII. Моя преддипломная практика |
||||||||||||||||||||||||||||||||||||||||||||||||||||||||||||||||||||||||||||||||||||||||||||||||||||||||||||||||||||||||||||||||||||||||||||||||||||||||||||||||||||||||||||||||||||||||||||||||||||||||||||||||||||||||||||||||||||||||||||||||||||||||||||||||||||||||||||||||||||||||||||||||||||||||||||||||||||||||||||||||||||||||||||||||||||||||||||||||||||||||||||||||||||||||||||||||||||||||||||||||||||||||||||||||||||||||||||||||||||||||||||||||||||||||||||||||||||||||||


Рис.
3.3. Отдельно стоящий
склад муки:









