Реферат: Кабинетная система в условиях разноуровневого обучения
|
Название: Кабинетная система в условиях разноуровневого обучения Раздел: Рефераты по педагогике Тип: реферат | ||||||||||||||||||||||||||||||||||||||||||||||||||||||||||||||||||||||||||||||||||||||||||||||||||||||||||||||||||||||||||||||||||||||||||||||||||||||||||||||||||||||||||||||||||||||||||||||||||||||||||||||||||||||||||||||||||||||||||||||||||
ВВЕДЕНИЕПроблема оформления, оснащения и оборудования школьного кабинета физики всегда остается в поле зрения методистов и учителей. Несмотря на то, что в недалеком прошлом изданы методические рекомендации министерства просвещения, в которых представлены и строительные норы типового кабинета физики, и вопросы оснащения кабинетов мебелью, и вопросы оснащения кабинетов физики необходимым оборудованием и даже предлагается примерная планировка кабинета физики, время вносит свои коррективы. Вот и в настоящее время проблема внедрения новых педагогических технологий сталкивается с необходимостью некоторой корректировки взглядов на вопрос об оборудовании и оснащении кабинета физики.С такой необходимостью сталкивается и проблема организации углубленного изучения физики на основе внутренней дифференциации. Суть этой проблемы состоит в том, что в условиях интенсификации процесса обучения кабинет физики в сегодняшнем его состоянии не удовлетворяет необходимым требованиям. В условиях сельской школы с малой наполняемостью классов необходимо создание нового типа кабинета физики, помогающего решить те задачи, которые ставятся в процессе реализации идеи разноуровневого обученияТаким образом, объект исследования – кабинетная система обучения в России.Предмет исследования – кабинет физики сельской школы в условиях разноуровневого обучения..В дипломной работе рассматривается история становления кабинетной системы обучения в России с момента создания первого физического кабинета (60-70 годы восемнадцатого века) до настоящего времени, освещена эволюция взглядов методистов и учителей-новаторов на особенности оснащения, оборудования и оформления кабинета физики. При этом рассмотрены особенности оборудования кабинета физики сельской школы, вопросы оснащения рабочего места учителя физики и рабочего места ученика.Особое внимание в работе уделено следующим вопросам:оборудование рабочего места учителя и ученика в кабинете физики сельской школы в условиях углубленного изучения физики на основе внутренней дифференциации;разработка «микролабораторий» по отдельным темам курса физики 9 класса;разработка спецкурса «Оборудование школьного физического кабинета» для студентов педагогического вуза.Вопрос об оборудовании рабочего места учителя и ученика рассматривался на основании того, что кабинет физики должен помочь учителю физики в организации разноуровневого обучения. При этом учитывался тот факт, что до того момента, когда на столе учителя и ученика на уроках физики долго еще не будет стоять компьютера, но имеющиеся в настоящее время в большинстве сельских школ технические средства обучения должны вносить свою лепту в решение вышеназванной проблемы.ГЛАВА 1. СОВРЕМЕННЫЕ ПРЕДСТАВЛЕНИЯ ОБ ОБОРУДОВАНИИ И ОСНАЩЕНИИ КАБИНЕТА ФИЗИКИ СРЕДНЕЙ ШКОЛЫ.
Нет необходимости подробно расписывать достоинства кабинетной системы обучения. Достаточно просто перечислить основные из них: сама атмосфера кабинета, его внешний вид, оформление уже подготавливают учащихся к восприятию материала; наличие в кабинете необходимого демонстрационного и лабораторного оборудования, наглядных пособий позволяют учителю более качественно и эффектино подготавливать и проводить урок. Однако система образования в нашей стране прошла сложный период развития, прежде чем была разработана и создана данная система. Кабинетная система обучения в нашей стране прошла длительный путь становления от создания кабинетов для преподавания отдельных предметов до создания в каждой школе кабинетов по основным школьным предметам. Создание кабинетной системы во многом определило успехи отечественного образования. Какой же путь прошло становление этой системы и кто стоял у истоков ее создания? Рассмотрим это на примере кабинета физики. Первый кабинет физики в России был создан XVIII веке. Именно 60—70-х гг. этого века в России все острее стало чувствоваться отсутствие подготовленных специалистов. Было ясно, что для решения проблемы подготовки квалифицированных кадров недостаточно имевшихся учебных заведений закрытого типа, нужна широкая сеть государственных школ. В 1881 году была создана Комиссия народных училищ, перед которой были поставлены конкретные задачи: выработать план по организации народных училищ в России; подготовить учителей; составить и напечатать учебные пособия; открыть народные училища в стране, и, прежде всего, в Петербурге. 21 сентября 1782 г. Комиссия представила «План к установлению народных училищ в Российской империи», согласно которому предполагалось создать в стране сеть малых, средних и главных народных училищ. Нужны были подготовленные учительские кадры, и было решено «открыть в Петербурге Учительскую семинарию, чтобы иметь всегда нарочитое число учителей в готовности, в коих совершенный недостаток» Она была торжественно открыта 13 декабря 1783 г. К преподаванию в Учительской семинарии были привлечены многие талантливые русские ученые, в том числе В. Ф. Зуев (впоследствии академик), А. М. Теряев (в будущем профессор минералогии и ботаники Педагогического института в Петербурге), И. Ф. Яковкин (в дальнейшем профессор истории, ректор Казанского университета), Т. Ф. Осиповский и Г. П. Успенский (профессора Харьковского университета). Одним из первых среди них был Михаил Евсеевич Головин. В протоколах заседаний Комиссии говорилось: «...для преподавания арифметики, геометрии, механики и физики назначила Комиссия... оказавшего к тому желание свое Академии наук адъюнкта Михаиле Головина с жалованием 600 руб. в год, квартирою, дровами и свечами» . М 'Компас латунный, вмонтированный в коробку с крючками для подвеса ихаил Евсеевич Головин — родной племянник М. В. Ломоносова (сын его младшей сестры Марии Васильевны), родился в 1756 г. в Матигорах Архангельской губернии. В 1765 г. Ломоносов взял племянника в Петербург, и тот стал учиться сначала в Академической гимназии, а затем в университете, где изучая математику под руководством знаменитого Леонарда Эйлера, став позже одним из его ближайших помощников (перевел
Рис.1
Рис. 2 на русский язык работу «Полное умозрение строения и вождения кораблей, сочиненное в пользу учащихся навигации Леонардом Эйлером». В 1776 г. М. Е. Головин получил звание адъюнкта Академии наук по кафедре экспериментальной физики, однако вскоре оставил Академию и посвятил себя педагогической деятельности. Он стал преподавать физику в Учительской семинарии, а также в Воспитательном обществе благородных девиц (Смольный институт) и Пажеском корпусе. В 80-е гг. он активно переводил и составлял учебники для народных училищ, которые позже неоднократно переиздавались, и в течение 30—40 лет были основными пособиями по физико-математическим дисциплинам в русской школе. Вслед за М.В.Ломоносовым М.Е.Головин уделял значительное внимание творческому развитию новейших дидактических идей XVIII в.: связи науки с жизнью, сознательному усвоению материала, самостоятельной работе учащихся, доступности преподавания и т.д. В предисловии к своему «Краткому руководству к физике» он писал: «Учитель должен наипаче стараться, чтобы сию науку сделать для учащихся приятнее, он должен делать все то, что служит к лучшему и легчайшему преподаваемых предметов уразумению». М. Е. Головин был сторонником наглядного обучения. Его учебники содержали большое число таблиц, схем, рисунков. Хорошо понимая, что «потребно читанное объяснить и утверждать опытами...», М. Е. Головин развил бурную деятельность по созданию первого в России физического школьного кабинета и предложил организовать такие кабинеты при всех училищах. Впервые с этой мыслью он выступил на заседании Комиссии 19 января 1784 г., представив список «орудий необходимо нужных при преподавании наставления в геометрии, механике, физике». В результате было решено создать при Учительской семинарии классы математический и физический, а для них «заготовление инструментов и машин... возложить на попечение Головина». Необходимое оборудование для создаваемого физического кабинета закупалось у частных лиц, заказывалось за границей, изготавливалось на месте. Так, 28 октября 1785 г. лейб-медик К. ф. Крузе сообщил, что «продается весьма изрядная електрическая машина... которая могла бы служить с пользой». После осмотра ее М. Е. Головиным она была куплена за 250 руб. В июне 1788 г. были выписаны из Вены для преподавания правил гражданской архитектуры и механики необходимые чертежи, модели и машины, а 26 февраля 1789 г. по этому заказу было получено 20 ящиков, в которых находились «геометрические и архитектурные тела и разные поделки механических машин». В том же году кабинет пополнился подзорной трубой, компасом, «математическим инструментом» и магнитом. Фотографии некоторых приборов из всего перечня оборудования первого кабинета представлены в этом параграфе. Несмотря на то что, к концу XXIII в. Комиссия народных училищ заметно уменьшила свою деятельность, поскольку считалось, что 8 основном стоявшие перед ней задачи выполнены, она продолжала постоянно заботиться о наглядных пособиях по физике. 8 июля 1901 г. она разрешила П. И. Гиляровскому заказать «двум машинистам» новую электрическую машину и водяную ванну для добывания газов и для производства опытов с ними. (Заметим, что заказ был сделан в России. В этом нет ничего удивительного, ведь уже в 1773 г. электрическая машина была сконструирована и построена И. П. Кулибиным в мастерских Петербургской Академии наук.) 20 мая 1903 г. Учительскую семинарию преобразовали в Учительскую гимназию. В связи с этим была составлена «опись математическим и физическим инструментам». По ней можно судить о том, что в физическом кабинете этого учебного заведения наряду с широко распространенными в то время» физическими приборами (астролябиями, барометрами, термометрами, микроскопами, магнитами, камерой обскурой, зрительной трубой, лейденскими банками и т.д.) было и уникальное оборудование (пирометр, электрометры и др.). В физическом кабинете имелись также сосуд для сжатия воздуха, прибор для доказательства «незагораемости тел в безвоздушном месте», жестяной «сосудец для добывания горючего газа», шесть баночек «для собирания газов», две баночки с хрустальными воронками «для добывания газов через кислоты». Такое оборудование свидетельствует о том, что М. Е. Головин был сторонником теории кислородного горения. Это говорит также о том, что на приборах, имеющихся в этом кабинете физики могли быть поставлены многие фундаментальные эксперименты. Не каждый из современных кабинетов физики имеет такую возможность. Таким образом, можно сказать, что физический кабинет Учительской семинарии, созданный М. Е. Головиным и его учениками, был оборудован всеми самыми необходимыми и новейшими по тому времени приборами. Подобный кабинет с чисто педагогическими целями в учебном заведении среднего звена был создан в России впервые, физический кабинет Учительской семинарии — это интереснейшая страница в истории развития физики и физического образования в России XVIII в. В дальнейшем глубокие социальные потрясения, происходившие в Росси с начала XX века практически до его середины не могли не сказаться на реализацию идеи создания сети физических кабинетов в школах, как об этом говорилось в решениях Комиссии народных училищ. Только в 50-х годах нашего столетия стали возрождаться идеи прошлого. Это сначала были одиночные изыскания учителей-новаторов, стоявших на позициях кабинетной системы обучения, затем идея становления кабинетной системы обучения в стране стала государственной политикой. Можно сказать, что 80-е годы XX века были золотыми в развитии кабинетной системы обучения. Именно в эти годы Министерством просвещения, Министерством здравоохранения нашей страны были выработаны и приняты ряд постановлений и методических рекомендаций разного плана, основной целью которых было создание предпосылок для внедрения в практику образования типовых учебных кабинетов физики. Среди них: «Строительные нормы и правила. Общеобразовательные школы и школы-интернаты», «Типовые перечни учебно-наглядных пособий и учебного оборудования для общеобразовательных школ», «Об использовании школьной мебели» и др. Например, согласно строительным нормам типовой кабинет физики в школах с 8—20 классами состоит из двух помещений: класса-лаборатории площадью 66 м2 и лаборантской 16 м2 . В школах на 30—40 классов в состав кабинета физики входят два класса-лаборатории площадью по 66 м2 разделенные лаборантской 32 м2. В школах на 50 классов общая площадь кабинета утраивается. Можно сказать, что при таких норма были все предпосылки для успешного решения задач обучения и развития учащихся. Более подробно о планировке типового кабинета физики будет сказано далее. Следует отметить тот факт, что именно в эти годы началось планомерное оснащение кабинетов физики необходимым оборудованием для проведения фронтальных лабораторных работ, демонстрационных опытов, физического практикума; необходимыми наглядными пособиями. Приведенный ниже перечень такого оборудования в разделе Приборы и принадлежности общего назначения показывает, насколько глобальным был проект. I. Приборы и принадлежности общего назначения 1. Скамья оптическая (или аппарат ФОС-115). 2. Выпрямитель переменного тока (30 В, 10 А). 3. Выпрямитель ВУП-2. 4. Вакуум-насос Комовского. 5. Вакуум-насос с электроприводом. 6. Громкоговоритель электродинамический, 7. Комплект электроснабжения КЭФ. 8. Комплект проводов соединительных, 9. Лазер газовый учебный с принадлежностями. 10. Машина электрофорная. 11. Осветитель для теневого проецирования. 12. Преобразователь тока "Разряд-1" (или катушка Румкорфа). 13. Прибор для получения газов (полуавтоматический). 14.Источник питания с регулируемым постоянным напряжением (НОВ, 2 А). 15. Машина центробежная с принадлежностями. 16. Тарелка к вакуум-насосу. 17. Осциллограф электронный с коммутатором. 18. Счетчик-секундомер цифровой с датчиками. 19. Усилители низкой частоты (УНЧ-5). 20. Столики подъемные. 21. Экран настольный. 22. Штатив универсальный. 23. Набор из четырех гирь-грузов. 24. Трансформатор универсальный. 25. Ящики-подставки. 26. Микрофон электродинамический. 27. Электродвигатель универсальный с принадлежностями. II. Приборы демонстрационные 1.Измерительные приборы и Принадлежности 1. Амперметр с гальванометром демонстрационный. 2. Вольтметр с гальванометром демонстрационный. 3. Весы настольные с открытым механизмом. 4. Весы технические демонстрационные. 5. Весы неравноплечие с принадлежностями. 6. Динамометры. 7. Манометр жидкостной. 8. Мановакуумметр. 9. Микроманометр с трубкой Пито. 10. Наборы тел равного объема и равной массы. II. Ваттметр демонстрационный. 12.Счетчик электрической энергии. 13.Генератор звуковой частоты. 14.Гигрометр Ламбрехта. 15.Гигрометр волосяной. 16.Психрометр Августа. 17.Грузы наборные на 1 и 2 кг. 18.Термометр демонстрационный жидкостный 19. Термометр электрический 20. Линейка масштабная демонстрационная 21. Измеритель малых перемещений 22. Целиндр измерительных 23. Стробоскоп электронный 24. Часы песочные 25. Гальванометр зеркальный М 1032 В приложении указан весь перечень оборудования, при этом в него включены и последние разработки и приборы, неуказанные в прежнем перечне. Большое внимание обращалось и обращается наличию средств наглядности в кабинете. В том же перечне подробно указывается название всех таблиц, диафильмов, кинофильмов и диапозитивов. Например, в современном кабинете физики должны быть в наличие такие средства наглядности: IV. Печатные пособия 1. Портреты выдающихся физиков. 2. Таблица "Международная система единиц". 3. Таблица "Шкала электромагнитных волн". 4. Таблица "Периодическая система химических элементов Д.И.Менделеева". Серия таблиц: "Механика", "Молекулярная физика", "Электродинамика", "Колебания и волны", "Оптика", "Атомная физика". V. Экранные пособия Диапозитивы 1. Взаимодействие тел. 2. Давление твердых тел, жидкостей и газов. 3. Законы сохранения. 4. Механические колебания и волны. 5. Основы динамики. 6. Основы кинематики. 7. Первоначальные сведения о строении вещества. 8. Работа и мощность. Энергия. 9. Световые явления. 10. Тепловые явления. 11. Электрические явления. 12. Электромагнитные явления. Следует сказать, что практически все из перечисленных выше приборов (и даже более того, все приборы из полного перечня оборудования по всем темам и разделам школьного курса физики) и наглядных пособий в свое время поступили в каждую школу городов и районов. Именно на эти приборы, полученные школами Росси в 70-80 годы нашего века, и приходится опираться в своей работе каждому учителю, так как отсутствие в настоящее время должного финансирования приводит к тому, что в школу уже ничего нового (да и старого) не поступает. Поэтому сейчас опять наступило время, когда совершенствование кабинета физики ложится на самого учителя и ждать большой помощи от государства ему ждать не приходится. Все это осложняется тем, что современные технологии обучения требуют нового подхода к планированию и оснащению кабинета физики. В рамках данной дипломной работы мы рассмотрим проблему оборудования кабинета физики в условиях разноуровневого обучения. Для этого вначале рассмотрим, какая ситуация сложилась в представлениях о кабинете физики к настоящему времени и какие предпосылки проведения некоторых изменений в сложившейся системе. 2. Особенности оснащения рабочего места учителя в современном кабинете физики Прежде чем говорить об особенностях рабочего места учителя в кабинете физики, рассмотрим основные вопросы, касающиеся оснащение кабинетов мебелью, планировки кабинетов физики. Оснащение кабинетов мебелью производится в соответствии с методическими рекомендациями «Об использовании школьной мебели», утвержденными Минпросом СССР и Минздравом СССР № 2177—80. Планировка кабинета физики согласно этим рекомендациям с одним классом-лабораторией показана на рисунке 3. В классе-лаборатории устанавливают 20 двухместных ученических столов со стульями. Столы размещают в три ряда: в крайних—по 7, а в среднем—6 столов. В конце среднего ряда предполагалось расположить передвижной шкаф-подставку 1 для проекционной аппаратуры. У задней стенки класса-лаборатории ставят пять одинаковых шкафов. Рис. 3. Примерная планировка кабинета физики с одним классом-лабораторией
В одном из них хранится учебное оборудование по астрономии, в двух—оборудование для фронтальных лабораторных занятий, а в осталь ных—оборудование для лабораторных работ физического практикума. Над шкафами на стене можно повесить таблицу «Шкала В одном из них хранится учебное оборудование по астрономии, в двух—оборудование для фронтальных лабораторных занятий, а в остальных—оборудование для лабораторных работ физического практикума. Над шкафами на стене можно повесить таблицу «Шкала электромагнитных волн». Переднюю часть класса занимает подиум размером приблизительно 1,7х3,8 м и высотой 15—20 см, на котором сосредоточено рабочее место учителя. На подиуме симметрично продольной оси класса устанавливают демонстрационный стол 1, С одной стороны стола на специальной тумбе 3 закрепляют раковину со сливом и водопроводным краном, а с другой—ставят стол учителя 4. Стол несколько выдвигают вперед и устанавливают под некоторым углом к демонстрационному столу. При таком расположении стола обзор класса и классной доски для учителя—наилучший. На рабочем столе учителя может быть оборудован пульт управления освещением, затемнением и проекционной аппаратурой. На переднюю стенку класса подвешивают классную доску, а над ней—проекционный экран, угол наклона которого можно менять примерно от 45 до 90° относительно потолка. По обе стороны от экрана над доской закрепляют звуковые колонки или динамики для киноаппарата. Под доской можно хранить таблицы и панель с чертежными инструментами. На стене за рабочим столом учителя закрепляют специальный пульт 5. На нем смонтированы выключатели с автоматическими предохранителями, для подачи электропитания к демонстрационному столу и лабораторным столам учащихся. На стене с оконными проемами монтируют механизм затемнения и подвешивают шторы. На противоположной стене размещают стенды с различными сменными материалами, панель с метеорологическими приборами и таблицу «Международная система единиц—СИ». Каковы же особенности размещения мебели в кабинете? 1. Демонстрационный стол устанавливают на подиуме высотой 0.1—0,2 м на расстоянии не менее 1 м от классной доски. 2. Расстояние между передним краем подиума и первыми ученическими столами должно быть не менее 0,8 м. 3. Между рядами столов и стенами класса-лаборатории соблюдают подаются следующие расстояния: в учебных помещениях обычной прямоугольной конфигурации от наружной стены до первого ряда столов —не менее 0,5м; от внутренней стены до третьего ряда столов — не менее 0,5 м; от задней стены (шкафов) до столов—не менее 0,65 м; от классной доски до первых столов—не менее 2,5 м; между рядами двухместных столов—не менее 0,6 м; — в учебных помещениях квадратной и поперечной конфигурации при расстановке мебели в четыре ряда расстояния между рядами столов, стенами помещения сохраняются; расстояние от классной доски до первых столов должно быть не менее 2,5 м, что при длине доски 3 м обеспечивает для школьников, сидящих за первыми столами в первом и четвертом рядах, «угол рассмотрения» не меньший 30°. 4. Рабочие места за первыми и вторыми столами в любом ряду кабинета отводятся школьникам со значительным снижением остроты слуха (разговорная речь воспринимается от 2 до 4 м). Школьникам с пониженной остротой зрения отводятся рабочие места в ряду у окна за первыми столами, где освещенность создается естественным светом. При хорошей коррекции зрения очками школьники могут сидеть в любом ряду.
Но использование демонстрационного эксперимента, в свою очередь. требует создания специальных условий: а) для вычленения изучаемых явлений из окружающей природы: б) для наблюдения учащимися явлений и закономерностей; в) труда учителя по подготовке и постановке физических опытов. Достаточно вспомнить, что масса ротационного вакуум-насоса составляет 25 кг, вакуум-насоса Комовского— 14,5 кг, школьного регулятора напряжения — 12 кг и т. д. Только перемещение этих приборов из подсобного помещения на демонстрационный стол требует значительных усилий. И хотя масса большинства других приборов не столь велика, тем не менее есть повод задуматься над возможными путями облегчения труда учителя физики. Но в методической литературе вопросам оборудования рабочего места учителя в кабинете
Рис. 5 физики уделено мало внимания. Не повторяя описаний хорошо зарекомендовавших себя элементов оборудования школьного физического кабинета, мы остановимся лишь на том новом, что мало нашло отражения в литературеВажная часть оборудования рабочего места учителя – пульт управления техническими средствами обучения. Рассмотренные мнения по этому вопросу позволили определить такие основные моменты: 1. Пульт управления техническими средствами обучения должен быть выполнен в виде отдельного блока, который так же, как и блок электроснабжения, размещен в нише демонстрационного стола. Поворачиваясь на шарнире, пульт выдвигается из демонстрационного стола в рабочее положение так, что оказывается в наиболее удобной для учителя части его рабочего места. Так же как и блок электроснабжения, пульт управления техническими средствами в нерабочее время может быть заперт на ключ. 2. Напряжение питания подается на все технические средства, управляемые с пульта, через отдельный выключатель, расположенный на щите в подсобном помещении физического кабинета. 3. На пульт управления выведено включение диапроектора для демонстрации слайдов и диапозитивов, проектора для демонстрации диафильмов (ЛЭТИ), магнитофона, кинопроекционного аппарата, телевизоров, видеомагнитофона, управление освещением кабинета и включение подсвета демонстрационного стола. 4. Некоторые из разработчиков предлагают установить
Рис. 6 на пульте управления ТСО электронные часы минутного отсчета времени. Наличие подобных часов позволяет рационально спланировать время урока и выдержать намеченный график. Часы могут включаться для отсчета минут или по общему сигналу начала урока (звонку), или отдельной кнопкой начала отсчета. Та же кнопка сбрасывает показания часов. Индикатор часов цифровой. Непосредственно в помещении аудиторной части кабинета физики размещены лишь телевизоры и кодоскоп (в нише демонстрационного стола). Все остальные аппараты размещены в подсобном помещении, и управление ими осуществляется дистанционно. С этой целью для оснащения кабинета выбраны аппараты, имеющие дистанционное управление. Кнопки устройств дистанционного управления вынесены на общий пульт и расположены рядом с включателем соответствующего устройства. Связь пульта5. Управление аппаратами в подсобном помещении осуществляется по многожильному кабелю, проложенному под полом. Таким образом, вся дорогостоящая аппаратура (видеомагнитофон, магнитофон, проекционная аппаратура, компьютер и т.д.) надежно защищена от неосторожного обращения. 6. Телевизор должен быть размещен так, что с любого ученического места обеспечивается наилучшее восприятие изображения с экрана. Кабинет в идеале должен быть оснащен телевизорами цветного изображения с размером экрана 61 см по диагонали. Важно отметить, что телевизоры используются не только как телевизионные приемники для приема телевизионных программ с, общей антенны, но и как мониторы для работы с видеомагнитофоном и передающей телевизионной камерой (гнездо для включения камеры размещено на панели «Воздух» в ее нижней части) и как дисплеи персонального компьютера (гнездо для включения пульта компьютера размещено в нижней части панели «Воздух»). 6. Согласно условиям эксплуатации кодоскоп должен находиться в непосредственной близости от рабочего места учителя, но в то же время этот проекционный аппарат должен быть надежно защищен от неосторожного обращения во время хранения. Удовлетворяет этим требованиям следующее решение. Кодоскоп хранится в нише демонстрационного стола, закрываемой дверцей на ключ. Ниша расположена в торце стола с левой стороны от учителя. Кодоскоп прикреплен на шарнирах к дверце так, что открытая дверца ниши одновременно служит опорой кодоскопа в рабочем состоянии. При таком размещении кодоскоп оказывается слишком близко от экрана. Для того чтобы получить достаточно крупное изображение, на объектив кодоскопа крепится насадка, предложенная Н. Л. Бронниковым и А. Н. Миллером (см.: Физика в школе.— 1980.—№ 1.—С. 56). Корпус насадки вытачивается на токарном станке из любого материала (металл, пластмасса, сухое дерево) по размерам, указанным на рисунке. В насадке используется двояковыпуклая линза с фокусным расстоянием 403 мм из школьного набора линз и зеркал. Стойка объективодержателя укорачивается на 120 мм. Насадка позволяет получать достаточно крупное изображение « на экране с позитивов размером 13Х 18 см. Например, на полиэтиленовой пленке можно печатать текст на пишущей машинке. При расстоянии 2—2,5 м от кодоскопа, закрепленного на дверце, до экрана изображение получается настолько крупным, что читается с расстояния 9—10 м. При подготовке к хранению кодоскоп опрокидывается на шарнирах и повисает на внутренней поверхности дверцы. При повороте дверцы кодоскоп оказывается в нише стола. Дверца запирается на ключ. Некоторые учителя и методисты предлагают изготовить вспомогательное оснащение демонстрационного стола. Чаще всего говорится о таких дополнениях: 1. В полости демонстрационного стола оставлена открытая (со стороны учителя) резервная ниша шириной 400 мм для временного размещения подготовленных к уроку отдельных приспособлений (например, настольных черно-белых экранов фона). В этой же нише имеется гнездо для постоянного хранения стержней универсальных 21 физических штативов. На рисунке хорошо видно это гнездо со стержнями. 2. Выдвижной ящик предназначен для хранения деталей универсального физического штатива, выключателей и другого лабораторно-вспомогательного оборудования.
Рис. 7 3. Из торца демонстрационного стола может быть выдвинут стол учителя. Выдвижной стол учителя размещается в полости демонстрационного стола между пультом управления электропитанием ученических столов и нишей кодоскопа.4. На вертикальной облицовке демонстрационного стола около его левого угла (по пути к двери во вспомогательное помещение) помещены две сигнальные лампы. Лампы сигнализируют о том, что пульт электроснабжения демонстрационного стола и пульт управления техническими средствами обучения находятся под напряжением, Рядом установлена кнопка аварийного выключения всего силового электропитания физического кабинета. Тем самым снижается вероятность оставить кабинет с включенным электроснабжением. 5. Металлический каркас демонстрационного стола заземлен. Рядом с блоком электроснабжения установлен зажим заземления, позволяющий быстро и удобно заземлять те демонстрационные приборы, которые по условиям эксплуатации нуждаются в заземлении. Немаловажную функцию в работе кабинета имеет и электроснабжение кабинета и рабочего стола учителя, рабочего места ученика. Исходя из сложившейся в последнее время ситуации, оптимален следующий вариант электроснабжения кабинета физики, соответствующий требованиям указанного выше ГОСТа: 1. Все переносные демонстрационные и лабораторные электрические приборы выполняются заводами-изготовителями по классу II с напряжением питания 220 В и снабжаются несъемными шнурами с бытовыми двухконтактными вилками; 2. На демонстрационном столе и столах учащихся устанавливают двухконтактные одинаковые бытовые штепсельные розетки; 3. Взамен электрораспределительных щитов ЩЭ-59, КЭФ-10 и КЭК на стене кабинета физики устанавливают простейший пульт управления электроснабжением (электрораспределительный щит), содержащий общий выключатель сети с предохранителями, встроенный УЗОШ, выключатели одной линии демонстрационного стола и трех линий рядов ученических столов (каждая линия снабжается своим предохранителем и сигнальной лампой). В предложенном варианте основным средством защиты от поражения электрическим током служит двойная или усиленная изоляция прибора, выполненного по классу II. УЗОШ играет роль дополнительного средства защиты. В настоящее время в Институте средств обучения РАО составлены исходные требования к разработке школьного электрораспределительного щита с целью его серийного производства промышленными предприятиями. Простота конструкции щита позволяет изготавливать его в школах (если такая возможность имеется). Для этого необходимо приобрести УЗОШ и набор автоматических выключателей. По конструкции щит может быть выполнен в виде коробки, внутри которой размещены общий выключатель сети, устройство защитного отключения, автоматические выключатели и клеммы одной линии демонстрационного стола и трех линий рядов ученических столов, предохранители и индикаторные фонари. Ручки выключателей и колпачки фонарей выводятся наружу. Щит питается от сети переменного тока напряжением 220 В и рассчитан на общую мощность подключенных к нему потребителей не более 2,2 кВт. Промышленное производство щита ЩЭШ не исключает параллельного производства комплекта КЭФ-10 и его применения в школах. Школы могут приобретать по выбору КЭФ или ЩЭШ в зависимости от выбранного профиля и уровня обучения, выбора помещения и способа организации практических занятий учащихся, а также Других причин. При любом напряжении электрического тока (42 или 220 В) в розетках ученических столов учащиеся будут выполнять практические работы при напряжении не более 12 В, используя индивидуальные выпрямители (источники питания, отвечающие требованиям ГОСТа 28139-89). Важное достоинство именно такого щита состоит в том, что учащиеся при разноуровневом обучении могут выполнять не только опыты, предусмотренные программой, но и опыты, ранее проводившиеся как демонстрационные. 3. Дополнительные усовершенствования оборудования кабинета физики. В данном параграфе рассмотрим вопросы дополнительного усовершенствования основных элементов оборудования кабинета физики. Эти вопросы раскрываются на основе анализа многих предложений, описанных в методической литературе. Не секрет, что многих учителей не удовлетворяет конструкционные особенности меловых досок, выпускаемых промышленностью для средних школ. Нам представляется, что описанные ниже предложения по конструкции меловой доски являются интересными и реализуемыми [ ]. При этом она удачно вписывается в конструкции описанной ранее разделительной стенки Меловая доска изготавливается из витринного стекла толщиной 8 мм, вставленного в рамку из стального уголка, и закрепляется на горизонтальных перемычках второй и третьей рамок каркаса разделительной стенки. Поверхность стекла матирована. Есть несколько способов сделать поверхность стекла матовой. Привлекает кажущейся простотой химический способ травления поверхности стекла плавиковой кислотой. На этом способе мы не будем останавливаться не только потому, что его применение требует соблюдения правил, безопасного труда, но и потому, что при химическом травлении образуется настолько мелкое зерно неровностей, что очень скоро эти мелкие неровности забиваются мелом (сначала), а потом сошлифовываются. В этом случае мел перестает оставлять след на такой почти гладкой поверхности. Лучший результат дает обработка стекла пескоструйным аппаратом. Но возможно и ручное матирование поверхности стекла. Так как этот способ вполне доступен в школьных условиях, то остановимся на нем несколько подробнее.
Рис. 8 Удобно матировать поверхность стекла, когда стекло расположено горизонтально. Для работы используется просеянный наждачный порошок. На это обстоятельство необходимо обратить внимание. Если использовать непросеянный наждачный порошок, то на поверхности стекла, появятся глубокие царапины.Просеянный наждачный порошок насыпается ровным слоем на участок увлажненного стекла, а затем сверху накладывается еще один небольшой кусок стекла, которым с небольшим нажимом совершают круговые движения по поверхности матируемого стекла. Стекло-инструмент необходимо постоянно перемещать. По мере обработки изменяется усилие, необходимое для перемещения стекла-инструмента. Сначала ощущается, как стекло-инструмент легко перемещается на перекатывающихся зернах наждака, но по мере обработки трение стекла о стекло возрастает. Изменяется и звук: хрустящий в начале, он постепенно переходит в шипящий. Ручная обработка стекла размером ЗОООх1000 мм потребует 1—1,5 ч работы одного человека. После такой обработки на поверхности стекла хорошо оставляет след мел любого качества. Написанное легко удаляется влажной губкой. Но главное достоинство стеклянной меловой доски заключается в том, что с обратной (не матированной) стороны доска может быть окрашена в рекомендуемый эргономикой цвет, а затем, когда краска высохнет, поверхность доски можно расчертить в клетку со стороной 100 мм. В вершинах образовавшихся квадратов краска со стекла стирается в виде небольших крестиков. С противоположной (матовой) поверхности эти крестообразные метки хорошо видны только вблизи от доски и незаметны учащимся. Но учителю эти метки помогают быстро построить график, вычертить схему и т. д. Метки не мешают, но и стереть их невозможно. В нижней части меловой доски к металлической рамке прикреплен лоток для сбора меловой крошки и пыли. Минимальный зазор между лотком и подвижной магнитной доской предотвращает падение губки, кусков мела и других предметов в этот зазор. Так как меловая доска углублена в нишу разделительной стенки как в своеобразную световую шахту, то это обстоятельство полностью исключает появление световых бликов на поверхности меловой доски. Еще об одном приспособлении часто пишется в литературе. Это магнитная доска-экран. Нет необходимости говорить о преимуществах такой доски на уроках физики. При этом эта доска используется не столько для простого крепления наглядных пособий, сколько при проведении демонстрационного эксперимента. Магнитная доска-экран изготавливается из целого стального листа, прикрепленного для прочности к рамке из уголковой стали размером 3000Х1000 мм. По бокам узкой части рамки закреплены обрезиненные ролики, выступающие из рамки и входящие в пазы вертикальных стоек каркаса разделительной стенки. Тем самым доска-экран может перемещаться вверх и вниз [ ]. Для того чтобы скомпенсировать вес доски, она подвешивается в петле стального троса так, что образуется своеобразный подвижный блок (рис 9 ). Один конец стального троса диаметром 3—4 мм (на рисунке он изображен утолщенной линией) закреплен на каркасе разделительной стенки, а другой конец, переброшенный через верхний блок, соединен с грузом противовеса. Груз противовеса перемещается в шахте, образованной пространством между третьей и четвертой вертикальными рамками разделительной стенки . Груз противовеса подобран так, что
Рис. 9 перемещение тяжелой
магнитной доски-экрана может быть произведено небольшим усилием одной руки. Такой способ подвески .доски обеспечивает ее перемещение без перекосов и заеданий. Поверхность доски может быть окрашена матовой белой краской. Таким образом, в поднятом состоянии доска может играть роль не только магнитной доски, но и экрана фона и большого проекционного экрана, на который удобно проецировать изображения, даваемые проекционным аппаратом ФОС с демонстрационного стола или для теневого проецирования. Но магнитная доска такой окраски не может постоянно служить как проекционный экран. Проекционный экран должен быть универсальным, для просмотра любых видов проецирования. Для демонстрации диапозитивов, диафильмов и кинофильмов используется просвечивающийся экран, расположенный в одном из верхних проемов разделительной стенки. К экранам так называемого дневного кино предъявляются особые требования. С одной стороны, они не должны существенно ослаблять световой поток [ ]. С другой стороны, зритель не должен наблюдать световое пятно повышенной яркости изображение проекционной лампы. Хорошее, яркое, четкое изображение при равномерной освещенности по всему полю дает экран, изготовленный следующим способом. На деревянную раму нужных размеров туго натягивается и закрепляется белое капроновое полотно. Такое полотно применяется в химических фильтрах в промышленных установках. На полотно шпателем наносится смесь талька с глицерином. Смесь должна иметь консистенцию очень густой сметаны. Шпателем смесь наносится тонким ровным слоем без пробелов. После такой обработки экран сохнет очень долго (более месяца). Но можно не ожидать окончательного высыхания мастики, а сразу установить экран на свое место в проем разделительной стенки, но защитив экран стеклом от возможных повреждений со стороны кабинета физики. Если вспомогательное помещение будет затемнено, то проецирование изображения на экран дает яркую и хорошо видимую картину даже при полностью освещенном кабинете физики. Так как при проецировании на полупрозрачный экран с противоположной стороны получается зеркально повернутое изображение. то, для того чтобы не менять способ зарядки пленки и диапозитивов, используется поворотное зеркало. Проекционный аппарат устанавливается под углом к экрану. Поворотное зеркало можно установить обособленно или укрепить непосредственно на проекционном аппарате.
ГЛАВА 2. КАБИНЕТ ФИЗИКИ СЕЛЬСКОЙ ШКОЛЫ В УСЛОВИЯХ РАЗНОУРОВНЕВОГО ОБУЧЕНИЯ
В городских и сельских средних и восьмилетних школах физика преподается по единым государственным программам. Поэтому и материальная основа (учебные пособия, приборы и технические средства), применяемая в преподавании, должна оставаться одинаковой для всех школ независимо от места их расположения. Средние школы в больших населенных пунктах, центральных усадьбах колхозов и совхозов обычно имеют параллельные классы с достаточной наполняемостью учащимися. Кабинеты физики таких школ по своему оборудованию не должны отличаться от кабинетов физики городских школ. Однако некоторые сельские школы в связи с небольшой наполняемостью классов учащимися (до 20 человек) и малой недельной нагрузкой по физике (16 ч в неделю) имеют в планировке и оборудовании кабинета физики специфические особенности. Рассмотрим возможные особенности оборудования кабинета физики. В литературе наиболее часто представлены две точки зрения на проблему создания кабинета физики. Согласно первой позиции для малокомплектных восьмилетних школ, имеющих до 400 учащихся, согласно рекомендации Министерства просвещения СССР, наиболее целесообразным является оборудование объединенного кабинета физики, химии и математики. При этом кабинет будет иметь полную нагрузку; значительная часть учебных средств по этим предметам окажется общей; в данном сочетании создаются наиболее благоприятные условия для осуществления связи в преподавании этих родственных дисциплин. Однако при оборудовании объединенных кабинетов необходимо учитывать, что при неправильном размещении учебных средств по этим предметам, а также неправильном хранении химических реактивов отдельные виды учебного оборудования могут быстро выходить из строя. Чтобы не допустить этого, для оборудования объединенного кабинета необходимо иметь три помещения. В одном из них, имеющем большую площадь (45—50 м2), оборудуется класс-лаборатория. В этой комнате проводятся все виды учебных занятий по физике, химии и математике. Во второй комнате оборудуется лаборантская комната по физике и математике, а в третьей—отдельная по химии. Площади комнат, отводимых под лаборантские, должны быть не менее 15—16 м2.
Рис. 10. Примерная планировка объединенного кабинета физики сельской восьмилетней школы (первый вариант): 1—демонстрационный стол; 2— стол учителя; 3—классная доска; 4—экран; 5—стол ученический; 62 шкаф для размещения учебного оборудования; 7—шкаф с вытяжным устройством; 8—рабочий стол; 9—счеты; 10—бак для воды; II—стол с набором инструментов; 12—устройство для управления затемнением; 13— стенд: 14—тележка-подставка для кинопроектора; 15—ящик для таблиц; 16—огнетушитель; /7—аптечка; Возможные варианты расположения помещений такого объединенного кабинета восьмилетних школ показаны на рисунке 10. Комната 1—общий класс-лаборатория; комната II, расположенная за передней стеной лаборатории, служит лаборантской по физике и математике, а комната III, расположенная на задней стеной (или сбоку лаборатории),—лаборантской по химии. Если объединенный кабинет организуется по физике, химии и биологии, то лаборантские в нем оборудуются для каждого предмета отдельно. К прежней планировке прибавляется еще одна комната IV—лаборантская по биологии и несколько увеличивается комната 1 (рис. 11 ), нумерация деталей планировки на этом рисунке соответствует перечислению, сделанному под рисунком 3, добавлены лишь подставка для аквариума (19) и подставка для цветов (20).
Рис. 11 Демонстрационное и лаборантское оборудование должно храниться в шкафах, выпускаемых промышленностью для кабинетов физики. Однако в тех школах, где нет таких шкафов, можно использовать двух- или трехстворчатые книжные шкафы с полу застекленными дверцами. Мебель в объединенных кабинетах физики восьмилетних и средних школ не отличается от типовой мебели, выпускаемой промышленностью для школ. Согласно второй точки зрения, нет необходимости в создании объединенных кабинетов. Необходимы кабинеты отдельные, а если уж и соединять, то уж никак не физику и химию (если нет двух лаборантских). Можно создавать кабинет физики и математики, так как обычно в школе нет чисто учителя физики, а есть учитель физики и математики. Это позволить закреплять кабинет за одним человеком, который и будет отвечать за его сохранность и внешний вид. Сторонники этой позиции указывают, что в этом случае вполне уместна одноместная посадка учеников на уроке. Это особенно важно при проведении лабораторного практикума, фронтальных опытов, при проведении различного вида самостоятельных работ. Это вполне удачно вписывается в концепцию разноуровневого обучения школьников в условиях малочисленного класса. Учитывая, что на уроках разноуровневого обучения учащиеся разных типологических групп будут заниматься часть учебного времени по различным пособиям, выполнять совершенно разные виды работ, заниматься различной учебной деятельностью, то такой вариант посадки оправдан. Это позволит определенным образом оформить рабочее место ученика, по-новому подойти к подготовке и проведению уроков. Все до этого сказанное относится к типовому проекту кабинета. Однако чаще всего учителя физики сталкиваются с такой проблемой, как создание лаборантской комнаты. Это возникает в следующих случаях:
Как же в этом случае поступить? В методической литературе говорится о необходимости создания разделительной стенки в кабинете, которая разделила бы класс на два относительно самостоятельных полмещения. Каковы же особенности этой разделительной стенки? Анализ взглядо на эту проблему показал, что наиболее часто встречаются такие точки зрения на конструкцию стенки, отделяющей аудиторную часть физического кабинета от вспомогательного помещения:
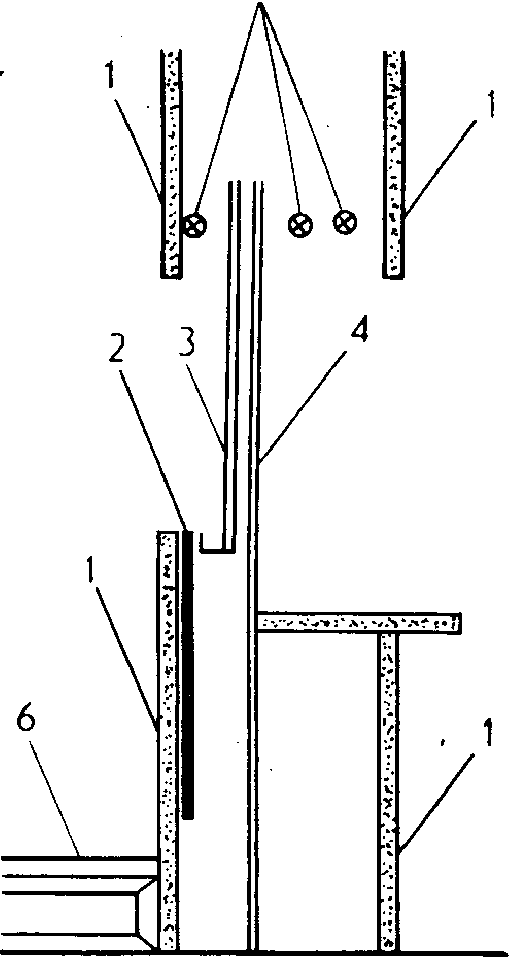
Рис. 12 Одно ясно, что в силу сложившихся традиций по подсказке многолетнего опыта эта разделительная стенка размещается за спиной учителя. Такое местоположение вспомогательного помещения (за спиной учителя) отражено и в некоторых условиях на проектирование школьных помещений. Но конструкция разделительной стенки бывает различной. Иногда это кирпичная стенка. В другом случае разделительная стенка имеет деревянную сборную конструкцию, которая со стороны вспомогательного помещения используется для хранения оборудования физического кабинета. Более привлекательно, если разделительную стенку выполнить как сборную металлическую конструкцию, ведь при этом открываются совершенно новые функциональные возможности этой архитектурной детали школьного физического кабинета. Каковы же конструкционные особенности разделительной стенки? Основой конструкции разделительной стенки являются пять одинаковых рамок, сваренных из уголковой стали размером 35х35 мм (рис.13). Длина рамки определяется высотой помещения Н. Поэтому h=H—2400 мм. Длинные стороны рамки сварены из сложенных уголков так, что образуют П-образный профиль. На эту особенность следует обратить внимание потому, что сделано это не только ради увеличения прочности рамки.
Рис. 14Крайние рамки прикрепляются к противоположным стенам физического кабинета, а затем размещаются три остальные и соединяются уголком. Так как ширина помещения может быть разной даже при одном и том же типовом проекте, то это различие компенсируется расстоянием между третьей и четвертой рамками (если вести счет слева направо). Вторая и третья рамки размещаются так, что пазы вертикальных стоек обращены друг к другу. Горизонтальная связка на высоте 1200 мм между второй и третьей рамками со стороны кабинета не должна перекрывать плоскость, образованную пазами. Дело в том, что в пазах вертикальных стоек размешается и перемещается по вертикали магнитная доска-экран. В пазах между второй и третьей стойками помещена магнитная доска-экран 2. Далее укреплены стеклянная меловая доска 3 и тонкая перегородка 4, отделяющая вспомогательное помещение от аудиторной части кабинета и выполненная из древесноволокнистой плиты.
Рис. 2-3 В верхней части центрального проема скрытые за облицовочными плитами размещены трубки люминесцентных ламп 5, которые со стороны кабинета освещают меловую доску, а со стороны вспомогательного помещения служат для его освещения. Помост 6, на котором установлен демонстрационный стол, вплотную примыкает к разделительной стенке. Целесообразно каркас помоста соединить сваркой с каркасом разделительной стенки.Однако для большей приспособленности кабинета к условиям разноуровневого обучения, необходимо ввести некоторые дополнительные элементы разделительной стенки. Они могут быть такими:
Ведь не секрет, что особая проблема для учителя — доставка приборов демонстрационного эксперимента к демонстрационному столу. Законы психологии восприятия не рекомендуют преждевременного показа приборов учащимся. На демонстрационный стол должно выставляться только то, что сейчас показывается, и немедленно убираться со стола после завершения показа. Где между демонстрациями хранить подготовленные приборы? Обычно рекомендуется с этой целью использовать пространство под демонстрационным столом или на отдельном столике, отгороженном от учащихся ширмой. Но и в этом случае остается проблема доставки приборов из вспомогательного помещения. Оригинальное решение — выдвижной стол снимает эти проблемы. Рассмотрим кконструкцию выдвижного стола. Сварной металлический каркас, схема которого изображена на рисунке 15, изготовлен из стального уголка таких же размеров, что и разделительная стенка. Основу конструкции составляет платформа размером 1200Х X 1200х200 мм, оборудованная четырьмя колесами с проточками в виде желоба. Одна пара колес с одной стороны платформы ограничена в своем перемещении вдоль оси. Противоположная пара колес может в небольших пределах перемещаться по оси.
Рис. 15 Колесами платформа устанавливается на рельсы, представляющие собой стальной уголок, приваренный к вертикальным рамкам (первой и второй) разделительной стенки. Концы рельсов соединены между собой. На платформе устанавливаются каркас стола размером 900Х 600X 1200 мм и каркас выдвижной разделительной стенки, соединенной с платформой и столом. Выдвижная стенка с наружной стороны облицовывается такой же облагороженной древесностружечной плитой, что и разделительная стенка. Верхняя поверхность платформы закрывается половой рейкой, на которую настилается древесноволокнистая плита. Облицовка выдвижной стенки подгоняется по размерам так, чтобы зазор между выдвижной стенкой и облицовкой разделительной стенки был бы минимальным. Остающаяся щель закрывается алюминиевым Т-образным профилем. По рельсам выдвижной стол может быть перемещен из вспомогательного помещения к демонстрационному столу. Так как колеса платформы снабжены шариковыми подшипниками, то, несмотря на большой вес всей конструкции, ее перемещение легко производится усилием одной руки. В исходном положении выдвижной стол вместе с платформой находится во вспомогательном помещении физического кабинета. Здесь на стол могут быть установлены приборы, подготовленные для демонстрации. Дополнительным местом для размещения приборов является полка в нише выдвижного стола. В рабочем (выдвинутом) положении выдвижной стол оказывается рядом с демонстрационным, но установленные на нем приборы скрывает от глаз учащихся выдвижная стенка . Рассмотренные особенности оборудования школьного кабинета физики сельской школы во многом могут определить успешность решения некоторых проблем, стоящих перед учителем в условиях разноуровневого обучения. 2. Рабочее место ученика при реализации разноуровневого обучения. Из опыта оборудования кабинета физики Повышению эффективности учебного процесса в значительной мере способствует хорошо оборудованный кабинет физики, что, в свою очередь, предполагает решение таких проблем, как усовершенствование оборудования демонстрационного стола, рациональное размещение технических средств обучения в кабинете, максимально удобная система хранения приборов и выдачи их на рабочие места учащихся для фронтальных работ и практикума, правильное хранение демонстрационных приборов и др. Еще одной проблемой является проблема ооборудования рабочего места учителя и ученика в кабинете физики. Правильное решение этой проблемы должно помочь учителю физики в организации разноуровневого обучения. Учитывая тот факт, что до того момента, когда на столе учителя и ученика на уроках физики долго еще не будет стоять компьютера, но имеющиеся в настоящее время в большинстве сельских школ технические средства обучения должны вносить свою лепту в решение проблемы разноуровневого обучения. Перечислим основные элементы рабочего стола ученика: - розетки питания на 36-42 В; - разъемы для головных телефонов (наушников); - таблицы физических констант (учитывается, что часть учеников будет изучать материал углубленно);
Для оформления рабочего места ученика можно подготовить такие таблицы и справочные данные:
Соотношение между единицами площади Единица СИ площади: [S] = квадратный метр (м2 ), кроме того; ар (а) , гектар (га) для площади полей и земельных участков. Соотношение между единицами площади 10-6 км2 = 1 м2 = 102 дм2 = 104 см2 = 106 мм2 1 ар (а) = 100 м2 1 гектар (га) = 100 a = 104 м2 Единицы, не входящие в СИ: 1квадратная миля (миля2) =3,0976-102ярд2 =2,589988•10м2 1 квадратный ярд (ярд2) =9 фут2=1296 дюйм2=0,8361 м2 1 квадратный фут (фут2)=144 дюйм2= 0,0929 м2=9,29 дм2 1 квадратный дюйм (дюйм2)=0,6452 • 102 м2 =6,452 см2 Cоотношение между единицами объема
1 м3 = 103
лм3 = 106
см3 = 103 мм3 Единицы, не входящие в СИ: 1 кубический ярд (ярд3)=27фут3=46б5бдюйм3= 0,7646 м3
1 кубический
фут (фут3)=1728 дюйм3
= 28,32 дм3 Соотношение между единицами массы 1 кг= 103 г= 106 мг= 109 мкг 1 декаграмм (даг) = 10 r 1 тонна (т) = 1 мегаграмм (Mг) = 10 децитонн (дт) = 103 кг Единицы, не входящие в СИ: 1 длинная тонна =2240 фунт (торговый) = 1016,05 кг= 1,01605 т 1 короткая тонна= 2000 фунт США = 907,2 кг = 0,9072 т 1 слаг=32,174 фунт = 14,594 кг 1 фунт = 16 унций = 0,4536 кг = 453,6 г 1 унция = 0,02835 кг = 28,35 г Справочные данные по планетам Солнечной системы
Соотношение между единицами давления Единицы, не входящие в СИ:
1 ат =
0,980665 бар = 98,0665
кПа Еслир — давление,
А —
площадь поверхности, Таблица моментов инерции
Если говорить более подробно о содержании микролаборатории, то можно отметить следующие моменты:
Таблица 1 . Лабораторные работы по механике (БУ)
Таблица 2 . Лабораторные работы по механике (УУ)
Учитывая, что штатив с муфтой и лапкой, а так же измерительная лента или линейка с миллиметровым делением, динамометр и набор грузов по механике используются почти в каждой лабораторной работе, то они должны хранится в шкафу кабинета физики на полках, проименованных соответствующим образом или же в рабочем столе каждого ученика. Определим число блоков инвариантов (по теме или разделу). Если говорить конкретно по классам, то можно отметить, что только в 10 – 11 классах есть придется сделать несколько разных микролабораторий по разным разделам изучаемого материала, так как только там разделы не имеют четкой преемственности изучаемого материала. В 9 классе изучаются механические явления и процессы, что приводит к тому, что для 9 класса можно сделать единый комплект приборов. Это может быть микролаборатория, составленная как из приборов и материалов заводского изготовления, так и приборов самодельных. В состав такого комплекта могут войти:
Таким образом, правильная организация рабочего места ученика и размещение основных приборов для проведения лабораторного эксперимента могут внести свой вклад в реализацию идеи разноуровневого обучения. 3. Подготовка студентов к работе в кабинете физики в условиях разноуровневого обучения Как было сказано ранее, в современных условиях учителю физики все труднее и труднее работать Возникла необходимость более качественной подготовки учителя физики к работе в условиях кабинетной системы. В целях решения данной проблемы предлагается спецкурс «Оборудование школьного физического кабинета». Более подробно о его содержании и структуре описано ниже. СПЕЦКУРС “ОБОРУДОВАНИЕ ШКОЛЬНОГО ФИЗИЧЕСКОГО КАБИНЕТА”I. Требования к уровню подготовки студента, завершившего изучение дисциплины В ходе изучения курса у студентов должны сформироваться такие умения: определить соответствие оснащения кабинета физики требованиям нормативных документов, составить заявку на приобретение необходимого оборудования и акт на списание материальных ценностей, организовать и провести профилактическое обслуживание оборудования школьного кабинета физики, подготовить эскизную документацию на изготовление учебных приборов и приспособлений к ним, руководить работой лаборанта, подобрать приборы для организации внеурочной работы. Студенты должны научиться ориентироваться в специфике школьных физических приборов с целью их рационального подбора, овладеть приемами поиска причин бездействия электрических цепей, научиться определять неисправности физических приборов и устранять простейшие поломки, приобрести элементарные навыки работы со стеклом, проводами, пластмассой, древесиной, овладеть приемами изготовления простейших самодельных учебных приборов. II. Объем дисциплины и виды учебной работы (аудиторные часы).
III. Содержание дисциплины. 3.1. Разделы дисциплины и виды занятий.
. Содержание дисциплины. 3.1. Разделы дисциплины и виды зан 3.2. Пояснительная записка. Изучение курса "Оборудование школьного физического кабинета" должно подготовить будущих учителей физики к работе по эксплуатации и совершенствованию школьного кабинета физики. В процессе изучения курса студенты педагогического вуза должны получить представление о школьном кабинете физики как системе средств, позволяющих обеспечить оптимальную организацию учебно-воспитательного процесса на уроках и во внеурочное время по предмету; вооружиться общетехническими и методическими знаниями и умениями, направленными на повышение эффективности использования оборудования, технических и дидактических средств, которыми располагают в настоящее время кабинеты физики средней школы, изучить перспективы их развития; узнать современные направления совершенствования учебно-методической и материально-технической базы кабинетов физики. Программа курса предусматривает изучение кабинетной системы и общих требований, предъявляемых к современному кабинету физики, изучение правил техники безопасности для физических кабинетов средних школ, прав и обязанностей заведующего кабинетом физики, порядка приобретения, учета и списания оборудования, ознакомление студентов с рациональными методами его расположения и хранения, с основами ремонта и конструирования физических приборов, а также использованием оборудования кабинета физики для осуществления учебного процесса и внеурочной работы. Изучение темы "Кабинетная система обучения в средней общеобразовательной школе" осуществляется с использованием учебного материала по педагогике об оптимизации учебно-воспитательного процесса, по физиологии и психологии о восприятии и усвоении учебного материала. Изучение темы "Кабинет физики средней школы" осуществляется с использованием материала по общей физике об электрическом токе, электромагнитной индукции, по электротехнике о трехфазных электрических сетях, о передаче электрической энергии, по охране труда о защите от поражающего напряжения, по школьной гигиене о санитарно-гигиенических нормах, по медицине об оказании первой медицинской помощи, по педагогике об эстетическом воспитании. Изучение темы "Работа заведующего кабинетом физики" осуществляется с использованием учебного материала по педагогике об организации учебного процесса. Изучение темы "Конструирование, изготовление и ремонт учебного оборудования" осуществляется с использованием учебного материала по психологии о формировании умений и навыков, по черчению (материал средней школы) о правилах выполнения сборочных чертежей, об эскизном деталировании, по общей физике об электрическом токе в полупроводниках, по электрорадиотехнике о полупроводниковых приборах, по электротехнике об электрических измерениях. Изучение темы "Использование оборудования кабинета для осуществления учебного процесса и внеурочной работы" проводится с использованием учебного материала по курсу ТСО о видах статической проекции, о комплексном применении технических средств обучения в учебно-воспитательном процессе, о технике безопасности при работе с техническими средствами обучения, по педагогике об организации внеурочной работы, по психологии о психологии усвоения знаний. Знания, полученные при изучении темы "Кабинетная система обучения в средней общеобразовательной школе", используются во время педагогической практики при знакомстве со школой и школьным коллективом. Знания, полученные при изучении темы ^Кабинет физики средней школы", используются в курсе методики преподавания физики при создании учебных экспериментальных установок и изучении учебного оборудования, во время прохождения педагогической практики при подготовке к проведению уроков. Знания, полученные при изучении темы "Работа заведующего кабинетом физики", используются во время педагогической практики при подготовке учебного физического эксперимента. Навыки, полученные при изучении темы "Конструирование, изготовление и ремонт учебного оборудования", используются в спецпрактикуме по методике физики при модернизации школьных учебных приборов, во время педагогической практики при оказании помощи учителю в ремонте школьных приборов. Знания, полученные при изучении темы "Использование оборудования кабинета физики для осуществления учебного процесса и внеурочной работы", используются во время педагогической практики при подготовке к проведению уроков и организации внеурочной работы. Программой предусмотрено отражение роли в развитии кабинета физики и кабинетной системы в средней школе следующих ученых методистов: И. Глинки, Е.М. Горячкина, Г.Г. Де-Метца, И.И. Дриги, И.А. Знаменского, С.Е. Каменецкого, Н.В. Кашина, А.А. Покровского, Д.И. Сахарова, Н.М. Шахмаева. Программа предусматривает, что знания, полученные студентами при изучении курса "Оборудование школьного физического кабинета", используются в дальнейшем при изучении методики преподавания физики, во время педагогической практики, при выполнении курсовых и дипломных работ по методике физики. Программа рассчитана на проведение занятий по подгруппам (в подгруппе не более 12 человек) в специально оборудованном помещении-лаборатории курса "Оборудование школьного физического кабинета". Распределение учебного времени по темам является примерным. Преподавателю предоставляется право изменять порядок изучения отдельных вопросов внутри темы. 3.3. Содержание разделов дисциплины. 1.Кабинетная система обучения в средней общеобразовательной школе (3ч.) Введение. Зарождение кабинетной системы обучения в средней школе. Методические задачи, решаемые с помощью кабинетной системы. Физический кабинет в системе учебных кабинетов средней школы. История развития школьного физического кабинета. 2. Кабинет физики средней школы (20 ч.) Организация кабинета физики* Принципы организации учебного кабинета. Требования к оборудованию учебного кабинета. Планировка типового кабинета физики средней школы. Структура функциональных зон кабинета и размещение оборудования. Мебель кабинета физики. Организация астрономического уголка в кабинете физики. Специальные системы кабинета физики. Система электроснабжения кабинета. Системы водо- и газоснабжения. Системы освещения и затемнения кабинета. Системы пожарной и охранной сигнализации. Специфика учебного оборудования кабинета физики. Классификация учебного оборудования по физике. Демонстрационное оборудование. Лабораторное оборудование для практикумов. Оборудование для кратковременных практических работ. Охрана труда в кабинете физики средней школы. Правовые акты и инструкции по охране труда в средних учебных заведениях. Санитарно-технические требования к помещениям школьного кабинета физики. Меры безопасности при проведении практических работ в кабинете физики. Правила проведения инструктажа учащихся по технике безопасности. Противопожарный инвентарь, средства защиты от поражающего напряжения, средства первой медицинской помощи в кабинете физики. Передовой опыт оборудования кабинетов физики средних учебных заведений в стране и за рубежом. Экскурсия в кабинет физики средней школы. 3. Кабинет физики сельской школы (6ч.) Особенности оборудования кабинета физики в школах сельской местности. Помещение кабинета физики сельской школы. Мебель кабинета физики. Особенности оснащения и оборудования кабинета физики сельской школы. Рабочее место ученика и учителя в кабинете физики сельской школы. Кабинет физики в условиях разноуровневого обучения. Системы освещения и затемнения кабинета. Экскурсия в кабинет физики городской школы. 4. Работа заведующего кабинетом физики (5ч.) Права и обязанности заведующего кабинетом физики. Документация заведующего кабинетом физики. Ведение лабораторных работ. Экскурсия в кабинет физики. 5. Конструирование, изготовление и ремонт учебного оборудования (16ч.)
Уход и бережное отношение к учебному оборудованию. Организация работ по оборудованию и модернизации кабинета физики. Текущий и профилактический ремонт приборов, принадлежностей и пособий. Изготовление наглядных пособий, несложных приборов. Привлечение учащихся для оказания помощи учителю при конструировании, изготовлении и ремонта учебного оборудования. Техническая литература и требования по изготовлению и конструированию приборов. Подготовка деталей, инструментов, материалов, необходимых для изготовления учебного оборудования. Проверка безотказности, надежности, видимости и удобства работы прибора или установки. Охрана труда при конструировании, изготовлении и ремонта учебного оборудования. Санитарно-технические требования и меры безопасности при изготовлении и конструировании учебного оборудования. Обмен опытом учителями физики по изготовлению вспомогательного оборудования. Экскурсия в лаборантскую кабинета физики. Экскурсия на технический завод. Экскурсии на школьные выставки приборов, изготовленных учениками. 6. Использование оборудования кабинета физики для осуществления учебного процесса и внеурочной работы (6ч.)
Специфика учебного оборудования кабинета физики. Взаимосвязь элементов оборудования для повышения эффективности учебного эксперимента. Специфика учебного оборудования кабинета физики. Взаимосвязь элементов оборудования для повышения эффективности учебного эксперимента. Организация физико-технического кружка. Сбор и изготовление технических игрушек. Экскурсия в физический кабинет школы. ТЕМЫ РЕФЕРАТОВ ДЛЯ СТУДЕНТОВ.
ЗАКЛЮЧЕНИЕПоставленная в дипломной работе проблема разработки такой планировки, оборудования и оснащения школьного кабинета физики, при которой достигались бы цели разноуровневого обучения разнопланова и многогранна. В связи с этим в работе рассматривались только некоторые аспекты этой проблемы. Во-первых, были определены некоторые особенности планировки и оснащения кабинета физики сельской школы в условиях разноуровневого обучения. При этом определилось, что многие предложения по усовершенствованию кабинета физики вообще во многом востребованы для организации разноуровневого обучения. Более подробно остановлено внимание на структуре и конструкции разделительной стенки, позволяющей сделать классное помещение настоящим кабинетом физики. Во-вторых, были рассмотрены вопросы оснащения рабочего места ученика в условиях разноуровневого обучения, более подробно раскрыто содержание микролаборатории по механике, наличие которой оптимизирует процесс обучения, сокращает время учителя при подготовке и проведении фронтальных лабораторных работ. При этом анализировалось содержание не только лабораторных работ базового уровня, но и содержание таких работ углубленного уровня. В-третьих, более детально рассмотрен вопрос о внешнем оформлении рабочего места ученика, предложены необходимые наборы табличных данных, физических констант, соотношений между физическими величинами (как системными, так и несистемными), дополняющих данные в школьных задачниках до необходимого уровня. В-четвертых, учитывая необходимость более серьезной подготовки студентов к работе в кабинете физики, разработан спецкурс «Оборудование школьного физического кабинета». Изучение этого спецкурса должно подготовить будущих учителей физики к работе по эксплуатации и совершенствованию школьного кабинета физики. При этом студенты педагогического вуза получают представление о школьном кабинете физики как системе средств, позволяющих обеспечить оптимальную организацию учебно-воспитательного процесса на уроках и во внеурочное время по предмету; приобретают общетехнические и методические знания и умения, которые направлены на повышение эффективности использования оборудования, технических и дидактических средств. Можно сказать, что решение вышеназванных вопросов из всего комплекса проблем, встающих при реализации идеи разноуровневого обучения позволит более оптимально готовиться и успешнее проводить учителю уроки с двумя группами учеников.
ЛИТЕРАТУРА.
14.Рымкевич А.А. Сборник задач по физики для 9-11 кл. ср. школы. М.: Просвещение 15.Ситник П.М. Лаборанская кабинета физики.//Физика в школе.-1984г.-№5.-с.53-54. 16.Смагина Г.И. Первый в Россиишкольный физический кабинет //Физика в школе.-1986.-№2.-с.18-22. 17.Умяров М.Я. Кабинет физики и развитие учащихся // Физика в школе .-1980г.-№4.-с.36. 18. Физика в школе: Сб.нормат.документов/Сост.Н.А.Ермолаева, В.А.Орлов.-М.:Просвещение,1987г. 19.Шахмаев Н.М. Из опыта оборудования физического кабинета.-М.:Просвещение ,1957г. ПРИЛОЖЕНИЕ Материально-техническое обеспечение учебного физического эксперимента в основной общеобразовательной школе I. Приборы и принадлежности общего назначения 1. Скамья оптическая (или аппарат ФОС-115). 2. Выпрямитель переменного тока (30 В, 10 А). 3. Выпрямитель ВУП-2. 4. Вакуум-насос Комовского. 5. Вакуум-насос с электроприводом. 6. Громкоговоритель электродинамический, 7. Комплект электроснабжения КЭФ. 8. Комплект проводов соединительных, 9. Лазер газовый учебный с принадлежностями. 10. Машина электрофорная. 11. Осветитель для теневого проецирования. 12. Преобразователь тока "Разряд-1" (или катушка Румкорфа). 13. Прибор для получения газов (полуавтоматический). 14.Источник питания с регулируемым постоянным напряжением (НОВ, 2 А). 15. Машина центробежная с принадлежностями. 16. Тарелка к вакуум-насосу. 17. Осциллограф электронный с коммутатором. 18. Счетчик-секундомер цифровой с датчиками. 19. Усилители низкой частоты (УНЧ-5). 20. Столики подъемные. 21. Экран настольный. 22. Штатив универсальный. 23. Набор из четырех гирь-грузов. 24. Трансформатор универсальный. 25. Ящики-подставки. 26. Микрофон электродинамический. 27. Электродвигатель универсальный с принадлежностями. II. Приборы демонстрационные 1.Измерительные приборы и Принадлежности 1. Амперметр с гальванометром демонстрационный. 2. Вольтметр с гальванометром демонстрационный. 3. Весы настольные с открытым механизмом. 4. Весы технические демонстрационные. 5. Весы неравноплечие с принадлежностями. 6. Динамометры. 7. Манометр жидкостной. 8. Мановакуумметр. 9. Микроманометр с трубкой Пито. 10. Наборы тел равного объема и равной массы. II. Ваттметр демонстрационный. 12.Счетчик электрической энергии. 13.Генератор звуковой частоты. 14.Гигрометр Ламбрехта. 15.Гигрометр волосяной. 16.Психрометр Августа. 17.Грузы наборные на 1 и 2 кг. 18.Термометр демонстрационный жидкостный 19. Термометр электрический 20. Линейка масштабная демонстрационная 21. Измеритель малых перемещений 22. Целиндр измерительных 23. Стробоскоп электронный 24. Часы песочные 25. Гальванометр зеркальный М 1032 2. ДВИЖЕНИЕ И СИЛЫ. 1. Ведерко Архимеда. 2. Держатели со спиральными пружинами. 3. Диск вращающийся с принадлежностями. 4. Камертон с пером. 5. Камертоны на резонансных ящиках с молоточками. 6. Машина волновая. 7. Маятник в часах. 8. Маятник Максвелла. 9. Насос воздушный ручной. 10. Набор капилляров. 11. Набор из трех шариков. 12. Огниво воздушное. 13. Пресс гидравлический. 14. Пистолет двухсторонний баллистический. 15. Прибор для демонстрации невесомости. 16. Прибор для демонстрации независимости действия сил. 17. Прибор для демонстрации законов механики. 18. Прибор для демонстрации теплоемкости тел. 19. Прибор для демонстрации теплопроводности. 20. Прибор для изучения газовых законов. 21. Прибор для записи колебательного движения 22. Прибор для демонстрации волновых явлений, 23. Прибор для демонстрации закона сохранения импульса. 24. Пружина спиральная для демонстрации продольных волн. 25. Рычаг демонстрационный. 26. Сообщающиеся сосуды. 27. Стакан отливной. 28. Тележка самодвижущаяся. 29. Трубка Ньютона. 30. Трибометр демонстрационный. 31. Тележки легкоподвижные (пара). 32. Теплоприемник. 33. Трубка для демонстрации конвекции в жидкости. 34. Шар с кольцом. 35. Шар Паскаля. 36. Шар для взвешивания воздуха. 37. Прибор для демонстрации давления в жидкости. 38. Комплект блоков. 39. Шарики металлические разных диаметров. 3. ВЕЩЕСТВО 1. Батарея аккумуляторов. 2. Ванна с электродами. 3. Газоанализатор. 4. Камера для наблюдения следов а-частиц. 5. Катодные трубки (набор). 6. Модель броуновского движения. 7. Модель давления газа. 8. Модель для демонстрации рассеяния а-частиц. 9. Прибор для демонстрации расширения воды при ее замерзании. 10. Прибор для изучения зависимости сопротивления проводника от его геометрических размеров и материала. 11. Склянки Вульфа. 12. Стеклянные пластинки на нитяных подвесах. 13. Счетчик Гейгера. 14. Термостолбик. 15. Термопара. 16. Чашки Петри. 17. Цилиндры свинцовые со стругом. 4. ПОЛЕ 1. Палочки из стекла и эбонита. 2. Трубка латунная на изолирующей ручке. 3. Штативы изолирующие (пара) 4. Султаны электрические. 5. Электроскоп. 6. Прибор для демонстрации спектров электрических полей. 7. Магнитная стрелка на подставке (пара). 8. Комплект полосовых и дугообразных магнитов. 9. Магнит дугообразный с хвостиком. 10. Маятники электростатические. 11. Катушка для демонстрации магнитного поля тока (на подставке со столиком) (пара). 12. Модель молекулярного строения магнита. 13. Магниты кольцевые керамические. 14. Электромагнит разборный. 15. Магазин сопротивлений демонстрационый 16. Звонок электрический демонстрационный. 17. Комплект приборов для демонстрации магнитных полей тока. 18. Прибор для демонстрации взаимодействия параллельных токов. 19. Комплект приборов для изучения электромагнитных волн. 20. Конденсатор переменной емкости. 21. Машина магнитоэлектрическая. 22. Набор радиотехнический. 23. Набор полупроводниковых приборов. 24. Прибор для демонстрации взаимодействия электронного пучка с магнитным полем. 25. Прибор для демонстрации зависимости сопротивления металлов от температуры. 26. Прибор для передачи электрической энергии 27. Электронно-лучевая трубка демонстрационная. 28. Панель с лампами и плавким предохранителем. 39. Комплект для демонстрации фотоэлемента. 40. Экран люминесцирующий. 41. Батарея солнечная. 42. Набор ползунковых реостатов. 43. Прибор для изучения законов геометрической оптики. 44. Реостат рычажный. 45. Электрометры с принадлежностями. 5. ЭНЕРГИЯ 1. Машина Атвуда. 2. Желоб наклонный. 3. Модель водяной турбины. 4. Модель паровой турбины. 5. Модель ветродвигателя. 6. Модель нагнетательного и разрежающего насосов. 7. Модель двигателя внутреннего сгорания. 8. Модель гальванического элемента, 9. Модель свинцового аккумулятора 10. Модель коллекторного эл.двигателя 11. Модель генератора постоянного и переменного тока 12. Модель счетчика эл. Энергии 13. Модель цилиндра с поршнем для демонстрации взрыва горючей смеси 14. Модель ворота 15. Модель отбойного молотка 16. Модель водоструйного насоса 17. Модель ракеты 18. Модель крыла самолета 19. Лампа накаливания разной мощности и напряжения 6. ПОСУДА И ПРИСПОСОБЛЕНИЯ
1Для фронтальных лабораторных работ
2 Для практикума
29. Спектроскоп двухтрубный. 30. Термометр лабораторный от 0 до +50 °С с делениями 0,1 TJI-461V 31. Трансформатор лабораторный. 32. Прибор "Спектр". 33. Трубки спектральные ВТ-1. IV. Печатные пособия 1. Портреты выдающихся физиков. 2. Таблица "Международная система единиц". 3. Таблица "Шкала электромагнитных волн". 4. Таблица "Периодическая система химических элементов Д.И.Менделеева". Серия таблиц: "Механика", "Молекулярная физика", "Электродинамика", "Колебания и волны", "Оптика", "Атомная физика". V. Экранные пособия Диапозитивы 1. Взаимодействие тел. 2. Давление твердых тел, жидкостей и газов. 3. Законы сохранения. 4. Механические колебания и волны. 5. Основы динамики. ' 6. Основы кинематики. 7. Первоначальные сведения о строении вещества. 8. Работа и мощность. Энергия. 9. Световые явления. 10. Тепловые явления. 11. Электрические явления. 12. Электромагнитные явления. Диафильмы 1. Атмосферное давление. 2. Атом и его строение. 3. Гидравлические машины и инструменты. 4. Давление в природе и технике. 5. Движение тела, брошенного под углом к горизонту. 6. Движение тела по наклонной плоскости. 7. Из истории электрического освещения. 8. Полупроводники и их применение. 9. Физика и защита окружающей среды. 10. Магнитное поле Земли, 11. Плазма, ее свойства и применение в технике. 12. Оптические приборы. 13. Способы теплопередачи, 14. Тепловые двигатели. 15. Что изучает физика, 16. Электрические станции. 17. Электроизмерительные приборы. 18. Переменный ток. 19. Волновые свойства света. 20. Электронагревательные приборы. 21. Электромагнитные колебания. Кинофрагменты или видеофрагменты 1. Давление газа. 2. Движение тела по окружности. 3. Законы Ньютона. 4. Импульс тела. Закон сохранения импульса. 5. Использование атмосферного давления в технике. 6. Механические колебания и волны. 7. Невесомость. 8. Опыт Кавендиша. 9. Относительность механического движения. 10. Принцип Гюйгенса. 11. Движение молекул. 12. Трение. 13. Энергия рек и ветра. Кинофильмы или видеофильмы 1. Бытовые электроприборы. 2. Воздухоплавание. 3. Движение под действием силы тяжести. 4. Диффузия. 5. Изменение агрегатного состояния вещества. 6. Искусственные спутники Земли. 7. Атомная электроэнергетика. 8. Применение законов Ньютона. 9. Резонанс. 10. Силы природы. 11. Правила электробезопасности в кабинете физики. 12. Переменный ток. 13. Физические основы космических полетов. 14. Электричество в технике. 15. Электрические явления. 16. Электромагниты и их применение. 17. Электронно-лучевая трубка. 18. Основы молекулярно-кинетической теории. 19. Электронная теория проводимости. 20. Образование и распространение электромагнитных колебаний. 21. Волновые и корпускулярные свойства света. содержание ВВЕДЕНИЕ 2
ПРИЛОЖЕНИЕ 64 МИНИСТЕРСТВО ОБЩЕГО И ПРОФЕССИОНАЛЬНОГО ОБРАЗОВАНИЯ РОССИЙСКОЙ ФЕДЕРАЦИИ АРЗАМАССКИЙ ПЕДАГОГИЧЕСКИЙ ИНСТИТУТ ИМ. А.П.ГАЙДАРАКафедра теории и методики обучения математике и физике ДИПЛОМНАЯ РАБОТА КАБИНЕТНАЯ СИСТЕМА В УСЛОВИЯХ РАЗНОУРОВНЕВОГО ОБУЧЕНИЯ Выполнила: студентка 5 курса физмата Власова Ю.В. Научный руководитель: к.п.н., доцент Фролов И.В. Рецензент: к.п.н. Володин А.М. г. Арзамас, 1999 г. |










