Реферат: Микропроцессоры и микроЭВМ
|
Название: Микропроцессоры и микроЭВМ Раздел: Рефераты по информатике, программированию Тип: реферат | |||||||||||
| Министерство Образования Российской Федерации Воронежский Государственный Технический Университет Естественно-технический колледж
Реферат на тему: «Микропроцессоры и микроЭВМ» Выполнил: студент гр. РАС-012 Казачков Сергей Сергеевич Проверил: преподаватель Заика Валентина Степановна г. Воронеж 2003г. Содержание:
Введение. Характерной чертой научно-технического прогресса, определяющей мощный дальнейший подъем общественного производства, является широкое внедрение электроники во все отрасли народного хозяйства. Современная электронная цифровая вычислительная техника широко применяется в народном хозяйстве. В настоящее время создано четыре поколения ЭВМ с улучшающимися технико-экономическими показателями, что способствует дальнейшему расширению сферы применения ЭВМ и их эффективности. Четвертое поколение ЭВМ на основе интегральных схем с большой степенью интеграции элементов (БИС) появилась в начале 70-х годов и существенно изменило параметры ЭВМ всех классов. Вместе с тем возник совершенно новый класс ВТ на основе БИС - микропроцессорные вычислительные машины - микроЭВМ. В конце 70-х годов в результате интеграции всех электронных устройств ЭВМ в одном кристалле были созданы однокристальные микроЭВМ, вычислительная мощность которых не уступает вычислительной мощности средних ЭВМ начала 70-х годов. Микропроцессоры и микроЭВМ стали новым массовым классом ЭВМ вследствие малой материалоемкости и стоимости , низкого энергопотребления и высокой надежности . Отечественной промышленностью ежегодно производится несколько десятков тысяч микроЭВМ), сотни тысяч микропроцессоров и микрокалькуляторов на их основе. Разрабатываются операционные системы общего применения и стандартное программное обеспечение микроЭВМ. Массовость этого нового класса и его высокие технико-экономические параметры оказывают революционизирующее влияние на целое поколение приборов, оборудования, агрегатов со встроенными микропроцессорными средствами. Микропроцессоры и микроЭВМ применяют в различных областях народного хозяйства (в управлении технологическими процессорами, информационных и измерительных комплексах, энергетике, медицине и др.). На базе выпускаемых микропроцессоров и микроЭВМ созданы высокопроизводительные устройства числового программного управления. Крупносерийное производство ряда моделей мини-ЭВМ позволяет начать работы по созданию нескольких типов проблемно-ориентированных комплексов для автоматизации научных исследований и технологических процессов. Особое значение микроЭВМ приобретают в связи с реализацией школьной реформы. МикроЭВМ положены в основу организуемых в каждой школе учебных классов по дисциплине «Основы информатики и вычислительной техники». Построение ЭВМ на основе микропроцессорных БИС позволяет уменьшить стоимость микроЭВМ, сравнимых по своим параметрам с ранее созданными ЭВМ, в 103 - 104 раз, габаритным размерам - в (2-3)x104 раз, по мощности потребления - в 105 раз. Это означает, что без увеличения общих затрат микроэлектронная технология позволяет обществу произвести в сотни и тысячи раз больше ЭВМ, чем ранее. Микропроцессор – функционально законченное устройство обработки информации, управляемое хранимой в памяти программой. Появление микропроцессоров (МП) стало возможным благодаря развитию интегральной электроники. Это позволило перейти от схем малой и средней степени интеграции к большим и сверхбольшим интегральным микросхемам (БИС и СБИС). По логическим функциям и структуре МП напоминает упрощенный вариант процессора обычных ЭВМ. Конструктивно он представляет собой одну или несколько БИС или СБИС. По конструктивному признаку МП можно разделить на однокристальные МП с фиксированной длиной (разрядностью) слова и определенной системой команд; многокристальные (секционные) МП с наращиваемой разрядностью слова и микропрограммным управлением (они состоят из двух БИС и более). В последнее время появились однокристальные МП с микропрограммным управлением. Архитектура многокристального МП с микропрограммным управлением позволяет достичь гибкости в его применении и сравнительно простыми средствами организовать параллельное выполнение отдельных машинных операций, что повышает производительность ЭВМ на таких МП. Несмотря на то, что возможности многокристальных МП существенно выше, чем у однокристальных, многие прикладные задачи успешно решаются на основе однокристального микропроцессора. Развитие микропроцессоров. ЭВМ получили широкое распространение, начиная с 50-х годов. Прежде это были очень большие и дорогие устройства, используемые лишь в государственных учреждениях и крупных фирмах. Размеры и форма цифровых ЭВМ неузнаваемо изменились в результате разработки новых устройств, называемых микропроцессорами. Микропроцессор (МП) - это программно-управляемое электронное цифровое устройство, предназначенное для обработки цифровой информации и управления процессом этой обработки, выполненное на одной или нескольких интегральных схемах с высокой степенью интеграции электронных элементов. В 1970 году Маршиан Эдвард Хофф из фирмы Intel сконструировал интегральную схему, аналогичную по своим функциям центральному процессору большой ЭВМ - первый микропроцессор Intel-4004, который уже в 1971 году был выпущен в продажу. 15 ноября 1971 г. можно считать началом новой эры в электронике. В этот день компания приступила к поставкам первого в мире микропроцессора Intel 4004. Это был настоящий прорыв, ибо МП Intel-4004 размером менее 3 см был производительнее гигантской машины ENIAC. Правда работал он гораздо медленнее и мог обрабатывать одновременно только 4 бита информации (процессоры больших ЭВМ обрабатывали 16 или 32 бита одновременно), но и стоил первый МП в десятки тысяч раз дешевле. Кристалл представлял собой 4-разрядный процессор с классической архитектурой ЭВМ гарвардского типа и изготавливался по передовой p-канальной МОП технологии с проектными нормами 10 мкм. Электрическая схема прибора насчитывала 2300 транзисторов. МП работал на тактовой частоте 750 кГц при длительности цикла команд 10,8 мкс. Чип i4004 имел адресный стек (счетчик команд и три регистра стека типа LIFO), блок РОНов (регистры сверхоперативной памяти или регистровый файл - РФ), 4-разрядное параллельное АЛУ, аккумулятор, регистр команд с дешифратором команд и схемой управления, а также схему связи с внешними устройствами. Все эти функциональные узлы объединялись между собой 4-разрядной ШД. Память команд достигала 4 Кбайт (для сравнения: объем ЗУ миниЭВМ в начале 70-х годов редко превышал 16 Кбайт), а РФ ЦП насчитывал 16 4-разрядных регистров, которые можно было использовать и как 8 8-разрядных. Такая организация РОНов сохранена и в последующих МП фирмы Intel. Три регистра стека обеспечивали три уровня вложения подпрограмм. МП i4004 монтировался в пластмассовый или металлокерамический корпус типа DIP (Dual In-line Package) всего с 16 выводами. В систему его команд входило всего 46 инструкций. Вместе с тем кристалл располагал весьма ограниченными средствами ввода/вывода, а в системе команд отсутствовали операции логической обработки данных (И, ИЛИ, ИСКЛЮЧАЮЩЕЕ ИЛИ), в связи с чем их приходилось реализовывать с помощью специальных подпрограмм. Модуль i4004 не имел возможности останова (команды HALT) и обработки прерываний. Цикл команды процессора состоял из 8 тактов задающего генератора. Была мультиплексированная ША (шина адреса)/ШД (шина данных), адрес 12-разрядный передавался по 4-разряда. 1 апреля 1972 г. фирма Intel начала поставки первого в отрасли 8-разрядного прибора i8008. Кристалл изготавливался по р-канальной МОП-технологии с проектными нормами 10 мкм и содержал 3500 транзисторов. Процессор работал на частоте 500 кГц при длительности машинного цикла 20 мкс (10 периодов задающего генератора). В отличие от своих предшественников МП имел архитектуру ЭВМ принстонского типа, а в качестве памяти допускал применение комбинации ПЗУ и ОЗУ. По сравнению с i4004 число РОН уменьшилось с 16 до 8, причем два регистра использовались для хранения адреса при косвенной адресации памяти (ограничение технологии - блок РОН аналогично кристаллам 4004 и 4040 в МП 8008 был реализован в виде динамической памяти). Почти вдвое сократилась длительность машинного цикла (с 8 до 5 состояний). Для синхронизации работы с медленными устройствами был введен сигнал готовности READY. Система команд насчитывала 65 инструкций. МП мог адресовать память объемом 16 Кбайт. Его производительность по сравнению с четырехразрядными МП возрасла в 2,3 раза. В среднем для сопряжения процессора с памятью и устройствами ввода/вывода требовалось около 20 схем средней степени интеграции. Возможности р-канальной технологии для создания сложных высокопроизводительных МП были почти исчерпаны, поэтому "направление главного удара" перенесли на n-канальную МОП технологию. 1 апреля 1974 МП Intel 8080 был представлен вниманию всех заинтересованных лиц. Благодаря использованию технологии п-МОП с проектными нормами 6 мкм, на кристалле удалось разместить 6 тыс. транзисторов. Тактовая частота процессора была доведена до 2 Мгц, а длительность цикла команд составила уже 2 мкс. Объем памяти, адресуемой процессором, был увеличен до 64 Кбайт. За счет использования 40-выводного корпуса удалось разделить ША и ШД, общее число микросхем, требовавшихся для построения системы в минимальной конфигурации сократилось до 6 (рис. 1).
Рис. 1. Микропроцессор Intel 8080. В РФ были введены указатель стека, активно используемый при обработке прерываний, а также два программнонедоступных регистра для внутренних пересылок. Блок РОНов был реализован на микросхемах статической памяти. Исключение аккумулятора из РФ и введение его в состав АЛУ упростило схему управления внутренней шиной. Новое в архитектуре МП - использование многоуровневой системы прерываний по вектору. Такое техническое решение позволило довести общее число источников прерываний до 256 (до появления БИС контроллеров прерываний схема формирования векторов прерываний требовала применения до 10 дополнительных чипов средней интеграции). В i8080 появился механизм прямого доступа в память (ПДП) (как ранее в универсальных ЭВМ IBM System 360 и др.). ПДП открыл зеленую улицу для применения в микроЭВМ таких сложных устройств, как накопители на магнитных дисках и лентах дисплеи на ЭЛТ, которые и превратили микроЭВМ в полноценную вычислительную систему. Традицией компании, начиная с первого кристалла, стал выпуск не отдельного чипа ЦП, а семейства БИС, рассчитанных на совместное использование. Микропроцессор, иначе, центральный процессор - Central Processing Unit (CPU) - функционально законченное программно-управляемое устройство обработки информации, выполненное в виде одной или нескольких больших (БИС) или сверхбольших (СБИС) интегральных схем. Для МП на БИС или СБИС характерны:
Микропроцессор выполняет следующие функции:
Принцип работы микропроцессора.
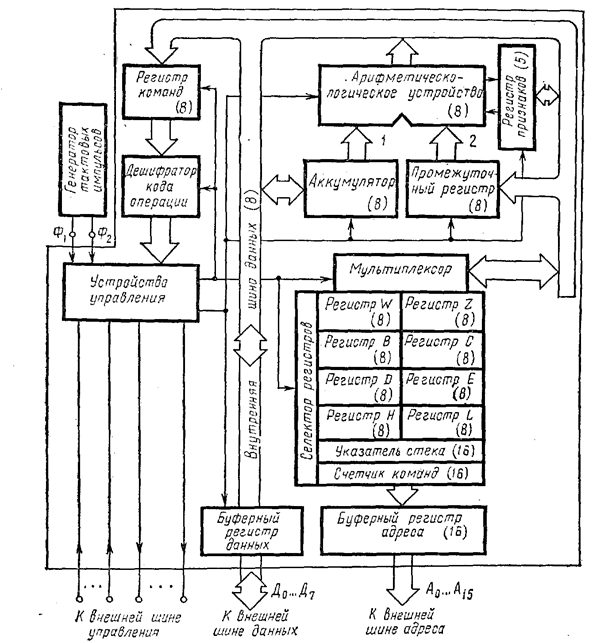
В состав МП (рис. 1) входят арифметическо-логическое устройство, устройство управление и блок внутренних регистров. Арифметическо-логическое устройство состоит из двоичного сумматора со схемами ускоренного переноса, сдвигающего регистры и регистров для временного хранения операндов. Обычно это устройство выполняет по командам несколько простейших операций: сложение, вычитание, сдвиг, пересылку, логическое сложение (ИЛИ), логическое умножение (И), сложение по модулю 2. Устройство управления управляет работой АЛУ и внутренних регистров в процессе выполнения команды. Согласно коду операций, содержащемуся в команде, оно формирует внутренние сигналы управления блоками МП. Адресная часть команды совместно с сигналами управления используется для считывания данных из определенной ячейке памяти или для записи данных в ячейку. По сигналам УУ осуществляется выборка каждой новой, очередной команды. Блок внутренних регистров БВР, расширяющий возможности АЛУ, служит внутренней памятью МП и используется для временного хранения данных и команд. Он также выполняет некоторые процедуры обработки информации. На рисунке (2) приведена более подробная структурная схема однокристального МП. Здесь блок внутренних регистров содержит регистры общего назначения и специальные регистры: регистр-аккумулятор, буферный регистр адреса, буферный регистр данных, счетчик команд, стека, признаков. Регистры общего назначения (РОН), число которых может изменятся от 4 до 64, определяют вычислительные возможности МП. Их функция – хранение операндов. Но могут выполнять также и роль регистров. Все РОН доступны программисту, который рассматривает их как сверхоперативное запоминающее устройство. Регистр – аккумулятор («накопитель»), предназначен для временного хранения операнда или промежуточного результата действий производимой в АЛУ. Разрядность регистра равна разрядности информационного слова. Буферный регистр адреса служит для приема и хранения адресной части выполняемой команды. Возможное количество адресов, определяется разрядностью регистра. Буферный регистр данных используется для временного хранения выбранного из памяти слова перед передачей его во внешнюю шину данных. Его разрядность определяется количеством байт информационного слова. Счетчик команд содержит адрес ячейки памяти, в которой помещены байты выполняемой команды. Регистр команд принимает и хранит код очередной команды, адрес которой находится в счетчике команд. По сигналу УУ в него передается из регистра хранимая там информация. Регистры стека делятся на стек и указатель стека. В МП стек – набор регистров, хранящих адреса команд возврата при обращении к подпрограммам или состояние внутренних регистров при обработке прерываний. Стек может быть выполнен не только на внутренних регистрах МП, составляя его часть, но и находиться в ОЗУ, занимая там отведенную для него зону. В последнем случае для обращения к нему необходим специальный регистр – указатель стека. Указатель стека хранит адреса последней занятой ячейки стека, которую называют вершиной. Содержащее в указателе число указывает, где находится вершина стека. Когда в стек записывается очередное слово, то число в указателе стека соответственно увеличивается. Извлечение слова из стека сопровождается, наоборот, уменьшением числа, заполняющего указатель стека. Кроме такой процедуры предусматривается возможность считывания без разрушений содержимого любой ячейки стека при неизменном числе, хранимом в указателе стека. Регистр признаков представляет собой набор триггеров – флажков. В зависимости от результатов операций, выполняемых АЛУ, каждый триггер устанавливается в состояние 0 или 1. Флажковые биты, определяющие содержимое регистра, индицируют условные признаки: нулевого результата, знака результата, перевыполнения и т. п. Эта информация, характеризующая состояние процессора, важна для выбора дальнейшего пути вычислений. Рассмотрим более подробно основные части микропроцессора (рис. 2).
Шиной называют группу линий передачи информации, объединенных общим функциональным признаком. В микропроцессорной схеме используется три вида шин: данных, адресов и управления. Разрядность внутренней шины данных т. е. количество передаваемых по ней одновременно (параллельно) битов числа соответствует разрядности слов, которыми оперирует МП. Очевидно, что разрядность внутренней и внешней шин данных должна быть одной и той же. У восьмиразрядного МП внутренняя шина данных состоит из восьми линий, по которым можно передавать последовательно восьмиразрядные слова – байты. Следует иметь в виду, что по шине данных передаются на только обрабатываемые АЛУ слова, но и командная информация. Следовательно, недостаточно высокая разрядность шины данных может ограничить состав (сложность) команд и их число. Поэтому разрядность шины данных относят к важным характеристикам микропроцессора – она в большей мере определяет его структуру (числа разрядов указаны на рисунке в скобках рядом с названиями блоков). Шина данных МП работает в режиме двунаправленной передачи, т. е. по ней можно передавать слова в обоих направлениях, но не одновременно. В этом случае требуется применение специальных буферных схем и мультиплексного режима обмена данных между МП и внешней памятью. Мультиплексный режим (от английского слова multiple – многократный, множественный), иногда называемый многоточечным , - режим одновременного использования канала передачи большим числом абонентов с разделением во времени средств управления обменом. Мультиплексор – устройство, которое выбирает данные от одного, двух (или более) входных информационных каналов и подает эти данные на свой выход. Схема мультиплексора состоит из двухвходовых логических элементов И – ИЛИ, управляемых распределителем импульсов. Промышленностью выпускаются мультиплексоры, которые могут входить в состав , а также в виде отдельных БИС (например, восьмивходовый одноразрядный; двухвходовый четырехразрядный; трехвходовый четырехразрядный и др.). Демультиплексор – устройство, выполняющее противоположную мультиплексору функцию, - подает данные, подводимые к его входу, на один (или более) выходной информационный канал. Мультиплексоры и демультиплексоры позволяют компоновать из микропроцессорных элементов микроЭВМ для любой длины машинного слова. Предположим, что задача обработки данных заключается в сложении двух операндов, каждый из которых представляет собой восьмиразрядное двоичное число – байт. Восьмиразрядное арифметически – логическое устройство выполняет все арифметические и логические операции. На первый вход АЛУ поступает байт из восьмиразрядного аккумулятора , а на второй вход – из восьмиразрядного промежуточного регистра . Результат сложения указанных двух байтов передается с выхода АЛУ через внутреннюю шину данных в аккумулятор. Такая организация удовлетворяет одноадресной организации микропроцессора. Для нее характерно то, что один из операндов, участвующих в обработке, всегда находится в аккумуляторе, адрес которого задан неявно. Поэтому при выполнении операции сложения двух операндов требуется указывать только один адрес – второго операнда, содержащегося, например в одном из восьми регистров общего назначения (РОН). К АЛУ подключены регистр признаков , предназначенный для хранения и анализа признаков результата операции, и схема десятичной коррекции (на рис. 2 не показана), позволяющая проводить обработку данных в двоично-десятичном коде. В состав микропроцессора входят также указатель стек, счетчик команд, буферный регистр адреса, ОЗУ. Первые два РОН – регистры W и Z – предназначены для кратковременного хранения данных во время выполнения команды (эти регистры недоступны программисту), остальные шесть РОН – регистры B, C, D, E, H и L – cлужат ячейками внутренней памяти, называемой сверхоперативным запоминающим устройством (СОЗУ). В них хранятся операнды, подлежащие обработки в АЛУ, результаты обработки данных, выполненных в АЛУ, и управляющие слова. В каждом регистре помещается один байт. Обращение к РОН – адресное. Попарное расположение регистров B и C, в и E, H и L дает возможность проводить обработку двухбайтовых слов, называемую обработкой “удвоенной точности”. Обмен данными с РОН (считывание и запись информации) осуществляется через мультиплексор , причем требуемый регистр выбирается с помощью селектора регистров по сигналу УУ . В левой части рис. 2 расположены регистр команд, дешифратор кода операции и УУ (хотя дешифратор относится к УУ, он нарисован отдельно для большей наглядности). Стековый регистр адреса на рисунке отсутствует, так как стек представляет собой определенную зону ОЗУ. Обмен информацией между регистрами и другими блоками микропроцессора производится через внутреннюю шину данных, причем передачи команд и данных разделены во времени. Связь с внешней шиной данных осуществляется через буферный регистр данных . Микропроцессор – это программно-управляемое устройство. Процедура выполняемой им обработки данных определяется программой, т. е. совокупностью команд. Команда делится на две части: код операции и адрес. В коде операции заключена информация о том, какая операция должна быть выполнена над данными, подлежащими обработке. Адрес указывает место, где расположены эти данные (в регистрах общего назначения микропроцессора, т. е. во внутренней или внешней памяти). Слово данных, подвергаемое обработке, представляет один байт. Команда может состоять из одного, двух или трех байтов, последовательно расположенных в памяти. Первый байт команды содержит код операции. Считанный в начале интервала выполнения команды, называемого циклом команды, ее первый байт поступает по внутренней шине данных в регистр команд, где хранится в течение всего цикла. Дешифратор кода операции дешифрует содержимое регистра команд – определяет характер операции и адреса операндов. Эта информация подается в УУ, которое вырабатывает управляющие сигналы, направляемые в блоки микропроцессора, участвующие в выполнении данной команды. В том случае, когда код операции непосредственно указывает адрес данных – объекта обработки, операция начинается сразу после считывания первого байта команды. Если же в команде содержится более одного байта, то остальные байты, несущие информацию об адресе ячейки памяти, где хранятся данные, передаются либо в буферный регистр адреса, либо в один из РОН только после завершения всей процедуры считывания команды или, иначе говоря, после получения полной информации о местонахождении операндов и о том, какая операция должна выполнятся, начинается операция. Рассмотрим пример выполнения операции сложения двух операндов. Первый операнд хранится в аккумуляторе, второй в одном из РОН (его адрес указан в команде), откуда он передается в промежуточный регистр. Согласно коду операции АЛУ суммирует поступающие на его вход байты и выдает результат, который фиксируется в аккумуляторе. Этот результат можно использовать при дальнейших этапах обработки. Наряду с многокристальными и однокристальными МП используются секционированные или разрядно-модульные МП. Основной их отличительной особенностью является то, что каждый модуль предназначен для обработки нескольких разрядов машинного слова, а слово в целом обрабатывается группой модулей или секций, соединенных между собой. Архитектура микропроцессора ( Architecture ) – принцип его внутренней организации, общая структура, конкретная логическая структура отдельных устройств. Понятие архитектуры микропроцессора включает в себя систему команд и способы адресации, возможность совмещения выполнения команд во времени, наличие дополнительных устройств в составе микропроцессора, принципы и режимы его работы. Выделяют понятия микроархитектуры и макроархитектуры. Микроархитектура микропроцессора - это аппаратная организация и логическая структура микропроцессора, регистры, управляющие схемы, арифметико-логические устройства, запоминающие устройства и связывающие их информационные магистрали. Макроархитектура микропроцессора - это система команд, типы обрабатываемых данных, режимы адресации и принципы работы микропроцессора. В общем случае под архитектурой ЭВМ понимается абстрактное представление машины в терминах основных функциональных модулей, языка ЭВМ, структуры данных. 1. В соответствии с архитектурными особенностями, определяющими свойства системы команд, различают: · Микропроцессоры с CISC архитектурой. CISC (Complex Instruction Set Computer) - Компьютер со сложной системой команд. Исторически они первые и включают большое количество команд. Все микропроцессоры корпораций Intel (Integrated Electronics) и AMD (Advanced Micro Devices) относятся к категории CISC. · Микропроцессоры с RISC архитектурой. RISC (Reduced Instruction Set Computer) - Компьютер с сокращенной системой команд. Упрощена система команд и сокращена до такой степени, что каждая инструкция выполняется за единственный такт. Вследствие этого упростилась структура микропроцессора, и увеличилось его быстродействие. Пример микропроцессора с RISC-аpхитектуpой - Power PC. Микропроцессор Power PC начал разрабатываться в 1981 году тремя фирмами: IBM, Motorola, Apple. · Микропроцессоры с MISC архитектурой. MISC (Minimum Instruction Set Computer) - Компьютер с минимальной системой команд. Последовательность простых инструкций объединяется в пакет, таким образом, программа преобразуется в небольшое количество длинных команд. 2. Разрядность – максимальное количество разрядов двоичного кода, которые могут обрабатываться или передаваться одновременно. Современные микропроцессоры построены на 32-х битной архитектуре x 86 или IA -32 (Intel Architecture 32 bit), но совсем скоро произойдет переход на более совершенную, производительную 64-х битную архитектуру IA -64 (Intel Architecture 64 bit). Фактически переход уже начался, этому свидетельствует массовый выпуск и выход в продажу в 2003 году нового микропроцессора Athlon 64 корпорации AMD (Advanced Micro Devices), этот микропроцессор примечателен тем, что может работать как с 32-х битными приложениями, так и с 64-х битными. Производительность 64-х битных микропроцессоров намного выше.
Разрядность микропроцессора обозначается m/n/k/ и включает: m - разрядность внутренних регистров, определяет принадлежность к тому или иному классу процессоров; n - разрядность шины данных, определяет скорость передачи информации; k - разрядность шины адреса, определяет размер адресного пространства. (Например, микропроцессор i8088 характеризуется значениями m/n/k=16/8/20) 3. Объем адресуемой памяти – максимальный объем памяти, который может обслужить микропроцессор. 32-х разрядный микропроцессор может обслужить 64 Гб (4х109 байт) памяти, а 64-х разрядный микропроцессор может обслужить 64 Тб (64х1012 байт) памяти. 4. Набор дополнительных инструкций ( Instruction Set ) - применяются в современных CISC-микропроцессорах и способны значительно ускорить их работу. Естественно только при условии поддержки данных наборов со стороны приложения. Все традиционные современные процессоры поддерживают набор инструкций MMX, который был самым первым (разработан корпорацией Intel еще в 1997 году). MMX расшифровывается как MultiMedia eXtensions (мультимедийные расширения). Он представил дополнительные возможности, ориентированные на обработку цифрового изображения и звука. В основе технологии лежит концепция (микроархитектура) SIMD (Single Instruction Many Data – "одна команда, много данных"), когда при помощи одной инструкции одновременно обрабатывается несколько элементов данных. SSE, SSE2, 3DNow! - дальнейшее развитие этой идеи. Микропроцессоры Intel Pentium 3 поддерживают SSE, а Pentium 4 и AMD Athlon 64 еще и SSE2 (это относится и к соответствующим микропроцессорам Intel Celeron). Процессоры AMD Athlon и Duron поддерживают наборы инструкций 3DNow!Professional и MMX, в Athlon XP была добавлена поддержка SSE (на уровне микрокода ядра). Технологический процесс производства ( Process Technology ) – техпроцесс определяет размеры элементов и соединений между ними в интегральной схеме. Измеряется в микрометрах (0,35 μm; 0,25 μm;…). Чем меньше число, тем меньше сам кристалл, следовательно, меньше потребляемая мощность и тепловыделение. А ведь тепловыделение сильно препятствует увеличению частоты, на которой работает микропроцессор. Где-то в 1997 году произошел переход с 0,25 μm на 0,18 μm технологию производства. А уже в 2001 году произошел переход на 0,13 μm технологию, что позволило намного увеличить частоту. Вот-вот произойдет переход на 0,09 μm. Производительность микропроцессора определяется параметрами: 1. Тактовая частота (Частота ядра) ( Internal clock ) – это количество электрических импульсов в секунду. Каждый импульс несет в себе некую информацию - это могут быть команды процессору или данные памяти. Тактовая частота задается кварцевым генератором - одним из блоков, расположенных на материнской плате. Тактовая частота кварцевого генератора выдерживается с очень высокой точностью и лежит в мега или гигагерцовом диапазоне. Один герц - один импульс, один мегагерц - один миллион импульсов, один гигагерц - тысяча мегагерц. Микропроцессор, работающий на тактовой частоте 800 МГц, выполняет 800 миллионов рабочих тактов в секунду. В зависимости от сложности обрабатываемой команды процессору для выполнения задачи необходимы сотни и тысячи тактов. Но для выполнения простых операций бывает достаточно одного такта. Чем выше тактовая частота ядра, тем выше скорость обработки данных. Современные микропроцессоры работают на частотах от 300 МГц до 4,7 ГГц. 2. Частота системной шины ( System clock или Front Side Bus ) – системная шина служит для связи микропроцессора с остальными устройствами. Микропроцессор имеет две частоты: тактовая частота ядра и частота системной шины. Чем выше частота системной шины, тем выше скорость передачи данных между микропроцессором и остальными устройствами. Частота системной шины современных микропроцессоров от 66 МГц до 266МГц. 3. Объем Кэш-памяти ( Cache ) – Кэш-память быстрая память малой емкости, используемая процессором для ускорения операций, требующих обращения к памяти. Кеш – промежуточное звено между микропроцессором и опретивной памятью. Различают несколько уровней кэша: кэш первого уровня (L1) - кэш команд (инструкций) которые предстоит исполнить, кэш первого уровня размещается на одном кристалле с процессором. Кэш второго уровня (L2) - кэш данных - используется для ускорения операций с данными (в первую очередь чтения). На общую производительность влияет размер кэша L2. Чем больше L2, тем дороже процессор, т.к. память для кэша еще очень дорога. Поэтому эффективнее увеличивать частоту кэша, а для этого он должен находиться как можно ближе к ядру процессора. Кэш-память может работать на частоте 1/4, 1/3, 1/2, 1/1 от частоты ядра. Современные микропроцессоры имеют кэш объемом от 8 Кб до 5Мб. Предельно эксплуатационные параметры микропроцессоров: 1. Напряжение питания микропроцессора – величина питающего напряжения микропроцессоров зависит от технологического процесса и от частоты ядра. Чем меньше кристалл и ниже частота, тем меньше напряжение питания. Напряжение питания современных микропроцессоров от 0,5 В до 3,5 В, чаще всего от 1,2 В до 1,75 В. 2. Ток ядра – у современных микропроцессоров ток, протекающий через ядро от 1 А до 90 А. 3. Потребляемая мощность – зависит от величины питающего напряжения и от частоты ядра. Чем меньше напряжение питания и частота, тем меньше потребляемая мощность. Мощность современных микропроцессоров от 1Вт до 120 Вт. Чаще всего в пределах 40-70 Вт. 4. Максимальная температура нагрева кристалла – максимальная температура кристалла, при которой возможна стабильная работа микропроцессора. У современных микропроцессоров она колеблется в пределах от 60˚С до 95˚С. Физические параметры микропроцессорв (Форм-фактор): 1. Тип, размеры корпуса 2. Размеры кристалла 3. Количество выводов 4. Форма расположения выводов Микропроцессор AMD Duron 1100 (Morgan)
Технология производства: 0,18 μm Количество выводов: 462 Площадь ядра: 106 мм2 Количество транзисторов: 25,2 млн
Современные технологии полупроводникового производства. В последние годы к стадии возможности использования в коммерческом производстве подошел целый ряд технологий, позволяющих заметно увеличить скорость работы транзисторов, либо столько же заметно уменьшить размер чипа без перехода на более тонкий технологический процесс. Некоторые из этих технологий уже начали применяться в течение последних месяцев, их названия упоминаются в новостях, относящихся к компьютерам, все чаще. Эта статья – попытка сделать краткий обзор подобных технологий, попытавшись заглянуть в самое ближайшее возможное будущее чипов, находящихся в наших компьютерах. Первая интегральная схема, где соединения между транзисторами сделаны прямо на подложке, была сделана более 40 лет назад. За это время технология их производства претерпела ряд больших и малых улучшений, пройдя от первой схемы Джека Килби до сегодняшних центральных процессоров, состоящих из десятков миллионов транзисторов, хотя для серверных процессоров впору уже говорить о сотнях миллионов. Здесь пойдет речь о некоторых последних технологиях в этой области, таких, как медные проводники в чипах, SiGe, SOI, перовскиты. Но сначала необходимо в общих чертах затронуть традиционный процесс производства чипов из кремниевых пластин. Нет необходимости описывать процесс превращения песка в пластины, поскольку все эти технологии не имеют к столь базовым шагам никакого отношения, поэтому начнем с того, что мы уже имеем кремниевую пластину, диаметр которой на большинстве сегодняшних фабрик, использующих современные технологии, составляет 20 см. Ближайшим шагом на ее превращении в чипы становится процесс окисления ее поверхности, покрытия ее пленкой окислов - SiO2, являющейся прекрасным изолятором и защитой поверхности пластины при литографии.
Дальше на пластину наносится еще один защитный слой, на этот раз - светочувствительный, и происходит одна из ключевых операций - удаление в определенных местах ненужных участков его и пленки окислов с поверхности пластины, до обнажения чистого кремния, с помощью фотолитографии. На первом этапе пластину с нанесённой на её поверхность плёнкой светочувствительного слоя помещают в установку экспонирования, которая по сути работает как фотоувеличитель. В качестве негатива здесь используется прецизионная маска - квадратная пластина кварцевого стекла покрытая плёнкой хрома там, где требуется. Хромированные и открытые участки образуют изображение одного слоя одного чипа в масштабе 1:5. По специальным знакам, заранее сформированным на поверхности пластины, установка автоматически выравнивает пластину, настраивает фокус и засвечивает светочувствительный слой через маску и систему линз с уменьшением так, что на пластине получается изображение кристалла в масштабе 1:1. Затем пластина сдвигается, экспонируется следующий кристалл и так далее, пока не обработаются все чипы на пластине. Сама маска тоже формируется фотохимическим способом, только засвечивание светочувствительного слоя при формировании маски происходит по программе электронным лучом примерно также, как в телевизионном кинескопе.
В результате засвечивания химический состав тех участков светочувствительного слоя, которые попали под прозрачные области фотомаски, меняется. Что дает возможность удалить их с помощью соответствующих химикатов или других методов, вроде плазмы или рентгеновских лучей.
После чего аналогичной процедуре (уже с использованием других веществ, разумеется) подвергается и слой окислов на поверхности пластины. И снова, опять же, уже новыми химикатами, снимается светочувствительный слой:
Потом накладывается следующая маска, уже с другим шаблоном, потом еще одна, еще, и еще... Именно этот этап производства чипа является критическим в плане ошибок: любая пылинка или микроскопический сдвиг в сторону при наложении очередной маски, и чип уже может отправиться на свалку. После того, как сформирована структура чипа, пришло время для изменения атомной структуры кремния в необходимых участках путем добавления различных примесей. Это требуется для того, чтобы получить области кремния с различными электрическими свойствами - p-типа и n-типа, то есть, как раз то, что требуется для создания транзистора. Для формирования p-областей используются бор, галлий, алюминий, для создания n-областей - сурьма, мышьяк, фосфор. Поверхность пластины тщательно очищается, чтобы вместе с примесями в кремний не попали лишние вещества, после чего она попадает в камеру для высокотемпературной обработки и на нее, в том или ином агрегатном состоянии, с использованием ионизации или без, наносится небольшое количество требуемых примесей. После чего, при температуре порядка от 700 до 1400 градусов, происходит процесс диффузии, проникновения требуемых элементов в кремний на его открытых в процессе литографии участках. В результате на поверхности пластины получаются участки с нужными свойствами. И в конце этого этапа на их поверхность наносится все та же защитная пленка из окисла кремния, толщиной порядка одного микрона.
Все. Осталось только проложить по поверхности чипа металлические соединения (сегодня для этой роли обычно используется алюминий, а соединения сегодня обычно расположены в 6 слоев), и дело сделано. В общих чертах, так в результате и получается, к примеру, классический МОП транзистор: при наличии напряжения на затворе начинается перемещение электронов между измененными областями кремния.
Теперь, слегка пробежавшись по классическому процессу создания сегодняшних чипов, можно более уверенно перейти к обзору технологий, которые предполагают внести определенные коррективы в эту картину. Медные соединения
Первая из них, уже начавшая широко внедряться в коммерческое производство - это замена на последнем этапе алюминия на медь. Медь является лучшим проводником, чем алюминий (удельное сопротивление 0,0175 против 0,028 ом*мм2/м), что, в полном соответствии с законами физики, позволяет уменьшить сечение межкомпонентных соединений. Вполне своевременно, учитывая постоянное движение индустрии в сторону уменьшения размеров транзисторов и увеличения плотности их размещения на чипе, когда использование алюминия начинает становиться невозможным. Индустрия начала сталкиваться с этой проблемой уже в первой половине 90-х. Вдобавок, что толку в ускорении самих транзисторов, если соединения между ними будут съедать весь прирост скорости? Проблемой при переходе на медь являлось то, что алюминий куда лучше образует контакт с кремнием. Однако после не одного десятка лет исследований, ученым удалось найти принцип создания сверхтонкой разделительной области между кремниевой подложкой и медными проводниками, предотвращающей диффузию этих двух материалов. По данным IBM, применение в технологическом процессе меди вместо алюминия, позволяет добиться снижения себестоимости примерно на 20-30 процентов за счет снижения площади чипа. Их технология CMOS 7S, использующая медные соединения, позволяет создавать чипы, содержащие до 150-200 миллионов транзисторов. И, наконец, просто увеличение производительности чипа (до 40 процентов) за счет меньшего сопротивления проводников. IBM начала предлагать клиентам эту технологию в начале 98 года, в конце этого года своим заказчикам предложили использовать медь при производстве их чипов TSMC и UMC, AMD начинает выпуск медных Athlon в начале 2000 года, Intel переходит на медь в 2002 году, одновременно с переходом на 0.13 мкм техпроцесс. SiGe Соединения - соединениями, но уже на скорости чипа в несколько ГГц перестает справляться с нагрузкой сама кремниевая подложка. И если для традиционных областей применения чипов кремния пока достаточно, в области беспроводной связи уже давно дефицит на дешевые скоростные чипы. Кремний - дешево, но медленно, арсенид галлия - быстро, но дорого. Решением здесь стало использование в качестве материала для подложек соединения двух основ полупроводниковой индустрии - кремния с германием, SiGe. Практические результаты по этой технологии стали появляться с конца 80-х годов. Первый биполярный транзистор, созданный с использованием SiGe (когда германий используется как материал для базы), был продемонстрирован в 1987 году. В 1992 году уже появилась возможность применения при производстве чипов с SiGe транзисторами стандартной технологии КМОП с разрешением 0.25 мкм. Результатом применения становится увеличение скорости чипов в 2-4 раза по сравнению с той, что может быть достигнута путем использования кремния, во столько же снижается и их энергопотребление. При этом, в ход вступает все тот же решающий фактор - стоимость: SiGe чипы можно производить на тех же линиях, которые используются при производстве чипов на базе обычных кремниевых пластин, таким образом отпадает необходимость в дорогом переоснащении производственного оборудования. По информации IBM, потенциальная скорость транзистора (не чипа!) с их технологией составляет сегодня 45-50 ГГц (что далеко не рекорд), ведутся работы над увеличением этой цифры до 120 ГГц. Впрочем, в ближайшие годы прихода SiGe в компьютер ждать не стоит - при тех скоростях, что потребуется PC чипам в ближайшем будущем вполне хватает кремния, легированного такими технологиями, как медные соединения или SOI. Кремний на изоляторе (silicon-on-insulator, SOI) Еще одна технология, позволяющая достаточно безболезненно повысить скорость чипов, не требуя от производителей отказаться от всех их сегодняшних наработок. Как и технология медных соединений, SOI позволяет создателям чипов убить двух зайцев одним выстрелом - поднять скорость, до 25 процентов, одновременно снизив энергопотребление. Что из себя представляет эта технология? Вспомним начало обработки кремниевой пластины - она покрывается тонкой пленкой окисла кремния. А в SOI к этому бутерброду добавляется еще один элемент - сверху опять наносится тонкий слой кремния:
Вот и получается - кремний на изоляторе. Зачем это понадобилось? Чтобы уменьшить емкость. В идеале МОП транзистор должен выключаться, как только будет исчезнет питание с затвора (или наоборот, появится, в случае с КМОП). Но наш мир далеко не идеален, это справедливо и в данном конкретном случае. На время срабатывания транзистора напрямую влияет емкость области между между измененными участками кремния, через которую и идет ток при включении транзистора. Он начинает и заканчивает идти не мгновенно, а только после, соответственно, зарядки и разрядки этой промежуточной зоны. Понятно, что чем меньше это время, тем быстрее работает транзистор, можно сказать, что тем меньше его инерция. Для того и придумана SOI - при наличии между измененными участками и основной массой кремния тонкой пластинки изолирующего вещества (окисел кремния, стекло, и т.д.), этот вопрос снимается, и транзистор начинает работать заметно быстрее.
Основная сложность в данном случае, как и в случае с медными соединениями, заключается в разных физических свойствах вещества. Кремний, используемый в подложке - кристалл, пленка окислов - нет, и закрепить на ее поверхности, или же не поверхности другого изолятора еще один слой кристаллического кремния весьма трудно. Вот как раз проблема создания идеального слоя и заняла весьма много времени. Не так давно IBM уже продемонстрировала процессоры PowerPC и чипы SRAM, созданные с использованием этой технологии, просигнализировав этим о том, что SOI подошла к стадии возможности коммерческого применения. Совсем недавно, IBM объявила о том, что она достигла возможности сочетать SOI и медные соединения на одном чипе, пользуясь плюсами обеих технологий. Тем не менее, пока что никто кроме нее не заявил публично о намерении использовать эту технологию при производстве чипов, хотя о чем-то подобном речь идет. Перовскиты Поиски замены на роль изолирующей пленки на поверхности подложки идут давно, учитывая, что как и алюминий, диоксид кремния начинает сдавать в последнее время - при постоянном увеличении плотности транзисторов на чипе необходимо уменьшать толщину его изолирующего слоя, а этому есть предел, поставленный его электрическими свойствами, который уже довольно близок. Однако пока, несмотря на все попытки, SiO2 по прежнему находится на своем месте. В свое время IBM, предполагала использовать в этой роли полиамид, теперь пришла очередь Motorola выступить со своим вариантом - перовскиты. Этот класс минералов в природе встречается довольно редко - Танзания, Бразилия и Канада, но может выращиваться искусственно. Кристаллы перовскитов отличаются очень высокими диэлектрическими свойствами: использованный Motorola титанат стронция превосходит по этому параметру диоксид кремния более чем на порядок. А это позволяет в три-четыре раза снизить толщину транзисторов по сравнению с использованием традиционного подхода. Что, в свою очередь, позволяет значительно снизить ток утечки, давая возможность заметно увеличить плотность транзисторов на чипе, одновременно сильно уменьшая его энергопотребление. Пока что эта технология находится в достаточно ранней стадии разработки, однако Motorola уже продемонстрировала возможность нанесения пленки перовскитов на поверхность стандартной 20 см кремниевой пластины, а также рабочий КМОП транзистор, созданный на базе этой технологии. Список литературы, источники:
· «Аппаратные средства PC» К. Айден, Х. Фибельман, М. Крамер «BHV – Санкт-Петербург» Санкт-Петербург, 1997г. · «Основы промышленной электроники» В.Г. Герасимов (третье издание) «Высшая школа» Москва, 1986г. · «Технология и конструкция микросхем, микропроцессоров и микросборок» Л.А. Коледов «Радио и связь» Москва, 1989г. · «Инженер-конструктор технолог микроэлектронной и микропроцессорной техники» Б.Ф. Высоцкий «Радио и связь» Москва, 1988г. · Журнал «CHIP» №08/2002 «Издательский дом «Бурда» www.burda.ru · Журнал «CHIP» №09/2002 «Издательский дом «Бурда» www.burda.ru · Журнал «CHIP» №12/2002 «Издательский дом «Бурда» www.burda.ru · Журнал «CHIP» №01/2003 «Издательский дом «Бурда» www.burda.ru · Журнал «Hardware», №39, 1997 год · ©2001-2003 http://www.Overclockers.ru/ - "Российский оверклокерский портал. Справочник по разгону. Пользовательская и лабораторная статистика разгона процессоров. Обзоры материнских плат, видеокарт, кулеров. Новости из мира оверклокинга. Экстремальный разгон. Файлы, конференция, голосования". · http://amdcpu.nm.ru/ · http://compiron.euro.ru/ - «Мир компьютерного железа» · http:// AMDNOW.ru/ · http://www.osmag.ru/ - Журнал "Открытые Системы", #09-10/1999 · http://www.kv.minsk.by/ - (c) 1994-2003, "Компьютерные Вести" · http://www.ixbt.com/ - Copyright © by iXBT.com, 1997—2003. Produced by iXBT.com · http://www.programz.by.ru – «Полезные программы и информация»
kazaker@mail.ru
|




Внутренняя шина данных
соединяет собой основные части МП.













