Реферат: Расчет громкоговорителя
|
Название: Расчет громкоговорителя Раздел: Рефераты по радиоэлектронике Тип: реферат | |||||||||||||||||||||||||||||||||||||||||||||||||||||||||||||||||||||||||||||||||||||||||||||||||||||||||||||||||||||||||||||||||||||||||||||||||||||||||||||||||||||||||||||||||||||||||||||||||||||||||||||||||||||||||||||||||||||||||||||||||||||||||||||||||||||||||||||||||||||||||||||||||||||||||||||||||||||||||||||||||||||||||||||||||||||||||||||||||||||||||||||||||||||||||||||||||||||||||||||||||||||||||||||||||||||||||||||||||||||||||||||||||||||||||||||||||||||||||||||||||||||||||||||||||||||||||||||||||||||||||||||||||||||||||||||||||||||||||||||||||||||||||||||||||||||||||||||||||||||||||||||||||||||||||||||||||||||||||||||||||||||||||||||||||||||||||||||||||||||||||||||||||||||||||||||||||||||||||||||||||||||||||||||||||||||||||||||||||||||||||||||||||||||||||||||||||||||||||||||||||||||||||||||||||||||||||||||||||||||||||||||||||||||||||||||||||||||||||||||||||||||||||||||||||||||||||||||||||||||||||||||||||||||||||||||||||||||||||||||||||||||||||||||||||||||||||||||||||||||||
1. Общий раздел 1.1 Принцип действия динамических громкоговорителей Динамический диффузорный громкоговоритель (рис. 1.1) представляет собой электроакустический преобразователь, предназначенный для излучения звука в свободное воздушное пространство.
Рисунок 1.1 – Динамический громкоговоритель с кольцевым магнитом: 1 – звуковая катушка; 2 – диффузор; 3 – диффузородержатель; 4 – картонные секторы; 5 – шайба; 6 – переходные контакты; 7 – проводники; 8 – выходные контакты; 9, 11 – фланцы; 10 – постоянный магнит; 12 – керн; 13 – подвес; 14 – воротник. Он состоит из излучающей части — конического диффузора 2 и звуковой катушки, помещенной в постоянное магнитное поле. Переменный ток звуковой частоты, протекающий через цилиндрическую звуковую катушку, взаимодействует с постоянным магнитным полем, в которое помещена эта катушка. Под действием возникающей силы диффузор колеблется как поршень, излучая всей своей поверхностью. Так работает диффузор на низших частотах до определенной критической частоты. Эта область частотного диапазона называется поршневым участком колебаний диффузора. На высших частотах он излучает не весь, а «противофазными островками», что приводит к изрезанности характеристики направленности и неравномерности частотной характеристики громкоговорителя. 1.2 Основные характеристики громкоговорителей Динамические громкоговорители имеют следующие основные характеристики: 1) полное электрическое сопротивление громкоговорителя Zем —отношение переменного гармонического напряжения на зажимах звуковой катушки к протекающему через нее току. Полное сопротивление является комплексным и зависит от частоты питающего напряжения. Примерная зависимость полного электрического сопротивления динамического диффузорного громкоговорителя от частоты показана на рис. 1.2;
Рисунок 1.2 – Частотная характеристика полного сопративления 2) резонансная частота fo подвижной системы громкоговорителя — частота, при которой полное сопротивление максимально; 3) частотная характеристика громкоговорителя по звуковому давлению—зависимость звукового давления от частоты в точке, находящейся на фиксированном расстоянии от громкоговорителя вдоль его оси, при постоянном напряжении, подводимом к громкоговорителю (см. рис. 1.5, б). Неравномерность частотной характеристики оценивается отношением максимального звукового давления к минимальному и выражается в децибелах; 4) полоса воспроизводимых частот — диапазон частот, в пределах которого неравномерность частотной характеристики не превышает заданной величины; 5) стандартное звуковое давление рСТ — звуковое давление, развиваемое громкоговорителем на расстоянии 1 м вдоль его оси при подведении к нему напряжения, соответствующего мощности 0.1 В • А на частоте 1000 Гц; 6) характеристика направленности громкоговорителя — зависимость звукового давления в точке, находящейся на фиксированном расстоянии от центра внешней поверхности диффузора, от угла между осью громкоговорителя и направлением на данную точку. Характеристика направленности громкоговорителя зависит от частоты (рис. 1.3). Она расширяется с увеличением угла раствора диффузора и уменьшением его плотности;
Рисунок 1.3 – Характеристика направлености громкоговорителя 7) нелинейные искажения — такие искажения, которые приводят к появлению при воспроизведении дополнительных составляющих, отсутствующих в электрическом сигнале. Эти искажения возникают вследствие нелинейности гибкости подвесов подвижной системы, неоднородности магнитного поля в рабочем зазоре магнитной цепи, модуляции высокочастотных колебаний низкочастотными при одновременном их воспроизведении и других причин. Мерой нелинейных искажений является коэффициент нелинейных искажений; 8) номинальная мощность громкоговорителя — максимальная подводимая электрическая мощность переменного тока звуковой частоты, при которой коэффициент нелинейных искажении не выходит за пределы норм, допустимых для данного типа громкоговорителя. Номинальной мощности соответствует номинальное звуковое давление. Эффективность громкоговорителя оценивают по стандартному или по среднему стандартному звуковому давлению РСТ.СР которое представляет собой среднюю арифметическую сумму ординат частотной характеристики стандартного звукового давления. 1.3 Классификация динамических громкоговорителей Динамические громкоговорители классифицируют по электроакустическим, конструктивным и эксплуатационным признакам По электроакустическим признакам громкоговорители делят: 1) в зависимости от величины среднего стандартного звукового давления — на громкоговорители нормальной (менее 0,2 Па), повышенной (не более 0,3 Па) и высокой (менее 0,4 Па) чувствительности; 2) по номинальной электрической мощности — на 15 типов (0,100; 0,250; 0,500; 1,00; 2,00; 3,00; 4,00; 6,00; 8,00; 10,0; 15,0; 20,0; 25,0; 30,0; 50,0 Вт); 3) по электрическому сопротивлению звуковой катушки — на 9 типов (2,0; 4,0; 8,0; 15,0; 25,0; 50,0; 100,0; 400,0; 800,0 Ом); 4) в зависимости от неравномерности частотной характеристики и номинальной мощности — на 18 рабочих диапазонов. По конструктивным признакам различают громкоговорители: 1) простые, имеющие подвижную систему, состоящую из звуковой катушки и диффузора, и сложные, подвижная система которых содержит либо несколько катушек, либо несколько диффузоров. К сложным относятся также агрегаты из нескольких простых громкоговорителей, выполненных в виде единой конструкции; 2) с круглым, овальным или эллиптическим диффузорами; 3) с кольцевыми или керновыми постоянными магнитами. По эксплуатационным признакам громкоговорители делятся на нормальные, предназначенные для эксплуатации в комнатных условиях, влагостойкие, для работы при пониженной температуре и повышенной влажности, и тропикоустойчивые, приспособленные для работы в условиях тропического климата. 1.4 Конструкции громкоговорителей и акустических систем 1.4.1 Динамический громкоговоритель с кольцевым магнитом Динамический громкоговоритель с кольцевым магнитом (рис. 1.1) имеет подвижную систему, состоящую из диффузора 2, к вершине которого приклеен каркас звуковой катушки 1. Основание диффузора заканчивается гофрированным подвесом 13. Он предназначен для облегчения осевого и затруднения радиального перемещения диффузора. Плоский воротник 14 на конце гофрированного подвеса приклеивается к ободу металлического диффузородержателя 3. Поверх воротника прикрепляются картонные секторы 4. Диффузородержатель жестко соединяется с магнитной системой, включающей кольцевой постоянный магнит 10, два фланца 9, 11 и керн 12. Один конец керна 12 запрессовывается в нижний фланец 11, а между вторым концом керна и верхним фланцем 9 образуется кольцевой рабочий воздушный зазор магнитной цепи. В этот зазор помешается звуковая катушка 1. К каркасу катушки или к вершине диффузора приклеивается центрирующая шайба 5, воротник которой прикрепляется к диффузородержателю. Выводы звуковой катушки приклеиваются к каркасу катушки и диффузору. Переходными контактами 6 и гибкими проводниками 7 соединяются с выходными контактами 5. закрепленными на диффузородержателе с помощью резиновых амортизаторов. Магнитные системы динамических громкоговорителей с кольцевыми магнитами имеют большие внешние магнитные поля рассеяния. Поэтому они не могут применяться в телевизорах и радиоприемниках с внутренними магнитными антеннами. 1.4.2 Магнитные системы громкоговорителей с керновыми магнитами Магнитные системы громкоговорителей с керновыми магнитами (рис. 1.4) благодаря экранирующему действию магнитопровода имеют малые внешние магнитные поля рассеяния. Применяются для громкоговорителей с овальными или эллиптическими диффузорами. Магнитная система состоит из кернового магнита 1, магнитопровода 2, выполненного в виде скобы или стакана, круглого полюсного наконечника 3 и фланца 4.
Рисунок 1.4 – Динамический громкоговоритель с эллиптическим диффузором и керновым магнитом 1.4.3 Сложные громкоговорители Сложные громкоговорители имеют два диффузора или две звуковые катушки или состоят из нескольких громкоговорителей, соединенных конструктивно в единое целое. Громкоговоритель с двумя диффузорами показан на рис. 7.42, а. Диффузор 1 — обычный, а диффузор 2 имеет меньший угол раствора, вследствие чего обладает большей жесткостью и более эффективно воспроизводит высокие частоты. Из-за второго диффузора масса подвижной системы увеличивается и расширяется полоса воспроизведения в области нижних частот.
Рисунок 1.5 – Громкоговоритель с двумя диффузорами а – конструкция; б – частотная характеристика 1.4.4 Коаксиальные динамические громкоговорители Коаксиальный громкоговоритель состоит из низкочастотного громкоговорителя, внутри большого диффузора, которого помещен малый высокочастотный диффузорный громкоговоритель. Коаксиальные громкоговорители обеспечивают более равномерную частотную характеристику, но конструктивно сложны и дороги. Применяются в высококачественных звуковоспроизводящих устройствах. 1.5 Общие требования к динамическим громкоговорителям Электроакустические характеристики громкоговорителя в значительной степени зависят от конструкции и параметров диффузора. Диффузор динамического громкоговорителя является его излучающим элементом и имеет коническую форму с прямой или криволинейной образующей. Криволинейная образующая представляет собой участок экспоненциальной кривой либо дугу окружности. Такая конструкция диффузора позволяет более эффективно воспроизводить высокие частоты. Диффузоры бывают круглые и овальные (эллиптические). Поскольку эффективное воспроизведение нижних частот начинается с резонансной частоты подвижной системы fо. то для ее снижения увеличивают массу конической части диффузора или гибкость подвеса путем его утоньшения, применяют более эластичные материалы или смазку специальными пластификаторами. В громкоговорителях широкого применения подвес диффузора отливают из бумажной массы вместе с конической частью. Подвесы состоят из одного или нескольких гофров, которые бывают синусоидального, пильчатого, трапецеидального или круглого профиля. Для эффективною воспроизведения высоких частот диффузор должен иметь достаточную жесткость. Расширить границу воспроизведения высоких частот можно также, разделяя коническую часть диффузора при помощи гофра или складки. При работе на высоких частотах гофр отключает часть диффузора, что уменьшает массу подвижной системы и улучшает эффективность воспроизведения. Для изготовления диффузоров применяют сульфатцеллюлозу, сульфатцеллюлозу, соломенную целлюлозу, древесную массу, гигроскопическую вату, микрофонный войлок, льняное волокно. Для каждого типа громкоговорителя состав бумажной массы определяется экспериментально. Толщина диффузора зависит от мощности громкоговорителя. При изменении номинальной мощности громкоговорителей от 0,1 до 10 В • А толщина диффузора в средней части образующей увеличивается от 0,1 до 0,4 • lO-3 м. Центрирующая шайба в динамическом громкоговорителе предназначена для фиксации положения звуковой катушки в зазоре магнитной цепи и обеспечения ее осевого перемещения. Применяются «паучковые» и гофрированные центрирующие шайбы. Паучковые шайбы (рис. 1.6) по конструктивному исполнению делятся на внутренние и внешние.
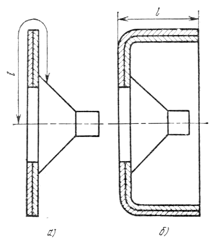
Рисунок 1.6 – Паучковые центрирующие шайбы: а, б – внешние; в - внутренние Внутренние центрирующие шайбы помещаются внутрь конуса и прикрепляются центральной частью к керну магнитной цепи. Внешняя центрирующая шайба с одной стороны прикрепляется к наружной части вершины диффузора, а с другой — либо к магнитной цепи, либо к диффузородержателю. Паучковые шайбы изготовляют штамповкой из тонкого текстолита. Гофрированные центрирующие шайбы по конструктивному исполнению аналогичны гофрированным подвесам диффузоров и находят преимущественное применение, так как обеспечивают большую гибкость в осевом направлении и большую жесткость в радиальном. Изготовляют гофрированные шайбы из сульфатцеллюлозы, гигроскопической ваты, пропитанной лаком чалмы, канвы, майи, миткаля. Для пропитки применяют бакелитовую смолу, растворенную в спирте с касторовым маслом. Звуковая катушка динамического громкоговорителя представляет собой обмотку из провода, намотанного на цилиндрический каркас. Каркас звуковой катушки маломощных громкоговорителей изготовляется из кабельной бумаги, мощных — из алюминия, бронзы или пластмассы. Обмотка располагается на одном конце каркаса, второй конец приклеивается к диффузору. Чтобы увеличить механическую прочность и не допустить сползания витков в процессе работы, обмотку пропитывают лаком. Количество слоев обмотки звуковой катушки обязательно должно быть четным (для низкоомных звуковых катушек число слоев выбирают равным 2. а для высокоомных — 4 и более). Для подведения напряжения к выводам звуковой катушки применяют гибкие провода (ПШС, АТСДИ, мишурный провод, плетенку из тонкого медного провода и т. п.). Магнитная система громкоговорителя предназначена для создания в рабочем зазоре необходимой магнитной индукции. Она влияет на форму частотной характеристики громкоговорителя и стандартное звуковое давление. Чтобы индукция постоянного магнита оставались неизменной по его длине, применяют магнит с переменным сечением (конусообразной или ступенчатой формы). Для постоянных магнитов громкоговорителей общего применения используют магнитотвердые материалы с высокой магнитной энергией: ЮНДК-24, 2БА, ЮНДК-25БА и др. Применение таких сплавов позволяет конструировать громкоговорители с высокой чувствительностью и большим звуковым давлением при относительно малых размерах магнитной системы. Для магнитопроводов применяют магнитомягкие материалы: низкоуглеродистые электротехнические стали, качественные конструкционные отожженные стали и т. п. 1.6 Внешнее оформление Диффузородержатель 3 (рис. 1.1) предназначен для установки элементов подвижной системы, магнитной системы и крепления громкоговорителя. Диффузородержатель должен обладать достаточной механической прочностью. Он имеет форму усеченного конуса с окнами, расположенными по образующей. Отверстия препятствуют образованию замкнутого воздушного объема между диффузором и диффузородержателем и облегчают сборку громкоговорителя. Диффузородержатели изготовляют из стали, сплавов алюминия и пластмасс. Установочные размеры диффузородержателей унифицированы. Внешнее оформление, представляющее собой ящик или экран, предназначено для выравнивания частотной характеристики и механической защиты громкоговорителя. У громкоговорителя без внешнего оформления колебания, излучаемые передней и задней сторонами диффузора, имеют противоположные фазы, что приводит к снижению звукового давления на низких частотах. Это явление носит название «акустического короткого замыкания». Для предотвращения его громкоговоритель помещают в центре плоского экрана (рис. 1.7, а), размер которого l зависит от длины звуковой волны на нижней граничной частоте и находится из соотношения l = /6.
Рисунок 1.7 – Внешнее оформление громкоговорителя: а – плоский экран; б – ящик с открытой задней крышкой Однако плоские экраны неудобны для размещения в жилых помещениях и не создают механической защиты. Более удобным внешним оформлением является ящик с открытой (с отверстиями) задней крышкой (рис. 1.7, б), который широко применяется в радиовещательных приемниках, телевизорах и магнитофонах. Для внешнего оформления может применяться ящик с плотно закрытой задней крышкой, ящик-фазоинвертор, акустический лабиринт и др. Ящик можно рассматривать как согнутый экран. Если резонансная частота ящика в 1,5 ... 2 раза выше резонансной частоты громкоговорителя, то обеспечивается подъем низких частот и сглаживание частотной характеристики громкоговорителя. Ящик изготовляют из фанеры, столярной плиты и т. п. Толщина стенок ящика и тип материала зависят от нижней границы воспроизводимых частот и звукового давления. Отверстия под громкоговоритель во внешнем оформлении закрываются акустически прозрачными декоративными тканями. На внешнем оформлении не должно быть всякого рода обрамлений, жалюзей, украшений и т. п. Эти устройства образуют акустические контуры, резонансы и антирезонансы которых приводят к появлению пиков и провалов в частотной характеристике. В зависимости от назначения и акустических требований к тому или иному устройству в нем могут использоваться простые акустические системы (одиночные громкоговорители) или сложные системы, состоящие из группы громкоговорителей. Акустические системы радиовещательных приемников зависят от класса. По акустическим параметрам приемники делятся на пять классов (высший, первый, второй, третий и четвертый). В радиоприемниках четвертого класса применяется один громкоговоритель, установленный на фронтальной панели, который воспроизводит полосу частоты от 200 до 6000 Гц. Акустические системы радиоприемников второго и третьего классов состоят из двух широкополосных громкоговорителей, включенных синфазно и работающих в одном и том же диапазоне частот, но имеющих различные резонансные частоты. Благодаря применению двух громкоговорителей улучшается воспроизведение низких частот, выравнивается частотная характеристика в области средних частот и получается более равномерная характеристика направленности. В радиоприемниках первого класса применяют акустические системы (рис. 1,8), состоящие из двух фронтальных громкоговорителей 1, воспроизводящих весь диапазон частот, и двух боковых 2, воспроизводящих средние и высокие частоты. При таком расположении громкоговорителей характеристика направленности значительно расширяется, приближаясь к кругу во всем диапазоне частот.
Рисунок 1.8 – Акустическая система радиоприемника первого класса В некоторых моделях радиоприемников и радиол высшего класса применяют трехканальные акустические системы. На фронтальной панели ящика размещают низко-, средне- и высокочастотные громкоговорители, а на боковых стенках устанавливают громкоговорители, воспроизводящие средние и высокие частоты. Акустические системы телевизионных приемников состоят из одного или нескольких громкоговорителей, расположенных на фронтальной, нижней или боковых стенках ящика. Для получения достаточно хорошей характеристики направленности применяют громкоговорители с малым диаметром диффузора и высоким стандартным звуковым давлением. Широкополосные акустические агрегаты представляют собой систему из нескольких простых громкоговорителей, расположенных в одном ящике. Они воспроизводят частоты от 40 до 20000 Гц и применяются для высококачественного звуковоспроизведения в жилых помещениях и клубах, а также для контроля звуковых передач в радиодомах и телевизионных центрах. Для озвучивания площадей, улиц или больших закрытых помещений применяют звуковые колонки и радиальные громкоговорители. В звуковых колонках несколько динамичных диффузорных громкоговорителей устанавливают по одной линии вертикально. Благодаря этому диаграмма направленности в вертикальной плоскости получается узкой, а в горизонтальной – широкой. Это позволяет сконцентрировать излучаемую мощность в нужном направлении. Радиальный громкоговоритель конструктивно выполнен в виде металлического конуса, внутри которого по образующей размещены диффузорные громкоговорители. Диаграмма направленности радиального громкоговорителя в горизонтальной плоскости представляет собой круг. 2 Расчетный раздел 2.1 Расчет громкоговорителя Исходные данные:
2.1.1 Расчет звуковой катушки 1 Исходя из заданного коэффициента нелинейных искажений Кf на нижней граничной частоте fн , по кривой представленной на рисунке 2.1 определяем амплитуду колебаний подвижной системы X.
Рисунок 2.1 – Зависимость коэффициента нелинейных искажений от амплитуды колебаний подвижной системы громкоговорителя Принимаем Х = 2*103 м. 2 Определяем величину свободного воздушного зазора LЗ , которая зависит от максимальной амплитуды колебаний подвижной системы. Эта зависимость показана на рисунке 2.2.
Рисунок 2.2 – Зависимость величины свободного воздушного зазора от амплитуды колебаний подвижной системы Принимаем LЗ = 0,15*10 – 2 м. 3 По кривым на рисунке 2.3 находим удельную тепловую нагрузку Рt звуковой катушки.
Рисунок 2. 3 – Зависимость удельной тепловой нагрузки звуковой катушки от величены свободного воздушного зазора:1) t = 20 0C; 2) t = 40 0C. Принимаем Рt = 2*103 Вт/м2 при t = 40 0C. 4 Определяем площадь боковой поверхности звуковой катушки:
5 Определяем диаметр звуковой катушки:
Для маломощных громкоговорителей kK = 3…4, для мощных – 4…6. Принимаем kK = 4.
6 Определяем диаметр керна магнитной цепи:
7 Определяем высоту катушки:
8 Определяем диаметр провода звуковой катушки:
По таблице проводов Таблица 13 [2] выбираем ближайший номинальный диаметр и определяем площадь сечения этого провода SПР = 133*10 – 4 м. Выбранный провод ПЭЛУ – медный обмоточный провод с эмалевой утолщенной изоляцией. 9 Плотность тока в звуковой катушке:
10 Принимаем число слоев звуковой катушки с = 2 и определяем число витков катушки:
где kЗ – коэффициент заполнения, равный 0,9…0,95. Число слоев звуковой катушки обязательно должно быть четным. Принимаем kЗ = 0,9.
11 Определяем длину провода:
12 Определяем толщину звуковой катушки:
где - толщина каркаса, равная 1*10 – 3 м.
13 Определяем массу звуковой катушки:
где - плотность материала провода, равная 0,7*103 кг/м3.
2.1.2 Расчет конструктивных параметров диффузора 1 Выбираем состав бумажной массы диффузора, ее плотность и модуль упругости Е по таблице 2.1 [2]. Таблица 2.1 – Характеристики материалов, применяемых для изготовления диффузоров
Выбираем диффузорную бумагу с канифольно-парафиновой проклейкой так как этот тип наиболее подходит для условий эксплуатации в местах с повышенной температурой и влажностью окружающего воздуха. И данный вид бумаги имеет больший модуль упругости, что позволяет использовать громкоговоритель на более высоких частотах. 2 Определяем номинальное звуковое давление громкоговорителя с учетом завала частотной характеристики на нижней граничной частоте:
3 Определяем площадь излучающей поверхности диффузора:
4 Выбираем форму диффузора. Выбираем диффузор круглым так как динамики данного типа предназначены для использования в малогабаритных приемниках, что уменьшает габариты изделия и сложность изготовления. Так же по сравнению с другими формами диффузоров, круглый имеет более равномерную диаграмму направленности и более плавные частотные характеристики. Для круглых диффузоров диаметр излучающей поверхности рассчитывается по формуле:
5 Для эффективного воспроизведения высоких частот диффузор должен иметь достаточную жесткость, определяемую углом раствора конуса или радиусом кривизны его образующей R. По рисунку 2.4 определяем угол раствора диффузора в зависимости от границы воспроизведения высоких частот.
Рисунок 2.4 – Зависимость границы воспроизведения высоких частот: 1 – от угла раствора диффузора ; 2 – от радиуса кривизны R. Принимаем = 140 6 Определяем статическую массу диффузора:
где Д – толщина диффузора, которую выбираем по таблице 2.2 Таблица 2.2 – Зависимость толщины диффузора от номинальной мощности громкоговорителя
При Ре = 10 Вт, принимаем Д = 0,4
7 Определяем массу воздуха колеблющегося перед диффузором:
8 Определяем массу подвижной системы:
2.1.3 Расчет магнитной цепи 1 Определяем геометрические размеры зазора магнитной цепи:
2 Высота рабочего зазора, при которой нелинейные искажения минимальны, определяются выражением:
3 Определяем необходимую величину индукции в рабочем зазоре магнитной цепи:
4 Определяем объем магнита:
где Bd – экономичная индукция, равная 5 Вб/м2; Hd – экономичная напряженность поля, равная 10 А/м; [3] М – коэффициент использования магнита, равный 0,4…0,6; 0 – магнитная проницаемость, равная 1,2*10-6 Гн/м;
5 Определяем магнитную проводимость рабочего зазора:
6 Определяем длину магнита:
7 Находим площадь сечения магнита:
8 Внутренний диаметр магнита определяем по формуле:
где kS – коэффициент, изменяющийся от 0,1 до 0,4 принимаем kS = 0,2.
9 Определяем внешний диаметр кольцевого магнита:
ВВЕДЕНИЕ В процессе создания радиоэлектронной аппаратуры (РЭА) разработка деталей и узлов является переходным этапом от принципиальной схемы устройства к практическому конструированию изделия, отвечающего назначению и условиям эксплуатации. В значительной степени способность аппаратуры обеспечивать требуемые характеристики в заданных условиях эксплуатации определяются параметрами и качеством радиодеталей (РД) и радиокомпонентов (РК). РД и РК, с одной стороны должны реализовывать функциональную направленность принципиальной схемы, а с другой стороны, отвечать назначению аппаратуры и условиям эксплуатации. На конструкцию оказывают также существенное влияние воздействие высокой и низкой аппаратуры, влажность, давление воздуха, пыль, проникающая радиация, биологические факторы и т.п. При конструировании РД и РК должна приниматься во внимание необходимость повышения надежности, снижение трудоемкости изготовления и миниатюризации. Содержание:
СПИСОК ИСПОЛЬЗОВАННОЙ ЛИТЕРАТУРЫ 1 «Радиодетали и их расчет» Под редакцией А.В. Коваля. М., «Сов. радио», 1977, 386 с. 2 «Справочник радиолюбителя» Под ред. Р. М. Терещук. Киев, «Техническая литература УССР», 1961, 840 с. 3 Л.Г. Мурашников «Динамики в быту» М., «Сов. радио», 1968, 210 с. |
|||||||||||||||||||||||||||||||||||||||||||||||||||||||||||||||||||||||||||||||||||||||||||||||||||||||||||||||||||||||||||||||||||||||||||||||||||||||||||||||||||||||||||||||||||||||||||||||||||||||||||||||||||||||||||||||||||||||||||||||||||||||||||||||||||||||||||||||||||||||||||||||||||||||||||||||||||||||||||||||||||||||||||||||||||||||||||||||||||||||||||||||||||||||||||||||||||||||||||||||||||||||||||||||||||||||||||||||||||||||||||||||||||||||||||||||||||||||||||||||||||||||||||||||||||||||||||||||||||||||||||||||||||||||||||||||||||||||||||||||||||||||||||||||||||||||||||||||||||||||||||||||||||||||||||||||||||||||||||||||||||||||||||||||||||||||||||||||||||||||||||||||||||||||||||||||||||||||||||||||||||||||||||||||||||||||||||||||||||||||||||||||||||||||||||||||||||||||||||||||||||||||||||||||||||||||||||||||||||||||||||||||||||||||||||||||||||||||||||||||||||||||||||||||||||||||||||||||||||||||||||||||||||||||||||||||||||||||||||||||||||||||||||||||||||||||||||||||||||||||












(2.5)
(2.6)
(2.12)
(2.13)

(2.19)
(2.20)
(2.22)
(2.24)
(2.25)