Реферат: Проект участка цеха с детальной разработкой единичного технологического процесса изготовления детали Картер
|
Название: Проект участка цеха с детальной разработкой единичного технологического процесса изготовления детали Картер Раздел: Рефераты по технологии Тип: реферат | |||||||||||||||||||||||||||||||||||||||||||||||||||||||||||||||||||||||||||||||||||||||||||||||||||||||||||||||||||||||||||||||||||||||||||||||||||||||||||||||||||||||||||||||||||||||||||||||||||||||||||||||||||||||||||||||||||||||||||||||||||||||||||||||||||||||||||||||||||||||||||||||||||||||||||||||||||||||||||||||||||||||||||||||||||||||||||||||||||||||||||||||||||||||||||||||||||||||||||||||||||||||||||||||||||||||||||||||||||||||||||||||||||||||||||||||||||||||||||||||||||||||||||||||||||||||||||||||||||||||||||||||||||||||||||||||||||||||||||||||||||||||||||||||||||||||||||||||||||||||||||||||||||||||||||||||||||||||||||||||||||||||||||||||||||||||||||||||||||||||||||||||||||||||||||||||||||||||||||||||||||||||||||||||||||||||||||||||||||||||||||||||||||||||||||||||||||||||||||||||||||||||||||||||||||||||||||||||||||||||||||||||||||||||||||||||||||||||||||||||||||||||||||||||||||||||||||||||||||||||||||||||||||||||||||||||||||||||||||||||||||||||||||||||||||||||||||||||||||||||
МГАПИ, МТ-1 УКП Стромынка
Аннотация В данной работе на основании чертежа детали и годовой программы проводится конструктивно-технологический анализ детали. Производится классификация и кодирование, а также отработка детали на технологичность. Выбирается вид исходной заготовки. Определяется тип производства. Также мы проводим анализ схем базирования, составляем технологический маршрут и рассчитываем режимы резания и проводим нормирование данной операции. В конструкторской части мы проектируем приспособление на одну из операций и производим его расчет.
Проект включает графическую часть – 8 листов формата А1 и пояснительную записку с Приложениями и списком использованных источников из 29 наименований.
Совокупность методов и приемов изготовления машин, выработанных в течение длительного времени и используемых в определенной области производства, составляет технологию этой области. В связи с этим возникли понятия: технология литья, технология обработки давлением, технология сварки, технология механической обработки, технология сборки машин. Все эти области производства относятся к технологии машиностроения, охватывающей все этапы процесса изготовления машиностроительной продукции. Однако под "технологией машиностроения" принято понимать научную дисциплину, изучающую преимущественно процессы механической обработки деталей и сборки машин и попутно затрагивающую вопросы выбора заготовок и методы их изготовления. Это объясняется тем, что в машиностроении заданные формы деталей с требуемой точностью и качеством их поверхностей достигаются в основном путем механической обработки, так как другие способы обработки не всегда могут обеспечить выполнение этих технических требований. В процессе механической обработки деталей машин возникает наибольшее число проблемных вопросов, связанных с необходимостью выполнения технических требований, поставленных конструкторами перед производством. Процесс механической обработки связан с эксплуатацией сложного оборудования — металлорежущих станков; трудоемкость и себестоимость механической обработки больше, чем на других этапах процесса изготовления машин. Эти обстоятельства объясняют развитие "технологии машиностроения" как научной дисциплины в первую очередь в направлении изучения вопросов технологии механической обработки и сборки, в наибольшей мере влияющих на производительную деятельность предприятия.
Сложность
процесса и
физической
природы явлений,
связанных с
механической
обработкой,
вызвала трудность
изучения всего
комплекса
вопросов в
пределах одной
технологической
дисциплины
и обусловила
образование
нескольких
таких дисциплин.
Так, явления,
происходящие
при снятии
слоев Эти специализированные технологические дисциплины сформировались раньше, чем комплексная дисциплина "Технология машиностроения". В "Технологии машиностроения" комплексно изучаются вопросы взаимодействия станка, приспособления, режущего инструмента и обрабатываемой детали; пути построения наиболее рациональных, т. е. наиболее производительных и экономичных, технологических процессов обработки деталей машин, включая выбор оборудования и технологической оснастки; методы рационального построения технологических процессов сборки машин. Таким образом, научная дисциплина "Технология машиностроения" изучает основы и методы производства машин, являющиеся общими для различных отраслей машиностроения. Вопросы же, характерные для технологии производства специализированных отраслей, изучаются в специальных руководствах, таких, например, как "Технология автотракторостроения", "Технология двигателестроения", "Технология станкостроения" и т. д. Учение о технологии машиностроения в своем развитии прошло в течение немногих лет путь от простой систематизации производственного опыта механической обработки деталей и сборки машин до создания научно обоснованных положений, разработанных на базе теоретических исследований, научно проведенных экспериментов и обобщения передового опыта машиностроительных заводов. Технология машиностроения как научная дисциплина создана советскими учеными. Начало формирования этой дисциплины относится к тридцатым годам нашего столетия. Развитие технологии механической обработки и сборки и ее направленность обусловливаются стоящими перед машиностроительной промышленностью задачами совершенствования технологических процессов, изыскания и изучения новых методов производства, дальнейшего развития и внедрения комплексной механизации и автоматизации производственных процессов на базе достижений науки и техники, обеспечивающих наиболее высокую производительность труда при надлежащем качестве и наименьшей себестоимости выпускаемой продукции.
1. Исходные данные 1.1. Базовая информация.
Годовой объем выпуска детали Nr - 7200 шт. Режим работы цеха - в две смены. Планируемый интервал времени выпуска по неизменным чертежам - 2 года.
При выполнении дипломного проекта была использована следующая справочная информация:
2. Обзор литературных источников
Дополнительно изучены для отработки детали на технологичность - Орлов Е.Н., Ершов А.А., Никифоров А.В. и др. Технология машиностроения. Методические указания. - М.: МИП, 1988. - 32 с. с ил.; для определения типа производства и выбора технологических баз - Маталин А.А. Технология машиностроения. - М.: Машиностроение, 1985 - 496 с. с ил.; для расчета припусков и режимов резания – Справочник технолога-машиностроителя. В 2-х томах. Под ред. Косиловой А.Г. и Мещерякова Р.К. - М.: Машиностроение, 1985.; для проектирования и расчета приспособления - Станочные приспособления. Справочник в 2-х т. Т. 1. Под ред. Б.Н. Вардашкина и А.А. Шатилова. - М.: Машиностроение, 984. - 592 с., ил. Были использованы Методические пособия, разрабатываемые на кафедре МТ1 (авторы Султан-заде Н.М., Власьевнина Л.К., Орлов Е.Н., Албагачиев А.Ю. и другие). При выполнении раздела БЖД будут изучены соответствующие учебники и справочники (авторы Еремин В.Г., Кукин П.П., Белов С.В.), Методические указания МГАПИ. Технико-экономические расчеты будут проводиться на базе лекционных материалов и курсовой работы (руководитель Капелюш Г.С.), литературы и Методических указаний МГАПИ.
Оформление
записки дипломного
проекта и
графической
части будем
производить
с использованием
следующих
источников
- Стандарт СТП
МГАПИ. Проекты
(работы) дипломные
и курсовые –
М.: МИП. 1988.- 32 с.; 3. Технологическая часть 3.1. Характеристика изделия. Редуктор предназначен для передачи крутящего момента от типового двигателя на энергетическую установку. Вращение передается на цилиндрический редуктор от двигателя, через промежуточный конический редуктор. Редуктор состоит из фрикциона ведущей шестерни, ведомой шестерни, промежуточного и ведущего вала. Фрикцион редуктора многодисковый, сухого трения, служит для гашения инерционных усилий, возникающих при резком изменении нагрузки энергетической установки. На шлицах ведущего вала установлена зубчатая муфта через которую передается вращение от промежуточного конического редуктора на цилиндрический редуктор. Масляная система редуктора циркуляционного типа, состоящая из насоса, сливного клапана, сапуна, указателя уровня масла, радиатора охлаждения трубопроводов, установленных на промежуточном коническом редукторе.
Управление муфтой осуществляется рычагом, который имеет два положения. При переключении рычага в положение «работа» муфта входит в зацепление с зубчатым валиком промежуточного конического редуктора. При переключении рычага в другое положение муфта выходит из зацепления с валом промежуточного редуктора и передача вращения на цилиндрический редуктор, а следовательно и на энергетическую установку прекращается. Блокировочное устройство (концевой выключатель) исключает одновременную работу энергетической установки и коробки передач. Обороты выходного вала – n = 8000 об./мин.;
мощность э.у. – N = 70 кВт 3.2. Конструктивно-технологическая характеристика детали «Картер»
Материал для картера выбирается с учетом выше указанных критериев работоспособности и технологических требований. Основным критерием для картеров является соосность. Перпендикулярность относительно оси. В картеры заправляют смазку для обеспечения обильной смазки деталей редукторов. Диаметры основных отверстий для картера являются:
Основные допуска назначаются на:
67H7±0.030
125H7(+0.040) 160H7(+0.040) Линейные размеры: 140 II (-0,26) 90 II (-0,23). Материал изготовления картера – АК94. Относится к первой группе (по физико-механическим свойствам), то есть с высоким содержанием кремния). Сплав характеризуется хорошими литейными свойствами - хорошей текучестью - хорошей герметичностью - малой способностью к горячим трещинам. Шероховатость основных поверхностей «картера» - Ra=1,6…3,2 мкм, остальных – Ra=6,3…12,5мкм По условиям работы картер должен быть герметичным, коррозийно стойким, по возможности легким, достаточно прочным по отношению к динамическим и вибрационным нагрузкам. С учетом выше указанных критериев работоспособности и технологических требований выбираем в качестве материала для изготовления картера сплав АК94 ГОСТ 1583-89.
Si = 6,0…10,5% Mn = 0,25…0,5% Fe = 0,8% Zn = 0,3% Pb = 0,01% Ti = 0,15% Таблица 3.3.1 Физические свойства сплава марки АК94 ГОСТ 1583-89
На эскизе (рис. 3.3.1 ) представлена деталь "картер" с годовым объемом выпуска Nг = 7200 шт. и массой детали - 6 кг.
рис. 3.3.1 3.3. Классификация и кодирование.
- анализ состава изделия; - технологический анализ производства; - планирование и управление ТПП; - проектирование технологических процессов; - технологическое планирование площадей и оборудования; - разработку технологических нормативов. Осуществление этих задач, а следовательно, нормальное функционирование ЕСТПП невозможно без рационально построенной системы информационного обеспечения, позволяющей организовать связь и взаимосвязь всех элементов системы. В настоящее время разработаны конструкторский и технологический классификаторы, которые являются носителями информационного обеспечения ЭВМ. На базе этих классификаторов осуществляется анализ конструкции детали и ее технологических признаков. На основе анализа осуществляется кодирование конструкторско-технологических признаков. Кодирование необходимо для создания на предприятии информационно-поисковой системы (ИПС) на базе ЭВМ. Информационно-поисковая система позволяет из многотысячной номенклатуры деталей предприятия выбрать детали с необходимыми конструкторско-технологическими признаками.
Для группирования деталей по их конструкторско-технологическому подобию используется конструкторско-технологический код детали, который имеет следующую структуру
рис.3.3.2 Таким образом, создание полного конструкторско-технологического кода детали состоит из двух этапов: 1-й этап – классификация и кодирование конструкторских признаков детали; 2-й этап классификация и кодирование технологических признаков детали. В качестве исходный данных для обоих этапов используются рабочие чертежи деталей, выполненные в соответствиями с требованиями ЕСКД. таблица 3.3.2
Конструкторский код детали «Картер»
Формирование постоянной части технологического кода детали
Технологический код детали «картер»: 786404.1423300B Полный конструкторско-технологический код детали «картер»: МГАПИ 501458.001.786404.1423300B
Рациональные конструкции машин, обеспечивающие необходимые эксплуатационные требования не могут быть созданы без учета трудоемкости и материалоемкости их изготовления. Соответствие конструкции машин требованиям трудоемкости и материалоемкости определяют технологичность конструкции. При объективной оценке технологичности конструкции машин, их деталей и узлов, учитывают ряд положительных факторов, определяющих технологичность конструкции. При объективной оценке технологичности конструкции машин, их деталей и узлов, учитывают ряд положительных факторов, определяющих технологичность конструкции. К ним относится: 1. оптимальная форма детали, обеспечивающая изготовление заготовки с наименьшим припуском и наименьшим количеством обрабатываемых поверхностей; 2. наименьший вес машины 3. наименьшее количество материала, применяемого в конструкции машин 4. взаимозаменяемость деталей и узлов с оптимальным значением полей допуска 5. нормализация (стандартизация) и унификация деталей, узлов и их отдельных конструкторских элементов. Корпус представляет собой полую коробку с взаимно-параллельными и перпендикулярными плоскостями, что позволяет применить типовой технологический процесс изготовления, так как обрабатываемые плоскости расположены параллельно, то возможно использовать многоинструментальный обрабатывающий центр с высокопроизводительными режимами резания и необходимой точностью. Жесткость конструкции корпуса, толщина стенок позволяют обеспечить надежное базирование и закрепление при обработке и контроле,
Основные требования по технологичности конструкции деталей машиностроения излагается в литературе [5, 6]. Конструкции детали должны состоять из стандартных и унифицированных конструктивных элементов (КЭД) или быть стандартной в целом. Детали должны изготавливаться из стандартных или унифицированных заготовок. Размеры детали должны иметь оптимальную точность. Шероховатость поверхностей должна быть оптимальной. Физико-химические и механические свойства материала детали, её жесткость, форма, размеры должны соответствовать требованиям технологии изготовления (включая процессы отделочно-упрочняющей обработки, нанесения антикоррозийных покрытий и т.п.), а также хранения и транспортировки. Базовая поверхность детали должна иметь оптимальные показатели точность и шероховатости поверхности, которые обеспечивают требуемую точность установки, обработки и контроля. Заготовки для изготовления деталей должны быть получены рациональным способом с учетом материала, заданного объема выпуска и типа производства. Метод изготовления деталей должен обеспечивать возможность одновременного изготовления нескольких деталей. Сопряжение поверхностей деталей различных квалитетов точности и шероховатости поверхности должны соответствовать применяемым методам и средствам обработки.
Отработку технологичности детали «картер» на технологичность проведем в соответствии с Методическими указаниями МГАПИ [4]. Таблица 3.4.1
продолжение таблицы 3.4.1
Анализ технологичности конструкции детали "картер" по наличию стандартных или унифицированных конструктивных элементов (КЭД)
Таблица 3.4.3
по точностным требованиям (СТ СЭВ 144-75, 145-75)
Вывод: по точностным требованиям конструкцию детали "картер" можно признать технологичной, т.к. 86% поверхностей детали обрабатываются по средней точности обработки или по свободным размерам Таблица 3.4.4
Вывод: по шероховатости поверхностей конструкцию детали "картер" можно в целом признать технологичной - 81% всех поверхностей имеют среднюю шероховатость. Общий вывод: конструкцию детали "картер" можно в целом признать технологичной, т.к. практически удовлетворяются 86% требований технологичности конструкции. 3.5. Определение типа производства
На основании общей производственной программы завода составляется подетальная производственная программа по цехам, указывающая наименование, количество, черный и чистый вес (массу) деталей, подлежащих изготовлению и обработке в каждом данном цехе (литейном, кузнечном, механическом и др.) и проходящих обработку в нескольких цехах; составляется программа по каждому цеху и одна сводная, указывающая, какие детали и в каком количестве проходят через каждый цех. В зависимости от размера производственной программы, характера продукции, а также технических и экономических условий осуществления производственного процесса все разнообразные производства условно делятся на три основных вида (или типа); единичное (индивидуальное), серийное и массовое. У каждого из этих видов производственный и технологический процессы имеют свои характерные особенности, и каждому из них свойственна определенная форма организации работы. Единичным называется такое производство, при котором изделия изготовляются единичными экземплярами, разнообразными по конструкции или размерам, причем повторяемость этих изделий редка или совсем отсутствует.
Единичное
производство
универсально,
т. е. охватывает
разнохарактерные
типы изделий,
поэтому оно
должно быть
очень гибким,
приспособленным
к выполнению
разнообразных
заданий. Для
этого завод
должен располагать
комплектом
универсального
оборудования,
обеспечивающим
изготовление
изделий сравнительно
широкой номенклатуры.
Этот комплект
оборудования
должен быть
подобран таким
образом, чтобы,
с одной стороны,
можно было
Серийное производство занимает промежуточное положение между единичным и массовым производством. При серийном производстве изделия изготовляют партиями или сериями, состоящими из одноименных, однотипных по конструкции и одинаковых по размерам изделий, запускаемых в производство одновременно. Основным принципом этого вида производства является изготовление всей партии (серии) целиком как в обработке деталей, так и в сборке. Понятие «партия» относится к количеству деталей, а понятие «серия» - к количеству машин, запускаемых в производство одновременно. Количество деталей в партии и количество машин в серии могут быть различными. В серийном производстве в зависимости от количества изделий в серии, их характера и трудоемкости, частоты повторяемости серий в течение года различают производство мелкосерийное, среднесерийное и крупносерийное. Такое подразделение является условным для разных отраслей машиностроения: при одном и том же количестве машин в серии, но различных размеров, сложности и трудоемкости производство может быть отнесено к разным видам. Массовым называется производство, в котором при достаточно большом количестве одинаковых выпусков изделий изготовление их ведется путем непрерывного выполнения на рабочих местах одних и тех же постоянно повторяющихся операций.
Определим
тип производства
при изготовлении
детали "картер"
массой 6 кг. При
разработке
новых технологических
процессов,
когда технологический
где tв - такт выпуска, Тш.ср. - среднее штучное время выполнения основных операций механической обработки. Такт выпуска равен:
где Фд - фонд времени работы оборудования, 4015 часов; Nr - годовой объем выпуска деталей, 7200 шт.
Среднее штучное время выполнения основных операций механической обработки:
где Тшi - штучное время выполнения i-ой операции, m - число операций. Время Тш i определяем по литературе [ ].
1. Продольно-фрезерная – 8,6 мин 2. Вертикально-фрезерная – 12,8 мин 3. Плоскошлифовальная - 10,5 мин
Проверку проводим по литературе [4], где тип производства определяется по массе детали и годовому объему выпуска. Для данного случая Мд = 6 кг, Nr = 7200 шт., поэтому производство - среднесерийное, что совпадает с расчетом. 3.6. Проектирование заготовки
В настоящее время в литейном производстве используются различные связующие материалы для формовочных и стержневых смесей, которые не в полной мере удовлетворяют требованиям литейного производства.
Традиционно
используемые
формовочные
смеси на основе
органических
связующих
(синтетические
смолы, олифа,
и др.) обладают
хорошими
физико- Формовочные смеси на основе глины из-за высокой осыпаемости не позволяют получать качественную поверхность отливки, а формовочные смеси на основе жидкого стекла характеризуются повышенной остаточной прочностью, что усложняет процесс извлечения отливки из формы. Поэтому разработка экологически безопасных формовочных и стержневых смесей на основе неорганических связующих которые имели бы заданные физико-механические и технологически свойства, является одной из приоритетных задач. В Государственном НИИВМ на основе щелочных алюмосиликатных связующих разработаны новые экологически безопасные формовочные и стержневые смеси с заданными физико-механическими и технологическими свойствами: сырцовая прочность 0,01-0,02 МПа прочность при сжатии после сушки 0,6-5 МПа, газопроницаемое 120-180 ед., предел прочности при растяжении в сухом состоянии 0,6 1,4 МПа, остаточная прочность 0,004-0,03 МПа, регенерируемость после сухого механического обдира составляет 70-80% [25].
Таким образом,
разработанные
формовочные
смеси на основе
щелочного
алюмосиликатного
связующего
по физико-механическим
и технологическим
свойствам
удовлетворяют
требованиям,
предъявляемым
к формовочным
смесям на основе
глины, жидкого
стекла, цемента
по некоторым
показателям
и Кроме того, разработанные формовочные смеси обладают повышенной регенерируемостыо по сравнению с жидкостекольными формовочными смесями и являются экологически чистым по сравнению со смесями на основе органических соединений.
Точность изготовления литой заготовки в соответствии с ГОСТ 26645-85 в целом характеризуется: классом размерной точности; степенью коробления; степенью точности поверхности; классом точности масс. Из рекомендуемых стандартом технологических процессов литья в песчаные формы, выбираем по литературе [9 ] литье в формы из смеси со средними параметрами: влажностью 2,8…3,5% и плотностью 120…160 Результаты выбора заносим для сравнения в таблицу 3.6.1. Таблица 3.6.1 Нормы точности заготовок по вариантам
Для литья в песчаную форму с ручной формовкой будем ориентироваться на средние показатели, а для машинной формовки выбираем более жестокие условия для повышения точности.
Таблица 3.6.2 Виды окончательной обработки для поверхностей детали «картер»
Зная припуски на обработку и допуски, рассчитаем размеры отливки для обоих вариантов изготовления, и результаты расчета сведем в таблицу 3.6.3. Таблица 3.6.3
Таблица 3.6.4 Расчет размеров отливки детали "картер" по вариантам
продолжение табл. 3.6.4
Для подсчета общего объема припусков определяем элементарные объемы, которые они занимают на заготовке. Сначала, пользуясь формулой для вычисления объемов полых цилиндров, рассчитываем объемы для варианта ручной формовки. V1+V2 = 55,62 см3; V3 = 21,72 см3; V4 = 19,9 см3; V5 = 35,62 см3; V6 = 51,0 см3; V7 = 64,28 см3; V8 = 15,2 см3; V9 = 63 см3; V10 = 87,48 см3; V10’ = 37,34 см3; V11 = 68,9 см3; V12 = 79,94 см3. Подсчитаем общий объем припуска сложив все полученные величины.
Vпр = 55,62+21,72+19,9+35,62+51,0+64,28+15,2+63,0+87,48+37,34+68,9+79,94 = 587,0 см3.
Gпр = p(Vпр+ Vнап), (3.6.2) где р - плотность сплава, 2,7 г/см3. Vnp - объем припуска, см3. Gпр = 2,7(587,0+276,48) = 2333 г = 2,333 кг. Отсюда масса заготовки: G3 = GД+Gпр, (3.6.3) G3 = 6+2,333 = 8,333 кг. Аналогичным образом рассчитываем объемы и массу заготовки для машинной формовки. V1+V2 = 50,67 см3; V3 = 17,27 см3; V4 = 15,90 см3; V5 = 30,17 см3; V6 = 46,58 см3; V7 = 57,72 см3; V8 = 10,86 см3; V9 = 58,09 см3; V10 = 82,5З см3; VI0 = 32,41 см3; V11 = 63,8 см3; V12 = 75,2 см3. Общий объем припуска: Vпр = Vi
Gпр = 2,7(263,2+255,3) = 1407 г = 1,407 кг. Масса заготовки: G3 = Gд + Gпр, (3.6.5) G3 = 6+1,287 = 7,287 кг. Рассчитаем коэффициент весовой точности (Кв.т.). Кв.т. = Gд/Gз, (3.6.6) для первого варианта: Кв.т.1 = 6/8,33 = 0,72 для второго варианта: Кв.т.2 = 6/7,407 = 0,81 Результаты расчетов заносим в таблицу 3.6.5. Таблица 3.6.5 Сравнительная характеристика методов получения заготовки
Стоимость заготовки определяем по формуле: Сз = [(Сб/1000)GзKmKcKвКмКn]-[(Gз-Gд)Сс/1000] ( ) где Сб - базовая себестоимость одной тонны отливки по прейскуранту цен, руб.; Сс - стоимость одной тонны стружки, руб.; Кт - коэффициент, зависящий от класса точности; Кс - коэффициент, зависящий от группы сложности; Кв - коэффициент, зависящий от массы; Кm - коэффициент, зависящий от материала; Кn - коэффициент, зависящий от объема производства. Значения коэффициентов и стоимости отливок берем из литературы [9] и заносим в таблицу 3.6.6. Таблица 3.6.6 Показатели коэффициентов по вариантам получения заготовки
для ручной формовки Сз1 = [(5944/1000)8,331,0510,725,941]-[(8,33-6)1500/1000] = 220,34 руб. для машинной формовки Сз2 = [(5944/1000)7,4071,0510,815,941]-[(7,407-6)1500/1000] = 211,42 руб. Расчеты показали, что стоимость заготовки, практически одинакова. Но поскольку во втором варианте отливка гораздо точнее, то, соответственно, меньше затраты на механическую обработку, а также коэффициент весовой точности больше, что снижает отходы стружки. Поэтому делаем вывод, что использование машинной формовки выгоднее. 3.7. Анализ схем базирования Базой называют поверхность, заменяющую ее совокупность поверхностей, ось, точку детали или сборочной единицы, по отношению к которым ориентируются другие детали изделия или поверхности детали, обрабатываемые или собираемые на данной операции. По характеру своего назначения (при конструировании, изготовлении деталей, измерении и сборке механизмов и машин) базы подразделяются на конструкторские, технологические и измерительные. Группу конструкторских баз составляют основные и вспомогательные базы, учет которых при конструировании (выборе форм поверхностей, их относительного положения, простановки размеров, разработке норм точности и т. п.) имеет существенное значение. Основная база определяет положение самой детали или сборочной единицы в изделии, а вспомогательная база - положение присоединяемой детали или сборочной единицы относительно данной детали. Как правило, положение детали относительно других деталей определяют комплектом из двух или трех баз.
Технологической базой называют поверхность, определяющую положение детали или сборочной единицы в процессе их изготовления. Измерительной базой называют поверхность, определяющую относительное положение детали или сборочной единицы и средств измерения.
Наибольшей
точности обработки
детали можно
достигнуть
в том случае,
когда весь
процесс обработки
ведется от
одной базы с
одной установкой,
так как ввиду
возможных
смещений при
каждой новой
установке
вносится ошибка
во взаимное
расположение
осей поверхностей.
Так как в большинстве
случаев невозможно
полностью
обработать
деталь на одном
станке и приходится
вести обработку
на других станках,
то в целях
достижения
наибольшей
точности Принцип постоянства базы состоит в том, что для выполнения всех операций обработки детали используют одну и ту же базу. Если по характеру обработки это невозможно и необходимо принять за базу другую поверхность, то в качестве новой базы надо выбирать такую обработанную поверхность, которая определяется точными размерами по отношению к поверхностям, наиболее влияющим на работу детали в собранной машине. Надо всегда помнить, что каждый переход от одной базы к другой увеличивает накопление погрешностей установок (погрешностей положения обрабатываемой детали относительно станка, приспособления, инструмента). Далее, при выборе баз различного назначения надо стремиться тоже использовать одну и ту же поверхность в качестве различных баз, так как это тоже способствует повышению точности обработки. В этом отношении целесообразно в качестве измерительной базы использовать технологическую базу, если это возможно; еще более высокой точности обработки можно достигнуть, если сборочная база является одновременно технологической и измерительной. В этом и заключается принцип совмещения баз. Анализируя техническое задание, эскиз детали под выполняемую операцию, выбираем теоретическую схему базирования и возможные схемы практической реализации. Для призматических корпусных деталей существует три схемы базирования: 1. по трем взаимно перпендикулярным плоскостям; 2. по плоскости и двум отверстиям в ней; 3. по двум взаимно перпендикулярным плоскостям и отверстию в одной из них.
Рис. 3.7.1.
Так как технологическая и измерительная базы не совпадают то Eб будет равно допуску на размер 115h11, т.е. Eб = = 0,22 мм. Так как сила зажима направлена параллельно выдерживаемого размера на который рассчитываем погрешность, то Eб ≠ 0. По литературе [1] Eз = CQncos, (3.7.2) где С = 0,2 - коэффициент, характеризующий условия контакта, материал и твердость базовой поверхности заготовок; Q = 1030 Н - сила, действующая на опору; - угол между направлением выдерживаемого размера и направлением приложения силы. Eз = 0,21030.151 = 0,40 мм Погрешность установки будет равна Eу = 0,44 мм.
3.8.1 Анализ базового технологического процесса При построении технологических процессов изготовления деталей типа "корпус", к которым относятся рассматриваемый в дипломном проекте "картер" реализуется принцип "от простого к сложному". Последующая технологическая операция имеет точность на 1-2 квалитета выше, а шероховатость на 1-2 класса ниже, чем предыдущая. Первыми двумя операциями механической обработки всякой корпусной детали должны быть по литературе [ ]: 1. обработка базовой плоскости (базовых плоскостей); 2. сверление и развертывание двух отверстий на базовой плоскости. Для обработки базовой плоскости используются черновые литейные базы, обеспечивающие обработку этой плоскости и двух отверстий на ней. Дальнейшую обработку корпусных деталей следует выполнять по схеме, в которую входят следующие процессы:
Базовый технологический маршрут механической обработки однотипной детали "корпус"
Продолжение таблицы 3.8.1
на деталь «картер». Таблица 3.8.2
Продолжение табл. 3.8.2
3.9. РАСЧЕТ РЕЖИМОВ РЕЗАНИЯ И НОРМИРОВАНИЕ 3.9.1. Расчет режимов резания Операция 020 фрезерная, код 4263.
Станок модели 6622, двухшпиндельдый, мощность 7x2 кВт. Приспособление - специальное пневматическое. Инструменты: фрезы торцевые с насадочными зубьями из твердого сплава Т15К6, Dфр1 = 500 мм, Dфр2 = 300 мм, z = 6 по ГОСТ 9304-72. Длина рабочего хода: Lpx = Lрез+y+Lдоп, (3.9.1) где Lрез = 200 мм - длина резания; y = 44 мм - длины подвода, врезания и перебега инструмента; Lдоп = 15 мм - длина дополнительного хода, вызванная особенностью наладки, мм; Lpx = 200+44+15 = 259мм Глубина резания t = 2,5 мм. Подача по литературе [ ]: Sz = 0,22 мм/зуб; So = 1,12 мм/об. Расчет скорости резания ведем для наибольшей длины резания:
где Cv = 197; T = 500 мин - стойкость инструмента; B = 200 мм - ширина фрезерования; K = KmvKuvKuvKnvKv, (3.9.3) где Kmv = l,43 - коэффициент, зависящий от материала Kuv = 1,1 - коэффициент, зависящий от материала инструмента
Kv = 0,96 - коэффициент, зависящий от главного угла в плане
Число оборотов фрезы:
по паспорту станка принимаем nст = 340 об/мин. Фактическая скорость резания:
Величина минутной подачи: Sм = Szznст, (3.9.6) Sм = 0,226,,340 = 449 мм/мин Мощность при фрезеровании:
где P – окружная сила резания P = CptxpSypzzBzpDдр, (3.9.8) P = 682,50,860,220,7462001,0300-0,86 = 4130 H Согласно рекомендаций литературы [ ] окружная сила P для алюминия составляет 25% от окружной силы по стали. P = 1032 H
Проверка станка по мощности: N < 1,2Nдв0,8 N < 1,270,8 = 6,81
3.9.2. Основное время по литературе [ ] равно: Tосн. = L/Sм, (3.9.9) L = Lg+Lдоп, (3.9.10) Штучное время Тшт = Tо+Тв+Тобсл+Тотд, (3.9.11) Tо = 259/499 = 0,58мин Тв – вспомогательное время Тв = 0,32+0,07 = 0,39 мин Топ = То+Тв, (3.9.12) Топ = 0,58+0,39 = 0,97 мин Тобсл = Тт.о.+То.о. , (3.9.13) где Тт.о. – время обслуживания То.о. – Тотд. – время отдыха Тобсл+Тотд = 6% от Топ Тш = 1,06Топ, (3.9.14) Тш = 1,03мин
Тш.к. = Тм+Тп.з./n, (3.9.15) Оптимальный объем партии (серии) деталей запускаемых в производство для серийного метода:
где Nг = 7200 штук – годовая программа выпуска Фг = 252 дня – годовой фонд времени Фзап – число дней запаса по наличию деталей на складе для обеспечения ритмичной сборки изделий. В зависимости от стоимости деталей принимают: Фзап = 2…10 дней. Для «картера» Фзап = 5 дней. N = 72005/252 = 143 дет. Тш.к. = 1,03+20/143 = 1,03+0,14 = 1,17~1,2 мин
4.1. Описание станочного приспособления и принцип его работы Интенсификация производства в машиностроении неразрывно связана с техническим перевооружением и модернизацией средств производства на базе применения новейших достижений науки и техники. Техническое перевооружение, подготовка производства новых видов продукции машиностроения и модернизация средств производства неизбежно включают процессы проектирования средств технологического оснащения и их изготовления. В общем объеме средств технологического оснащения примерно 50% составляют станочные приспособления. Применение станочных приспособлений позволяет: 1. надежно базировать и закреплять обрабатываемую деталь с сохранением ее жесткости в процессе обработки; 2. стабильно обеспечивать высокое качество обрабатываемых деталей при минимальной зависимости качества от квалификации рабочего; 3. повысить производительность и облегчить условия труда рабочего в результате механизации приспособлений; 4. расширить технологические возможности используемого оборудования. В зависимости от вида производства технический уровень и структура станочных приспособлений различны. Для массового и крупносерийного производства в большинстве случаев применяют специальные станочные приспособления. Специальные станочные приспособления имеют одноцелевое назначение для выполнения определенных операций механической обработки конкретной детали. Эти приспособления наиболее трудоемки и дороги при исполнении. В условиях единичного и мелкосерийного производства широкое распространение получила система универсально-сборных приспособлений (УСП), основанная на использовании стандартных деталей и узлов. Этот вид приспособлений более мобилен в части подготовки производства и не требует значительных затрат.
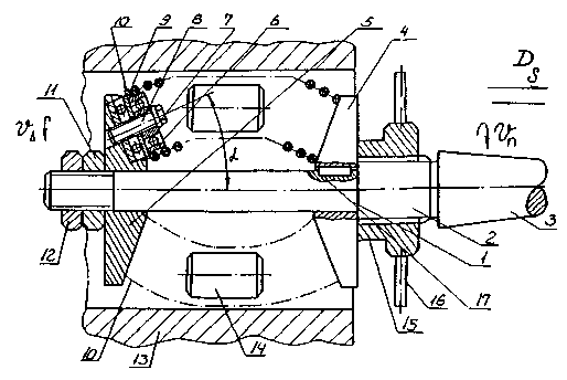
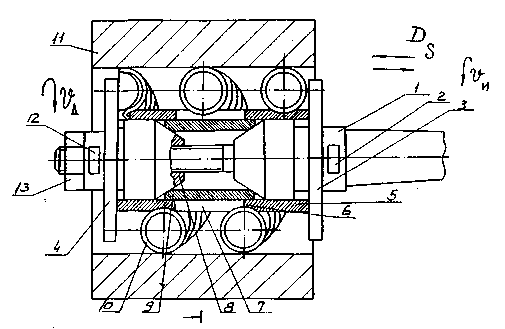
Приспособление разработано на продольнофрезерный станок модели 6622 для обработки торцов картера в размер 140-0,46. За базовое приспособление взята однопарная стойка по нормам МН2493-71. На стойку можно устанавливать слепные установочные приспособления, что значительно снижает его стоимость. В сменном приспособлении при фрезеровании размера 140-0,46 картер устанавливается на центровые пальцы поз. 20 (круглый) и поз.21 (ромбический), крепится качалкой (поз.4). Чертеж приспособления приведен на листе графической части работы. Приспособление состоит из плиты (поз.1) с укреплением на ней опорной колонки (поз.6сб). На плите располагаются плотики (поз.26), закрепленные болтами (поз.28). Прижимная планка (поз.30сб) устанавливается на оси (поз.2). На прижимной планке имеется качалка (поз.4) на оси (поз.6, 8) и установочный винт (поз.7), который служит для обеспечения более качественного зажатия деталей.
Закрепление
заготовки
производится
от пневмокамеры
(поз.17), к которой
воздух из сети
подводится
через штуцер
(поз.16). Используется
камера одностороннего
действия, при
выпуске воздуха
в ней срабатывает
пружина. Камера
взята как целый
покупной узел
ГОСТ 3151-71. Она крепится
болтами к кронштейну
(поз.27сб), который,
в свою очередь,
крепится болтами
(поз.28) к плите
(поз.1). Шток
пневмоцилиндра
соединен с
рычагом (поз.19),
который
4.2.1. Силовой расчет приспособления Определяем по рекомендациям литературы усилие при фрезеровании размера 140-0,46 в картере: P = CptxpsypzzBzpDдp, (4.2.1) где Сp = 68; xp = 0,86; yp = 0,74; zp = 1; дp = -0.86 – коэффициенты по справочнику [ ] t = 3,0 мм - глубина резания; Sz = 0,3 мм/лезвие - подача на лезвие инструмента; z = 6 - количество режущих кромок; D = 500мм – диаметр фрезы; В = 200 мм - ширина режущей части. Рассчитываем Р = 683,00,860,30,7462001500-0,86 = 411,3 кГ = 4112 H. Согласно рекомендации окружная сила для алюминия принимается равной 25% от окружной силы резания по стали. Р = 102,8 кГ 1030 H. Схема зажима заготовки представлена на рис. 4.2.1.
рис. 4.2.1. - усилие штока пневмокамеры, Q - усилие действующее на прижимную планку для зажатия детали.
Производим расчет элементов пневмокамеры. Усилие возвратной пружины принимается в размере 5% от усилия штока пневмокамеры: Рпр = 0,05400 = 20 кГ = 200 H. Из формулы
определяем диаметр диафрагмы
где p = 4 кГ/см2 = 0,4 Мпа - давление сжатого воздуха в сети.
По ГОСТ 9881-71 принимаем диаметр диафрагмы пневмокамеры: D = 125 мм, толщина 4 мм. Диаметр опорного диска
d = 0,75125 = 100 мм. 4.2.2. Точностной расчет приспособления.
Суммарную погрешность установки найдем по формуле
где u = 0,02 мм - погрешность, связанная с размерным износом инструмента; д = 0,015 мм - погрешность, связанная с температурной и упругой деформацией СПИД; H = 0,1т, (4.2.6) H = 0,10,7 = 0,7 мм - погрешность, связанная с настройкой инструмента, где т = 0,7 мм - допуск на заданный размер; ст = 0,05 мм - погрешность станка нормальной точности.
Сравним полученную величину с заданным допуском т 0,646 0,7 Вывод: полученная погрешность не выходит за границы допуска.
На базовом заводе сборка производится стационарным методом – вся сборочная единица целиком собирается на одном рабочем месте. Расчленение сборки на отдельные подсборки нет. Выполнение операций повторяется в различных сочетаниях и последовательности. Проектируемый технологический процесс сборки существенно отличается от заводского, а именно: 1. технологический процесс детально разработан на сборку сборочных единиц, групп и изделий с расчленением его на операции и переходы 2. сборка сборочных единиц осуществляется на основе полной взаимозаменяемости 3. на рабочем месте выполняется одна технологическая операция, состоящая из небольшого количества переходов 4. в основном применяются специальные приспособления и инструменты (пневмозажимы и держатели, пневмоключи и гайковерты), предназначенные для небольшого числа сборочных операций. Кроме того, сборка производится на предварительно собранных сборочных единицах, так как такая организация сборочных работ значительно сокращает длительность общей сборки по сравнению со сборкой изделия непосредственно из деталей. Сборка сборочных единиц производится стационарно на стендах. Сборка всего изделия ведется ленточным методом на движущемся конвейере, скорость движения которого Vк = 0,2 м/мин. При полной взаимозаменяемости точность замыкающего звена размерных цепей достигается ужесточением размеров сопрягаемых деталей. Ниже дан расчет одной из размерных цепей редуктора. Определяется номинальное, наибольшее и наименьшее значение замыкающего звена "А" при установки крышки.
рис. 4.3.1. Эскиз
сборки. Далее составляем размерную цепь.
рис. Схема размерной цепи Номинальное значение "А" А = (18+5)-22 = 1 мм Наибольшее и наименьшее значения замыкающего звена размера "А": Аmax = (A2max+A3max)-A1min Amax = (5,3+18,1)-21,93 = 1,47 мм Amin = (A2min+A3min)-A1max
5.1. Анализ опасных вредных производственных факторов и возможных чрезвычайных ситуаций, возникающих в проектируемом цехе. На участке механического цеха по производству "картера" редуктора возможно возникновение нижеизложенных опасных вредных производственных факторов. 1. Образование в воздухе дисперсных систем за счет выделения пыли, состоящей из твердых частиц обрабатываемого и инструментального материала размером более 1 мкм, которая систематически попадая на слизистые оболочки работающего может вызвать раздражение или повреждение (например, глаз) Попадая через легкие с вдыхаемым воздухом частицы могут приводить к различной тяжести профессиональным заболеваниям. При использовании СОЖ в воздухе производственных помещений возникает аэрозоли с размером жидких частиц менее 10 мкм - туманы, которые отрицательно сказываются на параметрах микроклимата рабочей зоны. Попадание СОЖ на слизистую оболочку глаза человека может вызвать раздражение, а систематическое попадание на открытые участки кожи (например, рук) вызывают ухудшение ее состояния (шелушение, растрескивание и так далее). Метеорологические условия или микроклимат в производственных условиях определяются следующими параметрами:
Для комфортного самочувствия человека важно определенное сочетание температуры, влажности и скорости движения воздуха в рабочей зоне. Оптимальная величина относительной влажности составляет 40% - 60%. Повышенная влажность (более 85%) затрудняет терморегуляцию из-за снижения испарения пота, а слишком низкая влажность (ниже 20%), вызывает пересыхание слизистых оболочек дыхательных путей.
2. При работе на станках из-за несоблюдения правил безопасности могут произойти несчастные случаи вследствие ранения стружкой, при прикосновении к вращающимся патронам, планшайбам и зажимным приспособлениям на них, а также к обрабатываемым деталям. В процессе резания образуется отлетающая стружка. При фрезеровании образование отлетающей стружки представляет собой опасность для рабочих. Большое значение для безопасности работы фрезеровщика имеет установка режущего инструмента. Наличие на рабочих местах, в проходах и проездах металлической стружки может привести к тяжелым ранениям рук и ног. Уборка стружки непосредственно руками связана с опасностью их травмирования и не должна допускаться. 3. Правильно спроектированное и выполненное освещение в механическом цехе обеспечивает возможность нормальной производственной деятельности, сохранность зрения человека, состояние его центральной нервной системы. От освещения зависит производительность труда и качество выпускаемой продукции. Неправильно подобранные параметры искусственного освещения могут привести к повышенной утомляемости и, как следствие этого, к травмам различной степени тяжести и происхождения. Например:
2) в поле зрения должна отсутствовать прямая и отраженная блескость. Блескость - повышенная яркость светящихся поверхностей, вызывающая нарушение зрительных функций (ослепленностъ), т. е. ухудшение видимости объектов; ослепленность приводит к быстрому утомлению и снижению работоспособности; внезапная резкая ослепленность может привести и к травме; и т. д. Запыленность воздуха рабочей зоны может ухудшать освещенность. Основная задача освещения на производстве - создание наилучших условий для видения. 4. Повышенный уровень вибрации станков, машин и оборудования вызывает виброболезнь, эффективное лечение которой возможно лишь на начальной стадии. Установлено, что чем больше человек работает с вибрирующими инструментами, тем выше вероятность заболевания этой опасной болезнью. Вибрация, возникающая при неправильной эксплуатации и отладке станка, а также при неточной установке детали на станке может вызвать неприятные ощущения у находящегося в контакте со станком человека (рабочего, наладчика). [13]
Различают
общую и локальную
вибрации. Общая
вибрация вызывает
сотрясение
всего организма,
локальная
(местная) вовлекает
в колебательные
движения отдельные
части тела
Общая вибрация
с частотой
менее 0,7 Гц хотя
и неприятно,
но не приводит
к виброболезни.
Локальная
вибрация вызывает
спазмы сосудов,
которые начинаются
с концевых
фаланг пальцев
и распространяются
на 5. Шум является одним из наиболее распространенных неблагоприятных факторов условий труда на производстве. Под влиянием интенсивного шума нарушаются функции не только слухового анализатора, но и центральной нервной, сердечно-сосудистой и других физиологических систем [13]. Работа в условиях интенсивного шума приводит к снижению производительности труда, росту брака, увеличению вероятности получения производственных травм. Шум возникает вследствие упругих колебаний как машин в целом, так и отдельных ее деталей. Причины возникновения этих колебаний - механические, аэродинамические, гидродинамические и электрические явления, определяемые конструкцией и характером работы машины, а также неточностями допущенными при ее изготовлении и условиями эксплуатации. Шум возникающий при работе станка может оказывать психологическое воздействие на работающего или какие-либо индивидуальные последствия. В данном случае имеется в виду опасность возникновения заболеваний таких как гипертоническая и язвенная болезни, неврозы и другие, возникающие вследствие перенапряжения нервной системы в процессе труда. Сильный шум негативно отражается на здоровье человека и его работоспособности. Продолжительное воздействие производственного шума может привести к ухудшению слуха, а иногда и к глухоте. Звуковые колебания могут восприниматься не только ухом, но и непосредственно через кости черепа (так называемая костная проводимость). Уровень шума, передаваемого этим путем на 20 - 30 дБ А меньше уровня, воспринимаемого ухом [13]. 6. Опасность поражения человека электрическим током можно отнести к наиболее опасным факторам, возникающим при эксплуатации станка или его
Действие электрического тока на живую ткань, в отличии от действия пара химических веществ, излучений и т. п. носит своеобразный и разносторонний характер. Проходя через организм человека электрический ток производит термическое, электролитическое и биологическое действие. Многообразие действия электрического тока на организм человека нередко приводит к различным электротравмам.
7. Основными
причинами
возникновения
пожаров и связанных
с ними несчастных
случаев на
производстве
являются
неосторожное
обращение с
огнем, неисправность
электрических
сетей, нарушение
требований
при эксплуатации
электроустановок,
машин и оборудования
на производстве.
Особенно опасны
пожары, связанные
с применением
электроэнергии,
чаще всего они
происходят
вследствие
короткого
замыкания, при
перегрузке
электросетей,
а также в тех
случаях, когда
остаются без
надзора включенные
в электросеть
электронагревательные
приборы. Короткое
замыкание в
большинстве
случаев возникает
по причине
неисправности
изоляции проводов,
вызванной их
длительной
эксплуатацией
или механическим
повреждением.
Перегрузка
На основе проведенного анализа опасных и вредных производственных факторов, возникновение которых возможно на участке цеха по производству «картера» редуктора, предложены следующие конструктивные и организационные мероприятия по их снижению и ликвидации. 1. Для поддержания в помещениях оптимальной температуры воздуха применяют в летний период – кондиционеры, а в зимний период – система отопления. В данном случае система водяного отопления, наиболее эффективная в санитарно-гигиеническом отношении, вода в систему отопления подается от собственной котельной предприятия. Для теплового самочувствия человека важно определенное сочетание температуры, относительной влажности и скорости движения воздуха в рабочей хоне. Влажность воздуха оказывает большое влияние на терморегуляции организма, а движение воздуха в помещениях является важным фактором, влияющим на тепловое самочувствие человека. Скорость воздуха оказывает также влияние на распределение вредных веществ в помещении. Для обеспечения чистоты воздуха и заданных метеорологических условий в производственном помещении предусматривается приточно-вытяжная вентиляция [12]. Наличие в вентиляционной системе устройства для подогрева, осушки или увлажнения воздуха обязательно. Конструкция станков предусматривает место для подсоединения вытяжной насадки, таким образом пыль и туман, образовавшиеся в зоне резания удаляются непосредственно из неё, не распространяясь по всему производственному помещению. Удаленный и очищенный воздух, особенно в холодное время года, рекомендуется использовать при рециркуляции. Попадание СОЖ в глаза, на руки, отлет стружки из зоны резания предотвращается применением для контроля за процессом резания специального смотрового окна, защищенного металлической решеткой с толщиной прутьев 5 мм. Возможна работа без применения защитного кожуха с заменой человека промышленным роботом портативного типа. Станки, имеющие приспособления для охлаждения режущего инструмента распыленной жидкостью, выделяющей в процессе резания вредные аэрозоли, оборудуются гидроприемниками, приспособлениями к индивидуальной или групповой вентиляционной установки для удаления этих аэрозолей [12].
Проектом не допускается:
Для дробления стружки и её безопасного удаления из рабочей зоны применяются специальные стружкоотводчики [12].
В данном цехе в качестве источников общего освещения применяются дуговые ртутные лампы с люминофором – ДРЛ (ГОСТ 16354-70). Станки оборудованы стационарными устройствами местного освещения. Рекомендуется широкое использование встроенного освещения. Кронштейн для местного освещения должен иметь надежную фиксацию светильника во всех требуемых положениях. Проводится чистка стекол, оконных проемов и световых фонарей не реже двух раз в год [12].
4. Во избежание
возникновения
опасных последствий
от действия
вибраций необходима
защита от них.
Защита от вибрации
начинается
, прежде всего,
с их ликвидации.
Достигается
это совершенствованием
кинематических
схем и улучшением
работы механизмов.
Для отдельных
частей конструкции
применяют
упругую подвеску,
амортизацию,
изолируют
опоры. Изоляция
фундамента
(в почве вокруг
фундамента
устанавливают
разрывы с
заполнением
или без заполнения)
предотвращает
передачу колебаний
от фундамента
к окружающей
почве или от
нее к фундаменту.
Техническими
мерами не всегда
удается снизить
уровень вибрации
ниже установленных
норм, в этих
случаях приходится
бороться
использовать
индивидуальные
защитные средства.
Для защиты от
локальной
вибрации
используется
обувь на толстой
виброгасящей
подошве. Снижение
вибрации при
эксплуатации
станка достигается
применением
вместо зубчатых
передач – ременных,
которые обладают
повышенной
плавностью
работы. Для
снижения вибрации
за счет потери
энергии в
колебательной
системе Для снижения вибрации и соответственно увеличения точности вращения отдельных механизмом (шпинделя, ходовых винтов, приводов подач) проводится их балансировка и обкатка вместе с сопряженными деталями (например вал-зубчатое колесо и так далее) [12]. 5. Для снижения производственного шума используют различные методы: 1. устранение причин или ослабления шума в источнике его возникновения 2. снижение шума на пути его распространения 3. применение индивидуальных средств защиты рабочих Ослабление шума в источнике его возникновения является наиболее радикальным средством борьбы с шумом производственного оборудования. Однако, опыт предприятий показал, что эффективность мероприятий по снижению шума эксплуатируемых машин и механизмов невелика и поэтому снижение шума следует добиваться прежде всего в процессе проектирования оборудования. Снижение шума зубчатых передач эксплуатируемых станков заключение коробок передач скоростей, редукторов в звукоизолирубщие кожухи, а также помещением зубчатых колес в масляные ванны. Уменьшение шума электродвигателей металлорежущих станков достигается хорошей динамической балансировкой ротора двигателя, повышением жесткости корпуса двигателя, вала ротора, подшипников и т.д., заключением электродвигателя в звукоизолирующий кожух. Снижение шума можно добиться применив менее интенсивный режим резания или разместив станки в изолированных помещениях с потолками, облицованными звукоизолирующим материалом.
Принудительная смазка трущихся частей и механизмов, применяемая в станке, позволяет существенно снизить уровень шума. Сочетание вышеперечисленных мер позволяет уменьшить звуковое давление на основных шумовых частотах станка до 30…40 дБ [12]. 6. Во избежание поражения электрическим током предпринимаются следующие основные меры защиты: 1. обеспечение недоступности токоведущих частей, находящихся под напряжением, для случайного прикосновения; 2. заземление станков; 3. в комплексе используется защитное отключение. Для устранения опасности поражения людей электрическим током, при появлении напряжения на конструктивных частях электрооборудования, т.е. при замыкании на корпус, используется защитное заземление. Это преднамеренное электрическое соединение с землей или её эквивалентом металлических токоведущих частей, которые могут оказаться под напряжением. Принцип действия – снижение до безопасных значений напряжений соприкосновения и шага. Для защиты токоведущих кабелей от механических повреждений (как силовых, так и управляющих) их заключают в защитные металлические кожухи или специальные пазы. Регулярное техническое обслуживание должно включать в себя осмотр и чистку, при необходимости, электрооборудования станка от пыли и грязи. Кроме того регулярно проводится инструктаж по техники безопасности при работе с электрическим оборудованием. Участие рабочих неэлектрических специальностей (фрезеровщик, сверловщик) в ремонтных, наладочных, испытательных или других работах совершенно недопустимо.
1. применения негорючих и трудно горючих веществ и материалов вместо пожароопасных 2. ограничения применения горючих веществ 3. предотвращения распространения пожара за пределы очага, т.е. применения противопожарных преград, к ним относятся стены, перегородки, двери, ворота, тамбур-шлюзы и окна между помещениями, цехами 4. использования средств пожаротушения, в данном случае применяются углекислотные огнетушители, и т.д. Применение автоматических средств обнаружения пожаров является одним из основных условий обеспечения пожарной безопасности в машиностроении, так как позволяет оповестить дежурный персонал о пожаре и месте его возникновения. В данном случае в механическом цехе используются дымовые извещатели ДИП-1.
К числу
организационных
мероприятий
по обеспечению
пожарной
безопасности
относятся
обучение рабочих
и служащих
пожарной
безопасности,
инструктаж
о порядке работы
с пожароопасными
веществами
и материалами,
организация
пожарной охраны
объекта. При
работе соблюдаются
противопожарные
требования
и имеется на
рабочем месте
средства для
тушения пожара:
песок, воду,
огнетушители
и т.д. Во избежание
опасности
возникновения
пожара на рабочем
месте (станке)
станок эксплуатируется
в соответствии
с указанными
в его паспорте
эксплуатационными
параметрами.
В проектируемом механическом цехе, и на предприятии в целом, во избежание загрязнения окружающей среды предусмотрены следующие мероприятия. 1. Для очистки выбрасываемого воздуха применяют циклоны. Механическая обработка на металлообрабатывающих станках сопровождается выделением пыли, стружки, туманов, масел и эмульсий, которые через систему вентиляции выбрасываются из помещения в окружающую среду. При эксплуатации одного фрезерного или сверлильного станка выбросы паров воды, туманов и эмульсий не регламентируются, т.к. в их объеме не содержится веществ, загрязняющих окружающую среду. Очистка выбрасываемого вентиляцией воздуха от пыли производится посредством применения циклонов. 2. Отработанные СОЖ отправляются на переработку. 3. Стружка и другие твердые металлические отходы отправляются на переработку. Для недопущения загрязнения окружающей среды твердыми отходами (стружкой) предусматриваются следующие мероприятия: 1. сбор стружки по территории цеха с последующим её прессованием; 2. последующая отправка её на переработку В механическом цехе предусмотрен участок по переработке стружки, что позволяет сократить затраты на погрузочно-разгрузочные работы, снижает безвозвратные потери при их перевалке и транспортировке и высвобождает транспортные средства.
Стружку,
которая образуется
при обработке
деталей, собирают
и перерабатывают
на стружко-дробилках,
брикетировочных
прессах. Основные
операции первичной
обработки
метало отходов
– сортировка,
разделка и
механическая
обработка.
Сортировка
заключается
в разделении
лома и отходов
Основной источник образования отходов металла – металлообработка (84%) и амортизационный лом (16%). Амортизационный лом – отходы, состоящие из частиц металла, образовавшиеся из-за трения подвижных частей оборудования, как предусмотренного конструкцией деталей и механизмов станка, так и не предусмотренного. Регулярный плановый ремонт станка исключает не предусмотренное конструкцией трение, а регулярная чистка, смазка, замена выработавших свой срок узлов (например подшипников качения) снизит количество твердых отходов в целом. 4. Для очистки сточных вод применяют маслоловушки, нефтеловушки и песколовы. На территории промышленных предприятий образуются сточные воды трех видов:
Бытовые сточные воды образуются в результате эксплуатации на территории предприятия душевых, туалетов, прачечных, столовых. Предприятие не отвечает за качество данных сточных вод и направляют их на городскую станцию очистки. Поверхностные сточные воды образуются в процессе сливания с дождевой, талой и поливочной водой примесей, скапливающихся на территории, крышах и стенах сооружений предприятия. Основные компоненты примесей в этих водах: песок, стружка, опилки, пыль, сажа, нефтепродукты, масло и т.п.
Примечание.
Анализ загрязнения
окружающей
среды ведется
с точки зрения
эксплуатации
фрезерных и
сверлильных
станках. Производственные
сточные воды
образуются
в результате
использования
воды в технологических
Исходные данные для расчета
1. Определяем количество светильников общего освещения с лампами ДРЛ-1000: = L / Hp, (5.4.1) отсюда L = Hp, (5.4.2) где L – расстояние между светильниками, м Hp – высота подвеса светильников, Hp = 8 м - коэффициент наивыгоднейшего расположения светильников, = 1,8 L = 1,88 = 14,4 м Количество ламп определяется из выражения: N2 = S/L, (5.4.3) где S – площадь цеха, S = AB, (5.4.4)
N = 1728/14.42 = 1728 / 207.36 = 8,3 ~ 9 шт 2. Определяем световой поток лампы: Fл.расч. = (ESKZ)/(N), (5.4.5) где E – нормируемая освещенность, E = 150 лк S – площадь цеха, S = 172.8 м2 K – коэффициент запаса, K = 1,7 (для помещений с большим выделением пыли) Z – поправочный коэффициент (отношение средней освещенности к минимальной горизонтальной), Z = 1,1…1,5, принимаем Z = 1,1 N – количество светильников, причем в каждом светильнике находится одна лампа ДРЛ-1000, N = 9 шт. - коэффициент использования светового потока, зависит от индекса помещения, типа светильника и коэффициента отражения потолка и стен. Индекс помещения определяется из формулы: i = (AB)/(A+B)Hp, (5.4.6) где A – ширина помещения, A = 36 м B – длина помещения, В = 48 м i = (3648)/(36+48)8 = 1728/848 = 1728/672 = 2,6
При коэффициенте отражения потолка 50% и стен 30% коэффициент использования светового потока для различных типов светильников имеет следующие значения:
Проводим интерполяцию, чтобы определить интервал значений при i = 2,6 Нижний предел: (0,37-0,34)6/10+0,34 = 0,036/10 + 0,34 = 0,18/10+0,34 = 0,018+0,34 = 0,358 Верхний предел: (0,62-0,57)/10+0,57 = 0,056/10+0,57 = 0,3/10+0,57 = 0,03+0,57 = 0,6 Получили i = 2,6 = 0,358…0,6 Принимаем = 0,489 Fл.расч. = (15017281,71,1)/(90,489) = 484704/4,401 = 110135 лм Fл.расч./Fл.табл. = 110135/55000 = 2,002 Fл.расч. в два раза больше чем Fл.табл.max, поэтому количество ламп, полученное при первоначальном расчете увеличиваем в два раза.
При этом: Fл.расч. = 484704 / 180,489 = 484704/8,802 = 67362 лм Получили, что Fл.расч. = 1,043 Fл.табл.. Это удовлетворяет условию Fл.расч. = (0,9…1,2)Fл.табл.
3. Определяем потребляемую мощность ламп P = pNn, (5.4.7) где p – мощность лампы, p = 1000 Вт; n – количество ламп в светильнике, 1 P = 1000181 = 18000 Вт
Расстояние между светильниками равно: L = (S/N)0,5, (5.4.8) L = (1728/18)0,5 = (96)0,5 = 9,8 Расположим светильники в четыре ряда, в первом и третьем рядах – по 4 светильника, а во втором и четвертом – по 5 светильников. Схема расположения светильников отображена на рис. 5.1.
Заключение
Проведена отработка оборудования и рабочего места с точки зрения безопасности 1. В проектируемом цехе для очистки выбрасываемого воздуха применяют циклоны 2. Отработанные СОЖ отправляют на переработку 3. Для очистки сточных вод применяются маслоловушки, нефтеловушки и песколовы. 4. Для снижения уровня шума применяют шумопоглащающие материалы 5. Стружка отправляется на переработку
На основе
вышеизложенных
мероприятий
значительно
уменьшается
загрязненность
окружающей
среды промышленными
выбросами,
т.е. санитарное
благоустройство
машиностроительных
заводов и надлежащее
их содержание
являются важнейшими
мероприятиями
в борьбе с вредными
производственными
6. ТЕХНОЛОГИЧЕСКИЕ ПАРАМЕТРЫ. 6.1. Определение структуры цеха и состав служб
Производственные помещения и службы предназначены непосредственно для осуществления технологических процессов, механической обработки и сборки, отделки, регулировки, испытаний, упаковки готовых изделий, сборочных единиц (узлов) и запасных частей. Вспомогательные отделения, участки и мастерские необходимы для ремонта станков и приспособлений, для заточки инструментов. Также необходимы подразделения для обслуживания основного производства - участки подготовки, раздачи, регенерации СОЖ, сбора и переработки отходов, цеховые лаборатории, помещения ОТК, отделения специального персонала - электриков, смазчиков и др. Ориентировочный состав цеха по литературе [ ] принимаем в следующем виде: 1. Производственные участки: - механические; - сборочные. 2. Вспомогательные участки: - контрольные; - группы ремонта и обслуживания станков; - отделения ремонта приспособлений; - заточного отделения; - отделения СОЖ; - отделения сбора и утилизации стружки.
- материалов, заготовок, полуфабрикатов; - промежуточные (комплектовочные); - межоперационные; - инструментов и приспособлений; - хозяйственных материалов и запасных частей. 4. Подсобные помещения: - служебные; - контроля; - бытовые; - санитарно-гигиенические;
Для участка точный расчет программы: Пр = Пв К1 К2 К3, (6.2.1) где Пв = 7200 - программа выпуска изделия по заданию; К1 = 1 - количество данных деталей в изделии (в нашем случае корпус); К2 = 1…1,2 - коэффициент, учитывающий выпуск запчастей (в нашем случае К2 = 1,2); К2 = l…l,05 - коэффициент, учитывающий цеховые потери (для массового производства принимаем значение 1,04); Пр = 720011,21,04 = 8986 шт. Для цеха приведенная программа: Пр = Пв1Кприв, (6.2.2) где Кприв = KGКcepКслож Кприв - коэффициент приведения; Кс - коэффициент приведения по массе; Ксер — коэффициент приведения по объему; Кслож - коэффициент приведения по сложности. Принимаем, что в цехе изготовляют одно изделие – Пр = 8986 шт комплектов деталей.
При проектировании механосборочных цехов затраты времени могут определяться по одному из следующих методов: - по технологическому процессу; - методом сравнения; - по данным базового завода или ранее выполненных проектов; - по технико-экономическим показателям; - по типовым нормам. Воспользуемся данными по технологическому процессу. Рассчитываем станкоемкость детали: Тс = Тш.к, (6.3.1) где Тш.к. - сумма штучно-калькуляционного времени по каждой операции. Тогда Тс = 58,21 мин. Для станкоемкости в целом по изделию: Тс.и. = 510 мин, переводим в часы Тс.и. = 8,5 часа. Трудоемкость изделия при ручной сборке: Тр.и. = 1,6 часа. При конвейерной сборке: Тк.и. = 0,8 часа.
Количество станков.
где Тс - станкоемкость (8,5 часа); П - программа (8986 шт); Ки.ср. - средний коэффициент использования (0,85 для среднесерийного производства); Фэ - эффективный годовой фонд времени (3983,2 часов). По расчету получаем:
Количество сборочных рабочих мест. Узловой сборки: где Фэ.р. = 4106,4 часов - для сборочных рабочих мест без оборудования; ср = 1, коэффициент плотности сборочных работ; Ки.ср. - средний коэффициент использования рабочего места (0,85 для среднесерийного производства).
Число сборочных рабочих мест на конвейере:
Количество рабочих-станочников основного производства определим по станкоемкости:
где Фд.р. = 1847,9 часов - действительный фонд времени рабочего с учетом потерь; Км = коэффициент многостаночного обслуживания (для среднесерийного производства принимаем 1,4).
Число рабочих сборщиков:
где Тсб - трудоемкость узловой сборки.
Расчет общей численности персонала цеха проведем укрупненно по нормативам. Результаты оформим в виде таблицы. Таблица 6.1 Ведомость персонала механосборочного цеха.
Для транспортирования материалов, заготовок готовых деталей на сборку, средств технологического оснащения (приспособления, инструменты и т.п.) в цехах используют кары, погрузчики, тележки. Количество транспортных средств:
где М - масса перевозимых грузов (принимаем укрупненно по массе комплектов деталей для общей сборки М = GN, (6.7.2) M = 0,068986 = 539,2 тонны; I = 8 - среднее число транспортных операций; Тт = 25 мин - среднее время транспортировки; Кн = 1,25 - коэффициент неравномерности подачи груза; q = 1 тонна - грузоподъемность одного транспортного средства; Kq = 0,4 - коэффициент использования грузоподъемности; Фэ = 3983,2 часов - эффективный фонд времени;
Крупногабаритные заготовки, детали, узлы, приспособления станков в цехе транспортируются тельферами, кранами-балками, мостовыми кранами. Их количество рассчитывается по следующей формуле:
Тт = 5 мин - среднее время транспортировки; Кн = 1,5 - коэффициент неравномерности подачи груза;
Расчеты по вспомогательным участкам и службам ведем укрупненно с использованием с использованием нормативов. Основной параметр при этом - число станков основного производства в цехе. Таблица 6.8.1 Параметры вспомогательных участков.
Расчет площадей участков и отделений проводим укрупненно по нормативам, изложенным в литературе в процентах от площадей участков основного производства. Результаты оформляем в табличном виде. Таблица 6.9.1 Расчет участков и служб.
Продолжение табл. 6.9.1
Продолжение табл. 6.9.1
По результатам расчетов, с учетом рекомендаций литературы, выполняем компоновочный план цеха. Наиболее распространенной конструкцией здания цехов механосборочного производства является здание прямоугольной формы с полом на бетонном основании с системой колонн. Колонны соединены стропильными и подстропильными фермами, на которые сверху укладываются перекрытия. Для машиностроения приблизительно 85% зданий являются одноэтажными, как более экономичные и не имеющие ограничения по размещению тяжелого оборудования. Основными параметрами производственных зданий являются: L - ширина пролета (расстояния между продольными осями колонн, образующими пролет); t - шаг колонн (расстояние между поперечными осями колонн); h - высота пролета. При реализации требований к типизации и унификации производственных зданий разработаны производственные помещения габаритами 36x48 м, сеткой колонн 18х12 м. И общей площадью 1728 м2. Поскольку в данном цехе имеются грузовые краны грузоподъемностью 10/1,5 т, то высоту пролета принимаем 8,4 м.
Современные масштабы и темпы внедрения средств автоматизации управления в народном хозяйстве с особой остротой ставит задачу проведения комплексных исследований, связанных со всесторонним изучением и обобщением возникающих при этом проблем как практического, так и теоретического характера. В последние годы возникает концепция распределенных систем управления народным хозяйством, где предусматривается локальная обработка информации. Для реализации идеи распределенного управления необходимо создание для каждого уровня управления и каждой предметной области автоматизированных рабочих мест (АРМ) на базе профессиональных персональных ЭВМ. Анализируя сущность АРМ, специалисты определяют их чаще всего как профессионально-ориентированные малые вычислительные системы, расположенные непосредственно на рабочих местах специалистов и предназначенные для автоматизации их работ. Для каждого объекта управления нужно предусмотреть автоматизированные рабочие места, соответствующие их функциональному назначению. Однако принципы создания АРМ должны быть общими: системность, гибкость, устойчивость, эффективность. Согласно принципу системности АРМ следует рассматривать как системы, структура которых определяется функциональным назначением. Принцип гибкости означает приспособляемость системы к возможным перестройкам благодаря модульности построения всех подсистем и стандартизации их элементов. Принцип устойчивости заключается в том, что система АРМ должна выполнять основные функции независимо от воздействия на нее внутренних и возможных внешних факторов. Это значит, что неполадки в отдельных ее частях должны быть легко устранимы, а работоспособность системы - быстро восстановима.
Функционирование АРМ может дать численный эффект только при условии правильного распределения функций и нагрузки между человеком и машинными средствами обработки информации, ядром которых является ЭВМ. Лишь тогда АРМ станет средством повышения не только производительности труда и эффективности управления, но и социальной комфортности специалистов. Накопленный опыт подсказывает, что АРМ должен отвечать следующим требованиям: • своевременное удовлетворение информационной и вычислительной потребности специалиста. • минимальное время ответа на запросы пользователя. • адаптация к уровню подготовки пользователя и его профессиональным запросам. • простота освоения приемов работы на АРМ и легкость общения, надежность и простота обслуживания. • терпимость по отношению к пользователю. • возможность быстрого обучения пользователя. • возможность работы в составе вычислительной сети. Обобщенная схема АРМ представлена на рис. 6.11.1.
рис. 6.11.1.
рис. 6.11.2.
7.1. Организация производственного процесса по производству детали «картер» 7.1.1. Исходные данные. Таблица 7.1. Технологический маршрут обработки детали «картер»
7.1.2. Определение типа производства и обоснование формы организации производственного процесса.
Разработке организационно-плановых вопросов предшествует установление типа производства и формы его организации [ ]. Установить тип производства можно по коэффициенту закрепления операций (ηз.о.). Для определения числового значения этого коэффициента надо предварительно рассчитать средний производственный такт (с) и среднее штучное время изготовления детали по всем операциям (tшт.с.). ηз.о. = с/tшт.с., (7.1) с = Fдс / Nr, (7.2) Fдс = Fнηр, (7.3) Fн = (FрдТсм-FnnТск)h60, (7.4)
где Fд – номинальный фонд рабочего времени оборудования (рабочих мест) в плановой периоде при заданном режиме работы, мин; Fдс – действительный фонд рабочего времени оборудования в плановом году, мин; Nr – годовой объем выпуска деталей по заданию, Nr = 7200 шт; h – число рабочих смен в день, h = 2; Fрд, Fnn – количество рабочих и предпраздничных дней в году; Tсм – продолжительность рабочей смены, Tсм = 8,2 часа; Тск – количество часов, на которые сокращается рабочая смена в предпраздничные дни, Тск = 1 час; ηр – коэффициент, учитывающий потери времени на ремонт оборудования, при h = 2 принимаем ηр = 0,97; tшт.i – норма штучного времени на i-й операции; m – число операций.
Fн = (2518,2-51)260 = 246384 мин Fдс =2463840,97 = 238992,5 мин tшт.с = 84,78/12 = 7,06 мин с = 238992,5/7200 = 33,19 мин/шт ηз.о. = 33,19/7,06 = 4,7 мин Так как 1 < ηз.о < 4,7, то производство будет крупносерийным. Следует проектировать серийной участок, так как ηз.о > 2.
Важнейшими календарно-плановыми нормативами в серийном производстве являются: размер партии деталей, периодичность (ритм) их запуска в производство, длительность производственного цикла изготовления деталей, величина задела. Посчитаем месячный объем выпуска детали. Nм = NrFдс.м/Fдс.г, (7.6) Nм = 720018973,2/238992,5 = 570 шт. Размер партии деталей, запускаемый одновременно в производство, рассчитывается по среднему соотношению подготовительно-заключительного времени к штучному. nд = tп.з.с./tшт.сηд.п., (7.7) где nд – размер партии деталей, шт tп.з.с. – среднее подготовительно-заключительное время, мин tшт.с – среднее штучное время, мин ηд.п. – коэффициент допустимых потерь на переналадку оборудования, принимаем для среднесерийного производства ηд.п. = 0,02 nд = 6,76/7,060,02 = 50,1 шт. Предварительный размер партии деталей корректируем так, чтобы он был кратным месячному объему выпуска. Принимаем nд = 57 шт.
Qз = Nм/nд, (7.8) Qз = 570/57=10 Затем определяем какова будет периодичность повторения (ритм) запуска: Rn = Fрд/Q, (7.9) Rn = 20/10 = 2 дн. Далее рассчитываем штучно-калькуляционное время (tк), по каждой операции по формуле: tкi = tшт+tп.з/nд, (7.10) tk1 = 2,5+3,2/57 = 2,55 мин tk2 = 2,86+6,3/57= 2,97 мин tk3 = 12,68+5,9/57= 12,78 мин tk4 = 14,45+12,5/57 = 14,66 мин tk5 = 16,56+12,5/57=16,79 мин tk6 = 10,55+8,4/57 = 10,69 мин tk7 = 9,25+7,2/57 = 9,37 мин tk8 = 2,5+4,4/57 = 2,57 мин tk9 = 2,06+4,8/57 = 2,14 мин tk10 = 7,95+6,1/57 = 6,05 мин tk11 = 2,64+5,1/57 = 2,72 мин tk12 = 2,78+4,8/57 = 2,86 мин tk = 86,15 мин tkср. = 7,17 мин
Для определения
календарных
сроков выпуска
и запуска партии
деталей в
производство
и построения
графика работы
участка необходимо
определить
Определяем длительность производственного цикла для параллельно-последовательного вида движения.
где Тц – длительность производственного цикла изготовления партии деталей, раб.дней tкл – штучно-калькуляционное время обработки детали на i-й операции, мин nтр – величина транспортной партии, шт tест – время естественных процессов, мин Sпi – количество параллельно работающих рабочих мест i-й операции tмд – время межоперационного пролеживания партии деталей, принимаем для крупносерийного производства 0,55 дня.
Рассчитаем общую величину задела на участке по формуле: Zд = NдТц, (7.12) где Nд – дневной выпуск деталей, шт. Zд = 28,56,9 = 196 шт.
Количество рабочих мест на участке (Sp) определяем по формуле: Sp = tкNг/Fдс60, (7.13) Sp1 = 2,557200/398360 = 0,07 Sp2 = 2,977200 / 398360 = 0,08 Sp3 = 12,787200/398360 = 0,36 Sp4 = 14,667200/398360 = 0,42 Sp5 = 16,797200/398360 = 0,46 Sp6 = 10,697200/398360 = 0,32 Sp7 = 9,377200/398360 = 0,28 Sp8 = 2,577200/398360 = 0,07 Sp9 = 2,147200/398360 = 0,06 Sp10 = 6,057200/398360 = 0,18 Sp11 = 2,727200/398360 = 0,08 Sp12 = 2,867200/398360 = 0,08 Sp = 2,54 Коэффициент использования рабочих мест определяется отношением их расчетного числа к принятому. Расчетное количество рабочих (Wp) рассчитываем по каждой операции по формуле:
Fдр = Fипр, (7.15) где Sn – принятое количество рабочих мест
Fдр = 4106,40,9 = 3695,8 час
ис - коэффициент использования рабочих мест; м - коэффициент многостаночного обслуживания, принимаем для крупносерийного производства м = 1,5. Принятое количество рабочих мест определяется по каждой операции путем округления расчетного количества до ближайшего большего числа с учетом сменности работы, а затем данные суммируются. Коэффициент использования рабочих (пp) определяется, как отношение их расчетного числа к принятому. Таблица 7.2. Количество рабочих мест и рабочих на участке.
рис. 7.1
7.2.1. Определение стоимости основных фондов и амортизационных отчислений. Стоимость основных фондов для базового и проектного вариантов рассчитываются по следующим группам: 1. Здания, включая санитарно-технические устройства и сети промышленных проводок (отопление, вентиляция, водопровод, канализация освещение и др.). 2. Производственное оборудование. 3. Энергетическое оборудование. 4. Подъемно-транспортное оборудование. 5. Инструменты и приспособления. 6. Производственный и хозяйственный инвентарь. При определении стоимости зданий необходимо учитывать производственную площадь, занимаемую оборудованием, включая площадь проходов и проездов средствами наземного межоперационного транспорта и т.п., а также соответствующую долю конторских и бытовых помещений. Определим производственную площадь из расчета 15…25 м2 на один средний станок, 40…50 м2 на один крупный станок и 15…25 м2 на одно слесарное или контрольное место. Sпр = 445+720+115 = 335 м2 Площадь конторских и бытовых помещений принимаем в размере 25% от производственной площади. Sвсп = 25% от 335 =84 м2, (7.16) Общая площадь здания: Sобщ. = Sпр+Sвсп, (7.17) Sобщ. = 335+84 = 419 м2 Общую стоимость здания определяем по наружной площади, которую принимаем 1,05 от внутренней (расчетной) площади.
С учётом среднего коэффициента станков: Собщ = 22437450,21 = 471186 руб. Стоимость производственного оборудования (балансовая) определяется исходя из его количества по видам, оптовой цены по прейскуранту и затрат на транспортно-заготовительные и монтажные работы в размере 15% от цены. Расчеты сводим в таблицу. Таблица 7.3.
Стоимость подъемно-транспортного оборудования определяется по его оптовой цене с учетом затрат на транспортно-заготовительные и монтажные работы в размере 25% от цены. Стоимость инструментов и приспособлений (включенных в основные фонды) можно принять в размере 10% от балансовой стоимости производственного оборудования. Стоимость производственного и хозяйственного инвентаря может быть принята в размере 3% от стоимости производственного оборудования и здания. Расчеты заносим в таблицу. Таблица 7.4.
Расчет стоимости
и мощности
мощ.об. = 49,31 кВт мощ.ст. = 34,37 кВт Таблица 7.5.
Себестоимость изготовления детали по базовому и проектному вариантам определяется по следующим статьям затрат: Затраты на материалы за вычетом возвратных отходов. Материал заготовки: АК94 ГОСТ 1583-89 См = mзzмтр-mоzо, (7.19) где mз - масса заготовки, кг; zм - оптовая цена данного вида материала, принимаем 50 руб./кг; тр - коэффициент, учитывающий транспортно-заготовительные расходы, принимаем тр = 1,03. mо - масса реализуемых отходов, кг, 1,287 кг zо - цена отходов, 15 руб./кг. См = 7,287501,3-1,28715 = 454,35 руб. В статье "Основная заработная плата производственных рабочих" учитываются затраты на прямую (тарифную) зарплату (Сзт) и доплаты по прогрессивно-премиальным системам (Сзп). Сзо = Сзт+Сзп, (7.20)
где i и j - разряды рабочих; м - коэффициент многостаночного обслуживания, принимаем, м = 1,4; tкс.i и tкр.i - штучно-калькуляционное время операций i-го и j-го разрядов соответственно для станочных и прочих работ, мин;
rci
и rpj
- часовая тарифная
ставка соответственно
рабочих станочников
и
Доплаты по прогрессивно-премиальным системам определяются по формуле: Сзп = Сзтqзп/100, (7.21) где qзп - процент доплат по прогрессивно-премиальным системам к тарифной зарплате, принимаем qзп в размере 50%. Сзп = 20676050/100 = 103380 руб. Подсчитаем основную заработную плату: Сзо = 206760+103380 = 310140 руб. Кроме премий из фонда заработной платы, производственные рабочие и контролеры получают премии из фонда материального поощрения (ФМП), которые не входят в фонд зарплаты, однако учитываются при определении среднемесячной заработной платы и отчислений на социальное страхование. Сумма премий определяется следующим образом: Вф = Сзтqф/100, (7.22) где qф - процент премий из фонда материального поощрения, принимаем qф = 15%.
Дополнительная заработная плата производственных рабочих включает оплату отпусков, компенсацию за использованный отпуск и т.д. Дополнительная заработная плата рассчитывается по формулам: Сзд = Сздо+Сздф, (7.23) Сздф = Вфqзд/100, (7.24) Сздо = Сздqзд/100, (7.25) где Сзд, Сздо и Сздф - сумма дополнительной заработной платы соответственно: общая, от основной зарплаты и от премий из ФМП; qзд - процент дополнительной заработной платы, принимаем 11%. Сздф = 3101411/100 = 3411 руб. Сздо = 31014011/100 = 34115 руб. Сзд = 34115+2169 = 37526 руб. Общая сумма выплат из фонда заработной платы и из ФМП будет равна: Jо = Сзо+Вф+Сзд, (7.26) Jо = 310140+31014+37526 = 378680 руб.
Сос = Jоqос, (7.27) Jсм = Jо/12Wр, (7.28) где qoc - норматив отчислений на социальное страхование, qoc=35,6%; Wp - расчетное количество рабочих. Рассчитываем эти показатели и сводим все результаты в таблицу. Сос = 37868035,6/100 = 128124 руб. Jсм = 378680/12240,14 = 9391 руб. В статье "Расходы на содержание и эксплуатацию оборудования" учитываются затраты на амортизацию, эксплуатацию и текущий ремонт производственного и подъемно-транспортного оборудования и т.д. Плановая сумма расходов определяется исходя из их величины на час работы оборудования (в зависимости от стоимости, сложности, мощности и других параметров), занятого на изготовлении деталей, и количества часов его работы для производства одной детали. Расчеты по данной статье приведены в таблице 7.6.
В статью
"Цеховые расходы"
входят затраты
на содержание
цехового персонала
(основная и
дополнительная
заработная
плата и отчисления
на Цеховые расходы распределяются по отдельным видам продукции пропорционально сумме основной заработной платы производственных рабочих (без доплаты по прогрессивно-премиальным системам) и расходов по содержанию и эксплуатации оборудования. Принимаем для укрупненного расчета 30% прямой зарплаты и расходов по содержанию и эксплуатации цеха. Таблица 7.6
Расходы по содержанию и эксплуатации оборудования.
5,6310 = 56,3 руб. К статье "Износ инструментов и приспособлений" относятся затраты на изготовление, приобретение и ремонт технологической оснастки, предназначенной для изготовления определенных деталей. К прочим специальным расходам относятся расходы по содержанию специальных конструкторских и технологических бюро и отделов, испытательных станций и лабораторий и т.д.
В состав общезаводских расходов включается зарплата персонала заводоуправления и отчисления на соцстрах, расходы на командировки, служебные разъезды, содержание легкового транспорта, содержание и текущий ремонт зданий, сооружений, инвентаря, оплата за электроэнергию. Принимаем укрупненно в размере 50% от отношения основной зарплаты к прямой и расходов на содержание и эксплуатацию оборудования. В статью "Расходы на подготовку и освоение производства" входят затраты на освоение производств, агрегатов, новой техники. Укрупненно принимаем 4% от производственной себестоимости по базовому варианту. В статью "Прочие производственные расходы" включаются отчисления на стандартизацию, исследовательские работы, гарантийное обслуживание и ремонт продукции. Принимаем укрупненно 0,8% к производственной себестоимости. К статье "Внепроизводственные расходы" относятся затраты на сбыт продукции. Принимаем 3% от производственной (заводской) себестоимости. Результаты всех расчетов по себестоимости заносим в таблицу 7.8. Таблица 7.8.
Общая сумма капитальных вложений: К = Кос+Коб, (7.30) где Кос - стоимость основных фондов; Коб - стоимость нормируемых оборотных средств, принимаем в размере 25% от полной себестоимости годового выпуска. К = 2190120,71+740,7572000,25 = 3523470,71 руб. Станкоемкость и трудоемкость единицы продукции определяем по формулам:
где m
и n
- количество
механизированных
и ручных операций
tст = 1,52 ст.час tтр = 1,52/1,4+0,09 = 1,18 н.час Электровооруженность труда производственных рабочих рассчитываем по формуле: эл.с = Рэл.с/Wс, (7.33) где Рэл.с - мощность металлорежущих станков, кВт. эл.с = 34,37/12 = 2,86 кВт/чел. Прибыль от реализации продукции: П = 0,5Cп, (7.34) П = 0,5740,75 = 370,37 руб. Цена за единицу продукции: Zо = Cп+П, (7.35) Zо = 740,75+370,37 = 1111,12 руб. Годовой объем продукции в оптовых ценах: Q = ZоNг, (7.36) где Zо – оптовая цена детали Q = 1111,127200 = 8000064 руб. Производительность труда производственных рабочих рассчитывается следующим образом: Р = Q/Wр, (7.37) P = 8000064/240,14 = 46667,04 руб./чел.год Показатель фондоотдачи - выпуск продукции на один рубль основных фондов:
hфо = 8000064/2190120,7 = 3,65 руб./руб.оф Определим рентабельность продукции:
Общая (абсолютная) экономическая эффективность капитальных вложений в производственные фонды (коэффициент общей рентабельности) определим по формуле: E = ПоNг/К, (7.40) где По - общая сумма прибыли; К - сумма капитальных вложений в производственные фонды. Е = 370,377200/3523470,71 = 0,73 Срок окупаемости планируемых капитальных вложений в производственные фонды определим следующим образом: Ток = К/ПоNг, (7.41) Ток = 3523470,71/370,377200 = 1,3 года Результаты расчетов заносим в таблицу. Таблица 7.9.
8.1. Исследование методов отделочной и упрочняющей обработки деталей машин В технологии машиностроения механическая обработка корпусных деталей составляет до 30-40 % от общего объема механической обработки всех элементов изделия. Одновременно, корпусные детали во многих случаях являются базовыми при сборке изделий (например, корпус редуктора, корпус коробки передач и др.). [ ] Упрочняющая обработка деталей машин, в т. ч. и корпусных делится на следующие основные методы [ ].
рис. 8.1.1.
Для повышения
работоспособности
корпусных
деталей и,
следовательно,
работоспособности
изделия в целом
разработаны
и реализуются
различные
Основными положительными особенностями ППД являются: • высокая эффективность способов ППД, как средства повышения одной из важнейших эксплуатационных характеристик - усталостной прочности. Срок службы многих деталей за счет применения ППД повышается в несколько раз. Одновременно с этим существенно повышается износостойкость деталей стабилизируются показатели шероховатости и прочность неподвижных посадок; • универсальность способов ППД. Поверхностной чистовой и упрочняющей обработке можно подвергать детали практически из любых конструкционных материалов, любой твердости, детали любых размеров и конфигураций; • технологичность способов ППД, возможность его применения в различных типах производства, как при изготовлении новых деталей, так и в ремонтной технологии. В большинстве случаев внедрение процессов ППД не требует применения дорогостоящего специального оборудования. Конструкция применяемых приспособлений и оснастки не сложны, надежны в работе, имеют невысокую стоимость. Большинство методов ППД обладает малой трудоемкостью и себестоимостью; • возможность замены методами ППД традиционных методов абразивной обработки (шлифование, полирование). Как известно, последние методы сопровождаются появлением прижогов, структурной неоднородности, формирование в поверхностном слое неблагоприятных остаточных напряжений, шаржирование поверхности деталей осколками абразивных зерен.
Теоретически
механизм ППД
может объяснить
теория дислокации.
Пластическая
деформация
есть выражение
сдвигов, происходящих
в кристаллической
решетке материала
под действием
нагрузки. Решетка
искажается,
в результате
происходящих
сдвигов на
месте бывших
зерен металла
образуются
продукты их
разрушения
- вытянутые
вдоль приложения
силы
(нагрузки) обломки
зерен материала
и блоки. Растет
плотность
дислокаций,
меняется не
только взаимное
расположение
атомов в кристаллической
При ППД детали имеются две основные причины упрочнения: 1. Улучшение физико-механических свойств материала за счет различных структурных превращений (измельчение зерен и др.). 2. Формирование в поверхностном слое благоприятных для эксплуатации остаточных напряжений сжатия, возникающих вследствие развития явлений сдвига в кристаллической решетке. Одновременно с вышеуказанными факторами при ППД формируется определенный микрорельеф рабочих поверхностей деталей - снижается высота микровыступов, они становятся более плавными, увеличивается площадь фактического контактирования деталей, что обуславливает улучшение эксплуатационных свойств. Все многообразие методов ППД классифицируется в соответствии с ГОСТ 18296-72. Условно их можно подразделить на две основные группы: статические методы и динамические методы. Статические методы ППД основаны на постоянном взаимодействии деформируемого материала с инструментом, рабочим телом или средой в процессе обработки. Инструментом может быть специальный резец, алмазный наконечник, роликовый, шариковый или дисковый раскатник и т. п. Динамические метода ППД характеризуются прерывистым взаимодействием деформируемого материала и инструмента, рабочего тела, среды. В качестве инструмента используют бойки, ролики, металлические щетки. Рабочими телами при обработки служат костяная или абразивная крошка, металлические или стеклянные шарики, стальная или чугунная дробь..
Обкатка
роликами и
шариками позволяет
получить наклепанный
слой глубиной
3 мм и более,
твердость по
сравнению с
исходной повышается
на 20…40 %, предел
Подача при обкатке назначается с учетом обеспечения равномерного пластического деформирования всей поверхности, скорость при накатывании не оказывает существенного влияния на результаты и регламентируется преимущественно размерами и конфигурацией обрабатываемой детали. В большинстве случаев обкатка производится за один проход. Ролики для обкатки изготавливаются из сталей X12М, ХВГ, 5ХНМ, У10, У12, ШХ15, их рабочие поверхности должны иметь твердость не менее НRСэ 58. Обкатка деталей может производиться на токарных, шлифовальных, специальных накатных станках с установкой детали в центрах или патроне. При упрочнении деталей обкаткой в зону обработки может подаваться масло или сульфопрезол, смесь машинного масла 40% и веретенного масла 60%. Машинное время при раскатывании составляет 2…3 мин, что обеспечивает повышение, производительности труда по сравнению с хонингованием до 10 раз. В результате раскатывания деталей роликами, их износостойкость возрастает в 2…5 раз.
рис. 8.1.2.
Одним из главных узлов, обеспечивающих работоспособность изделий является сопряжение "корпус-подшипник-вал", схема которого представлена на рис. 8.2.1. Известно, что в результате чистовой обработки деталей резанием (например, шлифованием) обработанная поверхность имеет островершинный характер. В процессе этапа приработки микро выступы шероховатости деформируются до 60-75 % по высоте, в результате чего ухудшаются показатели контактной жесткости прессового соединения "деталь-подшипник". Для чистовой и упрочняющей обработки отверстий под подшипник в корпусных деталях с одновременным обеспечением плосковершинного характера профиля поверхности применяют роликовые и шариковые раскатники. Конструкция шарикового обкатника для отверстий 50...150 мм показана на рис. 8.2.2. Для обкатки используют горизонтально-расточные станки, на столе которых можно закрепить корпусную деталь. Конструкции роликовых и шариковых раскатников для ППД отверстий корпусов в настоящее время нормализованы (ГОСТ 17573-72). Мелкими партиями они выпускаются промышленностью. Необходимо особо подчеркнуть, что для обработки корпусов из цветных металлов (например, алюминия), чугуна способ ППД отверстий является практически единственным для повышения работоспособности узла. Такие традиционные мероприятия, как нанесение поверхностных твердых износостойких покрытий, термическая или химико-термическая обработка и т. п. часто вообще неприемлемы. При обеспечении положительных результатов известные роликовые и шариковые раскатники не лишены определенных недостатков. Часто они сложны по конструкции, трудоемки в изготовлении, ограничены по типоразмерам обрабатываемых поверхностей. Тем не менее, многие известные фирмы в настоящее время включают обкатники и раскатники в штатное обеспечение оборудования с ЧПУ (SANDVIK Coromant и др.).
С помощью стакана для регулирования усилия осуществляется необходимое силовое воздействие ролика на обрабатываемую поверхность детали.
а - островершинная поверхность после чистовой обработки резанием; б - плосковершинная поверхность после чистовой обработки ППД
рис. 8.2.2. Роликовые раскатники фирмы «SANDVIC Coromant» для ППД отверстий (исходная шероховатость поверхности Ra = 2,5 мкм, после обработки Ra = 0,2 мкм)
Рис. 8.2.3. Эскиз приспособления.
Производительность процесса обкатывания или раскатывания определяют радиусом профиля Rпр ролика. Ролики с большим радиусом профиля позволяют вести обработку с большей подачей, однако в этом случае для получен высокого качества поверхности необходимо создавать большие рабочие усилия. От значения допустимого рабочего усилия зависят параметры ролика. Ролики с цилиндрическим пояском позволяют работать с большей подаче. Чем больше ширина цилиндрического пояска, тем больше может быть подача. Материал изготовления ролика - ШХ15, ГОСТ 4543-73. Для обработки внутренней поверхности детали можно использовать приспособление показанное на рисунке 8.2.4, разработанное в МГАПИ [ ]. Результаты чистового и упрочняющего раскатывания роликами отверстий изложены в работе [ ].
рис. 8.2.4. Приспособление
для обработки
внутренних
поверхностей
Волнистость можно устранить стабилизацией усилия в контакте роликов с деталью с помощью снижения трения в обкатных узлах. Для раскатывания глубоких отверстий диаметром 115 и 125 мм создано устройство, в котором обкатные узлы и пружинный механизм их нагружения установлены на опорах качения, что привело к полному устранению волнистости на обкатанной поверхности. Это позволило со вместить упрочняющее и чистовое раскатывание и обеспечить сохранение прямолинейности отверстия. На рис. 8.2.4. показаны конструкции устройств для ППД отверстий, когда в качестве деформирующего элемента применяют естественные или синтетические алмазы. Эти инструменты производит АО ТЗАИ (г. Томилино, Московской области). Следует отметить, что применение этих инструментов по ряду причин (в том числе высокой стоимости) ограничено.
Рис. 8.2.7. Типовая конструкция алмазного инструмента для выглаживания
Рис. 8.2.8. Выглаживающий
наконечник
Рис. 8.2.9. Общий
вид наконечника
для выглаживания
поглаживания 8.3. Обработка отверстий ППД пружинными инструментами.
• удешевление конструкции оснастки; • упрощение переналадки для обработки новых деталей и др. Для практического использования при обработке отверстий предложены пружинные устройства двух основных видов: с осевым и круговым расположением пружин (рис. 8.3.1 и рис. 8.3.2). Все предлагаемые конструкции являются оригинальными (патенты РФ 150407, 1666290, 2006361). Известно, что для чистовой и упрочняющей обработки методами ППД преимущественно используются инструменты из СТМ - естественные или синтетически алмазы, твердые сплавы и т. п. Однако об эффективности использования пружинных деформирующих элементов известно сравнительно давно (изобретение по а.с. СССР 21868 и др.). Для поверхностного пластического деформирования отверстия проектной детали применяем пружинное устройство с осевым расположением деформирующих пружин (№ 1013239, кл. В 24 В 39/02, патент 1504072), изображенное на рис. [ ]. Изобретение относится к технологии машиностроения, в частности к отделочной упрочняющей обработке деталей машин, а именно к конструкции пружинного инструмент для упрочняющей обработки. Цель изобретения - повышение производительности за счет увеличения длины пяти контакта пружинного инструмента с деталью и интенсификация процесса ППД. Данное устройство предназначено для ППД отверстий корпусов или внутренней цилиндрической поверхности деталей.
Работа устройства может осуществляться по следующим основным вариантам: 1. вариант сверлильной обработки - обрабатываемая деталь неподвижна, а устройство вращается и имеет осевую рабочую подачу; 2. вариант токарной обработки - деталь помещается в трех-кулачковый патрон и имеет вращение, а устройство имеет рабочую осевую подачу. В этом случае незакрепленные грузы не применяют;
В устройстве применяются пружины из материала ХВГ, диаметром проволоки 3,5 мм (твердость HRCэ 60), их рабочая поверхность полируется до шероховатости Ra = 0,05 мкм. Выводы: 1. Для отделочно-упрочняющей обработки поверхностей вращения, плоскостей можно эффективно использовать пружинные инструменты данной конструкции, которые отличаются от аналогичных инструментов тем, что, с целью повышения производительности за счет увеличения длины пятна контакта инструмента с деталью, они снабжены по меньшей мере одной дополнительной пружиной, причем торцы фланцев выполнены коническими, а узел крепления пружины выполнен в виде винта с расположенной на нем упорной шайбой и размещен на фланцах под углом 10-15° к оси оправки, при этом радиальный и упорный подшипники расположены в узле крепления на винте по разные стороны шайбы. 2. Данное пружинное устройство отличается, также тем, что, с целью интенсификации процесса, оно снабжено грузами с массой 10-20 % от массы пружины, свободно расположенными внутри пружины. 3. Пружинные устройства при обработке деталей могут обеспечить результаты, сопоставимые с показателями работы оснастки традиционной конструкции, имеющей в качестве деформирующих элементов твердые ролики, шарики или СТМ. Конструкции пружинных инструментов для ППД отверстий, разработанные в МГАПИ, показаны на рис. 8.3.1 и рис. 8.3.2.
Рис 8.3.2. Пружинное
устройство
для ППД отверстий
Координатные измерительные приборы и универсальные измерительные центры применяются сегодня на самых различных участках промышленного производства. Как крупные предприятия, гак и мелкие фирмы или организации используют уникальные возможности универсальных измерительных центров для обеспечения высокого качества продукции. Основанная на применении станков с ЧПУ современная технология позволяет работать со все более жесткими допусками. Такая технология предъявляет и более высокие требования к обеспечению качества. Универсальные измерительные центры различных эксплуатационных показателей должны стать средствами контроля, органично вписывающимися в технологический процесс. Здесь требуется обеспечить решение комплексных задач измерений как формы, так и положения. В дипломном проекте рассмотрено применение универсального измерительного центра серии UMC, UMC850. К особенностям данного измерительного центра относятся: Стационарный стол изделия - позволяет производить загрузку тяжелыми деталями, не оказывая влияния на точность направляющих; - позволяет производить простое, надежное закрепление деталей, при котором силы ускорения не вызывают сползания; - позволяет производить закрепление и освобождение деталей во время измерения; - имеет незначительную массу и компактную конструкцию; - при измерении небольших деталей предоставляется короткое неизменное расстояние для наблюдения удобной позиции сидя. Передвижной портал - позволяет иметь оптимальный доступ со всех сторон;
В качестве направляющих элементов применяются исключительно воздушные подшипники фирмы "ОПТОН", обладающие особой жесткостью и виброустойчивостью. Их расход воздуха составляет всего 4 л/мин. Расположение воздушных подшипников и качество направляющих из твердого камня гарантируют наименьшие возможные отклонения направляющих по всем осям. Линейные измерительные системы - фокусины фирмы "ОПТОН", применяемые для машин серии UMC поставляются с разрешающей способностью 0,5 или 0.2 мк. При сканировании контуров для измерения форм и профиля точная разрешающая способность повышает точность информации в результатах измерения. Эффективное демпфирование колебаний гарантируется при помощи пневматических демпфирующих элементов, расположенных между нижней частью станины и столом изделия. Измеряющая 3-х координатная щуповая головка позволяет производить статически прием значений измерений в нулевой точке индуктивной измерительной системы щуповой головки, непрерывный сбор значений измерений в режиме сканирования и самоцентрирующее ощупывание пазов, впадин между зубьями, отверстий, витков резьбы и т.п. Отдельное приложение измерительного усилия и гидравлическое демпфирование позволяют настраивать на нулевую точку щуповой головки до полной остановки приема значений измерений, воспроизводимость составляет при этом + 15 мк по каждой оси. В режиме сканирования плоские пружины допускают пути измерения щуповой головки ±0,2 мм. Отклонение щуповой головки преобразуется в цифровую форму с разрешающей способностью 0,1 мк.
Измерительные центры серии UMC имеют экономичную и хорошо доступную конструкцию. Стабильная станина с демпфированием колебаний при помощи пневматических демпфирующих элементов, регулирующих уровень, покоится на основании. Она несет портал с поперечными салазками и пинолью Z. Все направляющие элементы, такие как основная станина, поперечная балка и пиноль, состоят из отборного гранита тончайшей структуры чрезвычайно правильной формы с высокой жесткостью на изгиб, На их точно доведенные поверхности опираются салазки машины с помощью неизнашиваемых воздушных подшипников без трения с большими направляющими базами. За счет этого достигается прямолинейность движения салазок, перпендикулярные перемещения которых по отношению друг к другу могут быть точно отъюстированы. Благодаря специальной технике воздушные подшипники фирмы "ОПТОН" особенно жестки и виброустойчивы. Салазки машины приводятся в движение с помощью двигателей с дисковым ротором. Оптимально подогнанная электроника плавно регулирует скорость перемещения во всем диапазоне скорости. В случае столкновения движущиеся моменты ограничиваются максимально допустимой силой тяги. Передача силы производится с помощью приводных элементов без зазора и поперечного усилия. Незначительная погрешность и высокая скорость измерения, высокая предельно допускаемая нагрузка стола, не оказывающая влияния на направляющие» а также хороший доступ к детали со всех сторон - вот комплекс преимуществ измерительного центра UMC. Для сведения к минимуму простоев производственного оборудования необходима быстрая реакция. Сокращение продолжительности измерений и обеспечение достаточно высокой их точности способны повысить надежность станочного оборудования и качество продукции. Добиться этого позволяют современные координатные измерительные приборы. Таблица 8.4.1
Для выполнения требований сегодняшнего производства необходимо применение универсальных координатных измерительных приборов с числовым программным управлением через ЭВМ. Такие приборы с полностью автоматизированным управлением используются для многих заготовок различных типо-размеров.
Описанные здесь измерительные приборы с ЧПУ, работающие в трех координатах, используются для обеспечения качества продукции почти во всех измерительных лабораториях. Ускоренное развитие производственной структуры выдвигает необходимость дальнейшей автоматизации координатных измерительных приборов. Для сокращения подготовительно-заключительного времени требуется установка и последовательная проверка на координатном измерительном приборе нескольких одинаковых заготовок. Решить такую задачу можно с помощью универсального программного оборудования. Необходимо также автоматизировать процесс замены измерительного щупа, пробок. Обеспечивается это с помощью управляемого ЭВМ механизма смены щупа. Современное производство нуждается в координатной измерительной технике. Необходимо создавать и внедрять новые виды технологии, поэтапно внедряя надежные в работе компоненты. Это откроет возможность для успешной и экономически эффективной интеграции автоматизированных координатных измерительных средств и современного производства. Выводы.
В данном
разделе проведено
определение
погрешности
обработки
методом математической
статистики.
Определен запас
точности и
уровень настройки
инструмента
при обработке.
Выяснено, что
технологический
процесс является
точным, но запасом
точности не
обладает; а
уровень настройки
неудовлетворительный
и его следует
производить
по центру корпуса
Вероятность
получения брака
по верхнему
пределу допуска
составляет
около
1. Стандарт СТП МГАГИ. Проекты (работы) дипломные и курсовые. - М: МИП, 1988.-32 с. 2. Султан-заде Н.М., Жуков КП, Зуев В.Ф. Методические указания по оформлению курсовых и дипломных проектов. – М.: МГАПИ, 2001. -117с. 3. Султан-заде Н.М. Конспект лекций. Основы проектирования автоматизированных технологических процессов. - М.: МГАПИ, 1999. -94с. 4. Орлов E.H., Султан-заде Н.М., Албагачиев А.Ю. Методические указания для выполнения курсового проекта по дисциплине Технология машиностроения. - М.: МГАПИ, 1997 - 84 с. 5. Основы технологии машиностроения. В.М. Кован, В.С. Корсаков и др. - М.: Машиностроение, 1977. - 416 с. 6. Маталин А.А. Технология машиностроения. - Л.: Машиностроение. 1985. - 496с. 7. Обработка металлов резанием: Справочник технолога. А.А.Панов и др. - М.: Машиностроение, 1988. – 736 с. 8. Справочник технолога машиностроителя. В 2-х томах. Под ред. А.Г. Косиловой и Р.К. Мецерякова. - М.: Машиностроение, 1985. 9. Власьевнина Л.К., Яценко Л.Г. Проектирование и производство заготовок в машиностроении. Части 1 и 2. – М.: МГАПИ, 2000. 10. Барановский Ю. В. Режимы резания металлов. Справочник. - М.: Машиностроение, 1972. – 407 с., ил. 11. Демьянюк Ф.С, Технологические основы поточно-автоматизированного производства. – М.: Высшая школа, 1968. – 700 с., ил. 12. Безопасность жизнедеятельности. Безопасность технологических процессов и производства. П.П. Кукин, В.Л. Лапин, Е.А. Подгорных и др. - М.: Высшая школа, 1999, - 318 с.
14. Схартладзе А.Г. Технологическая оснастка в машиностроении. Альбом конструкций. В 2-х частях. - М.: МГТУ Станкин, 1998. 15. Корсаков B.C. Основы конструирования приспособлений - М.: Машиностроение, 1983, 278 с., ил. 16. Станочные приспособления. В 2 томах. Под ред. В.Н. Вардашкина.- М.: Машиностроение, 1984 17. Балабанов А.Н. Технологичность конструкции машин. - М.: Машиностроение, 1987. - 256 с. 18. Машиностроительные материалы. Под ред. В.М. Раскатова. - М.: Машиностроение, 1980. - 511 с. 19. Осипов Ю.И., Ершов А.А. Проектирование механосборочных участков. - М.: МГАПИ, 2000. - 51 с. 20. Режимы резания и нормирование операций на станках с ЧПУ. Под ред. В.П. Клочкова и Н.М. Султан-заде. - М.: МГАПИ, 1998. -112с. 21. Иллюстрированный определитель деталей общемашиностроительного применения. РТМ. - М: Стандарты, 1977. - 238 с. 22. Ершов А.А. Повышение качества и эффективность отделочной обработки деталей энергетического машиностроения. - М.: ЦНИИТЭИтяжмаш, 1991. - 60 с. 23. Горохов. В.А. Оснастка для поверхностного пластического деформирования в автоматизированном производстве. - Минск: Белниинти, 1992. – 109 с. 24. Намаконов Б.В. Экологическая концепция производства. Тяжелое машиностроение. - 2000. - № 2. - с. 2
25. Вознюк
Г.В. Экологически
безопасные
формовочные
смеси на основе
щелочного
алюмосиликатного
связующего.
Проблемы и пути
реализации
научно- 26. Бутаков Б.И. Чистовое и упрочняющее раскатывание роликами глубоких отверстий/Проблемы и пути реализации научно- технического потенциала военно-промышленного комплекса. - Киев, ИСМ Украины, 2000. - с. 20 27. Никифоров А.В., Федоров Д.В., Ленинцев Д. Н, Пружинные инструменты для обработки деталей/Тяжелое машиностроение. - 1998. - № 4. - с. 41 28. Никифоров А.В., Сахаров В. В. Технологические возможности и перспективы чистовой и упрочняющей обработки упругим инструментом. - М.: ВНИИТЭМР, 1991. - 56 с. Ил. 29. Горохов В. А. Оснастка для поверхностного пластического деформирования в автоматизированном производстве. - Минск: БЕЛНИИНТИ, 1992. – 108 с. ил.
ОТЗЫВ на дипломный проект студента Вечернего факультета МГАПИ Бакачёва А.И., шифр 96009 специальнось 1201 Тема проекта: "Проект участка цеха с детальной разработкой единичного технологического процесса изготовления детали "Картер". Тематика дипломного проектирования является актуальной и соответствует основным направлениям развития машиностроения на современном этапе. В соответствии с Методическими указаниями МГАПИ в пояснительной записке дан анализ исходных данных, рассмотрены конструктивно-технологические особенности объекта производства, проведен анализ технологичности конструкции узла и базовой корпусной детали из алюминиевого сплава. Проведено проектирование исходной заготовки и расчет припусков. Описана технология сборки, проведен расчет размерной цепи. При оценке базового технологического процесса предложено модернизировать ряд операций механической обработки резанием. Одновременно предлагается использовать в качестве упрочняющей обработки основных отверстий процесс ППД. Показаны особенности процесса ППД, основные технологические характеристики. Рассмотрены различные варианты использования технологической оснастки для пластического деформирования. Дан расчет технологических параметров цеха. В проекте имеется конструкторский раздел, в котором приведено описание и необходимые расчеты по используемым приспособлениям. Раздел "Безопасность жизнедеятельности" проекта включает анализ опасных и вредных факторов производства, разработку мероприятий по их устранению. Дана оценка современных экологических требований. Организационно-экономический раздел проекта посвящен оценке разработанных дипломником конструктивных и технологических решений, на основании чего определены основные технико-экономические показатели проекта. Построен график безубыточности. Приложение к записке проекта содержит необходимую технологическую документацию. Графическая часть дипломного проекта выполнена хорошо. За период дипломного проектирования дипломник обнаружил необходимые знания в области общетехнических и специальных дисциплин. Может самостоятельно ставить и решать технические и технологические задачи. Бакачёв А.И. имеет среднетехническое образование по родственной специальности. На основании изложенного считаю, что дипломный проект заслуживает оценки ОТЛИЧНО, а Бакачёв А.И. – присвоения квалификации ИНЖЕНЕРА. Руководитель проекта к.т.н., доцент кафедры МТ1 А.В. Никифоров. ...................... 2002 года |
|||||||||||||||||||||||||||||||||||||||||||||||||||||||||||||||||||||||||||||||||||||||||||||||||||||||||||||||||||||||||||||||||||||||||||||||||||||||||||||||||||||||||||||||||||||||||||||||||||||||||||||||||||||||||||||||||||||||||||||||||||||||||||||||||||||||||||||||||||||||||||||||||||||||||||||||||||||||||||||||||||||||||||||||||||||||||||||||||||||||||||||||||||||||||||||||||||||||||||||||||||||||||||||||||||||||||||||||||||||||||||||||||||||||||||||||||||||||||||||||||||||||||||||||||||||||||||||||||||||||||||||||||||||||||||||||||||||||||||||||||||||||||||||||||||||||||||||||||||||||||||||||||||||||||||||||||||||||||||||||||||||||||||||||||||||||||||||||||||||||||||||||||||||||||||||||||||||||||||||||||||||||||||||||||||||||||||||||||||||||||||||||||||||||||||||||||||||||||||||||||||||||||||||||||||||||||||||||||||||||||||||||||||||||||||||||||||||||||||||||||||||||||||||||||||||||||||||||||||||||||||||||||||||||||||||||||||||||||||||||||||||||||||||||||||||||||||||||||||||||
Аннотация
5.3.
Мероприятия,
обеспечивающие
снижение вредного
воздействия
на окружающую
среду
На
основании
Методических
указаний МГАПИ,
дипломный
проект включает
раздел безопасности
жизнедеятельности
и технико-экономический
расчет.

рис.3.9.1.
Фрезерная
операция.
,
(4.2.3)





,
(7.5)
,
(7.11)
Стандарт-план
запуска-выпуска
партии деталей
и изменения
задела на участке.
,
(7.20)
Расчет
заработной
платы и отчислений
на социальное
страхование.









