Реферат: Способы защиты земляного полотна от обледенения и промерзания
|
Название: Способы защиты земляного полотна от обледенения и промерзания Раздел: Рефераты по транспорту Тип: реферат | ||||||||||||||||||||||||||||||||||||||||||||||||||||||||||||||||||||||||||||||||||||||||||||||||||||||||||||||||||||||||||||||||||||||||||||||||||||||||||||
СГУПС Реферат на тему: "Способы защиты земляного полотна от обледенения и промерзания" Выполнил: студент группы МТ-111 Дауберт А.А. Проверил: Бахтин С.А. Новосибирск 2002 г. Введение. Наледи – сложное природное явление, довольно широко распространенное в Восточной части России. Зимой почти сразу после первых морозов многочисленные ручьи и ключи, текущие по склонам долин и распадков и имеющие, как правило, северную экспозицию, начинают замерзать и образовывать наледи – сначала малозаметные и почти не беспокоящие строителей, но постепенно растущие, приобретающие внушительные размеры и имеющие значительные объемы откладываемого льда. Наледи серьезно затрудняют работы, оказывая различные воздействия на строящиеся или эксплуатируемые объекты, особенно железнодорожные пути, притрассовые автомобильные дороги, водопропускные трубы и малые мосты. Факторы наледеобразования, независимо от степени их проявления и характера их воздействия, можно разделить на природные (естественные) и искусственные (сопутствующие), вызываемые полезной деятельностью человека. В настоящее время существует огромное количество различных средств противоналедной борьбы. По характеру все ее средства делятся на пассивные, ослабляющие наледное воздействие, но не оказывающие влияния на факторы наледеобразования, и активные – ликвидирующие наледеобразовательные процессы или устраняющие воздействие наледей на сооружения. К пассивным противоналедным устройствам относятся постоянные и временные дощатые и шпальные заборы, сезонные мерзлотные пояса, снеговые валы, отепление постоянно действующих водотоков, подогрев наледных вод, механизированное и ручное рыхление и скалывание льда, а также пропуск наледных вод через железнодорожный путь по освобождаемым от балласта шпальным ящикам или по ледовым канавам под пролетными строениями мостов и в водопропускных трубах. Несмотря на значительные затраты, пассивные способы борьбы с наледями обычно не дают желаемого результата, не обеспечивая также безопасности движение по железным дорогам. Защитные противоналедные мероприятия Защитные средства противоналедной борьбы различаются на сезонные и постоянные. К сезонным защитным мероприятиям относятся: устройство сезонных обходов на притрассовых автодорогах и зимниках; устройство настилов на наледях, покрывающих проезжую часть притрассовых автомобильных дорог; засыпка наледных мест на временных автодорогах щебнем и скальным грунтом; отвод наледных вод но канавам во льду и пропуск их через шпальные ящики железнодорожного пути и проезжую часть притрассовых автодорог; выколка и удаление наледного льда из отверстий водопропускных сооружений и кюветов вручную и механизированным способом с использованием бульдозеров и рыхлителей; резка наледного льда механическими пилами и баровыми механизмами; взрывание наледного льда, а также его таяние. К постоянным защитным мероприятиям относятся:
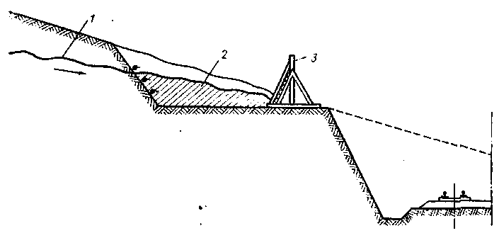
Постоянные защитные мероприятия, несмотря на довольно значительные капитальные затраты, могут полностью ликвидировать наледное воздействие на дорожные сооружения или свести его к допустимому минимуму, проявляющемуся только в отдельные, наиболее суровые зимы. Иногда подобный эффект может быть обеспечен превращением выемки в насыпь (рис. 3). В
Рис. 3. Превращение выемки в насыпь (с уширением выемки для размещения средств противоналедной борьбы): 1 — уровень верха наледи до реконструкции; 2 — очертание выемки после реконструкции; 3 — уровень яерха наледи после уширения выемки; 4 — очертание выемки после постройки дороги; 5 — выходы наледных вод одоотводящие бордюрные камни и водопоглощающие устройства позволяют в некоторых случаях успешно осуществлять противоналедную борьбу.Водоотводящие бордюрные камни представляют собой своеобразные сборные лотки из железобетона, имеющие водоприемные отверстия, которые могут не только поглощать, но и отводить наледную воду. Некоторые модификации таких устройств имеют откидные крышки и нагревательные элементы, являясь одновременно средствами снегоборьбы. Наиболее целесообразно применять эти устройства в населенных пунктах или на горных дорогах, имеющих требуемые уклоны. Водопоглощающие устройства предназначены в основном для защиты от наледей, возникающих при таянии снега (стоковых), на больших площадях, имеющих асфальтобетонное или бетонное покрытие. Их выполняют в виде блоков из фильтрующего Морозостойкого бетона либо пластбетона (рис. 4). При необходимости они могут иметь вверху сменный блок-фильтр, под которым помещается нагревательный элемент, обеспечивающий успешное функционирование этого устройства в самых суровых климатических условиях. С
Рнс. 4. Водопоглощающее устройство пециальные противоналедно-водопропускные сооруженияК специальным водопропускным сооружениям, предназначенным одновременно для безналедного пропуска постоянно и периодически действующих водотоков, относятся специальные свайно-тоннельные водопропускные сооружения, противоналедные мосты-трубы, эстакадные засыпные мосты с лотковыми пролетными строениями, эстакадные мосты с подземными водовмещающими и водопропускными каналами. Свайно-тоннельные водопропускные сооружения представляют собой конструкцию, расположенную в нижней части насыпи земляного полотна в виде тоннельной полости или щели необходимой толщины, образованной рядами свай с плитами-насадками и заборными стенками-плитами, служащей для беспрепятственного пропуска водотока с постоянно действующей наледью. Применение этих сооружений в качестве противоналедного средства основано на минимальном нарушении местных инженерно-геологических, гидрологических и гидрогеологических условий, являющихся обычно мощными факторами наледеобразования.
Рис. 5. Протнвоналедный мост-труба: 1 — уровень подруслового потока; 2— граница аллювия ротивоналедные мосты-трубы (рис. 5), как предыдущие конструкции, минимально нарушают природные условия и являются их аналогами. Они состоят из свай, насадок, плит перекрытия, стеновых плит и лоткового элемента с утеплителем.Эстакадные засыпные мосты с лотковым пролетным строением, рекомендуемые в качестве эффективных противоналедно-водопропускных сооружений, сохраняют все преимущества легких свайно-эстакадных мостов и устраняют их значительный недостаток — легкую выпучиваемость опор. Конструкция таких засыпных мостов представляет собой лотковое пролетное строение из сборных элементов, установленное через насадки на опоры из свай-оболочек. Лотковое пролетное строение состоит из плит перекрытия, имеющих по краям вертикальные стенки, образующие лоток, засыпаемый скальным или дренирующим грунтом, по верху которого укладывают верхнее строение железнодорожного пути или устраивают проезжую часть автомобильной дороги. Во избежание высыпания грунтов насыпи в русло водотока с наружной стороны свайных опор устанавливают плитное ограждение, которое у входной и выходной части русла разводится в стороны, ликвидируя конусы насыпи. В случае необходимости конструкция таких сооружений может быть и многопролетной. Эстакадные мосты с лотковыми пролетными строениями являются эффективными защитными противоналедными средствами, позволяющими русловым наледям беспрепятственно проходить через них. Эстакадные мосты с подземными водовмещающими каналами п
Рис. 6. Эстакадный мост с подземным водовмещающим каналом: 1 — поверхность наледи до постройки водовмещающего канала; 2 — подземный водовмещающий канал редставляют собой почти обычную конструкцию мостов, главной особенностью которой является наличие под мощением русла специального водовмещающего канала, служащего для пропуска как подрусловых, так и русловых потоков без их промерзания, и, следовательно, образования наледей (рис. 6). В качестве каналов могут быть использованы продольные траншеи, засыпанные крупноглыбовым скальным грунтом, а также железобетонные трубы больших диаметров. Кроме того, можно применять остатки срубленных призматических свай, остающиеся после постройки эстакадных мостов, для устройства подземных проходных лотков с теплоизоляцией, которые должны начинаться и заканчиваться каменной фильтрующей кладкой или отепленной засыпкой из скального грунта в виде своеобразных входных и выпускных оголовков выше и ниже мостового перехода. Осушительные устройства и сооружения В соответствий с применяемой терминологией все осушительные устройства и сооружения, используемые в качестве средств противоналедной борьбы, разделяют на дренажные и каптажные. К дренажным противоналедным устройствам относится открытый дренаж в виде осушительных канав и лотков, а также закрытые дренажи-преградители с водонепроницаемыми экранами и перфорированными трубами с засыпным фильтром, с трубофильтрами из фильтрационного бетона, из дренажных экранных плит из фильтрационного бетона, из сборных шпунтовых дренажных элементов из фильтрационного бетона, из сборных экранных электроосмотических элементов криогенной конструкции. Открытый дренаж в виде осушительных канав и лотков (рис. 7) рекомендуется применять на сильно заросших таежной растительностью бортах речных долин и горных склонов с наличием заболоченных террас, подстилаемых элювиально-делювиальными отложениями. Как правило, борьба с такими наледями очень затруднена, так как даже хорошо выполненные противоналедные дренажи закрытого типа не всегда могут поглотить все горизонты подземных вод или необходимо устраивать несколько ярусов, в то время как открытые канавы и лотки легко справляются с этой задачей. Кроме того, открытые дренажи являются особенно эффективными в условиях смешанного питания наледей поверхностными и подземными водами, то выходящими на поверхность из глыбово-россыпных отложений склонов, то вновь поглощаемыми ими. Для успешного применения таких средств противоналедной борьбы можно также рекомендовать использовать на водоотводных участках сборные железобетонные лотковые элементы в виде полуколец с откидными крышками со слоями эффективного утеплителя, например пенопластового (рис. 8). З
Рис. 8. Конструкция водоотводной канавы и лотка из железобетонных полуколец с утеплителем: 1 — откидывающаяся крышка с теплоизоляцией; 2 — снег; 3 — железобетонное полукольцо; 4 — слой пенопласта; 5 — шарнир
Рис. 7. Открытый дренаж в виде осушительных канав и лотков: 1— поверхность наледи до устройства открытых дренажных канав; 2 — осушительные канавы акрытые дренажи с водонепроницаемыми экранами (рис. 9) традиционно применяют для борьбы с наледями грунтовых вод. Они представляют собой перфорированные керамические, асбоцементные или фанерные трубы со слоем фильтра и дренирующей засыпки, укладываемые в траншеи глубиной 2— 4 м. Основной особенностью этих дренажей является наличие со стороны защищаемого сооружения водонепроницаемого экрана из' мятой глины или дощатых шпунтовых щитов с наклеенными на них слоями гидроизоляции из рубероида или мешковины на битумной мастике.Качественное устройство правильно запроектированных противоналедных дренажных сооружений такой конструкции почти полностью гарантирует ликвидацию наледного образования, однако требует применения ручного труда. Кроме того, в сложных грунтовых условиях, когда необходимо усиленное крепление стенок траншей, обеспечить качественное выполнение работ затруднительно, а доставка дренирующего грунта, перфорированных труб и других материалов на косогорные участки требует предварительного устройства временных подъездов, осуществление которых уже само по себе может вызвать появление новых наледей. Несмотря на большую трудоемкость устройства таких дренажных сооружений и высокую стоимость, их долговечность на участках вечной мерзлоты бывает невелика. З
Рис. 9. Закрытый дренаж с водонепроницаемыми экраном, перфорированными трубами с засыпным фильтром: 1 — поверхность наледи до устройства дренажа; 2 — перфорированные трубы
Рис. 10. Длинномерные дренажные блоки длиной в 6 м для устройства дренажа акрытые дренажи с трубами из фильтрационного бетона (трубофильтрами) (рис. 10) представляют собой долговечную и надежную конструкцию, не требующую устройства крепления стенок траншей и позволяющую полностью механизировать работы благодаря применению специальных дренажеров-укладчиков.Закрытые дренажи из экранных плит фильтрационного бетона (рис. 11) позволяют полностью механизировать работы по устройству дренажей, в том числе дренажей-преградителей, главной особенностью которых является наличие на сборных секциях водонепроницаемого экрана со стороны ограждаемого сооружения. При устройстве таких противоналедных сооружений можно с успехом применять легкие баровые дренажные машины конструкции Е. В. Шушакова (рис. 12), с помощью которых не только отрывают траншеи глубиной до 5 м и шириной до 0,5 м в мерзлом грунте на косогорных участках, но и устанавливают в них дренажные секции. З
Рис. 12. Дренажная баровая машина для устройства дренажных сооружений в обычных, мерзлых и скальных грунтах
Рис. 11. Конструкция противоналедного дренажа, выполненного из плит фильтрационного бетона: 1 — экран из плотного бетона с оклеенной гидроизоляцией со стороны ограждаемого объекта; 2 — уровень наледи до устройства дренажа акрытые дренажи из сборных шпунтовых элементов (рис. 13) разработаны недавно и еще не нашли широкого применения, однако в определенных грунтовых условиях они могут дать большой экономический эффект за счет исключения земляных и полной механизации других работ но их устройству.Учитывая, что устройство противоналедных дренажно-шпунтовых сооружений связано с необходимостью использования специальных механизмов — вибропогружателей, электростанций и кранов — рекомендуется применять сборные шпунтовые дренажи в основном при новом строительстве. Закрытые дренажи, основанные на новых принципах технической мелиорации грунтов, представляют собой индустриальные конструкции сборных дренажей, использующие, кроме гравитационного перемещения воды в грунтах, и другие способы их осушения: вакуумный, капиллярный, электроосмотический, криогенный и др. Закрытый дренаж электроосмотической конструкции (рис. 14) основан на принципе перемещения воды от положительного электрода к отрицательному и рекомендуется для т
Рис. 13. Закрытый дренаж из сборных (шпунтовых) элементов: 1 — острие дренажного элемента из Железобетона; 2 — овоидальиый водоотводный канал; 3 — стенка из железобетона; 4 — шпунт н гребень на торцовых стенках, служащие для соединения отдельных секций; 5 — стержни дли крепления вибропогружателей; 6 — рама фильтрующей части; 7 — фильтру кип л я (многослойная) часть, заменяемая после заиливания из крупнопористого бетой я и песчаного пластбетонного фильтра онкодисперсных грунтов, в которых почти вся вода находится в физически связанной форме, не подчиняется гравитационным силам и не оттекает в дренажи, чем в основном и объясняется наблюдаемая малая эффективность обычных дренажных устройств.В случае применения электроосмотического дренажа положение резко меняется — особый импульсный электрический ток напряжением всего в несколько вольт, получаемый от аккумуляторной батареи или через понижающий трансформатор и преобразователь от осветительной или силовой сети, превращает физически связанную воду в гравитационную, которая начинает поступать в дренажные элементы и отводиться за пределы ограждаемого участка. Положительным электродом служит голый стальной провод, во избежание коррозии покрываемый графитовой смазкой, который укладывают и л глубине 0,5—0,8 м над осушаемым участком, а отрицательным — арматура сборных дренажных элементов, выполняемых в виде блоков, плит или длинномерных элементов. Закрытый дренаж криогенной конструкции (рис. 15) основан па принципе перемещения подземных вод к фронту промерзания и рекомендуется для участков с распространением тонко-дисперсных грунтов. Он состоит из блоков, выполненных из плотного морозостойкого бетона с фильтрующими вставками (из морозостойкого бетона или пластобетона), в нижней части которых имеется водоотводный канал в виде железобетонного лотка со щелями в стенках.
Рис. 14. Закрытый противоналедный дренаж электроосмотической конструкции: 1 — положительный электрод (провод); 2 — поверхность откоса; 3 — засыпной фильтр из песка; 4 — монтажные петли, служащие для прикрепления соединителей; 5 — водоотводной канал; б — сборные дренажные элементы с отрицательным электродом; 7 — арматура дренажных элементов, служащая отрицательным электродом роме того, разработана конструкция двухъярусного криогенного дренажа, верхняя часть которого работает как криогенная (в зимнее время), а нижняя часть — попеременно (как криогенная — зимой и как обычная гравитационная — летом).
О
Рис. 15. Закрытый дренаж криогенной конструкции: 1 — выходы ключей; 2 — криогенный двухъярусный дренаж: 3 — линзы льда под основной площадкой земляного полотна, приводящие к образованию бугров пучения до устройства дренажа сновной принцип работы таких дренажей заключается в том, что с наступлением устойчивого понижения температуры воздуха в зимнее время начинается ускоренное промерзание грунта, сопровождаемое явлением миграции воды, содержащейся в нем, к фронту промерзания.К каптажно-осушительным противоналедным устройствам относятся каптажные противоналедные устройства, пластово-откосные каптажные устройства засыпного типа или сборного типа из плит фильтрационного бетона. К
Рис. 16. Каптажное противоналедное устройство с пропуском наледных вод по коллектору под земляным полотном: 1 — направление потока подземных вод;2 — водоотводные канавы; 3 — водоприемный люк с электроподогревателными элементами (решеткой); 4 — верхний водоприемно-смотровой колодец; 5 — верхний водоотводный коллектор: 6 - У-образный каптаж; 7 — нижний водоприемно-смотровой колодец; 8 — электрораспределительное силовое устройство; 9 — нижний водоотводный коллектор; 10 — выпуск каптированных вол аптажные противоналедные устройства (рис. 16) представляют собой весьма эффективное средство протнвоналедной борьбы. Общим признаком разнообразных конструкций этих устройств является наличие на пути подземных вод, питающих наледи, каптажной стенки из камня, каменной выкладки на мху или засыпки из крупного галечника с валунником. Хорошо зарекомендовала себя У-образная (в плане) каптажная стенка, устраиваемая в широких траншеях, отрываемых в грунтах, со слоями вертикального или наклонного фильтра со стороны потока подземных вод и водонепроницаемого экрана со стороны сооружения.Каптированные грунтовые воды подрусловых аллювиальных отложений легко транспортируются за пределы ограждаемого участка железной дороги по водоотводному коллектору, укладываемому под земляным полотном или пропускаемому в отверстии самой водопропускной трубы, если уклон местности позволяет это сделать (рис. 17). Пластово-откосные каптажные устройства из сборных плит представляют собой слой фильтра из песчано-гравийной смеси, насыпаемой на спланированную поверхность откоса выемки земляного полотна с многочисленными рассеянными выходами горизонтов подземных вод, на который укладывают сборные плиты из фильтрационного бетона. В
Рис. 17. Каптажное противоналедное устройство с пропуском наледных вод по коллектору, укрепляемому на кронштейнах внутри отверстия водопропускной трубы: 1 — уровень наледей до сооружения каптажного устройства: 2 — У-образное каптажное устройство; 3 — выходы ключей; 4 — водоприемно-смотровой колодец; 5 — водоотводная канава; 6 — водоотводный коллектор; 7 — водопропускная труба; 8 — выпуск каптированных вод нижней части откоса устраивают дренажную траншею, в которую укладывают длинномерные дренажные элементы, принимающие подземные воды и отводящие их за пределы ограждаемого участка. Регуляционные противоналедные мероприятия К таким регуляционным противоналедным мероприятиям относятся: углубление и спрямление русел рек, устройство каменно-земляных дамб для создания подпора с целью ликвидации перекатов и мелководий концентрация водных потоков сужением русел, устройством водоотводных каналов и лотков, устройством искусственных подрусловых каналов для концентрированного пропуска подземных вод аллювиальных отложений. Все эти мероприятия, за исключением последнего, просты, однако противоналедный эффект от них может быть достаточно высок. Поэтому при строительстве и эксплуатации дорог на Севере их следует повсеместно применять для ликвидации или значительного уменьшения русловых наледей. Что касается устройства подрусловых каналов для концентрированного пропуска подземных (грунтовых) вод в аллювиальных отложениях, рассмотренного выше, то применение их следует расширять благодаря весьма высокой эффективности и малой стоимости» Мероприятия и устройства, вызывающие таяние льда и подогрев наледных вод Такие иротивоналедные мероприятия могут быть как сезонного, так и постоянного типа. К мероприятиям сезонного типа относятся засоление наледного льда, таяние льда электронагревательными элементами и греющими кабелями от передвижных электростанций, паровыми иглами от передвижных локомобилей, сжиганием жидкого и твердого топлива в открытых металлических емкостях, специальными льдотающими агрегатами. Засоление наледного льда, основанное на понижении точки замерзания воды в зависимости от количества .растворенных в ней солей, довольно широко применяют .на многих автомобильных дорогах для борьбы с гололедными образованиями. Кроме хлористых солей натрия и кальция, исходя из опыта ГДР можно рекомендовать хлористый магний, понижающий точку замерзания водного раствора почти до — 40° Таяние льда электронагревательными элементами и греющими кабелями от передвижных электростанций оказывается экономически выгодным по сравнению с ручным скалыванием и удалением наледного льда, несмотря на относительно высокую стоимость электроэнергии. Для обслуживания одного, а иногда и нескольких перегонов с наледными участками достаточно одной передвижной электростанции, установленной на вездеходе или автомобиле высокой проходимости, обслуживаемой водителем-мотористом, который периодически (4—5 раз в сутки) совершает челночные рейсы. У наледного объекта водитель-моторист подключает ранее уложенные нагревательные элементы или греющие кабели к распределительному щиту передвижной электростанции, вызывая таяние наледного льда или подогрев наледных вод. На наледный участок можно также доставлять небольшие переносные электростанции, работа которых в течение нескольких суток может полностью ликвидировать наледную опасность, так как подогретые наледные воды вызывают протаивание наледного льда с образованием внутри него довольно значительных каналов и полостей, по которым наледные воды могут циркулировать, не замерзая, довольно продолжительное время. Таяние льда сжиганием жидкого или твердого топлива, несмотря на его кажущуюся малую эффективность, применяют на многих отечественных и зарубежных дорогах главным образом благодаря его простоте, дешевизне и довольно ощутимым результатам при правильном использовании для борьбы с русловыми, грунтовыми и смешанными наледями. Наиболее простым вариантом этого способа является сжигание дров в порожних металлических бочках от топлива со срезанными верхними днищами, тепло от которых передается льду, образуя его интенсивное таяние и ускоряя подогрев наледных вод. И
Рис. 18. Таяние наледного льда с применением льдотающего агрегата: 1 — льдотающий агрегат; 2 — поверхность наледи; 3 — канава для отвода воды ногда вместо дров в качестве топлива используют соляровое масло, сжигаемое через форсунки или капельницы, питаемые от бачков, устанавливаемых на некоторой высоте над бочками, которые сначала быстро погружаются в оттаиваемый наледный лед, а затем стабилизируются в нем.Таяние льда с применением агрегатов (рис. 18) является эффективным противоналедным средством. Такие агрегаты представляют собой устройства, аналогичные применяемым на строительстве гражданских зданий для сушки стен («огнеметам»). Они работают на соляровом топливе, но имеют систему жаровых труб, по которым горячие газы отводятся от топки, вызывая таяние наледного льда и подогрев наледных вод. Этот способ борьбы с наледями по сравнению с таянием льда сжиганием дров в металлических бочках более эффективен и экономичен, поэтому может рекомендоваться к широкому использованию на эксплуатируемых дорогах. К постоянным устройствам для таяния льда и подогрева наледных вод относятся обогрев проезжей части дорог, днищ водотоков, лотков труб, мостовых русел электрическими нагревательными элементами, встроенными в конструкции дорожных сооружений, а также за счет геотермальной энергии, с помощью горячей воды, пара или горячего воздуха, подогрев русловых вод поплавками и рамочными электронагревательными элементами. Обогрев проезжей части автомобильных дорог, лотков водопропускных труб и мостовых русел электрическими нагревателями, как показывает опыт его применения, может быть очень эффективным противоналедным средством, однако его можно применять при наличии источников электроэнергии. Обогрев дорожных сооружений и устройств горячей водой и паром рекомендуется при возможности получения этих теплоносителей (в виде отходов производства с промышленных предприятий). Наиболее реальна организация такой противопаледной борьбы на заводских территориях, подъездных путях .и дорогах, особенно в населенных пунктах. Этот способ борьбы с наледями исключительно надежен и прост, позволяет успешно осуществлять борьбу с наледями даже на больших водотоках с минимальными затратами на эксплуатацию устройств. П
Рис. 19. Подогрев русловых вод рамочными электронагревательными элементами 1 — рамочные электронагревательные элементы: 2 — верхний максимальный уровень наледи до установки электронагревателей; 3 — понижающий трансформатор и ячейки автоматики; 4 — датчик температуры; 5 — клеммные . коробки одогрев русловых вод поплавковыми и рамочными электронагревателями (рис. 19) аналогичен описанным выше способам противоналедной борьбы с применением электронагревательных элементов, за исключением того, что они не встроены в конструкции сооружений, а устанавливаются перед ними на постоянно действующих водотоках. Поплавковые водонагреватели в основном предназначаются для борьбы с наледями, образующимися в канавах, кюветах и лотках вблизи земляного полотна и искусственных сооружений.Заграждающие противоналедные мероприятия и устройства. Заграждающие противоналедныо средства бывают постоянными и сезонными. К сезонным средствам относятся сезонные русловые и грунтовые мерзлотные пояса, снеговые и снежно-ледовые валы, щитовые, дощатые и шпальные заборы, заграждения из промороженной мешковины. С
Рнс. 20. Сезонные русловые мерзлотные пояса: 1 — мерзлотный пояс; 2 — вал из снега, льда или грунта; 3 — ось дороги езонные русловые и грунтовые мерзлотные пояса (рис. 20 и 21) представляют собой участки местности у ограждаемых сооружений, с которых удаляют растительный покров, лес и кустарник, а в начале зимнего периода и снег, который также периодически очищают зимой. Их применение основано на создании водонепроницаемых экранов на пути русловых и грунтовых водных потоков за счет ускоренного промерзания русел рек и грунтов деятельного слоя с последующим образованием наледей в удалении от ограждаемых дорожных сооружений.Снеговые и снежно-ледовые валы (рис. 22) служат для борьбы с грунтовыми и смешанными (руслово-грунтовыми) наледями. Как правило, эффективность их мала, так как наледные воды могут легко фильтровать через эти валы, хотя их с
Рис. 21. Сезонные грунтовые мерзлотные пояса: 1 — очертание деятельного слоя после устройства пояса; 2 — граница деятельного слоя до устройства пояса; 3 — выходы надмерзлотных вод после устройства поясов; 4 — мерзлотный пояс: 5 — наледь после устройства пояса; 6 — нагорная канава; 7 — наледь до устройства пояса; 8 — вечная мерзлота; 9 — уровень надмерзлотных вод
Рис. 22. Снеговые (снежно-ледовые) валы, совмещенные с мерзлотными поясами: 1 — уровень вечной мерзлоты; 2 — уровень воды; 3 — граница промерзания в первую половину зимнего периода; 4 — слой снега; 5 — выходы наледных вод; 6 — наледь: 7 — снеговой вал тараются сделать водонепроницаемыми, обливая водой. Кроме того, устройство их также требует применения ручного труда.Щ
Рис. 23. Щитовые заборы: 1— нисходящий источник; 2 — наледь; 3 — противоналедный забор итовые заборы (рис. 23) в отличие от снеговых валов устанавливать легче, так как они состоят из готовых секций. Однако для создания водонепроницаемости стыков между секциями щитового забора их приходится уплотнять мокрым снегом и заливать водой, что является трудоемкой и нежелательной операцией. Дощатые и шпальные заборы (рис. 24) но сравнению с щитовыми требуют больших трудовых затрат на установку, но более эффективны, так как почти не имеют водопроницаемых стыков, если изготовлены из шпунтованных досок.Заграждения из промороженной мешковины могут рекомендоваться в качестве временного противоаварийного мероприятия. Этот метод борьбы с наледями аналогичен предыдущим, но отличается легкостью устройства (рулонные полотнища прикрепляют к заранее установленным стойкам и, увлажняя, промораживают). К постоянным заграждающим противоналедным устройствам относятся: русловые мерзлотные пояса с применением замораживающих установок автоматического типа, грунтовые мерзлотные пояса в виде поперечных широких канав с валами или с применением замораживающих установок автоматического типа, земляные валы со шлюзами, фильтрующие дамбы из крупноглыбного грунта, водонепроницаемые экраны, постоянные дощатые заборы, ряжевые стенки с каменным заполнением, железобетонные плитные заборы. Р
Рис. 24. Дощатый (шпальный) забор
Рис. 25. Русловой мерзлотный пояс с применением замораживающей установки автоматического типа для образования ледяных дамб: I — трубы подняты; II трубы опущены; 1 — обсадные трубы; 2 — эстакадный мостик; 3 — замораживающие трубы Гапссоа условые мерзлотные пояса с применением замораживающих установок автоматического типа (рис. 25) отличаются от обычных русловых мерзлотных поясов применением автоматических замораживающих установок в виде труб, заполненных керосином, которые в летнее время поднимают на специальную раму или эстакаду в виде легкого мостика. В зимнее время их опускают и русло реки и сразу же включают в работу, намораживай в течение лишь нескольких суток устойчивую ледяную дамбу. Грунтовые мерзлотные пояса в виде поперечных широких канав с валами представляют собой резерв, из которого при благоприятных грунтовых условиях отсыпают земляной вал. Земляные валы со шлюзами-щитами наиболее эффективны на наледных участках со смешанными руслово-грунтовыми наледными водами. Главное отличие их от предыдущих конструкций — применение в средней части земляного вала, обычно находящейся в области тальвега лога с постоянно действующим ручьем, шлюза в виде подъемного или закладного щита, опускаемого в начале зимнего сезона и поднимаемого с началом таяния наледного льда весной. Применением такого противоналедного сооружения удается на ряде наледных участков накопить большое наледное поле и не допустить выхода наледи к защищаемому сооружению. Иногда эффективно борются с наледями, устраивая на водотоке несколько валов со шлюзами-щитами. Фильтрующие дамбы из крупноглыбового скального грунта предназначены для борьбы со смешанными наледями на косогорных участках, а также на незначительных по расходу постоянно действующих водотоках. Такие противоналедные сооружения не требуют приведения их в рабочее состояние, так как являются самонастраивающимися на летний и зимний режимы работы. Для ускоренного охлаждения тела фильтрующих дамб в начале зимнего периода применяют вентиляционные короба, закладываемые в каменную кладку при устройстве дамб, по которым циркулирует холодный воздух, вызывая замерзание фильтрующих наледных вод. Водонепроницаемые экраны служат для борьбы с грунтовыми наледями и выполняются из деревянного шпунта или мятой глины. Как правило, они самостоятельно не применяются, а только дополняют другое противоналедное сооружение (земляной вал или мерзлотный пояс). Постоянные дощатые заборы в основном применяют для борьбы со смешанными руслово-грунтовыми наледями или русловыми наледями на постоянно действующих водотоках с небольшими расходами (типа рассеянно-ключевых вод на косогорных участках). Практика показала, что эффективность таких устройств недостаточна, так как перед наступлением зимнего сезона их требуется приводить в рабочее состяние — закрывать щитами русло водоотводных канав, а также тщательно конопатить все щели и стыки. Ряжевые стенки с каменным заполнением являются развитием описанных выше противоналедных устройств в виде фильтрующих дамб, но в отличие от них менее подвержены деформациям пучения, а также требуют меньше камня для устройства. Применять их наиболее целесообразно для борьбы со смешанными, а также русловыми наледями. В последнем случае рекомендуется дополнительно использовать подъемные или закладные шлюзы-щиты в средней части, совпадающие с тальвегом лога, а также водонепроницаемые экраны и автоматические замораживающие установки. Железобетонные плитные заборы — долговечные противоналедные устройства, хотя и требуют более значительных капиталовложений. Они менее подвержены различного рода деформациям, например пучению, от которых сильно страдают дощатые заборы. Конструкции этих заборов могут быть разнообразными и зависят от местных инженерно-геологических условии, но обязательно должны иметь стойки-сваи с противонучинными устройствами заанкеривающего типа, а также щиты в виде тонкостенных железобетонных л лит. Основным недостатком их является необходимость перевода на летний или зимний режим работы. Отепляющие противоналедные мероприятия К весьма аффективным противоналедным мероприятиям конструктивного типа, способным не только значительно ослабить, но даже полностью ликвидировать наледи, относятся отепляющие мероприятия:
Эти .средства противоналедной борьбы отличаются простотой и высокой надежностью, поэтому рекомендуются к широкому применению. Нанесение на стенки и днища лотков, каналов и канав защитных термоизоляционных покрытий применяется для снижения тепловых потерь в руслах водотоков и может быть довольно эффективным мероприятием. В качестве покрытий можно использовать различные материалы (от неноэпоксида до деревянной облицовки). Установка теплоизоляционных щитов и крышек над водоотводными канавами, лотками и каналами позволяет снизить тепловые потери в атмосферу и может быть весьма эффективным мероприятием против образования русловых наледей. Их изготовляют из теплоизоляционных материалов (аналогично рис. 9) в виде легких навесных конструкций, устанавливаемых в рабочее положение в начале .зимнего сезона. Перевод зимнего расхода открытых водных потоков на подземный сток очень эффективен при борьбе с русловыми наледями. Для этого можно использовать обычные коллекторы, оборудованные водоприемными колодцами, или водовмещающие каналы, описанные выше. Устройство краткосрочных подпоров воды на постоянно действующих водотоках для образования над ними ледяных кровель не требует каких-либо капиталовложений для своего осуществления. Подпоры можно получить установкой дощатых закладных щитов между стойками, предварительно забитыми в русло водотока. Сразу же после установления устойчивого ледяного покрова щиты поднимают, вызывая падение уровня воды с образованием над ним теплоизоляционного воздушного слоя. О
Рис. 26. Отепляющий настил: 1 — жерди; 2 — снег; 3 — мох или торф: 4 — хворост тепляющие настилы над канавами, лотками и каналами устраивают из жердей, укладываемых поперек водотока, и слоя веток хвойных деревьев, быстро заносимых снегом и завершающих конструкцию такого противоналедного устройства (рис. 26). Эти противоналедные средства широко применяют на автомобильных и железных дорогах. К их недостаткам следует отнести потребность в ручном труде, а также ежегодную рубку хвойного лапника или кедрового стланника, что не удовлетворяет требованиям защиты окружающей среды. Заключение. Список литературы.
Содержание.
|
||||||||||||||||||||||||||||||||||||||||||||||||||||||||||||||||||||||||||||||||||||||||||||||||||||||||||||||||||||||||||||||||||||||||||||||||||||||||||||













К











