Реферат: Разработка модели технологического процесса получения ребристых труб и ее апробация
|
Название: Разработка модели технологического процесса получения ребристых труб и ее апробация Раздел: Рефераты по технологии Тип: реферат | ||||||||||||||||||||||||||||||||||||||||||||||||||||||||||||||||||||||||||||||||||||||||||||||||||||||||||||||||||||||||||||||||||||||||||||||||||||||||||||||||||||||||||||||||||||||||||||||||||||||||||||||||||||||||||||||||||||||||||||||||||||||||||||||||||||||||||||||||||||||||||||||||||||||||||||||||||||||||||||||||||||||||||||||||||||||||||||||||||||||||||||||||||||||||||||||||||||||||||||||||||||||||||||||||||||||||||||||||||||||||||||||||||||||||||||||||||||||||||||||||||||||||||||||||||||||||||||||||||||||||||||||||||||||||||||||||||||||||||||||||||||||||||||||||||||||||
СОДЕРЖАНИЕ ВВЕДЕНИЕ 4 ЛИТЕРАТУРА 116 ВВЕДЕНИЕ Рациональное использование природных ресурсов и энергии является важнейшей задачей производства, экономики и экологии. Поэтому создание оборудования, позволяющего экономить тепловую энергию, является наиболее актуальным. В решении этой проблемы важная роль принадлежит литейному производству, т.к. литьем получают большинство гидравлического и энергетического оборудования. Среди подобного оборудования особое место занимают литые теплообменники, конструкция которых постоянно усовершенствуется, позволяя более рационально использовать тепловую энергию. Другим направлением в производстве теплообменников, является их удешевление за счет используемого при их отливке сплава. т.к. к подобным отливкам предъявляются повышенные требования по герметичности, то их обычно изготавливают из стали, цветных сплавов или высокопрочного чугуна, что значительно увеличивает стоимость этих отливок. Выход видится в использовании серого чугуна, для чего необходимо найти способы улучшить его свойства. В производстве подобных отливок также важная роль отводится математическому моделированию, которое в значительной степени упрощает прогнозирование процесса формирования отливки, структуры металла и, в конечном итоге, качества получаемой отливки. АНАЛИЗ И ТЕНДЕНЦИИ РАЗВИТИЯ ЛИТЬЯ ТЕПЛОЭНЕРГЕТИЧЕСКОГО ОБОРУДОВАНИЯПроизводство теплоэнергетического оборудования является важной экономической и экологической задачей. Это определяет актуальность задачи повышения надежности и долговечности работы и коэффициента полезного действия энергетического оборудования, в том числе и теплообменников. Надежность и экономичность работы этих агрегатов определяется работоспособностью радиаторов - узлов, работающих в условиях повышенных давлений и в агрессивной среде. Теплообменники подразделяются на промышленные и бытовые. Выпуск бытовых радиаторов впервые был налажен еще в 40-х годах на Московском чугунолитейном заводе им.Войкова (Россия). [1]. Были созданы различные типы радиаторов, разработаны технологии их производства. На заводе им.Войкова проводились исследования по разработке связующих материалов для стержневых смесей, применяемых в производстве радиаторов. В результате исследований был разработан безмасляный крепитель БК. [2]. Для стержневых смесей был предложен также безмасляный крепитель КО, для изготовления которого использовались остатки производства синтетических жирных кислот, растворенных в уайт-спирите. [3]. Особые требования при литье радиаторов предъявляются к металлу отливки. Сплав должен обладать:
Такими материалами обычно служат сталь, чугун и некоторые цветные сплавы. Однако, высокая стоимость стали и цветных сплавов, а также низкие литейные свойства этих сплавов ограничивают широкое их применение в качестве материала для отливок гидросистем и теплоэнергетического оборудования. Наиболее широкое применение при изготовлении теплообменников получил чугун, как более дешевый, доступный и хороший литейный материал. [24]. Одним из основных требований, предъявляемых к чугуну, является его герметичность. Требования по герметичности предъявляются к большинству отливок, работающих с жидкостями и газами под давлением. При наблюдении за работой гидравлических устройств, работающих под давлением, часто приходится наблюдать явления, противоречащие друг другу. Так, в ряде случаев одни и те же материалы иногда ведут себя по-разному. То появляется просачивание жидкости при небольшом давлении, то при значительных давлениях тот же материал ведет себя совершенно по-другому и показывает хорошую герметичность. [24]. Герметичность отливок зависит от неплотного строения. Неплотное строение отливок вызывают макро- и микродефекты. Макродефекты - усадочные, песчаные, шлаковые раковины, различного рода трещины, спаи и другие нарушения сплошности металла; микродефекты - газовая и рассредоточенная усадочная пористость, крупные выделения графита, дефекты, связанные с фазовыми превращениями материала отливки и другие. [8]. Эти дефекты приводят к браку отливок. С целью изучения герметичности чугунов многими исследователями были проведены ряд опытов, которые проливают свет на природу герметичности чугунов. Герметичность определяют различными способами: минимальной толщиной стенки, выдерживающей заданное давление, максимальным давлением до появления течи, расходом жидкости и газа через стенку определенной толщины при постоянном давлении, поэтому невозможно сопоставить результаты отдельных исследователей. Так, например, Г.Тамман и Г.Брейдемейер предложили метод определения пористости чугуна красящими веществами. Чугунные кубические образцы с длиной ребер 30 и 60 мм помещали в свободное пространство стального цилиндра с плотно пригнанным поршнем, заливались водным раствором фуксина или зозина и с помощью пресса в течение 10-30 минут подвергали гидростатическому давлению. По количеству красителя, проникающего в образец, определялась пористость чугуна. [24]. В США применяется электропневматический метод испытания на герметичность. [8]. Скорость утечки сжатого воздуха из полости отливки контролируется электрическими датчиками. Метод пригоден для проверки различных по объему образцов при различных давлениях и позволяет качественно оценить герметичность, автоматизировать процесс испытания и автоматически сортировать отливки по герметичности. Герметомер, созданный в Санкт-Петербургском политехническом институте (Россия), основан на определении количества газа, просочившегося через стенку образца за определенное время. [8]. Герметичность определяют с достаточно высокой точностью. Недостаток - низкая производительность и необходимость изготовления специальных образцов. На предприятиях, выпускающих гидравлическую аппаратуру и оборудование, испытания на герметичность проводят на специальных стендах. К рабочей полости изделия в течение определенного времени под давлением (1.5-2.5 номинального) подводится рабочая жидкость. По величине потери давления определяется герметичность рабочей полости. [8]. В Одесском политехническом университете проводились исследования герметичности серых чугунов, подвергая образец, вырезанный из отливки, одностороннему давлению жидкости (газа). [9]. Результаты испытания серых чугунов разного состава иллюстрируют влияние графитовой и усадочной пористости на характер фильтрации жидкости. Анализ показывает, что количество просочившейся жидкости и, следовательно, определившаяся при этом величина герметичности зависят от пористости в сплаве, а также от свойств металлической основы (фазовый состав, прочность и пластичность материала). [8,9]. Известно, что величина и тип пористости, являющийся одним из основных критериев герметичности, в значительной степени зависят от величины интервала кристаллизации. [19]. Поэтому большое значение приобретает химический состав применяемого чугуна, определяющий интервал кристаллизации. Исследованы зависимости пористости от содержания в чугуне углерода и кремния. [19, 20, 21]. Установлено, что при увеличении содержания углерода и кремния возрастают число пор и их размер. Установлено, что герметичность чугунных отливок с пластинчатым графитом зависит от количества и размеров включений графита в структуре чугуна. [22]. Графитовые включения, сообщаясь между собой, приводят к образованию “транзитной” микропористости из-за сообщаемости между собой зазоров на границах графит-матрица по сечению стенки отливки, что приводит к браку отливки по “течи”. По этим зазорам проникают жидкости и газы в стенках сосудов, работающих под давлением. [23]. Учитывая все вышеизложенное, основными мероприятиями, направленными на совершенствование технологии радиаторного литья, должны быть;
совершенствование системы заливки и питания отливки. РАЗРАБОТКА ТЕХНОЛОГИЧЕСКОГО ПРОЦЕССА ИЗГОТОВЛЕНИЯ ОТЛИВКИ ТЕПЛООБМЕННИКАПри разработке литейной технологии очень важен обоснованный выбор наиболее рациональных приемов, обеспечивающих необходимые эксплуатационные свойства литых деталей и высокие технико-экономические показатели производства: получение качественных отливок при минимальной их стоимости; высокая производительность; экономия металла в результате уменьшения припусков на обработку; экономия топлива, электроэнергии и вспомогательных материалов; максимальное использование имеющегося оборудования и оснастки. Проектирование технологического процесса изготовления отливки включает разработку необходимой технологической документации: чертежей, расчетов, технологических карт и др. Объем технологической документации зависит от типа производства (единичное, мелкосерийное, серийное, массовое). В условиях единичного и мелкосерийного производства все технологические указания наносят непосредственно на чертеж детали. При серийном и массовом производстве на основании анализа технический условий на деталь и ее конструкции, расчетов и справочных данных разрабатывают чертеж отливки, чертежи моделей, стержневых ящиков, модельных плит и т.д. Правила выполнения чертежей элементов литейной формы и отливки установлены ГОСТ 2.423-73. АНАЛИЗ ЗАКАЗАПрежде чем приступить к проектированию технологии изготовления отливки, необходимо оценить возможности и целесообразность выполнения заказа на данном предприятии, руководствуясь техническими возможностями различных способов литья, общими принципами классификации отливок по их характерным признакам, сведениям о мощности подъемно-транспортных средств, наличии необходимого технологического оборудования, опок, материалов и др [29]. Деталь теплообменник (Рис.2-1) по назначению относится к особоответственным отливкам, т.к. работает под давлением в агрессивной среде. Отливка подвергается испытанию давлением 11 кгс/см2. Производство отливок единичное. Опытная партия составляет 34 шт. Отливка по массе относится к 1 группе - мелкие отливки, т.к. ее масса составляет 34 кг. По сложности отливка относится к 2 группе сложных отливок.
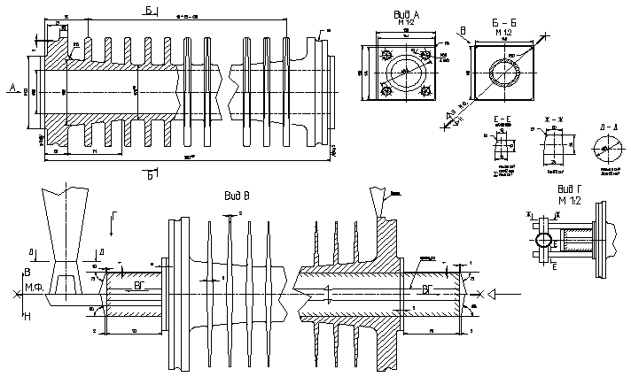
Рис.2-1. Труба ребристая Имеющееся в расположении технологическое оборудование дает возможность отлить опытную партию отливок в сырые песчано-глинистые формы при ручном способе изготовления форм. АНАЛИЗ ТЕХНОЛОГИЧНОСТИ КОНСТРУКЦИИ ЛИТОЙ ДЕТАЛИ И ВЫБОР СПОСОБА ИЗГОТОВЛЕНИЯ ОТЛИВКИТехнологичной называют такую конструкцию изделия или составных ее элементов (деталей, узлов, механизмов), которая обеспечивает заданные эксплуатационные свойства продукции и позволяет при данной серийности изготовлять ее с наименьшими затратами. Технологичная конструкция характеризуется простотой компоновки, совершенством форм. При наличии отклонений от указанных требований должен быть поставлен вопрос о внесении в конструкцию детали необходимых изменений [29].
а
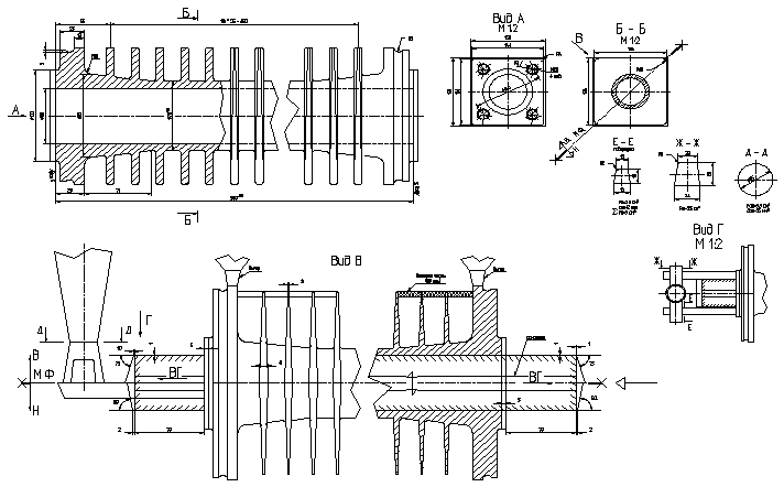
б Рис.2-2. Технология: а) первый вариант, б) второй вариант. При выборе способа изготовления отливки в первую очередь принимают во внимание результаты предварительного анализа заказа и технологичности детали. При этом, как правило, определяющим фактором является серийность производства, реже - технические требования, предъявляемые к изделию, что влияет на стоимость формы и модельной оснастки. В единичном, мелкосерийном и серийном производстве отливки изготавливают обычно литьем в песчаные сырые формы. Отливку теплообменник получаем литьем в песчано-глинистые сырые формы. Способ формовки - ручная. Конструктивные особенности и сложность конфигурации радиатора обусловливают некоторые технологические особенности при литье данной отливки в песчано-глинистые формы. Отличительной особенностью радиатора является конструкция поверхности теплообмена. Традиционные круглые ребра заменены на квадратные, что позволяет при неизменных габаритах увеличить площадь теплообмена почти в 1.5 раза. Это потребовало технологического решения, которое заключается в том, что разъем выбран по диагонали фланца. Это обеспечивает направленный выход газов через вентиляционные каналы для каждого ребра отливки (Рис.2-2). Так как отливка тонкостенная, то возникает проблема проливаемости всех ребер при литье во влажную песчано-глинистую форму. С этой целью в верхней полуформе между ребрами устанавливаются пенополистироловые вставки, соединяющие ребра между собой в их верхней части. После удаления модели вставки остаются в форме и при заливке располагаются так, что образуют подпиточный канал между двумя массивными фланцами (Рис.2-3). Это предотвращает замерзание металла в тонких частях отливки. Образующийся канал также улучшает вентиляцию полости формы, так как соединен с двумя выпорами. Газы, образующиеся во время заливки вместе с продуктами деструкции пенополистироловых вставок удаляются по этому каналу через выпора и наколы. Внутренняя полость данной отливки формируется протяженным стержнем (отношение длины к диаметру составляет 11.7). Стержень изготавливается на органических связующих. В качестве арматуры применяется труба с отверстиями, обеспечивающими отвод газов в знаковые части (Рис.2-3). В связи с высоким рельефом и большой поверхностной площадью модели ее протяжка затруднена. При протяжке наблюдались обрывы формовочной смеси в межреберном пространстве и массовые засоры полости формы. Так как формовка осуществляется ручным способом, то в результате интенсивного расталкивания происходит износ и разрушение модели. Для снижения износа модели и улучшения качества формовки применили протяжной шаблон и специальное подъемное резьбовое приспособление для извлечения модели из формы (Рис.2-4).
Рис.2-3. Форма в сборе
Рис.2-4. Устройство для протяжки модели:
ОПРЕДЕЛЕНИЕ ПОЛОЖЕНИЯ ОТЛИВКИ В ФОРМЕ ПРИ ЗАЛИВКЕПри определении положения отливки в форме нужно руководствоваться несколькими правилами, подтвержденными многолетней практикой [29].
Важным является определение оптимального числа отливок в форме. В условия единичного и мелкосерийного производства отливок в песчаных формах желательно в форме размещать одну отливку. Выбор поверхности разъема формы подчинен выбору положения формы при заливке. При определении поверхности разъема формы необходимо руководствоваться следующими положениями:
Для повышения технологичности получения данной отливки разъем выбирается по диагонали фланца (см. Рис.2-2). Плоскость разъема модели совпадает с плоскостью разъема формы, отливка симметрично располагается в верхней и нижней полуформах (Рис.2-2). ОПРЕДЕЛЕНИЕ УЧАСТКОВ ПОВЕРХНОСТИ ОТЛИВКИ, ВЫПОЛНЯЕМЫХ СТЕРЖНЯМИПредварительно необходимо определить возможность выполнения отверстий в процессе получения отливки и тех частей отливки, которые не могут быть получены с помощью модели. Число стержней, служащих для оформления полости отливки, её отдельных элементов и элементов литниковой системы, определяю с учетом серийности выпуска отливок. В единичном и мелкосерийном производстве целесообразно получать отливки с использованием минимального числа стержней или вовсе без них [29]. При определении участков поверхности отливки, выполняемых стержнями, нужно руководствоваться следующими правилами.
Точность фиксации стержня в форме обеспечивается размерами и конфигурацией его знаковых частей, которые назначают по ГОСТ 3212-92 с учетом размеров стержня, способа формовки и его положения в форме (Рис.2-2). В данной отливке имеется одна внутренняя полость (сквозное отверстие) формируемое одним горизонтальным протяженным стержнем. Стержень армирован. Арматура служит каналами для отвода газов в знаковые части (Рис.2-2). ВЫБОР МАТЕРИАЛА ДЛЯ ИЗГОТОВЛЕНИЯ МОДЕЛЬНОГО КОМПЛЕКТАОсновные виды оснастки, применяемые при изготовлении литейных форм из песчано-глинистых смесей, - модели и стержневые ящики, которые классифицируются по следующим признакам:
Рис.2-5. а) модель верха, б) модель верха и низа в сборе.
Так как производство данной отливки единичное то модель и стержневой ящик изготавливаются из дерева (основа - сосна, ребра и фланцы - береза, стержневой ящик полностью сосна).
Рис.2-6. Стержневой ящик Модель разъемная (Рис.2-5), стержневой ящик также разъемный (Рис.2-6). По сложности модель относится к группе сложных, стержневой ящик к группе средних. По размерам модель для ручной формовки относится к группе средних. По конструктивному исполнению - объемная. Класс точности модельного комплекта - 5 ГОСТ 3212-85. Класс прочности модельного комплекта - 2. КОНСТРУКЦИЯ И РАЗМЕРЫ МОДЕЛЬНЫХ КОМПЛЕКТОВДля определения конструктивных размеров модельных комплектов в первую очередь необходимо установить припуски на механическую обработку, припуски на усадку и формовочные уклоны. Припуски на механическую обработку назначают по ГОСТ 26645-85. Этот ГОСТ распространяется на отливки из черных и цветных металлов и сплавов и регламентирует допуски на размеры, массу и припуски на механическую обработку. Данная отливка получается литьем в песчано-глинистые сырые формы и обозначается по ГОСТ 26645-85: точность отливки 9-7-5-4; масса отливки 34-04-0-34.4. Припуски на механическую обработку представлены на Рис.2-2. Припуски на литейную усадку обычно определяют в зависимости от вида сплава, массы и размеров отливки. При разработке технологии изготовления сложных отливок можно использовать значение линейной усадки сплавов по спиральной пробе, %. Материал данной отливки серый чугун следовательно усадка составляет 1 %. Формовочные уклоны модельных комплектов в песчаных формах регламентирует ГОСТ 3212-92. При применении песчано-глинистых смесей уклоны назначают в зависимости от диаметра или минимальной ширины углубления и высоты формообразующей поверхности. В зависимости от требований, предъявляемых к поверхности отливки, формовочные уклоны следует выполнять: на обрабатываемых поверхностях отливки сверх припуска на механическую обработку за счет увеличения размеров отливки; на необрабатываемых поверхностях отливки, несопрягаемые по контуру с другими деталями, за счет увеличения и уменьшения размеров отливки; на необрабатываемых поверхностях отливки, сопрягаемых по контуру с другими деталями, за счет увеличения или уменьшения размеров отливки в зависимости от поверхности сопряжения. Для данной отливки на обрабатываемых поверхностях уклоны выполнены поверх припуска на механическую обработку за счет увеличения размеров отливки. На необрабатываемых поверхностях отливки уклоны выполняются также за счет увеличения размеров отливки. ОПРЕДЕЛЕНИЕ РАЗМЕРОВ И КОНСТРУКЦИИ ОПОКПри выборе размеров опок следует учитывать, что использование чрезмерно больших опок влечет за собой увеличение затрат труда на уплотнение формовочной смеси, нецелесообразный расход смеси, а использование очень маленьких опок может вызвать брак отливок вследствии продавливания металлом низа формы, ухода металла по разъему и.т.п. Для изготовления данной отливки сконструированы и изготовлены ручные сварные опоки следующих размеров: длина - 1000 мм, ширина - 250 мм, высота - 200 мм. Для уменьшения расхода смеси и обеспечения необходимого гидростатического напора металла применяются наращалки высотой 100 мм. ПРОЕКТИРОВАНИЕ И РАСЧЕТ ЛИТНИКОВО-ПИТАЮЩЕЙ СИСТЕМЫЛитниково-питающая система - это система каналов для подвода жидкого металла в полость литейной формы, отделения неметаллических включений и обеспечения подпитки отливки при затвердевании [29]. Литниковую систему подводим по разъему формы. Условия заполнения формы металлом за определенное время tопт.
(2-1) где k - поправочный коэффициент (1.8ё2.0); d - средняя или преобладающая толщина отливки, мм; G - масса отливки, кг;
Литниковая система сужающаяся. Площадь сечения в самом узком месте = площади питателя.
(2-2) где m - коэффициент заполнения, m = 0.5; Hср - расчетный напор, см; r - плотность отливки, r = 7700 кг/м3; g - ускорение свободного падения g = 9.8 м/с2;
(2-3) где Hст = hоп+hнар = 85+45 = 130 мм; hо - высота отливки в верхней полуформе 59 мм;
Расчет стояка и шлакоуловителя производим из соотношения: Fп:Fш:Fст = 1:1.1:1.5 соответственно сечения будут Fп = 5 см2 Fш = 5.5 см2 Fст = 7.5 см2 т.к. питание отливки мы производим 2 питателями следовательно Fп = 2.5 см2. Окончательно принимаем площади сечений и по таблицам находим геометрические размеры: Fп = 5 см2; а = 16 мм; в = 13 мм; h = 16мм; Fш = 5.5 см2; а = 24 мм; в = 20 мм; h = 26мм; Fст = 7.5 см2; dст = 30.9 мм Для заливки металла используют нормализованные воронки (Рис.2-7), размеры которых выбирают в зависимости от диаметра стояка и с учетом обеспечения нормальной заливки формы.
Dв = 30.9Ч3 = 90 мм. Hв = 90 мм. Рис.2-7. т.к. данная отливка делается из чугуна, а прибыли на чугунные отливки не ставятся (т.к. у чугуна усадка самая минимальная), значит я прибыли на данную отливку не проектирую. ОПРЕДЕЛЕНИЕ ТЕМПЕРАТУРЫ РАСПЛАВА ПРИ ЗАЛИВКЕ В ФОРМУДля обеспечения хорошей заполняемости формы и получения качественных отливок необходимо выдерживать определенную температуру заливаемого расплава, которую выбирают в зависимости от вида сплава и характера отливки [29]. Температура металла необходимая для заливки форм при получении данной отливки составляет при выпуске и индукционной печи 1410 °С - 1420 °С, при заливке в форму 1330 °С. ПРОДОЛЖИТЕЛЬНОСТЬ ОХЛАЖДЕНИЯ ОТЛИВОК В ФОРМЕРегламентирование времени охлаждения отливок в формах диктуется необходимостью обеспечения полного затвердевания расплава, исключения образования некоторых усадочных дефектов, получения требуемой структуры металла отливок. Последнее весьма важно для чугунов, структура которых в большой степени зависит от скорости кристаллизации. Расчет времени затвердевания отливки в форме произведен с помощью программы FOUNDRY (автор Дубовой В.В.) Исходные данные формы: Tф (°C) = 20 bф (ккал) = 17 Исходные данные материала: C1 (ккал/кг) = 0.120 C1’(ккал/кг) = 0.200 Y1 (кг/м3) = 7000 p1 (ккал/кг) = 64 Tзал (°C) = 1420 Tлик (°C) = 1200 Tсол (°C) = 1150 Tкр (°C) = Ѕ Tлик+Tсол = 1175 Толщина стенки отливки (мм) d=20 Расчет ведем базируясь на [29]. Время отвода теплоты перегрева [33]:
(2-3)
где
t2 = 1.18 мин. Время затвердевания отливки [33]:
(2-4) t3 = 2.97 мин. Средняя скорость затвердевания отливки [33]:
(2-5) Время охлаждения отливки [33]:
(2-6) t4 = 13.92 мин. Общее время отливки в форме [33]: tв = t1 + t2 + t3 + t4 = 18.07 мин.
Однако по
эмпирической
формуле
где К - коэффициент, зависящий от конфигурации отливки и толщины ее стенки; G - масса отливки, т., время выдержки составляет 4.97 ч., что более соответствует реальности, следовательно расчеты приведенные в [33] неверны. ФОРМОВОЧНЫЕ И СТЕРЖНЕВЫЕ СМЕСИПри производстве данной отливки для изготовления форм и стержней использовались смеси следующего состава и следующими свойствами (Таблица 2-1,2-2) [37,29]. Таблица 2-1 Формовочная смесь для фомовки по сырому (способ формовки ручная)
Таблица 2-2 Стержневая смесь (способ формовки ручная)
ПРИМЕНЕНИЕ ЭВМ ПРИ РАЗРАБОТКЕ ТЕХНОЛОГИИ ПОЛУЧЕНИЯ ОТЛИВКИПри проектировании технологии изготовления трубы ребристой для повышения производительности и качества графической части использовался САПР конструктора Auto CAD 12, также для расчета литейных припусков на механическую обработку бал применен пакет прикладных авторских программ написанных на параметрическом языке GI (см. приложение). ТЕХНОЛОГИЧЕСКИЙ ПРОЦЕСС РУЧНОЙ ФОРМОВКИОСОБЕННОСТИ ВЫПОЛНЕНИЯ РУЧНЫХ ОПЕРАЦИЙОБЩИЕ ТРЕБОВАНИЯ К РУЧНОЙ ФОРМОВКЕТехнологический процесс ручного изготовления литейных форм характеризуется рядом специфических операций. Наиболее важными являются операции заполнения формовочной смесью опоки и уплотнения смеси. Уплотнение смеси должно быть проведено равномерно по всему ее объему. Правильно изготовленная литейная форма должна сохранять свои размеры и конфигурацию, а в процессе заливки расплавленным металлом не затруднять выхода пара и газов и легко разрушаться после охлаждения отливок [27]. ОСНОВНЫЕ ОПЕРАЦИИТехнологический процесс ручного изготовления опытной партии отливки теплообменника “Труба ребристая” имеет ряд технологических особенностей и включает в себя следующие операции.
На подмодельной плите устанавливается модель верха с элементами литниково-питающей системы: выпор, стояк, шлакоуловитель (Рис.3-1). По первому варианту технологии для получения отливки был предусмотрен один выпор на дальнем фланце отливки (Рис.2-2, а), что привело к типичному виду брака , который будет рассмотрен далее. Во втором варианте на отливке располагаются выпора на двух фланцах (Рис.2-2, б), что обеспечивает подпитку кристаллизующейся отливки. После установки модели верха на подмодельной плите, она натирается керосино-графитовой смазкой и припудривается пылевидным графитом для предотвращения прилипаемости смеси к поверхности модели. После этого производится нанесение на поверхность модели облицовочного слоя смеси и набивка полуформы верха. Необходимость формовки в первую очередь опоки верха вызвана тем, что опока верха должна иметь более высокие прочностные характеристики, чем опока низа для предотвращения выпадения смеси из межреберного пространства формы при ее кантовке после удаления модели. Следовательно, для достижения этого необходимо хорошее уплотнение формовочной смеси в опоке. Достичь этого возможно только на подмодельной плите. Таким образом исключается деформация полуформы низа при формовке опоки верха. Характерной технологической особенностью является простановка отъемных пенополистироловых частей по всей протяженности отливки в вершинах ребер (Рис.2-3).
После окончания формовки опоки верха, на нее устанавливаются наращалки. Наращалки служат для увеличения гидростатического напора металла при заливке формы (Рис.3-2). По окончании изготовления наращалок поверхность опоки накалывается душником, удаляются элементы ЛПС (выпор, стояк), снимаются наращалки и опока кантуется.
Следующая технологическая операция включает в себя изготовление опоки низа. На перевернутую опоку верха с помощью шипов устанавливается модель низа (шипы дают точность сборки модели верха и низа) и модели питателей (Рис.3-3). Модель смазывается керосино-графитовой смазкой, припыляется графитом. На формовочную смесь опоки низа наносится разделительный слой. На опоку верха с помощью направляющих и центрирующих штырей устанавливается опока низа, на модель наносится облицовочный слой и осуществляется формовка опоки низа. По завершении формовки опоки разбираются и из них извлекаются модели низа и верха. Извлечение модели имеет характерную особенность. Успешное извлечение модели можно осуществить только при помощи протяжного шаблона и резьбового протяжного устройства (Рис.3-4). Извлечение модели без таких приспособлений вело к обрыву смеси в межреберных участках, засорам формы или к полному ее разрушению. Перед наложением шаблона и извлечением модели, она слегка расталкивается в поперечном направлении.
В полуформе верха после извлечения модели в вершине каждого ребра накалываются вентиляционные каналы с внутренней стороны формы насквозь. После установки полуформы низа на заливочный плац, ее продувают, производят визуальный контроль и устанавливают стержень (Рис.3-5). Затем производится продувка полуформы верха, ее контроль и сборка полуформ. Сборка полуформ производится по штырям (Рис.2-3). Разъем формы промазывается глиной для предотвращения течи металла по разъему формы. После вырезания в наращалках заливочной воронки на стояке и подпитывающих воронок на выпорах, они устанавливаются на форму (Рис.2-3). Крепление полуформы низа с полуформой верха производится с помощью струбцин. ПОДГОТОВКА ЛИТЕЙНОЙ ОСНАСТКИПравильная подготовка литейной оснастки способствует увеличению производительности, облегчает труд и повышает качество литейных форм. При подготовке проверяют исправность модельных плит, осматривают модели. Модели со смещением половинок по шипам более нормы, с плохим креплением подъемов, а также модели покоробленные, с трещинами, забитыми углами, вмятинами к использованию непригодны. Перед работой модель и модельные плиты очищают от пыли, формовочной смеси, протирают керосином или смесью керосина с графитом. Проверяют комплектность оснастки и модели, наличие формовочного инструмента, стояков для вывода газов, шлакоуловителей. Перед формовкой тщательно проверяют исправность опок, в них не должно быть остатков формовочной смеси и сплесков металла. УПЛОТНЕНИЕ СМЕСИ В ОПОКЕПри ручной формовке по моделям заполнение опоки смесью проводят в два этапа. Сначала на модель наносят слой облицовочной смеси, уплотняя ее вокруг модели вручную, после чего опоку заполняют наполнительной смесью. Заполнение и уплотнение должно производиться отдельными слоями толщиной 50-75 см, но не более 150 см каждый. Толщина слоя облицовочной смеси в уплотненном состоянии для данной отливки составляет 10-20 мм. При уплотнении смеси в опоке всегда следует обращать внимание на то, чтобы клиновидный конец ручной трамбовки не доходил до модели на 20-30 мм. В противном случае может быть повреждена поверхность модели, а также образоваться местное переуплотнение формовочной смеси, приводящее к возникновению газовых раковин. Уплотнение смеси трамбовкой начинают вдоль стенок опоки, после чего переходят к уплотнению остального объема опоки. Во избежание разрушения полуформы при перемещении или кантовании необходимо тщательно уплотнять смесь в углах опок и вдоль ее стенок. Слои формовочной смеси внизу опоки, т.е. прилегающие к модельной плите, уплотняют клиновидным концом трамбовки; верхние слои - плоским. При уплотнении необходимо обращать внимание на то, чтобы не смещались отъемные пенополистироловые части модели верха. Плотность формовочной смеси в верхней полуформе должна быть несколько меньше, чем в нижней. Это необходимо в связи с тем, что на смесь в нижней полуформе действует масса отливки. Поэтому смесь в ней должна быть более прочной, не деформироваться. В верхней полуформе создают условия для удаления пара и газов. Но для данной отливки плотность формовочной смеси в верхней полуформе превосходит необходимую плотность формовочной смеси в нижней полуформе. Это связано с тем, что из-за высокого и тонкого рельефа модели уплотненная формовочная смесь имеет тенденцию к отрыву и выпадению из формы, т.е. полуформа разрушается. При таком уплотнении удаление газа и пара из формы производится через систему вентиляционных каналов. Накалывание вентиляционных каналов производят металлическими иглами разной длины и диаметра. На 1 дм площади сырой формы выполняют 3-4 накола. Кроме того, полость формы, формирующая ребро отливки, накалывается изнутри. Таким образом нормализуется газовый режим и компенсируется плотная набивка полуформы верха. ИЗГОТОВЛЕНИЕ СТЕРЖНЕЙСтержни должны обладать высокой газопроницаемостью, прочностью, податливостью и выбиваемостью. Эти свойства обеспечиваются выбором стержней смеси и конструкцией стержня. Стержень изготавливается в деревянном разъемном стержневом ящике (Рис.2-6). Крепление половинок ящика между собой производится скобами типа “ласточкин хвост”. Собираются половинки по шипам. Собранный стержневой ящик устанавливается на специальную подложку, на которой крепится арматура будущего стержня (рис. 3-6). Набивка стержня производится в вертикальном положении при помощи специальной набойки, полой внутри. Арматура стержня также является и газовентиляционным ходом, т.к. она полая и в ее стенках имеются отверстия, через которые происходит удаление газа из стержня в его знаковые части. СУШКА СТЕРЖНЕЙСушка стержней необходима для повышения их прочности, газопроницаемости и уменьшения газотворной способности. Сушка является более длительной операцией по сравнению с операцией изготовления стержня. Длительность операции сушки зависит от требуемой температуры, массы стержня и других факторов. Продолжительность сушки может достигать нескольких часов. Процессы, происходящие при сушке, а также температура сушки зависят от типа связующих. При сушке стержней, изготовленных с применением сульфитной барды, происходит испарение воды, образуется смола, которая обладает упрочняющими свойствами. Температура сушки этих смесей составляет 165-190°С[27].
Рис.3-6. Схема набивки стержневого ящика АНАЛИЗ БРАКА ПОЛУЧЕННЫХ ОПЫТНЫХ ОТЛИВОК И ПУТИ ЕГО УСТРАНЕНИЯВ процессе разработки технологии и совершенствовании ее от первого варианта (Рис.2-2, а) ко второму (Рис.2-2, б), получали отливки, в которых наблюдался брак, связанный с различными факторами. Анализ различных видов брака при литье ребристых теплообменников (радиаторов) позволил предпринять ряд мер по его предотвращению, что, в свою очередь, вносило коррективы в разработанную технологию. Тонкостенное литье, каким является радиаторное производство, имеет свои специфические особенности. При тонкостенном литье особенно часто наблюдается, что один и тот же вид брака вызывается разными причинами. Только детальное изучение характерных внешних признаков каждого вида брака с нахождением отличительных, решающих признаков позволяет верно классифицировать брак, а следовательно, выявить действительную причину. Так, например, радиатор не выдерживает гидравлической пробы и дает течь или потение вследствие наличия следующих дефектов:
Часто этот вид брака относят за счет неудовлетворительной земли или пористого (вследствие крупной графитизации) металла. В действительности брак вызывается совокупностью причин, связанных с неправильной формовкой, заливкой и плохим качеством земли и металла. Причины брака по вине формовки:
Размывание земли металлом (струя не попадает в середину литника), незаполнение литниковой системы, повышенная скорость заливки и зашлаковывание обусловливают получение бракованных радиаторов. Из числа причин, связанных с качеством земли, следует отметить следующие:
Металл, содержащий газовые и усадочные раковины (высокозернистый, окисленный металл), и холодный металл (температура ниже 1340 °С) также является причиной брака. Пористость чугуна в радиаторах обусловлена крупной графитизацией. Самым характерным видом брака является непроливаемость тонких ребер поверхности теплообмена радиатора (Рис.4-1). Такой вид брака возможен по двум причинам: “замерзание” металла и неудовлетворительный газовый режим формы. С целью улучшения газового режима формы в полуформе верха для каждого ребра были выполнены наколы, что заметно снизило количество не проливаемых ребер. Для полного устранения этого дефекта необходимо обеспечить подпитку каждого ребра свежими порциями металла. С этой целью предусмотрены пенополистироловые вкладыши (Рис.2-2, б), которые вкладываются в процессе формовки между каждым ребром в верхней его части и после удаления модели остаются в форме (Рис.2-3). В процессе заливки формы пенополистирол разлагается и образовавшийся канал связывает все ребра между собой и двумя массивными фланцами. По этому каналу осуществляется подпитка ребер жидким металлом до полного их заполнения. Таким образом полностью исключается брак по непроливаемости ребер (Рис.4-2).
Однако, ввод в форму пенополистироловых вкладышей приводит к повышению газотворности формы, что в свою очередь приводит к такому дефекту как газовые раковины. На Рис.4-3 показан характерный вид брака для данной отливки - газовая раковина на фланце. Для предотвращения этого вида брака необходимо улучшить систему вентиляции формы. С этой целью на отливке установлены два выпора (Рис.2-2, б). Выпора, в совокупности с вентиляционными каналами, обеспечивают своевременный отвод газов из полости формы. Для того, чтобы система выпоров сработала, необходимо также предотвратить их замерзание, т.к. если выпор закристаллизуется раньше, чем весь металл в форме, то он закроет выход газа из полости формы и газ останется в металле. Такое явление наблюдалось на ряде отливок. Для исключения этого явления необходимо увеличить площадь сечения выпора. Такой выпор играет двойную роль: обеспечивает своевременный выход газа и подпитку отливки жидким металлом во время кристаллизации, выполняя роль прибыли. Таким образом предотвращаются газовые дефекты и усадочные раковины, которые возможны при заливке в форму перегретого металла. Следующим наиболее крупным видом брака являются засоры полости формы. Извлечение модели из формы, вследствие обширной поверхности их соприкосновения, затруднительно. В результате происходит частичное разрушение формы, что приводит к засорам ее полости. Удалить эти частицы из полости формы практически не возможно из-за очень тонкого и глубокого рельефа отливки. В результате, в процессе заливки происходят песчаные раковины в теле отливки, что отрицательно сказывается на ее герметичности, и на поверхности ребер, что сокращает площадь поверхности теплообмена (Рис.4-4). Снизить эти виды брака позволяет применение протяжного шаблона с резьбовым протяжным устройством (Рис.2-4).
Газовая пористость, наблюдаемая на некоторых ребристых трубах (“потение” поверхности в результате гидроиспытаний), связана с газотворной способностью стержня. Для ее исключения необходимо строго следить за режимом сушки стержня и временем его нахождения в форме до заливки. Время нахождения стержня в собранной форме до заливки не должно превышать 4-6 часов. Остальные виды брака также вскрываются при гидроиспытаниях отливок. Эти виды брака связаны с тем, что радиаторы не держат давление испытания 11 кгс/см2. К таким видам брака относятся усадочная пористость и дефекты связанные со структурой металла и его плотностью. На Рис.4-5 представлены образцы вырезанные из тела отливки в тепловых узлах (Рис.4-6). На некоторых шлифах выполненных из этих образцов обнаружена усадочная пористость (Рис.4-7). Для устранения этих дефектов необходимо стабильное получение строго определенной структуры чугуна, в частности перлитной.
Рис.4-6. Тепловые узлы
ПОСТРОЕНИЕ ПРИБЛИЖЕННОЙ МАТЕМАТИЧЕСКОЙ МОДЕЛИ СКОРОСТИ ЗАТВЕРДЕВАНИЯ ОТЛИВКИОСНОВЫ ТЕРМОКИНЕТИЧЕСКОЙ ТЕОРИИ КРИСТАЛЛИЗАЦИИН.Г.Гиршович, Г.Ф.Баландин, Б.Я.Любов и Ю.А.Самойлович на основании синтеза теплофизической и молекулярно-кинетической теории создали математическую модель [35], позволяющую решить вопросы, связанные с особенностями формирования кристаллического строения слитков. Для сплава, кристаллизующегося в интервале температур ТL - ТS, залитого в форму при температуре ТН, в некоторый промежуточный момент затвердевания распределение температур представлено на Рис.5-1 [34].
Рис.5-1. Схема температурных полей затвердевающей отливки Процесс затвердевания развивается в двухфазной зоне расплава, прилегающей к твердой корке. На Рис.5-1 представлена схема температурных полей: Т1(x,t) - температурное поле в незатвердевшем расплаве, Т2(x,t) - в двухфазной зоне и Т3(x,t) - в твердой корке; c1(t) и c3(t) - соответственно координаты фронтов начала и конца затвердевания. Если внутри интервала кристаллизации сплава выбрать температуру, равную, например, 1/2Ч(ТL + TS ), и принять, что к моменту ее достижения в двухфазной зоне практически заканчивается процесс кристаллизации (Рис.5-1), то кинетику затвердевания можно характеризовать скоростью нарастания твердой корки x(t). Для математического описания такого варианта схемы можно использовать все уравнения и соотношения, которые были получены Г.Ф.Баландиным [34] применительно к схеме затвердевания металлов и эвтектик. Необходимо лишь вместо c3(t) подставить координату c2(t) условного фронта затвердевания (Рис.5-1) и Ткр заменить 1/2Ч(ТL + TS):
(5-1)
(5-)
(5-)
(5-)
(5-) Несмотря на очень грубую схематизацию процесса затвердевания, с помощью рассмотренного способа математического описания можно достаточно просто, но, естественно, приближенно рассчитать линейную скорость затвердевания U, которая необходима для практического применения экспериментальных данных и диаграмм, устанавливающих связь свойств и структуры отливки со скоростью ее затвердевания [34]. Данная математическая модель справедлива для отливки в виде неограниченной плиты. Правомерно ли ее использование в данном случае ?
Рис.5-2. Схемы для сравнения плоской и полой цилиндрической отливки Сравним плоскую отливку (плиту) с простейшим полым бесконечным цилиндром (Рис.5-2), т.к. в нашем случае основной элемент конструкции отливки теплообменник - труба, т.е. полый цилиндр. Известно, что все поверхности, ограничивающие плиту, имеют радиус кривизны, равный бесконечной величине. Поэтому, если радиус кривизны боковых поверхностей плиты обозначить через r0, то отношение 2l0/r0 = 0. Следовательно, любую неплоскую отливку, у которой отношение толщины s ее тела к радиусу кривизны r0 ее поверхности будет весьма малой величиной, можно приближенно рассматривать как плоскую, т.е. если
(5-) то отливка плоская. Еще одно очевидное свойство плоской отливки в том, что у нее обе боковые поверхности F1 и F2 равны друг другу. Поэтому любую неплоскую отливку, у которой отношение
(5-) можно приближенно рассматривать как плоскую. Неравенство (5-) и выражение (5-) связаны между собой. Так, для полого цилиндра (втулки)
(5-) Допустим, что при приближенных расчетах затвердевания возможно пренебречь разницей, составляющей 20 %, между площадями наружной F1 и внутренней F2 поверхностей тела отливки. Другими словами, примем, что при F2/F1 = 0.8 величина F1 » F2. Тогда для полого цилиндра s/r0 = 0.2. Следовательно, можно условиться, что при [34]
(5-) отливки тонкостенные, и в расчетах затвердевания они являются плоскими. Анализ номенклатуры литых деталей машиностроения и приборостроения показывает, что подавляющее большинство отливок удовлетворяет требованию (5-); это - корпусные детали, детали арматуры, кронштейны, станины и т. п. Правда, соответствие требованию (5-) нельзя понимать в буквальном смысле. На таких деталях, конечно, есть бобышки, приливы, утолщения, ребра и другие элементы, толщина которых отличается от толщины основного тела. Говоря о соответствии требованию (5-) имеем в виду толщину и радиусы кривизны поверхности основного тела (или среднюю толщину тела и средний радиус кривизны для детали в целом) [34]. Отливка теплообменник удовлетворяет этим условиям, т.к. s = 8 мм, r0= 38 мм,
(5-) Следовательно, данная математическая модель справедлива для расчетов затвердевания отливки теплообменник. РАСЧЕТ ЗАТВЕРДЕВАНИЯИспользуя общее решение задачи затвердевания с помощью математической модели (5-1)-(5-) возможно решить конкретные инженерные задачи, связанные с затвердеванием отливки. Так, для данной отливки возможно произвести расчет ее затвердевания. Продолжительность затвердевания отливки t3 определяем по формуле [34]:
(5-) где LE - удельная теплота кристаллизации эвтектики, Дж/кг; b4 - коэффициент теплоаккумуляции формы, Дж/м2КЧс0,5 или ВтЧс1/2/м2К; R0 - приведенный размер; ТЕ - температура эвтектики сплава, К; r3 - плотность отливки, кг/м3; Тф - температура формы, К; t1 - время полного охлаждения перегретого расплава, К.
(5-) где С1 - удельная теплоемкость расплава, Дж/кгЧК; r1 - плотность расплава, кг/м3. ТН = 1/2 (Тn + ТL), Тн » Тзал; ТН = 1/2 (Тзал + ТL), где Тзал - температура заливки, К; ТL - температура ликвидуса, К.
Рис.5-3. На Рис.5-3,а приведена кривая изменения скорости затвердевания тела отливки в зависимости от времени. Расчет выполнен по
(5-) где VЕ - температура эвтектики, для t і t1. На Рис.5-3, б представлено распределение линейной скорости затвердевания в теле отливки. График построен по формуле
(5-) при к = 0, где l0 = r0 - характерный приведенный размер, равный половине толщины отливки. Распределение скорости затвердевания неоднородно: в центре тела скорость более, чем в 2 раза меньше скорости у поверхности (Рис.5-3). С помощью структурной диаграммы [34] по средней скорости затвердевания и скорости затвердевания у поверхности и в центре отливки, а также химическому составу чугуна (чугунный лом - тормозные колодки от железнодорожных вагонов, химический состав: Si - 1.18 %, Mn - 0.61 %, C - 3.47 %, P - 0.185 %, S - 0.083 %) и НВ = 229, определяем структуру чугуна. Судя по этой диаграмме, основной структурой данной отливки является феррит, причем концентрация его от поверхности к середине увеличивается, что и подтверждает структура реальной отливки (Рис.5-4).
Рис.5-4. Эта структура является не желательной для отливки теплообменник, т.к. ферритная структура плохо работает при повышенных давлениях, в результате чего отливка дает течь. Необходимо изменить ферритную структуру на перлитную.ПРИМЕНЕНИЕ ЭВМДля приближенного инженерного решения математической модели и построения графиков скорости затвердевания и эквивалентной скорости затвердевания (Рис.5-3) с помощью ЭВМ, использовалась авторская программа. Программа написана на языке высокого уровня TURBO Pascal 7.0. Результаты расчетов выведены на магнитные носители информации при помощи САПР “Аuto CAD 12”. Исходные данные для расчета и текст программы см. приложение. ГЕРМЕТИЧНОСТЬ ЧУГУНОВПод герметичностью чугуна понимают его способность противостоять проникновению через него находящихся под давлением жидкости или газа [24]. Герметичность чугуна во многом зависит от физического его состояния и, в частности, от наличия в нем пористости. Герметичность и пористость чугуна являются взаимно связанными величинами, одна из которых обусловливает другую. Поэтому оценка герметичности чугуна в дальнейшем будет произведена на основании пористости. РАЗНОВИДНОСТИ НАРУШЕНИЙ ПЛОТНОСТИ СЕРОГО ЧУГУНАЦелесообразно различать следующие виды пористости чугуна: а) микропористость - обуславливается пространством графитовых включений, а также межкристаллическим пространством; б) макропористость - является следствием образования рассредоточенной пористости типа усадочной, газовой и пр. в) грубая пористость - имеет место при образовании в отливках грубых пороков, таких как усадочные, песчаные, шлаковые раковины, трещины, неслитины и т. МикропористостьПри анализе микропористости полагаем: - что плотность графитных включений не зависит от формы, характера и залегания, и во всех случаях равна 2.25 г/см3; - межкристаллическое пространство по сравнению с объемом графитовых включений очень мало и поэтому в дальнейшем оно учитываться не будет; - плотность основной металлической массы для всех исследуемых образцов чугуна является постоянной величиной, равной 7.8 г/см3 . На основании принятых выше условий можно предполагать, что микропористость чугуна в основном образуется за счет пространства, занимаемого графитными включениями [24]. Пространство графитных включений определяется количеством свободного углерода - Сгр: Сгр = Собщ - Ссвяз, (6-1) Общее содержание углерода Собщ и связанный углерод определяются химическим анализом. Кроме того, количество связанного углерода определяется структурой металлической основы, при этом Ссвяз = 0.8ЧКп, (6-) где Кп - количество перлита в металлической основе чугуна. При определении микропористости целесообразно пользоваться относительными величинами количества и объема графита, а также основной металлической массы чугуна [24]. Если обозначить: gгр - удельный вес графита; gм - удельный вес металлической основы чугуна; gгр - относительный вес графита в чугуне; gм - относительный вес; Кгр - относительный объем графита в чугуне; Км - относительный объем металлической части чугуна, тогда относительный объем графита и металлической части чугуна определяются по формулам (6-),(6-).
(6-)
(6-) где Vгр и Vм - абсолютные объемы графита и металла. Формулы (6-),(6-) позволяют определить относительный объем графита и металлической основы чугуна в зависимости от его химического состава.
(6-) аналогично:
(6-) Зная относительный объем графитных включений, можно определить расчетную плотность чугуна, при условии отсутствия в нем микропористости. gт = КгрЧgгр+КмЧgм. (6-) Величина gт называется теоретическим удельным весом чугуна. Формулой (6-) для определения теоретического удельного веса чугуна не всегда удобно пользоваться, т.к. для этого необходимо знать относительные объемы графита и металлической основы чугуна. Подставляя в формулу (6-) значения Кгр и Км из формул (6-) и (6-) после преобразования получим:
(6-) т.к. gгр+gм = 1, тогда:
(6-) В качестве критерия для оценки микропористости следует принять количество свободного углерода в чугуне, а также характер его расположения, имея ввиду степень разобщения металлической основы чугуна. Как известно, графит в чугуне может иметь пластинчатую, хлопьевидную или глобулярную форму, кроме того, графитные включения отличаются между собой размерами и характером залегания. МАКРОПОРИСТОСТЬМакропористость чугуна обуславливается рассредоточенной газовой и рассредоточенной усадочной пористостью. Такой вид пористости отличается небольшими размерами газовых и усадочных пор, которые обычно по объему отливки располагаются более или менее равномерно [24]. Макропористость определяется в относительных величинах или в процентах. Для определения макропористости серого чугуна используется следующая формула:
(6-) где gт - теоретический удельный вес серого чугуна; g - действительный удельный вес чугуна. Макропоры в зависимости от их величины очень резко снижают герметичность чугунных отливок. Их появление в чугуне зависит от большого числа факторов. Так рассредоточенная газовая пористость образуется за счет выделения растворенных или реакционных газов в чугуне. Растворимость газов в металле зависит от температуры и давления. На Рис.6-1 показана кривая растворимости водорода в железе [30].
Рис.6-1. Растворимость водорода в железе На этой кривой имеются участки, которые характеризуют собой растворимость газа в твердых металлах, в период расплавления и в жидком состоянии. Переход от одного состояния в другое сопровождается скачкообразным изменением растворимости газов. Растворимость газов в зависимости от давления определяется из формулы [24]:
(6-) где Q - количество растворенных газов; Р - давление; К - постоянная величина. Реакционные газы образуются в следствие химических реакций, имеющих место в сплаве, при повышенном содержании в них окиси железа. FeO + C = CO + Fe Образование газов приводит к появлению в металле отдельных пузырьков. В зависимости от свойств металла и скорости газообразования, пузырьки принимают те или иные размеры и начинают двигаться вверх; скорость движения пузырьков определяется из формулы Стокса:
(6-) где r - диаметр пузырька ; g - ускорение свободного падения; h - вязкость жидкого металла. Согласно этой формулы величина пузырьков зависит от плотности и вязкости жидкого металла. Степень газонасыщенности отливки определяется количеством растворенных газов в металле, а последняя зависит от его раскисленности и режим охлаждения самой отливки. Касаясь рассредоточенной усадочной пористости, следует напомнить, что она определяется объемной усадкой, которая, в свою очередь, зависит от температурного интервала кристаллизации серого чугуна. С увеличением углеродного эквивалента в чугуне общий объем усадочной пористости уменьшается. Важным фактором, влияющим на образование усадочной пористости, является также жесткость литейной формы: чем больше жесткость формы, тем меньше объем усадочных пороков. Поэтому при литье в сухие формы и в формы из жидкостекольных и цементных смесей часто не требуется простановка прибылей, в то время как при литье в сырые формы они необходимы. Рассеянная пористость в отливках, как правило является результатом совместного образования газовой и усадочной пористости. ГРУБАЯ ДЕФЕКТНАЯ ПОРИСТОСТЬГрубая дефектная пористость обуславливается различными макропороками отливок, которые обычно являются браковочным признаком [24]. К ним относятся местные и рассеянные газовые, земляные, шлаковые, усадочные раковины, неслитины, спаи, трещины и.т.д. Такие дефекты приводят к местным нарушениям сплошности чугуна и резкой потере его герметичности. Пористость чугуна является важной характеристикой определяющей его герметичность. Под пористостью следует понимать отношение объема пор к объему образца.
(6-) где V1 - объем макро- и микро пор; V2 - объем образца. Как указывалось выше, в сером чугуне имеются поры заполненные графитом и поры, свободные от него. Относительный объем пор занятых графитом, определяется по формуле (6-). Относительный объем свободных от графита можно определить по формуле (6-). Общая относительная пористость или просто пористость будет равна сумме этих видов пористости: m = Кгр + К. (6-) ФИЗИЧЕСКАЯ ХАРАКТЕРИСТИКА ГЕРМЕТИЧНОСТИ СЕРЫХ ЧУГУНОВСерые чугуны представляют собой очень сложные железоуглеродистые сплавы, заключающие в себе большое количество изолированных друг от друга свободных и заполненных графитом пор самой разнообразной формы и размеров. Характер пор в чугуне, их размер и количество зависят от многих факторов, основными из которых являются: химический состав, структурное строение, технология изготовления отливок, их термообработка и условия эксплуатации. При воздействии на отливку жидкости, находящейся под высоким давлением, эта жидкость проникает в поры чугуна, а затем, если не встречает достаточного сопротивления, она просачивается дальше в тело отливки. Процесс просачиваемости чугунов является очень сложным и в настоящее время остается почти не изученным. Опыты, проведенные в этом направлении многими исследователями, не раскрывают в достаточной мере механизма просачиваемости жидкости через тело чугунных отливок. В связи с этим оценка просачиваемости чугунов в настоящее время производится по двухбалльной системе - “текут”, “не текут” [24]. Просачиваемость чугунов находится в обратной зависимости от их плотности или так называемой герметичности. Поэтому изучение свойств просачиваемости или проницаемости обычно ведется по величине, обратной их проницаемости. Движение жидкости в порах чугуна является чрезвычайно сложным процессом. Даже в простейших случаях фильтрации, когда пористая Среда образована из большого количества систематически уложенных шаров, точного гидромеханического решения движения жидкости не имеется. Впрочем, это не так важно, т.к. при изучении герметичности чугунов в большей степени имеют значение усредненные характеристики потока жидкости также как скорости просачивания, расхода и т.д., а не форма движения жидкости в самих порах. В настоящее время создана достаточно обоснованная теория движения жидкости и газов в естественных пористых средах. В ней разработаны основные положения в случае движения жидкостей и газов в естественных пористых средах и определены физические законы фильтрации. В первом приближении движение жидкости через стенки чугунных отливок, находящихся под большим давлением, должны подчиняться тем же самым закономерностям, что и движение жидкостей в естественных пористых средах [24]. Однако при движении жидкости в порах чугуна имеются существенные различия, которые по нашему мнению будут заключаться в следующем:
Указанные выше различия, естественно, вносят существенные поправки в те или иные уравнения движения жидкости в процессе фильтрации, но не изменяют самих условий, характера и законов движения этой жидкости в теле чугунных отливок гидросистем. Поэтому в дальнейшем при выводе основных закономерностей при исследовании проницаемости серого чугуна или обратной величины нами были использованы все известные элементы теории течения однородных жидкостей и газов в пористой недеформируемой среде. Для изучения законов проницаемости чугуна прежде всего необходимо было установить зависимость расхода и скорости движения просачиваемости жидкости от ее давления и герметичности чугуна. Эту закономерность необходимо установить в пределах малых площадок, величина которых, однако, велика по сравнению с размерами пор. В этом случае среднюю скорость движения жидкости через элементарную площадку чугуна можно определить по формуле [24]:
(6-) где V - средняя скорость движения жидкости через элементарную площадку чугуна; DW - количество просочившейся жидкости через элементарную площадку; Dw - элементарная площадка; t - время. В случае, если толщина стенки значительно меньше линейных размеров площадки и плоскости ее параллельны, тогда средняя скорость движения жидкости в порах будет выражаться уравнением:
(6-) где W - количество просочившейся жидкости через площадку. Но, так как поток жидкости не заполняет все пространство, а движется через часть объема занятой порами, тогда при коэффициенте пористости m скорость движения в порах Vў будет равна:
и
(6-) или V = mV’. Так как всегда m>1, то V = Vў. Отсюда пространство, занятое потоком жидкости, можно назвать областью просачивания. Очевидно, что линией движения потока жидкости будет называться такая линия, касательная в каждой точке которой совпадает с вектором скорости просачивания в этой точке. Известно, что скорость потока жидкости V зависит от избыточного давления Р [24], действующего на стенки чугуна, от его внутреннего сопротивления движению жидкости G и от вязкости самой жидкости h, т.е.
(6-) Внутреннее сопротивление материала G движению через него жидкости или газов по существу является герметичностью этого материала. Приравнивая правые части (6-) и (6-) и решая их относительно G, получим математическое выражение для герметичности чугуна и для других материалов:
(6-) Из приведенного уравнения (6-) следует, что герметичность есть такое сопротивление материала проникновению через него жидкости, имеющей вязкость h и находящейся под давлением Р, при котором за время t через площадку w проникает W миллилитров этой жидкости. Другими словами, движение жидкости, находящейся под давлением Р, столбика материала с толщиной стенки, равной толщине отливки и поперечным сечением 1 см2 (Рис.6-2).
Если
измерять количество
просочившейся
жидкости в см3,
давление в
кг/см2, площадь
образца в см2,
время в минутах
и вязкость в
°Е, тогда
размерность
герметичности
будет выражаться
в
Эта единица герметичности в дальнейшем нами будет обозначаться ЕГ.
Рис.6-2. Схема к расчету единицы герметичности ЕГ есть такая герметичность материала, при которой через площадку в 1 см2 просачивается 1 см3 воды при вязкости 1°Е, находящейся под избыточным давлением, равном 1 кг/см2 за 1 минуту. В виду того, что единица ЕГ является весьма малой величиной, то в дальнейшем ее значение приводится в кЕГ и МЕГ: 1 кЕГ = 1000 ЕГ = 103 ЕГ; 1 МЕГ = 1000000 ЕГ = 106 ЕГ. Герметичность чугуна зависит от его природных свойств, а именно: пористости, сопротивления разрушению расклинивающего действия жидкости, деформации, а также от толщины стенки отливки. Для оценки качества материала, имея в виду его герметические свойства, целесообразно ввести понятие удельной герметичности. Удельной герметичностью называется герметичность, отнесенная к единице толщины стенки отливки, изготовленной из данной марки чугуна или данного материала. Зависимость герметичности чугуна от толщины стенки d точно еще не установлена. Поэтому удельную герметичность можно представить в такой функциональной зависимости: G0 = GЧf(d). (6-) Как будет указано ниже (рис.8.2 и 8.3), эта функциональная зависимость приближается к квадратичной и представляется в виде следующего уравнения:
(6-) Подставляя в (6-) значения герметичности G, получим окончательную формулу для выражения удельной герметичности:
(6-) Величины, вычисленные по (6-) достаточно хорошо совпадают с нашими опытными данными. Поэтому эту формулу в первом приближении можно рекомендовать для определения удельной герметичности стандартных марок чугунов и других материалов. При проектировании литых деталей, работающих под повышенным давлением жидкости, желательно заранее знать, какой герметичностью должна обладать данная деталь, работающая в заданных конкретных условиях, каким образом установить и определить герметичность чугуна для этой детали. Для выполнения поставленной задачи необходимо ввести понятие о предельной допустимой герметичности. Предельно-допустимой герметичностью материала будем называть такое его внутреннее сопротивление, при котором скорость просачивания данной жидкости, находящейся под давлением Р, будет меньше или равна допустимой скорости просачивания. В качестве допустимой скорости просачивания целесообразно принять скорость во много раз меньшую скорости испарения жидкости с поверхности отливки. Можно задаваться допустимой скоростью просачивания и из других соображений, например, прочности отливки и т.д. МЕТОДИКИ ПРОВЕДЕНИЯ ЭКСПЕРИМЕНТОВОПРЕДЕЛЕНИЕ ГЕРМЕТИЧНОСТИ ЧУГУНАРАЗРАБОТКА СПОСОБА И МЕТОДИКИ ОПРЕДЕЛЕНИЯ ГЕРМЕТИЧНОСТИ ЧУГУНАРазработка методики исследования герметичности чугуна велась в направлении выбора типа проб, установлении целесообразной формы и размеров темплета, определения метода испытаний, разработке оптимальных режимов испытаний, а также выявления зависимости герметичности от химического состава структуры и физического строения чугуна [24]. Известно, что подавляющее количество всех гидравлических устройств работают при одностороннем давлении до 100-150 и более атмосфер. Это условие явилось основанием для выбора метода испытания герметичности серых чугунов, при котором образец испытывается под воздействием одностороннего давления до 400 атмосфер. При разработке методики испытания образцов на герметичность, кроме того, были приняты во внимание следующие положения:
Образцы или темплеты для испытания на герметичность вырезались из средней части различных проб. На стандартных пробах предварительно определяли твердость, предел прочности на изгиб и стрелу прогиба. Затем из мест, указанных на Рис.7-1, вырезались темплеты для определения удельного веса чугуна и образцы для испытания их на герметичность.
Рис.7-1. Места отбора проб из стандартного образца: а - темплет для определения веса; б - образцы для испытания на герметичность; в - место определения твердости Образец для испытаний чугуна на герметичность представляет собой (Рис.7-2) диск диаметром 29.5 мм и толщиной 3.5 мм. В нижней части образца прорезается 3 - 4 кольцевые канавки на расстоянии 1 - 1.2 мм друг от друга, служащих для лабиринтного уплотнения. В верхней части образца предусматривается кольцевая фаска Б, предохраняющая контрольную поверхность А от затекания жидкости. С целью лучшего обеспечения контроля за просачиваемостью керосина поверхность А притирается до матового состояния. Толщина рабочей части образца определяется глубиной канавки диаметром 14 мм. Для сохранения постоянных условий испытания все образцы обрабатывали одним и тем же режущим инструментом при одних и тех же режимах резания, а именно: число оборотов при обработке - 540 об/мин; число оборотов при отрезании - 280 об/мин; подача - 0.15 мм на 1 оборот.
Рис.7-2. Образец для испытаний на герметичность Схема установки образца для его испытания на герметичность показана на Рис.7-3.
Рис.7-3. Схема для установки образца для испытаний его на герметичность: 1- образец; 2- гайка; 3- прокладка; 4- корпус Важным условием при проведении испытаний является предупреждение просачивания жидкости между образцом и алюминиевой прокладкой, Для этой цели при каждом испытании устанавливается новая прокладка и образец зажимается гайкой посредством ключа с моментом 40-50 кгм. Для испытания герметичности чугунов использовался специальный прибор - герметометр. КОНСТРУКЦИЯ ГЕРМЕТОМЕТРА ДЛЯ ОПРЕДЕЛЕНИЯ ГЕРМЕТИЧНОСТИ ЧУГУНАГерметометр (Рис.7-4) предназначен для определения плотности (герметичности) серого чугуна различных марок, а также любых других материалов при одностороннем давлением до 1000 атмосфер.
На приборе можно подвергать испытанию на герметичность как образцы, вырезанные из стандартных проб, так и образцы, взятые непосредственно из отливок. Толщина образца, в зависимости от рода материала, может колебаться от 3.5 до 5 мм. Конструктивная схема герметометра приведена на Рис.7-5. Герметометр состоит из клапанной системы: всасывающих 3 и нагнетающих 7 клапанов; плунжерного насоса 4; аккумулятора 9. Все части прибора смонтированы на основании.
Рис.7-5. Схема герметометра Образец для испытания 11 устанавливается вместе с алюминиевой прокладкой в корпус аккумулятора 9 и плотно зажимается гайкой 10. Жидкость для испытания находится в резервуаре 1. Давление жидкости измеряется манометром 12. Повышение давления в герметометре осуществляется плунжерным насосом 4, который приводится в действие рукояткой 6, при этом жидкость из резервуара 1 по трубке 2 подается к плунжерному насосу. Сброс давления осуществляется винтом 13. При испытании на герметичность возможны разрывы образцов, поэтому наблюдаемая поверхность образца должна быть ограждена прозрачным защитным устройством. Испытание образцов на герметичность должно производиться при выполнении следующих условий:
ОПРЕДЕЛЕНИЕ ТВЕРДОСТИ ЧУГУНАТВЕРДОСТЬ КАК ХАРАКТЕРИСТИКА СВОЙСТВ МАТЕРИАЛОВПод твердостью (Т) понимают сопротивление материала местной пластической деформации, возникающей при внедрении в него более твердого тела - индентора [31]. Твердость можно измерять вдавливанием наконечника (индентора) - способ вдавливания, царапаньем поверхности - способ царапанья, ударом или по отскоку наконечника - шарика. Наибольшее распространение получил метод вдавливания. В результате вдавливания под достаточно большой нагрузкой поверхностные слои металла, находящиеся под наконечником и вблизи него, пластически деформируются. После снятия нагрузки остается отпечаток. Таким образом, твердость характеризует сопротивление пластической деформации и представляет собой механическое свойство металла. ОПРЕДЕЛЕНИЕ ТВЕРДОСТИ МЕТАЛЛОВ МЕТОДОМ БРИНЕЛЛЯОпределение твердости металла методом Бринелля осуществляется по ГОСТ 9012-59. Метод основан на том, что в плоскую поверхность металла (или другого материала) вдавливается под постоянной нагрузкой (Р) твердый стальной шарик; по величине поверхности отпечатка, оставляемого шариком, определяют значение Т. Диаметр отпечатка (в двух взаимно перпендикулярных направлениях) измеряют с помощью лупы, на окуляре которой нанесена шкала с делениями, соответствующими 0.05 мм. Для определения Т следует принимать среднюю из полученных величин. Число твердости по Бринеллю (НВ) определяется отношением нагрузки, действующей на шарик к поверхности отпечатка:
(7-1) где Р - нагрузка на шарик, Н; F - поверхность отпечатка, м2; D - диаметр вдавливаемого шарика, м; d - диаметр отпечатка, м. Записывается твердость по Бринеллю в единицах НВ, например 300 НВ (3000 МПа). Получаемое число Т при прочих равных условиях определяется диаметром отпечатка d. Последний тем меньше, чем выше твердость испытуемого металла. Однако получение постоянной и одинаковой зависимостей между величиной нагрузки и диаметром отпечатка, необходимы для точного определения твердости, сравнительно надежно достигается только при соблюдении определенных условий. При вдавливании шарика на разную глубину, т.е. разной нагрузкой для одного и того же материала, не соблюдается закон подобия между полученными диаметрами отпечатка. Наибольшие отклонения наблюдаются, если шарик вдавливается с малой нагрузкой и составляет отпечаток небольшого диаметра, или вдавливается с очень большой нагрузкой и оставляет отпечаток большого диаметра, приближающегося по величине к диаметру шарика. Поэтому твердость измеряют при постоянном соотношении между величиной нагрузки Р и квадратом диаметра шарика D2. Это соотношение должно быть различным для металлов разной твердости. Методом Бринелля измеряют твердость металлов до 450 НВ. Государственным стандартом установлены нормы для испытаний по Бринеллю (Таблица 7-1). Измерения твердости по методу Бринелля производится на прессах - гидравлических или механических. ПОРЯДОК РАБОТЫ НА ПОЛУАВТОМАТИЧЕСКОМ ПРИБОРЕ 2109 ТБПодготовку прибора к работе по определению твердости металлов проводится в такой последовательности:
Таблица 7-1 Условия испытания металлов на Т по Бринеллю
ОПРЕДЕЛЕНИЕ МАКРОСТРУКТУРЫ МЕТАЛЛОВ И СПЛАВОВМАКРОАНАЛИЗ СТРОЕНИЯ МЕТАЛЛОВМакроскопический анализ заключается в определении строения металла невооруженным глазом или при небольшом увеличении (до 30 раз) [32]. Это наиболее простой метод. Он позволяет сделать предварительную оценку качества металла, а именно, определить плотность металла по наличию пор, раковин и других дефектов, прочность по величине зерна, химическую неоднородность по ликвации отдельных элементов и т.д. Макроанализ особенно важен для литейщиков, поскольку по виду излома в местах отделения от отливок питателей и других элементов литниковой системы можно сделать первые выводы о качестве металла. Методом макроанализа определяют:
МАКРОАНАЛИЗ ИЗЛОМА МЕТАЛЛАИзлом, в зависимости от характера разрушения (хрупкого или вязкого) металла, может быть разным по форме, виду и способности и отражению света. Анализ излома позволяет установить многие особенности строения металлов, а в ряде случаев и причины хрупкого или вязкого разрушения. По внешнему виду излома различают:
ОПРЕДЕЛЕНИЕ МИКРОСТРУКТУРЫ МЕТАЛЛОВ И СПЛАВОВМИКРОСТРУКТУРА ЧУГУНАСплав железа с углеродом при содержании последнего больше 2.14 % называется чугуном. Наличие эвтектики в структуре чугуна обуславливает его малую способность к пластической деформации. Поэтому чугун используют исключительно в качестве литейного сплава. Чугун, используемый для изготовления отливок, содержит также Si и в качестве неизбежных примесей Mn, Р и S. Чугун дешевле стали [32]. В зависимости от состояния углерода в чугуне различают:
Химический состав, и, в частности, содержание углерода не в полной мере характеризуют свойства чугуна: его структура и основные свойства зависят также от процесса выплавки, скорости охлаждения отливки и режима термической обработки. Свойства чугуна определяются его структурой. Эта зависимость у чугуна значительно сложнее, чем у стали, так как его структура состоит из металлической основы и включений графита, вкрапленных в эту основу. Для характеристики структуры СЧ необходимо определять размеры, форму, распределение графита, а также структуру металлической основы. ГОСТ 3443-77 классифицирует структуру чугуна как по форме графита, так и по матрице [32]. При оценке графита определяют форму, распределение, количество и размеры включений; при оценке матрицы - тип структуры, количество перлита и феррита, дисперсность перлита; строение, распределение, размер ячеек сетки и отдельных включений фосфидной эвтектики, количество и размер включений цементита или ледебурита. Графитные включения лучше изучать на нетравленых шлифах (при увеличении 100...200), а структуру металлической основы - на травленых (при увеличении 350...500). Серый чугун маркируется буквами СЧ и цифрами, указывающими предел прочности при растяжении (ГОСТ 1412-79). Излом СЧ имеет серый цвет из-за присутствия в его структуре графита. Включения графита в СЧ имеют форму лепестков, которые в плоскости шлифа имеют вид прямолинейных или завихренных пластинок. Чем меньше графитовых включений, тем они мельче и больше степень их изолированности друг от друга и тем выше прочность чугуна. СЧ с большим количеством прямолинейных крупных графитовых включений, разделяющих его металлическую основу, имеет грубозернистый излом и низкие механические свойства. Величина, форма и характер распределения графитовых включений зависят от скорости охлаждения отливки и определяются по типовой шкале (ГОСТ 3443-77). Количество графита в чугуне можно определить методом количественной металлографии. Для этого, используя линейный метод, определяют объемную долю, занятую графитом и металлической матрицей. Затем с учетом плотности графита и матрицы определяют количество графита: СЧ разделяют по строению металлической основы. Ферритный чугун. В этом случае металлической основой является феррит (Ф), и весь углерод, имеющийся в сплаве, находится в виде графита. Чугун имеет низкую прочность (100...150 МПа) и используется для малоответственных деталей, испытывающих небольшие нагрузки в работе, с толщиной стенки отливки 10...30 мм. Ферритно-перлитный чугун. Структура этого чугуна состоит из Ф+П и включений графита. Феррит располагается вокруг графитных включений. Количество связанного углерода в нем меньше, чем в перлитном чугуне. Следовательно, твердость и прочность также ниже. Перлитный чугун. Структура его состоит из перлита с включениями графита. Так как перлит содержит 0.8 % С, то такое количество углерода в перлитном чугуне находится в связанном состоянии, а остальное количество - в свободном состоянии (т.е. в виде графита). Перлитную структуру имеют чугуны марок СЧ25-СЧ45. Они применяются для изготовления отливок, испытывающих динамические нагрузки, например, станины станков, шестерни, блоки цилиндров, поршневые кольца и др. МИКРОАНАЛИЗ МЕТАЛЛОВМикроскопический анализ заключается в исследовании структуры металлов при больших увеличениях с помощью микроскопа. Наиболее простым и распространенным методом микроанализа является оптическая (световая) микроскопия. Этим методом изучают размеры, форму, взаимное расположение кристаллов (зерен), достаточно крупные включения в них, некоторые дефекты кристаллического строения (двойники, дислокации). Исследование микроструктуры получаемых серых чугунов производим на металлографическом микроскопе МИМ-7. ПРИГОТОВЛЕНИЕ МИКРОШЛИФОВИзучение микроструктуры металлов производится в отраженном свете, поэтому поверхность образца должна быть специально подготовлена. Такой образец называется микрошлифом. Для изготовления шлифа вырезают образец из исследуемого металла и получают на нем плоскую и блестящую поверхность. Очень важно (особенно для литых материалов) правильно выбрать место, из которого надо вырезать образец. Если отливка имеет различную толщину стенки, то вырезать образцы нужно из тонко- и толстостенной ее частей. Метод вырезания значения не имеет. Важно только, чтобы в процессе вырезания не изменять структуру металла. Вырезанные образцы собирают в струбцине по несколько штук в зависимости от их размера, при этом между образцами помещают прокладки из латуни, что предотвращает перенос одного материала на другой. Иногда образцы заливают в обечайке пластмассой или легкоплавким сплавом. Это обеспечивает получение плоской поверхности шлифа при его обработке. Шлифование поверхности образца проводят на бумажной шкурке, последовательно переходя от одной шкурки к другой с непрерывно уменьшающимися размерами абразивных частиц. Переход к обработке на следующей шкурке производят только после исчезновения рисок от предыдущей шкурки. Полированием получают окончательную зеркальную поверхность шлифа. Чаще всего используют механическое полирование, когда на сукно наносят мелкие частицы абразивных материалов - оксиды алюминия, железа или хрома в виде водной суспензии. После полирования микрошлиф промывают водой, затем спиртом и просушивают фильтровальной бумагой. ИЗУЧЕНИЕ МИКРОСТРУКТУРЫВначале обычно изучают структуру нетравленного микрошлифа, т.е. непосредственно после полирования. Под микроскопом такой шлиф имеет вид светлого круга, на котором часто можно заметить темные участки (серые или черные). Это неметаллические включения - оксиды, сульфиды, нитриды, силикаты, графит. Вследствие хрупкости неметаллические включения могут выкрашиваться при шлифовании, и тогда на поверхности шлифа остаются углубления, которые могут быть заполнены абразивными частицами. В любом случае эти углубления имеют темный цвет. В серых чугунах на нетравленых шлифах наблюдают включения (серые или темные) графита. Оценку количества графитовых включений и характера их распределения производят также по типовой шкале, установленной ГОСТ 3443-77. При изучении нетравленного микрошлифа литого материала часто обнаруживается микропористость. После просмотра нетравленого шлифа для более полного изучения структуры сплава шлиф травят. Травление осуществляют несколькими способами, но чаще всего методом избирательного растворения фаз. Этот метод основан на различии физико-химических свойств отдельных фаз и пограничных участков зерен. В результате различной интенсивности растворения создается рельеф поверхности шлифа. Если освещать шлиф падающим светом, то из-за присутствия косых лучей образуются теневые картины, по которым можно судить о структуре сплава. Этот метод позволяет установить структуру многофазных сплавов, а также границы зерен в однофазных сплавах. Для травления микрошлиф полированной стороной погружают в раствор на некоторое время (до появления матовой поверхности), затем промывают водой и спиртом и высушивают. Составы растворов для травления микрошлифов весьма разнообразны и зависят от материала и цели исследования. Чаще всего для исследования микроструктуры железоуглеродистых сплавов используют 2...4 %-ный раствор азотной кислоты в этиловом спирте. КОЛИЧЕСТВЕННАЯ МЕТАЛЛОГРАФИЯМетоды количественной металлографии необходимы для определения характеристики многих важных особенностей структуры: величины неметаллических включений или отдельных фаз, присутствующих в сплаве, количества включений разных фаз сплава, величины зерна. Величина зерна выявляется чаще всего после травления микрошлифов. Для определения размера зерна сравнивают микроструктуру при увеличении в 100 раз со стандартными шкалами [32]. Основной недостаток методики стандартных шкал - оценка условными баллами и обусловленный этим ступенчатый, скачкообразный характер шкал. Для получения более точных и надежных результатов те же параметры могут быть оценены не визуально, а непосредственно измерены или подсчитаны под микроскопом или на микрофотографии. С этой целью используют методы стереометрической металлографии. В частности, для определения фазового и структурного объемного состава сплава используется линейный метод Розиваля. Этот метод основывается на принципе Кавельери-Ноера, согласно которому измерение объемов тел можно заменить не только измерением площадей, но и длин отрезков. Сущность линейного метода заключается в том, что видимая в микроскоп структура, состоящая из любого количества фаз или структурных составляющих, пересекается прямой линией. Контуры сечений отдельных фаз или структурных составляющих рассекут эти линии на отдельные отрезки. Если раздельно просуммировать длины отрезков, попавших на каждую из фаз или структурных составляющих сплава, и разделить суммы на общую длину секущих линий, то полученные частные, согласно принципу Кавальери-Акера, будут равны долям объема сплава, которые занимает каждая из этих фаз или структурных составляющих. ОБРАБОТКА И АНАЛИЗ РЕЗУЛЬТАТОВ ИССЛЕДОВАНИЙОПРЕДЕЛЕНИЕ ОПТИМАЛЬНЫХ РАЗМЕРОВ ОБРАЗЦА ДЛЯ ИСПЫТАНИЙ НА ГЕРМЕТИЧНОСТЬДля испытания образцов на герметичность необходимо стремиться к сокращению времени, затрачиваемого на проведение опытов. Для этого испытания целесообразно проводить при условиях, которые позволяют обеспечить быстрое просачивание (10-15 минут) жидкости через образец.
Очевидно, чем меньше будет толщина стенки образца, тем быстрее через него будет проникать жидкость. Следовательно, образец должен иметь минимальную толщину. Но, с другой стороны, чем больше будет толщина стенки образца, тем вернее будут показания герметичности. Таким образом, необходимо провести ряд опытов с целью определения оптимальной толщины стенки образца и установить зависимость ее от давления, при котором должно происходить просачивание жидкости в сравнительно небольшой промежуток времени. Для этой цели отлиты три стандартные пробы с размерами: диаметр - 30 мм, длина - 340 мм (Рис.8-1) из чугунного лома следующего химического состава: С - 3.47 %; Si - 1.18 %; Mn - 0.54 %; S - 0.083 %; Р - 0.185 %. Механические свойства: НВ = 220, sизг = 33.5 кг/мм2, fпр = 3.8 мм. Из каждой пробы были выточены образцы с толщиной рабочей части соответственно 0.5 ; 1.0; 1.5; 2.0; 2.5; 3.0 мм. Эти образцы подвергались испытанию на герметичность по описанной методике. С целью исключения случайных ошибок испытания образцов на герметичность проводились дважды. При всех испытаниях проводился замер и фиксировалось время, при которых происходило просачивание керосина (h = 1,18 °Е) по всей контрольной поверхности образца. Опытами было установлено, что самое минимальное количество просочившейся жидкости, которая наблюдается на поверхности образца, составляет W » 0.002 мл. Это количество жидкости в дальнейшем использовалось для расчета герметичности чугуна. Результаты испытаний герметичности чугунных образцов сведены в Таблица 8-1. Время просачивания керосина на контрольной поверхности образца определялось с момента воздействия на него критического давления. Таблица 8-1
Рис.8-2 На Рис.8-2 представлена кривая герметичности чугунных образцов в зависимости от их толщины, построенная по данным Таблица 8-1. В Таблица 8-2 приведены результаты повторных испытаний чугунных образцов на герметичность в зависимости от их толщины. Таблица 8-2
Рис.8-3 На Рис.8-3 представлена кривая герметичности чугуна в зависимости от толщины стенки образца, построенная по данным Таблица 8-2. Анализ экспериментальных данных, приведенных в таблицах Таблица 8-1 и Таблица 8-2, показывает, что герметичность чугунных образцов очень быстро возрастает с увеличением их величины. Кривые на рисунках Рис.8-2 и Рис.8-3 построены по данным таблиц Таблица 8-1 и Таблица 8-2, имеют вид квадратичной параболы. Это дает основание полагать, что герметичность чугуна G является функцией от толщины стенки испытуемых образцов в квадрате, т.е. G = f(d2). (8-1) Достоверность этого предположения также подтверждается удельной герметичностью, которая была определена для исследуемых чугунов. Расчетные данные удельной герметичности являются величиной почти одного порядка. Это обстоятельство показывает, что удельная герметичность для одной и той же марки чугуна должна, повидимому, являться величиной постоянной, независящей от толщины стенки отливки. В результате эксперимента установлено что, оптимальные размеры рабочей части образца при испытании его на герметичность следует считать: толщина стенки d = 2 мм; диаметр рабочей части d = 1.4 см; площадь рабочей части w = 1.5 см2. ИССЛЕДОВАНИЕ ВЛИЯНИЯ ХИМИЧЕСКОГО СОСТАВА И СТРУКТУРЫ НА ГЕРМЕТИЧНОСТЬ ЧУГУНАЭкспериментальные исследования с целью изучения химического состава и структуры чугуна на его герметические свойства состояли из опытных плавок, проведенных на лабораторной индукционной печи с емкостью тигля 50 кг. Опытные плавки отличались собой по химическому составу чугуна. Из каждой опытной плавки отливались образцы и технологические пробы для определения структуры, механических и герметических свойств чугуна. Состав шихты для опытных плавок приведен в Таблица 8-3: Таблица 8-3
Получение сурьмянистого чугуна осуществляется путем введения небольшого количества металлической сурьмы на дно ковша с жидким металлом. Сурьма применяется как присадка при производстве антифрикционных чугунов [25] и способствует образованию в чугунах более плотной перлитной структуры, что должно способствовать повышению герметичности отливок. Введение сурьмы в жидкий чугун протекает совершенно спокойно, без выброса металла, выделения газов, а так же не сопровождается световым и пиротехническим эффектом. Температура плавления сурьмы 630 °С, температура кипения 1635 °С [6]. Т.к. температура кипения превышает температуру выпуска чугуна из индукционной печи, то испарение ее при введении в жидкий чугун не имеет места. Сурьма очень хрупкий металл и легко истирается в порошок. При обычной температуре сурьма на воздухе не окисляется, а при нагревании ее выше точки кипения сгорает с выделением белого дыма, состоящего из окислов сурьмы. Сурьма является очень хорошим антикоррозионным материалом. Сурьма образует сплавы с большинством металлов, в том числе и с железом, образуя хрупкие соединения легко истирающиеся в порошок. Диаграмма состояния системы Fe - Sb приведена на Рис.8-4 [25]. Из приведенной диаграммы состояния системы видно, что сурьма и железо в жидком состоянии полностью растворяются друг в друге образуя 2 химических соединения FeSb2 и Fe3Sb2. Температура плавления первого химического соединения равна 732 °С, а второго 1014. Железо в твердой сурьме не растворяется, а сурьма в твердом железе имеет ограниченную растворимость, до 5 % по весу. Сурьма сильно увеличивает интервал затвердевания твердого раствора. Один процент сурьмы понижает температуру начала затвердевания железа на 10.5 °С, а конец затвердевания на 105 °С [25].
Рис.8-4. Структурная диаграмма состояния системы Fe-Sb Известно, что при введении сурьмы в чугун температура выделения первичного аустенита и затвердевания эвтектики понижается. Присадка сурьмы способствует стабилизации перлита и повышению твердости, сдвигает критическую точку S на диаграмме Fe - Sb влево [25]. Таблица 8-4
Простота получения сурьмянистого чугуна дает возможность производить его в любом литейном цехе без установки какого-либо дополнительного оборудования и без усложнения технологии литых деталей. Для исследования структуры и свойств сурьмянистого чугуна, установления его оптимального химического состава, в литейной лаборатории были проведены опытные плавки, во время которых отливались образцы для механических испытаний, технологические пробы и опытные детали для производственных испытаний. Химический состав исследуемых чугунов опытных плавок приведен в Таблица 8-4. МАКРОСТРУКТУРА СУРЬМЯНИСТОГО ЧУГУНАПрисадка сурьмы существенно изменяет характер излома чугуна. На фотографии (Error: Reference source not found) представлен внешний вид изломов исходного чугуна. Данные образцы получены в результате опытных плавок. Рис.8-5. Внешний вид изломов серого и сурьмянистого чугунов Рис.8-6. Излом исходного серого чугуна Рис.8-7. Излом чугуна с содержанием сурьмы 0.05 % Рис.8-8. Излом чугуна с содержанием сурьмы 0.1 % Рис.8-9. Излом чугуна с содержанием сурьмы 0.2 % Рис.8-10. Излом чугуна с содержанием сурьмы 0.4 % Рис.8-11. Излом чугуна с содержанием сурьмы 0.6 % Рис.8-12. Излом чугуна с содержанием сурьмы 0.8 % Рис.8-13. Излом чугуна с содержанием сурьмы 1.0 % Плавка велась в индукционной печи с машинным генератором. Состав исходной шихты: Практически 100 % машинного чугунного лома (тормозные колодки ж.д. вагонов). Модифицирование производилось в ковше емкостью 50 кг измельченным 75 % ферросилицием, который вводился на дно ковша, совместно с металлической сурьмой. Массы модификаторов соответственно: 75 % FeSi - 250 г, Sb - 0ё1 % (от массы металла). Температура выпуска 1410ё1420 °С. Заливались стандартные образцы диаметром 30 мм из ковша емкостью 50 кг. Были отлиты образцы следующего химического состава (по 3 на каждый состав) приведенного в таблице 8.4. Описание макроструктуры исследуемых образцов (Error: Reference source not found). Образец 1 (рис.8-6). Исходный чугун. Излом темно-серый, рыхлый, рваный. В центре наблюдается увеличенная рыхлота к периферии образца макроструктура измельчается литейной корочки практически не видно, видимые раковины отсутствуют. Образец 2 (рис.8-7). При присадке сурьмы 0.05 % излом светлее чем у образца 1, зерно крупное но мельче чем у исходного металла, раковины отсутствуют, на периметре излом мелкозернистый прослеживается литейная корочка толщиной 0.5мм. Образец 3 (рис.8-8). На образце с присадкой Sb 0.1 % явных видимых изменений в макроструктуре нет. Излом более светлый и мелкозернистый по всему сечению, раковины отсутствуют. Поверхность излома менее рваная. Образец 4 (рис.8-9). При присадке Sb 0.2 % цвет излома более светлый и мелкозернистый. Макроструктура излома равномерная, рыхлоты отсутствуют. Образец 5 (рис.8-10). Содержание сурьмы 0.4 %. Излом более светлый по сравнению с предыдущими образцами и более мелкозернистый, просматриваются более светлые блестящие включения в центре, на периферии имеется песочная раковина. Образец 6 (рис.8-11). Содержание сурьмы 0.6 %. Излом по прежнему светло-серый и мелкозернистый по сравнению с предыдущими образцами. Рваностей на поверхности нет. Образец 7 (рис.8-12). Содержание сурьмы 0.8 %. Излом более мелкозернистый и светлее - мышиный цвет. На периферии имеется засор. Образец 8 (рис.8-13). Содержание сурьмы 1.0 %. Излом светло-серый очень мелкозернистый, зерно равномерно распределено по всему полю излома, на периферии находится тонкая отбеленная корка 0.1ё0.2 мм. МИКРОСТРУКТУРА СУРЬМЯНИСТОГО ЧУГУНАОдновременно с резким изменением макроструктуры чугуна, присадка сурьмы оказывает значительное влияние и на его микроструктуру. введение незначительного количества сурьмы в чугун способствует измельчению перлита и образованию гнездообразного и точечного графита (рис. 8-14 ё 8-21). С увеличением сурьмы в чугуне уменьшается количество и размеры пластинчатого графита, а так же количество феррита. В чугунах с содержанием сурьмы 0.2 - 0.4 % уже полностью отсутствует свободный феррит и наряду с образовавшимся гнездообразным и точечным графитом присутствует и мелкий пластинчатый графит. При содержании сурьмы в чугуне 0.6 - 1.0 % доля пластинчатого графита еще более уменьшается, а гнездобразного увеличивается. Цементитные включения в сурьмянистых чугунах обнаруживаются обычно при содержании сурьмы более 1.0 %. Появление отдельных зерен цементита в структуре чугуна повышает его твердость. ВЛИЯНИЕ СУРЬМЫ НА ГЕРМЕТИЧНОСТЬ ЧУГУНАОписанные изменения структуры чугуна приводят к повышению его герметичности. Это происходит из-за появления перлитной структуры измельчения пластинчатого графита и образования точечного и гнездообразного графита, что исключает расклинивающее действие жидкости (из-за уменьшения количества концентраторов напряжения между кристаллами металлической матрицы). до травления (х120) после травления (х270) Рис.8-14. Исходный серый чугун до травления (х120) после травления (х270) Рис.8-15. Чугун с содержанием сурьмы 0.05 % до травления (х120) после травления (х270) Рис.8-16. Чугун с содержанием сурьмы 0.1 % до травления (х120) после травления (х270) Рис.8-17. Чугун с содержанием сурьмы 0.2 % до травления (х120) после травления (х270) Рис.8-18. Чугун с содержанием сурьмы 0.4 % до травления (х120) после травления (х270) Рис.8-19. Чугун с содержанием сурьмы 0.6 % до травления (х120) после травления (х270) Рис.8-20. Чугун с содержанием сурьмы 0.8 % до травления (х120) после травления (х270) Рис.8-21. Чугун с содержанием сурьмы 1.0 % Опытами установлено, что при присадке сурьмы 0.1 % и более на образце толщиной d = 2 мм при давлении 150 атм просачивание жидкости не наблюдается. На образцах без сурьмы просачивание жидкости при таком давлении имеет место. МЕХАНИЧЕСКИЕ СВОЙСТВА СУРЬМЯНИСТОГО ЧУГУНАИспытания механических свойств сурьмянистого чугуна производилось по стандартным методикам (ГОСТ 24812-81). В таблице 8.5 приведены механические свойства чугуна с присадкой сурьмы от 0.0 до 1.0 %. Образцы для испытаний имеют химический состав представленный в таблице 8.4. Таблица 8.5
По данным таблицы 8.5 были построены кривые изменения механических свойств серого чугуна в зависимости от содержания сурьмы (рис.8-22 - 8-26). Из приведенных кривых видно, что с повышением присадки сурьмы прочность при изгибе, прочность при растяжении и стрела прогиба понижаются, а прочность при сжатии практически не изменяется. Твердость равномерно повышается и достигает 316 HB для чугунов с содержанием сурьмы 1.0 %. Присадка сурьмы резко измельчает структуру чугуна и переводит свободный графит из пластинчатого состояния в гнездообразную и точечную форму. Отсюда, казалось бы, что механические свойства сурьмянистого чугуна в соответствии с существующими теоретическими положениями должны были бы повышаться.
Рис.8-22
Рис.8-23
Рис.8-24
Рис.8-25
Рис.8-26 Однако, сурьмянистых чугунах это не наблюдается. Несмотря на мелкозернистое строение и равномерное распределение свободного графита в виде гнезд или точек, механические показатели имеют ярко выраженную тенденцию с увеличением присадки сурьмы к снижению. Исключением являются прочность на сжатие и твердость. Понижение механических свойств сурьмянистых чугунов объясняется, повидимому тем, что феррит в этих чугунах получается твердым и хрупким в сравнении с ферритом в обычных серых чугунах. ОХРАНА ТРУДААНАЛИЗ ВОЗМОЖНЫХ ОПАСНЫХ И ВРЕДНЫХ ПРОИЗВОДСТВЕННЫХ ФАКТОРОВ ПРИ РАБОТЕ В ЛИТЕЙНОЙ ЛАБОРАТОРИИОТКЛОНЕНИЯ ОТ НОРМАТИВНОГО МИКРОКЛИМАТА Основными вредными факторами, связанными с загрязнением воздушной среды в литейной лаборатории являются пыль и аэрозоли конденсации металлов, выделения вредных паров и газов, тепловыделения от технологического оборудования. ОСВЕЩЕННОСТЬ В литейной лаборатории недостаточное освещение, а как следствие повышены утомляемость и производственный травматизм. ПОВЫШЕННЫЙ УРОВЕНЬ ЭЛЕКТРОМАГНИТНОГО ПОЛЯ В литейной лаборатории единственными источниками ЭМП являются индукционная печь (2560 Гц) и машинный генератор к этой печи. ПОВЫШЕННЫЙ УРОВЕНЬ ШУМА И ВИБРАЦИИ Источниками шума и вибрации в литейной лаборатории является все лабораторное оборудование, так например: машинный генератор; смешивающие бегуны; обдирочный станок; сверлильный станок; шаровая мельница. ОПАСНОСТЬ ТРАВМИРОВАНИЯ Источником такой опасности является, все вышеперечисленное лабораторное оборудование. ОПАСНОСТЬ ПОРАЖЕНИЯ ЭЛЕКТРОТОКОМ Источником такой опасности является, все технологическое оборудование. Но основным источником опасности является индукционная печь. ПОЖАРНАЯ ОПАСНОСТЬ Источники пожарной опасности:
МЕРОПРИЯТИЯ, НАПРАВЛЕННЫЕ НА УСТРАНЕНИЕ И СНИЖЕНИЕ ВЫЯВЛЕННЫХ ОПАСНЫХ И ВРЕДНЫХ ПРОИЗВОДСТВЕННЫХ ФАКТОРОВОТКЛОНЕНИЯ ОТ НОРМАТИВНОГО МИКРОКЛИМАТА, ЗАПЫЛЕННОСТЬ И ЗАГАЗОВАННОСТЬ Значительное количество пыли выделяется при изготовлении различных формовочных смесей, выбивке отливок и очистке литья. Особая опасность в ней обуславливается высоким содержанием оксида кремния (94%-99%). При плавке возможно загрязнение воздушной среды аэрозолями конденсации металлов, которые оказывают неблагоприятное действие при поступлении в организм работающего. ГОСТ 12.1.005-88 ССБТ. Воздух рабочей зоны. Общие санитарно-гигиенические требования. Нормируемые параметры:
По вредным выбросам:
Поэтому рекомендуется во время формовки и выбивки пользоваться респиратором, а также использовать общеобменную и местную вентиляции. ОСВЕЩЕННОСТЬ При искусственном освещении нормируемое значение освещенности по СНиП II-4-79 составляет 200 лк. Для улучшения освещения помещений литейной лаборатории надо установить лампы дневного света на место и для оборудования, требующего этого, поставить местное освещение. ПОВЫШЕННЫЙ УРОВЕНЬ ЭЛЕКТРОМАГНИТНОГО ПОЛЯ Для электромагнитных полей радиочастот напряженность ЭМП по электрической составляющей не должна превышать 50 В/м, по магнитной составляющей 5 А/м (ГОСТ 12.1.006-76). Во время ведения плавки рекомендуется пользоваться защитными экранами, оператор плавки не должен находится длительное время рядом с работающим индуктором. ПОВЫШЕННЫЙ УРОВЕНЬ ШУМА И ВИБРАЦИИ По ГОСТ 12.1.003-83 ССБТ норма дБ по октавам составляет: Таблица 9-1
Допустимые значения вибрации при интегральной оценке по частоте нормируемого параметра для длительности воздействия 480 мин : по виброускорению - Z,X,Y = 4 м/c2; по виброскорости - 4 м/сЧ10-2; для частот 16 - 1000 Гц - дБ 118 (ГОСТ 12.1.012-91) Во время работы на лабораторном оборудовании надо использовать для: электро-индукционной печи ботинки на толстой подошве; смешивающих бегунов, сверлильного станка и шаровой мельницы звукоизолирующие наушники. ОПАСНОСТЬ ТРАВМИРОВАНИЯ Опасность травмирования на рабочем месте определяют по ГОСТ 12.0.004-79. Опасность травмирования в текущее время в основном обусловлена большим износом оборудования. Поэтому для уменьшения опасности травмирования надо при работе соблюдать меры техники безопасности. При работе на технологическом оборудовании установить ограждающие экраны на силовом оборудовании а также провести реконструкцию и ремонт существующего оборудования. ОПАСНОСТЬ ПОРАЖЕНИЯ ЭЛЕКТРОТОКОМ По ГОСТ 12.1.038-82 Напряжение прикосновения и уровни токов составляют: для тока частотой 50 Гц (не более) - U=2В, I=0.3 мA. Из за большого износа индукционной печи возникает отпотевание витков индуктора и, как следствие, опасность межвиткового замыкания. С этой опасностью борется оператор плавки. Поэтому возможно поражение электротоком. Для устранения этой опасности предусматривается:
ПОЖАРНАЯ ОПАСНОСТЬ Пожарная опасность нормируется по ГОСТ 12.1.033-81. Для обеспечения пожарной безопасности надо поддерживать порядок в лаборатории, не допускать нагромождения пожароопасных веществ. Иметь действующие огнетушители (желательно порошковые или на CO2). РАСЧЕТ МЕСТНОЙ ВЫТЯЖНОЙ ВЕНТИЛЯЦИИ ОТ ЭЛЕКТРО-ИНДУКЦИОННОЙ ПЕЧИ Расчет местной вентиляции на плавильном участке ведем базируясь на [7]. ВЫБОР КОНСТРУКЦИИ МЕСТНОГО ОТСОСА Т.к. индукционная печь является интенсивным источником тепла, то над ней присутствует устойчивое струйное течение, а значит, основываясь на [7], мы выбираем зонт с неравномерным всасыванием по площади. Радиус источника вредных веществ r = 0.15 м. Для отсоса улавливающего приточную струю в пределах разгонного участка высота зонта выбирается из соотношения (h і 4r), также необходимо удалять вредные выбросы в виде окисла сурьмы. h = 4Ч0.15 = 1.1 м. Основные параметры зонта: Rзонта = r+0.24Чh = 0.414 м, R1 = 0.8ЧR = 0.8Ч0.414 = 0.3312 м, R2 = 0.6ЧRзонта = 0.6Ч0.414 = 0.248 м, R4 = 0.7ЧR3 = 0.7Ч0.15 = 0.105 м.
Рис.9-1. Схема Зонта:
ИСХОДНЫЕ ДАННЫЕ ДЛЯ РАСЧЕТА r = 0.15 (м), Q = 50000Ч0.55 = 27500 (Вт); по [12] тепловыделение в воздух рабочей зоны для печи мощностью 50 кВт составляет 55%,
Рис.9-2. Схема местной вентиляции wb = 0.05 (м/с), h = 1.1 (м), R = 0.414 (м), Gsb = 31.25 (мг/с) (время плавки / суммарный угар Sb). h2 = 10 см; h4 = 20 см; h6 = 7 м; h8 = 50 см; h10 = 20 см; 1 - местный отсос; 2 - шиберная задвижка; 7 - скруббер Вентури; 9 - вентилятор; 11 - факельный выброс. ВЫЧИСЛЯЕМ ОСЕВУЮ СКОРОСТЬ UM И РАСХОД ВОЗДУХА В СТРУЕ НА УРОВНЕ ВСАСЫВАНИЯ LСТР:
ОПРЕДЕЛЯЕМ ЗНАЧЕНИЕ ПОПРАВОЧНОГО КОЭФФИЦИЕНТА, УЧИТЫВАЮЩЕГО ПОДВИЖНОСТЬ ВОЗДУХА В ПОМЕЩЕНИИ:
где F - площадь всасывающего отверстия, м2; Fстр - площадь сечения затопленной струи, м2, на разгонном участке Fстр = Fисточника; wb - скорость движения воздуха в помещении, м/с.
ПО ГРАФИКУ 1.4 [7] ОПРЕДЕЛЯЕМ ОТНОСИТЕЛЬНЫЙ ПРЕДЕЛЬНЫЙ РАСХОД ОТСОСА:
ВЫЧИСЛЯЕМ ПРЕДЕЛЬНЫЙ РАСХОД ОТСОСА, ОБЕСПЕЧИВАЮЩИЙ ПОЛНОЕ УЛАВЛИВАНИЕ СТРУИ ПРИ МИНИМАЛЬНОЙ ПРОИЗВОДИТЕЛЬНОСТИ ОТСОСА:
НАХОДИМ МАКСИМАЛЬНУЮ И ОТНОСИТЕЛЬНУЮ ИЗБЫТОЧНУЮ КОНЦЕНТРАЦИИ ВРЕДНЫХ ВЕЩЕСТВ В УДАЛЯЕМОМ ВОЗДУХЕ, СООТВЕТСТВУЮЩИЕ РЕЖИМУ ПРЕДЕЛЬНОГО УЛАВЛИВАНИЯ:
где G - производительность источника по газовым выбросам, мг/с; Cпр - концентрация вредных примесей в приточном воздухе общеобменной вентиляции, мг/м3; Спред = 0, т.к. других источников выделения вредных веществ нет.
ВЫЧИСЛЯЕМ ЗНАЧЕНИЕ БЕЗРАЗМЕРНОГО КОМПЛЕКСА М:
где Gр - приходящееся на 1 отсос количество газовой примеси, выделяющейся в единицу времени от рассредоточенных источников не снабженных местными отсосами, мг/с; G - производительность источника по газовым выбросам, мг/с;
НАХОДИМ КОЭФФИЦИЕНТ ЭФФЕКТИВНОСТИ УЛАВЛИВАНИЯ ВРЕДНЫХ ВЕЩЕСТВ h = GУ/G И КОЭФФИЦИЕНТ ЭФФЕКТИВНОСТИ ОТСАСЫВАНИЯ ВРЕДНЫХ ВЕЩЕСТВ Kh = LОТ/LПР.ОТ.:
Методом подбора решаем систему уравнений, откуда находим k h. kh = 1.12. ОПРЕДЕЛЯЕМ ТРЕБУЕМУЮ ПРОИЗВОДИТЕЛЬНОСТЬ ОТСОСА, ОБЕСПЕЧИВАЮЩУЮ ОПТИМАЛЬНУЮ ЭФФЕКТИВНОСТЬ УЛАВЛИВАНИЯ ВРЕДНЫХ ВЕЩЕСТВ:
ЭКОЛОГИЧЕСКИЕ ПРОБЛЕМЫ ОТВАЛОВ ЛИТЕЙНОГО ПРОИЗВОДСТВАЛитейное производство является основной заготовительной базой машиностроения. Около 40% всех заготовок, используемых в машиностроении, получают литьем. Однако, литейное производство является одним из наиболее экологически неблагоприятных. В литейном производстве применяется более 100 технологических процессов, более 40 видов связующих , более 200 противопригарных покрытий. Это привело к тому, что в воздухе рабочей зоны встречается до 50 вредных веществ, регламентированных санитарными нормами. При производстве 1т чугунных отливок выделяется:
Основную массу отходов литейного производства составляют отработанные формовочные и стержневые смеси и шлак. Утилизация этих отходов литейного производства наиболее актуальна, т.к. несколько сот гектаров поверхности земли занимают вывозимые ежегодно в отвал смеси [10], в Одесской области. В целях снижения загрязнения почв различными промышленными отходами в практике охраны земельных ресурсов предусматриваются следующие мероприятия:
Выбор метода обезвреживания и утилизации отходов зависит от их химического состава и степени влияния на окружающую среду. Так, отходы металлообрабатывающей, металлургической, угольной промышленности, содержат частицы песка, породы и механические примеси. Поэтому отвалы изменяют структуру, физико-химические свойства и механический состав почв. Указанные отходы используют при строительстве дорог, засыпке котлованов и отработанных карьеров после обезвоживания. В тоже время отходы машиностроительных заводов и химических предприятий, содержащие соли тяжелых металлов, цианиды, токсичные органические и неорганические соединения, утилизации не подлежат. Эти виды отходов собирают в шламонакопители, после чего их засыпают, утрамбовывают и озеленяют место захоронения [12]. Фенол - наиболее опасное токсичное соединение, находящееся в формовочных и стержневых смесях. В тоже время исследования показывают, что основная часть фенолсодержащих смесей, прошедших заливку, практически не содержит фенола и не представляет собой опасности для окружающей среды. Кроме того, фенол, несмотря на его высокую токсичность, быстро разлагается в почве [13]. Спектральный анализ отработанных смесей на других видах связующего показал отсутствие особоопасных элементов: Hg, Pb, As, F и тяжелых металлов [13]. Т.е., как показывают расчеты данных исследований, отработанные формовочные смеси не представляют собой опасности для окружающей среды и не требуют каких-либо специальных мероприятий по их захоронению [13]. Негативным фактором является само существование отвалов, которые создают неприглядный пейзаж, нарушают ландшафт. Кроме того, пыль, уносимая с отвалов ветром, загрязняет окружающую среду [14]. Однако, нельзя сказать, что проблема отвалов не решается. В литейном производстве существует целый ряд технологического оборудования, позволяющего проводить регенерацию формовочных песков и использовать их в производственном цикле неоднократно. Существующие методы регенерации традиционно делятся на механические, пневматические, термические, гидравлические и комбинированные. По данным Международной комиссии по регенерации песков, в 1980 г. из 70 опрошенных литейных предприятий Западной Европы и Японии 45 использовали установки механической регенерации [15]. В тоже время, литейные отработанные смеси - хорошее сырье для стройматериалов: кирпича, силикатного бетона, и изделий из него, строительных растворов, асфальтобетона для дорожных покрытий, для отсыпки полотна железных дорог [10]. Исследования Свердловских ученых (Россия) показали, что отходы литейного производства обладают уникальными свойствами: ими можно обрабатывать осадки сточных вод (для этого пригодны существующие отвалы литейного производства); защищать стальные конструкции от почвенной коррозии [16]. Специалисты Чебоксарского завода промышленных тракторов (Россия) использовали пылевидные отходы регенерации в качестве добавки (до 10%) при производстве силикатного кирпича [10]. Многие литейные отвалы используются как вторичное сырье в самом литейном производстве. Так, например, кислый шлак сталелитейного производства и феррохромовый шлак применяются в технологии шликерного формообразования при литье по выплавляемым моделям [17]. В ряде случаев отходы машиностроительных и металлургических производств содержат значительное количество химических соединений, которые могут представлять ценность как сырье и использоваться в виде дополнения к шихте [18]. Рассмотренные вопросы улучшения экологической обстановки при производстве литых деталей позволяет сделать вывод о том, что в литейном производстве можно комплексно решать весьма сложные экологические проблемы. ВЫВОДЫРезультатом данной работы явилась разработанная технология получения тонкостенных ребристых радиаторов в песчано-глинистые сырые формы, которая имеет ряд особенностей:
Эти технологические особенности обеспечивают улучшение газового режима формы, предотвращают засоры, а также полную проливаемость отливки. Применение разработанной технологии практически полностью исключило брак отливок по недоливам, газовым, усадочным и песчаным раковинам. Разработанная математическая модель скорости затвердевания отливки позволяет уже на стадии проектирования по химическому составу, механическим свойствам, конфигурации, судить о возможной структуре будущей отливки. Что позволяет конструктору-технологу своевременно вносить изменения и коррективы в разрабатываемую технологию. Так в результате просчета математической модели получено, что структурой отливки теплообменник является феррит+графит с незначительными включениями перлита. Это в последствии и подтвердилось на практике. Для создания более плотной перлитной структуры необходимо изменить скорость кристаллизации или химический состав металла. Изменение химического состава металла по технологическим причинам в данном случае более приемлемо. При изменении химического состава для создания более плотной структуры применялась сурьма, т.к. присадка данного компонента в металл (на дно ковша) не представляет собой никаких трудностей и возможна в любом литейном цехе. В результате проведенных экспериментов выявлено, что незначительная присадка сурьмы изменяет его структуру. Преобладающей структурой становится перлит+графит, причем графитовые включения измельчаются, более равномерно распределяются по сечению отливки и стремятся к шаровидной форме. Все это повышает герметичность получаемого чугуна, а следовательно и отливки. По результатам экспериментов выявлена оптимальная в процентном соотношении присадка сурьмы обеспечивающая герметичность данной отливки и не ухудшающая ее механических свойств. При получении отливок работающих при повышенном давлении для обеспечения их герметичности необходимо произвести присадку сурьмы на дно ковша 0.1 %-0.4 % от массы жидкого металла.
По разработанной технологии отлита опытная партия радиаторов (рис.10-1) с присадкой сурьмы 0.16 %. Полученные радиаторы успешно выдержали заводские испытания давлением 11 кгс/см2, в отличии от отливок полученных без присадок сурьмы, которые давали “течь” при 4-5 кгс/см2. Исходя из результатов экспериментов и производственных испытаний можно сделать вывод, что при литье тонкостенных чугунных отливок, работающих при повышенных давлениях, можно использовать серый чугун с присадкой сурьмы взамен высокопрочных чугунов, что значительно облегчает процесс производства. ЛИТЕРАТУРА
ПРИЛОЖЕНИЕ Программа для расчета припусков на механическую обработку (язык программирования GI): Главная программа: CALL pri }c FR "M" mane$ } EX k% "GR.EXE" "SLD.KX" 1 1 33 78 "a" } rmax=309 rmin=19 PR "~c14m1" } PR "~c15" } MV 23 40 "" i%=3 "Наибольший размер детали " rmax "Наименьший размер детали " rmin "Продолжить работу " } PR "~c15" } MV 26 45 "Тип сплава" i%=1 "Черный нетермообрабатываемый" m1 "Черный термообрабатываемый" m2 "Цветной нетермообрабатываемый" m3 "Цветной термообрабатываемый" } GO m4 m1: ts=1 GO m5 m2: ts=2 GO m5 m3: ts=3 GO m5 m4: ts=4 m5: CALL pri }c DE 1 1 2 0 15 "Диапазон класса размерной" "точности отливки выбирается" "из таблицы 9 ГОСТ 26645-85" } k%=0 GBD p% "t9_"+mane$ k% "ngab>=" rmax } IF p% GO en }i CALL case }c PRINT "~x20y5X59Y9f1w" "~v_Класс размерной точности отливки:_bl7p34",krt$ } DE 1 1 3 0 15 "Допуск смещения формы отливки" "по плоскости разъема устанавливается" "по таблице 1 ГОСТ 26645-85 на уровне" "класса размерной точности отливки" "Допуск смещения, вызваный перекосом" "стержня устанавливается в диаметральном" "выражении по таблице 1 ГОСТ 26645-85 на" "1-2 класса точнее" } DE 9 40 2 0 15 "Класс размерной точности" "отливки выбирается из диапазона" "в зависимости от группы сложности" "(для данной отливки - 2 группа)" } krto%=9 MV 14 18 "Тип сплава" i%=2 "Класс размерной точности отливки: " krto% "Продолжить работу " } DE 31 29 4 0 14 "Нажмите любую клавишу..." } KEY s$ k%=0 GBD p% "t1" "nomr<=" nr } CALL kkrtt }c DE "Припуск на размер" nomr1 "состовляет" prips } k%=0 GBD p% "t1" "nr>=" nomr2 } CALL kkrtt }c DE "Припуск на размер" nomr1 "состовляет" prips } k%=0 GBD p% "t1" "nr>=" nomr2 } CALL kkrtt }c DE "Припуск на размер" nomr1 "состовляет" prips } IF p% <> 0 GO en }i ktnr$=krto% nomr=19 MV 19 20 "" i%=3 "Номинальный размер " nomr "Класс точности данного размера " ktnr$ "Продолжить работу " } CALL rr }c nomr1=nomr dop1=dop nomr=60 ktnr$=8 MV 19 20 "" i%=3 "Номинальный размер " nomr "Класс точности данного размера " ktnr$ "Продолжить работу " } CALL rr }c nomr2=nomr dop2=dop nomr=266 ktnr$=11т MV 19 20 "" i%=3 "Номинальный размер " nomr "Класс точности данного размера " ktnr$ "Продолжить работу " } CALL rr }c nomr3=nomr dop3=dop DE 31 29 4 0 14 "Нажмите любую клавишу..." } KEY s$ ; Пункт 2.2; d=rmin/rmax PRINT "~i" } DE 1 1 1 0 15 "Отношение максимального" "и минимального размера" "отливки" "" d "" } DE 6 20 2 0 15 "Диапазон степени коробления" "отливки определяется по" "таблице 10 ГОСТ 26645-85" } n%=0 GBD p% "t10" n% "div<=" в } IF p% THEN GO en }i FR "M" sk1$ sk2$ } IF ts=1 THEN sk$=sk1$ }i ELSE IF ts=2 THEN sk$=sk2$ }i ELSE IF ts=3 THEN sk$=sk1$ }i ELSE IF ts=4 THEN sk$=sk2$ }i }e }e }e }e DE 10 34 1 0 15 "Диапазон степени" "коробления отливки" "" sk$ "" } sko=5 MV 18 31 "" i%=2 "Степень коробления элементов отливки " sko "Продолжить работу " } ;Пункт 2.3; DE 19 48 2 0 15 "Допуск формы и расположения" "поверхностей отливки" "с учетом степени коробления" "определяется по таблице 2" "ГОСТ 26645-85" } nomr=nomr1 CALL rr1 } dopc1=dop MV 18 31 "" i%=2 "Степень коробления элементов отливки " sko "Продолжить работу " } nomr=nomr2 CALL rr1 } dopc2=dop MV 18 31 "" i%=2 "Степень коробления элементов отливки " sko "Продолжить работу " } nomr=nomr3 CALL rr1 } dopc3=dop DE 31 29 4 0 14 "Нажмите любую клавишу..." } KEY s$ PRINT "~i" } DE 1 1 5 0 15 "Общий допуск необходимо определить" "по таблице 16 ГОСТ 26645-85" } GBD p% "t16" } DE 1 1 5 0 15 "Степень точности поверхности выбираем" "по таблице 11 ГОСТ 26645-85 в соответствии" "c типом литья." } GBD p% "t11_"+mane$ k% "nq>=" rmax } IF p% GO en }i FR "M" q1$ q2$ q3$ q4$ } IF ts=1 THEN krt$=q2$ }i ELSE IF ts=2 THEN krt$=q4$ }i ELSE IF ts=3 THEN krt$=q1$ }i ELSE IF ts=4 THEN krt$=q3$ }i }e }e }e DE 9 25 2 0 15 "Диапазон cтепени точности поверхности" "" krt$ "" } stp=14 MV 14 37 "" i%=2 "Cтепени точности поверхности " stp "Продолжить работу " } DE 17 5 2 0 15 "Определяем вид" "окончательной " "обработки" } PR "~c10m14" } PR "~c11C13" } MV 20 26 "Квалитет Rz обработка " i%=1 " 16-17 Rz 320 обдирка " v10 " 14 Rz 100 черновая " v14 " 12 Rz 50 получистовая" v14 " 10-11 Rz 25 чистовая " v14 " 7-9 Rz 5 тонкая " } v10: v14: PR "~i" } DE 1 1 1 0 15 "Ряд припусков на механическую" "обработку определяют по " "таблице 14 ГОСТ26645-85" } GBD p% "t14" k% "stt>="stp } ;IF k% GO en }i; FR "M" rpr$ } DE 5 28 1 0 15 "Ряд припусков" "" rpr$ "" } prt%=5 PR "~c15m1" } MV 14 29 "" i%=2 "Ряд припуска " prt% "Продолжить работу " } GBD p% "t5" k% "rrr>="prt% } FR "M" minpr } DE 7 52 2 0 15 "Минимальный припуск" "определяем по таблице 5" "ГОСТ 26645-85" } DE 15 52 1 0 15 "Минимальный припуск" "равен ", minpr } DE 31 29 4 0 14 "Нажмите любую клавишу..." } KEY s$ CALL pri } us=1.0 MV 19 20 "" i%=3 "Номинальный размер " nomr "Процент усадки сплава " us "Продолжить работу " } usn=(nomr*us)/100 DE 13 29 1 0 15 "Допуск на усадку:" "" usn "" } DE "Общий допуск на сторону складывается" "из значений найденных в таблицы 16" "и вида окончательной механической обработки" "и ряда припуска отливки" } nomrr=nomr+dop+usn KEY q$ MV 1 1 "" i%=1 "Класс точности массы" klm "Продолжить " } en: }p Подпрограмма выбора типа литья: CALL pri }c mans1: PR "~i" } DE 1 1 8 0 14 ">>>>>>>>>>>>>>>>> 1 <<<<<<<<<<<<<<<<<<<" "Литье под давлением в металлические формы" "и по выжигаемым моделям с применением" "малотерморасширяющихся огнеупорных" "материалов (корунд,плавленный кварц и т.п.)" } DE 10 1 8 0 14 ">>>>>>>>>>>>>>>>>>> 2 <<<<<<<<<<<<<<<<<<<" "Литье по выжигаемым моделям с применением" "кварцевых огнеупорных материалов." } DE 17 1 8 0 14 ">>>>>>>>>>>>>>>>>>> 3 <<<<<<<<<<<<<<<<<<<<<" "Литье по выплавляемым моделям с применением" "кварцевых огнеупорных материалов." } DE 24 1 8 0 14 ">>>>>>>>>>>>>>>>>>> 4 <<<<<<<<<<<<<<<<<<<" "Литье под низким давлением и в кокиль без" "песчаных стержней." } DE 9 50 2 9 14 "Технологический" "процесс литья" } MV 15 54 "" i%=5 "1" mas1 "2" mas2 "3" mas3 "4" mas4 "Следующий" mans2 "Выход " } GO end mas1: mane$="1" GO end1 mas2: mane$="2" GO end1 mas3: mane$="3" GO end1 mas4: mane$="4" GO end1 mans2: PR "~i" } DE 1 1 8 0 14 ">>>>>>>>>>>>>>>>> 5 <<<<<<<<<<<<<<<<<<<<" "Литье в песчано-глинистые сырые формы из" "низковлажных (до 2.8%) высокопрочных (более" "160 кПа) смесей, с высоким однородным" "уплотнением до твердости не ниже 90 едениц." "Литье по газифицированным моделям в песчаные" " формы. " "Литье в формы,отвержденные в контакте с холодной" " оснасткой. " "Литье под низким давлением и в кокиль с песчаными" " стержнями. " "Литье в облицованный кокиль." } DE 16 1 8 0 14 ">>>>>>>>>>>>>>>>>>> 6 <<<<<<<<<<<<<<<<<<<<<" "Литье в песчано-глинистые формы из смесей с" "влажностью 2.8-3.5% и прочностью 120-160 кПа" "и уплотненностью не менее 80 ед." "Литье центробежное (внутренние поерхности)" "Литье в формы, отверждаемые в контакте" " с горячей оснасткой. " "Литье в вакуумно-пленочные песчаные формы." } DE 9 56 2 9 14 "Технологический" "процесс литья" } MV 15 59 "" i%=3 "5" mas5 "6" mas6 "Следующий" mans3 "Предыдущий" mans1 "Выход " } GO end mas5: mane$="5" GO end1 mas6: mane$="6" GO end1 mans3: PR "~i" } DE 1 1 8 0 14 ">>>>>>>>>>>>>>>> 7 <<<<<<<<<<<<<<<<<<" "Литье в песчано-глинистые сырые формы" "из смесей с влажностью от 3.5% до 4.5%" "и прочностью от 60 до 120 кПа с уровнем " "уплотнения до твердости не ниже 70 едениц." "" "Литье в оболочковые формы из" "термореактивных смесей." "" "Литье в формы, отверждаемые вне контакта" "с оснасткой без тепловой сушки." "" "Литье в песчано-глинистые подсушенные" " и сухие формы. " } DE 19 1 8 0 14 ">>>>>>>>>>>>>> 8 <<<<<<<<<<<<<<<<<<<<" "Литье в песчано-глинистые сырые формы" "из высоковлажных (более 4.5%), низкопрочных" "(до 60 кПа) смесей с низким уровнем" "уплотнения до твердости ниже 70 едениц." } DE 9 50 2 9 14 "Технологический" "процесс литья" } MV 15 53 "" i%=1 "7" mas7 "8" mas8 "Предыдущий" mans2 "Выход " } GO end mas7: mane$=7 GO end1 mas8: mane$="8" GO end1 end1: FW "M" mane$ } GI "ppo.gi" end: }p INC "wait.gi" Комплекс подпрограмм выбора по условию: INC "wait.gi" case: }c FR "M" ts1$ ts2$ ts3$ ts4$ } IF ts = 1 THEN krt$=ts1$ }i ELSE IF ts = 2 THEN krt$=ts4$ }i ELSE IF ts = 3 THEN krt$=ts1$ }i ELSE IF ts = 4 THEN krt$=ts3$ }i }e }e }e }s rr: }c n%=0 GBD p% "t1" n% "nr>=" nomr } IF p% <> 0 GO en }i FR "M" d6 d7t d7 d8 d9t d9 d10 d11t d11 d12 d13t d13 d14 d15 d16 } IF ktnr$ = "6" THEN dop=d6 }i ELSE IF ktnr$ = "7т" THEN dop=d7t }i ELSE IF ktnr$ = "7" THEN dop=d7 }i ELSE IF ktnr$ = "8" THEN dop=d8 }i ELSE IF ktnr$ = "9т" THEN dop=d9t }i ELSE IF ktnr$ = "9" THEN dop=d9 }i ELSE IF ktnr$ = "10" THEN dop=d10 }i ELSE IF ktnr$ = "11т" THEN dop=d11t }i ELSE IF ktnr$ = "11" THEN dop=d11 }i ELSE IF ktnr$ = "12" THEN dop=d12 }i ELSE IF ktnr$ = "13т" THEN dop=d13t }i ELSE IF ktnr$ = "13" THEN dop=d13 }i ELSE IF ktnr$ = "14" THEN dop=d14 }i ELSE IF ktnr$ = "15" THEN dop=d15 }i ELSE IF ktnr$ = "16" THEN dop=d16 }i }e }e }e }e }e }e }e }e }e }e }e }e }e }e DE 25 28 1 0 15 "Допуск размерной точности:" "для размера" nomr "будет" dop } }s rr1: }c n%=0 GBD p% "t2" n% "nrr>=" nomr } FR "M" dr5 dr6 dr7 dr8 dr9 dr10 dr11 } IF sko = 5 THEN dop=dr5 }i ELSE IF sko = 6 THEN dop=dr6 }i ELSE IF sko = 7 THEN dop=dr7 }i ELSE IF sko = 8 THEN dop=dr8 }i ELSE IF sko = 9 THEN dop=dr9 }i ELSE IF sko = 10 THEN dop=dr10 }i ELSE IF sko = 11 THEN dop=dr11 }i }e }e }e }e }e }e DE 22 20 1 0 15 "Допуск формы и расположения:" "для размера" nomr "будет" dop "" } }s kkrtt: }c IF ktnr$ = "6" THEN FR "M" prips"d6$" } }i ELSE IF ktnr$ = "7t" THEN FR "M" prips"d7t$" } }i ELSE IF ktnr$ = "7" THEN FR "M" prips"d7$" } }i ELSE IF ktnr$ = "8" THEN FR "M" prips"d8$" } }i ELSE IF ktnr$ = "9t" THEN FR "M" prips"d9t$" } }i ELSE IF ktnr$ = "9" THEN FR "M" prips"d9$" } }i ELSE IF ktnr$ = "10" THEN FR "M" prips"d10$" } }i ELSE IF ktnr$ = "11t" THEN FR "M" prips"d11t$" } }i ELSE IF ktnr$ = "11" THEN FR "M" prips"d11$" } }i ELSE IF ktnr$ = "12" THEN FR "M" prips"d12$" } }i ELSE IF ktnr$ = "13t" THEN FR "M" prips"d13t$" } }i ELSE IF ktnr$ = "13" THEN FR "M" prips"d13$" } }i ELSE IF ktnr$ = "14" THEN FR "M" prips"d14$" } }i ELSE IF ktnr$ = "15" THEN FR "M" prips"d15$" } }i ELSE IF ktnr$ = "16" THEN FR "M" prips"d16$" } }i }e }e }e }e }e }e }e }e }e }e }e }e }e }e }e }s Подпрограмма выбора серийности производства: CALL pri }c PR "~c14a3" } MV 13 25 "Серийность производства" i%=1 "Массовое " m1 "Крупносерийное " m1 "Серийное " m2 "Мелкосерийное " m2 "Единичное " } GO m2 m1: DE 28 22 11 15 0 "Выбираем металлическую модель" } GO m3 m2: DE 28 24 11 15 0 "Выбираем деревянную модель" } m3: EX k% "GR.EXE" "SLD_1_3.KX" 2 1 17 50 "a" } EX k% "GR.EXE" "VID3.GR" 2 51 17 78 } FILE "*.*" g$ }p Подпрограмма вывода авторских записей: pri: }c PR "~ic14x40Y35l35p40w" "(C) Дубовой В.В. & Каспревич П.В." } PR "~c15x1Y33" } }s DE 1 1 2 0 14 "text" } }p Программа рисования графика для вставки в Auto CAD 12 (язык программирования Auto LISP): (defun graf( / x y sp tmp temp1 temp3 f1 tmp1 step) ;открываю файл с данными (setq f1 (open "$$u$$.dan" "r")) (setq tmp 0);сбил nil со счетчика (setq sp nil) (setq temp1 (atoi (read-line f1))); извлекаю начальную температуру (setq temp3 (atoi (read-line f1))); извлекаю конечную температуру (setq sp (list (list (atoi (read-line f1)) (atof (read-line f1))))); начинаю список данных (while tmp (setq tmp1 (read-line f1)) (setq tmp (read-line f1)) (if tmp1 (setq sp (cons (list (atoi tmp) (atof tmp1)) sp))) ); end while (close f1) (setq sp (reverse sp)) ;(COMMAND "PLINE" '(temp3 0) '(temp1 0) ) (COMMAND "PLINE" (nth 1 sp)) (setq step 2) (repeat (- (length sp) 1) (COMMAND (nth step sp)) (setq step (1+ step)) ); end repeat ) (defun c:kurs ( / ) (graf) ) Программы для расчета скорости затвердевания и относительной скорости затвердевания (язык программирования Turbo Pascal 7.0): Начальные данные для расчета: Удельная теплоемкость отливки C1:=838; Дж/кг°К Плотность расплава r1:=7000; кг/м3 Приведенный размер отливки Ro:=0.004; м Температура заливки Tзал:=1643; °K Темперетура ликвидуса Tликв:=1473; °K Масса отливки Co:=40; кг Коэффициент тепловой аккумуляции формы
Bф:=1377;
Температура формы Tф:=293; °K Удельная теплота кристаллизации отливки Le:=215Е3; Дж/кг Плотность отливки r3:=7500; кг/м3 Температура эвтектики Tэвт:=1470; °K {1 программа} uses crt; const A=3.7; m=0.38; type point = record X,Y:integer; end; var Co:real; VremZal,TempZal,Tn,Tf,Bf,Tlikv,Ro1,Ro,C1:real; T1,T3:real; Le,Ro3,Tevt,U:real; t:Longint; fil:text; spis:array[1..4] of point; {Функция возведения в дробную степень: вход основание степени,сама степень} function pow(osnovanie,stepen:real):real; begin pow:=exp(stepen*ln(osnovanie)); end; procedure out(per:real); begin Writeln(' ',per); end; begin {********************************************************} writeln; writeln; {Время заполнения формы металлом} VremZal:=A*pow(Co,M); Tn:=(TempZal+TLikv)/2; T1:=sqr((C1*Ro1*Ro*(Tn-Tlikv)/(1.128*Bf*(Tn-Tf)))+sqrt(VremZal)); T3:=sqr(Le*Ro3*Ro/(1.13*Bf*(Tevt-Tf))+sqrt(T1)); out(t1); out(t3); {Линейная скорость затвердевания эквивалентной плоскости отливки} assign(fil,'$$u$$.dan'); rewrite(fil); t:=round(t1); writeln(fil,round(t1)); writeln(fil,round(t3)); while t<=round(t3) do begin U:=Bf*Tevt/(Le*Ro3*Sqrt(pi*t)); writeln(fil,U*500000:2:2); writeln(fil,t); writeln(u:2:8,' текущее ',t,' всего до ',round(t3)); inc(t); end; close(fil); assign(fil,'params.dat'); rewrite(fil); {spis[1].X:=round(t3+20); spis[1].Y:=round(Bf*Tevt/(Le*Ro3*Sqrt(pi*t3)))*500000-20; spis[2].X:=round(t1-20); spis[2].Y:=spis[1].Y; spis[3].X:=spis[2].X; spis[3].Y:=round(Bf*Tevt/(Le*Ro3*Sqrt(pi*t1)))*500000+20; spis[4].X:=spis[1].X; spis[4].Y:=spis[3].Y; writeln(fil,spis[1].X); writeln(fil,spis[1].Y); writeln(fil,spis[2].X); writeln(fil,spis[2].Y); writeln(fil,spis[3].X); writeln(fil,spis[3].Y); writeln(fil,spis[4].X); writeln(fil,spis[4].Y);} writeln(fil,'Температура конечная ',round(t3)); writeln(fil,'Температура начальная ',round(t1)); writeln(fil,'U верхнее ', Bf*Tevt/(Le*Ro3*Sqrt(pi*t1))); writeln(fil,'U нижнее ', Bf*Tevt/(Le*Ro3*Sqrt(pi*t3))); close(fil); end. {2 программа} uses crt; const A=3.7; m=0.38; k=0; var Co:real; VremZal,TempZal,Tn,Tf,Bf,Tlikv,Ro1,Ro,C1:real; T1,T3,x:real; Le,Ro3,Tevt,Ue:real; t:Longint; fil:text; {Функция возведения в дробную степень: вход основание степени,сама степень} function pow(osnovanie,stepen:real):real; begin pow:=exp(stepen*ln(osnovanie)); end; procedure out(per:real); begin Writeln(' ',per); end; begin {Начальные данные} {Удельная теплоемкость отливки Дж/Кг*К} C1:=838; {Плотность расплава Кг/м3} Ro1:=7000; {Приведенный размер отливки} Ro:=0.004; {Температура заливки} TempZal:=1643; {K.} {Темперетура ликвидуса} Tlikv:=1473; {K.} {Co Масса отливки } Co:=40; {кг.} {Коэффициент тепловой аккумуляции формы} Bf:=1377; {Температура формы } Tf:=293; {K.} {Удельная теплота кристаллизации отливки} Le:=215e3; {Дж/Кг} {Плотность отливки} Ro3:=7500; {Температура эвтектики} TEvt:=1470; {K.} {******************************************************} writeln; writeln; {Время заполнения формы металлом} VremZal:=A*pow(Co,M); Tn:=(TempZal+TLikv)/2; T1:=sqr((C1*Ro1*Ro*(Tn-Tlikv)/(1.128*Bf*(Tn-Tf)))+sqrt(VremZal)); T3:=sqr(Le*Ro3*Ro/(1.13*Bf*(Tevt-Tf))+sqrt(T1)); assign(fil,'$$u$$2.dan'); rewrite(fil); writeln(round(t1)); writeln(round(t3)); x:=0; while x<=Ro do begin {Линейная скорость затвердевания эквивалентной плоскости отливки} Ue:=2*(k+1)*sqr(Bf*Tevt)/(Ro*sqr(sqrt(pi)*Le*Ro3))* (1/(1+{-pow(}x/Ro{,k+1)}+(1.13*(k+1)*Bf*Tevt/(Le*Ro3*Ro))*sqrt(T1))); {Ue:=2*(k+1)*sqr(Bf*Tevt)/(Ro*sqr(sqrt(pi)*Le*Ro3))* (1/(1+pow(x/Ro,k+1)+(1.13*(k+1)*Bf*Tevt/(Le*Ro3*Ro))*sqrt(T1)));} writeln(fil,ue*100000:2:3); writeln(ue*100000:2:8,' текущее ',x:2:6,' всего до ',Ro:2:6); x:=x+0.0001; end; close(fil); end. Министерство образования Украины ОДЕССКИЙ ГОСУДАРСТВЕННЫЙ ПОЛИТЕХНИЧЕСКИЙ УНИВЕРСИТЕТ Механико-технологический факультет Кафедра “Машины и технология литейного производства” ДИПЛОМНАЯ РАБОТА “Разработка модели технологического процесса получения ребристых труб и её апробация” студента Каспревича П.В. руководитель асс. Прокопович И.В. Одесса, 1995 |
||||||||||||||||||||||||||||||||||||||||||||||||||||||||||||||||||||||||||||||||||||||||||||||||||||||||||||||||||||||||||||||||||||||||||||||||||||||||||||||||||||||||||||||||||||||||||||||||||||||||||||||||||||||||||||||||||||||||||||||||||||||||||||||||||||||||||||||||||||||||||||||||||||||||||||||||||||||||||||||||||||||||||||||||||||||||||||||||||||||||||||||||||||||||||||||||||||||||||||||||||||||||||||||||||||||||||||||||||||||||||||||||||||||||||||||||||||||||||||||||||||||||||||||||||||||||||||||||||||||||||||||||||||||||||||||||||||||||||||||||||||||||||||||||||||||||






,
мм = 12.26 см.
см2.
,
мм
,
мм/мин,
,



















































(9-1)
(9-2)
(9-3)
(9-4)
(9-7)
(9-8)
(9-9)