Реферат: Вихревые горелки
|
Название: Вихревые горелки Раздел: Рефераты по теплотехнике Тип: реферат | ||||||||||||||||||||
Содержание : 1. Характеристики закрученных потоков 3 2. Формирование закрученных течений 7 3. Топки, горелки и циклоны 11 4. Характерные особенности закрученных потоков 15 5. Изменение структуры потока с увеличением закрутки 18 6. Структура рециркуляционной зоны 20 7. Вихревые горелки, прецессирующее вихревое ядро в потоке с горением 22 8. Горение в закрученном потоке 25 9. Пределы срыва и устойчивость пламени 28 10. Проектирование вихревых горелок 29 11. Список использованной литературы 31 1. ХАРАКТЕРИСТИКИ ЗАКРУЧЕННЫХ ПОТОКОВ Сильное влияние закрутки на инертные и реагирующие течения хорошо известно и изучается на протяжении многих лет. Когда эффект закрутки оказывается полезным, конструктор старается создать закрутку, наиболее подходящую для решения его задач; если же подобные эффекты нежелательны, конструктор предпринимает усилия для регулирования или устранения закрутки. Закрученные течения имеют широкий диапазон приложений. В случае отсутствия химических реакций сюда относятся, например, течения в вихревых реакторах, циклонных сепараторах и трубах Ранка - Хилша, при срыве вихревой пелены с крыльев самолета, в водоворотах и торнадо, в устройствах для распыления аэрозолей в сельском хозяйстве, в теплообменниках, струйных насосах, а также теория бумеранга и полета пчелы. В течениях с горением широко используется сильное благоприятное влияние закрутки инжектируемых воздуха и горючего на улучшение стабилизации высокоинтенсивных процессов горения и при организации эффективного чистого сгорания во многих практических устройствах: в бензиновых и дизельных двигателях, в газовых турбинах, промышленных печах, бойлерах и других технических нагревательных аппаратах. В последнее время усилия исследователей были направлены на понимание и описание аэродинамики закрученных течений с процессами горения газообразных, жидких и твердых топлив. Экономичное конструирование и экологичность работы технических устройств с горением могут быть значительно улучшены дополнительными экспериментами и модельными исследованиями. При этом экспериментальная и теоретическая аэродинамика течений с горением используется вместе со сложными методами вычислительной гидродинамики. Развитие и совершенствование этих методов позволят значительно снизить затраты времени и средств на программы развития новых устройств. Закрученные течения являются результатом сообщения потоку спирального движения с помощью закручивающих лопаток, при использовании генераторов закрутки с осевым и тангенциальным подводом или прямой закруткой путем тангенциальной подачи в камеру с формированием окружной компоненты скорости (называемой также тангенциальной или азимутальной компонентой скорости). Экспериментальные исследования показывают, что закрутка оказывает крупномасштабное влияние на поле течения: на расширение струи, процессы подмешивания и затухания скорости в струе (в случае инертных струй), на размеры, форму и устойчивость пламени и интенсивность горения (в случае реагирующих потоков). На все эти характеристики влияет интенсивность закрутки потока. Интенсивность закрутки обычно характеризуется параметром закрутки, представляющим собой безразмерное отношение осевой компоненты потока момента количества движения к произведению осевой компоненты потока количества движения и эквивалентного радиуса сопла, т. е.
где величина
является потоком момента количества движения в осевом направлении и учитывает вклад х - q-компоненты турбулентного сдвигового напряжения; а величина
является потоком количества движения в осевом направлении и учитывает вклад турбулентного нормального напряжения и давления (осевая тяга), d/2— радиус сопла, и, v, ω - компоненты скорости в направлении осей х, r, q цилиндрической системы координат. В свободной струе, распространяющейся в затопленном пространстве, величины Gх и Gq постоянны, т. е. являются инвариантами для данной струи. Если использовать уравнение для количества движения в радиальном направлении и пренебречь слагаемыми
Эту характеристику зачастую трудно измерить с хорошей точностью, поэтому используются альтернативные упрощенные варианты. Иногда величину S рассчитывают без учета турбулентных напряжений, иногда пренебрегают вкладом давления. В этих случаях величины Gq и Gх при смещении вниз по потоку не сохраняются. Рассмотрим сначала случай, когда поток закручен как целое на выходе из сопла, т.е.
Иными словами, профиль осевой скорости и считается равномерным, а скорость закрутки ω возрастает от 0 (при r=0) до ωm 0 (при r=d/2, т.е. на стенке сопла). Если вклад давления в Gх сводится к учету слагаемого ω2 /2, а турбулентными напряжениями пренебрегают, то это дает
где Gх =ωm 0 /um0 - отношение максимальных скоростей в выходном сечении сопла. Таким образом, параметр закрутки S может быть представлен в виде
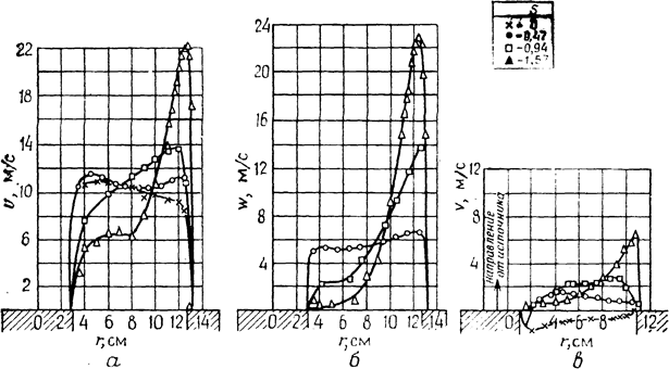
где связь S и G проиллюстрирована на рис.1.1, где также приведены экспериментальные значения измеренных независимо величин S и G. Соотношение S ~ G для вращения газа как целого правдоподобно описывает реальный случай истечения из генератора закрутки при G < 0,4 (S» 0,2). Однако при более интенсивности закрутки распределение осевой скорости значительно отклоняется от равномерного; большая часть потока выходит из отверстия вблизи внешней кромки; в качестве примера на рис.1.2 приведены распределения осевой, окружной и радиальной скоростей в кольцевом выходном сечении генератора закрутки с тангенциальным и осевым подводом, полученные экспериментально при нескольких значениях параметра закрутки. Указанная теоретическая зависимость Рис.1.1. Соотношение между параметрами S и G, характеризующими закрутку.
а — осевая скорость; б — окружная скорость; в — радиальная скорость. S ~ G дает в этом случае заниженные значения S при заданных значениях G, так что фактически более реальным оказывается следующее соотношение между S и G:
также изображенное на рис. 1.1. Течение может быть охарактеризовано также локальным параметром закрутки Sx , в котором используется толщина слоя смешения rb , а не радиус сопла d/2. Кроме того, закрутка потока может выражаться непосредственно через угол установки лопаток закручивающего аппарата и геометрические параметры сопла, через тягу и вращающий момент закручивающего устройства, через угол расширения струи вниз по потоку от сопла и через другие параметры. Целесообразно связать угол установки лопаток закручивающего аппарата с создаваемым им значением параметра закрутки. В этой связи для сравнения следует заметить, что угол установки лопаток (φ и параметр закрутки S связаны приближенным соотношением
где в и dh - соответственно диаметры сопла и втулки закручивающего аппарата. Это соотношение вытекает из предположения о распределении осевой скорости в кольцевом канале, соответствующем движению газа как целого, и допущению о малой толщине лопаток, имеющих постоянный угол φ по отношению к направлению основного потока и сообщающих потоку постоянную скорость закрутки. Действительно, интегрируя выражения (1.2), (1.3) по r от Rh =dh /2 до R=d/2, получим
откуда следует соотношение (1.7). В случае безвтулочного закручивающего аппарата (или для аппарата с очень малым отношением dh /d) приведенное выше выражение упрощается следующим образом:
так что, например, углы установки лопаток 15°, 30°, 45°, 60°, 70° и 80° соответствуют значениям S, равным примерно 0,2; 0,4; 0,7; 1,2; 2,0 и 4,0 соответственно. Здесь предполагается 100%-ная эффективность закручивающего аппарата, но в действительности она уменьшается при увеличении угла установки. На рис.1.3 приведен примерный вид зависимости угла выхода потока воздуха θ для закручивающего аппарата с плоскими лопатками от угла установки лопаток φ и отношения шага установки лопаток к длине хорды σ=s/c. Следует также отметить, что целесообразно использовать изогнутые лопатки в решетках закручивающих аппаратов, и по некоторым экспериментальным данным известно, что эффективный угол закрутки, сообщаемой потоку, определяется углом установки задней кромки.
Рис.1.3. Изменение угла выхода θ для закручивающего устройства с плоскими лопатками в зависимости от угла установки лопаток φ и отношения шага установки к хорде σ=s/c, полученное на основе данных для каскада плоских лопаток (а) и данных для каскада криволинейных лопаток (б). На рис.1.3 б, приведены соответствующие обозначения для угла выхода потока воздуха θ, зависящего от угла установки задней кромки лопатки φ (равного 180°-γ) и отношения шага установки лопаток к длине хорды σ. Здесь использованы следующие обозначения: θ - угол поворота потока, φ - конечный угол поворота лопаток, δ - угол отставания, равный φ-θ, γ - угол хорды лопатки, равный 180°-φ, R - радиус кривизны, с - длина хорды лопатки, s - расстояние между лопатками (шаг установки лопаток), и связь между этими параметрами выражается приближенным соотношением Картера
где Mс - функция угла хорды лопатки, которую можно аппроксимировать выражением Мс=0,002γ+0,21. И, наконец, в случае закручивающего устройства с адаптивным блоком параметр закрутки определяется следующим выражением:
где σ=ω1 /υ1 для радиально подводимого потока, R и Rh - внешний и внутренний радиусы устройства, В - длина устройства. Изучение камер сгорания различных размеров при использовании входных сопел одинакового размера с одинаковым углом установки лопаток φ показало, что размер и форма центральной тороидальной рециркуляционной зоны (ЦТРЗ) зависят от диаметра камеры сгорания. Для описания реализующихся в этом случае типов течений удобно использовать модифицированный параметр закрутки
в котором диаметр сопла заменяется диаметром камеры сгорания. 2. ФОРМИРОВАНИЕ ЗАКРУЧЕННЫХ ТЕЧЕНИЙ Закрутка потоков создается тремя основными методами: - использованием тангенциального подвода (генератор закрутки с осевым и тангенциальным подводом); - применением направляющих лопаток (закручивающее устройство); - непосредственным вращением (вращающаяся труба). На рис.1.4 показано закручивающее устройство (с осевым и тангенциальным подводом), широко используемое для создания однородных устойчивых струй для подробных экспериментальных исследований. Количество подаваемого воздуха может регулироваться и измеряться отдельно, так что простым изменением расходов воздушных потоков можно изменять степень закрутки от нулевой до очень высокой, приводящей к образованию сильно закрученных струй с обратными токами. Для таких систем требуется относительно высокий уровень полного давления, и в промышленных горелках часто используются системы с направляющими лопатками, в которых лопатки расположены таким образом, что они изменяют направление потока.
Рис.1.4 Закручивающее устройство с осевым и тангенциальным подводом. При радиальном подводе воздуха к закручивающему устройству радиальные и тангенциальные углы лопаток могут быть изменены на месте при реализации закручивающего устройства с адаптивным блоком, что в конечном итоге аналогично использованию тангенциального подвода. Система с адаптивным блоком эффективна в том случае, когда необходимо создать определенный уровень закрутки при относительно низком перепаде давления, поскольку при этом можно получить высокую интенсивность закрутки. В случае осевого течения в трубе закручивающее устройство или закручивающий лопаточный аппарат состоит из фиксированных лопаток с углом установки φ относительно направления основного потока. Эти лопатки отклоняют поток и придают ему вращательное движение. Такой метод используется в топках и газотурбинных камерах сгорания. Обычно лопатки устанавливаются на центральной втулке и располагаются в кольцевой области вокруг нее. С целью улучшения условий на выходе делались попытки использовать закручивающие устройства без втулок, однако срыв потока на лопатках обусловливает сложную картину течения и приводит к нарушению осевой симметрии. Закрутка может быть также создана непосредственным вращением потока. Так, в одном из экспериментов использовался цилиндр, вращающийся с частотой 9500 об/мин и создающий закрутку силами трения на стенке цилиндра, действующими на проходящий через него поток. Вследствие относительно низкой вязкости воздуха таким методом можно создать лишь небольшую закрутку. Силы трения могут быть значительно увеличены установкой во вращающую трубу перфорированных пластин, пучков труб или пористых дисков. На выходе из таких систем получаются профили скорости, соответствующие закрутке газа как целого, аналогично случаю увлечения частиц жидкости диском, вращающимся с постоянной угловой скоростью Ω. В вязкой жидкости вращающиеся течения (т.е. вихри) всегда содержат центральное ядро с вращением жидкости как целого (или вынужденный вихрь). Вне центральной области могут преобладать условия свободного (или потенциального) вихря, что наблюдается при образовании в атмосфере смерчей, пылевых бурь, торнадо, ураганов и циклонов. Огневые смерчи, возникающие при лесных и городских пожарах, могут быть смоделированы в лабораторных условиях вращением большого цилиндрического экрана из проволочной сетки над разлитым жидким горючим или над газовым факелом, когда пламя располагается по центральной вертикальной оси цилиндра. Для классификации и оценки этих типов течений целесообразно рассмотреть движение жидкости в цилиндрических координатах. Предполагаются осевая симметрия и равенство нулю радиальной и осевой скоростей (u=v=0). Тогда единственной ненулевой компонентой скорости оказывается окружная, зависящая только от радиуса ω=f(r). Завихренность со определяется как ротор вектора скорости. В простом случае вращающейся жидкости, когда u=v=0 и скорость закрутки зависит только от радиуса г, завихренность равна
т.е. отлична от нуля лишь x-компонента вектора ω. Во вращающихся течениях с распределением окружной скорости ω=c/r (1.11) завихренность равна нулю (со==0). Такие течения являются потенциальными (безвихревыми) и называются потенциальными или свободными вихрями. Течения с вращением жидкости как целого имеют распределение скорости ω==c'r (1.12) и называются вынужденными вихрями. Ясно, что вектор ω в них отличен от нуля и такие течения называются завихренными. В любом случае циркуляция Г вдоль одной из концентрических траекторий вращательного движения определяется выражением Г = 2πrω, где ω не зависит от θ. Другим параметром является угловая скорость относительно центральной оси Ω = ω/r. Общие характеристики вихрей приведены в табл.1.1. Все три типа вихрей в реальных жидкостях имеют центральное вихревое ядро с ненулевой завихренностью. Окружная скорость равна нулю на оси симметрии. Свободные и вынужденные вихри можно различить по радиальному положению максимума окружной скорости; т. е. в свободном вихре максимум расположен вблизи оси симметрии, в то время как в вынужденном вихре максимум находится на внешней границе вихря. Все величины для составного вихря Рэнкина (или свободно-вынужденного вихря) определяются выражениями для вынужденного вихря при малых r и выражениями для свободного вихря при больших r. Таблица 7.7. Общие характеристики вихрей
При выборе закручивающего устройства решающим фактором является его эффективность, поскольку лишь часть падения давления на горелке переходит в кинетическую энергию получающегося закрученного струйного течения, остальная часть механической энергии теряется. Можно ввести параметр ν, называемый коэффициентом потока кинетической энергии кольцевого закрученного течения. Его значение зависит от типасозданного вихря, внешнего и внутреннего диаметров трубы.
Рис.1.5. Коэффициент потока кинетической энергии ν в кольцевом закрученном течении в случае уравнения вихря ω = constrn .
Рис. 1.6. Эффективность закрутки ε в зависимости от параметра закрутки S для различных закручивающих устройств: 1 - закручивающее устройство с адаптивным блоком (R = 80 мм); 2 - закручивающее устройство с осевым и тангенциальным подводом; 3 - закручивающее устройство с направляющими лопатками (R = 62 мм). И от распределения окружной и осевой скоростей, которые могут не соответствовать вращению газа как целого. Значения ν для различных типов вихрей с ω = Сгn приведены на рис. 1.5. Можно видеть, что для любого заданного значения параметра закрутки вихрь при движении газа как целого (n=1) представляет собой случай минимума кинетической энергии, а свободный вихрь (n=-1) дает максимум кинетической энергии. Вихри с постоянной окружной скоростью (n=0) представляет собой промежуточный случай между вихрем с распределением скорости, соответствующим движению газа как целого, и свободным вихрем, и в случае, когда момент количества движения в значительной степени сконцентрирован во внешней части потока (n=3), получаются значения ν, лишь незначительно превышающие значения, соответствующие движению газа как целого. Эффективность закрутки в при заданной интенсивности закрутки представляет собой отношение кинетической энергии закрученного потока, протекающего через горло горелки, к падению статического давления между входным сечением и горлом. На рис.1.6 представлены экспериментальные значения ε для различных значений параметра закрутки S и различных типов закручивающих устройств. 1. Закручивающее устройство с осевой и тангенциальной подачей наиболее эффективно при малых интенсивностях закрутки, но малоэффективно при больших интенсивностях закрутки. Например, при S=1 его эффективность ε=40%. Столь низкая эффективность связана главным образом с большой площадью внутренней поверхности внутренней трубы горелки, особенно вверх по потоку от отверстия тангенциальной подачи. 2. Закручивающее устройство с адаптивным блоком имеет относительно низкую эффективность при низкой и средней интенсивности закрутки (ε=58% при S=0,4), но его эффективность остается неизменной и может даже повышаться при более высокой интенсивности закрутки. 3. Закручивающий аппарат с радиальной подачей потока имеет относительно высокую эффективность (ε=75% при S=1). 4. Закручивающий аппарат с осевой подачей имеет относительно низкую эффективность (ε=30% при S=1). Эффективность закрутки представляет собой меру создания конкретной интенсивности закрутки S; это вовсе не мера эффективности создания определенного типа поля течения; это означает, что при одинаковой интенсивности закрутки различными типами закручивающих устройств (с различными профилями скорости на выходе) создаются разные поля течения вниз по потоку. 3. ТОПКИ, ГОРЕЛКИ И ЦИКЛОНЫ На рис.1.30 приведен эскиз экспериментальной топки Международной организации исследования горения (IFRF) с переменным отводом тепла, использованной для подробного экспериментального исследования гидродинамики и теплообмена. Топка имеет длину примерно 6,3 м и поперечное сечение 2Х2 м. Она состоит из 17 поперечных охлаждаемых водой секций. Горелка и труба расположены в центре торцевых поверхностей. Во время испытаний серии М-3 использовались две высокоскоростные туннельные горелки для природного газа, показанные на рис.1.31, в которых достигается полное сгорание на выходе из горелки. Продукты сгорания поступают в топку без закрутки и горизонтально или под углом 25° к горизонту. В предыдущих испытаниях в IFRF были исследованы пламени распыленной нефти и измельченного в порошок угля с закруткой.
Рис.1.30. Экспериментальная топка IFRF для исследования теплообмена в серии испытаний М-3. Существует много различных типов топок - топка котла электростанции отличается, например, от топок в металлургической и обрабатывающей промышленностях. Топки играют важнейшую роль в современном обществе, и их эффективность и характеристики загрязнения среды могут привести к далеко идущим последствиям. Однако во всех случаях особенно важной является возможность управления пламенем с целью создания заданных распределений лучистого и конвективного теплообмена, полного сгорания, предотвращения шума, пульсации и чувствительности к изменениям свойств топлива. В большинстве топок пламени придается некоторая закрутка с целью повышения устойчивости, тогда как в некоторых других случаях, например в котлах с тангенциальной подачей топлива, потоки на входе направляются тангенциально к огневому ядру, образующемуся в центре камеры.
Рис.1.31. Конструкции высокоскоростных туннельных горелок: а - горизонтальная; б - наклонная. Тогда в камере с закруткой возникает слабый эффект циклонного типа или в результате получается циклонная камера с движением закрученного потока относительно геометрической оси оборудования. Важными конечными характеристиками процесса являются температура, распределение тепловых потоков на стенках и эффективность сгорания, и они непосредственно связаны с образованием загрязняющих веществ, таких, как сажа и оксиды азота. Конструктору и оператору необходимо знать, как эти параметры зависят от количества движения и угла подачи струй топлива, температуры предварительно подогретого воздуха и формы камеры. Ясно, что проблема моделирования очень сложна, она включает взаимодействие турбулентного горения многих химических компонент с многофазными процессами (частицы жидкого или твердого топлива и углерода в поле течения) и с лучистым теплопереносом. Как указывается в литературе, моделирование в той или иной степени включает распределение по размерам частиц (рассчитанное в диапазонах конечных размеров во всех точках области), потоковые или. зонные характеристики лучистого теплопереноса и данные о распределении сажи (сажа образуется в результате термического разложения углеводородов и ликвидируется окислением; оба процесса представляют собой сложную задачу химической кинетики). В случае турбулентных диффузионных пламен процесс сгорания определяется структурой потока и смешением. В обзоре обсуждаются методы расчета, основанные на законах подобия турбулентных струй, теории потока в гомогенном реакторе и на полных уравнениях в частных производных для турбулентного течения. При сгорании капель и частиц необходимо учитывать скорости гетерогенных реакций и требуется знать распределения частиц по размерам и в пространстве. Эмиссия загрязняющих веществ, таких, как углеводороды, сажа и оксиды азота, может быть уменьшена соответствующим управлением закономерностями изменения температуры и концентрации в области сгорания. В обзоре представлены также методы расчета лучистого потока тепла от пламени к тепловым стокам в порядке возрастающей сложности: модель с хорошим перемешиванием, модель длинной топки, многопотоковая модель и зонный метод анализа. Рассмотрим теперь некоторые применения закрученных течений: в горелках, вихревых устройствах и циклонах. Особый случай представляют тороидальные горелки (рис.1.36), которые конструируются специально для достижения высокой интенсивности тепловыделения при высокой температуре в результате сжигания жидкого или газообразного топлива с непосредственным использованием кислорода. Продукты сгорания с высокой степенью диссоциации обеспечивают очень большие конвективные потоки тепла при рекомбинации на более холодных поверхностях; примеры их применения включают процессы рафинирования стали и меди при их производстве электродуговым методом или в мартеновских печах. В этих горелках иногда возникает неустойчивость, аналогичная встречающейся в ракетных двигателях. Для ракетных двигателей характерны три основных типа неустойчивости: неустойчивость в камере сгорания, неустойчивость системы и собственная неустойчивость. К первой категории относятся явления гидродинамической неустойчивости, возникающие во многих системах сгорания, но особенно в камерах сгорания твердотопливных и гибридных ракетных двигателей. Пример приведен на рис.1.37, где в определенной конструкции камеры сгорания, аналогичной тороидальной горелке, возникает гидродинамическая неустойчивость. Вблизи форсунки образуется тороидальный вихрь. Он захватывает горячие газообразные продукты сгорания, поступающий из форсунки окислитель, газообразное горючее из области поверхности горючего, соприкасающейся с вихрем. При критических условиях смесь этих газов воспламеняется и сгорает, создавая местное повышение давления, распространяющееся вниз по потоку. Этот процесс периодически повторяется. Во многих других типах циклонных пылевых газоочистителей, циклонных сепараторов, пылеосадителей с вращающимся потоком и форсунок для распыления жидкого топлива используются свойства закрученного и вихревого течений. Например, в циклонных сепараторах (рис.1.38) крупные частицы отбрасываются к стенкам под действием центробежных сил (или вследствие недостаточной величины центростремительных сил) в сильно закрученном потоке. Они опускаются вместе со вторичным течением и собираются в нижней части, в то время как относительно свободный от пыли воздух продолжает движение в центральном ядре и выходит у противоположного конца. Центробежные эффекты также проявляются в нагревателях типа бака с перемешиванием, когда бак с жидкостью нагревается от окружающей паровой рубашки. Перемешивание жидкости с помощью колеса с лопатками и установленные на стенке перегородки увеличивают турбулентность и интенсифицируют теплоперенос.
4. ХАРАКТЕРНЫЕ ОСОБЕННОСТИ ЗАКРУЧЕННЫХ ПОТОКОВ В топливосжигающих устройствах наряду с другими возможностями воздействия на характеристики пламени часто используется закрутка . Закрутка воздуха, впрыскиваемого топлива или того и другого весьма благоприятно сказывается на структуре течения, что в свою очередь способствует достижению проектных характеристик устройств. Для того чтобы придать потоку вращение, используются лопаточные завихрители, закручивающие устройства с аксиально-тангенциальным подводом, а также непосредственный тангенциальный вдув в камеру сгорания. Интенсивность закрутки обычно характеризуется безразмерным параметром S, который представляет собой отношение потока момента количества движения к потоку осевого импульса, умноженному на эквивалентный радиус сопла. Согласно экспериментальным данным закрутка влияет на крупномасштабную структуру потока и пропорционально своей интенсивности изменяет ширину струи, скорость эжекции, темп вырождения неравномерности (в химически инертных потоках), размер, форму и устойчивость факела и интенсивность процесса горения (в потоках с химическими реакциями). В сильнозакрученных потоках (где S > 0,6) имеются значительные осевые и радиальные градиенты давления, которые приводят к образованию ЦТВЗ, отсутствующей при меньших значениях параметра закрутки. Наличие этой зоны с интенсивной завихренностью способствует выполнению ряда требований, предъявляемых к камерам сгорания, а именно позволяет: 1. Уменьшить длину факела за счет повышения скорости эжекции воздуха из окружающей среды и увеличения интенсивности перемешивания вблизи среза сопла и границ рециркуляционной зоны. 2. Повысить устойчивость факела благодаря вовлечению горячих продуктов сгорания в рециркуляционную зону. 3. Увеличить время жизни оборудования и уменьшить потребность в его ремонте, поскольку стабилизация осуществляется аэродинамическими средствами, и потому воздействие пламени на твердые поверхности (воздействие, приводящее к перегреву и образованию нагара) минимально. Кроме ЦТВЗ, появляющейся при значениях параметра закрутки, превышающих некоторую критическую величину, в канале с внезапным расширением может возникать угловая рециркуляционная зона. О существовании этой зоны и о ее влиянии на характеристики пламени хорошо известно специалистам по горению, которые стараются использовать рециркуляцию горячих продуктов сгорания и плохообтекаемую форму зоны как средство повышения эффективности процесса горения. В сложных турбулентных реагирующих потоках взаимное влияние распыления топлива, закрутки, больших сдвиговых напряжений и рециркуляционных зон сильно осложняет исследование устойчивости пламени, его осредненных и пульсационных характеристик. Как уже отмечалось, даже основные свойства течения количественно определены с недостаточной степенью точности; это относится, например, к угловой и приосевой рециркуляционным зонам, существование, форма и размер которых зависят в основном от следующих факторов: 1. Интенсивность закрутки; характеризуется параметром закрутки S или углом установки лопаток завихрителя φ. 2. Способ создания закрутки - с помощью лопаточного завихрителя или закручивающего устройства с тангенциальным подводом, а в зависимости от типа устройства реализуется вращение по закону свободного вихря, по закону вращения как целого или поток с равномерным распределением окружной скорости. 3. Наличие втулки (отношение d/dh ). 4. Степень диффузорности камеры сгорания (отношение D/d). 5. Наличие на выходе вихревой горелки диффузорной надставки (из огнеупора) или камеры с внезапным расширением. Форма надставки, угол наклона торцевой стенки камеры с внезапным расширением α. 6. Процесс горения. 7. Поджатие выходного сечения камеры сгорания. 8. Форма лопаток завихрителя - плоские или профилированные. 9. Форма лопаток завихрителя - радиальные или пространственные.
Рис. 4.1. Схема вихревой горелки с аксиально-тангенциальным подводом: 1 - трубка для впрыска топлива; 2 — аксиальная подача воздуха; J — тангенциальная подача воздуха; 4 — направляющие устройства; 5 — четыре прямоугольных отверстия размером 20 X 100 мм для тангенциальной подачи воздуха. На практике наиболее распространены два типа топливосжигающих устройств, в которых используется закрутка:
Рис.4.2. Схема камеры сгорания циклонного типа с распределенной подачей топлива и воздуха (конструкция ЭНИН). Камера относится к типу IV. 1) вихревая горелка (рис.4.1), из которой поток истекает в атмосферу, в топку или замкнутую полость. Горение происходит главным образом за сечением выхода вне горелки. Набор таких горелок можно использовать для поддержания огня в топке или в замкнутом объеме. 2) камера сгорания циклонного типа, в которой подвод воздуха осуществляется тангенциально, а выхлоп производится через отверстие в центре торцевой поверхности (рис. 4.2). Горение происходит главным образом внутри циклона, а его стенки часто служат теплообменником. При достаточно больших значениях числа Рейнольдса и большой величине параметра закрутки (Re > 1,8∙104 и S > 0,6) в обоих системах образуется ЦТВЗ и генерируется высокий уровень турбулентности. Циклоны обычно используются для сжигания плохо горящих материалов, таких, как бурый уголь, уголь с большой зольностью или органические отходы. Течения с сильной закруткой, приводящей к образованию рециркуляционных зон, можно создать различными способами: · тангенциальным подводом (закручивающее устройство с аксиально-тангенциальным подводом) · непосредственным вращением (вращающаяся труба); · спиральным закручивающим устройством; · эймёйденским закручивающим устройством с адаптивными блоками (более подробное описание дано ниже. При создании лопаточных завихрителей в настоящее время используются профилированные пространственные лопатки, которые более эффективно закручивают поток. У таких лопаток передняя кромка располагается навстречу набегающему потоку, и потому отрывная зона минимальна, а в результате получается более равномерный поток на выходе. Важной характеристикой таких лопаток является угол установки задней кромки. Помимо параметра закрутки поток, в котором наблюдается явление распада вихря, характеризуется также числом Рейнольдса, определяющимся параметрами на выходе из сопла и его диаметром: где Ucp — среднее значение осевой составляющей скорости,. v—кинематическая вязкость, зависящая от температуры на выходе из сопла. При наличии в закрученном потоке прецессирующего вихревого ядра (ПВЯ) необходимо, согласно учитывать еще несколько параметров: —- приведенный момент количества движения; — поток момента количества движения; - приведенная интенсивность пульсации давления. 5. Изменение структуры потока с увеличением закрутки С точки зрения организации процесса горения одно из наиболее существенных и полезных явлений в закрученных струйных течениях — это образование приосевой рециркуляционной зоны при сверхкритических значениях параметра закрутки. Путем осреднения по большому интервалу времени границу рециркуляционной зоны и зон обратных токов можно определить довольно точно. Мгновенное же положение границ и точек торможения претерпевает значительные колебания в пространстве, поскольку обычно в таких потоках уровень турбулентных сдвиговых напряжений и интенсивности турбулентности очень высок. Линии тока в кольцевой закрученной свободной струе, определенные по измеренным распределениям осредненной по времени скорости. Рециркуляционная зона играет важную роль в стабилизации пламени, поскольку обеспечивает рециркуляцию горячих продуктов сгорания и сокращает размер области, в которой скорость потока сравнивается со скоростью распространения фронта пламени. Существенно укорачиваются длина факела и расстояние от горелки, на котором происходит стабилизация пламени. Конечно, воздействие закрутки на поток наряду с параметром S определяется еще целым рядом факторов, например: а) геометрией сопла (при наличии центрального тела размер рециркуляционной зоны увеличивается, то же происходит при добавлении диффузорной надставки на выходе); б) ее размерами — когда истечение происходит в камеру (приосевая ре-диркуляционная зона в стесненном потоке больше, чем в свободной струе при одинаковых условиях истечения); в) формой профиля скорости на выходе (рециркуляционная зона в потоке, созданном лопаточным завихрителем, длиннее по сравннению со случаем истечения из закручивающего устройства с аксиально-тангенциальным подводом). Размер и форма рециркуляционной зоны и соответствующей области с повышенным уровнем турбулентности оказывают решающее влияние на устойчивость факела, интенсивность процесса горения и другие характеристики пламени.
Рис. 4.5. Распределение продольной составляющей скорости вдоль оси при различных значениях параметра закрутки Рис. 4.6. Изменение максимальных значений параметров вдоль струи: Изменение продольной составляющей 'скорости вдоль оси струи круглого сечения при различных значениях параметра закрутки показано на рис. 4.5 ; струя распространялась из закручивающего устройства с тангенциальным подводом. При малых интенсивностях закрутки (5<0,1) вблизи выхода наблюдается потенциальное ядро (т. е. область неизменной скорости). С увеличением параметра закрутки длина ядра уменьшается, и при S === 0,5 максимальное значение и смещается от оси. При 5 > 0,6 на оси появляется обратный поток. Специальный эксперимент, в котором параметр закрутки по возможности непрерывно изменялся в диапазоне 0,3 ... 0,64, показал,. что изменение распределения происходит монотонно, без скачков, не было обнаружено существенной разницы и при повторении опыта с изменением 5 в том же диапазоне, но в обратной последовательности, В соответствии с ростом темпа расширения струи возрастает скорость эжекции, вследствии чего ускоряется вырождение неравномерности скорости и концентрации жидкости, истекающей из сопла. Это положение иллюстрируют экспериментальные данные, представленные на рис. 4.6, где для различных значений параметра закрутки приведены распределения вдоль струи максимальных значений продольной (рис. 4.6, а), окружной (рис. 4.6,6) и радиальной (рис. 4.6, в) скоростей. При высокой интенсивности закрутки, когда начинает образовываться рециркуляционная зона и появляются области малых или отрицательных значений продольной составляющей скорости, ее максимум смещен от оси струи. Отметим, что вниз по потоку максимальные значения продольной и радиальной составляющих скорости, а также минимальное значение давления изменяются обратно пропорционально' приведенному расстоянию от среза сопла в степенях один, два и четыре соответственно. 6. Структура рециркуляционной зоны
Рис. 4.7. Изолинии функции тока Штриховая линия соответствует нулевым значениям продольной скорости
Рис. 4.9а Изолинии приведенной кинетической энергии турбулентности. Штриховой линией обозначена граница зоны обратных токов.
Рис. 4.96. Изолинии безразмерной среднеквадратичной величины пульсации окружной скорости { w ' ) / uq . В рециркуляционной зоне интенсивность турбулентности достигает очень высокого уровня. На границе обратного течения, где средняя скорость равна 0, величина локальной интенсивности турбулентности стремится к бесконечности. Измерения всех шести компонент тензора турбулентных напряжений показывают, что распределение кинетической энергии турбулентности сильно неоднородно, а напряжение и соответственно тензор коэффициентов турбулентной вязкости сильно неизотропны .На рис. 4.9а показано, что приведенная кинетическая энергия турбулентности достигает значения 300% за кромкой сопла и быстро затухает на расстоянии, равном одному диаметру. При отдельном рассмотрении пульсации продольной и окружной скоростей обнаруживается сильная анизотропия турбулентности. Максимум пульсации окружной скорости (рис.4.9б) наблюдается прямо под кромкой сопла при 2r/d=0,8, причем пульсации быстро затухают по направлению к оси симметрии. Интенсивность пульсации продольной скорости имеет два максимума, один сразу за кромкой при 2r/d=0,9 и другой внутри вихревой горелки вблизи оси симметрии. Высокие уровни турбулентности обусловлены трехмерным нестационарным возмущением закрученного течения – так называемым прецессирующим вихревым ядром. Распределения характеристик турбулентности в слабозакрученных струях ( S <$ 0,6), аналогичные распределениям в струях с сильной закруткой, показанным на рис. 4.9, получены в работе. Там же определено сечение, расположенное на расстоянии примерно в 3 ... 4 диаметра от среза сопла, начиная с которого максимальные значения интенсивностей турбулентных пульсации в закрученной струе становятся меньше, чем в незакрученной. Более интенсивное расширение струи приводит и к более интенсивной диссипации. Форма и размер рециркуляционной зоны и соответствующей области с повышенным уровнем турбулентности оказывают решающее влияние на устойчивость факела, интенсивность процесса горения и другие характеристики пламени. К настоящему времени получено достаточно много данных, позволяющих провести сопоставление характеристик различных закручивающих устройств и определить влияние на изотермический поток различных модификаций их геометрии, таких, как установка на выходе из закручивающего устройства конических диффузоров, трубок или форсунок для впрыска топлива, топочных камер. Наряду с картиной линий тока, представленной па рис. 4.7, на рис. 4.10 и 4.11а и 4.116 приведены три аналогичные картины. Можно видеть, что область рециркуляционного течения всегда существует вблизи выхода из сопла.
Закручивающие устройства с цилиндрической выходной частью: 1 — кольцевой лопаточный завихритель, ф=45° [10]; 2-ф==60° ; 3-ф=70° ; 4-ф=75° ; 5 — закручивающее устройство с аксиально-тангенциальным подводом ; 6 — закручивающее устройство с тангенциальным подводом . Закручивающие устройства с диффузором на выходе: 7 — полуугол раскрытия диффузора . Тип закручивающего устройства (за исключением лопаточного завихрителя без втулки) и наличие соосных трубок для подвода топлива или форсунок, по-видимому, не влияют на характер связи. Для устройств с цилиндрической выходной частью представленные данные можно описать зависимостью S=0.508+5.66Mr-6.24Мr2 +2.28Мr3 где Mr —- поток массы газа, вовлеченного в рециркуляционное движение. 7. Вихревые горелки, прецессирующее вихревое ядро в потоке с горением1. Факел типа а—предварительно перемешанные топливо и воздух; 1,4 < а < 6,0. Для этого случая характерен очень короткий факел с большой интенсивностью процесса горения, который реализуется и при тангенциальном подводе. Пламя генерирует сильный шум, течение нестационарное; как и в изотермическом потоке, образуется ПВЯ,которое порождает очень большие пульсации скорости и давления. 2. Факел типа б - подвод топлива у основания горелки; 0,8 < ее < 40. Этот тип факела со значительно меньшей интенсивностью процесса горения менее возмущен, чем факел типа а, так как возмущения в виде ПВЯ сильно подавлены как по амплитуде, так и по частоте . Внутри горелки всегда существует прослойка воздуха вокруг пламени, и горение на стенке не происходит. Длина и форма факела сильно меняются при изменении коэффициента избытка воздуха а; так, при a = f пламя проникает внутрь горелки на расстояние почти в три диаметра. Этот тип факела наиболее характерен для промышленных вихревых горелок. Пределы срыва пламени, особенно при низких числах Рейнольдса, довольно широкие. По- видимому ПВЯ вызывает появление локальных зон в области горения, в которых реализуется благоприятное соотношение горючего и воздуха даже при большом избытке воздуха в общем потоке. Обнаруживается некоторое изменение интенсивности пульсаций при изменении коэффициента избытка воздуха, но основное воздействие обусловлено изменением числа Рейнольдса. Устойчивость рассмотренных течений с закруткой, содержащих большое ПВЯ, можно охарактеризовать с помощью критерия Рэлея и модифицированного числа Ричардсона. Условия устойчивости потока по Рэлею: · поток устойчив, если pwr растет с ростом r ( вращение газа, как целого) · поток нейтрально устойчив, если pwr не зависит от r (вращение по закону свободного вихря) · поток неустойчив, если pwr уменьшается с ростом r Сразу за ПВЯ в диапазоне r/re =0.43….0.52 (при изменении от 0 до 40) pwr уменьшается сростом r и, следовательно, ПВЯ в этой области нестабильно. В тоже время при изменении от 320 до 0 в диапазоне значений r/re = 0.45…0.55 величина pwr фактически постоянна по радиусу, и поэтому поток в этой области нейтрально устойчив. При аксиальной и тангенциальной подаче топлива пламя намного равномернее, а процесс горения менее интенсивен, чем при предварительном перемешивании воздуха и топлива. Горение происходит в некотором удалении от стенок. В целом интенсивность пульсаций монотонно растет с ростом числа Рейнольдса, пока не выходит на постоянное значение; такое «плато» в зависимости отвечает аналогичной зависимости частоты от Re. В потоке с горением предварительно перемешанных компонент, где имеется мощное ПВЯ, потери полного давления при данном числе Рейнольдса максимальны. Видно, что в зависимости от коэффициента избытка воздуха потери изменяются всего в пределах 10…15 %. Уменьшение потерь при изменении способа подачи топлива указывают на ослабление прецессионного движения вихревого ядра. При аксиальной подаче топлива потери полного давления даже меньше, чем в изотермическом потоке. По-видимому, это обусловлено тем обстоятельством, что область наиболее интенсивного процесса горения расположена вне горелки. В целом можно сделать вывод, что амплитуды и частоты пульсации при наличии ПВЯ увеличиваются в потоке с горением предварительно перемешанных компонент. В диффузионном факеле ПВЯ вырождается при соотношении расходов топлива и воздуха, близком к стехиометрическому, причем пульсации ПВЯ уменьшаются на два порядка величины. 8.ГОРЕНИЕ В ЗАКРУЧЕННОМ ПОТОКЕ Общий вид распределений температуры в пламени вихревой горелки представлен на рис. 4.43 а и 4.436. Распределение температуры по радиусу показано на рис. 4.43а
Рис.4.43а.Радиальное распределение температуры в факеле вихревой горелки.
Рис. 4.436. Изменение максимальной температуры вдоль оси горелки. Максимум температуры расположен вблизи выходного сечения, непосредственно за границей зоны обратных токов. Распределение температуры в зоне обратных токов практически равномерное, что свидетельствует о реализации в этой области «реактора интенсивного смешения». Вблизи зоны реакции в пламени обнаруживаются пики в распределении температуры и ее градиента. Представленное на рис. 4.436 распределение максимальной температуры вдоль потока показывает, что максимум медленно нарастает к выходному сечению горелки, а за этим сечением наблюдается резкий спад, соответствующий выгоранию топлива. Проблема измерения параметров потока в вихревых горелках весьма сложна, и только в последнее время удалось выяснить возможности проведения измерений скорости, давления и интенсивности турбулентности в этих устройствах. Выполненные ранее с помощью термоанемометра и насадка полного давления измерения в изотермических потоках указывают на высокий уровень турбулентности. На основании этого считалось, что нельзя для определения характеристик турбулентности использовать методы, основанные на измерении пульсации давления, которые применимы только в слаботурбулизованных потоках (с интенсивностью турбулентности менее 30%). Однако, поскольку горение подавляет амплитуды возмущений в виде прецессии вихревого ядра на два порядка (в особенности при 5>0,5), ПВЯ не является определяющим элементом течения, и эффективный максимум турбулентных пульсации в некоторых горелках уменьшаетсяо и позволяет использовать методы, основанные на измерении пульсации давления . Спектральный анализ пульсации давления в вихревых горелках показывает, что осцилляции носят более случайный характер, чем в изотермическом потоке, а следовательно, при горении изменяется и природа процесса смешения. В изотермическом потоке доминируют пульсации скорости, имеющие довольно регулярный характера а при горении имеющие случайный, турбулентный характер только закруткой, но также и наличием диффузора с полууглом раскрытия 35°. Действительно, если выходная часть имеет цилиндрическую форму, то при такой интенсивности закрутки распад вихря только начинается и рециркуляционная зон только зарождается. Результаты показывают, в частности, что в реагирующих потоках в рециркуляционных областях течение существенно неизотропно. При горении интеграл от пульсации скорости, взятый по всему полю течения, значительно больше, чем в изотермическом потоке, что в определенном смысле подтверждает гипотезу о генерации турбулентности при наличии пламени. Как показывают эти исследования, характеристики потоков с горением и без горения значительно различаются, в особенности это касается распределения продольной скорости, формы. поперечного размера и протяженности зоны обратных токов. В отличие от результатов, полученных в работах, здесь при горении протяженность и поперечный размер зоны обратных токов значительно возрастали, зона обратных токов простиралась вниз по потоку по крайней мере на расстояние, равное двум диаметрам выходного сечения. Интенсивность пульсации продольной составляющей скорости везде, за исключением области вблизи выходного сечения горелки, при горении уменьшалась. Высокий уровень пульсации продольной скорости наблюдался вблизи границы рециркуляционной зоны. здесь же проявлялась существенная анизотропия пульсации. Вообще, существенная разница интенсивностей пульсации продольной и окружной скоростей в потоках с горением и без горения наблюдается в большей части поля течения. Измерения показывают, что имеется сильная перемежаемость внутри и вокруг рециркуляционной зоны, что свидетельствует о ее нестационарном характере. Проведены также измерения в слое смешения стесненного турбулентного диффузионного факела. Распределения продольной и окружной осредненных по времени скоростей, среднеквадратичных значений пульсации скорости, распределение плотности вероятности показывают, что осредненные и нестационарные характеристики поля течения существенно изменяются при вариации давления на выходе из камеры сгорания и закрутки воздуха на входе. Эти изменения заметно влияют на выбросы загрязняющих веществ. Обнаружен существенный вклад крупномасштабных пульсации в суммарное среднеквадратичное значение турбулентных пульсации скорости. Влияние крупномасштабных пульсации приводит к отличию случайного процесса от гауссова и к существенной анизотропии турбулентности в большей части начального участка. Отмеченное обстоятельство показывает, что модели турбулентности, основанные на гипотезе о локальном равновесии, неадекватно описывают физические процессы в потоке с горением В настоящее время для потоков с горением, особенно для стесненных потоков, имеется значительное количество данных о зависимости величины потока массы, вовлеченной в рецирку-ляционное движение, от параметра закрутки.Рассмотрим вначале свободные течения за вихревой горелкой. Сравнивая результаты, полученные в условиях с горением и без него, можно заметить, что горение приводит к значительному уменьшению величины потока массы, вовлеченной в рециркуляционное движение, особенно при соотношении расходов топлива и воздуха, близких к стехиометрическому, и при предварительном перемешивании компонент. Помимо этого рециркуляционная зона в потоке с горением короче и шире, чем в холодном потоке. Начало распада вихря и зарождение рециркуляции происходят при Сравнение границ зоны обратных токов при различных значениях параметра закрутки в потоке с горением предварительно перемешанных компонент приведено на рис. 4.4. При увеличении параметра закрутки от 0,7 до 1,25 увеличиваются как ширина, так и длина зоны. То же самое должно наблюдаться и в изотермическом потоке, т. е. с ростом параметра закрутки длина зоны обратных токов должна увеличиваться. Следует заметить, что за лопаточным завихрителем без втулки: зоны обратных токов длинные и узкие, и потому такие завихрители обычно не применяются. За кольцевым лопаточным завихрителем зона обратных токов при тех же параметрах закрутки значительно шире и короче. Для стабилизации пламени весьма желательно, чтобы зона обратных токов была короткой и компактной, поскольку в длинной зоне рециркуляция холодных продуктов сгорания приводит к уменьшению полноты сгорания и сужению пределов срыва пламени. На характеристики течения за вихревой горелкой, так же как на характеристики изотермического течения, влияет степень стеснения потока, причем определяющими здесь являются такие параметры, как отношение диаметра горелки к диаметру топки, коэффициент избытка воздуха и выходной диаметр топки. При достаточно высоких интенсивностях закрутки в потоке с горением, так же как и изотермическом потоке, образуется пристенная веерная струя, периферийная рециркуляционная зона исчезает и пламя прилипает к лицевой стенке камеры. Этот эффект должен иметь место при параметрах закрутки S > 1.5, в то время как при S=1.25 еще существует периферийная рециркуляционная зона. В топках с вихревой горелкой можно сжигать газовые отходы обладающие очень низкой теплотой сгорания: для этого необходимо топку облицевать огнеупорным материалом и хорошо теплоизолировать. 9.ПРЕДЕЛЫ СРЫВА И УСТОЙЧИВОСТЬ ПЛАМЕНИВ промышленных горелках, работающих на различных газообразных и жидких топливах, типичное значение параметра закрутки лежит в диапазоне 0.8<S<1.5. Одна из причин ухудшения характеристик вихревых горелок при более высокой интенсивности закрутки состоит в том, что при больших Sзона обратных токов оказывается длиннее, чем 3De, вследствие чего горение заканчивается на расстояниях, меньших длины зоны, часть холодных продукгов вовлекается в рециркуляционное движение и таким образом полнота сгорания уменьшается. Влияние перечисленных факторов можно ослабить используя аксиально-радиальную подачу топлива и диффузор на выходе, за счет чего удается получить высокую степень закрутки и соответствующее улучшение характеристик, например расширение пределов срыва пламени, увеличение интенсивности процессов горения. Одно из основных преимуществ стабилизации пламени с помощью закрутки по сравнению с другими способами состоит в значительном расширении пределов срыва пламени. Роль закрутки факела с отношением воздух/топливо, близким к стехиометрическому, состоит в перемешивании топлива и воздуха. В факеле без закрутки характеристика срыва на богатом пределе вблизи значений эквивалентного отношения, , очень крутая. По этой причине незначительные изменения коэффициента избытка воздуха или состава топлива могут привести к срыву пламени. Закрутка приводит к смещению срыва на богатом пределе в область меньших коэффициентов избытка воздуха и обеспечивает нечувствительность к случайным флуктуациям состава топлива и коэффициента избытка воздуха. Срывные характеристики зависят от вида горения. При горении предварительно перемешанных компонент пределы срыва сужаются. В длинной тонкой рециркуляционной зоне, образующейся за лопаточным завихрителем без втулки, в рециркуляционное движение вовлекаются холодные продукты сгорания, что значительно понижает отношение (объем воздуха/объем топлива) для срыва на бедном пределе даже при незначительных расходах топлива. Характеристики срыва на бедном пределе в потоке с завихрителем с углами установки лопаток 30 и 45 (S=0.39 и 0.72 соответственно) существенно лучше, чем в потоке за завихрителем с лопатками, расположенными под углом 60 (S=1.6), где образуется очень длинная тонкая рециркуляционная зона. Также обнаружено, что при формировании более короткой рециркуляционной зоны получается довольно неплохая характеристика срыва на бедном пределе с диапазоном изменения коэффициента избытка воздуха от 6 (при малых Re) до 2.5 (при больших Re). Существует связь между характеристикой срыва на бедном пределе, температурой на границе рециркуляционной зоны в области, примыкающей к завихрителю, и средним значением модуля скорости в выходном сечении завихрителя. 10. ПРОЕКТИРОВАНИЕ ВИХРЕВЫХ ГОРЕЛОК Из изложенных выше материалов ясно, что пока невозможно сформулировать общие методы проектирования вихревых горелок различного назначения. Можно, однако, сформулировать следующие рекомендации в помощь проектировщикам: 1. Для создания потока с параметром закрутки S < 0,7 достаточно эффективен кольцевой плосколопаточный завихритель, который имеет простую конструкцию и позволяет получить удовлетворительное распределение параметров. 2. Для закрутки потоков до интенсивности, характеризующейся значениями параметра S от 0,7 до 0,8, плосколопаточный завихритель является значительно менее эффективным устройством, поскольку большой угол атаки или наклона лопаток приводит к отрыву потока. Длинная тонкая рециркуляционная зона может оказаться менее пригодной для стабилизации пламени, чем рециркуляционные зоны за закручивающими устройствами других типов. 3. Для создания потока с параметром закрутки S > 0,8 рекомендуется использовать закручивающее устройство с тангенциальным подводом или завихритель с профилированными лопатками (изогнутыми для того, чтобы уменьшить потери на отрыв). В системе с аксиальным подводом желаемую степень закрутки можно получить, пропуская необходимое количество газа через лопаточный завихритель. Если же используется тангенциальный подвод, то для получения симметричного течения необходимо выпустить поток через ряд отверстий (по меньшей мере через четыре). В закручивающем устройстве с тангенциальным подводом диаметр горловины должен равняться половине внешнего диаметра, т.е. De /Do = 0,5, что позволяет свести к минимуму потери полного давления. 4. На горелку необходимо устанавливать диффузорную надставку из огнеупора, при этом следует руководствоваться правилом: S > 0,5: полуугол раскрытия диффузора от 20° до 35°; S < 0,5: полуугол раскрытия диффузора от 20° до 25°; длина надставки (для получения факела типа II) Lдифф = 0,5Dе . Диффузор на выходе существенно увеличивает размеры приосевой рециркуляционной зоны при всех интенсивностях закрутки. 5. Для получения факела типа I в горелке с диффузорной надставкой с полууглом раскрытия от 20° до 35° в целях обеспечения хорошей устойчивости пламени необходимо подавать газообразное топливо со скоростью, примерно втрое превышающей скорость воздуха. Тепловая нагрузка может быть значительно увеличена за счет удлинения диффузорной надставки до длины Lдифф = 1,5De . Следует придерживаться рекомендации 3, но для получения факела типа I лучше не использовать лопаточные завихрители, поскольку в этом случае газовая струя горящего топлива не сможет пробить рециркуляционную зону. 6. Следует проявлять осторожность при использовании вихревых горелок с диффузорной надставкой в топках с большим стеснением факела или в ситуациях, когда горелки расположены близко друг к другу. Экспериментальные данные позволяют предположить, что приосевая рециркуляционная зона пропадает при Af / Ab → 4 (S ≈ 1). Таким образом, в указанных ситуациях предпочтительнее горелки с цилиндрической выгодной частью, за которыми образуются рециркуляционные зоны с интенсивным движением в них. 7. Горелки с тангенциальным подводом не годятся для сжигания предварительно перемешанных газообразного топлива и воздуха, поскольку в них пламя может легко распространяться вверх по потоку от мест подвода (исключения составляют газообразные топлива с низкой теплотой сгорания - менее 3 ... 4 МДж/м3 ). Предварительно перемешанные газообразное топливо и воздух можно сжигать в горелках с лопаточными завихрителями. Влияние вида топлива (уголь, нефть, синтетическое топливо) на характеристики вихревой горелки опять-таки трудно параметризовать, но можно указать следующую основную закономерность: длина факела возрастает при последовательном переходе от газообразных топлив к легким жидким топливам (бензин), от них к тяжелым жидким топливам (мазут, некоторые синтетические топлива) и, наконец, к распыленному углю. Такая последовательность отражает уменьшение испаряемости топлива. При сжигании распыленного угля обычно необходимо использовать в качестве носителя около 20 % подаваемого воздуха. При сжигании мазута необходимо для стабилизации пламени добавлять к форсунке дисковый стабилизатор. СПИСОК ИСПОЛЬЗОВАННОЙ ЛИТЕРАТУРЫ1. Парогенераторы промышленных предприятий. Л. Н. Сидельковский, В. Н. Юренев. 2. Теория горения и топочные устройстваю Д. М. Хазмалян, Я. А. Каган. 3. Закрученные потоки. А. Гупта, Д. Лилли, Н. Сайред. |
(1.2)
(1.3)
(1.4).
Рис. 1.2. Радиальные распределения осевой, окружной и радиальной скоростей на выходе из закручивающего устройства со смешанной тангенциально-осевой подачей, демонстрирующие влияние изменения степени закрутки
(1.7),
, 

, (1.9)


















.
