Реферат: Ферромагнетики
|
Название: Ферромагнетики Раздел: Рефераты по физике Тип: реферат | |||||||||||||||||||||||||||||||||||||||||||||
Содержание : · Магнитное поле в веществе · Намагниченность · Магнитная проницаемость различных тел · Опыты Фарадея · Молекулярная теория магнетизма · Магнитная защита · Особенности ферромагнитных тел · Основы теории ферромагнетизма · Список использованной литературы В магнитном отношении все вещества можно разделить на слабомагнитные ( парамагнетики и диамагнетики) и сильномагнитные (ферромагнетики). Пара- и диамагнетики при отсутствии магнитного поля не намагничены и характеризуются однозначной зависимостью Jот H. Ферромагнетиками называют вещества (твердые), которые могут обладать спонтанной намагниченностью, т.е. намагничены уже при отсутствии внешнего магнитного поля. Типичные представители ферромагнетиков – это железо, кобальт и многие их сплавы. Магнитное поле в веществе. Если в магнитное поле, образованное токами в проводах ввести то или иное вещество, поле изменится. Это объясняется тем, что всякое вещество является магнетиком, т.е.способно под воздействием магнитного поля намагничиваться – приобретать магнитный момент М. Этот магнитный момент складывается из элементарных магнитных моментов mo , связанных с отдельными частицами тела М = mo . В настоящее время установлено, что молекулы многих веществ обладают собственным магнитным моментом, обусловленным внутренним движением зарядов. Каждому магнитному моменту соответствует элементарный круговой ток, создающий в окружающем пространстве магнитное поле. При отсутствии внешнего магнитного поля магнитные моменты молекул ориентированы беспорядочно, поэтому обусловленное ими результирующее магнитное поле равно нулю. Равен нулю и суммарный магнитный момент вещества. Последнее относится и к тем веществам, молекулы которых при отсутствии внешнего поля не имеют магнитных моментов. Если же вещество поместить во внешнее магнитное поле, то под действием этого поля магнитные моменты молекул приобретают преимущественную ориентацию в одном направлении, и вещество намагничивается – его суммарный магнитный момент становится отличным от нуля. При этом магнитные поля отдельных молекул уже не компенсируют друг друга, в результате возникает поле B. Иначе происходит намагничивание веществ, молекулы которых при отсутствии внешнего поля не имеют магнитного момента. Внесение таких веществ во внешнее поле индуцирует элементарные круговые токи в молекулах, и молекулы, а вместе с ними и все вещество приобретают магнитный момент, что также приводит к возникновению поля В1 . Большинство веществ при внесении в магнитное поле намагничиваются слабо. Сильными магнитными свойствами обладают только ферромагнитные вещества : железо, никель, кобальт, многие их сплавы и др. Намагниченность. Термин «магнетики» применяется ко всем веществам при рассмотрении их магнитных свойств. Степень намагничения магнетика характеризуется магнитным моментом единицы объема. Эту величину называют намагниченностью и обозначают J . Она представляет собой магнитный момент единичного объема Намагниченность является величиной векторной. Она возрастает с увеличением индукции В ( или напряженности Н ) магнитного поля. Величина , получившая название относительной магнитной проницаемости среды, показывает, во сколько раз магнитная индукция поля в данной среде больше, чем магнитная индукция в вакууме. Величину называют магнитной восприимчивостью. Если во всех точках вещества вектор J одинаков, говорят, что вещество намагничено однородно. Магнитная проницаемость различных тел. Тела парамагнитные и диамагнитные. Магнитная восприимчивость может быть как положительной, так и отрицательной. Если она <0, то вектор J антипараллелен вектору Н. Магнетики, обладающие таким свойством, называют диамагнетиками . При м.в.>0 вектор J параллелен вектору Н. Магнетики, обладающие таким свойством, называют парамагнетиками. В большинстве случаев по модулю магнитные восприимчивости парамагнетиков превышают магнитные восприимчивости диамагнетиков. Зависимость намагниченности этих двух типов магнетиков от напряженности поля является линейной. Следует отметить, что линейная зависимость J(H) для парамагнетиков наблюдается только в области слабых полей и при высоких температурах. В сильных полях и при низких температурах J(H) постепенно выходит на «насыщение». Как в диамагнетиках, так и в парамагнетиках в отсутствие магнитного поля намагниченность равна нулю. В приведенной ниже таблице показаны значения магнитной проницаемости для некоторых парамагнитных и диамагнитных веществ
Табл.1 Измерения показывают, что магнитная проницаемость всех веществ отлична от единицы, хотя в большинстве случаев это отличие очень мало. Но особенно замечательным оказывается тот факт, что у одних тел величина магнитной проницаемости >1 , а у других она <1, т. е. внесение в магнитное поле одних веществ увеличивает магнитный поток, а других веществ - уменьшает этот поток. Первые из этих веществ называются парамагнитными, а вторые - диамагнитными. Как показывает таблица 1, отличие величины м.п. от единицы как у парамагнитных, так и у диамагнитных веществ невелико. Нужно особенно подчеркнуть, что для парамагнитных и диамагнитных тел величина проницаемости не зависит от напряженности внешнего, намагничивающего поля, т. е. представляет собой постоянную величину, характеризующую данное вещество. Как мы увидим ниже, это не имеет места для железа и других сходных с ним (ферромагнитных) тел. С помощью очень тщательных измерений можно изменение обнаружить изменение магнитного поля и определить величину магнитной проницаемости различных материалов.. Влияние парамагнитных и диамагнитных веществ на величину магнитного потока мы объясняем так же, как и влияние веществ ферромагнитных, тем, что к магнитному потоку, создаваемому током в обмотке катушки, присоединяется поток, исходящий из элементарных амперовых токов. Парамагнитные тела увеличивают магнитный поток катушки. Это увеличение потока при заполнении катушки парамагнитным веществом указывает на то, что и в парамагнитных веществах под действием внешнего магнитного поля элементарные токи ориентируются так, что направление их совпадает с направлением тока обмотки (рис. 1). Небольшое отличие от единицы указывает лишь на то, что в случае парамагнитных веществ этот добавочный магнитный поток очень невелик, т. е. что парамагнитные вещества намагничиваются очень слабо.
Рис. 1. Диамагнитные вещества внутри катушки ослабляют магнитное поле соленоида. Элементарные токи в них направлены противоположно току в соленоиде. Уменьшение магнитного потока при заполнении катушки диамагнитным веществом означает, что в этом случае магнитный поток от элементарных токов направлен противоположно магнитному потоку катушки, т. е. что в диамагнитных веществах под действием внешнего магнитного поля возникают элементарные токи, направленные противоположно токам обмотки (рис. 1). Малость отклонений от единицы и в этом случае указывает на то, что дополнительный поток этих элементарных токов невелик. Кроме диа- и парамагнетиков существует большая группа веществ, обладающих спонтанной намагниченностью, т.е. имеющих не равную нулю намагниченность даже в отсутствие магнитного поля. Эта группа магнетиков получила название ферромагнетиков . Для них зависимость J(H) является нелинейной функцией, и полный цикл перемагничивания описывается петлей гистерезиса. В этих веществах магнитная восприимчивость сама зависит от Н . Движение парамагнитных и диамагнитных тел в магнитном поле. Опыты Фарадея. Притяжение железных предметов к магнитам является наиболее простым и бросающимся в глаза проявлением магнитного поля и исторически послужило основой всего развития учения о магнетизме. Оно сводится к воздействию магнитного поля на ориентированные молекулярные токи намагнитившегося железа. Так же, но только значительно слабее должно действовать магнитное поле и на парамагнитные тела, потому что и в парамагнитных телах ориентация элементарных токов происходит так же, как в ферромагнитных: магнитный поток элементарных токов усиливает, хотя и незначительно, магнитный поток ориентирующего поля и, следовательно, парамагнитные тела притягиваются к магниту (рис. 2, а).
Рис. 2. а) При намагничивании парамагнитного или ферромагнитного тела на ближайшем к магниту конце возникает полюс, разноименный с полюсом намагничивающего магнита. Парамагнитное тело притягивается к магниту, б) В тех же условиях на ближайшем к магниту конце диамагнитного тела возникает полюс одноименный. Диамагнитное тело отталкивается от магнита. В отличие от тел парамагнитных диамагнитные тела уменьшают магнитный поток катушки. Это означает, что в диамагнитном теле под действием внешнего поля возникают элементарные круговые токи такого направления, что их магнитное поле противоположно направлению внешнего магнитного поля. Следовательно, и действие внешнего магнитного поля на диамагнитные тела противоположно по направлению действию его на тела ферро-и парамагнитные, т. е. диамагнитные тела отталкиваются от магнита (рис. 2, б).
Рис.3 Рис.4 Мы можем выразить этот факт и несколько иначе. Когда мы подносим к магниту какое-нибудь железное тело, то оно намагничивается так, что на той стороне его, которая обращена к магниту, возникает полюс, разноименный с полюсом магнита; то же имеет место и в случае парамагнитного тела (рис. 2, а). Напротив, в случае диамагнитного тела на стороне, ближайшей к полюсу намагничивающего магнита, возникает полюс, одноименный с этим полюсом магнита (рис. 2, б). Рис. 3 и 4 поясняют, почему парамагнитные тела притягиваются к магниту, а диамагнитные отталкиваются от него. Именно такие действия и были обнаружены Фарадеем. В 1845 г., использовав сильный электромагнит, Фарадей установил способность всех тел намагничиваться и открыл, что одни тела притягиваются к магниту, а другие отталкиваются от него. Он предложил для первых название парамагнитных, для вторых название диамагнитных. Индукционные опыты с пара- и диамагнитными телами, были произведены значительно позже, когда магнитные свойства диамагнитных и парамагнитных тел были уже установлены на основании исследований Фарадея. По силе притяжения или отталкивания можно судить и количественно о способности тела намагничиваться, т. е. можно определить величину магнитной проницаемости для данного вещества. Этот метод измерения величины , основанный на изучении притяжения или отталкивания маленького тела из данного вещества, теоретически более сложен, чем описанный ранее метод, основанный на измерении э. д. с. индукции. Но зато он гораздо чувствительнее и, кроме того, пригоден для измерения ,в маленьком образчике вещества, тогда как для измерения Мпо индукционному способу нужно заполнить изучаемым веществом всю внутренность катушки. В тех случаях, когда удается измерить и тем и другим способом, получаются согласующиеся результаты. Пример 1 : Полюсы сильного электромагнита на рис. 3 срезаны не параллельно друг другу, так что внизу расстояние между ними значительно меньше, чем наверху. Между ними подвешивается на нити шарик из различных испытуемых материалов. Верхний конец нити прикреплен к спиральной пружинке, растяжение которой позволяет измерить силу, действующую со стороны магнитного поля на шарик (пружинные весы). Оказывается, что если шарик изготовлен из алюминия, вольфрама или платины, то эта сила направлена вниз (пружинка растягивается), а в случае серебра, золота, меди или висмута она направлена вверх (пружинка сокращается). Пример 2: При исследовании магнитной проницаемости жидких тел часто поступают так. Жидкость наливают в коленчатую трубку и одно из колен помещают между полюсами сильного электромагнита (рис 4).Жидкость в этом колене поднимается или опускается в зависимости от того, является ли она парамагнитной или диамагнитной. Молекулярная теория магнетизма. Теория, объясняющая различие в магнитных свойствах веществ на основе изучения строения отдельных частиц этих веществ - их атомов или молекул,- получила название молекулярной теории магнетизма. Эта теория очень сложна и во многом еще не завершена. Поэтому здесь мы не можем разбирать ее сколько-нибудь подробно. Укажем лишь на основные причины различия между свойствами парамагнитных и диамагнитных тел. Каждое тело, и парамагнитное и диамагнитное, представляется нам в целом ненамагниченным до тех пор, пока на него не действует внешнее магнитное поле. Но обусловливается это в телах парамагнитных и в телах диамагнитных разными причинами. Диамагнитными являются тела, каждая частица которых - атом или молекула - находясь вне магнитного поля, не обладает магнитными свойствами. Только внешнее магнитное поле превращает их в элементарные магниты (вызывает элементарные токи), определенным образом направленные. Напротив, частицы парамагнитных веществ уже сами по себе, еще до того, как на них начало действовать внешнее поле, представляют собой элементарные магниты (элементарные токи). Здесь роль внешнего магнитного поля сводится к определенной ориентации, упорядочению расположения этих магнитиков. Пока поле не действовало, все они были расположены беспорядочно, хаотически, и вещество в целом представлялось нам ненамагничеиным. В магнитном же поле эти элементарные магниты выстраиваются в большей или меньшей мере параллельными цепочками и вещество в целом намагничивается. В чем же состоит различие между строением частиц диамагнитных и парамагнитных веществ? В атомах всех тел есть большое число движущихся электронов. Каждый из них и представляет собой амперов элементарный круговой ток. Но в атомах диамагнитных веществ до внесения их в магнитное поле магнитные действия этих отдельных токов взаимно компенсируют друг друга, так что атом в целом не является элементарным магнитом. Когда мы вносим такое вещество в магнитное поле, то на каждый движущийся электрон действует сила Лоренца, и совокупное действие всех этих сил, как показывает расчет, приводит к тому, что в атоме индуцируется определенный ток, т.е. атом приобретает свойства элементарного магнитика. Так как эти токи являются индуцированными, то направление их, согласно правилу Ленца, должно быть противоположно направлению тока в катушке, создающего внешнее магнитное поле, т. е. магнитный поток от этих токов должен ослаблять поток внешнего поля, и диамагнитное тело отталкивается от магнита. В атомах парамагнитных веществ магнитные действия отдельных электронов не полностью компенсируют друг друга, так что атом в целом и сам по себе является элементарным магнитом. Действие внешнего магнитного поля упорядочивает расположение этих элементарных токов (магнитиков), причем токи ориентируются так, что их направление преимущественно совпадает с направлением тока катушки, создающего внешнее магнитное поле. Поэтому магнитный поток от элементарных токов в этом случае усиливает поток катушки, и парамагнитное тело притягивается к магниту. Строго говоря, диамагнетизм есть общее свойство всех веществ. Внешнее магнитное поле производит и на атомы парамагнитных веществ такое же индуцирующее действие, как на атомы диамагнитных веществ. Но в парамагнитных веществах это действие перекрывается более сильным ориентирующим действием внешнего магнитного поля, которое упорядочивает собственные элементарные токи атомов. Из сказанного ясно, что свойства парамагнитных тел можно было бы объяснить и с помощью гипотезы Кулона об элементарных магнитиках. Однако явления диамагнетизма показывают неприемлемость этой гипотезы, ибо внешнее поле не может ориентировать элементарные магнитики навстречу полю, что нужно бы было допустить для объяснения диамагнетизма. Только теория молекулярных токов позволяет, как мы видели, с помощью явлений индукции объяснить диамагнитные свойства вещества наряду с парамагнитными. Мы видим, таким образом, что диамагнетизм и парамагнетизм объясняются различиями в строении самих атомов или молекул вещества. Магнитная защита. Само собой разумеется, что. намагничивание ферромагнитных, парамагнитных и диамагнитных тел происходит не только тогда, когда мы помещаем их внутрь соленоида, но и вообще всегда, когда вещество помещается в магнитное поле. Во всех этих случаях к магнитному полю, которое существовало до внесения нашего тела, добавляется магнитное поле, обусловленное намагничиванием вещества, в результате чего магнитное поле изменяется. Из сказанного ранее ясно, что наиболее сильные изменения поля происходят при внесении в него ферромагнитных тел, в частности железа. Изменение магнитного поля вокруг ферромагнитных тел очень удобно наблюдать, пользуясь картиной силовых линий, получаемой при помощи железных опилок. На рис. 5 изображены, например, изменения, наблюдающиеся при внесении куска железа прямоугольной формы в магнитное поле, которое раньше было однородным.
Рис. 5 Изменение магнитного поля при внесении в него куска железа. Как видим, поле перестает быть однородным и приобретает сложный характер: в одних местах оно усиливается, в других - ослабляется. Очень интересно и практически важна картина, которая наблюдается при внесении в магнитное поле замкнутого железного сосуда, например шаровой формы. Как видно из рис.6, в результате сложения внешнего магнитного поля с полем намагнитившегося железа поле во внутренней области шара почти исчезает. Этим пользуются для создания магнитной защиты или магнитной экранировки, т. е. для защиты тех или иных приборов от действия внешнего магнитного поля. Картина, которую мы наблюдаем при создании магнитной защиты, внешне напоминает создание электростатической защиты при помощи проводящей оболочки. Однако между этими явлениями есть глубокое принципиальное различие. В случае электростатической защиты металлические стенки могут быть сколь угодно тонки. Достаточно, например, посеребрить поверхность стеклянного сосуда, помещенного в электрическом поле, чтобы внутри сосуда не оказалось электрического поля, которое обрывается на поверхности металла. В случае же магнитного поля тонкие железные стенки не являются защитой для внутреннего пространства: магнитные поля проходят сквозь железо, и внутри сосуда оказывается некоторое магнитное поле. Лишь при достаточно толстых железных стенках ослабление поля внутри полости может сделаться настолько сильным, что магнитная защита приобретает практическое значение, хотя и в этом случае поле внутри не уничтожается целиком. И в этом случае ослабление поля не есть результат обрыва его на поверхности железа; магнитные силовые линии отнюдь не обрываются, но по-прежнему остаются замкнутыми, проходя сквозь железо.
Рис.6.Полый железный шар внесен в однородное магнитное тело
Изображая графически распределение силовых линий в толще железа и в полости, получим картину рис.7 которая и показывает, что ослабление поля внутри полости есть результат изменения направления силовых линий, а не их обрыва. Особенности ферромагнитных тел. Бросающейся в глаза особенностью ферромагнитных тел является их способность к сильному намагничиванию, вследствие которой магнитная проницаемость этих тел имеет очень большие значения. У железа, например, величина достигает значений, которые в тысячи раз превосходят значения у парамагнитных и диамагнитных веществ. Намагничивание ферромагнитных тел было изучено в опытах А. Г. Столетова и других ученых. Эти опыты показали, сверх того, что, в отличие от парамагнитных и диамагнитных веществ, магнитная проницаемость ферромагнитных веществ сильно зависит от напряженности магнитного поля, при которой производят ее измерение. Так, например, в слабых полях магнитная проницаемость , железа достигает значений 5—6 тысяч, а в сильных полях значения , падают до нескольких сот и ниже. Намагничивание тела, помещенного в магнитное поле, например, внутрь соленоида с током, вызывает изменение магнитного потока. Поэтому величину намагничивания материала можно характеризовать разностью между тем магнитным потоком, который дает соленоид с сечением в 1 см2 , заполненный данным веществом, и тем потоком, который дает при том же токе этот соленоид без сердечника в воздухе (или, точнее, в вакууме). Если пустой соленоид дает поток Фо, а заполненный — поток Ф, то, согласно теории магнитной проницаемости, Ф= Фо. Таким образом, величина J=Ф-Фо= ( - 1)*Фопредставляет собой тот добавочный магнитный поток, который создается намагниченным веществом. Эту величину мы и будем называть намагничиванием данного вещества. Намагничивание зависит от магнитной проницаемости вещества и от величины потока Фо, в котором производится намагничивание. Обращается внимание на то, что мы выбираем соленоид с определенной площадью сечения (1 см2 ), ибо величина потока зависит от площади сечения соленоида. В разделе магнитная проницаемость, когда нас интересовало отношение потоков Ф/Фо, это обстоятельство не имело значения, ибо величина площади сечения входит и в числитель и в знаменатель этого отношения. Но за меру намагничивания мы выбрали разность этих потоков; поэтому сечение соленоида должно быть вполне определенное и мы условимся брать его равным 1 см2 . Изучение зависимости намагничивания железа и других ферромагнитных материалов от напряженности внешнего магнитного поля обнаруживает ряд особенностей этих веществ, имеющих важное практическое значение. Возьмем кусок ненамагниченного железа, поместим его в магнитное поле и будем измерять намагничивание железа J, постепенно увеличивая напряженность внешнего магнитного поля H. Намагничивание J возрастает сначала резко, затем все медленнее и, наконец, при значениях H около нескольких сот эрстед намагничивание перестает возрастать: все элементарные токи уже ориентированы, железо достигло магнитного насыщения. Графически зависимость величины J(H) в описываемом опыте изображается кривой ОА на рис. 8. Горизонтальная часть этой кривой вблизи А соответствует магнитному насыщению. Достигнув насыщения, начнем ослаблять внешнее магнитное поле. При этом намагничивание железа уменьшается, но убывание это идет медленнее, чем раньше шло его возрастание. Зависимость между величинами J(H) в этом случае изображается ветвью кривой AС на рис. 8. Мы видим, таким образом, что одному и тому же значению H могут соответствовать различные значения намагничивания (точки х, х и х" на рис. 8) в зависимости от того, подходим ли мы к этому значению со стороны малых или со стороны больших значений H. Намагничивание железа зависит, стало быть, не только от того, в каком поле данный кусок находится, но и от предыдущей истории этого куска. Это явление получило название магнитного гистерезиса. Когда внешнее магнитное поле становится равным нулю, железо продолжает сохранять некоторое остаточное намагничивание, величина которого характеризуется отрезком ОС нашего графика. В этом и заключаетсяпричина того, что из железа или стали можно изготовлять постоянные магниты. Для дальнейшего размагничивания железа нужно приложить внешнее магнитное поле, направленное в противоположную сторону. Ход изменения намагничивания J при возрастании напряженности этого противоположно направленного поля изображается ветвьюCDE кривой. Лишь когда напряженность этого поля достигнет определенного значения (в нашем опыте значения, изображаемого отрезком OD), железо будет полностью размагничено (точка D). Таким образом, величина напряженности размагничивающего поля (отрезок OD) является мерой того, насколько прочно удерживается состояние намагничивания железа. Ее называют коэрцитивной силой. При уменьшении напряженности поля обратного направления и затем при возрастании напряженности поля первоначального направления ход изменения намагничивания железа изображается ветвью кривой EC' A. При новом повторении всего цикла размагничивания, перемагничивания и повторного намагничивания железа в первоначальном направлении форма этой кривой повторяется.
{Ветвь ОА изображает ход намагничивания исходного ненамагниченного материала и не повторяется при повторных циклах. Для того чтобы вновь воспроизвести ветвь ОА, необходимо привести материал в первоначальное ненамагниченное состояние. Для этого достаточно, например, сильно нагреть его.} Из рис. 8 видно, что эта кривая, изображающая ход зависимости намагничивания железа J от напряженности внешнего поля H, имеет вид петли. Ее называютпетлёй гистерезиса для данного сорта железа или стали. Форма петли гистерезиса является важнейшей характеристикой магнитных свойств того или иного ферромагнитного материала. В частности, зная ее, мы можем определить такие важные характеристики этого материала, как его магнитное насыщение, остаточное намагничивание и коэрцитивную силу.
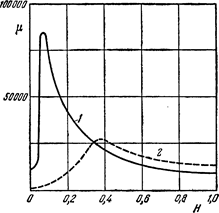
На рис. 9 показана форма петли гистерезиса для различных сортов железа и стали. По форме этой петли можно выбрать материал, который наилучшим образом подходит для той или иной практической задачи. Так, для изготовления постоянных магнитов необходим материал с большой коэрцитивной силой (сталь и особенно специальные сорта кобальтовой стали);для электрических машин и особенно для трансформаторов выгодны материалы с очень малой площадью петли гистерезиса, ибо они, как оказывается, меньше всего нагреваются при перемагничивании; для некоторых специальных приборов важны материалы, магнитное насыщение которых достигается при малых полях и т. д. В отличие от тел парамагнитных и диамагнитных для ферромагнетиков величина М = Ф/Фо не остается постоянной, а зависит от напряженности внешнего намагничивающего поля Н. Эта зависимость для магнитного сплава (пермаллоя) и для мягкого железа показана на рис.10. Как мы видим, данная величина имеет малые начальные значения в слабых полях, затем нарастает до максимального значения и при дальнейшем увеличении поля в катушке снова уменьшается. Важно отметить, что при достижении определенной температуры магнитная проницаемость ферромагнитных тел резко падает до значения, близкого к 1. Эта температура, характерная для каждого ферромагнитного вещества, носит название точки Кюри. {Речь идет не о том нагревании под действием вихревых токов Фуко, которое испытывают все металлы, помещенные в переменное магнитное поле, но о нагревании ферромагнитных тел, обусловленном их перемагничиванием и связанном со своеобразным внутренним трением в перемагничиваемом веществе.} При температурах выше точки Кюри все ферромагнитные тела становятся парамагнитными. У железа точка Кюри равна 767°С, у никеля 360°С, у кобальта около 1130°С. У некоторых ферромагнитных сплавов точка Кюри лежит вблизи 100°С.
Рис. 10. Зависимостьот Н у магнитного сплава пермаллоя (1) и у мягкого железа (2). Периодическое перемагничивание ферромагнитного образца связано с затратой энергии на его нагревание. Площадь петли гистерезиса пропорциональна количеству теплоты, выделяющейся в единице объема ферромагнетика за один цикл перемагничивания. При температурах ниже точки Кюри ферромагнитный образец разбит на малые области самопроизвольной (спонтанной) однородной намагниченности, называемые доменами. Линейные размеры доменов порядка (10-5 — 10-4 м). Внутри каждого домена вещество намагничено до насыщения . В отсутствие внешнего магнитного поля магнитные моменты доменов ориентированы в пространстве так, что результирующий магнитный момент размагниченного образца равен нулю. Намагничивание ферромагнитного образца во внешнем магнитном поле состоит, во-первых, в смещении границ доменов и росте размеров тех доменов, векторы магнитных моментов которых близки по направлению к магнитной индукции В поля, и, во-вторых, в повороте магнитных моментов целых доменов по направлению поля В. В достаточно сильном магнитном поле достигается состояние магнитного насыщения, когда весь образец намагничен по полю и его намагниченность J не изменяется при дальнейшем увеличении В. Измерения гиромагнитного отношения для ферромагнетиков показали, что элементарными носителями магнетизма в них являются спиновые магнитные моменты электронов . В современной квантово-механической теории ферромагнетизма объяснена природа самопроизвольной намагниченности ферромагнетиков и природа возникновения сильного внутреннего поля . Ферромагнитными свойствами могут обладать кристаллы веществ, атомы которых имеют не заполненные электронами внутренние оболочки , так что проекция результирующего спинового магнитного момента на направление магнитного поля отлична от нуля. При определенных условиях благодаря обменному взаимодействию между электронами соседних атомов, имеющему особую квантово-механическую природу, оказывается устойчивым такое состояние ферромагнетика, когда спины электронов всех атомов в пределах одного домена ориентированы одинаково. Таким образом возникает спонтанное намагничивание доменов до насыщения. При нагревании ферромагнетика до точки Кюри тепловое движение разрушает области спонтанной намагниченности и вещество теряет свои особые магнитные свойства. При отсутствии внешнего магнитного поля магнитные моменты отдельных доменов ориентированы хаотически и компенсируют друг друга, поэтому результирующий магнитный момент ферромагнетика равен нулю и ферромагнетик не намагничен. Внешнее магнитное поле ориентирует по полю магнитные моменты не отдельных атомов, как это имеет место в случае парамагнетиков, а целых областей спонтанной намагниченности. Поэтому с ростом Н намагниченность J и магнитная индукции В уже в довольно слабых полях растут очень быстро. Этим объясняется также увеличением ферромагнетиков до максимального значения в слабых полях. Эксперименты показали, что зависимость В от Н не является такой плавной, а имеет ступенчатый вид. Это свидетельствует о том, что внутри ферромагнетика домены поворачиваются по полю скачком. При ослаблении внешнего магнитного поля до нуля ферромагнетики сохраняют остаточное намагничение, так как тепловое движение не в состоянии быстро дезориентировать магнитные моменты столь крупных образований, какими являются домены. Поэтому и наблюдается явление магнитного гистерезиса. Для того чтобы .ферромагнетик размагнитить, необходимо приложить коэрцитивную силу; размагничиванию способствуют также встряхивание и нагревание ферромагнетика. Точка Кюри оказывается той температурой, выше которой происходит разрушение доменной структуры. Существование доменов в ферромагнетиках доказано экспериментально. Прямым экспериментальным методом их наблюдения является метод порошковых фигур. На тщательно отполированную поверхность ферромагнетика наносится водная суспензия мелкого ферромагнитного порошка (например, магнетита). Частицы оседают преимущественно в местах максимальной неоднородности магнитного поля, т. е. на границах между доменами. Поэтому осевший порошок очерчивает границы доменов и подобную картину можно сфотографировать под микроскопом. Линейные размеры доменов оказались равными lO-4 —lO-2 см. Дальнейшее развитие теории ферромагнетизма Френкелем и Гейзенбергом, а также ряд экспериментальных фактов позволили выяснить природу элементарных носителей ферромагнетизма. В настоящее время установлено, что магнитные свойства ферромагнетиков определяются спиновыми магнитными моментами электронов. Установлено также, что ферромагнитными свойствами могут обладать только кристаллические вещества, в атомах которых имеются недостроенные внутренние электронные оболочки с нескомпенсированными спинами. В подобных кристаллах могут возникать силы, которые вынуждают спиновые магнитные моменты электронов ориентироваться параллельно друг другу, что и приводит к возникновению областей спонтанного намагничения. Эти силы, называемые обменными силами, имеют квантовую природу — они обусловлены волновыми свойствами электронов. Так как ферромагнетизм наблюдается только в кристаллах, а они обладают анизотропией, то в монокристаллах ферромагнетиков должна иметь место анизотропия магнитных свойств (их зависимость от направления в кристалле). Действительно, опыт показывает, что в одних направлениях в кристалле его намагниченность при данном значении напряженности магнитного поля наибольшая (направление легчайшего намагничения), в других — наименьшая (направление трудного намагничения). Из рассмотрения магнитных свойств ферромагнетиков следует, что они похожи на сегнетоэлектрики . Существуют вещества, в которых обменные силы вызывают антипараллельную ориентацию спиновых магнитных моментов электронов. Такие тела называются антиферромагнетиками. Их существование теоретически было предсказано Л. Д. Ландау. Антиферромагнетиками являются некоторые соединения марганца (MnO, MnF2 ),железа (FeO, FeC2 ) и многих других элементов. Для них также существует антиферромагнитная точка Кюри (точка Нееля*), при которой магнитное упорядочение спиновых магнитных моментов нарушается и антиферромагнетик превращается в парамагнетик. В последнее время большое значение приобрели полупроводниковые ферромагнетики—ферриты, химические соединения типа MeO*Fe2 O3 , где Me—ион двухвалентного металла (Мn, Со, Ni, Сu, Mg, Zл, Cd, Fe). Они отличаются заметными ферромагнитными свойствами и большим удельным электрическим сопротивлением (в миллиарды раз большим, чем у металлов). Ферриты применяются для изготовления постоянных магнитов, ферритовых антенн, сердечников радиочастотных контуров, элементов оперативной памяти в вычислительной технике, для покрытия пленок в магнитофонах и видеомагнитофонах и т. д. Основы теории ферромагнетизма. В отличие от диамагнетизма и парамагнетизма, которые являются свойствами отдельных атомов или молекул вещества, ферромагнитные свойства вещества объясняются особенностями его кристаллической структуры. Атомы железа, если взять их, например, в парообразном состоянии, сами по себе диамагнитны или лишь слабо парамагнитны. Ферромагнетизм есть свойство железа в твердом состоянии, т. е. свойство кристаллов железа. В этом нас убеждает ряд фактов. Прежде всего на это указывает зависимость магнитных свойств железа и других ферромагнитных материалов от обработки, изменяющей их кристаллическое строение (закалка, отжиг). Далее оказывается, что из парамагнитных и диамагнитных металлов можно изготовить сплавы, обладающие высокими ферромагнитнымисвойствами. Таков, например, сплав Гойслера, почти не уступающий по своим магнитным свойствам железу, хотя он состоит из таких слабо магнитных металлов, как медь (60%), марганец (25%) и алюминий (15%). С другой стороны, некоторые сплавы из ферромагнитных материалов, например сплав из 75% железа и 25% никеля, почти не магнитны. Наконец, самым веским подтверждением является то, что при достижении определенной температуры (точка Кюри) все ферромагнитные вещества теряют свои ферромагнитные свойства. Ферромагнитные вещества отличаются от парамагнитных не только весьма большим значением магнитной проницаемости и ее зависимостью от напряженности поля, но и весьма своеобразной связью между намагничиванием и напряженностью намагничивающего поля. Эта особенность находит свое выражение в явлении гистерезиса со всеми его следствиями: наличием остаточного намагничивания и коэрцитивной силы. В чем причина гистерезиса? Вид кривых рис. 8 и 9, - различие между ходом нарастания намагничивания ферромагнетика при увеличении поля Н и ходом его размагничивания при уменьшении Н, - показывает, что при изменении намагничивания ферромагнетика, т. е. при увеличении или уменьшении напряженности внешнего поля, ориентация и дезориентация элементарных магнитов не сразу следует за полем, а происходит с известным отставанием. Подробное изучение процессов намагничивания и размагничивания железа и других ферромагнитных веществ показало, что ферромагнитные свойства вещества определяются не магнитными свойствами отдельных атомов или молекул, которые сами по себе парамагнитны, а намагничиванием целых областей, называемых доменами,- небольших участков вещества, содержащих очень большое количество атомов. Взаимодействие магнитных моментов отдельных атомов ферромагнетика приводит к созданию чрезвычайно сильных внутренних магнитных полей, действующих в пределах каждой такой области и выстраивающих, в пределах этой области, все атомные магнитики параллельно друг другу, как показано на рис. 11. Таким образом, даже при отсутствии внешнего поля ферромагнитное вещество состоит из ряда отдельных областей, каждая из которых самопроизвольно намагничена до насыщения. Но направление намагничивания для разных областей различно, так что вследствие хаотичности распределения этих областей тело в целом оказывается в отсутствии внешнего поля ненамагииченным. Под влиянием внешнего поля происходит перестройка и перегруппировка таких «областей самопроизвольного намагничивания», в результате которой получают преимущество те области, намагничивание которых параллельно внешнему полю, и вещество в целом оказывается намагниченным. Один из примеров такой перестройки областей самопроизвольного намагничивания показан на рис. 11. Здесь схематически изображены две смежные области, направления намагничивания которых перпендикулярны друг к другу. При наложении поля Н часть атомов области В, в которой намагничивание перпендикулярно к полю, на границе ее с областью А, в которой намагничивание параллельно полю, поворачивается, так что направление их магнитного момента становится параллельным полю. В результате область А , намагниченная параллельно внешнему полю, расширяется за счет тех областей, в которых направление намагничивания образует большие углы с направлением поля, и возникает преимущественное намагничивание тела по направлению внешнего поля. В очень сильных внешних полях возможны и повороты направления ориентации всех атомов в пределах целой области. При снятии (уменьшении) внешнего поля происходит обратный процесс распада и дезориентации этих областей, т. е. размагничивание тела. Ввиду больших по сравнению с атомами размеров «областей самопроизвольного намагничивания» как процесс ориентации их, так и обратный процесс дезориентации происходит с гораздо большими затруднениями, чем установление ориентации или дезориентации отдельных молекул или атомов, имеющее место в парамагнитных и диамагнитных телах. Этим и объясняется отставание намагничивания и размагничивания от изменения внешнего поля, т. е. гистерезис ферромагнитных тел.
В последнее время в связи с микроминиатюризацией радиоэлектронной аппаратуры проявляется большой интерес к изучению и использованию для обработки информации специфических доменных структур- полосовых, цилиндрических доменов (ЦМД) и ряда других. Долгое время микроминиатюризация магнитных элементов и устройств значительно отставала от микроминиатюризации полупроводниковых устройств. Однако, в последние годы здесь достигнуты большие успехи. Они связаны с возможностью использования единичного магнитного домена в качестве элементарного носителя информации. Обычно таким носителем информации является ЦМД. Он формируется при определенных условиях в монокристаллических пластинках или пленках некоторых ферритов. Доменная структура таких тонких ферритовых пленок весьма специфична. Характер доменов и границ между ними существенно зависит от толщины пленки. При малой толщине из-за того, что размагничивающий фактор в плоскости пленки на много порядков меньше, чем в направлении нормали к ней, намагниченность располагается параллельно плоскости пленки. В этом случае образования доменов с противоположными направлениями намагничивания по толщине пленки не происходит. В пленках, толщина которых больше некоторой критической, возможно образование доменов полосовой конфигурации. Пленка разбивается на длинные узкие домены шириной от долей микрометра до нескольких микрометров, причем соседние домены намагничены в противоположных направлениях вдоль нормали к поверхности. Такие магнитные пленки получили название «закритических», их толщина находится в пределах 0,3-10 мкм Приложение внешнего магнитного поля, направленного перпендикулярно плоскости пленки с полосовыми доменами, приводит к изменению размеров и формы доменов. При увеличении поля происходит уменьшение длины полосовых доменов, а затем наименьший домен превращается в цилиндрический. В некотором интервале значений внешнего магнитного поля в пленке могут существовать как полосовые домены, так и ЦДМ. Дальнейшее увеличение поля приводит к тому, что ЦДМ уменьшается в диаметре, а оставшиеся полосовые домены превращаются в цилиндрические. ЦДМ могут исчезнуть (коллапсировать) при достижении некоторого значения поля и, таким образом, вся пленка намагнитится однородно. Впервые ЦДМ наблюдались в пленках ортоферритов – веществах, имеющих химическую формулу RfeO3 , где R- редкоземельный элемент. ЦДМ могут использоваться для создания запоминающих и логических устройств. При этом наличие домена в данной точке пленки соответствует значению «1», а отсутствие –значению «0». Для хранения и передачи информации с помощью ЦДМ нужно уметь формировать домены, хранить их, перемещать в заданную точку, фиксировать их присутствие или отсутствие (т.е. считывать информацию), а также разрушать ненужные ЦДМ. Список использованной литературы : 1. Иродов И.Е. «Электромагнетизм». Основные законы М. ; Лаборатория базовых знаний, 2000 2. Павлов П.В., Хохлов А.Ф. “Физика твердого тела” М. – Высшая школа, 2000 3. Яворский Б.М., Детлаф А.А. “Справочник по физике” М. –Наука.Физматлит, 1996 4. Элементарный учебник физики под ред. Ландсберга Г.С. “Электричество и магнетизм” М. – Наука, 1975 5. Трофимова Т.И. “Курс физики” М. – Высшая школа, 1999 |










