Реферат: Оптическая обработка информации
|
Название: Оптическая обработка информации Раздел: Рефераты по науке и технике Тип: реферат | ||||||||||||
|
Вступление Современная практика и научные исследования требуют измерений высоких и сверхвысоких напряжений — до 10 МВ и больших токов — до 1¸2 МА. Напряжения и токи при этом могут быть постоянными, переменными, и импульсными с длительностью импульсов от долей микросекунд до нескольких десятков миллисекунд. Измерение больших постоянных токов — до 200¸500 кА широко используется в устройствах электролиза алюминия. Большие переменные токи — до 150¸200 кА имеют место в мощных дуговых электропечах. Работают линии электропередачи с напряжением 1,2¸1,5 МВ, проектируются линии передачи и энергетические устройства на более высокие напряжения. В термоядерных установках токи достигают сотен килоампер. В ряде случаев необходимо проводить измерения при сверхнизких и высоких температурах, например, в криотурбогенераторах или криомодулях высокоскоростных транспортных средств на магнитной подушке, при исследовании плазменных и термоядерных источников энергии. Электрооптические методы измерений высоких напряжений и больших токов Быстрое развитие линий электропередачи и электрофизических устройств высокого и сверхвысокого напряжения (1200 кВ и выше) обусловило появление новых методов измерений, не требующих создания дорогостоящих и громоздких изоляционных устройств на полное рабочее напряжение. Перспективными являются электрооптические методы, основанные на преобразовании измеряемых электрических величин в параметры оптического излучения и применении оптических каналов связи для передачи измерительной информации из зоны высокого напряжения на низковольтную часть измерительного устройства. Преимуществами этих методов являются высокое быстродействие, защищенность от электромагнитных помех, а также надежная естественная электрическая изоляция между высоковольтной и вторичной измерительными цепями вследствие их полной электрической развязки. Электрооптические методы разделяются на методы с внутренней модуляцией, при которых сигнал измерительной информации непосредственно воздействует на источник оптического излучения, изменяя параметры его излучения, и методы с внешней модуляцией, основанные на воздействии измеряемой величины непосредственно на оптическое излучение от внешнего стабильного источника.
Рис. 1. При измерении методами с внутренней модуляцией (рис. 1) источник оптического излучения 2 (например, светодиод) и первичный преобразователь 1 (шунт, измерительный трансформатор и др.) находятся под высоким напряжением, а приемник оптического излучения 4 и вторичное измерительное устройство 5 имеют потенциал Земли. В качестве оптического канала связи 3 между источником и приемником излучения применяются высоковольтные волоконные жесткие или гибкие световоды, которые обеспечивают надежную изоляцию измерительных устройств от высоковольтной цепи. Методы с внешней модуляцией основаны на использовании электрооптических и магнитооптических эффектов, главным образом электрооптических эффектов Керра и Поккельса — для измерения напряженности электрического поля и напряжения, а также магнитооптического эффекта Фарадея — для измерения токов. Время релаксации, свойственное электро- и магнитооптическим эффектам, составляет менее 10-10 с, поэтому на основе этих эффектов можно создать быстродействующие средства измерений постоянных, переменных и импульсных токов и напряжений, а также современные быстродействующие устройства защиты. Эффект Фарадея заключается во вращении плоскости поляризации линейно поляризованного света в оптически активных веществах под действием магнитного поля. Угол поворота плоскости поляризации света
где CB — постоянная Верде; l — длина пути света в веществе; В - магнитная индукция. Измеряя угол поворота плоскости поляризации света, можно определить индукцию магнитного поля или силу тока, если преобразователь поместить в магнитном поле измеряемого тока.
Рис. 2. Уравнение, записанное выше, справедливо для составляющей индукции Вl , направленной вдоль пути света. Знак угла Q зависит от направления вектора магнитной индукции, но не зависит от направления света, что позволяет увеличить угол Q, если свет многократно пропускать через ячейку Фарадея. Как и в других методах, основанных на измерении магнитной индукции поля, создаваемого измеряемым током, при использовании эффекта Фарадея основными составляющими погрешности измерения тока являются погрешность преобразования измеряемого тока в магнитную индукцию и погрешность измерения магнитной индукции. При использовании эффекта Фарадея измерение магнитной индукции сводится к измерению поворота плоскости поляризации света, которое обычно осуществляя методами прямого или уравновешивающего преобразования. При применении метода прямого преобразования свет от лазера 1 направляется к преобразователю Фарадея 8 (рис. 2). При этом поляризатор 2 и анализатор 4 могут быть расположены непосредственно у магнитооптического образца, что позволяет использовать оптические каналы связи 5 в виде обычных волоконных световодов. Выходным сигналом устройств, построенных на основе метода прямого преобразования, является фототок
где Rн — сопротивление нагрузки фотоприемника; SФ — чувствительность фотоприемника; J2 — интенсивность светового потока на входе фотоприемника, которая в соответствии с законом Малюса равна
здесь J1 — интенсивность света на входе анализатора; j — угол между поляризатором и анализатором; Q — угол поворота плоскости поляризации, При j=45°
или при малых углах Q
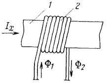
При углах Q=7° погрешность линейности составляет 1%. На рис. 3 показаны различные виды магнитооптических преобразователей Фарадея. Самый простой преобразователь состоит из магнитооптического элемента 2, расположенного у провода 1 с измеряемым током (рис. 3, а). Уменьшения влияния внешних магнитных полей и увеличения чувствительности средств измерений, основанных на использовании эффекта Фарадея, к току
В качестве рабочего вещества для магнитооптических преобразователей применяются стекла, содержащие оксид свинца (флинты, кроны) и плавленый кварц. Особенно большую постоянную Верде имеют пленки из феррита-граната, удельное фарадеевское вращение плоскости поляризации света в которых на два-три порядка больше, чем в стеклах. Измерение напряжения с использованием электрооптических эффектов Керра и Поккельса Измерение напряжения с использованием электрооптических эффектов Керра и Поккельса основано на возникновении двулучепреломления поляризованного света, распространяющегося в электрическом поле, создаваемом измеряемым напряжением. Возникновение квадратичного эффекта Керра поясняется на рис. 4, а. Поляризованный луч света, образуемый с помощью источника света 1 и поляризатора 2, проходит через электрическое поле, создаваемое конденсатором 3, к электродам которого приложено измеряемое напряжение UX . При этом луч света направлен перпендикулярно вектору напряженности этого поля. После анализатора 4 свет попадает в фотоприемник 5, где он преобразуется в электрический сигнал, измеряемый прибором 6. Интенсивность света на выходе преобразователя Керра определяется выражением
где lK — эффективная длина преобразователя Керра; в — расстояние между его электродами; СK — коэффициент Keppa; J0 — интенсивность света на входе преобразователя. Эффект Керра возникает во многих изотропных веществах, но наиболее часто используется нитробензол, который имеет наибольший коэффициент Керра по сравнению с другими веществами (вода, бензол, эпоксидные компаунды и др.). Линейный электрооптический эффект Поккельса наблюдается в пьезоэлектрических кристаллах, находящихся в электрическом поле. В зависимости от направления вектора напряженности электрического поля возникает продольный или поперечный эффект Поккельса. Продольный эффект сильнее всего проявляется в кристаллах дигидрофосфата аммония NH4 H2 PO4 или гидрофосфата калия KH2 PO4 , где электрическое поле создается при помощи кольцевых электродов 7, к которым приложено измеряемое напряжение UX (рис. 4, б). Поперечный эффект сильно проявляется в кристаллах ниобата лития LiNbO3 , которые используются в электрооптических модуляторах света. Интенсивность света на выходе преобразователя Поккельса можно определить из выражения
где r63 — электрооптический коэффициент кристалла; n0 — его показатель преломления при отсутствии электрического поля; l -длина волны излучения лазера; ЕX — напряженность электрического поля; lП — эффективная длина преобразователя Поккельса. Статическими характеристики преобразователей Керра и Поккельса показаны соответственно на рис. 4, в и рис. 4, г. Безикович А.Я., Шапиро Е.З. Измерение электрической мощности. Спектор С.А. Измерение больших постоянных токов. Спектор С.А. Электрические измерения физических величин. Шваб А. Измерения на высоком напряжении. |
||||||||||||


Рис. 3, а.
Рис. 3, в.
Рис. 3, г.
Рис. 3, д.
Рис. 3, е.






