ТЕОРЕТИЧЕСКИЕ ЦИКЛЫ ДВС
Лекция 3
ТЕОРЕТИЧЕСКИЕ ЦИКЛЫ ДВС
1. Классификация тепловых двигателей
2. Принцип работы ДВС
3. Цикл с подводом теплоты при постоянном объеме
3.1. Параметры характерных точек
3.2. Определение внешней теплоты и работы цикла
3.3. Термический КПД цикла
4. Цикл с подводом теплоты при постоянном давлении
5. Цикл со смешанным подводом теплоты
6. Сравнение различных циклов ДВС
1. Классификация тепловых двигателей
По способу подвода теплоты к рабочему телу различают:
• двигатели внешнего сгорания;
• двигатели внутреннего сгорания.
Двигатели внутреннего сгорания (ДВС) по способу реализации полезной работы цикла могут быть:
• поршневыми (роторно-поршневыми);
• газотурбинными;
• комбинированными;
• реактивными.
ДВС это тепловая машина, в которой подвод теплоты к рабочему телу осуществляется путем сжигания топлива внутри самого Двигателя.
Рабочим телом в ДВС является на первом этапе воздух или смесь воздуха с легко воспламеняющимся топливом, а на втором этапе продукты сгорания этого жидкого или газообразного топлива.
ДВС имеют два существенных преимущества.
Во-первых, так как источник теплоты находится внутри самого двигателя, нет необходимости в больших теплообменных поверхностях, что способствует его компактности.
Во-вторых, в двигателях внешнего сгорания внешний температурный предел рабочего тела ограничен свойством конструкционных материалов, через которые осуществляется теплообмен. В двигателях же внутреннего сгорания, где тепловыделение происходит в самом рабочем теле, температурный предел может быть значительно выше. А так как стенки головки и цилиндра двигателя имеют принудительное охлаждение, то температурные границы цикла могут быть расширены и термический КПД может быть увеличен.
В поршневых и роторно-поршневых двигателях рабочее тело находится в замкнутом пространстве между неподвижными деталями и движущимся поршнем или ротором, которые воспринимают давление рабочего поршня и преобразуют его во внешнюю работу.
В газотурбинном двигателе рабочее тело расширяется в потоке, т. е. в незамкнутом пространстве. При тепловом расширении кинетическая энергия потока преобразуется в механическую работу на лопатках вращающегося рабочего колеса.
В реактивных двигателях рабочее тело расширяется также в незамкнутом пространстве, но кинетическая энергия газа преобразуется в работу не на лопатках колеса как в газотурбинном двигателе, а за счет сил реакции при выходе рабочего тела из двигателя в окружающую среду с большой скоростью.
Комбинированный двигатель представляет собой гибрид поршневого и газотурбинного двигателей.
Термин «двигатель внутреннего сгорания» получил распространение применительно к поршневым двигателям.
2. Принцип работы ДВС
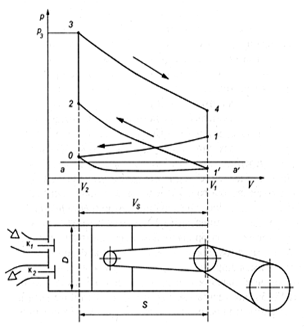
Принцип действия ДВС показан на рис. 1, где для наглядности совмещена индикаторная диаграмма четырехтактного двигателя и его принципиальная схема.

Рис. 1. Индикаторная диаграмма работы четырехтактного ДВС
и его принципиальная схема
Поршень, перемещаемый в цилиндре диаметром D, шарнирно соединен с шатуном, который в свою очередь шарнирно соединен с кривошипом коленчатого вала. В головке цилиндра установлены впускной к1 и выпускной к2 клапаны, которые связывают полость внутри цилиндра с окружающей средой. Поршень совершает возвратно-поступательное движение (ход поршня S), а коленчатый вал вращательное. Так как двигатель четырехтактный, одному обороту коленчатого вала соответствуют два хода поршня.
При движении поршня от клапанов внутрь цилиндра через впускной клапан к1 засасывается горючая смесь (кривая 01'). Прямая аа' соответствует давлению окружающей среды. При впуске не происходит изменение параметров состояния смеси (р, v и Т), меняются лишь масса (G) и объем (V) смеси. При обратном движении поршня горючая смесь сжимается по адиабате (кривая 1'2). Происходит изменение состояния смеси, параметры р, v и T при постоянном количестве смеси, заключенной в цилиндре, при сжатии изменяются. Клапаны при этом закрыты.
По окончании сжатия смесь зажигается и очень быстро сгорает. Прямая 23 соответствует изменению состояния рабочего тела, причем происходит изменение как термодинамических параметров, так и химического состава рабочего тела. До вспышки (точка 2) рабочее тело представляло собой горючую смесь, в конце горения (точка 3) это уже продукт горения.
На этом этапе происходит очень резкое увеличение давления (р) и температуры (Т). Теплотой, выделившейся в результате сгорания смеси, нагреваются продукты сгорания, их давление и температура увеличиваются.
Когда поршень делает третий ход, происходит процесс расширения газов (кривая 34), осуществляется адиабатный процесс изменения состояния продуктов сгорания.
При четвертом ходе поршня, который совпадает по направлению со вторым, из цилиндра удаляются продукты сгорания через выпускной клапан к2. Причем начало этого процесса совпадает с концом процесса расширения (прямая 41). Избыточное давление в цилиндре падает. При этом не происходит изменения состояния рабочего тела, так как падает давление с р4 до р1 не в результате охлаждения рабочего тела посредством теплообмена в холодильнике, а путем выпуска рабочего тела, т. е. без теплообмена.
Далее, при движении поршня в сторону клапанов происходит принудительное удаление остатков продуктов сгорания из цилиндра (кривая 10), меняется масса (G) и объем (V) рабочего тела. Далее цикл повторяется.
Таким образом, цикл двигателя внутреннего сгорания формируется четырьмя возвратно-поступательными ходами поршня, называемыми тактами двигателя. Поэтому данный двигатель называется четырехтактным.
Если у двигателя отсутствуют такты впуска и выпуска, то он называется двухтактным, и его вал делает один оборот за цикл. Цикл двухтактного двигателя состоит из тех же процессов, что и для четырехтактного, а название тактов определяется основными процессами, которые протекают в цилиндре (такт расширения и такт сжатия). При этом процессы впуска свежего заряда и выпуска продуктов сгорания осуществляются соответственно в начале такта сжатия и в конце такта расширения, протекая почти одновременно.
Площадь фигуры 1234 на индикаторной диаграмме соответствует работе за один цикл.
На рис. 1 показана индикаторная диаграмма четырехтактного ДВС. Диаграмма термодинамического цикла отлична от индикаторной диаграммы, так как она показывает изменение состояния рабочего тела, а индикаторная изменение давления в цилиндре в зависимости от положения поршня.
ДВС, как это видно из рис. 1, не работают по замкнутому круговому процессу, но их циклы условно считают круговыми обратимыми циклами и при их исследовании используют те же термодинамические методы изучения, для чего действительные процессы, протекающие в ДВС, заменяются обратимыми термодинамическими процессами. Составленный из термодинамических обратимых процессов цикл исследуется на термический КПД, работу и параметры состояния.
Исследование теоретических циклов позволяет определить максимальный с точки зрения термодинамики КПД в данных условиях и факторы, которые влияют на экономичность двигателя.
По принципу работы, т. е. по характеру подвода теплоты к рабочему телу циклы ДВС можно разбить на три группы:
1) циклы с подводом теплоты к газу при постоянном объеме;
2) циклы с подводом теплоты к газу при постоянном давлении;
3) смешанные циклы с подводом теплоты к газу частично при постоянном объеме, частично при постоянном давлении.
Термодинамические циклы исследуются одним методом, который включает в себя следующие этапы:
1) по условию и характеру работы двигателя строится индикаторная диаграмма цикла;
2) определяются параметры рабочего тела в характерных точках на основании формул, выражающих соотношения между параметрами состояния для процессов данного цикла;
3) определяются теплота и работа цикла;
4) определяется термический КПД цикла по формуле
;
5) выявляются факторы, влияющие на термодинамический КПД, и определяются пути его повышения.
Отличия реальных или действительных циклов от термодинамических рассматриваются в главе (действительные циклы ДВС).
3. Цикл с подводом теплоты при постоянном объеме
Цикл с подводом теплоты при постоянном объеме называется циклом Отто по имени немецкого конструктора Н. А. Отто, осуществившего этот цикл в 1876 г.
Горючей смесью в цикле Отто является воздух, смешанный с парами бензина или любым другим легко испаряющимся веществом.
На рис. 2 представлена рv диаграмма двигателя, работающего именно по циклу Отто. Идеализированный замкнутый цикл, термодинамически эквивалентный циклу Отто, состоит из двух адиабат (рис. 2, кривые 12 и 34) и двух изохор (прямые 23 и 41). Работа, производимая двигателем за цикл, выражается площадью фигуры 23412.

Рис. 2. Цикл поршневого ДВС с подводом теплоты при постоянном объеме
Так как в этом цикле участвует постоянное количество рабочего тела, то линии впуска и выпуска отсутствуют. Кривая 12 соответствует процессу адиабатного (условно без теплообмена) сжатия газа, в это время поршень перемещается от нижней мертвой точки (НМТ) к верхней мертвой точке (ВМТ).
При положении поршня в ВМТ и постоянном объеме v2 (см. рис. 2, прямая 23) осуществляется процесс подвода теплоты q1 к рабочему телу. При этом давление и температура рабочего тела повышаются.
При движении поршня от ВМТ к НМТ (кривая 34) происходит процесс адиабатного расширения газа.
Отвод теплоты (-q2) от рабочего тела к холодильнику соответствует прямой 41 и осуществляется при постоянном объеме, когда поршень находится в НМТ.
Характеристиками цикла являются степень сжатия и степень повышения давления .
Степень сжатия показывает, во сколько раз уменьшается объем газа в процессе сжатия:
, (2.1)
где v1 удельный объем газа в начале хода сжатия или полный объем при положении поршня в НМТ; v2 удельный объем газа в конце хода сжатия или объем над поршнем при его положении в ВМТ (объем камеры сгорания).
Степень повышения давления показывает, во сколько раз повышается давление газа в результате подвода к нему теплоты при постоянном объеме:
, (2.2)
где р3 давление газа в конце подвода теплоты; р2 давление газа в начале подвода теплоты.
Так как параметры начального состояния (точка 1) всегда известны, то параметры всех других состояний могут быть выражены через р1, v1 и Т1.
Так как и выражены через v и р, то и они являются параметрами состояния.
Двигатели, работающие по данному циклу, имеют от 6 до 11; от 3 до 5.
3.1. Параметры характерных точек
Объем газа
Точка 1 индикаторной диаграммы (см. рис. 2) соответствует объему газа, значение которого можно определить из выражения
,
где vh объем вытесняемый поршнем при его перемещении от НМТ до ВМТ или рабочий объем цилиндра.
Так как , a , то или
.
Откуда
и
. (2.3)
Точка 2 соответствует объему газа, определяемого из формулы
.
Подставляя в значение v1 выражение (2.3), получим
Объем газа, соответствующий точке 3, равен объему газа, соответствующему точке 2, а объем газа, соответствующий точке 4, равен объему газа, соответствующему точке 1. т. е.
и
Давление газа
Давление газа, соответствующее точке 2 на индикаторной диаграмме, определяется исходя из того, что процесс сжатия (кривая 12) адиабатный. Следовательно,
Так как v1/v2 = , то р2 = р]k где к показатель адиабаты.
Давление, соответствующее точке 3, определяется по формуле (2.2).
Тогда р3 = р2 или
. (2.4)
Давление, соответствующее точке 4, определяется из соотношения
тогда
и .
Следовательно,
но
,
поэтому
.
Или, учитывая формулу (2.4), получим
.
Температура газа
Температура, соответствующая точке 2 (см. рис. 2), определяется из выражения (1.15):
.
Тогда
. (2.5)
Температура, соответствующая точке 3, определяется из соотношения параметров р и Т при изохорном процессе (прямая 23), т. е. из выражения
.
Так как
,
то
или
. (2.6)
Температура, соответствующая точке 4, определяется по формуле
.
Так как v3 = v2, a v4 = v1 то
.
Учитывая формулу (2.6) и то, что v2/v, = 1/е, получим
. (2.7)
3.2. Определение внешней теплоты и работы цикла
Процесс, соответствующий кривой 12 на индикаторной диаграмме (см. рис. 2), является адиабатным. Поэтому для него q = 0.
В изохорном процессе (прямая 23) подводится теплота q1 величина которой определяется по формуле
.
Из формул (2.6) и (2.5) определим значения Т3 и Т2, получим
или
. (2.8)
Процесс, соответствующий кривой 34, также адиабатный и для него также q = 0.
В изохорном процессе (прямая 41) теплота отводится, количество отводимой теплоты определяется по формуле
или на основании формулы (2.7)
,
тогда
. (2.9)
Работа цикла определяется из выражения
.
Без учета коэффициента пропорциональности А, подставляя значения q1 и q2, получим
или
. (2.10)
3.3. Термический КПД цикла
Согласно определению
.
Подставляя вместо q2 и q1 выражения (2.9) и (2.8), получим
или
. (2.11)
Уравнение (2.10) показывает, что работа цикла тем больше, чем больше степень сжатия s и степень повышения давления .
Увеличение степени сжатия на одном и том же двигателе можно достигнуть, уменьшая объем камеры сгорания V2. Увеличение степени повышения давления можно осуществить путем увеличения количества подводимой теплоты q1.
Уравнение (2.11) показывает, что термический КПД цикла зависит только от степени сжатия и растет с его увеличением.
Однако увеличение степени сжатия ограничивается свойствами горючей смеси, состоящей из топлива и воздуха, которая способна воспламеняться без специального поджигания. Для этого достаточно, чтобы температура горючей смеси была равна температуре ее самовоспламенения.
В конце такта сжатия Т2 = Т1k-1, т. е. Т2 растет с увеличением . Поэтому, увеличивая , можно получить температуру вспышки раньше, чем поршень придет в ВМТ, что приведет к ненормальной работе двигателя и даже его поломке. Результатом такого ограничения является то, что у существующих бензиновых двигателей степень сжатия доходит лишь до 712 единиц.
Кроме того, анализ показывает, что при дальнейшем наращивании степени сжатия рост термического КПД замедляется.
Увеличение степени повышения давления влечет за собой увеличение максимального давления в цикле (так как в этом случае подводится большее количество теплоты q1). Это приводит к увеличению значений сил, действующих в кривошипно-шатунном механизме, что вызывает потребность в изготовлении более прочного двигателя, а значит и более тяжелого. Кроме того, возрастает максимальная температура цикла, а это приводит к росту термической напряженности двигателя.
Таким образом, термический КПД и работа двигателей, работающих по циклу Отто, ограничены значениями и . Поэтому двигатели, появившиеся в 80-х годах, нуждались в усовершенствовании. Однако карбюраторные двигатели, работающие по циклу Отто, получили широкое распространение. Они применяются на легковых и грузовых автомобилях.
4. Цикл с подводом теплоты при постоянном давлении
Степень сжатия в цикле может быть существенно повышена, если сжимать не горючую смесь, а чистый воздух, а затем в конце процесса сжатия ввести в цилиндр горючее вещество.
Именно на этом основан цикл Дизеля (названный по имени немецкого инженера Р. Дизеля, построившего в 1887 г. двигатель, работавший по этому принципу). Степень сжатия в двигателях с циклом Дизеля обычно достигает 1520 единиц.
В цилиндр двигателя засасывается чистый воздух, затем сжимается до тех пор, пока его температура не станет выше температуры самовоспламенения топлива. Такой температуры воздух должен достичь в конце хода поршня. Тогда в цилиндр через специальную форсунку подается распыленное жидкое топливо. У Дизеля это топливо подавалось к форсунке сжатым воздухом, который в свою очередь нагнетался компрессором под давлением 56 МПа. Распыляясь через форсунку, топливо воспламенялось в цилиндре и сгорало примерно при постоянном давлении, так как поршень в этот момент перемещался, объем увеличивался.
После прекращения подачи топлива продукты сгорания расширяются до тех пор, пока поршень не достигнет крайнего положения.
На рис. 3 показана индикаторная диаграмма поршневого ДВС с подводом теплоты при постоянном давлении. Кривая 12 соответствует процессу адиабатного сжатия, прямая 23 процессу подвода теплоты при постоянном давлении, кривая 34 процессу адиабатного расширения, а прямая 4 1 процессу отвода теплоты при постоянном объеме.

Рис. 3. Цикл поршневого ДВС с подводом теплоты
при постоянном давлении
Характеристиками цикла являются степень сжатия и степень предварительного расширения :
,
где v3 объем рабочего тела в конце подвода теплоты; v2 объем рабочего тела в начале подвода теплоты.
Двигатели, работающие по данному циклу, имеют от 12 до 20, а от 1,5 до 2,5.
Используя метод, применяемый при определении КПД и удельной работы в цикле Отто, в данном случае получим формулы для определения работы цикла:
(2.12)
и термического КПД:
(2.13)
Из формул (2.12) и (2.13) видно, что работа цикла увеличивается вместе с увеличением степени сжатия и количества подведенной теплоты, которая характеризуется степенью предварительного расширения , а термический КПД цикла увеличивается с увеличением степени сжатия . В то же время с увеличением (кривая 34, рис. 4) адиабата расширения будет уменьшаться, а значение температуры, при которой от газа отводится теплота, приблизится к Т3. Поэтому при увеличении уменьшается t цикла.

Рис. 2.4. Диаграммы циклов с изобарным подводом тепла,
имеющие различные степени предварительного расширения
Значение так же, как и не может меняться в таких широких пределах как значение , так как максимальная величина вполне определена количеством воздуха в камере сгорания. необходимого для сгорания соответствующего количества топлива.
Рост степени сжатия выше 1518 единиц в цикле Дизеля ограничивается увеличением расхода работы на преодоление сил трения в двигателе.
Известным недостатком двигателя Дизеля по сравнению с двигателем Отто является необходимость затраты работы на привод компрессора, большие габаритные размеры компрессорной установки и тихоходность, обусловленная медленным сгоранием топлива.
5. Цикл со смешанным подводом теплоты
Стремление обеспечить высокий термический КПД цикла в сочетании с большой работой цикла привело к созданию так называемого бескомпрессорного поршневого двигателя, где топливо подается не сжатым до 45 МПа воздухом, а механическим насосом под давлением свыше 30 МПа. Высокое давление обеспечивает хорошее распиливание топлива. Часть топлива, наиболее хорошо перемешанная с воздухом, быстро сгорает, практически при постоянном объеме, а часть топлива, которая не успела перемешаться с воздухом, горит медленнее, уже при движении поршня в сторону расширения, так что можно считать давление поршня постоянным.
Данный цикл был предложен в 1904 г. русским инженером Г.В. Тринклером.
Кривая 12 на рис. 5 соответствует процессу адиабатного сжатия, кривая 23 процессу подвода теплоты при постоянном объеме, прямая 34 процессу подвода теплоты при постоянном давлении, кривая 45 процессу адиабатного расширения газа, прямая 51 процессу отвода теплоты при постоянном объеме.
Характеристиками цикла являются:
.
Рис. 5. Цикл поршневого ДВС со смешанным подводом теплоты
Двигатели, работающие по данному циклу, имеют от 15 до 20; от 1,4 до 2,4; от 1,1 до 1,6.
В данном цикле удельная работа вычисляется по формуле
(14)
а КПД цикла по формуле
(2.15)
Анализ формулы (2.15) показывает, что термический КПД цикла со смешанным подводом теплоты зависит от всех трех параметров, т. е. от , и .
6. Сравнение различных циклов ДВС
Результаты исследований показывают, что при одинаковых степенях сжатия наиболее экономичен цикл с подводом теплоты при постоянном объеме, так как в этом случае подвод теплоты осуществляется при наиболее высокой температуре и сообщенная рабочему телу теплота обладает наибольшей работоспособностью.
При одинаковых степенях сжатия увеличение в цикле с подводом теплоты при постоянном объеме приведет к росту максимального давления цикла, а в цикле Дизеля этого не произойдет, так как = 1. Однако прирост максимального давления сопровождается большими нагрузками на детали кривошипно-шатунного механизма, что вызывает увеличение сил трения в механизме. Следовательно, увеличение , а вместе с ним и работы в цикле с подводом теплоты при постоянном объеме не всегда компенсируется более высоким t цикла.
Преимуществом циклов с подводом теплоты при постоянном давлении и со смешанным подводом теплоты являются более высокие степени сжатия. Поэтому циклы поршневых ДВС целесообразно сравнивать при одинаковых максимальных давлениях и одинаковых количествах подведенной теплоты. В этом случае цикл Дизеля будет обладать более высоким термическим КПД по сравнению с циклом Отто.
Так как смешанный цикл и цикл с подводом теплоты при постоянном давлении осуществляются с одинаковыми степенями сжатия, а максимальное давление у смешанного цикла оказывается больше (так как > 1), то и термический КПД смешанного цикла оказывается более высоким.
Контрольные вопросы
1. Дайте классификацию тепловых двигателей. В чем их отличие?
2. Объясните принцип действия четырехтактного ДВС, используя индикаторную диаграмму.
3. На какие группы по принципу работы делятся циклы ДВС?
4. От каких величин и как зависит работа и КПД цикла с подводом теплоты при постоянном объеме?
5. Что такое степень сжатия и степень повышения давления?
6. Почему в цикле с подводом теплоты при постоянном объеме ограничено увеличение степени сжатия и степени повышения давления?
7. От каких величин и как зависит работа и КПД цикла с подводом теплоты при постоянном давлении?
8. Что такое степень предварительного расширения?
9. Почему увеличение степени предварительного расширения приводит к уменьшению КПД цикла Дизеля?
10. В чем основной недостаток двигателя Дизеля?
11. Какие величины степеней сжатия используются в циклах Отто, Дизеля и Тринклера? У каких из них наиболее высокий КПД?
PAGE \* MERGEFORMAT 1
ТЕОРЕТИЧЕСКИЕ ЦИКЛЫ ДВС