ОРГАНІЗАЦІЯ ПРОТИПОЖЕЖНОГО ЗАХИСТУ, ПРОТИПОЖЕЖНА ПРОФІЛАКТИКА
|
НА ПОПЕРЕДНЮ СТОРІНКУ |
ТЕМА 6
ОРГАНІЗАЦІЯ ПРОТИПОЖЕЖНОГО ЗАХИСТУ, ПРОТИПОЖЕЖНА ПРОФІЛАКТИКА
Програмна анотація
1. Пожежі та причини їх виникнення.
2. Організація протипожежного захисту на виробництві.
3. Засоби пожежогасіння.
4. Пожежний звязок та сигналізація.
ОСНОВНІ ПОНЯТТЯ
|
Пожежа Горюча речовина Джерело запалювання Окислювач Температура займання Вогнестійкість будівельних конструкцій Пожежонебезпечна зона Протипожежна профілактика |
Пожежна безпека Час евакуації Первинні засоби пожежогасіння Ручний пожежний інвентар Вогнегасні засоби Вогнегасники Автоматична пожежна сигналізація
|
Рекомендована література: 6, 13, 14, 23, 28, 29, 36, 37, 41.

1. ПОЖЕЖІ ТА ПРИЧИНИ ЇЇ ВИНИКНЕННЯ
|
|
|
Пожежа неконтрольоване горіння поза спеціальним осередком, що завдає моральні і матеріальні збитки, а іноді призводить до загибелі людей.
недотримання правил пожежної безпеки;
необережне поводження з вогнем;
несправність електрообладнання;
аварії, катастрофи;

природні явища.
Горюча речовина тверда, рідка або газоподібна речовина, здатна окислюватись з виділенням тепла та випромінюванням світла.
Окислювач кисень, хлор, фтор, сірка та інші речовини, які при нагріванні або ударі мають здатність розкладатися з виділенням кисню.
Джерело запалювання вплив на горючу речовину та окислювач, що може спричинити загорання. Джерела запалювання поділяються на відкриті і приховані.
За відсутності одного з трьох факторів горіння не виникає
Пожежонебезпечні матеріали матеріали і речовини, які за своїми властивостями сприяють виникненню або поширенню пожежі.
Загорання виникнення горіння під дією джерела запалювання.
Спалах швидке згорання горючої суміші, що не супроводжується утворенням стислих газів.
Самозагорання - явище різкого збільшення швидкості екзотермічних реакцій, що призводить до виникнення горіння речовини.
Займання загорання, що супроводжується появою полум'я.
Самозаймання самозагорання, що супроводжується появою полум'я.
Вибух швидке перетворення речовини, що супроводжується виділенням енергії та утворенням фронту стислих газів.
Температура займання найменша температура речовини, при якій виникає стійке горіння.
За горючими властивостями речовини і матеріали поділяють на 3 групи:
1. Горючі - мають властивість самозагоратися, чи загоратися від джерела запалювання та самостійно горіти після видалення джерела запалювання;
2. Важкогорючі - можуть загоратися у повітрі від джерела запалювання, але не горять за відсутності джерела запалювання;
3. Негорючі - не можуть горіти в повітрі.
Вогнестійкість будівельних конструкцій властивість зберігати несучу і відгорожувальну функцію в умовах пожежі, год.
Вогнестійкість споруд визначається межею вогнестійкості основних будівельних конструкцій. Згораємі частини будівель не мають межі вогнестійкості.
Класифікація виробництв за пожежо- та вибухонебезпекою:
А вибухо- і пожежонебезпечні;
Б вибухо- і пожежонебезпечні;
В пожежонебезпечні;
Г у виробництві яких є розжарені негорючі матеріали або тверді, рідкі, чи газоподібні речовини, що спалюються при утилізації як паливо.
Д виробництва, де є незгораємі речовини у холодному стані,
Е вибухонебезпечні (за умовами технологічного процесу може статися лише вибух без наступного горіння).
Простір приміщення або його частина, де можуть утворитися вибухонебезпечні суміші, або знаходитись горючі матеріали називаються вибухо- або пожежонебезпечною зоною.
Вибухонебезпечні зони поділяються на 6 класів: В1, В1а, В1б, В1г, ВІІ, ВІІа; пожежонебезпечні на 4 класи: П-1, П-ІІ, П-ІІа, П-ІІІ.
2. ОРГАНІЗАЦІЯ ПРОТИПОЖЕЖНОГО ЗАХИСТУ НА ВИРОБНИЦТВІ
Відповідно до Закону України “Про пожежну безпеку” забезпечення безпеки підприємств, установ покладено на керівників або уповноважених ними осіб; їх обов'язки щодо забезпечення пожежної безпеки обумовлені статтею 5 цього Закону.
Обов'язки керівників підприємств та посадових осіб щодо пожежної безпеки:
1. Розробляти комплекс заходів щодо забезпечення пожежної безпеки на підприємстві, в установі, організації;
2. Відповідно до державних нормативних актів з пожежної безпеки розробляти і затверджувати положення, інструкції, інші нормативні документи, що діють у межах підприємства; здійснювати контроль за їх виконанням;
3. Організовувати навчання працівників щодо пожежної безпеки;
4. Утримувати у справному стані засоби протипожежного захисту і зв'язку, пожежну техніку, обладнання та інвентар, не використовувати його не за призначенням;
5. Здійснювати службове розслідування випадків пожеж.
Загальні вимоги пожежної безпеки:
Кожний працівник повинен знати правила поведінки при пожежі, шляхи евакуації, вміти користуватися первинними засобами пожежогасіння, знати місце їх знаходження.
Легкозаймисті та горючі рідини необхідно зберігати у спеціально відведених місцях окремо від інших матеріалів.
У разі виникнення пожежі працівники повинні негайно повідомити про це пожежну охорону за телефоном 01 та керівництво підприємства, і негайно розпочати ліквідацію пожежі всіма наявними засобами.
Державний пожежний нагляд
Комплекс технічних, експлуатаційних, організаційних і режимних заходів щодо відвернення пожеж розробляє і здійснює Державний пожежний нагляд. Представники органів Державного пожежного нагляду мають право перевіряти стан протипожежного захисту будівель, споруд, складів, вимагати відповідні документи та інформацію, притягувати до відповідальності осіб, винних у порушенні постанов, правил, норм, інструкцій з пожежної охорони, частково чи повністю забороняти роботу підприємства при наявності небезпеки виникнення пожежі.

Протипожежна профілактика комплекс організаційних і технічних заходів, спрямованих на забезпечення пожежної безпеки працівників, відвернення пожежі; створення умов для швидкого та ефективного гасіння пожежі.

Пожежна безпека стан обєкта, за якого з встановленою вірогідністю виключається: можливість виникнення і розвиток пожежі; дія на людей небезпечних факторів пожежі; забезпечується захист матеріальних цінностей.

Показником ефективності процесу евакуації є період часу, протягом якого люди можуть при необхідності залишити окремі приміщення і будинок взагалі.
Безпека евакуації досягається за умови, коли тривалість евакуації людей з окремих приміщень і будинку в цілому менша за критичну тривалість пожежі, яка становить небезпеку для людини.
Критична тривалість пожежі час досягнення небезпечних для людини температур і зменшення вмісту кисню у повітрі.
Правила поведінки людей при виникненні пожежі на обєктах:
У випадку виникнення пожежі необхідно викликати спеціалізовану пожежну частину за телефоном 01 та повідомити керівництво і персонал.
Здійснити необхідні заходи щодо гасіння пожежі власними силами.
Евакуювати людей і майно. У першу чергу евакуюють найбільш цінні та пожежонебезпечні матеріали.
У випадку, якщо неможливо погасити пожежу власними силами, потрібно якнайшвидше залишити приміщення через основні та запасні виходи.
Виходячи з приміщення, де виникла пожежа, потрібно щільно зачинити двері, щоб зменшити надходження кисню до приміщення.
Головна небезпека, від якої гинуть люди на пожежі дим і гаряче повітря, тому у задимленому приміщенні дихати потрібно тільки через мокру щільну тканину, памятаючи, що поблизу підлоги концентрація диму найменша.

3. ЗАСОБИ ПОЖЕЖОГАСІННЯ
Первинні засоби пожежогасіння розміщують на спеціальних щитах. Щити встановлюють так, щоб до найдальшої будівлі було не більше 100 м, а від сховищ з вогненебезпечними матеріалами не більше 50 м, або з розрахунку один щит на 5000 м2.
Засоби пожежогасіння фарбують у сигнальний червоний колір, а надписи на них та на щитах роблять контрастним білим кольором.
Вогнегасні засоби
Вода. Основний ефект гасіння охолодження горючих предметів нижче температури горіння. Недоліки гасіння водою: замерзання води при відємних температурах; вода не гасить горючі рідини з температурою кипіння нижче 80°С; спричиняє значні збитки для обладнання та будівель; при гасінні електрообладнання можливе враження електричним струмом; погано змочує деякі волокнисті і тверді речовини, тому при їх гасінні водою ефект відсутній.
Піна буває хімічна та повітряно-механічна. Хімічна піна складається з бульбашок вуглекислого газу, повітряно-механічна містить бульбашки повітря. Вогнегасна дія піни охолодження верхнього шару та ізоляція горючих предметів від атмосферного повітря. Піна не застосовується для гасіння електрообладнання під напругою та таких активних речовин як калій, натрій, сірковуглець, з якими вона вступає в реакцію.
Вуглекислота (СО2) використовується, в основному, для гасіння електроустановок. Вуглекислотою не можна гасити етиловий спирт, в якому вона розчиняється, а також целулоїд, терміт, що горять без доступу повітря. При гасінні вуглекислотою у закритих приміщеннях концентрація СО2 зростає, що небезпечно для життя.
Порошки. Порошкова хмара створює захист від теплового випромінювання, тому пожежу можна гасити без спеціальної захисної одежі. При потраплянні порошків на розжарені предмети відбувається розклад солей та виділення негорючих газів, що підсилює вогнегасну дію порошку. Проте, в закритих приміщеннях при гасінні порошками створюється висока запиленість повітря, порошки також мають слабкий охолоджуючий ефект, що може призвести до повторного загорання.
Вогнегасники
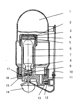
Вогнегасник хімічний пінний ВХП-10
|
|
|
1 корпус; 2 стакан; 3 клапан; 4 шайба упорна; 5 пружина; 6 сприск; 7 кільце ущільнювальне; 8 кришка;
9 шток; 10 важіль запуску; 11 ручка.
Щоб привести вогнегасник у дію, необхідно:
проколоти мембрану та прочистити отвір сприску,
повернути ручку на 180°,
перевернути вогнегасник уверх дном та злегка струснути.
Тривалість дії вогнегасника 60 с, довжина струменю 6-8 м.
|
|
|
Вуглекислотні вогнегасники ВВ-2 та ВВ-5
1 корпус; 2 трубка сифонна; 3 головка; 4 запобіжна мембрана; 5 гайка; 6 розтруб; 7 шайба; 8 кільце ущільнювальне; 9 запобіжна чека; 10 важіль керування клапаном; 11 ручка; 12 кулачок; 13 шток; 14 клапан; 15 пружина.
Місткість вуглекислотних вогнегасників ВВ-2 та ВВ-5 2 і 5 л відповідно, заповнені вони зрідженим діоксидом вуглецю (СО2) під тиском 7 МПа. Застосовуючи вогнегасник, необхідно направити розтруб на осередок горіння і відкрити вентиль. Ефективна довжина струменю 1,5-З м, тривалість дії 30-40 с.
|
|
|
Ручний порошковий вогнегасник ВП-1 “Момент”
1 корпус; 2 кришка стакана; 3 сітка; 4 фільтр;
5 прокладка гумова; 6 стакан; 7 балон з робочим газом; 8 пружина; 9 голка;10 кронштейн; 11 гайка накидна; 12 ковпачок; 13 розпилювач; 14 кнопка; 15 головка; 16 шайба ущільнювальна; 17 кільце ущільнювальне.
Як вогнегасний засіб використовується порошок П-1А. Для викиду порошку в корпусі вогнегасника встановлений вуглекислотний балончик типу АС-1.
Щоб привести вогнегасник у дію необхідно: зняти ковпачок (12); головкою в кришці вогнегасника (14) ударити по твердому предмету; направити струмінь порошку на горючий предмет. Тривалість безперервної дії до 10 с.
У будівлях вогнегасники встановлюють поблизу пожежних кранів у шкафчиках, а також на видних та в доступних місцях на висоті 1,5 м від підлоги.
4. ПОЖЕЖНИЙ ЗВЯЗОК ТА СИГНАЛІЗАЦІЯ
Для звязку при пожежі використовують телефон, радіо, радіотелефон, установки автоматичного і напівавтоматичного звязку. Для попередження людей у приміщеннях може використовуватися спеціальна система звязку, внутрішня радіотрансляційна мережа, а також звукові сигнали оповіщення.
Автоматична система сигналізації
Основними складовими систем автоматичної сигналізації є: датчики, що монтуються в будинках або на території об'єктів і призначені для подачі сигналу при пожежі; приймальні апарати (станції), що забезпечують прийом сигналів від датчиків; лінії комунікацій, що зєднують датчики з приймальними апаратами; джерела електропостачання.
Схема з'єднування датчиків з диспетчерською станцією
|
|
|
А) променеве сполучення, Б) кільцеве сполучення;
1 - приймальна станція; 2 лінії сполучення; 3 датчики.
За принципом дії датчики поділяються на:
теплові,
димові,
світлові,
комбіновані.
Теплові датчики реагують на підвищення температури довкілля та поділяються на: максимальні, що спрацьовують при підвищенні температури до встановленого критичного значення;диференційні, що спрацьовують при підвищенні температури довкілля з певною швидкістю; максимально-диференційні.
Димові датчики поділяються на іонізаційні і фотоелектричні. Димові датчики не можна встановлювати в приміщеннях з температурою повітря нижче - 30°С і вище 60°С, відносною вологістю вище 80%, а також у дуже запилених приміщеннях і місцях, де можуть бути пари кислот.
Світлові датчики реагують на ультрафіолетове чи інфрачервоне випромінювання.
Комбіновані датчики побудовані на принципах спрацьовування теплових і димових датчиків.
|
|
|
КОНТРОЛЬНІ ЗАПИТАННЯ
1. Назвіть основні причини виникнення пожеж.
2. Які складові потрібні для процесу горіння?
3. Поясніть суть процесів: загорання, спалах, самозагорання, займання, самозаймання, вибух.
4. Охарактеризуйте матеріали і речовини за горючими властивостями; дайте визначення температури займання.
5. Поясніть важливість вогнестійкості будівель і споруд.
6. Як класифікуються виробництва за пожежо- та вибухонебезпекою?
7. Охарактеризуйте пожежонебезпечні зони та їх поділ на класи.
8. Розкажіть про основні положення Закону України “Про пожежну безпеку”.
9. Які обовязки покладаються на керівника підприємства та посадових осіб щодо пожежної безпеки?
10. Які загальні вимоги щодо пожежної безпеки?
11. Які заходи належать до пожежно-профілактичних?
12. У чому суть пожежної профілактики споруд та будівель?
13. Чим визначається ефективність евакуації людей?
14. Назвіть основні правила поведінки людей при виникненні пожежі.
15. Що належить до первинних засобів пожежогасіння?
16. Охарактеризуйте дію вогнегасних засобів.
17. Опишіть будову та принцип дії хімічного пінного, вуглекислотного та порошкового вогнегасників.
18. У чому суть автоматичної пожежної сигналізації?
За яким принципом встановлюють датчики автоматичної пожежної сигналізації?
ОРГАНІЗАЦІЯ ПРОТИПОЖЕЖНОГО ЗАХИСТУ, ПРОТИПОЖЕЖНА ПРОФІЛАКТИКА





