Разрезы. Сечения
Лекция 12
Разрезы. Сечения.
Введение
Разрезы и сечения применяются для изображения внутренних, невидимых наблюдателю, поверхностей предметов. Для выявления этих поверхностей применяют искусственный прием, заключающийся в том, что предмет условно рассекают плоскостью, называемой секущей, и удаляют часть предмета, находящуюся перед секущей плоскостью. Таким образом становятся видимыми внутренние очертания предмета.
Разрезом называется изображение предмета, мысленно рассеченного одной или несколькими плоскостями. На разрезе изображается то, что получается в секущей плоскости в результате её пересечения с поверхностями предмета (сечение, входящее в состав разреза) и что расположено за ней.
Сечение представляет собой изображение плоской фигуры, получающейся в секущей плоскости при мысленном рассечении предмета.

Рис. 12.1
На рис 12.1. показано образование разреза детали. Для выяснения внутренней формы деталь целесообразно рассечь фронтальной секущей плоскостью, походящей через выемки, расположенные в основании этой детали. Сечение получено в результате пересечения этой плоскости с поверхностями, ограничивающими деталь. Оно представляет собой плоский контур (два прямоугольника), заштриховано и отмечено надписью «сечение».
На рис 12.1. изображены передняя, находящаяся перед секущей плоскостью, мысленно удаляемая и оставшаяся (проецируемая) часть детали. Разрез расположен на фронтальной плоскости проекции, параллельно секущей плоскости и представляет собой ортогональную проекцию оставшейся части детали. Для получения неискаженных изображений секущая плоскость всегда должна быть параллельна плоскости изображения. Если секущая плоскость не параллельна плоскости изображения (наклонные разрезы и сечения), для достижения параллельности следует применять способы преобразования чертежа.
Мысленное рассечение предмета секущей и плоскостью относятся только к данному разрезу и не влечет за собой изменения других изображений (видов, разрезов) того же предмета. Так, на рис. 12.1. виды сверху и слева не изменились от того, что на месте главного вида выполнен разрез.
Для выяснения внутренней формы детали выполним ещё один разрез, изображенный на рис. 12.2а. Этот разрез выполняется независимо от первого новой секущей плоскостью (профильной), проходящей через ось цилиндрического отверстия. Разрез расположен на профильной плоскости проекции, параллельно секущей плоскости. На рис. 12.2б выполнен чертеж детали с рассмотренными выше разрезами.

Рис. 12.2а, б
Классификация разрезов
В зависимости от секущей плоскости относительно горизонтальной плоскости проекций разреза разделяются на горизонтальные, вертикальные и наклонные.
Горизонтальными разрезами называются разрезы, выполненные горизонтальной секущей плоскостью (см. рис. 12.4)
Вертикальными разрезами называются разрезы, выполненные секущей плоскостью, перпендикулярной горизонтальной плоскости проекций. Если вертикальный разрез выполнен фронтальной секущей плоскостью, его называют фронтальным; профильной секущей плоскостью профильными.
Наклонными называются разрезы, у которых секущая плоскость составляет с горизонтальной плоскостью проекций, угол отличный от прямого (рис. 12.5).
В зависимости от числа секущих плоскостей разрезы разделяются на простые и сложные. Простые разрезы выполняются одной секущей плоскостью, сложные несколькими.
Разрезы делятся на продольные и поперечные в зависимости от положения секущей плоскости относительно измерений самого предмета.
Продольными называются разрезы, секущие плоскости которых направлены вдоль длины или высоты предмета (см. рис.12.5).
Поперечными называются разрезы, у которых секущие плоскости направлены перпендикулярно к длине или высоте предмета (см. рис. 12.6).
12.1 Обозначения разрезов
Положение секущей плоскости на чертеже указывают линии сечения. Для горизонтальных разрезов линии сечения указываются на главном виде или виде слева, для фронтальных на виде сверху и слева; для профильных на главном виде и виде сверху. Для линии сечения применяется разомкнутая линия толщиной от S до 1,5S (см. ГОСТ 2.303-68).
Для простых разрезов вычерчиваются начальный и конечный штрихи (рис. 12.2), а для сложных начальный, у перегибов и конечный штрихи (рис. 12.12). Начальный и конечный штрихи линий сечения не должны пересекать контур соответствующего изображения. На этих штрихах перпендикулярно к нам следует ставить стрелки, указывающие направление взгляда. Стрелки находятся на расстоянии 2-3 мм от конца штриха (рис. 12.3)

Рис. 12.3.
У начала и конца линии сечения, а при необходимости и у перегибов этой линии (для сложных разрезов), ставят одну и ту же прописную букву русского алфавита.
Буквы наносят около стрелок, указывающих направления взгляда, и в местах перегиба (в случае необходимости) со стороны внешнего угла, образованного линией сечения и стрелкой. Располагают их параллельно основной подписи чертежа.
Разрезы простые и сложные отмечаются надписью типа «А-А», теми же буквами, что и у линии сечения, написанными над разрезом через тире. Их располагают параллельно основной надписи чертежа.
Если секущая плоскость совпадает с плоскостью симметрии предмета в целом (его наружной и внутренней формой) и соответствующие изображения расположены на одном и том же месте в непосредственной проекционной связи и не разделены какими-либо другими изображениями, на простых горизонтальных, фронтальных и продольных разрезах не отмечают положение секущей плоскости и разрез надписью не сопровождают.
Примеры разрезов, не требующих надписей, приведены на рис. 12.6.
12.2 Простые разрезы
Горизонтальные разрезы. Горизонтальные разрезы могут быть расположены на месте видов сверху или снизу в том случае, если эти виды не нужны для выяснения формы наружных очертаний предметов. Если эти виды необходимы, горизонтальный разрез следует располагать на свободном месте поля чертежа в соответствии с направлением, указанным стрелками. В этом случае должно быть отмечено положение секущей плоскости и надписан разрез.
Так, на рис. 12.4 вид сверху необходим для выяснения формы верхнего профиля детали, поэтому горизонтальный разрез помещен на свободном месте поля чертежа и надписан (А-А).

Рис. 12.4
На рис. 12.5 горизонтальный разрез расположен на месте вида сверху, что не нарушило представления о наружной форме детали и дало возможность выполнить чертежи с наименьшим количеством изображений.

Рис. 12.5
Из чертежа видно, что фронтальная проекция секущей плоскости (линия сечения А-А) не является осью симметрии изображения. В этом случае положение секущей плоскости следует отметить и над разрезом сделать надпись, что и выполнено на рис. 12.5.
Вертикальные разрезы. Фронтальные разрезы могут быть расположены на месте главного вида. В том случае, если этот вид является необходимым для выяснения формы наружных очертаний предмета, разрезы помещают на свободное место поля чертежа.

Рис. 12.6
Выполненный на рис. 12.6 фронтальный разрез помещен на месте главного вида. Положение его секущей плоскости не отмечено, и сам разрез не надписан, так как в данном случае секущая плоскость совпадает с плоскостью симметрии детали, а разрез расположен в непосредственной проекционной связи с остальными изображениями.
Для выяснения формы детали, изображенной на рис. 12.7, выполнено два профильных разреза. Разрезы расположены на месте вида слева (Б-Б) и вида справа (А-А).

Рис. 12.7
Наклонные разрезы. Вертикальный разрез, когда секущая плоскость не параллельна фронтальной или профильной плоскости проекций, а также наклонный разрез должны строиться и располагаться в соответствии с направлением, указанным стрелками на линии сечения (рис. 12.8).

Рис. 12.8
При выполнении вертикального разреза детали, изображенной на рис. 12.8 для получения неискаженного сечения фронтальную плоскость П2 заменяют дополнительной плоскостью, которая перпендикулярна к горизонтальной плоскости проекций П1 и параллельна секущей плоскости, отмеченной линией сечения А-А.
Подобные разрезы, а так же наклонные допускается располагать с поворотом до положения, соответствующего принятому для данного предмета на главном изображении. В этом случае к надписи добавляется знак «…», означающий повернутое изображение.

Рис. 12.9
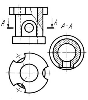
На рис. 18.9 изображен корпус подшипника, наклоненный к горизонтальной плоскости проекций. Для выявления его формы целесообразно выполнить наклонный разрез фронтально-проецирующей плоскостью (линия сечения А-А).
Наклонный разрез помещен на свободном месте поля чертежа и надписан. Секущая плоскость разрезает одно ребро детали вдоль длинной стороны, оно не заштриховано.
18.3 Совмещение вида с разрезом
Для уменьшения количества изображений целесообразно во многих случаях соединять часть вида и часть соответствующего разреза. Это сочетание даёт возможность при наименьшем количестве изображений получить исчерпывающее представление о внешней и внутренней форме изображенного предмета.
Соединение части вида с частью соответствующего разреза выполняется на изображениях, расположенных на местах основных видов (в проекционной связи). Часть вида и часть соответствующего разреза допускается соединять, разделяя их сплошной волнистой линией. Такое соединение выполняется для несимметричных фигур (рис. 12.7).
Если соединяются половина вида и половина разреза, каждый из которых является симметричной фигурой, разделяющей линией служит ось симметрии - штрихпунктирная тонкая линия. Разрезы рекомендуется располагать справа и снизу от оси симметрии.

Рис. 12.10
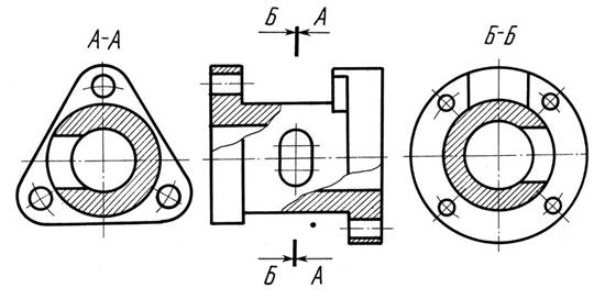
Для выявления наружных и внутренних очертаний детали, изображенной на рис. 12.10 разрезы выполнены в соединении с соответствующими видами, что обусловлено формой данной детали. На представленных изображениях соединяются половина вида и половина разреза, каждый из которых есть симметричная фигура, свидетельством чему являются оси симметрии всех изображений.
На половине вида не следует проводить штриховых линий проекции внутренних очертаний предмета (они изображены на разрезе), а на половине разреза не следует повторять штриховыми линиями изображения наружных очертаний предмета так, как они показаны на половине вида.

Рис. 12.11
Если линия оси симметрии изображения совпадает со сплошной основной линией, принадлежащей проекции предмета (например, ребра), следует соединять части вида и разреза, разделяя их сплошной волнистой линией. Эту линию можно проводить справа (рис. 12.11а) или слева (рис. 12.11б) ось фронтальной проекции ребра в зависимости от того, что необходимо показать на виде и на разрезе.
12.4 Сложные разрезы
Выполнение сложных разрезов дает возможность уменьшить количество изображений, так как на одном изображении при помощи нескольких секущих плоскостей можно выявить внутреннюю форму предмета в разных его местах.
В зависимости от взаимного положения секущих плоскостей сложные разрезы делятся на ступенчатые и ломаные.
Ступенчатые разрезы выполняются параллельными секущими плоскостями. Они могут быть горизонтальными, фронтальными, профильными и наклонными.
На рис. 12.12а изображен фронтальный ступенчатый разрез детали, выполненный двумя фронтальными секущими плоскостями. При построении разреза секущие плоскости совмещаются в одну плоскость, параллельную плоскостям изображения. На разрезе не отображается то, что он выполнен несколькими секущими плоскостями.

Рис. 12.12
Переход от одной секущей плоскости к другой осуществляется плоскостью, перпендикулярной к секущим плоскостям, так называемой плоскостью перехода. В некоторых случаях переход от одной секущей плоскости к другой выполняют плоскостью, проходящей по оси симметрии отверстия, как это показано на рис. 12.12б. На рис. 12.12в выполнен наклонный ступенчатый разрез.
Ломаные разрезы выполняются пересекающимися секущими плоскостями (их линия сечения является ломаной линией).
Для получения неискаженных изображений секущие плоскости этих разрезов способом вращения вокруг проецирующих прямых (линии пересечения секущих плоскостей) совмещаются в одну плоскость, параллельную плоскости изображения. Если совмещенные секущие плоскости окажутся параллельными одной из основных плоскостей проекций, ломаный разрез помещают на месте соответствующего вида. Выбор плоскости совмещения зависит от заданных условий (конструктивных особенностей предмета, удобства размещения и т.д.)
На рис 12.13 изображен ломаный разрез, образованный двумя пересекающимися горизонтально-проецирующими плоскостями, одна из которых фронтальная. Для построения разреза левую секущую плоскость вместе с расположенным в ней сечением поворачивают вокруг линии её пересечения с фронтальной секущей плоскостью до совмещения с последней.

Рис. 12.13
В данном примере направление совмещения секущей плоскости (поворота) совпадает с направлением взгляда, указанного стрелкой на линии сечения (у буквы А).
Направление взгляда может и не совпадать с направлением поворота секущих плоскостей до совмещения их в одну плоскость, как это выполнено на рис. 12.14, где направление совмещения и стрелки у буквы А противоположны.
При построении ломаных разрезов следует обращать внимание на изображение элементов предмета, расположенных за секущей плоскостью, которые при выполнении разреза поворачивать не следует. Так спроецирован выступ детали на рис. 12.13, расположенный за секущей горизонтально-проецирующей плоскостью, он не участвует в повороте.

Рис. 12.14
12.5 Местный разрез
Местным разрезом называется разрез, служащий для выяснения устройства предмета лишь в отдельном, ограниченном месте. Местные разрезы применяются в тех случаях, когда для выяснения внутренней формы предмета целесообразно показать разрез лишь на некоторой части проекции, вскрывая интересующие нас выемки, отверстия и т.д.
Местный разрез выделяется на виде сплошной волнистой линией. Эта линия не должна совпадать с какими-либо другими линиями изображения. На рис. 12.9 для изображения цилиндрических отверстий детали выполнены местные разрезы. На чертежах местные разрезы не обозначаются.
12.6 Сечения
Для изображения большой группы деталей применяются нормальные сечения, которые изображаются самостоятельно, т.е. не входят в состав разреза. Такие сечения в большинстве случаев выявляют форму предметов в их поперечных измерениях.
Сечением называется изображение, полученное при мысленном пересечении предмета одной или несколькими плоскостями.
В сечении показывают лишь то, что получается в секущей плоскости. Часть предмета, находящуюся за этой плоскостью в сечении не изображают. Следовательно, для получения сечения нужно:
а) в определённом месте детали провести секущую плоскость;
б) фигуру, полученную в сечении повернуть в положение, параллельное плоскости проекций;
в) на свободном месте поля чертежа вычертить сечение и, в случае необходимости, оформить его надписью.
12.6.1 Классификация сечений
Сечение, как разрез, - изображение условное. Условность заключается, во-первых, в том, что секущую плоскость проводят мысленно, а во-вторых, - в том, что фигура, образованная в сечении, отдельно от предмета не существует: её мысленно отрывают и изображают на свободном месте поля чертежа.
Сечения разделяют на входящие в состав разреза и существующие как самостоятельные изображения. Последние, в свою очередь, разделяются на вынесенные и наложенные.
Сечение называют вынесенным, если оно выполнено отдельно от основного изображения. Их допускается располагать в разрыве между частями одного и того же вида. Вынесенные сечения предпочтительнее наложенных, которые затемняют чертежи. Вынесенные сечения обводят сплошной основной линией и заштриховывают под углом 45° к основной надписи чертежа.
Правила и обозначения линии сечения, т.е. следа секущей плоскости, те же, что и для разрезов.
Рассмотрим некоторые случаи выполнения вынесенных сечений:
1. Сечение представляет собой симметричную фигуру, размещенную на продолжении следа секущей плоскости. В этом случае линию сечения, совпадающую с осью симметрии самого сечения, изображают тонкой штрихпунктирной линией без обозначения буквами и стрелками (рис. 12.15а). Так же выполняют симметричные сечения, располагаемые в разрыве между частями самого изображения (рис. 12.15в)

Рис. 12.15.
2. Сечение представляет несимметричную фигуру, размещенную на свободном месте поля чертежа. В этом случае линию сечения обозначают и само сечение подписывают (рис. 12.16)

Рис. 12.16.
3. Сечение располагают на месте вида слева в непосредственной проекционной связи (рис. 12.17)

Рис. 12.17.
Наложенным сечением называется сечение, расположенное непосредственно на виде предмета. Контур наложенного сечения изображают сплошными тонкими линиями, причем контур изображения в месте расположения наложенного сечения не прерывают (рис. 12.15б). если фигура сечения симметрична положение секущей плоскости указывают штрихпунктирной тонкой линией без обозначения буквами и стрелками и линию сечения не проводят (рис. 12.15б)
Во всех остальных случаях для линии сечения применяют разомкнутую линию с указанием стрелками направления взгляда, обозначают её одинаковыми прописными буквами русского алфавита. Сечение сопровождают надписью по типу «А-А»; размеры букв, величина стрелок и другие данные такие же, как и для разрезов.
Построение и расположение сечения должно соответствовать направлению, указанному стрелками. Допускается располагать сечение на любом месте поля чертежа.
Для несимметричных сечений, расположенных в разрыве (рис. 12.18а) или наложенных рис. (12.18б), линию сечения проводят со стрелками, но буквы не обозначают.

Рис. 12.18.
Для нескольких одинаковых сечений, относящихся к одному предмету, линию сечения обозначают одной буквой и вычерчивают одно сечение (рис. 12.17).

Рис. 12.19.
Если секущая плоскость проходит через ось поверхности вращения, ограничивающей отверстие или углубление, контур отверстия или углубление показывают полностью как на разрезе (рис .12.19.). На этом чертеже контур призматического отверстия (шпоночного паза) показан не полностью, а контур цилиндрических отверстий и конического углубления полностью.

Рис. 12.20.
Если секущая плоскость проходит через некруглое отверстие и сечение состоит из отдельных самостоятельных частей, следует применять разрезы (рис. 12.20). При необходимости допускается в качестве секущей применять цилиндрическую поверхность, развертываемую затем в плоскость (рис. 12.21.)

Рис. 12.21.

Рис. 12.22.
12.6.3 Наклонные сечения
Секущие плоскости могут быть направлены по отношению к плоскостям проекций под различными углами. В этом случае допускается располагать сечения с поворотом, добавляя соответствующий знак
, означающий, что изображение повернуто (рис. 12.22а).
Если на чертеже несколько секущих плоскостей, наклоненных под
разными углами, то знак
не наносят (рис. 12.22б).

Рис. 12.22.
Секущие плоскости следует выбирать, чтобы получать нормальные поперечные сечения. Если элементы предмета наклонены к плоскостям проекций, секущие плоскости для получения нормальных сечений располагают перпендикулярной к этим элементам (рис. 12.23)

Рис. 12.23
Разрезы. Сечения