Автоклік ксіпорындарындаы тазарту жабдытары
№6 дріс Таырыбы: «Автоклік ксіпорындарындаы тазарту жабдытары»
6.1. Жалпы мліметтер мен сыныпталуы
Автомобильдерге техникалы ызмет крсету жне жндеу жмыстарын жргізудегі олданылан су оршаан ортаа аса зиянды саналатын оыстармен ластанады. Жк автомобильдерін жуан алды суды 3000 мг/л, автобустарда 1 600 мг/л, жеіл автомобильдерде 700 мг/л дейін алды заттар болады. Мнай німдеріні млшері сйкесінше 900; 850 жне 75 мг/л райды.
Ластануды е лкен шоыры автомобиль жндеу ндірісіне тн. Жуу жмыстарында ПАВ негізіндегі синтетикалы жуу ралын олдану автомобиль мен оны рамдас блшектерін тазарту сапасы мен ебек жне мдени німділігін арттырады. Біра синтетикалы жуу ралдарын олдану рамы зиянды, эмульсия мен суспензия лесі кп алды суларды пайда болуына келеді. Аынды ондырысында 7-10 кндей олданыста болан жуу ерітіндісі з асиетін жоалтады жне ауыстыруды талап етеді.
Санитарлы норма талаптарына сйкес жуу ондырыларында пайдаланылан суды арнаа (канализацияа) тгуге болмайды. Экономикалы жне экологиялы масаттар шін суды тередете тазартып, жуу жмыстарына айта пайдалануа беріледі.
Техникалы ызмет крсету станциясы, автоклік ксіпорындары мен сіресе автомобильге жндеу жмыстарын жргізу арастырылан ксіпорындарындаы алды суларды тазарту келесідей негізгі 3 баытта шешілуді талап ететін мселе:
- су мен химиялы заттарды тиімді пайдаланатын; оршаан ортаа алды шыармай шін, бірнеше рет олдануа болатындай ерітінділерді айта деу нмесе тгілетін алды млшерін минимальды шамаа дейін азайтатын технологиялы жабдытау ралын жасап шыару;
- р трлі технологиялы процестерде суды пайдалануа ммкіндік беретін тйыталан, алдысыз су олдану жйесін жасау;
- тйыталан су олдану жйесін жобалау жне слбесін тадау шін келесі жадайларды негізге ал: техникадаы ласты рамы мен ерекшелігіні сараптамасы, алдытар мен пайдаланылан ерітінділерді рамы мен ерекшеліктеріні сараптамасы, алдытардан тазарту жне ерітінділерді айта деу ондырылары мен тсілдері, тазалау жабдытары мен ондырылары.
Жуу ерітіндісінде жиналан лас трлерін екі топа блуге болады: кбінесе минералды майшытар болып табылатын атты жне сйы ластанулар. Жуу ерітіндісіндегі атты лас трі суспенция (лайса) трінде, сйы - эмульсия (майшы) трінде кездеседі. Ластанан жуу ерітінділері тндыу, центрифугалау, фильтрлеу, флотациялау, химиялы жне электрохимиялы каогуляция жне т.б. дістермен тазартылады.
Тазарту жабдытарын тазартуа олданылатын аын суларыны млшері мен сипатына, жергілікті шарттарды, тазарту дрежесін негізге ала отырып тадайды. Тазарту жабдытарын жобалаанда СПиН 2.04.02.-84 «Канализация. Сырты жйелер мен жабдытар» жне СНиП 2.04.02.-84 «Сумен амтамасыз ету. Сырты жйелер мен жабдытар» -да келтірілген сыныстарды олданан жн.
6.2. Жуу ерітінділерін тазарту тсілдері
Тндыру. Тндыру кезінде ласты атты блшектері резервуар тбіне шгеді, ал сйы блігі бетіне алып шыады. Ласжинауыштар конструкциялы жаынан шыл монолитті бетонды райды.монолитті бетондарды тпкі блігі ткерілген пирамида тріздес немесе биіктігі жылалы абат дегейінен тмен жне арнайы шыла орантылан метал контейнерле трінде жасалады. Бірінші жадайда ласжинауыштарды тазартуа арапайым бріпалмалы (грейферные) жне арнайы пневматикалы рылылар олданылады. Контейнерлер олдананла оларды арнайы жк ктеруші ондырыларыны кмегімен рі сенімді армап стайтын рылылармен жабдытайды. Контейнерлерді лшемі мен клемі автомобиль кузовын тасымалдау шін онымен сйкес болуы тиіс. Процесс арындылыына сер ететін резервуар тередігін жне сыйымдылыын дрыс тадау тндыру арылы тазалау ондырыларын жобалаудаы негізгі тапсырма болып табылады.
Лас блшектерді тну уаытын ,са Стокс формуласыны кмегімен анытауа болады:
(6.1)
мнда резервуар тередігі, м; жуу ерітіндісіні динамикалы ттырлы коэффициенті, м-1 кг с-1 ; лас блшектерді диаметрі, м; лас блшектер мен жуу сйытыыны тыыздытарыны айырымы, кг/м3 ; еркін тсу деуі, м/с2.
(6.1) туелділігін сараптай отырып, келесідей орытынды жасауа болады: Лас блшектерді белгілі бір тередікке тну уаыты блшектерді диаметріні квадратына кері функция болып табылады. Блшектерді лшемі регламенттелмейді, сондытан жуу ерітіндісіні тиімді тнуы шін тередігі аз жне айнасыны ауданы лкен резервуарды болуы шарт.
Бетіне алып шыатын майлы ластанулар да дл осы тсілмен тазартылады. атты ластардан тазартудан айырмашылыы тндыры жмысын сипаттаушы негізгі шама тну жылдамдыы емес, керісінше алып шыу жылдамдыы болып табылады.
Ортадан тепкіш тазарту. Тазарту процесін жеілдетуге табии тндыруды ортадан тепкіш рістегі белсенді тазартуа ауыстыруды тигізетін сері зор. Ортадан тепкіш тазартуды тиімділігі ортадн тепкіш кш деуіні еркін тсу деуінен неше есе арты екендігін крсететін, центрифуганы айыру факторымен бааланады. Зерттеулерде табии тндыру мен центрифугалауда жуу ерітіндісінде ласты майда бліктері алатындыы жне оларды тазарту сапасын тмендететіндігі длелденген. Егер осындай лас блшектерді белгілі бір концентрациясы жиналса, ерітіндіні айта олдану масатында деуге келмейді. Сондытан жуу ерітінділерін ортадан тепкіш тазарту тсілін тнан алдытарды тазартуды механикаландыру ралы ретінде растыру керек.

6.1-сурет. Тегеурінді (а) жне тегерінсіз (б) гидроциклондар слбесі: 1 а немесе оыс тесігі; 2 гидроциклонны конусты блігі; 3 гидроциклонны цилиндрлі блігі; 4, 6 аызу бырлары; 5, 9 шыаберіс ештері; 7 саиналы су аызыш; 8 мнай німдерін сзіп алуа арналан жзбелі шы; гидроциклон диаметрі, сйкесінше оректенуші жне аызушы ештерді диаметрі.
Ортадан тепкіш тазалау жмыстарына гидроциклон деп аталатын арапайым рылы олданылады. Гидроциклон екі негізгі бліктен трады: фланецтермен жаланан цилиндрлі 3 жне конусты бліктер. Тегеурінді гидроциклондара ластанан жуу жуу ерітіндісі немесе пульпа сорап ысымымен немесе цилиндрлік блікке жанама баытталан сйы аыны арылы беріледі. Ерітіндіні айналмалы озалысы кезінде ласты ауырлау блігі конусты жоары блігіне арай ыысып, а немесе оыс тесіктері арылы шыарылады. Ал жеіл бліктері арама-арсы баытта жылжи отырып, аызу бырына 4 кетеді.
Тегеурінді гидроциклондар аын суларды крделі дисперсті оыстардан блуге олданылады. ндірісте трлі лшемді тегеурінді гидроциклондар шыарылады. Шала шарпы (грубая) тазарту жмыстары шін лкен диаметрлі гидроциклондар олданылады. Аын суларды тередете тазарту масатында трлі алыптасан лшемді гидроциклондарды тізбектей жаланан слбесі олданылады. Жуу ерітіндісінде тек атты ана емес, сонымен атар сйы лас трлері болатыны белгілі. Оларды тазартуда жуу ерітіндісін келесі 3 фракцияа (блікке) блеміз: атты, сйы жне тазартылан жуу ралы. Мндай шнімділікті деп аталатын гидроциклондар екінімділікті гидроциклондар секілді растырылан. Айымашылыы, шнімділікті гидроциклондарда сйы фракцияларды шыару шін екі шоырлана ештер олданылады, ішкі еш те жеіл блігі шін, сырты еш тпелі болып саналады. Тегеурінді гидроциклондарды есептеуде жиналан блшектерді лкендігі мен оларды тыыздыына туелділігін ескереді. Гидроциклондар жне жиналан блшектерді диаметрлері сынылады. Тегеурінлі гидроциклондарды негізгі лшемдері жасап шыарушы зауыт мліметтерінен алынады
Фильтрлеу. Фильтреу жуу ерітінділерін кеуекті аралытардан ткізу арылы тазартатын, гидродинамикалы процесс. Оны жылдамдыы аралытарды екі жаында пайда болан ысым айырмасына тура пропорционал жнесйыты кеуекті аралытарымен озалысы кезіндегі сйыа сер етуші арсылыа кері пропорционал. Фильтрлеуші материал ретінде кварцты м, иыршыты тас, гранитті шаылтас, антрацит, керамзит, полимерлер, сонымен атар ажетті химиялы шыдамдылыа жне механикалы беріктік сияты технологиялы асиеттерге ие днді жктемелер пайдаланылады. рылысы жаынан фильтрлер бір жне екі абатты, аалы тккішті (каркасно-засыпные) болады. Фильтрлеу жылдамдыы алыпты режимде 6...10 м/са райды. Фильтрді конструкциялы элнменттерін есептеу СПиН 2.04.0284 жне СНиП 2.04.0385 сйкес жасалынады.
Мнай німдерін сзіп алу шін сипрон, возопрен, синтепрон жне т.б. тоылмаан (нетканные) фильтрлеуші материалдар олданылады.
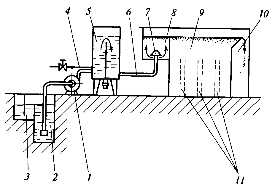
Флотация. Флотациялы тазарту дісі тазартатын суды майда ауа кпіршіктерімен жасанды трде анытыруа негізделген. Кпіршіктер алып шыанда зімен бірге майшыты мнай німдерін жне баса да ластануларды ктереді. Тазарту жылдамдыы мен сапасын суа коагулянт-сульфат алюминий (глинозем) осу арылы арттырылады. Флотационды ондырыла судаы алымалы заттарды, мнайнімдерін, майларды, шайырларды тазартуа арналан. Флотационды ондыры слбесі 6.2-суретте крсетілген.

6.2-сурет. Флотационды ондырыны слбесі: 1 сорап; 2, 3 резервуарлар; 4 ауа беруші быр желісі; 5 тегеуірінді резервуар; 6 флотатора су беруші быр желісі; 7 шыарушы клапан; 8 абылдау камерасы; 9 флотационды камера; 10 кбік абылдаушы; 11 тазартылан суды жіберуші быр желісі.
Ластанан су резервуара 2 тседі. Резервуар суды сапасыны орташа мнін табуа жне оны ондырыа алыпты берілуін амтамасыз етеді. Резервуардан 2 лас су сорап 1 арылы жиек блігіне 200...250 мм жетпейтіндей ашытыта абыралармен 2 блікке блінген, жабы цилиндрлік ыдыс болып табылатын резервуара 5 келеді. Резервуарда баылау апаы, аызушы шра, шыару клапаны жне анометр орнатылатын штуцер болады. Тегеурінді резервуар сыйымдылыын 2 минутта резервуар ішіндегі су жадайына байланысты анытайды.
Тегеурінді резервуара сумен оса быр желісімен 4 компрессордан ауа келеді. Ауа беру шін эжектор пайдаланылатын конструкциялар да кездеседі. Берілетін ауа тазартылатын суды 5% те болатындай етіп тадалынады. Тегеурінді резервуарда 5 ауаны суда еру процесі жреді, ал оны алдыы арнайы шыарушы клапан арылы жойылады.
Тегеуірінді жабы резервуардан су быр желісі 6 мен шыарушы клапан 7 арылы флотатора келеді. Флотатор абылдау камерасы 8, флотационды камера 9, кбікабылдаушы 10 сияты 3 блікке блінген ашы тіктртбрышты блау болып табылады.
тпелі бачоктан дозалаушы кран арылы эжектор кмегімен каоголянт ерітіндісі абылдау камерасына тседі. ысымы атмосфералы ысыма те болатын абылдау камерасына тскен лас судан суда еріген ауаны майда кпіршіктері белсенді трде бліне бастайды. Суды бойымен озала отырып ауа кпіршіктері лас блшектерді ілестіріп алып кетеді жне оларды жанасып лкеюінен су бетінде кбік пішіндес болып жиналады. абылдау камерасынан су суаызыш абыра арылы флотационды камераа 9 йылады жне тазарту процесі быр желісімен жіберіліп отырады.
Флотационды камерадаы су айнасыны бетіне жиналан кбік ырыштарды кмегімен кбік жинауыша ыыстырылады да су аынымен шайылады. Осыдан со кп блігін мнай німдері райтын кбік мнай аулаушыа аады.
Флотационды камералар процесті фазалара блуді жзеге асыру шін тіктртбрышты (суды клдене жне тігінен озалуы), дгелек (радиалды жне тік баытта озалатын) болып блінеді. Флотационды камералар клемі тмендегідей клемдерден ралады: жмыс зонасыны клемі (тередігі 1...3 м); кбікті жиналу жне пішінделу зонасы (тередігі 0,2...1,0 м); тнба зонасы (тередігі 0,5...1,0 м). Гидравликалы жктеме 3...6 м3 /(м2·са) райды. Тегеурінді ондырылардаы флотация затылыы 20...30 мин.
Флотационды камерадаы сйытыты жылжу баыты 100м3/са жмыс німділігінде клдене, 200м3/са дейін тік; 1000м3/са дейін радиалды баытта жылжиды.
Тіктртбрышты жне радиалды флотационды камерадаы суды горизонтальды озалыс жылдамдыы 5 мм/с аспайды.
дебиет: 1.нег.[102-114].
Баылау сратары
Тндыры конструкциясын, жмыс принципін, жне есептеу методикасын сипаттаыз.
Гидроциклон конструкциясын, жмыс принципін, жне есептеу методикасын сипаттаыз
Фильтрді конструкциясын, жмыс принципін, жне есептеу методикасын сипаттаыз
Флотационды ондырыларды конструкциясын, жмыс принципін, жне есептеу методикасын сипаттаыз
Автоклік ксіпорындарындаы тазарту жабдытары конструкциясын, жмыс принципін, жне есептеу методикасын сипаттаыз.
Автоклік ксіпорындарындаы тазарту жабдытары