Майлау жне май ю ондырылары
№9 дріс Таырыбы «Майлау жне май ю ондырылары»
9.1. Жалпы мліметтер мен сыныпталуы
Майлау жне май ю операциясы автомобильге тезникалы ызмет крсету жне жндеу жмыстарыны негізгі блігі болып саналады жне бірінші техникалы ызмет крсетуде 30%, екінші техникалы ызмет крсету кезінде ебек шыыныны 17% райды.
Бл жмыс тріні кешені тмендегідей:
- автомобиль озалтышыны картеріне мотор майын ю;
- рульдік басару, арты белдеме, беріліс орабыны картерлеріне трансмиссиялы май ю;
- пайдаланылан майларды жинау;
- ою майлауды ажет ететін тораптарды сыыш-майсауыттары (пресс-масленка) арылы майлау;
- озалтышты майлау жйесін тазарту;
- тежегіш жйесіне жмыс сйытыын ю;
- суыту жйесіне суыту сйытыын ю;
- ысылан ауа даярлау жне беру.
рбір санамаланан жмыс трлеріне ндірісте сйкес ондырыларды трлі модельдері шыарылады. Тріні кптігіне арамастан, мндай ондырылар рылымы мен элементтеріні арналуы бірдей болады: озалтыш, сорап, резервуар, баылаушы, лестіруші, сатандырушы аппараттар, шланг, беріліс ондырылары.
Функциялы белгілеріне арай майлау жне май ю ондырылары тмендегідей топтара блінеді:
- озалтышты майлау жйесіне май ю ондырысы;
- тораптарды сйы трансмиссиялы маймен майлау ондырысы;
- пайдаланылан майларды жинау ондырысы;
- тораптарды ою маймен майлау ондырысы;
- ысылан ауа даярлау жне беруге арналан ондыры;
- тежегішті гидравликалы жетек жйесіне сйы ю ондырылары;
- озалтышты суыту жйесіне май юа жне жууа арналан ондырылар.
ондыры есебінен сіп отыратын жмысты ысым шамасы келесі трлерге блінеді:
- тменгі ысымды ондырылар (мотор майлары шін 0,7 МПа);
- орташа ысымды ондырылар (трансмиссиялы майлар шін 0,7...2,5 МПа);
- жоары ысымды ондырылар (ою майлау шін 15...40 МПа).
Майлау жне май ю ондырылары орныты, ауыспалы жне жылжымалы болады.
Майлау жне май ю ондырыларындаы жетек трлері келесідей болады: олды, электрлік, гидравликалы, пневматикалы.
Механикалы жетекті ондырыларда пайда болатын ысы шамасына байланысты плунжерлі жне тегершекті сораптар олданылады.
олды жетек шаы, жылжымалы ондырыларда олданылады жне алашалы білік жетегімен жаластырылан піспекті жне плунжерлі сораптардан тратын рычагты жйе болып саналады.
9.2. Майлау жне май ю ондырыларыны рылымды ерекшеліктері.
Майтаратушы ондыры бірмезгілде беру мен берілген майды жалпы клемін лшейтін, автомобиль озалтышына май юа арналан. Жылжу дрежесіне арай ондырылары орныты жне жылжымалы; жетек тріне арай олды жне электрлік; йылатын май клемін лшеу тсіліне арай клемдік жне лездік болып блінеді.
Электрлі жетекті, орныты май тарату ондырысы кеінен таралан жне оны принциптік слбесі 9.1-суретте келтірілген.
ондыры 2 бліктен трады: май таратушы баан І жне резервуарлы сорапты ондыры ІІ. Майтаратушы баан мен сорапты ондыры жылытылатын блемеде орныты (стационарлы) орнатылады жне 80С тмен емес температурада жмыс жасайды.

9.1-сурет. Май таратушы ондырыны принциптік слбесі:
- май таратушы баан; резервуарлы соапты ондыры; 1- шала-шарпы тазарту сзгісі; 2 тегершекті сорап; З электроозалтыш;4-пневмо-гидравликалы аккумулятор; 5 манометр; 6 озалтышты автоматты шіргіш (ысым релесі); 7 сатандырыш клапан; 8 мият тазарту сзгісі; 9 айтармалы клапан; 10 быр желісі; 11 май санауыш; 12 санаушы механизм; 13 таратушы же; 14 таратушы кран.
Май таратушы баан трыдан, май санауыштан 11 санаушы механизмінен 12 жне жеі бар 13 таратушы краннан 14 трады. Май санауыша быржелі арылы беріледі 10 оны соына сорапты ондырыны санаыштан бліп тратын шра орнатылады.
Сорапты ондыры электрозалтыштан жетек алатын тегершекті сорап 2; пневмогидравликалы аккумулятордан 4; мият тазалау сзгісінен 8 ; манометрі 5 бар озалтышты автоматты ажыратыш; айтарма 9 жне сатандырыш 7 клапандардан трады. Ттас агрегат шойын татайшаа орнатылады. Сорушы быржелісіне шала-шарпы тазартатын торлы сзгі мен сорушы клапан орнатылады.
Ыдыстан алынан май ысымыны тратылыы мен баан жмысыны біркелкі болуын амтамасыз ететін пневмогидравликалы аккумулятора беріледі. быр желілермен пневмогидравликалы аккумулятор сорапты ондыры жмысы кезінде озалтышты басаруа арналан автоматты шіргішпен жаланан. Сорапты ондырыны автоматты трде осылуы мен ажырауы таратушы пистолетті ттасын басу немесе босату арылы іске асады.
оюланан майды айдауыштар автомобильді йкелуші тораптарына прес-майсауыт арылы ою майды енгізуге арналан. Негізгі ерекшелігі 20...40МПа аралыында сіп отыратынысымды плунжерлі сорапты олдану болып табылады. Сорап жетегі олды, электромеханикалы, пневматикалы болуы ммкін.

Электромеханикалы жетекті май итергіш тртдоалаты платформаа орнатылан (9.2 - сурет).
9.2-сурет. Электромеханикалы жетекті майлау итергішіні слбесі: 1 брамалы білік; 2 бункер; 3 опсыты; 4 торлы сзгі; 5 жоары ысымды сорап жетегіні мойынтірегі; 6 жоары ысымды сорапты плунжерлі жбы; 7 ысым релесі; 8 электроозалтыш;9 цилиндрлі редуктор
Платформаа бункер жне максималды ысымы 40 МПа болатын плунжерлі сорап ойылан.
Май опсыты 3 мен шнек кмегімен бункерден 2 торлы сзгі арылы жоары ысымды сорапты 6 плунжерлі жбына беріледі. Сорапты білігіне зіні сырты жиектерімен плунжер шына (торец) тірелетін мойынтірек орналасан. опсытыны брама білігі мен плунжер жетегіні мойынтірегі 5 айналымды редуктор 9 арылы электроозалтыштан 8 алады.
Сатандырыш клапан 7 ысым 25 МПа асанда автоматты трде озалтышты шіруге жне ысым 25 МПа тмендегенде айтадан іске осылуын амтамасыз етеді.
Пайдаланылан майды жинау ондырысы
Автомобиль агрегаттарындаы пайдаланылан майды жинау ондырысы орныты жне жылжымалы болып блінеді. арапайы конструкциясы негізінен арбашаа орнатылан бактан жне абылдаушы шыдан трады. (9.3 -сурет)

9.3 сурет. Пайдаланылан майды жинау ондырысыны слбесі:1- бактаы май дегеін баылаушы индикатор; 2 бак; 3 лшеуіш сауыт; 4 жылжымалы ыдыс; 5 пантографты механизм
9.3. Сыылан ауа даярлау жне беру ондырысы
9.3.1. Компрессорлар
Сыылан ауа автомобиль кліктік ксіпорындарында кеінен олданылады. Мысалы, трлі пневматикалы ондырыларды жетегінде; шиналарды толтыруа; лакпен сырлау жне коррозияа арсы материалдарын жау кезінде жне т.б.
Ксіпорындардаы пневматикалы жйені негізгі элементі компрессор болып табылады. рылымы мен жмыс принципіне арай компрессорлар піспекті, ортадан тепкі, ротационды, жараты болып блінеді. Автоклік ксіпорындарында піспекті компрессорлар ке олданыс тапан.
Піспекті типті компрессорларда ауа жабы цилиндр кеістігінде піспекті айталама озалысыны есебінде сыылады.
Піспекті компрессорларды артышылыы: бастапы н тмендігі, пайдалануды арапайымдылыы мен айта жндеу жмыстарына жарамдылыы.
Кемшіліктері; жмыс процесіні циклділігі, жмыс кезіндегі шу мен дірілді болуы, жанасу йкелісіні болуы (майлау жйесіне ойылатын талаптарды жоарылатады), дайындалатын сыылан ауаны ызып кетуі (агрегаттар мен ауаны суытатаын арнай ондырыларды олдану ажеттігі туындайды).
Компрессор компрессорлы алпаша, электрлі жетек, ресивер, ысымды автоматты реттеу ондырысы, ауа мен агрегаттарды суытатын ондырылардан тратын агрегат. Піспекті компрессорлар келесі белгілері бойынша сыныпталады:
- сер ету тсіліне арай арапайым жне ос (двойной);
- цилиндр осіні орналасуына арай тік, клдене, брышты, цилиндрлерді жлдызша тріздес орналасуы;
- саты санына байланысты бір-; екі-; кпсатылы;
- цилиндрлер саны бойынша бір-, екі-, кпцилиндрлі;
- аыры ысымы тменгі жне жоары (максималды ысым 250- 106 Н/м2);
- суыту тсіліне байланысты ауамен жне сйыпен суыту;
- компрессор білігіні айналу жиілігі жайжрісті (200 мин-1 аспайды ); орташа шапша жрісті (200... 450 мин-1); жылдам жрісті (450... 1000 мин-1);
- жетек слбесіне байланысты коаксиалды (электрозалтыш білігінен тікелей жетек алу); белдікті беріліс арылы;
- орнатылуына байланысты орныты жне жылжымалы.
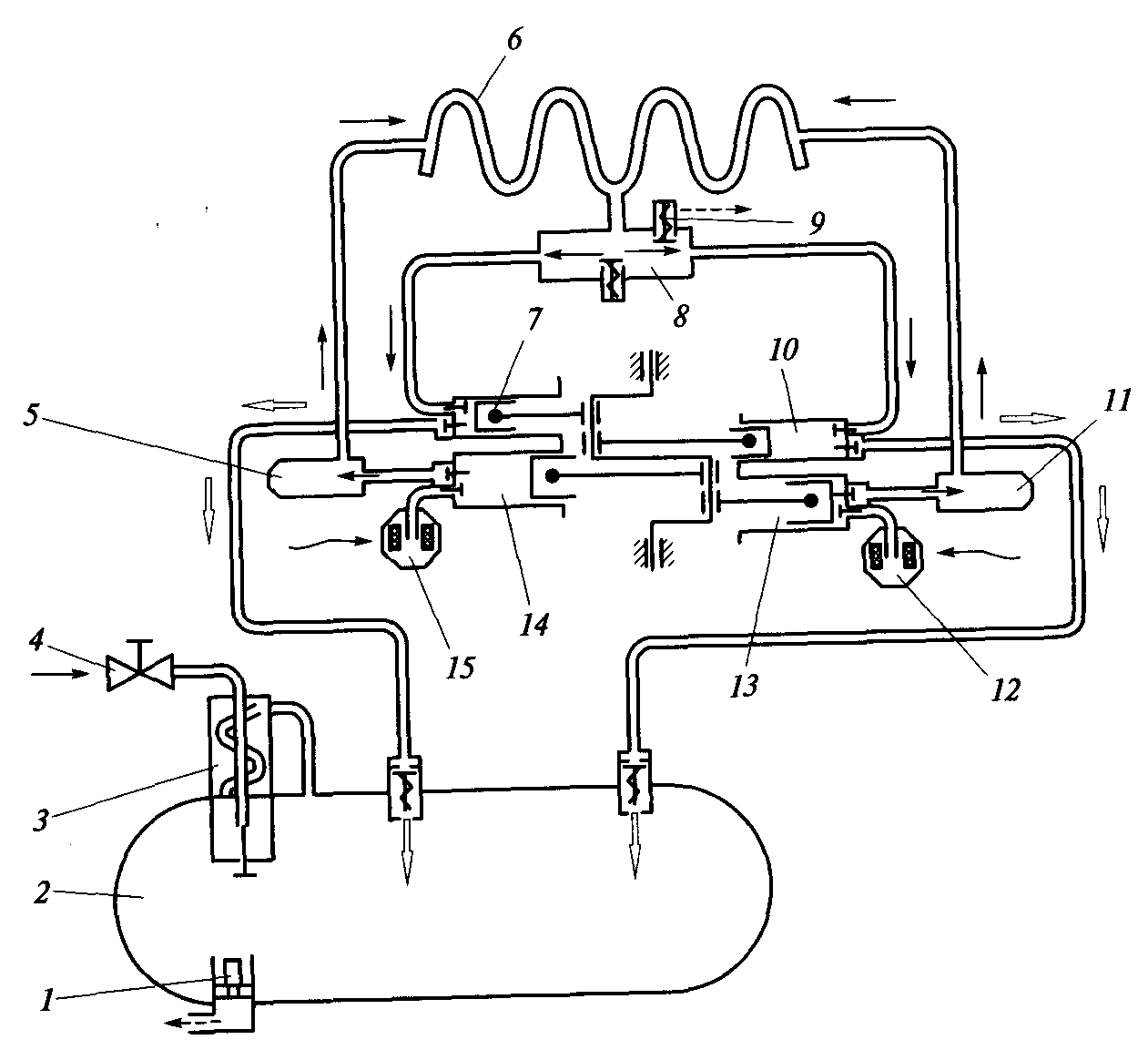
Бірсатылы компессорладаы р цилиндріндегі ауа сору ысымынан айдау ысымына дейін сыылады. Мндай жмыс слбесі жоары німділікті амтамасыз ете алмайды. Сондытан ауаны суыта отырып екі сатылы ысу процесін олданан тиімді саналады. Бл принципте екі сатылы алпаша орнатылады. (9.4 - сурет) оларда ауа алдымен тмен ысымды цилиндрлерде 13, 14 бірінші сатыда белгілі-бір тпелі ысыма дейін сыылады, кейін бірінші сатыдан шыып, еш арылы суыту радиаторымен 6 жабдыталан екінші сатыа (жоары ысымды цилиндрлерге 7,10) теді. Екінші сатыда ысым максимал мнге дейін ктеріледі. Компрессорларды негізгі сипаттааларына екі параметр жатады: максимал ысым мен клемдік німділік немесе берілім .

9.4-сурет Екі сатылы трт цилиндрлі компрессор слбесі:
1 конденсат жоюшы; 2 ау жинауыш (ресивер); 3 ылал блуші; 4 ауа алыш шра; 5, 11 тмен ысымды цилиндрлер коллекторы; 6 жоары ысымды цилиндрлерге берілетін ауаны суытушы радиатор; 7, 10 жоары ысымды цилиндрлер; 8 жоары ысымды цилиндрлер коллекторы; 9 пневмотсіргіш; 12, 15 ауа сузгісі; 13, 14 тмен ысымды цилиндрлер; -атмосфералы ауа; . тмен ысымды ауа; - жоары ысымды ауа; конденсат
9.3.2. Ауа жинауыштар
Ауа жинауышта (ресиверлер) детте компрессор мен ауа бырыны желісіні аралыында орнатылады. Ауа жинауыштар компрессора берілетін ауа аыныны толынын жайастыруа, аса жктелу кезінде олдану шін сыылан ауа орын жинау; сыылан ауаны салындатуа жне рамындаы су мен майды бліп алуа арналан.
Ауа жинауыштар тік жне клдене болып орындалуы ммкін. Тік ауа жинауыштар зіні аз айматы алуы жне ласты тиімді тазартатын асиеттеріні серінен ке олданылады. рылымы бойынша ауа жинауыштар компрессормен біріктіріле немесе жеке ондыры ретінде жасалынады. рамдас майлау жне май ю ондырылары техникалы сйытара арналан, сорапты ондырымен жабдыталан ыдыс жеке жне ошауланан кеістікте, ал таратыш жеді пистолеттер канавалар мен ктергіштермен жабдыталан майлау посттарына орнатылады. Мысал ретінде С-01 модельді майлау жне май ю ондырысын келтіруге болады.
дебиет: 1.осн.[148-168]
Баылау сратары
1.Май таратушы ондырыларды арналуы, рылымды орындалуы мен жмыс принципі андай?
2.Иілгіш май айдаушыларды арналуы, рылымды орындалуы мен жмыс принципі андай?
3.Пайдаланылан майды жинау ондырысыны арналуы, рылымды орындалуы мен жмыс принципі андай?
4.Піспекті компрессорларды жмыс принципі, артышылыы мен кемшіліктерін атаыз.
5.Компрессорлы ондырыларды тадаанда андай параметрлерін басшылыа аламыз?
6.Ауа жинауыштарды арналуы, конструкциясына ойылатын талаптары мен пайдалану шарттары андай?
Майлау жне май ю ондырылары