Сырлау жмыстарыны орындауа арналан жабдытар
№14 дрiс. Таырып: «Сырлау жмыстарыны орындауа арналан жабдытар»
14.1 Жалпы млiметтер жне классификация
Окраску кузовов легковых автомобилей применяют для защиты их от агрессивного воздействия внешней среды и придания им требуемого декоративного вида. На качество покрытия большое влияние оказывают правильный выбор лакокрасочных материалов, состояние окрашиваемой поверхности и полнота выполнения процесса окраски.
Сырлауды крделендірілген технологиялы процесі негізгі ш этаптан трады: - сырланатын бетті даярлау, сырлау жмыстары, кептіру.
Сырлау жмыстарын жргізуде олданылатын жабдытарды да келесідей топтара блуге болады:
- Сырланатын бетті даярлауа арналан жабды;
- Сырлауа арналан жабды;
- Сырланан бетті кептіруге арналан жабдытар.
Автомобильдерді сырлауа арналан бояу материалдары улы жне тез ттаныш заттар болып табылады. Сырлау жмыстарын йымдастырылуы жне технологиясы ПОТ Р М-0172ООI сырлау жмыстары кезіндегі ебек оранысыны салалы ережелеріне, ПБ 09-567ОЗ сырлау ндірісіні ауіпсіздік ережелеріне, MECT 12.3.00275 «Ебек ауіпсіздігіні стандартты жйесі. ндірістік процестер. Негізгі ауіпсіздік талаптар» сйкес болуы тиіс.
рт ауіпсіздігі. МЕСТ 12.1.01076 «Ебек ауіпсіздігіні стандартты жйесі. Жарылыс ауіпсіздігі. Жалпы талаптар.», баса да ыты актілерге сйкес, орнатылан тртіпте жне барлы технологиялыпроцес дегейінде ауіпсіз болуы тиіс:
- сырлау материалдарын даярлау;
- сырлау бетін даярлау, сонымен атар тот басан, майлы беттерді жою;
- сырлау жмыстарын жргізу;жмысты рамды даярлау, тараларды тазарту жне жуу, жмыс клемін, ндіріс ондырыларын, аспаптар мен ораныс ралдарын тазарту
- сырлау беттерін кептіру;
- сырлау беттерін (ажарлау, полировка).
Электростатикалы тозадатыштар, электр бояу тозадатыштармен, тске бояу агрегаттары, электр компрессорлармен таы баса электр жабдыы бар жмыстар, сонымен бiрге электр тске бояу жне кептiргiш камераларда ебек ауiпсiздiгiнi МЕСТ 12.1.01893 жйесi стандарттарыны талаптарды сатаумен орындау керек.
Сырлауа арналан электрондырыларын жерлендіру МЕСТ 12.1.03081 и ГОСТ 12.1.01893 талаптарын ескере отырып орындалуы тиіс. Бояу материалдарымен жмыс жргізілетін барлы блмелер жарылыстан, ылалдан, шанан оранысы бар жарытандырышпен жабдыталан болуы тиіс: жалпылама жарытандыру шін - Н4Б-З00М, НОБ-300, НЗГ-150, ВЗГ-300, ВЗГ-200М, ВЭГ- 100, ВЭГ-б0; жергілікті жарытандыру шін БЦ62В, ПР-60В, ВЗГ-25 типтері олданылады.
Шеттетiлген блмелердегi тске бояу жмыстары шiн жалпы алмасу жне жергiлiктi йылатын жне блмелердi желдетуiнi тарту жйелерiнi желдету агрегаттары жне шын жасаудан орау орталытан тепкiш желдеткiштермен жабдытарда орналастыру керек.
14.2Тске бояуа беттердi зiрлеуi шiн жабды
Беттi кез келген дiстерiнi тске бояуды алдында май iркiлген ластанулары, консервацияны ралдары, майлаушы-мздатыш сйытар, ескi бояудан, сонымен бiрге абырша, тот жне органикалы емес тздардан тазалауы керек. Жамылыларды пайдаланатын жемiргiш орта болан сайын сол бет тптiште дайындауы керек.
Тске бояуа беттердi зiрлеуiнi механикалы жне химия дiстерiн автомобильдi жндеуде олданады. Механикалы дiстерден негiзгi механикаланан аспаппен немесе металлды ммен деулер болып табылады, ескi бояуды алу шiн химия - майын кетiруден су жолы - сiлтiлiк ерiтiндiге, арнайы жуулар немесе сiлтiлiк ерiтiндiлермен ндеу, бiр уаыттаы майын кетiру, ндеу жне пассивтеу, фосфаттау, деу.
Механикалы дiстердi iске асырулары шiн (м -, бытыра аынымен деу) ою, ол жне пневматикалы немесе электр ерiксiз келтiруi бар механикаланан аспаптар пневмоструйныенi пайдаланады. Аспап жмыс блiк ретiнде штке, трпiлi шеберлер, ыратын терiлер жне лента, ашау жне озаттарды олданады. Шткелер трмен, материалмен жне тктi диаметрi, тктi еркiн зындыы, жмыс блiгiнi (оюлыпен ) тыыздыы, енмен жне шткенi диаметрi жне кпшектi материалдарымен бейнеленедi. Шткелердi негiзгi трлерiмен (роликтi ) диск сияты, цилиндрлiк, (табаша ) кесiк, шеткi болып табылады. Тктi материалы - ртрлi маркалар, жез сымы, табии жне синтетикалы ыл, Шаш, корд, сiмдiк тал жiптер рыштан жасалан сым.

Сур. 14.1. тске бояуа зiрлеудi орыныны (бекетіні) слбасы :
1 ауа тарту вентиляторы; 2 алта сзгі; 3 торкз; 4 жерде тратын сзгi; крсеткішпен ауаны жылжу баыты крсетілген
Сырлау жмыстарыны барлы иындыынан 55 %ке дейiн уаытты себемiн арынды ерекшелеумен жарысайды ауаны жергiлiктi соруларын йыммен толы клемде алып тастау иын ша ктерген урап алан айрауды операцияда дл келедi. Жндеудi блiмшеде жне шанатарды тске бояулары жiп-жиi сондытан (14.1-шi сурет) тске бояуа зiрлеудi орындары жабдытайды.
Мндай орынды желдетудi жмысты бiр лгiдегi схемасы келесi: ауа, 2 iшiнде желдету оюын 4 жне алта сзгiсiнi жерде тратын сзгiсiмен 3 етектi керегеден кейiн еме бастай арылады жне 1-шi тарту желдеткiшiмен тiк жоары латырылады. Цехты блмесiнi ауасыны айта айналатыны сайып келгенде iске асады
14.3. Лак бояу материалдарыны руы шiн жабды
Лак бояу материалдарыны рулары шiн жабдыа бояу даярлайтын оюлар, тасымал тске бояу оюлары жне траты тске бояу - кептiргiш камераларды жатады.
Бояу даярлайтын оюлар натылы (бояу ) тстi бiркелкi массасы алу масатымендерiндегiн олдануды алдында бояуларды кедергi жасау шiн тiкелей арналан. азiргi импортты бояу даярлайтын оюлар ЭЕМ басарумен iс жзiнде кез келген бояуды бояуы лкен длдiкпен даярлануа абiлеттi жмыс iстейтiн бояуларды дозатор тратын крделi кешендер болады.
Лак бояу материалдары р трлi дiстермен бiр шанатарды жасауында алай келтiредi, онда олар жанында баса жне лак бояу жамылыларын руды Р.негiзгi дiс автомобильдi жндеуде - пневматикалы шашырату (тапаншалар ) бояу тозадатыштар арылы. Шамамен 70 % шыарылан лак бояу материалдарынан тап солды дiсiн беттерде келтiредi. дiс лкен беттерге бiр алыпты келтiруге ммкiндiк бередi грунт жау, лак, эмаль абатта, соны iшiнде немесе жылдам кеп, бiтпегенауыншек грунт жаулар бойынша бояу ндiрiп алуа сып-сылдыр немесе (бойынша ылалды ылалды) бояу абаттаймын.
дiстi мнi ысылан ауамен лак бояу материалы те са блшектерге интенсивтi трде майдаланатын жне бйымны жызылатын бетiне бiр алыпты жне кiрбiк деп келтiрiлетiн трады. дiс ысылан ауа жне сорма желдету кез келген ндiрiстiк шарттарда болан жадайда олданамыз.
Пневматикалы шашыратуды дiстi кемшiлiктерiне санитарлы-гигиеналы ебек жадайлары, тске бояуды айматан кiр басан ауаны арынды соруын ажеттiлiктi нашарлататын серлi тманны бiлiмi бояуды жоалтулары лак бояу материалдарыны биiк меншiктi шыыны салдарынан 30.. жату керек. 60 % ) жмыс ттырлыына дейiн лак бояу материалдарыны жеткiзуi, желдетудi йылу-тартуы тиiмдi жйе ндiрiстiк блмелерiндегi бар болуды ажеттiлiк шiн лшемдер жне блшектердi кескiндерге байланысты, ерiткiштердi лкен шыыны.
Лак бояу материалдарыны уе шашыратуы бояу тозадатыш рылымдармен ткiзедi. Бояу тозадатыш оюды схема 14.2-шi сурет крсетiлген. ою 0,4.. ысымымен ысылан ауадан жмыс iстейдi. цехты желi немесе автономды жмыс iстейтiн компрессордан 0, 7 МПа. 5-шi ылал блгiшке оны су жне майынан тазарту шiн ысылан ауаны передi.

Сурет.14.2. бояу тозадатыш рылым слбасы:1, 3, 4 шлангілер; 2 бояу шашыратыш; 5 майды, ылалайыры; 6 бояуды айдауш багі
Бояу бастырмалатыш багi болады бояуды кедергi жасау шiн (ысымны тастауын редуктор, сатаыш клапан, клапан) бактi арматура жне араластырушы растыратын апаы бар жабулы ыдыс тыыз бекiтiлген. Араластырушыны ерiксiз келтiруi бола алады.
Бояу тозадатыша бояу бастырмалатыш бактен бояуды беру шiн шлангтер сйы отындар жне масел шiн женi резеке дарымаушы напоровсасывающеголарынан даярлайды. Женi Iшкi диаметрi - 9 12 немесе 16 мм. Шлангтер 7 МПа, сынау гидравликалы ысымына дейiн алыпты ысымда пайдаланады - кемiнде 20 МПа.
Лак бояу материалдарыны рулары шiн р трлi конструкцияларды бояу тозадатыштарын олданады, бiра оларда рекет ету аидаты бiрдей. Бояу тозадатышты негiзгi блшектерiмен лак бояу материалы жне ауаны беруiн реттеу шiн лак бояу материалыны шыуы, тозадатыш бас, тебен ине, шаппа, тетiктер шiн корпус, ттiктер болып табылады.
Бояу тозадатышты тымды жмыс тртiбi шашыратуа жне шашыратылатын материалды барынша биiк жмыс ттырлыы (лак бояу материалыны шыынына ауаны шыыныны атынасымен) ауаны е тменгi меншiктi шыыны, ысылан ауаны е тменгi ысымда биiк сапаны жамылысын алумен бейнеленедi.
Бояу тозадатыштардаы лак бояу материалыны беруi жоары немесе тменгi орналастырылуы бар йма стаан немесе бояу бастырмалатыш бактен iске аса алады. Лак бояу материалыны шыынына ауаны шыыныны тымды байланысы ыайлыра жинаы бояу бастырмалатыш бактен ысыммен бояу тозадатыша материалыны беруiнi жанында алу. ажеттi материалдарды шыыны амтамасыз ету иын бояу йма стааннан лкен ттырлыты лак бояу материалыны берулерi жадайда жне, шашыратуды салдар, тымды тртiп.
ысыммен лак бояу материалыны беруiмен бояу тозадатыштары (350 г/миннен астам ) материалды лкен шыыны бар жмысы шiн арналан. Жоары йма стааннан лак бояу материалыны беруiмен бояу тозадатыштары (350 г/миннен кем ) аласалау нiмдiлiкпен немесе лак бояу материалдарыны жиi алмастыруыны жанында ке жмыс iстегенде олданады. Мысалы, шiн горизонталдiтаны бояу тозадатышты ауытуыны лкен брыштары керек болатын бйымдарды тске бояуыны жанында жоары стаан ыайсыз олданылатында жадайлар тменгi бояу йма стаандарды олданадыдан блiндiге лак бояу материалыны беруi.
Бояу тозадатышты негiзгi тйiнi тозадатыш бас болып табылады. Тозадатыш басты жиналмалы корпусы бояу тозадатыш бiр атар жадайда жне жиналмалы бастар жне рал-саймандарды жиынымен комплект жасауа иемдене алады.
14.4. Лак бояу жамылыларын тоаш шiн жабды
Ол лак бояу материалы жамылыны мыты абыршаты алыну шiн кептiруге керек абаттай бетке рулардан кейiн.
ртрлi лак бояу материалдарыны рауын процесс те емес аады.
Табии тоашты жылдам кеп жамылылар шiн негiзiнде олданады. Тоашты процессi жызылатын бйымны бетiнен ерiткiштерiнде кететiн ауаны здiксiз таралуыны жанында едуiр дейдi. Ауа таралулар жо боланда ерiткiштер, жне тоашты процессi жп жариды баяулайды.
Лак бояу материалдарыны блiгi баяу кейде 18.. салыстырмалы райды. 24 чи кп ), ауаны температурасыны жанында кейбiр эмальлер 15... 18 атты жне механикалы мыты абыршаты растырта алмайды. мндай лак бояу жамылылары шiн бiткен абыршатау процессi, жасы аттылыты, су жне майа тзiмдiлiк, бу жне газ тпейтiндiк амтамасыз ететiн жасанды тоаш ажеттi.
Лак бояу жамылыларын тоаштар шiн инфраызыл шыару, тасымал кептiргiш оюлары жне траты кептiргiш камералар шамды пайдаланады.
дiске байланысты боялан бетке жылулыыны берiлулерi жасанды тоашты келесi дiстерi танып бiледi: (конвекциялы тоаш) ауамен алынамыз; (жылу радиациялы тоаш) инфраызыл шыарумен; биiк жне нерксiптiк жиiлiктi индукциялы токтерiмен; ультракгiлдiр шыарумен таы басалар.
Негiзiнде боялан шанатарды тоашыны жанында конвекциялы жне жылу радиациялы тоаштарды олданады.
Бйымны тоаштары конвекциялы дiсте ыздырады арнайы камералардаы ауасымен алынамыз. Айналатын ауаны жылулыы тоаштар бл дiсте жамылыа, жне рауды процесс берiледi беттi олардан бастайды. Нзiк абырша растыратын беттерге жамылыны тменгi абаттарынан ерiткiштерiнi ары арай булануын иындатады.
Тоаштар конвекциялы дiстi адырларына тоаш р трлi кескiннi бйымдары жне лшемдердi бiр камерасындаы оларды кескiнi, шомбал бйымдарды тоашыны ммкiндiгi, тоашты ммкiндiгi, бояуды тстi згерiстi жотыы бйымдарды ыздыруын биiк бiр алыптылыты туелсiз уаытында жатызуа болады.
Тоаштар конвекциялы дiстi кемшiлiктерiмен ауаны айта айналатынын амтамасыз ету шiн салыстыранда жылу радиациялы тоашты тоашты уаытыны лкен затыы, уатты желдету оюларын олдануды ажеттiлiктер болып табылады.
Бйым тоаштар жылу радиациялы дiсте арнайы суле таратыш шыарылатын инфраызыл сулелермен ызады. Тоаштар бл дiсте шанаты жамылы ол келген металлды бетi содан со бастапыда ызады. Ерiткiштердi булары, жоары тменгi абаттардан шыа жылытады, энергия есебiнен инфраызыл шыаруана емес, жылулы есебiнен шып кететiн ерiткiштер де бл жамылыда ызады.
Жоары жылу радиациялы тоаша лак бояу жамылысыны тменгi абаттарынан жылулы боялан бетке кз ыздыруы жне жасы абыршатау шарттарынан салдарынан арынды берiлуден астам жылулытар берiлу есебiнен лденеше тез конвекциялы тедi.
Тоаштар жылу радиациялы дiстi адырларымен (4 10 ретке) тоашты процессiнi тбегейлi деуi, биiгiрек немдiлiктер болып табылады, сiресе жылу радиациялы панелдердi газды ыздыруын олдануда, кiшiсi габариттi лшемдер жне салыстыранда конвекциялы кептiргiш камераларды жабдыыны массасы.
ажеттiлiктi дiстi кемшiлiктерiмен натылы ашыты 200.. сатауа болып табылады. 400 мм ) жылу радиациялы панелдердi арасындаы жне ртрлi форманы бйымдары жне габариттi лшемдердi бiр камерасындаы тоашты иындататын бйымдар бетпен лак бояу жамылысын тстi тоашыны процессiндегi згерiс болуы ммкiн алы абыралы бйымдар шiн жылу радиациялы тоашты тиiмсiздiгi сiресе ашы болуы ммкiн тонды.
Жылу радиациялы тоаш камералардаыана емес, жылжымалы аландар жне панелдермен де ндiрiп ала алады. Ептеген жылжымалы жылу радиациялы панелдер тске бояуды мiндерiнi тзетуi орында жеке срмелi орындарды тоашыны жанында ке олданады.
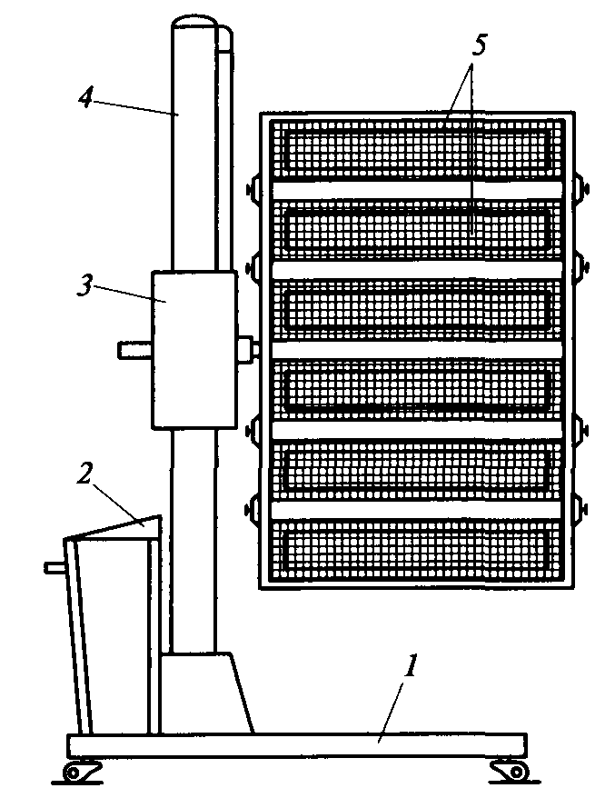
(14.3-шi сурет) 5 оюды суле таратыштары туелсiз оректенуi бар йрететiн нобайды профильсi технологиялы есепке байланысты згертуге ммкiндiк бергенi зара топсалы сабатас екi секцияларды трiнде растыран. рбiр секцияда ш клдене йрететiн панелдер бойынша орналастыран. рбiр панелде ттiк трiздi электр жылтыш элемент бойынша растыран.
1-шi арба трт брылатын доалатармен жабдытаан. Арбаларды платформада суле таратышпен 4 оюды 2 жне тiрек штанга оректенудi басаруды шкаф орнатылан. 3-шi орын ауыстыруды тетiк тiрек штанганы биiктiгi бойынша суле таратыштарды жадайын згертуге ммкiндiк бередi.

Рис. 14.3. Суле таратыш жылжымалы ондырыны слбасы:1 арбаша; 2 электржабдыты басару шкафы; 3 суле шыарышты тік жылжытатын механизмі; 4 тірек штанга; 5 суле шыарыш
Инфраызыл шыару шiн оюларды белгiлi конструкциялар суле таратыштар 6.. жиынты уаты болады. 19 квт жне 0, 26.. шыарып жатан беттi ауданы. 1, 5 м2. 18.... оршаан ортаны температурасыны жанында ттiк трiздi электр жылтышты йрететiн бетiнi максимал температурасы. 23 райдыдан 450о С терге дейiн.
14.5. Тске бояу - кептiргiш камералар
Тске бояу - кептiргiш камера сзсiз автосервистi азiргi ксiпорынны жабдыыны тiзiмiне кiредi. Мысалы, ол автоклiктi толы тске бояуа, тбенi лкен элементтерiнi тске бояуыны жанында олдануа сзсiз дл келедi ) немесе бiрнеше блшектердi жндеу.
Тске бояу - кептiргiш камераларды олдануыны орындылыы лак бояу жамылыларын жасауды технологиялы дерiстi талаптарымен шартталан. Сапалы жамылыны алулары шiн келесi параметрлермен бейнеленетiн арнайы микроклиматты жмыстарды ткiзуiн аймата олдауа керек:
- температура;
- уа аындарыны озалыс баыты;
- уа аындарыны озалыс жылдамдыы;
- атты оспалардан ауаны тазалыыны дрежесi;
- жары.
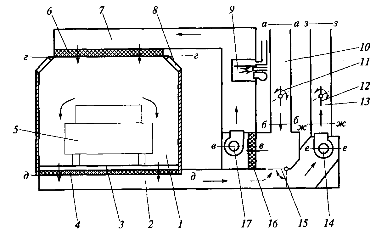
Конструктивтi кез келген тске бояу - кептiргiш камера - негiзi арнайы микроклимата жасалады келесi жйелер кмегiмен (14.4-шi сурет) 1-шi жмыс камерасы болып табылан крделi агрегат жеткiлiктi:
- йылатын (жмыс камерасына, 6-шы тбе сзгiсi 17-шi йылатын желдетудi 16, желдеткiш агрегат, ауаны беруiн канал 10, алдын ала сзгiнi ауаны йылуын канал) желдетудi жйелерi;
- (14-шi сорма желдетудi 2, желдеткiш агрегат, 13-шi пайдаланылан ауаны алып тастауын канал 4, желдету дыы жерде тратын сзгi) сорма желдетудi жйелерi;
- (жануды аймаа, отты газдарды алып тастауын канал жылу алмастырыш, оттыты, ауаны беруiн желдеткiш тратын 9-шы теплогенератор) камераны ыздыруыны жйелерi;
- жары берушi панелдер камераны жарыыны жйелерi
- (жмыс камерасындаы тап алан микроклиматты автоматты сйемелдеуi шiн) басару жйелерi.

Рис. 14.4. Тске бояу - кептiргiш камерасыны есептеу слбасы:
1 жмыс камерасы; 2 желдеткіш ды; 3 едендегі тор; 4 едендегі сзгі; 5 автомобиль; 6 тбедегі сзгі; 7 тбеден жоары орналасан кеістік (пленум); 8 жарытандыру панелі; 9 жылу генераторы; 10 ауа келтіру арнасы; 11 кірудегі жапыш; 12 шыудаы жапыш;
13 пайдаланан ауаны шыаратын арнасы; 14 ауа тарту желдетпені вентиляторлы агрегаты; 15 айтадан айналуды жапышы; 16 алашы сзгі; 17 кіру желдетпені вентиляторлы агрегаты; аа зз есептеу ималары; крсеткішпен ауа аымыны жылжу баыты крсетілген.
йылу жне ауаны алып тастауы, теплогенератор шiн желдету ондыры, каналдар аартушы блiмшенi орналастыруына байланысты тске бояу - кептiргiш камераны жмыс камерасы туралы кез келген жадай орналаса алатын агрегатты модул растырады.
Трлер жне тске бояу камераларыны конструкцияларыны жиыны бар болады. Барлы олар аидаа бiр-бiрдендерi жмыс iстейдi. Жмыс камерасына тбе сзгiлерi арылы перген таза ауа еме бастайды. Камераны клемiнде, ауа жылыса бйым бояуды албырттыты кiшкентай блiгi жне ерiткiштi булары зiiзбен бiрге кете аады. Бдан рi ауа жерде тратын сзгiлер арылы тедi, арылып сырты латырылады.
Тске бояуды тртiп жне тоашты тртiбiндегi тске бояу - кептiргiш камераны жмыс тртiптерi танып бiледi. Ашы, 15-шi айта айналатынды жапыш 11-шi кiретiн жапышы тске бояулар тртiбiнде толы 12-шi ашы демалыс жапышы жабулы. Камера арылы ткен 90 % ауаа дейiн энергияны немдеуi масаттарындаы тоаштар тртiпте айт-айттайды. 15 толы ашы, 12-шi демалыс жапышы айта айналатынын жапыш осы жадайда жабулы, 11-шi кiретiн жапыш ашыы.
дебиет: 1.нег.[258- 275]
Баылау сратары:
1.Нормативтiк жаттар неткен йымды жне тске бояу жмыстарыны ткiзуiн технологияларды реттейдi?
2.Тске бояуа автоклiктердi зiрлеудi орынды жабдытауды схема андай?
3.Конструктивтiк орындау жне бояу тозадатыш оюды рекет ету аидаты андай?
4.Лак бояу жамылыларын тоашты жылу радиациялы дiсi шiн оюларды таайындау, конструктивтiк орындау жне рекет ету аидаты андай?
5.Тске бояу - кептiргiш камераларды таайындау, конструктивтiк орындау жне рекет ету аидаты андай?
6.Тске бояу - кептiргiш камераларды сзгiлерiнi трлер жне таайындауын санап шыыыз.
7.Бояу- кептіргіш камералар шiн желдету ондырыларыны тадауыны дiстемесiн сипаттаыз.
Сырлау жмыстарыны орындауа арналан жабдытар