Технологиялы ондырылар жетегін жобалау. Пневматикалы жетек
№3 дріс. Таырыбы «технологиялы ондырылар жетегін жобалау. Пневматикалы жетек»
3.1. Жалпы мліметтер
Автомобильді пайдалану жне жндеу жмыстарын жргізу кезінде олданылатын технологиялы ондырыларды конструкциялы рылысы мен жмыс істеу принциптеріні ртрлілігіне арамастан бірдей механизмдер мен тораптардан трады. Бл тораптар мен механизмдерді есептеу жне растыру жалпылама орта дістемелікті олдану негізінде жзеге асады. Технологиялы ондырыларды мндай растырушы элементіне оны жетегі жатады. Технологиялы ондыры жетегіні негізгі типтері болып келесілер табылады: пневматикалы, гидравликалы, пневмогидравликалы, электрломеханикалы жне т.б. Технологиялы ондырыны жасау немесе жаарту жмыстарын жргізудегі инженерді негізгі тапсырмаларыны бірі - жетекті типін тадау жне оны жобалау болып табылады. Технологиялы ондырыны конструкциялы сипаттамасы мен есептеу методикасын бастамас брын, материалды айталанбауын алдын-алу масатында пневматикалы, гидравликалы, электромеханикалы ондырыларды рылымын, функцияландыру принципін, конструкциялы орындалуын жне есептеу методикасын арастыран дрыс.
Пневматикалы рылылар бранда брауышты атарушы ондырыларыны жне блшектеп-жинау рылысыны сыышыны, жкктергіш ондырыларды, шинаны монтаждау стендіні, майлау жне жанармай ю ондырыларыны, сырлау жне рату камераларыны басару жйесіні жетегі ретінде ке олданыс тапан. Сыылан ауаны лакпен сырланатын матеиалдарды ауа бркуішіні кмегімен сырлау шін жне пневмоаынды тазалау жмыстарын жргізу шін олданады.
Гидравликалы рылы домкраттарда, ктергіштерте, ныыздауыштарта, жк автомобиліні шиномантажды стендтерінде атарушы рылыларды есебінде кеінен олданылады.
Пневмогидравликалы трлендіргіштер сыылыан ауа энергиясын сйы аыныны энергиясына трлендіруге арналан. Пневматикалы трлендіргіштер пневматикалы жне гидравликалы рылылармен бірге технологиялы ондырыны рамына кіреді. Бл ондырылар тобына пневмогидравликалы кшейткіштер, пневмогидравликалы сораптар жне пневмогидравликалы аккумуляторлар жатады.
Пневмогидравликалы жетекте сорапты гидравликалы жетекпен салыстыранда майды ызуы мен кпіршуі лдеайда тмен болады. Пневмогидравликалы рылы жылдам жне оай реттеледі, сйкесінше энергия сыйымдылыы мен ны тмен болады.
Электромеханикалы рылыны сораптарды жне жуу рылыларыны айналымды щеткаларыны, ктергіштерді, электрлік тлдер (жк ктергіш) жне аралы ктергіш крандарыны, конвейерлерді, майлау жне жанармай ю ондырыларыны, бранда брауышты атарушы ондырыларыны жне блшектеп-жинау ондырысыны стендінде, сырлап-рату камерасыны желдеткіштеріні, тежегішті диагностикалауа арналан стенд барабандарыны, аспаларды диагностикалау стендіні дірілді тырнамасыны (виброплатформа) жне т.б. жетегі ретінде олданады.
Жетекті тадау шін келесі мліметтер болуы ажет: берілетін уат, атарушы элементті айналу жиілігі мен озалыс жылдамдыы, озалтыш пен атарушы элементті орналасу аралыы, техникалы ызмет крсету шарттары, ресурс (ор), ПК, лестік уаты, салма, басарылуы, арнайы талаптар.
3.2. Пневматикалы жетек
3.2.1. Жалпы мліметтер жне сыныпталуы
Пневматикалы жетекте олданылатын энергия трі сыылан ауа энергиясы болып табылады.
Пневматикалы ондырыны кеіне олданыса енгізілу себебі, оны келесідей артышылытара ие болуы болып табылады:
Пайдаланылуы мен конструкциясыны арапайымдылыы; бастапы баасыны тмендігі жне шыыныны жылдам телуі; ке диапазонды температура, ылалдылы жне оршаан ортаны ша-тозаы, т.б. жадайлардаы жмыс сенімділігі, рт шыу жне жарылыс ауіпсіздігі, 10-50 млн. цикл аралыында болатын жмыс мерзіміні затыы, пневматикалы атарушы рылы торабыны озалыс жылдамдыыны жоарылылыы (сызыты жылдамдыы 15 м/с дейін, айналу жылдамдыы 100 000 мин-1); асын жктелу жадайында ораныс рылыларн ажет етпеуі.
Пневматикалы жетектерді кемшіліктері тмендегілер болып табылады: ауаны сыылуынан жмыс элементтеріні орын ауыстыруыны біралыпты болмауы, сіресе ауыспалы жктелу кезінде; пневмоозалтыштарды атарушы органдарыны айындалуыны (позиционирования) иындыы, жмыс уысындаы сыылан ауа ысымыны тмен болуынан (0,4... 0,8 МПа)ажетті кш алу шін пневмоозалтыштарды лшемдеріні лкен болуы.
Пневматикалы жетек белгілі ретпен орналасан жне рдайым ауамен байланыста болатын ондырылардан тратын жйені райды.
Пневматикалы жетекті негізгі элементтеріне ауа сыымдауыш, пневмоыдыс, пневмоозалтыш, пневматикалы трлендіргіштер, пневмоаппараттар, ауа ондауыштар, пневможелі креді.
Ауа сыымдауыш млшерден тыс ауа немесе газ ысымын жасау шін арналан. Компрессорды піспекті, жараты, пластикалы, брамалы, ортадан тепкіш, осьтік трлері ажыратылады.
Пневмоыдыс (ресиверы) ауа аыныны толуын тегістеуге, ысылан ауа орын жинауа жне ысылан ауаны алдын - ала су мен майдан тазартуа арналан.
Пневмоозалтыш ысылан ауаны потенциалды энергиясын механикалы энергияа трлендіреді. Пневмоозалтышты келесі трлері ажыратыады: шыа беріс буыны ілгерлемелі озалыс жасайтын пневмоозалтыш, шыа беріс буыныны брылу брышы шектелген брылмалы пневмоозалтыштар, шыа беріс буыныны озалысы шектелмеген брылмалы пневмоозалтыштар (пневмомоторлар).
Пневмогидравликалы трлендіргіштер ысылан ауа аыныны энергиясын жмыс сйытыы аыныны энергиясына трлендіруге, пневматикалы жйеге тапсырылан немесе белгіленген ысым дегейіне жеткенде электрлік командалы дабыл беруге жне жйені р аймаындаы ысымны бар болуы туралы белгі беру ызметін атарады. Бл ондырылар тобына пневмоыыстырып шыарыш, пневмогидравликалы кшейткіш, пневмогидравликалы сораптар, пневмогидравликалы аккумуляторлар, ысым релесі мен пневмоэлектр трлендіргіш, ысым индикаторы жатады.
Пневмоаппараттар баыттаушы жне реттеуші болып блінеді. Баыттаушы пневмоаппараттар жмысты тпелі имасын толы ашу жне жабу арылы ысылан ауа аыныны баытын згертуге арналан. Пневмоондырыларды бл тобына пневмолестіргіштер, кері серлі(обратные) пневмоклапандар, пайдаланылан газды жылдам шыару пневмоклапаны, тізбектер, уаыт тааты (выдержка времени), логикалы («немесе», «жне») жатады. Реттеуші пневмоаапараттар тпелі иманы ашылу лкендігін реттей отырып, ысылан ауа шыыны мен ысымын згертуге арналан. Пневмоаппаратты бл тріне пневмодроссель, редукционды жне сатандырыш пневмоклапандар жатады.
Ауа ондауыштар сыылан ауаны тазарту жне рату жмыстарын жне пневматикалы ондырыларды йкеліс беттеріне майлау материалдарын жеткізуге, атмосфераа ысылан ауаны шыару кезінде шу мен оршаан ораа зиянымен кресуге арналан. Бл ондырылар тобына сзгілер, ауа ратыштар, майшашыратыштар, пневмотншытырылар (пневмоглушители) жатады.
Пневможелілер пневматикалы жйелерде ысылан ауаны тасымалдауа арналан. Пневожйелерді рамына пневможеліліерді тарматала отырып, быр желілерін агрегаттара, пневматикалы жйе элементтері мен рылыларына, быр желілерін бір-бірімен жаластырып тратын быр желілері мен жаластырыштар кіреді.
Пневматикалы ондырыларды негізгі параметрлеріне келесілер жатады: шартты ткел, ысым диапазоны, шыын сипаттамасы, басарушы сер параметрлері, шыу параметрлері, аып кету параметрлері, іске осылу уаыты, сенімділік крсеткіштері, лшемі, массасы.
3.2.2. Пневмоозалтыштар
Пневмоцилиндрлер. Пневматикалы жетектерде кп таралан пневматикалы озалтыш трі піспекті пневмоозалтыштар, кейде оларды пневмоцилиндрлер деп те атайды. Жмыс істеу слбесіне арай пневмоцилиндрлер бір жне екі жаты сер етуші болып блінеді. ондырымен йлесу тсіліне арай пневмоцилиндрлер бекітпелі (прикрепляемые), ондырмалы (встраиваемые), агрегатталан болып ажыратылады. Орнату тріне арай стационарлы, отырытылы жне айналмалы пневмоцилиндрлер болып блінеді. Айналмалы пневмоцилиндрлер айналмалы саймандарды ысыш рылыларыны орнын ауыстыру шін олданылады (мысалы, метал жонушы станокты патрондарын).
Бір жаты серлі пневмоцилиндрлерде (3.1,а-сурет) ысылан ауа ысымы піспекті тек бірп жаынан сер етеді, екінші жаына піспек штокпен бірге баса кштер серінен орын ауыстырады. Сондытан бір жаты серлі пневмоцилиндрлер жмыс жрісіні кші піспекті орнына айту жрісіні кшінен лкен болан жадайларда олданылады. Серіппе кмегімен орнына айтарылатын пневмоцилиндрлерді азыра орын ауыстыруларды орындау шін олданылады (0,5...1,5)D; мндаы D-цилиндр диаметрі. ондырмалы серіппе сыылыанда піспек арылы артып отыран кшті азайтады.
Екі жаты сер етуші пневмоцилиндрлерде (3.1,б-сурет) пісапекті штокпен бірге озалысы арама-арсы баытта ысылан ауаны серінен болады, сондытан оларды жмыс жрісі кезінде де, айтарым жрісі кезінде де бірдей лкен кш ажет болан жадайларда олданылады.
Негізгі параметр Пневмоцилиндр штогындаы кштер Р,Н, берілген пневмоцилиндрлерді геометриялы параметлері бойынша келесідей формулалармен анытайды:
- бір жаты серлі пневмоцилиндрлер шін
(3.1)

3.1-сурет. Бір жаты (а) жне екі жаты (б)
серлі пневмоцилиндрлерді слбесі:
1-арты апа; 2-тры (гильза); 3-ныыздауыш; 4-піспек; 5-айтармалы серіппе; 6-алдыы апа; 7-шток; PВ ысылан ауа ысымы; D цилиндр диаметрі; d-шток диаметрі; F- штоктаы кш.
- екі жаты пневмоцилиндрлер шін
итеруші кш:
(3.2)
тартушы кш:
(3.3)
Мндаы, пневмоцилиндр диаметрі, м; сыылан ауа ысымы, Н/м2 (практикада = (0,4... 0,6) 106 Н/м2); ПК (детте =0,85…0,9;пневмоцилиндр диаметрі лкейген сайын ПК лкен болады); - айтармалы серіппені арсылы кші, Н; - пневмоцилиндр штогыны диаметрі.
Шток диаметрі,м; аіпті има кезіндегі беріктік шарттары мен траты орнытылы жадайынан шыып кету ммкіндігі бойынша аныталады:
(3.4)
Мнда, созылу кезіндегі шток материалыны ммкіндік кернеуі, Н/м2.
ауіпті има кезіндегі шток диаметрін анытааннан кейін бекіту тсілі мен піспекті астына отырызу диаметрін тадайды. Табылан шток диаметрін отырызу диаметрінен лкен етіп, стандартты атардаы мндерге жаыныра мнге дейін дгелектеп, абылдайды.
Сыылан ауа шыыны , м3/с :
- бір жаты серлі пневмоцилиндр шін
(3.6)
- екі жаты серлі пневмоцилиндрлер шін
(3.7)
мнда штокты жрісі, м; 1 жмысты саат ішіндегі піспекті екі жаты (двойной) жріс саны; атмосфералы ысым, Н/м2.
Ауа жібергіні ішкі диаметрі , м, сыылан ауаны жеткізу шін
(3.8)
мнда алыпты атмосфералы ысым кезіндегі жне сйкесінше ауа жібергідегі ысы кезіндегі тыыздытар, кг/м3 с., быр желісі арылы тетін ауа жылдамдыы (магистральды быр желісінде = 6... 12 м/с; пневматикалы жетекті біріктіргіш элементтерін жеткізуші быр желілерінде, = 16... 40 м/с).
Пневмоцилиндрлерді алыпты жмыс істеуіндегі негізгі шарт саылаусызды (герметичность) болып табылады. азіргі заманы пневмоцилиндрлерде негізінен ныыздауыштарды 2 типі олданылады:
- піспек пен цилиндрді жне штокты апапен біріккен жерлеріндегі саылауларды тыындау шін олданылатын, майа тзімді резекеден жасалынатын У-тріздес манжеттер;
- піспекті цилиндрлермен бірігуіндегі, штокты апапен цилиндрлерді озалмайтын бірігулеріндегі саиналы саылауларды тыындауа арналан, майа тзімді резекеден жасалан дгелек немесе шебер ималы саиналар.
Манжеттер келесі артышылытара ие: жоары мырлылы, саылаусызды, саиналара ойылатын ата талаптармен салыстыранда длдік пен ныыздауыш бетті деу сапасына ойылатын талаптарды жеілдігі.
Манжет кемшіліктеріне орындалу крделілігі мен ныыздауыш торапты лшеміні лкен болуын жатызуа болады.
Дгелек ималы саиналара ойылатын талаптар манжеттерге ойылатын талаптара араанда крделірек. Дгелек ималы саиналара длдік пен ныыздаушы бетті деу сапасына ойылатын талаптары жоарылау, сондытан ныыздауыш торапты лшемін азайтуды амтамасыз етеді.
Пневмоцилиндрлерге келесідей техникалы талаптар ойылады
- саылаусызды: ауа ысымы = 0,58 МПа кезінде ауаны сырта шыуын болдырмау;
- сыылан ауа ысымы = 0,9 МПа боландаы беріктілік;
- жмыса жарамдылы: жмысты ысым диапазоны = 0,195... 0,58 МПа аралыындаы штокты піспекті бір шеткі жадайынан келесі жадайа жылжуы жли тартусыз, жаймен туі ажет;
- осьтік кш, сыылан ауа ысымы = 0,58 МПа кезіндегі штокты піспекті жылждуынан сіп отыратын осьтік кш есептелген F кштен 85% кем болмауы тиіс;
- ныыздауышты ажетті оры: піспектері манжетпен ныыздалан цилиндрлер шін жріс зындыы цилиндр диаметріні екеуіне те боланда екі еселенген жріс (двойной ход) 400 000 кем болмауы тиіс, ал піспектері дгелек ималы саиналармен ныыздалан цилиндрлер шін екі еселенген жріс 150 000-нан кем балмауы тиіс.
Пневмокамералар. Пневмокамераларды станоктарды ысушы (зажимны), бекітуші, ауыстырушы, тежеуші, сыушы рылыларында жне оршаан ортаны ластануынан сыылан ауа мен ылалдан тазартылуы сапасыны тмендеуінен туындаан ауыр жадайларда жмыс жасайтын темір арауларды жетегінде олданады.
Пневмокамераларды артышылытары:
- жасап шыарудаы жмыс клеміні аздыы;
- жмыс уысыны саылаусыздыы;
- шашыратып май беруді ажет етпеуі;
- пайдалану шыыныны аздыы.
- Кемшіліктері:
- - жріс шамасыны аз болуы;
- Жріс кезіндегі кшті трасыздыы;
- Диафрагманы аз мырлылыы.
Диафрагмалар иілгіш резекелі матадан, синтетикалы материалдардан жасалады жне металды (болатты арнайы срыптарынан, ола мен алыдыы 0,2...0,5 мм болатын жез) болуы да ммкін. Техникалы ондырыларды пнематикалы жетектерінде иілгіш диафрагмалар ке олданыс тапан. Иілгіш диафрагмалар клдене иманы формасына байланысты жазы жне тарелке тріздес (таркльчатые) болып блінеді. Тарелке тріздес диафрагмалар тртабатты матадан (белтинг) жасалан жне екі жаынан да майа тзімді резекелермен апталан пресс-формаларда жасалынады. Жазы диафрагмаларды маталы тсемі бар техникалы резеке беттен (лист) иып алады.
Серпімді диафрагмалары бар пневмокамералар бір жне екі жаты серлі болып блінеді. Пневмокамераларды саймандармен йлесу тсіліне байланысты пневмокамералар мбебап, орналастырылатын (встраиваемые) жне бекітілетін болып блінеді.
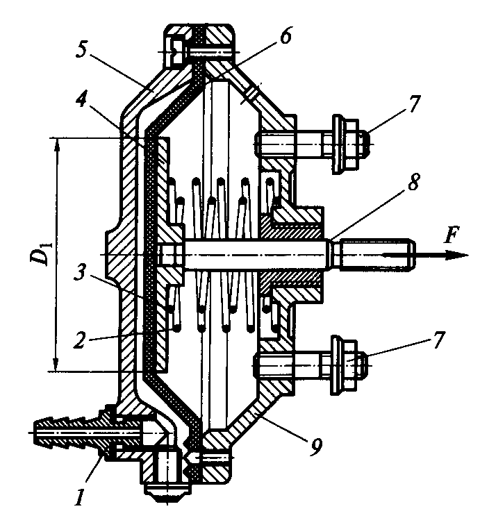
3.2-суретте стационарлы саймандардаы ысыш рылыларды жылжытуа арналан тарелке тріздес диафрагмамен жабдыталан, бір жаты ісерлі пневмокамераны слбесі крсетілген.
Пневмокамера аралыында тарелке тріздес диафрагма 6 ысылан трыдан 9 жне апатан 5 трады. Диафрагма штокта 8 орнатылан тіреуіш тыырыа 4 бекітілген. ысылан ауа лестіргіш краннан ттік жалауыш (штуцер) 1 арылы пневмокамераны штоксыз уысына келеді жне тіреуіш тыырыты диафрагманы жылжытады. Тіреуіш тыырыы бар диафрагманы бастапы жадайына айта келуі 2,3 серіппелерді кмегімен жзеге асады. Тры мен апа ср шойыннан, алюминий орытпасынан немесе штампталан болаттан жасалады.
Пневмокамераны жмысын сипаттаушы негізгі параметрлер: штоктаы F кш пен штокты жмыс жрісіні зындыы L.

3.2-сурет. Бір жаты сер етуші пневмокамераны слбесі:
1 сыылан ауа беруші ттік жалауыш (штуцер); 2, 3 серіппелер; 4 тіреуіш тыыры (опорная шайба);5 апа; 6 диафрагма; 7 смбілер; 8 шток; 9 тры; тіреуіш тыырыты диаметрі; штоктаы кш.
Пневмокамераларда штоктаы кш штокты бастапы орнынан соына дейін жылжуы кезінде згеріп отырады. Егер пневмокамераны штогын жмыс жрісіні зындыы бойымен ттастай жылжытатын болса, шток жрісіні соында сыылан ауаны барлы энергиясы диафрагманы серпімді деформациялануына жмсалады жне штоктаы пайдалы кш шамасы 0-ге дейін тмендейді. Сондытан жмысты жріс соындаы штокты кші бастапы жадайдаы шток кшіні 80...85% райтындай блігін ана олданады. Штоктаы кшті мні аз ана згерітіп отыратын пневмокамера штогыны жріс зындыыны оптималды мні диафрагманы диаметріне , алыдыына, материалына, тіреуіш тыырыыны диаметрі мен формасына байланысты.
Бір жаты сер етуші, жазы жне резекелі матадан жасалан тарелке трізді диафрагмалармен жабдыталан пневмокамералардаы шток кші F (Н) жуыталан трде келесі формуламен аныталады:
- штокты бастапы жадайында
(3.9)
- штокты тарелке трізді диафрагмалары шін 0,3D жне жазы диафрагмалар шін 0,07D зындыына жылжытан жадайда:
(3.10)
мнда диафрагма диаметрі (бекіту орнында), м; сыылан ауа ысымы, Н/м2 коэффициент, ; тіреуіш тыырыты диаметрі, м; жмыс жрісіні соындаы айтару серіппелеріні арсылы кші, Н.
k коэффициентін детте 0,6...0,8 аралыында абылдайды. k коэффициентіні аз шамалары кезінде пневмокамералармен лайтылатын кш шток жрісі кезінде біралыпты мнде болады, біра диафрагманы тиімді ауданы мен штоктаы сіп отыран кшті мні азаяды. k > 0.8 шамасын тадау сынылмайды, себебі бл шамада шток жрісі азаяды жне диафрагманы сызыты емес статикалы сипаттамасын лкейтеді.
Кп олданыстаы пневмокамералардаы сынылатын лшемдерге келесілерді жатызуа болады:
Диафрагмаларды есептелген диамертрлері D, мм
|
125 |
160 |
200 |
250 |
320 |
400 |
Диафрагма алыдыы ,мм
3...4,3...4,4...5,5...6,6...8,8...10
Пневмомоторлар. Жмыс элементіні трлеріне байланысты пневмомоторлар тегершекті, пластиналы, жараты (мембранные), брамалы (винтовые), турбиналы болады. Білігіні екі немесе бір ана баытта айналуына байланысты пневмомоторлар реверсивті жне реверсивті емес болып блінеді.
Пневмоторларды р типтеріні негізгі параметрлері 3.1/1/ кестесінде келтірілген. Кестеде тізімделегн пневмомоторларды зіне тн артышылытары мен кемшіліктері бар. Наты жадайларда мотро типін тадау оны артышылытарын жан-жаты баалауды талап етеді.
Е лкен айналу жиілігі турбиналы пневмоторлар бере алады, аз айналу жиілігі пластиналы, брамалы жне тегершекті пневмоторлара тн. Жараты жне радиальды-піспекті пневмомотролар жай жрісті болып табылады. Радиальды-піспекті пневмоторларды жмысты айналу жиілігі бос жріс айналу жиілігінен 25...30% тмен боланда ана пайдалану керек. Себебі осы айналу жиілікке сйке жылдамдыта олар жасы реттелінеді жне ауа олданылуы азаяды.
Пластиналы, брамалы, турбиналы пневмомоторлар орныты айналу моментін арттырады. Жараты, піспекті, тегершекті пневмоторларда момент трі толымалы (пульсирующий).
Е жоары адиабаталы ПК (сыылан ауаны аз жмсалуы) піспекті жне жараты пневмомоторлара тиесілі. Пластиналы жне тегершекті пневмомоторлардаы ПК мні тменірек (ауа шыыныны шамасы лкенірек боландытан). ПК-ті шамасын шуды бседеткіш (глушитель) орнату арылы тмендетуге болады. Турбиналы пневмомоторларда ПК тек ана уа лкен болса ана лкен мнге ие болады.
Турбиналы жне пластиналы пневмоторлар жараты, піспекті, тгершекті жне брамалы пневмомоторларынан минималды лшемдерімен ажыратылады.
Пневмомоторларды жараты жне шевронды тісті тегершекті пневмомотролардан баса типтері реверсивті трінде жасалынады (ауа беруді ауыспалы баыты). Реверсивті пневмомотролар аз уатты жне ауаны кп пайдаланады, біра бастапы айналу моменті мен толы жылдамдыа тез жетуімен сипатталады. Пневмомоторлар келесі механикалы сипаттамалары негізінде тадалады: пневмомотор білігіндегі моменті М, уаты N, сыылан ауа шыыны Q-ны орнатылан біліктегі айналу жиілігінен n туелділігін крсетуші.
Технологиялы ондырыларда арастырылан типтеріні ішіндегі кп олданылатыны пластиналы пневмомотор. Оларды пневматикалы саймандарды жетегі негізінде олданады,мысалы, брылау ондырылары, кілттер, бранда брауыштар, егеу щеткалары, айшылар т.б.
3.3-суретте эксцентрлі орналасан статор 5 мен ротордан 6 тратын кеінен таралан пластиналы пневмоторды рылымды слбесі крсетілген. Ротор бойындаы ойытарда бірнеше пластиналар 1-4 жылжып отырады. Статор шынан ауаны енгізуге жне шыаруа арналан тесіктері бар апапен жабылады. ВВ/ аймаы енгізу, ал СС/ шыару аймаы болып табылады. А нктесінен енгізу тесігіне баытталан озалысы кезінде пластина 3 сыылан ауа арсылыын жееді.

3.3-cурет. Пластиналы пневмомоторды слбесі:
1-4-пластиналар; 5 статор; 6 ротор; СС/ шыарушы айма; ВВ/ енгізуші айма.
Пластина В жиегіне ткенде, екі жатаы ысым тееледі де В/ жиегіне ткенге дейін саталады. Осы кезде жмыс блігіндегі пластинаа сер етуші (енгізу тесігі жаында орналасан) сыылан ауа ысымы келесі жатаы ауа ысымынан артады. ысымны ртрлі болуы себебінен пайда болан кш саат тілімен баытталан айналу моментін тудырады.
дебиет: 1.нег. [34-47].
Баылау сратары:
1. Пневматикалы жетекті негізгі артышылытары мен кмшіліктерін атаыз.
2. Пневматикалы жетектерді технологиялы ондырыны андай объектілерінде олданады?
3. Пневматикалы жетекті негізгі элементтерін санамалаыз.
4. Пневматикалы жетектердегі пневмоозалтыштар андай роль атарады?
5. Пневмоцилиндрді арналуы мен конструкциялы орындалуы.
6. Пневмоцилиндр штогындаы кш алай аныталады?
7. Пневмоцилиндрлерді жобалау кезіндегі негізгі сыныстарды атаыз.
8. пневмоцилиндрлерді жылжымалы жне жылжымайтын бірігулеріндегі негізгі ныыздау трлерін сипаттап берііз.
9. Пневмокамераларды олдану аймаы андай?
10. Тіреуіш тыыры диаметріні згеруі пневмокамераны сипаттамасына алай сер етеді?
11. Пневмомоторларды негізгі трлерін санамалап берііз.
12. Пневмомоторды ай трі олмен басарылатын пневматикалы жетек ретінде кп олданыса ие жне неге?
Технологиялы ондырылар жетегін жобалау. Пневматикалы жетек