Автомобиль доалатарына техникалы ызмет крсету жне жндеу жмыстарын жргізуге арналан жабдытар
№12 дріс. Таырыбы: «Автомобиль доалатарына техникалы ызмет крсету жне жндеу жмыстарын жргізуге арналан жабдытар»
12.1. Жалпы жне классификация
Автоклiктердi доалатарыны жндеуi мамандандырылан дгелек жинайтын ста немесе автомобиль клiгiнi ксiпорындарыны мамандандырылан блiмшелерiнде жргізеді. Доалатарды негiзгi ааулытары шинадаы тмендетiлген ысым, доалаты дисксіні деформациясы, шина жатауларыны желінуі немесе шинаны протекторыны деформациясы, камераны тозулары болып табылады.
Ірiлендiрiлген дгелек жинайтын блiмшедегi жмыс жасауды технологиялы дерiсін келесi кезекпен крсетуге болады.
ТК посттарында немесе арнайылатылан орындарда автомобильден шешілген доалатарды шиномонтаждаушы аймаа абылдайды. Жндеуге абылданан доалатар арнайы ванналарды жуылып, кептіріледі. немесе дейi апарылан орындара, дгелек жинайтын блiмшелерге абылдайды. Доалатар абылданан жндеуде арнайы ванналарда жуады жне кептiредi.
Шиналарды доалатардан демонтаждау жмыстары арнайы монтаждау жне демонтаждау стендтерінде жзеге асырылады. Блшектелген шиналар бтен заттар жне бзылуларды бар болулара арап шыады, шинаны iшкi блiктерiн тесіп ткен бзылулара тексеру кезінде жіне тесіктерін дуге ынайлы болуы шін механикалы, гидравликалы, пневматикалы спредерлер немесе бортты кеейткіштер пайдаланылады.
Жндеуге даярланан камералар мен шиналар аймаын болат дискі тріздес щетка бекітілген, иілгіш білігі бар электроозалтыштан тратын кедір-бдырлыты аспапты кмегімен дейді.
Вулканизациялы материалдар кмегімен шинаны немесе камера беттеріні жндеу матеиалдарымен тыыз байланысыуын амтамасыз етеді. Жнделіп болан камераларды герметикалыа тексереді. Деформацияланан болат доала дискларын дискларды тузетуге арнлаан станоктарда тзейді.
Жинаталан доалаты шыдайды, герметикалыа тексереді жне статикалы жне динамикалы дисбалансты жою масатында баланстайды.
Автомобиль доалатарына техникалы ызмет крсету жне жндеу жмыстарын жргізуге арналан ондырылар кешенін келесі топтара блуге болады:
- доалатарды тасымалдауа жне шешуге арналан ондырылар (келтірілетін гидравликалы домкраттар, пневматикалы жетектегі доала сомындарына арналан сомын брамалар, арапайым жне арнайылатылан арбашалар);
- шиналара Т крсетуге арналан ондырылар (ауа таратыш ттікшеге арналан манометрі бар штар, доалатарды жууа арналан арнайы ондырылар);
- шиналарды монтаждауа жне демонтаждауа арналан аспаптар (шиналарды монтаждауа жне демонтаждауа арналан стендтер);
- доала дискларын жндеуге арналан ондырылар;
- доалатарды статикалы жне динамикалы баланстауа арналан ондырылар .
12.2. Шиналарды монтаждауа и демонтаждауа арналан стендтер.
Шиналарды монтаждауа и демонтаждауа арналан стендтер здеріні конструкциялы орындалуларыны сан трлілігімен сипатталынады. Стендтерді конструкциялары стендтегі доалатарды орналасуына жне шина мен диск аралыындаы керіліс кшін тудыру тсіліне арай ажыратылады. Доалатарды орналасуына арай стендтер тік жне клдене болып ажыратылады. Клдене орналастыру жеіл автомобильдерді доалатарына арналан стендтерде ке таралан, бл оларды центровка жне атайту технологиясы шін аса ыайлы саналады. Доала массасыны ауырлыы мен лкен габаритті лшемдері шін жктік автомобильдер тік орналастырылан стендтерге ойылады.
озалыс алу кшін тудыру тсіліне арай стендтер статикалы жне динамикарлы трлерге блінеді. Конструкциялыы жаынан доала дискісі патрона айналмалы озалыс жасау ммкіндігі болмайтындай етіп бекітілген, шинаны трт алаша стап тратындай етіп жасалынан бірінші типтегі стендтер арапайым саналады. Доала элементтеріні озалуы (отрыв) гидроцилиндр серімен шина мен дискіге атысты осьтік озалуы есебінен барлы борт бойымен жзеге асады.
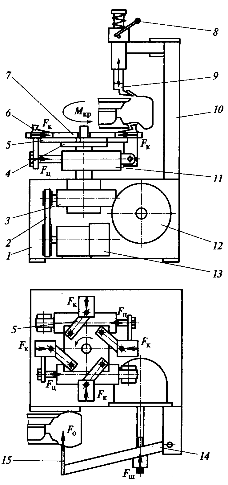
Жеіл автокліктерді доалатарыны шинасын монтаждауа жне демонтаждауа арналан стендтерді ке таралан слбесі 12.1-суретте келтірілген. Стенд горизонтальды абрылмалы стол 7, монтажды басы (головка) 9 бар монтажды аралытан 10 жне шина бортын сыуа арналан механизмнен тратын каркастан 1 ралан. Доала стендті жиектерне немесе орталы саылауа ек арама-арсы ждырышалара сер ететін екі пневмоцилиндр 11 кмегімен столды радиалды паздары арылы жылжып отыратын, трт ждырышаны 6 кмегімен бекітіледі. алан екі ждырышаа трт тартыштарды 5 кмегімен кш орталы дисктан 4 беріледі. Стол белдікті беріліс 2 пен тегершекті редуктор 3 арылы электроозалтышты 13 есебінен айналады.
Монтажды головка шинаны ажетті лшеміне орнату шін тік жне клдене баытта да жылжи алады. Монтажды головканы тік орнату ысыш ондырыны кмегімен олдысаппен (рукоятка) 8 жзеге асады.
Шина бортыны ободтан бірінші реттік ашытауы пневмокамера 12 кмегімен жетек алатын ысыш алаша 15 мен рычагтан 14 тратын механизм кмегімен жзеге асады. Стендтерді жмысы шін 220 немесе 380В кернеудегі элекрт уатыны кзі немесе 08...1,0 МПа ысыммен ысылан ауа желісі ажет.
Монтажды столды жетегі саналатын электроозалтыш жетегіні уаты , Вт, келесідей аныталады:
(12.1)
Мндаы Мкр айналу моменті, Н м; монтажды столды айналу жиіліг, мин-1; редуктор мен белдікті берілісті осынды ПК-і.
Ждырышаларды ыысуыны осынды кші мен айналу моменті , Н, диск бетіні доалаа атынасы келесідей туелді:
(12.2)
мнда К ор коэффициенті (К= 2,5); ждырышалармен біріктірілуге ыпал жасайтын доала дискісіні беттік радиусы, м; доала дискісі мен ждырышалар арасында пайда болатын йкеліс (= 0,2...О,25).
Шток кші , Н, ждырыша жетегіні бір пневмоцилиндріндегі
(12.3)
мнда монтажды стол ждырышаларыны саны; рычагты механизм мен ждырыша жетегіні осынды ПК-і.

12.1.-сурет. Жеіл автокліктерді доалатарыны шинасын монтаждауа жне демонтаждауа арналан стендтерді ке таралан слбесі:
1 каркас; 2 белдікті беріліс; 3 тегершекті редуктор; 4 диск; 5 тартпа; 6 ждырыша; 7 монтажды стол; 8 монтажды головканы тік орналасуын реттеуші сап; 9 монтажды бас; 10 монтажды аралы; 11 ждырыша жетегіні пневмоцилиндрі; 12 шина бортын ысуа арналан механизм жетегіні пневмокамерасы; 13 электрозалтыш; 14 шина бортын ысуа арналан механизміні рычагы; 15 ысыш алаша; , брылмалы монтажды столга бекітілген айналу моменті; ждырыша жетегіні пневмоцилиндр штогыны; диск жиегіне ждырышаларды ыысу кші; ысу алашаларындаы кері итеру кші; ысу алашаларыны жетегіндегі пневмокамера штогыны кші.
ысу алашалары жетегіндегі пневмокамера штогындаы кш , Н,
(12.4)
мнда ысыш алашада жоарылайтын кері итеру кші, Н; передаточное отношение рычажного механизма отжима борта шины; шинаны ысыш бортындаы рычагты механизм ПК-і ( = 0,85).
Жктік автомобильдер мен автобустарды доалатарын монтаждау стендтері вертикальды орнатылады. Мндай стендті ке таралан тріні слбасы 12.2-суретте крсетілген. Стенд аралы 10 пен монтажды кансоль 15 орнатылан негізден 8 трады. Доала ободты ішкі блігіне бекітіледі немесе трыдан 2 жне ждырышалары бар 4 трт рычагтан тратын здігінен орталытандырылатын ысыш ондыры кмегімен орталы саылауа орнатылады.
Монтажды-демонтажды жмыс кезінде доалаты айналуы электрозалыштан 13, белдікті берілістен 12 жне тегершекті редуктордан 14 тратын электромеханикалы жетек кмегімен жзеге асады.

12.2.-сурет. Жктік автомобильдер мен автобустарды доалатарын монтаждау стенді:
1 монтажды консоль жетегіні гидроцилиндрі; 2 ысыш механизмні трысы; 3 рычаг; 4 ждырыша; 5 ысыш механизм жетегіні гидроцилиндр штогы; 6 монтажды бас; 7 ысыш ролик; 8 негіз; 9 сорап жетегіні электроозалтышы; 10 аралы; 11 аралыты ктеру гидроцилиндрі; 12 белдікті беріліс; 13 доалаты айналу жетегіні электроозалтышы; 14 тегершекті редуктор; 15 монтажды консоль; 16 баыттаушы; 17 стендті гидравликалы жйесіні сорабы; доалаа осылан айналу моменті; ысыш механизм жетегіндегі гидроцилиндр штогыгын куші; ждырышаларды диск жиегіне ыысу куші; ысу алашасындаы кері итеру кші.
Доалатарды стендтерге орнату ыайлы болуы шін ысыш ондырыларды жмыс биіктігіне гидроцилиндр 11 кмегімен ктеріп-тсіруге болады. Стенд гидроцилиндрлеріне майды электрозалтыштан жетек алушы 9 сорап 17 арылы жеткізіп отырады.
олданылатын жктік автомобильдер доалатарын шинамонтаждауа арналан стендтерінде шина бортындаы ысу кші 31000 Н амтамасыз етіледі. Сйкесінше бірінші жне екінші берілістердеайналу жиілігі 3,5 и 7,0 мин-1 шамасында доалатарды айналу жетегіндегі электроозалтышты уаты 1,5...2,2 кВт. Гидро сорап жетегіндегі уат 1,5 ... 4 кВт райды жне гидравликалы жйеде 14т МПа-а дейін ысымды амтамасыз етеді.
12.3. Шиналар жне камераларды жндеуi шiн жабды
Спредер жне кеейткiштер шиналарды жиектерiнi сiруi шiн оларды тексеруi жне жндеуде олданады.
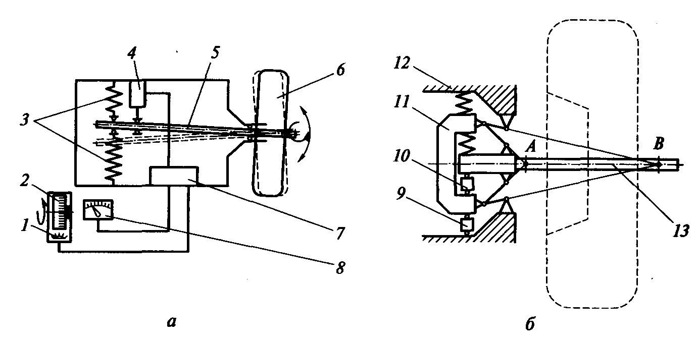
Пневматикалы жетегi бар траты спредердi схемасы 12.3-шi сурет крсетiлген. Спредер (схемада крсетiлмеген) пневмо ктергiш шiн шыры бар арнайы iргелерде орнатады. Спредер тiрек татадан штогiнде 5-шi тiрек стел орналастыран 2-шi кш беретiн пневмоцилиндр бекiткен 1 трады. Пневмоцилиндрды жоары апаына З жне жергiлiктi жарытандыруды шыраы бар табандыа 6, тiрек шыыршытар 4 басып алулармен екi тетiктердi бекiтедi.
Спредерге шинаны оюлары шiн шинаны кмегiмен тiрек шыыршытара ктерiп домалататын пневмо ктергiштi пайдаланады. Шинаны такомаларды майып орын 5 спредердi тiрек стелiнi стiнде болу шiн жадайларында тiрек шыыршытарда айналдыра орнатады, жне (12.3-шi сурет) басып алулар орнатады.Пневмоцилиндрге ауа берілгенде шток протектор жаын ішіне арай ыыстырады, ал ысыш шинаны жанын сырта арай ыыстырады. (12.3, -сурет).

12.3. сурет. Шина борттарын ажыратуа арналан пневматикалы жетекті слбасы: а бастапы жадайы; б оы жадайы; 1 тірек татайшасы; 2 пневмоцилиндр; З тірек роликтері; 4 рычаг; 5 тірек стол; 6 ысыш ; 7 шина
Электровулканизаторлар шиналар мен камераларды жндеуге, шраларды фланецтерін жасауа, ысты вулканизация арылы камера мен шраны біріктіруге арналан. Жиектердi сiруiн тетiкке басып алулары бар екi жаты сердi пневмоцилиндр алып келетiн екi топсалы ойылан баандар болатын кеейткiштердi конструкциясы бар болады. Басып алулар жиектердi ажыратылып ойылан кйiнделер шинаны айтаруа ммкiндiк беретiн айналмалы роликтердi трiнде орындаан. Конструкцияларда сонымен бiрге протектор шинаны бiр блiгiне шинаны жиектерiнi сiруiнде тысыратын жне ол iшiне сыан ысымшы ескерiлген бесiншi. Тiрек шыыршытарды айналуды ерiксiз келтiру - электр озаышынан червяк редукторы жне тiзбектi берiлiс арылы. Барлы конструкция бiрттас днекерленген корпуста орналасады.
Егер бл екi жеке резеке элементтерiнi тиiстi кшiмен ысса, онда бтiн осу аздан кейiн растырады. (140 3 ) вулканизацияны температурасы тымды болып есептеледi.
Бiржаты ыздыруы бар стола оятын трдi вулканизаторыны негiзгi тйiндерiмен ыздыру элементiмен корпус, тата жне ысымшы рылымдар болып табылады. Электр вулканизаторды комплектке осымша беттi шраларды жасауы жне камерасы бар шраларды осуы шiн р трлi диаметрдi ысатын таталанандары, протектор жне бйiр матрицалар, аз габариттi мды аптар, пресс-алыптар кiредi.
ыздыру элементi саылауларындаы 0, 5 ммнi диаметрiн нихром сымынан ашы спираль орналастыран керамика негiзiнен трады.
12.4. Автоклiктердi доалатарыны тедеуiшi шiн стендтер
Автоклiк шинасы ртрлi рамдардан ртрлi элементтердi лкен санынан резеке араластыруа тратын крделi технологиялы бйым болады, сонымен бiрге болды, кездеме, синтетикалы материалдар. Демек, материалдарды бiр алыпты лестiрiлуiн жасалсын, жне масса - протектор блiгiндегi шинаны ауыр орындарыны пайда болуына жне жатауда крделi жне сзсiз алып келедi.
Бдан баса, жиындаы доала автоклiктi кпшек, диск туралы ортаа дл келтiрудi бзылысымен аныталуа шра, зiмнi шрасына саылау алатын бола алады кейбiр массасы болады.
Тепе-тедiктi сатау стендтi рекет ету аидаты келтірілген стендiнi мысалында арап шыамыз. (12.4-шi сурет). Трасыз массаларды доалаындаы шама жне онысты анытауларын негiзде - орталытан тепкiш кштердi айырымны пайда болуын аида. Бекiтiлген 6-шы доалаымен онда таратадыдан натылы айналу жиiлiгiне дейiн 5 стендiнi бiлiгiн динамикалы тедеуiшiнi жанында. Доалаты шала массасы 4-шi оларды электр импульс те растыр индукция датчиктерiне 3тен тербелмелi жйе арылы берiлген бiлiктi механикалы тербелiстерi шаырады. Соысы 8-шi лшегiш аспап берiлетiн кернеулерге алыптасатын 7-шi электронды-лшеу блокке тседi. рал (граммдардаы) шала массаларды шамасын крсетедi, массаларды жадайы 1 жне синхронды доалапен айналмалы блiктелген дисктi стробоскопиялы шамы кмегiмен 2 аныталады: шамны жар етуiн момент доалаты шала орыныны шеткi тменгi жадайына сйкес келедi.
Стендтi бiлiгiн доалатарды статикалы тедеуiштi жанында ерiксiз келтiрумен лестіреді.
Датчиктерге доалаына консолды орналастырылуы бар тепе-тедiктi сатау стендтердi ашытыты доалатарына р трлi. Доалаты дисбалансыны тзетуi йткенi тетiктi заы бойынша болады, жне датчиктердi крсетіледі.
Берілген конструкцияда (12.4-шi сурет) 11-шi жылжымайтын рамаа 12 9-шы датчик арылы ара сйейтiн атты осалы рама олданылар едi. 13-шi тепе-тедiктi сатау бiлiк 10-шi екiншi датчик арылы рамаа араланады. Екiсi датчиктерде болады, сайып келгенде, бiр орта тiрек жазытыта. Конструкцияны арасында осымша рама тратын тетiктер жне топсаларды жйелерiмен, доалаты сырт болатын виртуалды тiрек нктесi крiнiп алады. Iшкi тiрек нктесi брышпен бiр-бiрiне орналасан тiрек тетiктер кмегiмен сонымен бiрге растырыла алады. Мндай конструкция емес тербелiстердi лшемi ндiрiп алуа ммкiндiк бередi, датчиктердi оюын орын емес, датчиктердi сi жне бiлiктi стерi проекцияларды иылысуы нктеге. Сайып келгенде, (датчиктермен ) екi тiректердi арасындаы доалаы бар бiлiктi (лабораториялы ) виртуалды орналастырылуын пiшiндейдi. Сонымен бiрге, салдар алай, стендтi крсетулерiн жоарылатылан длдiк жне орнытылытар амтамасыз етiледi.

12.4-сурет. Теестіргіш стендтерді слбасы:аК-121 мод.доалатарды консольды орналасуы; б сезгілерді консольды емес; 1 стробоскопиялы шам; 2 градуирленген диск; З тербеліс жйесі; 4, 9, 10 сезгілер; 5, 13 теестіргіш біліктер; 6 теестірілетін доала; 7 электронды-лшеуіш блок; 8 лшеуіш аспап; 11 осымша рама; 12 жылжымайтын рама; А ішкі тірек нктесі; В виртуальды тірек нктесі.
Автоклiктегi доалатарды тедеуiшi шiн стендтер оператор шiн жылжымалы отыруа арналан позиция болып табылады. Стендтер автоклiктi доалаты жатау ысылатын айдаушы диск 180 км/ч дейiн автоклiктi озалысты имитациясы масаттарындаы алдын ала салматалан доалаты айналуы шiн ерiксiз келтiрудi тйiнi бар бiрттас корпуста жылдамдыпен орындаан.
Келтiрiлген доалаты айналуына дисбалансыны баасын доалатарыны динамикалы тртiбiнде тедеуiшiнi жанында автоклiктi аспа тербелiсісіні амплитудасыны мнi бойынша анытайды.
Доалаты тедеуiшiнi длдiгiне лшеу жйесiнi бден жетiлуiана емес, стендтi тепе-тедiктi сатау бiлiгiндегi доалаты ортаа келтiруiн длдiк те ыпал етедi. Ке тараландарды доалаты ортаа келтiруi шiн базасы ретiнде (12.5-шi сурет) дисктi орталы саылауын олданылатын доалаты ортаа келтiруiн дiс болып табылады. Доалаты бекiткiшi осы жадайда 3 жне тiреу гайканы 2, конусты фландыыны конусты адаптерi кмегiмен 4 жзеге асырады.
Конусты адаптер рыштан жасалан дадылы доалатар жне орталы саылауды бет коррозия жне тозуды iздерiн алмайтында жадайда шiн олданады.

12.5. сурет. Теестіргіш стенд білігіне доалаты орналастыру слбасы: а конусты адаптер кмегімен; б фланецтік адаптер кмегімен; 1 стенд білігіні фланеці; 2 конусты адаптер; З конусты фланец; 4 бекітуші сомын; 5 фланцті адаптер
Ыли бiр конус арасында конусты адаптер ке таратылан доалаты белгiлеу уаыты ысартатын орталы саылауды р трлi лшемдерi бар доала орнатуа ммкiндiк бередi. Бл дiс дегенмен орталы саылауды жасауды аласа длдiк, артынан ортаа келтiрудi жоары длдiк амтамасыз ете алмайды.
дебиет: 1.нег.[229-242]
Баылау сратары:
Автомобиль доалатарын жндеуге арналан ондырыларды арналуы мен турлерін атаыз.
Жеіл автоклік шиналарын монтаждау жне демонтаждауа арналан стендтерді есептеу ретін, конструкциясын жне жмыс принципін санамалап берініз.
Жктік автоклік шиналарын монтаждау жне демонтаждауа арналан стендтерді есептеу ретін, конструкциясын жне жмыс принципін санамалап берініз.
4. Бортты кеейткіштерді жне спредерлерді арналу, конструкциясы мен жмыс принципі.
5. Автомобиль доалатарын теестіруге арналан стендтерді арналуы мен жмыс принципі.
6. Теестіргіш стенд білігінде доалаты орналастыруа арналан конусты адаптерді артышылытары мен кемшіліктерін атаыз.
Автомобиль доалатарына техникалы ызмет крсету жне жндеу жмыстарын жргізуге арналан жабдытар