Технологиялы ондырылар жетегін жобалау. Гидравликалы жетек
№4 дріс. Таырыбы «технологиялы ондырылар жетегін жобалау. Гидравликалы жетек»
4.1 Гидравликалы жетек
4.1.1. Жалпы мліметтер мен сыныпталуы
Гидравликалы жетек сйы айдаушы аппаратурадан, гидроозалтыштан, басару жйесінен, лестіргіш жне сатандырыш рылылардан, быр желісінен тратын дербес ондыры. (4.1-сурет). Гидравликалы жетектерде жмыс сйытыы ретінде детте минералды немесе сімдік майларын жне оларды оспалары пайдаланылады.
Гидравликалы жетектер тмендегідей артышылытара ие:
- жылдамды пен берілісті сатысыз реттеу ммкіндігі;
- басару жеілдігі мен арапайымдылыы;
- жмысты жайлы жне шусыз болуы;
- гидравликалы жйеде май ысымыны жоары болуы (15МПа дейін);
- шаын габариттік лшемдерде лкен кш тудыру ммкіндігі;
- динамикалы тртіпте жмыс жасауы;
- жмыс сйытыыны жетегі озалмалы блшектерін тозу мен коррозиядан сатау масатында бір мезгілде майлау функцияларын да атара алуы жне т.б.
Сонымен атар келесідей кемшіліктері бар:
- бастапы ныны ымбат болуы;
- майды аып кетуін ескерту масатында пайдалануа ойылатын талаптарды жоары болуы.

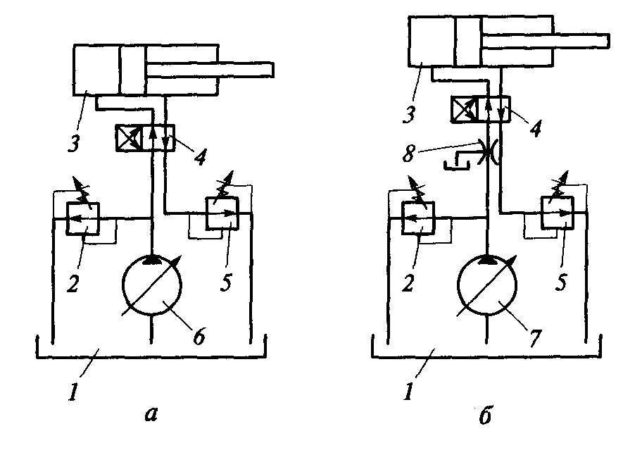
4.1-сурет. Гидравликалы жетекті клемдік (а) жне дроссельдік (б) басарылуыны принциптік слбесі:
1- гидробак; 2 - сатандырыш клапан; 3-гидроозалтыш; 4 -гидролестіргіш; 5-сырыты (подпорный) клапан; 6-реттелетін сорап; 7-реттелмейтін сорап; 8-дроссель
4.1.2. Гидравликалы жетекті сораптарын тадау
Сйыты ысыммен ю (отару) шін гидравликалы жетектерде олмен басарылатын, рычагты жне бір немесе екі сатылы брамалы сораптар, пневмогидравликалы сораптар, электрозалтышынан жетек алатын тегершекті, пластиналы, радиалды-піспекті, аксиальды-піспекті сораптар олданылады.
Егер радиалды сорап болса, сйыты берілімін реттеу эксцентритетті згерту есебінен жреді; сорап аксиальды-піспекті болан жадайда тыырыты клбеулігіні згеруі есебінен жреді.
Гидроцилиндрге келтірілетін уат, NГЦ, Вт
(4.1)
Мнда, гидроцилиндр штогындаы кш, Н; штокты озалыс жылдамдыы, м/с; - гидроцилиндрді жалпы ПК-і ((3.2)кесте/1/.
Гидроозалтыша келтірілетін уат , Вт,
(4.2)
мндаы гидроозалтыш білігіндегі айналу моменті, Н . м; - гидроозалтыш білігіндегібрышты айналу жиілігі, рад/с; гидроозалтышты жалпы ПК-і (3.2)/1/кесте).
Гидроозалтыша келтірілетін жалпылама жинаталан уатты , Вт бірмезгілде жмыс жасаушы бірнеше гидроозалтыштарды уаттарыны осындысы ретінде анытайды.
Жеіл жне орташа жмыс режиміндегі гидравликалы жйелерде рылысы, ызмет крсетілу баасы жаынан арапайым тегершекті сораптар олдану ыайлы болса, ауыр жне аса ауыр режимдерде роторлы-піспекті сораптар олданан ыайлы.
Тегершекті сорап - ыыстырып шыарушы ілінісетін тістер, ал ыыстырылып шыарылатын клем тістерімен тйыталатын роторлы айналмалы сорап. Сорапты бл трі ішкі жне сырты іліністі тегершектер трінде жасалады. Ке тараан трі ішкі іліністі сорап. Ол ілініске кіру жне шыу орындарында арналары бар трыны ішіне апсыра орнатылан ос тегершектен трады. (4.2-сурет).тегершек айнала отырып сору уысынан сйытыты армап алып, оны ойыстармен тасымалдайды жне айдаушы уыса ыыстырып шыарады. Кп жадайда іліністе бірдей тегершектер болады.

4.2-сурет. Тегершекті сорапты слбесі:
1,3- тегершектер; 2- тры.
Тегершекті сораптар баса сораптармен салыстыранда арапайым жне пайдалану кезінде жоары сенімділікпен, габаритті лшемдері мен салмаыны аздыымен, мырлылыы мен ышамдылыымен ерекшеленеді. Тегерішті сораптарда білікті айналу жиілігі сйкесінше жоары болады, сонымен атар ысыма байланысты ыса уаытта жуктелуі, мойынтіректі лшемімен аныталатын шама мен затылыы, ттыр майларда да тиімді жмыс жасай алады. Ке таралан тегершекті сораптар 4...250см3 жмыс клеміне ие жне номиналды айналу жиілігі 1500...2500 айн/мин кезінде номиналды ысымды 0,25...25 МПа аралыында арттырып отырады. Сорапты салмаыны уата атынасы шамамен 2 кг/кВт-а те.
Сорапты орташа наты берілімі , м3/с, лшемдері бірдей тегершекті сораптар шін келесі эмпирикалы туелділікті кмегімен анытауа болады:
, (4.3)
мнда жетекші тегершекті бастапы шебер диаметрі, м;
тегершекті тістеріні саны; тегершекті ені (тісті зындыы), м; тегершекті айналу жиілігі, мин-1.
4.2. Пневмогидравликалы трлендіргіштер
Пневмогидравликалы трлендіргіштер сыылан ауа энергиясын жмыс сйытыыны энергиясына ысымны шамасын згерте отырып трлендіруге арналан. Жыс істеу принципіне арай пневмогидравликалы трлендіргіштер тіра сер етуші жне тізбектеп сер етуші болып блінеді.
Тура сер етуші пневмогидравликалы трлендіргіштер пневмоцилиндр уысындаы ысылан ауа моментінен жмыс сйытыыны гидравликалы жйесіне жоары ысымды беруге арналан.
Тізбектеп сер етуші пневмогидравликалы трлендіргіштер гидравликалы жйеге бірінші жмыс сйыыны тменгі ысымын, кейіннен жоары ысымды беруге негізделген. рылымды белгілеріне арай пневмогидравликалы лестіргіштерді піспекті, жараты, растырылмалы (комбинированные) деп блуге болады.

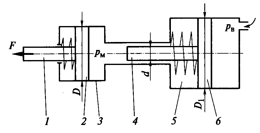
4.3-сурет. Тура сер етуші пневмогидравликалы кшейткіш слбесі: 1-гидроцилиндрді штогы; 2-гидроцилиндрді піспегі; 3-бір жаты сер етуші гидроцилиндр; 4 пневмоцилиндр штогы (плунжер); 5біржаты серлі пневмоцилиндр; 6 - пневмоцилиндр піспегі; рВ, ауа ысымы; РМ, май ысымы; - пневмоцилиндр диаметрі; - пневмоцилиндр штогыны диаметрі (плунжер); гидроцилиндрді диаметрі; - гидроцилиндр штогындаы кш.
Тура сер етуші пневмогидравликалы кшейткіш (4.3-сурет) піспегі бар бір жаты сер етуші пневмоцилиндрден 5 жне піспекті бір жаты сер етуші гидоцилиндрден 3 трады. ысылан ауа (рВ, = 0,4... 0,6 МПа) штоксыз пневмоцилиндр уысына келеді жне піспек 6 пен штокты 4 сола арай жылжытады. Шток 4 плунжер ызметін атара отырып, майа сер етеді де ысымын тудырады. Май ысымыны серінен гидроцилиндр піспегі 2 штокта F кшін тудыра отырып жылжиды.
Жетек тепе-тедігі кезінде келесі тедікті жазуа болады:
(4.4)
Трлендіру арылы келесі тедікті шыарамыз:
(4.5)
мнда - пневмоцилиндр диаметрі, м; - плунжер диаметрі, м.
Пневмоцилиндр штогыны жріс шамасы , м
(4.6)
мндаы - гидроцилиндр штогыны жрісі, м.
Пневмогидравликалы сораптар гидравликалы жйеге жмыс сйытыын айдауа олданылады жне технологиялы ондырыларды гидравликалы жетектерінде кеінен олданыс тапан (домкраттар, ктергіштер, тсіріп алушылар, пресс, т.б.).
рылымды белгілеріне арай бір жне екі жаты сер етуші пневмогидравликалы сораптар ажыратылады.

4.4-сурет. Бір жаты сер етуші пневмогидравликалы сорапты слбесі:
1-пневмоцилиндр; 2-пневмолестіргіш; 3,5- айдаушы жне сорушы клапандар; 4 гидробак; 6пневмоцилиндр піспегі (плунжер); А айдау камерасы.
Бір жаты сер етуші пневмогидравликалы сорапта (4.4-сурет) сыылан ауа пневмолестіргіштен 2 біртіндеп пневмоцилиндрді 1 штоксыз жне штокты уыстарына беріледі. Піспек уысына сыылан ауа берілген кезде жмыс сйытыы гидробактан 4 сору клапаны 5 арылы тіп, айдау камерасына тседі. Сііру жне сору циклдері теді.
Пневмогидравликалы сорапты берілімі, Q, м3/с,
(4.7)
мнда плунжер диаметрі, м; пневмоцилиндр піспегіні жрісі, м; піспекті 1 минут ішіндегі жмысты жрісіні саны; сорапты клемдік ПК-і.
Пневмогидравликалы аккумуляторлар ысылан жмыс сйытыыны энергиясын жинатауа жне оны жмыс сйытыыны шыыны крт атан кезде гидравликалы жйеге беруге арналан. Жмыс сйытыыны энергиясын жинау процесі жйеде гидравликалы энергия болмаан жадайда немесе те аз, ескермеуге болатын шамада болан кезде жреді.
Пневмогидравликалы аккумуляторларды плунжерлі сорап арылы беру циклділігін біркелкі ету шін аынды жуу ондырыларыны гидравликалы жйелерінде жне жйедегі майды ысымын біркелкі сатауды амтамасыз ету шін майтаратыш ондырыларда олданылады.
Пневмогидравликалы аккумуляторлар бастапы зарядтау ысымына ие сыылан ауамен толтырылан ыдыс трінде болып келеді. (4.5-сурет)
Гидравликалы жйеден жмыс сйытыы келгенде ыдыстаы газ сыылады жне ысымы максималды мнге жетеді. (4.5,б-сурет). Зарядсыздану кезінде жмысты сйы ыдыстан ыысу салдарынан ысым мнге дейін газ сирейді. (4.5,в-сурет).
Мндай аккумуляторлар детте жмыс сйытыы мен газды арасына блгіштер ойылып жасалынады. Блгіштер газды сйытыта еруінен сатайды жне жмыс істемейтін гидравликалы жйедегі толы зарядталуын жоа шыарады.

4.5-сурет Пневмогидравликалы аккумуляторларды есептеу слбесі (а-в):
аккумуляторды толы сыйымдылыы; аккумулятордаы газды бастапы клемі; жмыс сйытыыны пайдалы клемі; газды бастапы ысымы; газды максималды ысымы; газды алды ысымы.
4.3. Электрмеханикалы жетек
Электромеханикалы жетек жетекті электроозалтыштан, муфтадан, редуктордан тратын агрегат. ондыры білігі мен электрозалтыш біліктері, осы біліктерді айналу жиіліктері бірдей болан жадайда ана біріктірілуі ммкін. Мысалы, ортадан тепкіш сорап жетегінде, желдеткіштерде жне т.б. егер осы шарт орындалмаса, ондыры жетегіне берілісті бседетуші немесе арттырушы рылыларын орнату талап етіледі.
Оптималды беріліс типін келесі факторларды ескере отырып анытайды: пайдалану шарттары, жмыс процесіндегі жктелу сипатыны згеруі, бекітілген жмыс мерзімі, ауіпсіздік ережелері, ызмет крсету жне жндеу жмыстарыны ыайлылыы.
Наты ойылатын шарттара байланысты механикалы жетекті рылыларды жобалаушы конструктор ртрлі титегі берілістерді олдану жне йлесу нсаларын арастыру керек. Бл берілістер типіне тісті, брама, белдікті, шынжырлы, фрикционды берілістер атары жатады.
Жетекті рылыларды жобалауды кинематикалы есептеуден бастаан тиімді саналады. Есептеуге ажетті бастапы шамалар келесі крсеткіштер болып табылады: ондырыны озалыса келтіретін білікті номинал айналу моменті М, оны брышты жылдамдыы немесе айналу жиілігі, белшілі мерзі кезіндегі айналу жиілігі мен жктелу згерісіні графигі.
Тасымалдауыш жетектеріне кбінесе жетек білігіні айналу жиілігіні орнына белдік немесе шынжыр жылдамдыын жне сйкесінше барабан немесе жлдызша диаметрін; ал жетек білігіні моментіні орнына домалау кші F крсетіледі. Осы мліметтер арылы момент пен айналу жиілігіні мнін оай анытауа болады. рі арай электрозалтыш білігіні айналу жиілігін біле отырып (синхронды жиілік атары = 1 000; 1 500; 3 000 мин-1 ) , жетекті бірнеше нсалары шін беріліс атынастарын анытайды. Табылан нтижелерді саралай отырып, рамына ртрлі типтегі механикалы берілістер кіретін жетекті жайастыруды (компоновка) бірнеше нсаларын белгілеп алады.
Жетекті кинематикалы слбесін рі арай жобалау процесінде натыланатын, аяталмаан жоба деп арастыру керек. Электроозалтыш тадаанда келесідей пайдалану шарттары болуы ажет: уат пен білікті айналу жиілігі, жктелу графигі, температура, оршаан орта ылалдылыы жне т.б. осы мліметтерге сай каталогтан электроозалтыш тадалынып алынады. Тадалан электроозалтышты орныан жне тпелі режимдерінде, сонымен атар ыса уаытты жктелу кезіндегі ызуын, жылуын тексереді.
дебиет: 1.нег.[47-71]
Баылау сратары:
1.Гидравликалы жетекті артышылытары мен кемшіліктері.
2.Гидравликалы жетектегі сйыты шыынын андай тсілмен реттеп отырады?
3.Гидравликалы жетектерді есептегенде андай негізгі тапсырмалар шешіледі?
4.Гидравликалы жетек сораптарыны негізгі параметрлері алай аныталады?
5.Гидроаппаптураны арналуы
6.Гидравликалы жйедегі жалпы ысым жоалту алай аныталады?
7.Гидроцилиндрлерді параметрлерін есептеу реті андай?
8.Гидромоторларды арналуы мен параметрлерін есептеу реті.
9.Гидравликалы жетектегі смыс сйытыын одауды тсілдері атаыз.
10.Гидравликалы кшейткішті арналуы мен жмыс принципі.
11.Пневмогидравликалы сораптарды арналуын, жмыс принципін жне олдау аймаын айтып берііз.
12.Пневмогидравликалы аккумуляторды арналуын, жмыс принципін жне олдау аймаын айтып берііз.
13.Электромеханикалы жетекті есептеу реті
Технологиялы ондырылар жетегін жобалау. Гидравликалы жетек