Тазартуа жне жинап-жууа арналан ондырылар
№5 дріс. Таырыбы: «Тазартуа жне жинап-жууа арналан ондырылар»
5.1. Жалпы мліметтер мен сыныпталыуы
Пайдалану процесіндегі жне жндеуге тскен автомобильдер мен оларды раушы блшектеріні беткі блігі ластанан болады. Бл ластану ызмет крсету жне жндеу жмыстарын алыпты жргізуге келтіруге кедергі келтіреді, ааулыы мен баылау длдігін анытауды нашарлатады, німділік пен ебек мдениетіні тмендеуіне келеді жне жндеу жмысыны, блшектер ресурсы мен ттас автомобиль сапасына сер етеді.
Техникалы ызмет крсету жне жндеу жмыстары кезінде жинап-жуу жне тазалау жмыстарыны сапалы жне уаытылы жргізілуі лактап сырланан тсемні саталуына, пайда болан аауларды жылдам табуа, жндеу жмыстарын жргізуші жмысшыларды ебек німділігін арттыруа жне сйкесінше автомобиль мырлылыы мен техникалы дайындыына лкен сер етеді.
Жинап-жуу жне тазалау жмыстары ауыр физикалы ебекті талап ететін жне лас, ылал, ыайсыз жадайларда жретін лкен клемді операциялардан трады. Осы жмыстарды клемін ысарту, оршаан ортаны орау талаптарын орындау, экономикалы шыындарды азайту жне леуметтік немесе баса да себептерге байланысты техникалы ызмет крсету жне жндеу жмыстары шін жинап-жуу жне тазалау ондырыларын жаарту жмыстары жргізілуде.
Автомобиль техникасын, оны раушы бліктері ен детальдарын, оларды агрегаттарын ы, тораптарыны сырты жне ішкі бліктеріін ластанудан тазартаннан кейінгі алан ластану дегейі техникалы ызмет крсету жне техникалы ызмет крсету жмыстарын жргізуге, сонымен атар сол тазартылан блікті айтадан ластанбауын амтамасыз етеді.
Жуу мен тазалауды ажет ететін объектілер келесідей негізгі параметрлермен сипатталады:
- беткі блігіндегі ласты рамы, клемі, жне ерекшелігі;
- бедерлік коэффициенті, беттерді йлесімді экрандалуы;
- габариттік лшемдрі мен массасы;
- жасалынан материалды рамы мен ерекшелігі;
- тазалау процесіні бастапы температурасы.
Тазалау дістеріні келесі трлері болады: механикалы, физико-химиялы, биологиялы.
Механикалы діс нормаль жне жанама кштермен сер ету арылы ластан тазартуа негізделген.
Физико-химиялы діс олекулярлы айналдыру, еріту, лайса жне майшы тзу, жылу энергиясын шыындау, радиациялы сулелену, жне баса да физико-химиялы процестер есебінен ласты жоюа негізделген.
Биологиялы діс ластануды микроогранизмдерді кмегімен жою тсіліне негізделген. Биологиялы дісті іске асыру кейбір иындытар туызатындытан, олара олданыс табылан жо жне рі арай бл діс трі арастырылмайды.
Объектіні тазалау ластануды бзуа жне жоюа шыындалан энергияа байланысты. Жалпы жадайда тазалау жмысыны кші А0 тазалау ортасыны физико-химиялы белсенділігі есебінен Афх, механикалы сермен байланысан ортадан ластануды жою жмыстарыны осындысына те:
(5.1)
Тазарту ортасыны физико-химиялы белсенділігі артан сайын механикалы энергияа ажеттілік тмендейді жне керісінше.
Тазалау тсіліні энергия шыынын ажет етпейтін трлері де бар. Мысалы, бетті еріткішке батыру арылы майын кетіру Ам=0; тазалау кезінде бетті ммен рлеу Афх=0.
Афх немесе Ам есебіне тазалау процесін жеілдету жолын тадау технологиялы жне экономикалы пікірлер негізінде шешіледі. Бл кезде келесі жадайларды ескреру керек: Афх жмысы ортаны жуп- тазалау белсенділігіне байланысты. Практикада тазалау дістеріні барлыы дерлік р трлі тсілдерді кмегімен іске асуы ммкін. з кезегінде р тсіл трлі материалды объектілер немесе технологиялы жабдытау аспаптарыны кмегімен іске асады. Автомобиль кліктерінде ке олданыс тапан жуу ондырыларыны келесі трлерін атап туге болады: мониторлы, аынды, щеткалы, аынды-щеткалы, батырмалы, пневмоаынды, арнайы, ультрадыбысты, рамалы, автоматтандырылан желіліер.
5.2. Бйымды аынды тазартуа арналан ондырылар
5.2.1. Аынды тазартуа арналан ондырыларды жалпы сипаттамасы.
Аынды тазарту процесіні негізі болып жуушы сйытыты ластанан бетке механикалы сер етуі болып табылады. Синтетикал жуу ондырыларыны ерітінділерін олданан жадайда тазалауды физико-химиялы факторы осылады. Жуу сйытыыны арыны (напор) аынны механикалы сер етуіні анытаушы параметрі болып табылады.
Аынды жуу ондырылар саптауындаы (насадка) ысымны шамасына арай тменгі ( 1 МПа дейін), орташа (1... 5 МПа) жне жоары (5 МПа асатын) ысымды ондырылар болып блінеді.
Аынды жуу ондырыларыны артышылытары: мбебаптылы, конструкциясыны арапайыдылыы, еталды клеміні аздыы, орындаушы орган мен тазарту объектісіні арасындаы механикалы тйісуді (контакт) болмауы.
Кемшіліктері: салыстырмалы жуу сапасыны тмендігі (аын тек ана зі тура сер ететін айматы ана тазартады), майда ша блшектеріні алуы (30 мкм дейін алатын блшектер жа су пленкасымен сталып трады да, тазартылан бет рааннан кейін сол бетте тсенішті абат тзеді), суды кп шыындалуы, процесті жоары энергосыйымдылыы мен ПК тмендігі, саптауларында аты тзілуіне ондырыны жмыс сенімділігіні тмендігі, синтетикалы тазарту ралдарыны жуу процесі кезінде олдану тиімсіздігі, жне т.б..
Аынды типті жуу ондырысыны екі трі ажыратылады: мониторлы жне аынды.
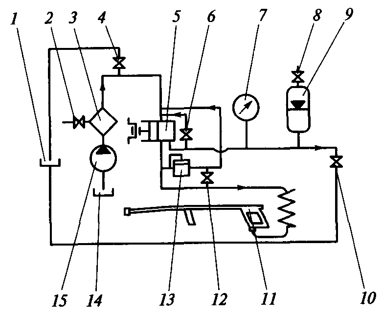
Мониторлы жуу ондырылары шлангты тазарту, бу жне су аымын олданатын тазартыштар, жне лкен арынды олмен басарылатын немесе механикаландырылан монитормен жабдыталан жуу рылылары жатады. Бл типтегі ондырылар жылжымалы, стационарлы, камералы болуы ммкін. Мониторлы жуу ондырылары автомобильді сырты блігін, ірі габаритті рамдас бліктері мен детальдарын жууа арналан. ОМ 5359 жылжымалы мониторлы жуу ондырысыны принципті-гидравликалы слбесі 5.1-суретте келтірілген. ондыры трт доалаты арбашаа орнатылан жне суды ысыту жйесімен, жуу ралын беру, автоматика жне оранышпен жабдыталан, сорапты агрегат болып табылады.
Су бырынан су алыты камерасы 14 арылы айдау сорабымен 15 жылу алмастырыша 3 келтіріледі. Мнда су температурасы 30...800С дейін жылытылады. Кейіннен су жоары ысымды сорапа 5 келеді де ажет болан жадайда бактан 1 келетін жуу ралыны ерітіндісімен араластырылады. Жоары ысымды сораппен жаластырылан гидромотор 11 арылы аын (струя) тазарту объектісіне беріледі. Суды жылыту жйесіне жылу алмастырыш, жанармай багы, жылу тмпературасын реттеуіш, ауа беруші желдеткіш, электрозалтышынан жетек алатын су айдаушы сорап кіреді.
Саябырлаты толытыш (демпфер пульсации) плунжерлік циклді берілісін тегістеуге арналан пневмогидравликалы аккумулятор болып табылады.
Мониторлы жуу ондырыларыны артышылыы - аын формасын пішімдейтін арнай саптамаларыны болуы. лкен жылдамдыпен сабатасуы (70...120 м/с), саптама алдындаы шартталан жоары арынны болуы бетті тиімді, гидродинамикалы тазалауды амтамасыз етеді.

5.1-сурет. Мониторлы жуу ондырысыны принциптік гидравликалы слбесі:
1 жуу ерітіндісіні багы; 2 жылуалмастырыштаы суды тгуге арналан шра; 3 - жылуалмастырыш; 4 жуу ралын беруші шра; 5 жоары ысымды сорап; 6-жмыс ысымын реттеуші шра; 7 манометр;8-саябырлаты толытышты аызу шрасы; 9 саябырлаты толытышты; 10 жуу еріткіні вентилі; 11 гидромонитор; 12 аызу шрасы; 13 сатандырыш клапан; 14 алыты камера; 15 айдаушы сорап.
Мониторлы бу мен суды аымын пайдаланатын жуу ондырысыны негізгі артышылыы тазаланатын ортаа энергия беру масатында бу мен сыылан ауаны олданылуы болып табылады. Мндай ондырыларды негізі эжектор. Эжектор буды кинетикалы энергиясын суа беруді амтамасыз етеді. Бл су ысымыны 2-3 есе суіне жне температурасыны артуына келеді. Аынды жуу ондырылары кеейтілген жуу аймаына ие жк автомобильдерін, агрегаттар мен детальдарды сырты беттерін, автобустарды, кейде жеіл автомобильдерді де жууа арналан.

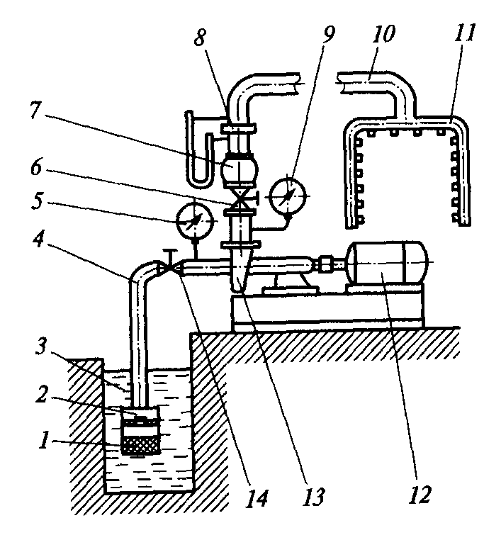
5.2 сурет Аынды жуу ондырысыны гидравликалы типтік слбесі:
1-тор; 2-сорушы клапан; 3-абылдауыш резервуар; 4 жеткізуші быр желісі; 5 вакуумметр; 6 ысырма; 7 кері клапан; 8 сарып лшеуіш; 9 манометр; 10 тегеурінді быр желісі; 11- жуылатын рамка; 12 -электрозалтышы; 13 сорап; 14 шра
5.2 суретте аынды жуу ондырысыны гидравликалы типтік слбесі келтірілген. Электрозалтыштан 12 жетек алушы сорапа 13 сйы жеткізуші быр желісімен 4 абылдаушы резервуардан келіп тседі. Сорап сйытыты жуылатын рамкаа 11 тегеурінді быр желісімен 10 айдайды. Соапты німділігін згертуге ммкіндік беретін ысырма 6 тегеурінді быр желісінде кері клапан 7 орналастырылуы ммкін. Кері клапан сорап жмысын тотатан кезде тегеуірін блігіндегі сйыты аып кетуінен сатайтын тегеурінді быр желісін автоматты трде бекітеді. Шра 14 - абылдау резервуарындаы ысым атмосфералы ысымнан ерекшеленген кезде немесе сорапты абылдау резервуарындаы сйыты дегейінен тмен болуы себебінен сорап тотаанда келтіруші быр желісін жабуа арналан. Келтіруші быр желісіні алдында кп жадайда абылдау торы 1 арастырылады. Ол сорапа атты дененлерді тсуінен сатандырады. Сонымен атар сорапты жмыс алдындаы сйыпен толтыруа арналан сору клапаны 2 орнатылады. Сорап жмысы диафрагмалы сарып лшеуіш 8 манометр 9 жне вакуумметрмен 5 баыланады.
Механикаландырылан аынды жуу ондырысы гидравликалы жне механикалы жйелерден трады. Гидравликалы жйе рамына жуылатын рамка, быр желілері, соапты агрегат, баылаушы жне басарушы ондырылар кіреді. Механикалы жйе жуылатын рамкаларды жылжыту жетегінен немесе тазалау объектісінен трады. Аынды жуу ондырылары жмыс органы мен тазарту объектісіні салыстырмалы жылжуына байланысты келесідей блінеді:
- ткелі (тазарту объектісі жылжымалы, ал жмыс органы жылжымайды);
- Жылжымалы (тазарту объектісі жылжымайды, ал жмыс органы жылжымалы);
- Туннельді (тазарту объектісі конвейер арылы арнайылатылан атарушы жуу ондырыларыны арасымен жылжуы).
5.2.2.Аынды ондырыларды жуатын аасын есептеу жне жобалау.
Аынны пішінделуі мен оны тазаланатын объектіге баытталуы жзуатын рама арылы жзег асады. Жуатын рама саптамалармен жабдыталан жне айдаушы сорапа жаластырылан быр желілер жйесін райды. Тазарту объектісіне жуу ралы аыныны сері активті немесе пассивті болып блінеді.
Тазарту объектісіне аынны пассивті сері кезінде жмыс камерасындаы аын баыты біралыпты болады. Егер аынны жмыс аймаындаы баытын зіліссіз ауыстыратын болса, сер активті болып табылады.

5.3-сурет. Сйыты ашы аыныны геометриялы параметрлері: 1 саптама; 2 сйы аыны; 3 тазаланатын бет; саптама диаметрі; нормальды кернеу зонасыны радиусы; жанама кернеу зонасыны радиусы; аынны тазартылатын бетпен жолыу брышы; аынны лаю брышы.
Аынды жуу ондырыларын жобалаудаы негізгі ереже болып саптамаларды дрыс тадау жне орындау саналады. Кешенделген саптама сйы шыыныны коэффициентімен сипатталады:
(5.2)
мнда аынны сыылу коэффициенті; жылдамды коэффициенті.
Коноидты саптама е тиімдісі болып табылады . Біра коноидты саптаманы конструкциялы крделілігіні себебінен жуу ондырыларында негізінен арапайым саналатын цилиндрлі жне коникалы (шошаты брышы ((угол конусности) 13...150) саптамалар олданылады. Жуушы раманы негізделген конструкциясы мен геометриялы параметрлерін тадау шін (формасы мен лшемі, типі, саптамаларды орналасу реті мен саны) жуу сйытыыны аыныны кинематикалы жне геометриялы параметрлерін арастырамыз.
Аынны 4 аыс часкесі блініп крсетіледі (5.3-сурет):
бірінші- оматы, зындыы саптама диаметріні бесеуіні диаметріне те. Бл участоктаы сйы жылдамдыы саптамадаы сйы жылдамдыына те;
екінші ауысу участогы (переход), саптаманы 100 диаметріне те. Бл участоктаы аын осі бойындаы сйыты жылдамдыы саптамадан шыан сйы жылдамдыына те. Аынны 100 ашытытаы клдене имасыны диаметрі шамамен 4 райды;
шінші аынны біртіндеп сейілуі, ауамен аныуы (аэрация) болатын орныан аын аймаы. Участок зындыы шамамен (100...450) те.
тртінші- аятаушы (конечный). Аын жылдамдыы 0,3 м/с дейін тмендейді жне аын сирейді.
Гидродинамикалы ысым , Н/м2, саптамадан Х ара ашытыта
(5.3)
мнда ауа сіірілген аынны саптамадан Х ашытыта орналасандаы сйыты рташа тыыздыы, кг/м3 ; тазаланатын бетпен кезіккен кездегі сйыты орташа жылдамдыы, м/с; аын мен тазаланатын бетті кезігу брышы.
Саптамадан Х араашытытаы сйыты орташа тыыздыы:
(5.4)
мнда саптамадан шыу кезіндегі сйыты тыыздыы, кг/м3 ( =1000 кг/м3); ауа сііру коэффициенті:
(5.5)
где аынны тазаланатын бетпен жанасу кезіндегі аынны имасыны ауданы, м2 саптама ойыыны ауданы, м2.
шамасы аынны конусты имасыны ауданын сипаттайды. Конус негізіні диаметрі , м,
(5.6)
онда
(5.7)
Х ара ашытытаы аынны орташа аыс жылдамдыын аысты бастапы жылдамдыына ,м/с те деп арастыруа болады:
(5.8)
мнда саптама пішініне туелді жылдамды коэффициенті; еркін тсу деуі ( = 9,81 м/с2); саптама алдындаы арын, м.
тазартылатын беттегі ласты тазарту соу кші е болмаанда бір ана ластануды беріктілік сипаттамасыны шамасынан (ысу,сыу,иілу беріктігі) лкен боланда ана жзеге асады.
Ластанудан тазарту шарты келесідей болуы ммкін:
(5.9)
Сйыты саптамалар арылы шыындалуы (сорапты берілімі)
(5.10)
Мнда ор коэффициенті (= 1,1 ... 1,3); саптамалар саны.
Жоарыда келтірілген туелділіктерді саралай келе, келесідей шешім шыаруа болады: Сйыты беру шамасын згертпей саптама диаметрін азайту арылы суды аыс жылдамдыын арттыруа болады. Осыны есебінен соу кшіні шамасы артады.
5.3. Щеткалы жне аынды-щеткалы жуу ондырылары.
Щеткалы жуу ондырысы детте П-трізді металл рамаа орнатылан, еденге бекітілген рельстік жолмен электр жетегіні кмегімен жылжытылатын, екі тігінен 3 жне бір клдене 6 орнатылан ротационды щеткалардан тратын агрегат. Жуу процесі бір немесе екі портал жрісінде жзеге асады.

5.4-сурет. Щеткалы жуу ондырысыны слбесі:1 рельстік жол; 2 портал; 3 клдене ротационды щеткалар; 4 щеткалар айналуыны электрожетегі; 5 клдене щеткаларды кштік цилиндрі; 6 тік ротационды щеткалар.
Порталды трінен баса траты жмыс органдарымен жабдыталан гіржол типті щеткалы аынды жуу ондырылары бар. ондырыны жмыс органдарына атысты автомобиль жылжуы конвейер кмегімен жзеге асады. Жмыс кезінде щеткалара жеткілікті клемде жуу ралы берілуі керек. Сондытан да барлы конструкцияларда тазарту зонасына жуу ралын беруші ттікшелі арыстар (консоли) орнатылады.
Ротационды щеткалармен атар щеткалы ондырыларды рамына сулауа, шаюа арналан рамкалар, доалатарды жууа арналан, шанаты ратуа арналан желдеткіштер кіреді. Щеткалы жуу ондырылары негізінен жеіл автомобильдерді, автобустарды, автофургондарды, жк автомобильдерін жууа арналан.
Артышылытары:
- айналмалы ротационды щеткаларды жуылатын бетке механикалы сер ету есебінен жуу сапасыны жоары болуы;
- жуу уаытыны ыса болуы;
- су мен жуу ралыны шыынын азайту;
Кемшіліктері:
- конструкция крделілігі;
- жуу кезіндегі лактап сырланан бетін заымдау ммкіндігі;
- аынды ондырылармен салыстыранда мбебаптылыыны тмендігі.
Щеткаларды ылшытасушы (щетинаносители) бар алюминий немесе капрон жіпті пластмассадан, ат ылынан жасалан жекелеген элементтерінен райды. Капрон жіптеріні диаметрі 0,5 те болатындай етіп тадалады. Аралас жылжымалы рамды автомобиль кліктік ксіпорындарында автомобильдерді жуу жмыстарын жк автомобильдерін жууа арналан аынды жуу жне автофургондар мен автобустар жууа арналан щеткалы жуу ондырылары йлескен бір ана жуу ондырысы боланы дрыс.
Щеткалы ондырыларды есептеу рамы тмендегідей болып табылады:
- сулау, шаю рамкалары жне жуу ралын щеткаа беруші рамкаларды есептеу;
- щетка жетектеріні уатын есептеу.
Щеткалы ондырыларда ластанудан тазарту жмыстары щеткаларды кмегімен тазаланатындытан, жуу рамкасын есептеу кезінде су аынын ластан тазарту шарттарын тексермеуге болады. Рамка тегеурініні алдындаы су ысымы 0,25...0,50МПа райды, ал тегеуірін саны мен жуу ралыны шыыны 5.2.2 блімде крсетілген діс бойынша есептелінеді.
ондыры жмысы кезінде ротационды щеткалар жуылатын бетке пневматикалы жне гидравликалы серіппелер кмегімен жне арсы салма есебінен жанасады.
уат , Вт, бір щетка жетегіндегі
(5.11)
Мнда уата атысты ор коэффициенті (жіп деформациясыны жойылуы, су тамшыларыны шашырауы, ауа араласуын, мойынтіректер мен механизм жетектеріндегі жойылуларды арастырады) ( = 1,8... 2,2); жіпке сер етуші ортадан тепкіш кш, Н; жіптерді сызыты жылдамдыы, м/с; шана бетіндегі жіп сыранауыны йкеліс коэффициенті (= 0,1).
Жіптерді сызыты жылдамдыы , м/с:
(5.12)
Мнда щетканы радиусы, м; щетканы айналу жиілігі, мин.
Ортадан тепкіш кш , Н:
(5.13)
мнда жіпті массасы, кг.
Шанаа деформацияа шыраан, яни штрихталан сегментті (5.5-сурет) , м2 зонасындаы жіпті массасы сер етеді:
(5.14)
мнда щетканы биіктігі, м; , жіп материалыны тыыздыы, кг/м3 (капрон шін = 1200 кг/м3); деформация зонасында щетканы толтыру коэффициенті ( = 0,0 18 ... 0,020).

5.5.-сурет. Щеткаларды есептеуге арналан щетка: щетка радиусы; жмыс жасаушы щетка секторыны орталы брышы; жіптерге сер етуші ортадан тепкіш кш; жіптерді сызыты жылдамдыы.
Сегмент ауданы , м2:
(5.15)
мнда щетканы жмыс секторыны орталы брышы . осылайша жуу процесінде щетка жуу бетіні 1/6 блігімен жанасады. Есептеулерде = 60° деп алуа болады.
Бір щетка жетегіне келетін уатты анытаан со, электрозалтыштаы толы уатты есептейміз , Вт :
(5.16)
мнда щеткалар саны.
5.4. Бйымды батырып тазарту ондырылары
5.4.1. Батырып жуу ондырыларыны жалпы сипаттамасы
Бйымды жуу ерітіндісіне батырып тазарту тсілі тазартылатын ласа физико-химиялы жне механикалы факторларды комплексті серін арастырады. Физико-химиялы факторлары сер етуі шін барлы белгілі реагенттерді олданады: органикалы еріткіштер, майшыты еріткіш ралдары, ышыл ерітінділері, беткі белсенді заттар негізіндегі синтетикалы тазарту ралдары.
Бйымды тазарту ортасына батырып тазарту тсілі аынды тазарту тсілімен салыстыранда кейбір артышылытара ие: майшыты еріткіш жне синтетикалы жуу ралдары жоары кбік тзуші ерітінділер мен р трлі жуу ралдарыны ммкіндігін тиімді пайдалану; сырт пішіні крделі беттерді те жасы тазарту; тазарту процесіні энергия клеміні тмендігі; жылу шыыныны аздыы.
Тйыталан батырып жуу ондырылары келесі трлерге блінеді: блау (ванна), дірілдеуші платформалары бар ондырылар, роторлы ондырылар.
Блау детальдарды жндеу кезінде алды майлардан, ескі бояудадан, атан, коррозия тзуші алдытардан айнату арылы тазарту шін олданылады. Блауда тазарту жмыстары температура мен ерітінді концентрациясын арттыру есебінен жеделдетіледі. Блауларды шеберханалар мен шаын бадарламалы жндеу жмыстарын жргізу мекемелерінде олданады.
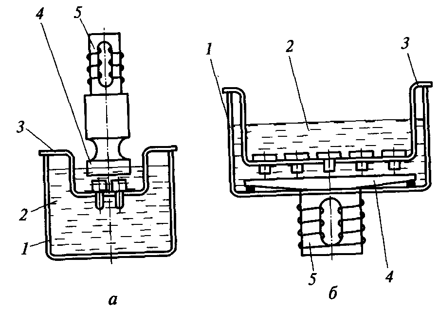
Жндеу жмыстарын жргізетін ірі ксіпорындар шін объектіні тазарту ортасында жылжытуа жне сол ортаны белсендендіруге арналан осымша интенсификациялы тазалау ондырылары олданылады. Детальдарды синтетикалы жуу ондырыларыны ерітіндісінде баяу жылжуы (0,1...0,2 м/с) блаудаы статикалы айнатумен салыстыранда тазарту жылдамдыын 8-10 есе арттырады. Батырып тазарту процесіні белсенді дістеріні ішіндегі ке олданыс тапаны тазалау объектісіні тазалау аймаында тербелмелі жне ротационды жылжуы; тазалау объектісіне дірілді жне ультрадыбысты сер етуі болып табылады. Бйымды жуу ралына батырып жне жылжытып тазалау - лкен тербеліс дісіне негізделген тйыталан роторлы жуу ондырыларында іске асады. (5.6-сурет). Блау 4 іргетаса орнатылады. Блауды ішіне тазартылатын бйымдар салынан контейнерлер ілінген айаспалы (крестовина) білік 3 орнатылады. Білік жетекті бір-бірімен электрогидравликалы тежегішпен жаласан сыналы-белдікті беріліс пен редукторлар арылы электроозалтыштан алады. Блауды тпкі блігі еіс етіп жасалынан жне а пен оыстан тазартатын брамалы конвейер орнатылан.

5.6-сурет. Тйыталан роторлы жуу ондырысыны слбесі: 1 жылуалмастырыш; 2 контейнер; З айастырышты білік (ротор); 4блау; 5 май жинауыш; 6 брамалы конвейер; айастырыш радиусы.
Брамалы конвейерді жк тсіру еші ысылан ауа есебінен жк тсіретін лас жинауыша жаласан. Тасымалдаушы ірек есік арылы жабылады. Май жинауыш 5 пен блауды 4 ерітіндіден тазарту сорап кмегімен жзеге асады. Роторлы жуу ондырылары контейнерге алдын-ала орналастырылан детальдар мен растырма блшектерді тазалауа арналан. Контейнерлерді блауа мерзімді орналастыру жне тсіру крделі сырт пішінді бйымдарды да тазарту сапасын арттырады.
тпелі-батырмалы жуу ондырылары жоары німділікке ие жне ірі ксіпорындарда олданылады. Бл ондырыларда сырт пішінін тазарту дірілдеткіш контейнерлеріні кмегімен жуу ралын белсендендіру арылы жне алаты брама кмегімен жргізіледі.
5.5. Ультрадыбысты жуу ондырылары.
Бйымды тазалау дістеріні келешегі бар дісіні бірі-ультрадыбысты жуу дісі. Бл ондыры ультрадыбыс диапазоныны жиілік тербелісіні жуу ралына сер етуі негізінде жмыс жасайды. Ультрадыбысты тербелістер деп белгілі бір ортада тарайтын 20 кГц жиілікке ие, серпімді толындарды айтады.
Ультрадыбысты ондырылар дегеніміз жуу ралыны белсенділігі ультрадыбыс тербелісіні энергиясы есебінен жретін ондыры. Ультрадыбысты жуу ондырыларыны негізгі элементтеріне жоары жиілікті ультрадыбысты трбеліс кзі 5, жоары жиілікті электр тербелістерін механикалы тербеліске айналдыратын тербелмелі жйе 4, жуу ралы бар блау кіреді.
Машинажасау практикасында жне жндеу жмыстарын жргізетін ксіпорындарда сырыты тербеліс жйесімен жабдыталан ультрадыбысты ондырылар (5.7,а-сурет); йлестірілген иілмелі-тербелісті пластина тріндегі тербеліс жйесі бар ультрадыбысты ондырылар (5.7,б-сурет); цилиндрлік тербеліс жйесі бар ультрадыбысты ондырылар кеінен олданыс тапан.
Автомобиль кліктік ксіпорындарында ультрадыбысты ондырылар жанармай беруді электронды басару жйсі бар заманауи озалтыштарды жанармай аппаратурасыны детальдарын тазартуа олданады.

5.7-сурет. Ультрадыбысты жуу ондырыларыны слбесі: а сырыты тербеліс жйесімен; б иіліп-тербелмелі пластиналарымен; 1 блау; 2- жуу ралы; З детальдары бар кассета; 4 тербеліс жйесі; 5 ультрадыбысты тербеліс кзі
дебиет: 1.нег.[72-101]
Баылау сратары:
1.Автомобиль кліктік ксіпорындарында ке олданыс тапан жуу мен тазалауды негізгі тсілдері.
2.Мониторлы жне аынды жуу ондырыларыны айырмашылыы андай?
З.Аынды жуу ондырылрыны артышылытары мен кемшіліктерін санамалаыз.
4.Аынды жуу ондырыларында андай сорап трлері олданылады?
5.Аынды жуу ондырылысыны жуылатын рамкаларыны негізгі параметрлері алай аныталады?
6.Аынды жуу ондырылысыны сораптарыны негізгі параметрлері алай аныталады?
7.Батырып жуу ондырыларында тазарту процесінде тазалауды белсендіру процесіні негізгі тсілдері.
8.Роторлы жуу ондырысыны рылысын, жмыс принципін жне есептеу методикасын сипаттап берііз.
9Ультрадыбысты жуу ондырыларын олдану аймаы мен конструкциялы ерекшеліктері андай?
10.Аынды-щеткалы жуу ондырысыны рылысын, жмыс принципін жне есептеу методикасын сипаттап берііз.
Тазартуа жне жинап-жууа арналан ондырылар