ЕЛЕКТРИЧНІ РУЧНІ МАШИНИ
ТЕМА 18 ЕЛЕКТРИЧНІ РУЧНІ МАШИНИ
Ключові поняття: електрична ручна машина, клас ізоляції, комбінований еле- ктромеханізм, вібратор.
- Загальні відомості про електричні ручні машини
В будівельному виробництві застосовуються різноманітні механізми і ручні машини, оснащені електроприводом. Тією ж самою машиною при застосуванні різних стандартних або спеціальних робочих інструментів або спеціалізованих насадок можна виконувати різні технологічні операції й обробляти різні матеріали, тому електричні ручні машини можна розділити за основним відповідним назві машини призначенням на наступні групи: свердлильні машини; шліфувальні машини; машини для розпилювання деревини; гайковерти і шуру- поверти; машини ударної дії; вібратори.
Електричні ручні машини (ЕРМ) приводяться до руху електродвигуном або електромагнітом, що складає з машиною єдине ціле. Як двигуни застосовуються:
асинхронні трифазні електричні машини з короткозамкненим ротором, нормальною і підвищеною частотою струму;
асинхронні однофазні електричні машини з короткозамкненим ротором, нормальною і підвищеною частотою струму;
обернені (тобто обертається статор, а ротор закріплений нерухомо) асинхронні трифазні електричні машини з короткозамкненим ротором, нормальною і підвищеною частотою струму;
універсальні колекторні електричні машини;
електричні машини зворотно-поступального руху (електромагнітні).
В ЕРМ, як правило, застосовують спеціально виготовлені для них електродвигуни, що працюють на напрузі 36 або 220 В. У пересувних машинах використовують також двигуни загального призначення на напругу 380/220 В.
Спеціалізованими заводами по виготовленню ручних машин застосовуються наступні умовні позначки електродвигунів: КН - колекторний нормальної частоти струму; КНД - колекторний нормальної частоти струму з подвійною ізоляцією; АН - асинхронний нормальної частоти струму; АП - асинхронний підвищеної частоти струму. Наступні за буквами цифри позначають габарит двигунів (діаметр і довжину активної сталі статора або індуктора).
В силу ручного використання цієї групи електричних механізмів особливу увагу при їхній розробці приділяють питанням електричної ізоляції.
- Ізоляція електричних ручних машин
ЕРМ випускають трьох класів виконання за напругою й ізоляцією:
- клас - на номінальну напругу 220В, в яких хоча б одна металева деталь, доступна для дотику, відділена від частин, що перебувають під напругою тільки робочою ізоляцією;
- клас - на номінальну напругу 220В, в яких всі металеві деталі, доступні для дотику, відділені від частин, що перебувають під напругою, подвійною або посиленою ізоляцією;
III клас - на номінальну напругу 36В.
ЕРМ першого класу небезпечні відносно ураження робітника електричним струмом. При роботі їх необхідно надійно заземлювати, використовувати гумові килимки й діелектричні рукавички, але навіть при цьому в будівельних умовах їх не скрізь дозволяється експлуатувати. Повна електробезпека роботи з машинами 1-го класу може бути забезпечена тільки при підключенні їх до мережі через захисно-відключний пристрій, що гарантує відключення машини від мережі у разі витоку струму й короткого замикання обмоток двигуна. Час спрацьовування захисту не більше 0,05 с.
ЕРМ другого класу (з подвійною ізоляцією) - найбільш прогресивні, тому що вони можуть живитися від освітлювальної мережі, їх не потрібно заземлювати, при цьому забезпечується повна електробезпека роботи при дотриманні правил експлуатації. Подвійна ізоляція машин здійснюється двома основними способами: статор (індуктор з котушками) двигуна, щітковий механізм, вимикач і всі струмопровідні (сполучні) проводи розміщені в корпусі і рукоятці з ізоляційного матеріалу (високоміцна пластмаса), а вал ротора (якоря) має електроізоляційну втулку, що ізолює його від ротора (якоря) і колектора (рис. 18.1); статор (індуктор з котушками) двигуна, щітковий механізм і всі струмопровідні(сполучні) проводи змонтовані в пластмасовому або алюмінієвому корпусі, який монтують в захисному пластмасовому корпусі. До корпуса кріпиться рукоятка, в якій встановлений електровимикач і струмопровідний кабель (як варіант пластмасова втулка може бути поміщена між статором і зовнішнім металевим корпусом). Вал двигуна не має проміжної ізоляційної втулки, замість втулки другою ізоляцією служить ведена шестірня з електроізоляційного матеріалу (пластмаса, текстоліт). Шестірня може мати тільки маточину з електроізоляційного матеріалу, а вінець - сталевий.
Машини II класу (з подвійною ізоляцією) на корпусі або на заводському
щитку мають спеціальний знак (рис. 18.1).
Машини III класу в роботі безпечні і повинні одержувати живлення від автономних джерел струму або від мережі через трансформатори або перетворювачі частоти струму, якщо в машині вбудований двигун підвищеної частоти.
18.3. Приклади конструкцій електричних ручних машин
Існують різні конструкції дрилів, електропилок, електрорубанків, елект- рошліфувальних машин, електромагнітних перфораторів і інших електрифікованих ручних інструментів, але силове електрообладнання їх завжди будується на основі електродвигунів обертового руху або на базі тільки зворотнопоступальних рухових пристроїв, або являє собою комбінований електромеха- нізм з обертовим ударним елементом зворотно-поступальної дії.
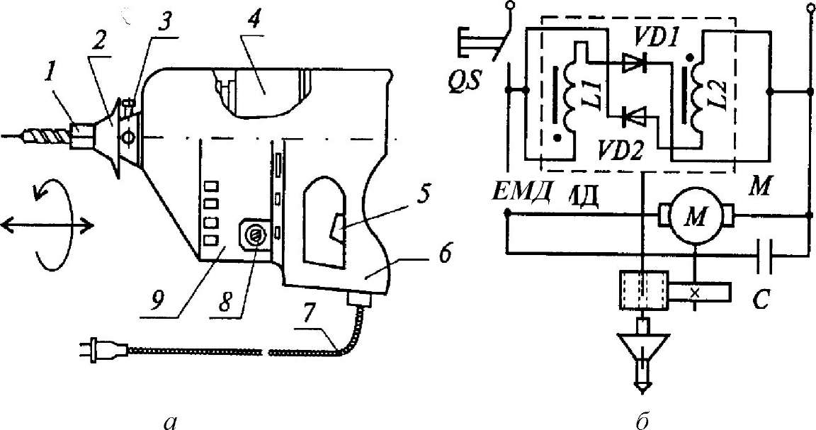
18.3.1. Комбінований електромеханізм. Прикладом ручного електроінструмента, який застосовують як електробур і електромолоток, служить електромагнітний перфоратор, наприклад типу ІЕ-4709Б (рис. 18.2). Цей перфоратор підключається гнучким переносним проводом до мережі напругою 220В і частотою 50 Гц, споживана сила струму в номінальному режимі 3,2А, споживана потужність - 650Вт.

Рис. 18.2 - Електромагнітний перфоратор: (а) - будова; (б) - принципова схема:
1 - робочий орган; 2 - гумовий фартух;
3 - букси; 4 - двигун; 5 - вимикач з самоповерненням; 6 - ручка; 7 - провід;
8 - отвір; 9 - корпус
18.3.2. Вібратори. Вібраторами називають вібраційні машини, призначені для збудження механічних коливань. Вони являють собою машини, які перетворюють механічну, електричну або хімічну енергію на механічні коливання і передають їх матеріалам або пристроям. Коливання характеризують амплітудою А, тобто найбільшим відхиленням від середнього положення, вимірюваним у міліметрах, і частотою п, тобто числом періодів коливань в одиницю часу (1 с).
Ефективне ущільнення бетонної суміші вібруванням досягається лише при певних значеннях амплітуди й частоти, при яких виникають прискорення, що знижують сили внутрішнього тертя між частками суміші настільки, що вони починають переміщуватися відносно одна одної під дією сили ваги. На практиці застосовують вібратори з частотою коливань п=25-250 с-1 і амплітудою коливань 0,1-3 мм (більші значення амплітуди для менших значень частоти).
За видом привода вібратори підрозділяють на електромеханічні, електромагнітні, пневматичні, гідравлічні й моторні, що приводяться до дії двигунами внутрішнього згоряння. Найбільше поширення одержали електромеханічні інерційні вібратори з обертовими неврівноваженими вантажами, закріпленими на валу ротора електродвигуна або на окремому валу, що отримує обертання від електродвигуна через муфту або клиноремінну передачу.
Поверхневі і зовнішні вібратори. Найбільш широко застосовують електромеханічні вібратори відцентрового типу, в яких інерційний елемент у вигляді дебаланса або бігунка робить обертовий рух і передає виникаючу при цьому відцентрову силу на підшипники вала дебаланса або опору бігунка.
Електромеханічний дебалансний вібратор ІВ-70 (рис. 18.3) складається з корпуса, електродвигуна й дебалансного віброзбуджувача. В алюмінієвому корпусі 1 з підшипниковими щитами 4 розташований трифазний асинхронний електродвигун, до обмоток статора 3 якого струм поступає через клемну коробку 2, а ротор 5 укріплений на валу 6. Вал опирається на підшипники 7, а на консольних частинах вала укріплені дебаланси 8, закриті кришками 9. Кришки стягнуті шпильками 10 і щільно примикають до корпуса, в нижній частині якого перебувають настановні лабети з отворами під болти кріплення вібратора до коритоподібної основи, опалубки або інших елементів конструкції, через яку коливання передаються часткам бетонної суміші.
При поверхневому ущільненні бетонної суміші основа вібратора передає ефективні коливання на глибину до 20 см. Поверхневий вібратор, встановлений на рейці, може служити для розрівнювання і поверхневого ущільнення бетонної суміші на великій площі. Вібратор, якщо його від'єднати від рейки й основи, може бути використаний як зовнішній вібратор для надання коливань опалубці, ринві, стінці бункера. Він має два здвоєних дебаланси, які являють собою сталеві циліндричні деталі, ексцентрично укріплені на валу. Оскільки центр маси дебаланса зміщений відносно осі вала, то при обертанні вала й дебалансів виникає відцентрова сила інерції, що надає вібратору змушені коливання. Частота коливань дорівнює частоті обертання дебалансів, а амплітуда коливань залежить від маси коливних частин і статичного моменту маси дебалансів, під якою мають на увазі добуток маси дебалансів на ексцентриситет маси, тобто на відстань від осі обертання до центра маси дебалансів.
Оскільки зовнішній дебаланс в кожній парі має чотири шпонкових пази, його можна встановити під різними кутами відносно внутрішнього, змінюючи загальний ексцентриситет маси здвоєного дебаланса. Коли осі дебалансів збігаються, ексцентриситет маси найбільший, а при збільшенні кута ексцентриситет маси зменшується, оскільки загальний центр маси для розсунутих дебалансів, лежить посередині лінії, що з'єднує центри маси кожного дебаланса, і відстоїть
від осі обертання на меншій відстані. Відповідно зменшуються статичний момент маси дебалансів і змушуюча сила, яку вони викликають.
Вібратор ІВ-70 при частоті 2800 хв-1 і відповідній установці зовнішніх дебалансів генерує змушуючу силу, рівну 2; 2,5; 3, 15 і 4 кН. Живлення електродвигуна здійснюється від мережі змінного трифазного струму напругою 220/380 В і частотою 50 Гц. Потужність електродвигуна 0,4 кВт, маса вібратора 20 кг. При безпосередньому обслуговуванні вібратора, наприклад при поверхневому ущільненні бетонної суміші, напруга 220/380В являє велику небезпеку для обслуговуючого персоналу. В цьому випадку використовують аналогічний за будовою вібратор ІВ-68, який розвиває при частоті 1400 хв-1 змушуючу силу у 5 кН і має електродвигун, що живиться струмом напругою 36В від понижувального трансформатора. Зовнішні вібратори прикріплюють до опалубки, тічкам, бункерам. Їхні електродвигуни живляться струмом безпосередньо від мережі напругою 220/380В і не вимагають понижувальних трансформаторів, що особливо зручно при використанні великої кількості вібраторів.
Внутрішні (глибинні) вібратори застосовують для ущільнення бетонної суміші при виготовленні великих збірних будівельних елементів, насичених арматурами, а також при спорудженні монолітних залізобетонних конструкцій. Їхня робота досить ефективна, тому що корпус вібратора впливає безпосередньо на бетонну суміш. Внутрішні вібратори виготовляють з вбудованим електродвигуном, що обертає дебалансний вал у корпусі, і з винесеним електродвигуном, що передає обертання віброелементу гнучким валом.
18.4. Експлуатація і ремонт електричних ручних машин
Правила техніки безпеки експлуатації електричних машин, а також ремонт і випробування після ремонту загальні для всіх видів машин і обладнання з електричним приводом. Однак є додаткові вимоги, що ставляться до ручних електричних машин, особливо до машин з подвійною ізоляцією (II класу):
ручні машини (поза робочим часом) повинні зберігатися в сухих опалювальних приміщеннях;
повинен бути організований облік робочого часу;
при видачі машини в роботу її необхідно оглянути, перевірити на холостому ходу чіткість роботи вимикача, а також справність (опір) ізоляції мегомметром на 500В при включеному вимикачі;
забороняється застосовувати для роботи машини, а також слід припинити роботу у випадках: виявлення тріщин на корпусних деталях і рукоятці; ушкодження кришок щіткотримача, нечіткої роботи вимикача; пошкодження штепсельного з'єднання, кабелю або його захисної трубки; колового вогню на колекторі; диму або запаху, характерного для палаючої ізоляції;
забороняється працювати в приміщеннях вибухонебезпечних або з хімічно активним середовищем, що руйнує ізоляцію, а також на відкритих майданчиках під час випадання опадів (дощ, сніг);
оператор повинен дотримувати гранично припустимої тривалості роботи й не допускати перевантажень, понад зазначених у паспорті, а також не піддавати машину ударам. Слід мати на увазі, що при збільшенні навантаження (посиленні подачі) понад паспортну на машину з асинхронним двигуном, що має «жорстку» характеристику, він буде перекидатися (зупинятися), що викличе, в кінцевому підсумку, передчасне згоряння обмотки. Колекторний двигун має «м'яку» характеристику, тому він буде знижувати оберти. При цьому збільшується споживана потужність, в результаті двигун буде перегріватися понад припустиму норму, а продуктивність знизиться, тому що оберти шпинделя не будуть оптимальними;
необхідно стежити за температурою корпуса двигуна, яка не повинна перевищувати 60°С (практично, якщо долоня руки не витримує дотику до корпуса двигуна, то він перегрівся понад норму);
щодня після закінчення роботи машину потрібно очищати від забруднень, а при необхідності підтягувати кріпильні деталі.
При експлуатації ручних машин з подвійною ізоляцією необхідно пам'ятати, що:
заземлювати їх не можна;
застосування індивідуальних засобів захисту (гумові килимки, діелектричні рукавички) не потрібне;
дозволяється виконувати роботи в приміщеннях і на відкритих майданчиках із земляною, бетонною, асфальтовою, металевою, дерев'яною та іншою підлогами, а також на металоконструкціях, у казанах, трубах та ін.;
машини можна використовувати при температурі від - 35°С до + 35°С і відносній вологості до 90% при температурі +20°С;
через кожні 50 годин роботи рекомендується очищати колектор і щітковий механізм від вугільного пилу; продувати машину очищеним стисненим повітрям під тиском до 0,15 мПа;
необхідно періодично проводити контроль машин. Контроль ручних машин з подвійною ізоляцією необхідно проводити через кожні 100 годин роботи, але не рідше одного разу в три місяці. Контроль необхідний також при кожній зміні щіток.
При контролі машину з подвійною ізоляцією розбирають, при цьому: видаляють струмопровідний пил; перевіряють мегомметром робочу й додаткову ізоляцію (опір кожної з них повинний бути не менше за 2 МОм); стру- мопровідний пил видаляють стисненим повітрям при тиску до 0,15 мПа й протирають ізоляційні поверхні технічною серветкою, змоченою в бензині;
оглядають корпусні деталі, струмопровідний кабель і штепсельне з'єднання; після зборки машини проводять випробування електричної міцності ізоляції машини при включеному вимикачі напругою 2500 В, частоти 50 Гц протягом 1 хв на високовольтній установці, наприклад приладом УПУ-1М (електроди при випробуванні прикладають до одного з контактів штепсельної вилки й до металевих деталей машини, доступних для дотику під час роботи);
якщо при контролі машини будуть виявлені будь-які дефекти, то вона повинна бути здана в ремонт.
Ремонт машин проводять тільки в спеціалізованій майстерні підготовленим для цього персоналом. Після проведення ремонту кожну машину піддають випробуванням у лабораторних умовах.
Контрольні запитання з теми 18
- Які електродвигуни застосовуються в ЕРМ?
- Яку ізоляцію застосовують в ЕРМ?
- Поясніть будову ручної електричної свердлильної машини.
- Поясніть схему електромагнітного перфоратора.
- Поясніть будову і принцип дії електромеханічного дебалансного вібратора ІВ-70.
- Які правила безпеки при роботі з ЕРМ?
- Які правила безпеки при ремонті ЕРМ?