Сваебойное оборудование
Сваебойное оборудование
Сваебойное оборудование применяется для погружения в грунт свай, шпунта и оболочек с целью предупреждения оползания грунтовых откосов или передачи части нагрузки на плотные слои грунта, залегающие на глубине трех и более метров под грунтовыми основаниями инженерных сооружений. На вечномерзлых грунтах свайное строительство является одним из немногих промышленно освоенных и относительно недорогих способов предотвратить его оттаивание и подвижки под жилыми и промышленными зданиями.
Механический молот состоит из тяжелого металлического ударника ("бабы"), двигающегося по направляющим. Канатно-блочный механизм, приводимый лебедкой, поднимает ударник на 4...5 м, откуда он под действием собственного веса падает на головку сваи. В современном транспортном строительстве механические молоты не используются из-за низкого КПД, малой частоты ударов и неэффективности при забивке свай под углом.
Паровоздушные молоты приводятся в действие энергией пара или сжатого до 0,5…0,7 МПа воздуха. Различают молоты простого одностороннего действия, у которых энергия привода используется только для подъема ударной части, совершающей затем рабочий ход под действием собственного веса, и молоты двустороннего действия, энергия привода которых сообщает ударной части также дополнительное ускорение при рабочем ходе, в результате чего увеличивается энергия удара и сокращается продолжительность рабочего цикла.
Ударной частью паровоздушных молотов простого действия служит чугунный корпус массой 12506000 кг, направляющей поршень со штоком, опирающимся на головку сваи. Такие молоты несложны по конструкции, просты и надежны в эксплуатации, но вследствие малой производительности (не более 30 ударов в минуту) применяются сравнительно редко. Наиболее распространены автоматически работающие паровоздушные молоты двустороннего действия с частотой ударов по свае до 100300 в минуту и массой ударной части до 2250 кг. К недостаткам молотов двустороннего действия относятся значительная масса неподвижных частей («мертвая» масса), составляющая 6070 % (у молотов простого действия до 30 %) общей массы молота, возможность погружения только легких шпунтов, деревянных и железобетонных свай, большой расход пара или сжатого воздуха.
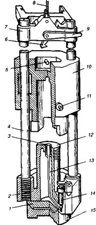
Основными узлами паровоздушного молота двойного действия (рис. 1) являются неподвижный закрытый корпус, подвижный поршень со штоком и массивным бойком (ударная часть) и автоматическое парораспределительное устройство. Корпус молота составлен из двух цилиндров: парового, в котором помещен поршень, и направляющего для бойка. Сверху корпус закрыт крышкой с проушиной для подъема и удерживания молота, а снизу ударной плитой (наковальней), укрепляемой на головке сваи. Наковальня воспринимает удары ударной части и может перемещаться в незначительных пределах по вертикали. Возвратно-поступательное движение ударной части молота обеспечивается за счет попеременной подачи пара или сжатого воздуха в надпоршневую или подпоршневую полости парового цилиндра золотниковым распределительным устройством. Золотник этого устройства поворачивается вокруг оси под действием поступающего пара (сжатого воздуха) автоматически. Изменяя давление подаваемого пара (сжатого воздуха), можно регулировать энергию удара молота.

Паровоздушные молоты устанавливают на копре или подвешиваются к крюку стрелового самоходного крана. Их можно использовать для забивки как вертикальных, так и наклонных свай, а также для выполнения свайных работ под водой. Основным недостатком паровоздушных молотов является их зависимость от компрессорных установок или парообразователей.
1 наголовник сваи; 2 шток; 3 поршень; 4 цилиндр; 5 боек; 6 - наковальня
Рисунок 1 Принцип действия паровоздушного молота простого (а) и двойного (б) действия
Для погружения свай на объектах городского строительства широко применяют энергетически автономные мобильные дизель-молоты, которые представляют собой прямодействующие двигатели внутреннего сгорания, работающие по принципу двухтактного дизеля. Они получили преимущественное распространение в строительстве благодаря энергетической автономности, мобильности, простой и надежной конструкции и высокой производительности.
По типу направляющих для ударной части дизель-молоты делятся на трубчатые и штанговые. У трубчатого дизель-молота направляющей ударной части в виде массивного подвижного поршня служит неподвижная труба, у штангового направляющими ударной части в виде массивного подвижного цилиндра служат две штанги. Распыление дизельного топлива в камере сгорания у штанговых молотов форсуночное, а у трубчатых ударное. Дизель-молоты подвешиваются к копровой стреле с помощью захватов и подъемно-сбрасывающего устройства («кошки»), предназначенного для подъема и пуска молота и прикрепленного к канату лебедки копровой установки.
Различают легкие (масса ударной части до 600 кг), средние (до 1800 кг) и тяжелые (свыше 2500 кг) дизель-молоты.
Штанговый дизель-молот (рис. 2) состоит из следующих основных узлов: поршневого блока с шарнирной опорой, ударной части подвижного рабочего цилиндра, двух направляющих штанг с траверсой, механизма подачи топлива и захвата «кошки». Поршневой блок включает поршень с компрессионными кольцами, отлитый заодно с основанием. В центре днища поршня установлена распылительная форсунка, соединенная топливопроводом 13 с плунжерным топливным насосом высокого давления (до 50 МПа), питающимся из топливного резервуара. Основание поршневого блока опирается на шарнирную опору, состоящую из сферической пяты и наголовника. В основании закреплены нижние концы направляющих штанг, верхние концы которых соединены траверсой. По штангам перемещается массивный ударный цилиндр со сферической камерой сгорания в донной части. На внешней поверхности цилиндра укреплен штырь (выступающий стержень), приводящий в действие топливный насос при падении ударной части вниз. Для запуска молота в работу захват «кошку», подвешенный к канату лебедки копра, опускают вниз для обеспечения автоматического зацепления крюка за валик ударного цилиндра, после чего «кошку» и сцепленную с ней ударную часть поднимают лебедкой в верхнее крайнее положение. Далее поворотом вручную (через канат) рычага сброса освобождают от «кошки» ударный цилиндр и он под действием собственной силы тяжести скользит по направляющим штангам вниз. При надвиже-нии цилиндра на поршень воздух, находящийся во внутренней полости цилиндра, сжимается (в 2528 раз) и температура его резко повышается (до 600° С). При нажатии штыря цилиндра на приводной рычаг топливного насоса дизельное топливо по топливопроводу подается к форсунке и распыляется в камере сгорания, смешиваясь с горячим воздухом. При дальнейшем движении цилиндра вниз горячая смесь самовоспламеняется, и в то же мгновение цилиндр наносит удар по шарнирной опоре, наголовник которой надет на головку сваи. Расширяющиеся продукты сгорания смеси (газы) выталкивают ударную часть вверх и выходят в атмосферу. Поднимающийся рабочий цилиндр быстро теряет скорость, под действием собственного веса начинает опять падать вниз, и цикл повторяется. Дизель-молот работает автоматически до выключения топливного насоса.

Штанговые дизель-молоты обладают малой энергией удара (25…35 % потенциальной энергии ударной части). Их применяют для забивки в слабые и средней плотности грунты легких железобетонных и деревянных свай, стальных труб и шпунта при сооружении защитных шпунтовых стенок траншей, котлованов и каналов. Штанговые дизель-молоты выпускаются с массой ударной части 240 и 2500 кг, развивают энергию удара соответственно 3,2 и 20 кДж при частоте ударов 50…55 в минуту и степени сжатия 16 и 25.
Трубчатые дизель-молоты предназначены для забивки в грунт преимущественно железобетонных свай массой 1,2… 10 т и могут работать при температуре окружающего воздуха от +40 до -40° С. При температуре ниже -25° С молоты при запуске подогревают.

Все трубчатые дизель-молоты выполнены по единой конструктивной схеме, максимально унифицированы и состоят из следующих основных узлов (рис. 3): ударной части поршня с компрессионными кольцами, сменного рабочего цилиндра и направляющей трубы 3, шабота /, по которому наносит удар поршень, топливной и масляной систем, пускового устройства «кошки» с подъемно-сбрасывающим механизмом.
Рис. 3 Последовательность работы трубчатого дизель-молота
В верхней части направляющей трубы имеются две проушины для крепления каната при установке молота на копер. Рабочий цилиндр герметично закрыт снизу шаботом с компрессионными кольцами, передающим энергию удара поршня на сваю. К фланцу шабота прикреплен свайный наголовник. Между фланцами рабочего цилиндра и шабота установлен кольцевой резиновый амортизатор, предотвращающий жесткое соударение корпуса цилиндра и шабота при больших осадках сваи. В нерабочем состоянии рабочий цилиндр и шабот соединяют планкой. Нижний торец поршня сферический и по форме соответствует выемке в шаботе. При полном контакте сферических поверхностей поршня и шабота (з момент удара) кольцевая полость, образованная кольцевыми выточками в их сферах, представляет собой камеру сгорания. Топливо в сферу шабота подается под давлением 0,3…0,5 МПа плунжерным насосом 8, которым управляет падающий поршень, нажимающий на приводной рычаг. К насосу топливо поступает по гибким резиновым шлангам из топливного бака. Полость рабочего цилиндра сообщается с атмосферой через четыре всасывающе-выхлопных патрубка, направленных вверх.
В направляющей трубе со стороны, обращенной к копру, имеется продольный паз, в котором перемещается подъемный рычаг кошки, входящий в зацепление с поршнем при его подъеме при запуске молота.
Работа трубчатого дизель-молота осуществляется в такой последовательности. Перед пуском молота поршень поднимается «кошкой», подвешенной на канате лебедки копра в крайнее верхнее положение, после чего происходит автоматическое расцепление «кошки» и поршня (положение I). При свободном падении вниз по направляющей трубе поршень нажимает на приводной рычаг топливного насоса, который подает дозу топлива в сферическую выточку шабота (положение II). При дальнейшем движении вниз поршень перекрывает отверстия всасывающе-выхлопных патрубков и начинает сжимать воздух в рабочем цилиндре, значительно повышая его температуру. В конце процесса сжатия головка поршня наносит удар по шаботу, чем обеспечивается погружение сваи в грунт и распыление топлива в кольцевую камеру сгорания, где оно самовоспламеняется, перемешиваясь с горячим сжатым воздухом (положение III).
Часть энергии расширяющихся продуктов сгорания газов (максимальное давление сгорания 7…8 МПа) передается на сваю, производя ее дополнительное (после механического удара) погружение, а часть расходуется на подброс поршня вверх на высоту до 3 м. Вследствие воздействия на сваю последовательно двух ударов механического и газодинамического достигается высокая эффективность трубчатых дизель-молотов. При движении поршня вверх (положение IV) расширяющиеся газы по мере открывания всасывающе-выхлопных патрубков выбрасываются в атмосферу. Через те же патрубки засасывается свежий воздух при дальнейшем движении поршня вверх. Достигнув крайнего верхнего положения, поршень начинает свободно падать вниз, рабочий цикл повторяется, и в дальнейшем молот работает автоматически до полного погружения сваи.
Таким образом, в течение первого такта цикла работы трубчатого дизель-молота происходит продувка цилиндра, сжатие воздуха, впрыск и разбрызгивание топлива, а в течение второго самовоспламенение горячей смеси топлива с воздухом и расширение продуктов сгорания, выхлоп отработанных газов в атмосферу и засасывание в цилиндр свежего воздуха.
Высота подскока ударной части дизель-молотов регулируется путем изменения количества впрыскиваемого насосом топлива, что позволяет изменять величину энергии удара в зависимости от типа свай и плотности грунта.
Трубчатые молоты более эффективны, чем штанговые, так как при равной массе ударной части могут забивать более тяжелые (в 2…3 раза) сваи за один и тот же отрезок времени. Штанговые дизель-молоты имеют низкие энергетические показатели и невысокую долговечность (в 2 раза меньшая, чем у трубчатых), поэтому производство их сокращается, и они будут полностью заменены более совершенными трубчатыми молотами.
Трубчатые дизель-молоты развивают энергию удара 40… 160 кДж при высоте подброса ударной части 3000 мм и степени сжатия 15. Число ударов в минуту 42.
Общим недостатком дизель-молотов является большой расход энергии на сжатие воздуха (50…60%) и поэтому сравнительно небольшая мощность, расходуемая на забивку сваи. Массу ударной части дизель-молота подбирают в зависимости от массы погружаемой сваи и типа применяемого молота. Так, масса ударной части штангового дизель-молота должна быть не менее 100…125%, а трубчатого 40…70% от массы сваи, погружаемой в грунт средней плотности.
Вибропогружатели и вибромолоты самостоятельно.
Сваебойное оборудование