УСКОРИТЕЛИ ЗАРЯЖЕННЫХ ЧАСТИЦ
УСКОРИТЕЛИ ЗАРЯЖЕННЫХ ЧАСТИЦ
Введение
Субатомная физика отличается от всех других наук одной особенностью: в ней надо рассматривать проявление одновременно трех видов взаимодействия между физическими объектами, причем два вида проявляются только в тех случаях, когда объекты расположены очень близко друг к другу. В биологии, в химии, в атомной физике и физике твердого тела почти полностью господствует дальнодействующее электромагнитное взаимодействие. Явлениями в окружающем нас мире управляют два типа дальнодействующих сил - гравитационные и электромагнитные. В субатомной физике происходит тонкая игра трех взаимодействий - адронного (т.е. - сильного или ядерного), электромагнитного и слабого, - причем адронное и слабое взаимодействия становятся пренебрежимо малыми на расстоянии порядка атомных размеров и больше. Адронное взаимодействие удерживает вместе нуклоны в ядрах; радиус действия адронных сил весьма мал, но величина их огромна. Слабые взаимодействия еще более короткодействующие.
Некоторые единицы измерений, используемые в ядерной физике, приведены в таблице.
|
Расстояние, Ферми (фм) |
Энергия, электронвольт (эВ) |
Масса,
(эВ/с2) |
|
1 фм=10-15 м |
1 эВ=1.6*10-19 Дж |
1 эВ/с2=1.78*10-36 кг |
Данное методическое указание содержит краткое описание некоторых важнейших средств физического эксперимента в субатомной физике, а именно, ускорителей заряженных частиц.
Ускорители
Ускорители позволяют получать пучки заряженных частиц с энергиями от нескольких МэВ до нескольких сотен ГэВ. Интенсивность пучков достигает 1016 частиц в секунду, причем эти пучки можно сфокусировать на мишени площадью в несколько квадратных миллиметров. В качестве "первичных снарядов" чаще всего используются протоны и электроны (см. Приложение).
Только с помощью ускорителей можно решать такие задачи, как получение новых частиц или новых состояний экспериментально уже открытых частиц, а также исследовать детально структуру субатомных объектов. В природе существует совсем немного стабильных частиц - протон, электрон, нейтрино и фотон. В веществе нашей Земли имеется весьма ограниченный набор возможных атомных ядер, причем они практически всегда находятся в основных состояниях.
Чтобы выйти за узкие рамки тех объектов, которые попадают нам в руки на земле естественным путем, следует возбуждать новые состояния частиц и ядер искусственно. Для получения какого-либо нового такого состояния, обладающего массой М, необходимо, по меньшей мере, энергия E=mc2. Пока не найден еще предел значений масс частиц, находящихся в возбужденных новых состояниях, и неизвестно, существует ли он вообще. Чтобы ответить на этот вопрос, требуется иметь более мощные ускорители высоких энергий. Высокие энергии нужны не только для получения новых состояний. Они необходимы также и для выяснения деталей уже открытых, субатомных объектов. Легко видеть, что энергия частиц, используемых для исследования все более мелких деталей ядер и частиц, должна возрастать. Действительно, дебройлевская длина волны частицы с импульсом р равна Часто используют приведенную дебройлевскую длину волны . Чтобы различить структурные детали объекта с линейными размерами порядка d, должны использоваться длины волн, сравнимые с d или меньше d: d. Иначе говоря, требуются частицы с импульсом P. Чем меньше детали объектов, которые мы хотим рассмотреть, тем, следовательно, выше должны быть значения импульсов, а потому и энергий. В качестве примера возьмем объект размером порядка d=1 фм, а в качестве "инструмента" используем протон. В данном случае применимо (покажем это ниже) нерелятивистское приближение. Минимальная кинетическая энергия протона должна равняться
.
Воспользуемся этим примером, чтобы показать, как рассчитывать Екин. и другие подобные величины очень удобным способом. Представим по возможности все величины, входящие в формулу, в виде безразмерных отношений. Величина Екин. имеет размерность энергии. Такую же размерность имеет энергия покоя протонов mpc2=938 МэВ. Следовательно, мы можем написать безразмерное отношение
.
Величина в скобках - не что иное, как комптоновская длина волны протона . Таким образом, для кинетической энергии протона непосредственно имеем
.
Согласно этому результату, кинетическая энергия протонов, используемых для рассмотрения деталей с линейными размерами порядка 1 фм, должна составлять около 20 МэВ. Поскольку эта кинетическая энергия во много раз меньше энергии покоя одного нуклона, то нерелятивистское приближение, которым мы пользовались, вполне оправдано. Природа не предоставляет нам интенсивные пучки протонов, с такой высокой энергией, и их приходится получать искусственно - на ускорителях. В космических лучах, правда, имеются частицы и с гораздо более высокими энергиями, но интенсивность пучков этих частиц столь мала, что с их помощью можно решать лишь весьма ограниченный круг задач.
Самый простой способ получения пучков частиц с высокой энергией - ускорение их в электрическом поле. Сила, действующая на частицу с зарядом q в электрическом поле , определяется формулой . В простейшем ускорителе имеется две сетки с наложенной на них разностью потенциалов V, расположенные на расстоянии d. Средняя напряженность поля равна, а приобретаемая частицей энергия =Fd=qV. Обе сетки должны быть расположены в вакууме, чтобы избежать потерь энергии. Поэтому на рисунке обозначен вакуумный насос. Кроме того, указан источник ионов - он создает заряженные частицы. Указанные элементы - источник ионов, ускоряющее устройство, вакуумный насос - составные части любого ускорителя. Можно ли получить с помощью простейшего ускорителя пучки частиц, с энергией 20 МэВ? Это очень сложная техническая задача. Уже при напряжениях в несколько киловольт может произойти пробой. Чтобы превысить 100 кэВ, нужны специальные технические схемы для решения этой проблемы. Благодаря упорной работе многих изобретателей, были созданы электростатические генераторы, способные давать ускоренные частицы, с энергиями порядка 10 МэВ. Большей энергии частиц с помощью электростатического генератора достичь не удалось. Потребовалась новая идея: как ускорять частицы? И она возникла. Это многократное воздействие данной разностью потенциалов на одну и ту же ускоряемую частицу. И в дальнейшем всякий раз, когда казалось, что уже достигнута максимальная энергия ускорения частиц, каждая из "непреодолимых" трудностей устранялась путем нового, остроумного решения.
Классификация ускорителей
Ускорители заряженных частиц можно классифицировать по разным признакам. По типу ускоряемых частиц различают электронные ускорители, протонные ускорители и ускорители ионов.
По характеру траекторий частиц различают линейные ускорители (точнее, прямолинейные ускорители), в которых траектории частиц близки к прямой линии, и циклические ускорители, в которых траектории частиц близки к окружности (или спирали).
По характеру ускоряющего поля ускорители делят на резонансные ускорители, в которых ускорение производится переменным высокочастотным электромагнитным полем и для успешного ускорения частицы должны двигаться в резонанс с изменением поля, и нерезонансные ускорители, в которых направление поля за время ускорения не изменяется. Последние в свою очередь делятся на индукционные ускорители, в которых электрическое ускоряющее поле создаётся за счёт изменения магнитного поля (эдс индукции), и высоковольтные ускорители, в которых ускоряющее поле обусловлено непосредственно приложенной разностью потенциалов.
По механизму, обеспечивающему устойчивость движения частиц в перпендикулярных к орбите направлениях (фокусировку), различают ускорители с однородной фокусировкой, в которых фокусирующая сила постоянна вдоль траектории (по крайней мере, по знаку), и ускорители со знакопеременной фокусировкой, в которых фокусирующая сила меняет знак вдоль траектории, т. е. чередуются участки фокусировки и дефокусировки
Резонансные циклические ускорители могут быть классифицированы далее по характеру управляющего «ведущего» магнитного поля и ускоряющего электрического поля: ускорители с постоянным и с переменным во времени магнитным полем и соответственно ускорители с постоянной и с переменной частотой ускоряющего поля. Приведённая классификация не охватывает ускорителей со встречными пучками и ускорителей, использующих коллективные методы ускорения.
Рассмотрим основные типы ускорителей.
Электростатический генератор Ван де Граафа
В период становления ядерной физики (1919 1932 г.г.) развитие ускорителей шло по пути получения высоких напряжений и их использования для непосредственного ускорения заряженных частиц. В 1931 году американским физиком Р. Ван-де-Граафом был построен электростатический генератор, а в 1932 году английские физики Дж. Кокрофт и Э. Уолтон из лаборатории Резерфорда разработали так называемый каскадный генератор. Эти установки позволили получить потоки ускоренных частиц с энергией порядка миллиона электрон-вольт (Мэв). В 1932 году на этих установках впервые была осуществлена ядерная реакция, возбуждаемая искусственно ускоренными частицами, - расщепление ядра лития протонами.
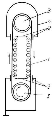
Трудно получить достаточно высокое напряжение, непосредственно используя трансформатор и выпрямители. В генераторе Ван-де-Граафа трудность эта обойдена транспортировкой заряда Q к проводящему полому кондуктору С, получающаяся разность потенциалов оказывается равной V=q/C и именно она используется для ускорения ионов. Основные элементы генератора показаны на Рис. 1.

Рис. 1. Схема генератора Ван-де-Граафа: 1 ленточный транспортер зарядов; 2 устройство для нанесения и съема зарядов; 3 шкивы транспортера; 4 высоковольтный электрод генератора.
Положительные заряды наносятся на ленту из изоляционного материала с помощью зарядного устройства, работающего при напряжении 20-30 кв. Лена приводится в движение мотором и заряды переносятся кондуктору, и снимаются там рядом коронирующих игл и поступают непосредственно на его поверхность. Положительные ионы - протоны, дейтроны, и т. п. - подаются специальным источником ионов и ускоряются в вакуумной трубке. Пучок частиц, выходящих из этой трубки, обычно направляется на мишень при помощи отклоняющего магнита. Если вся система работает при обычном атмосферном давлении, то может быть достигнуто напряжение порядка нескольких МэВ, до наступления "пробоя", который разрядит кондуктор. Если система находится в резервуаре, наполненном инертным газом, например, азотом, под давлением 15 атм, то можно получить напряжение вплоть до 12 МэВ. Максимальное напряжение можно увеличить вдвое, используя так называемый тандемный ускоритель Ван-де-Граафа. Здесь кондуктор расположен посередине длинного резервуара высокого давления. На одном конце резервуара находится источник отрицательных ионов, например, ионы Н. Эти ионы ускоряются электростатическим полем в направлении кондуктора, где они "обдираются", то есть, каждый из них лишается пары электронов, при прохождении сквозь фольгу или канал, содержащий газ. Полученные положительные ионы теперь летят в направлении мишени и снова набирают энергию. Таким образом, полная энергия удваивается по сравнению с одноступенчатым ускорителем. Ускорители Ван-де-Граафа зарекомендовали себя надежными экспериментальными установками для исследования структуры атомных ядер. Однако их максимально достигаемая энергия не превышает 30-40 МэВ для протонов. Такие ускорители нельзя применять при исследовании структуры и взаимодействий элементарных частиц.
Линейный ускоритель
Чтобы достичь очень высоких энергий, частицу необходимо подвергнуть многократному ускорению. Наиболее простой по замыслу системой для этого является линейный ускоритель, схематически изображенный на Рис. 2.

Рис. 2. Схематический разрез резонатора (1) линейного ускорителя с дрейфовыми трубками (2). Вблизи оси электрическое поле Е сосредоточено лишь в зазорах между трубками.
Ряд цилиндрических трубок присоединяется к генератору высокой частоты, причем там, чтобы в любой данный момент времени, следующие друг за другом трубки имели противоположную полярность. Пучок частиц впрыскивается вдоль оси цилиндров. Внутри каждого цилиндра электрическое поле всегда равно нулю. В промежутках между трубками, то есть в зазорах, поле меняется с частотой генератора. Рассмотрим частицу с зарядом Е, которая проходит первый зазор в момент максимума ускоряющего поля. Длина следующего цилиндра должна быть выбрана так, чтобы частица оказывалась в следующем зазоре как раз в тот момент, когда поле изменит знак. Она таким образом опять испытает воздействие максимального ускоряющего поля и после этого будет обладать энергией 2eV0 . Чтобы такой трюк удался, длина L должна точно равняться 1/2VT, где V - скорость частицы, а Т - период колебаний поля. Поскольку скорость частицы увеличивается при прохождении каждого очередного зазора, длины цилиндров должны возрастать. В линейных ускорителях электронов скорость электронов приближается к скорости света С и поэтому L стремится в пределе к 1/2CT. Описанное устройство с цилиндрами не единственно возможное. Для ускорения частиц можно использовать электромагнитные волны, распространяющиеся внутри цилиндрических полостей. В обоих видах линейных ускорителей требуется иметь в распоряжении генераторы довольно значительной мощности, и поэтому прежде чем линейные ускорители стали строить, пришлось решить ряд трудных технических проблем. Стэндфордский электронный линейный ускоритель трехкилометровой длины позволяет получать электроны с энергией более 20 ГэВ. Лос-аламосский протонный линейный ускоритель рассчитан на 800 МэВ при интенсивности пучков в 1 мА.
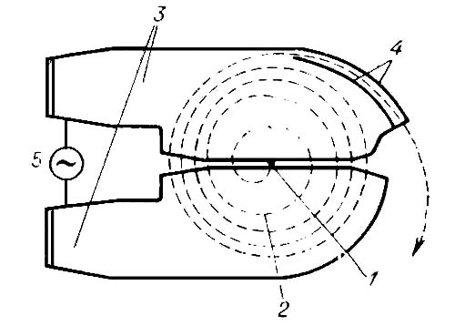
Циклотрон
Существенная часть циклотрон две полые металлические коробки, называемые дуантами (Рис. 3). Дуанты немного раздвинуты по диаметру друг от друга и подключены к радиочастотному генератору, работающему на частоте порядка нескольких мегагерц. Дуанты помещают в вакуумное пространство между полюсами мощного магнита, который создает магнитное поле с индукцией до нескольких Тл. Заряженная частица вылетает из источника ионов, помещенного в центре между дуантами, со скоростью V0. Магнитное поле действует на частицу с силой , а поскольку , то . Применим второй закон Ньютона , где m - масса частицы. Частица движется по полукругу радиусом . Выходя из дуантов, частица попадает в электрическое поле, создаваемое радиочастотным генератором. Высокочастотное поле синхронизируют таким образом, что, как только частица покидает один дуант, оно дает ей «толчок», и во второй дуант эта частица попадает ускоренной. В силу того, что частица обладает теперь большей скоростью, во втором дуанте она движется по траектории большего радиуса .
Траектория частицы внутри дуантов образует некоторую раскручивающуюся спираль. Ускорение продолжается до некоторого максимального радиуса. После этого частицу вывозят из циклотрона и направляют на мишень.
Частота обращения частицы в циклотроне равна
.

Рис. 3. Схема движения частиц в циклотроне; магнитное поле перпендикулярно плоскости чертежа. 1 ионный источник; 2 орбита ускоряемой частицы (спираль); 3 ускоряющие электроды; 4 выводное устройство (отклоняющие пластины); 5 источник ускоряющего поля.
Максимальная кинетическая энергия частицы, когда она покидает циклотрон, равна
.
При r=0,5 м конструктивные параметры циклотрона, предназначенного для ускорения -частиц до энергии 20 МэВ, следующие:
.
Первый циклотрон был построен в 1930 г. Он стал прародителем целого семейства ускорителей, отличающихся от него в деталях, но сходных в главном: в них используется синхронизированное (согласованное по фазе) высокочастотное электромагнитное поле.
Бетатрон
Бетатрон был спроектирован в 1941 году в Иллинойском университете. Этот прибор был предназначен специально для ускорения электронов. Поперечный разрез и схема основных узлов бетатрона показана на Рис. 4.
Вакуумная стеклянная камера в форме бублика имеет источник электронов, смонтированный между полюсами мощного электромагнита. Большинство бетатронов работает обычно от источника напряжения частотой в 60 Гц.

Рис. 4. Схематический разрез бетатрона: 1 полюсы магнита; 2 сечение кольцевой вакуумной камеры; 3 центральный сердечник; 4 обмотки электромагнита; 5 ярмо магнита.
Когда магнитное поле изменяется со временем, возбуждается ЭДС индукции, равная , где - магнитный поток, ограниченный круговой траекторией электрона, В ср среднее значение индукции магнитного поля внутри круговой траектории. Напряженность получающегося вихревого электрического поля направлена по касательной к круговой траектории и по абсолютному значению равна:
Импульс электрона mv=qBr и, следовательно, при неизменном радиусе r изменение индукции магнитного поля dB приводит к изменению импульса d(mv)=qrdB.
Это изменение импульса равно d(mv)= Fdt=qEdt=qdBср. Сравнивая с предыдущей формулой, получаем dBср=2dB или Bср=2В. Таким образом, для получения устойчивой орбиты магнитному полю надо придать такую конфигурацию, чтобы среднее значение индукции магнитного поля по площади, ограничиваемой круговой орбитой, было в два раза больше индукции поля на орбите. Полюсам магнита придается такая геометрическая форма, при которой переменное магнитное поле не только сообщает электронам энергии, но также удерживает их на устойчивой орбите. После того, как электрон прокрутится много раз на орбите и получит нужную энергию, магнитное поле изменяют и заставляют электрон ударяться о мишень.
Серийный бетатрон на 100 МэВ имеет диаметр полюсов около 2 м и магнит массой 130 т. Электронам сообщается энергия 100 МэВ порциями по 420 эВ на каждом обороте, так что всего ускоряемый электрон совершает 2,4·105 оборотов, т.е. пробегает расстояние около 1280 км (примерно расстояние от Ростова-на-Дону до Москвы).
Верхний предел, получаемых на бетатроне энергий, ограничивается на двумя факторами. Во-первых, так как электроны разгоняются до скоростей, близких к скорости света, становятся важными релятивистские эффекты и дальнейшее увеличение скорости электрона не происходит. Во-вторых, поскольку электроны - заряженные частицы и так как они двигаются по круговым орбитам, т.е. постоянно ускоряются, то они должны терять энергию на излучение.
Синхротрон это вариант бетатрона, в котором скомпенсированы релятивистские эффекты.
Синхротрон
Идею синхротрона предложил в 1945 В. Векслер. Его основные элементы показаны на Рис 5. Инжектор впрыскивает частицы с начальной энергией Еi в ускорительно кольцо. Двухполюсные магниты удерживают частицы на круговой траектории с радиусом кривизны , а система четырех полюсных магнитов поддерживает коллмелированность пучка частиц, ускоряемых полостями, работающими на частоте . Реальная траектория частиц состоит из прямых участков, проходящих внутри резонансных полостей, внутри фокусирующих и других элементов, и их участков круговых траекторий, расположенных внутри магнитов, удерживающих частицы. Поэтому радиус ускорительного кольца R оказывается большим радиуса кривизны .

Рис. 5. Схема синхротрона: 1 инжектор; 2 система ввода; 3 вакуумная камера; 4 сектор электромагнита; 5 прямолинейный промежуток; 6 ускоряющее устройство. Магнитное поле перпендикулярно плоскости рисунка.
После инжекции (когда радиочастотное ускорительные устройства еще не включены) частицы будут двигаться по кольцу со скоростью V, делая полный оборот за время Т, которое определяется выражением .
Энергия Е и импульс частицы связаны формулой Е2=р2с2+m2с4. С учетом формула для периода
, (1)
где Еi и Рi начальная энергия и импульс частицы. Соответствующая круговая частота равна
(2)
Магнитное поле, необходимое для удержания частиц на траектории, определяется из формулы . Ситуация меняется когда включаются радиочастотные ускорительные устройства. Прежде всего радиочастота должна быть больше круговой частоты ( в к раз), чтобы подталкивать частицу в нужные моменты времени. Далее из формулы (2) мы видим, что частота приложенного радиочастотного поля должная возрастать с ростом энергии ускоряемой частицы вплоть до достижения такого режима, когда частицы можно уже считать полностью релятивистскими, т.е. когда рс=Е. Магнитное поле также должно возрастать:
и (3)
Если эти два условия выполняются, то частицы действительно ускоряются. Весь процесс ускорения выглядит следующим образом. В момент t=0 инжектируется сгусток частиц с энергией Еi. Затем магнитное поле и радиочастоту непрерывно увеличивают от их начальных значений Bi и i до конечных значений Bf и f, причем так чтобы в каждый момент выполнялись оба соотношения (3). Энергия частиц возрастает в течении этого процесса от первоначальной энергии Еi до конечной энергии Еf . Время, требующееся для доведения энергии частиц до конечного значения, зависит от размеров установки. Для очень больших ускорительных машин это время порядка 1 с. Соотношения (3) раскрывают еще одну характерную особенность больших синхротронных ускорителей. Частицы в них нельзя ускорять сразу с помощью одного лишь синхротрона до полной энергии. Диапазон изменения радиочастоты и магнитного поля был бы тогда слишком велик. Поэтому частицы приходится предварительно ускорять на малых машинах и затем инжектировать в больших синхротронные ускорители.
Синхротроны могут применяться для ускорения и протонов и электронов. Электронные синхротроны имеют одно общее свойство с другими кольцевыми электронными ускорителями: они являются интенсивными источниками коротковолнового синхротронного излучения. Мощность излучения частицы с зарядом e, движущейся со скоростью =с по круговой орбите радиуса R, дается формулой:
Если 1, то
,
где , .
Время Т одного оборота частицы по круговой орбите определяется формулой (1), а энергия, теряемая за один оборот равна
Из этой формулы сразу становится очевидно различие между протонным и электронным синхронными ускорителями. Для одних и тех же значений радиуса орбиты и полных энергий отношение энергетических потерь в общих ускорителях составляет
Таким образом, энергетические потери обязательно надо принимать во внимание при проектировании электронных синхротронов.
Оптика пучков частиц
Попытаемся ответить на вопрос, каким образом пучок частиц, пройдя в ускорителях путь длинной в несколько километров остается хорошо сколлимированным? В оптике световых пучков путь монохроматического светового луча, проходящего через систему тонких линз, найти легко, используя законы геометрической оптики. Рассмотрим, например, простую комбинацию из двух тонких линз выпуклой и вогнутой, - находящихся на расстоянии d друг от друга и имеющих одинаковые фокусные расстояния f. Такая комбинация линз всегда является фокусирующей с результирующим фокусным расстоянием . Для управления пучками заряженных частиц в ускорителях можно было бы, казалось, воспользоваться и электрическими и магнитными линзами. Напряженность электрического поля, необходимая для эффективной фокусировки частиц высокой энергии в электрических линзах, оказывается, однако, неприемлемо большой, и поэтому применяются лишь магнитные линзы.
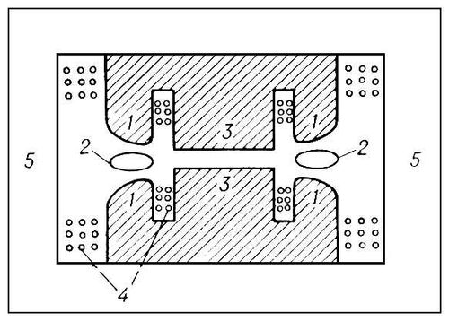
При попытке сфокусировать пучок возникают различные трудности. Очевидно, что обычный двухполюсный магнит может изменить траекторию частицы, оставляя ее только в одной определенной плоскости, и поэтому фокусировку пучка с его помощью можно осуществить лишь в этой плоскости. Создание магнитных линз аналогичных свойствам оптических фокусирующих линз стало возможным после того, как в 1950 году была высказана идея «жесткой» фокусировки. Чтобы пояснить основную мысль этой идеи достаточно понять, что если в оптической системе чередовать фокусирующие и дефокусирующие элементы, расположенные на некотором расстоянии друг от друга, то в результате получим эффект фокусировки. В транспортных системах для пучков жесткая фокусировка наиболее часто достигается путем применения четырех полюсных магнитов. Поперечное сечение такого магнита показано на Рис. 6. Этот магнит имеет четыре полюса, причем поле в центральной точке равно нулю, а в направлении от центра к краям, возрастает. Чтобы пояснить, как действует четырехполюсный магнит, рассмотрим три положительно заряженные частицы, летящие вдоль оси магнита и проходящие через точки А, В и С.

Рис. 6. Поле магнитной квадрупольной линзы: N, S северный и южный полюсы магнита, F сила действия магнитного поля на частицу, движущуюся перпендикулярно плоскости рисунка (в центре F = 0).
Частица А проходит через центр и не отклоняется магнитами. На частицы В и С действует лоренцева сила, которая отклоняет частицу В к центру, а частицу С от центра. Таким образом, магнит ведет себя как фокусирующее устройство в отношении одной плоскости и дефокусирующее в отношении другой. Комбинация двух расположенных один за другим четырехполюсных магнитов будет фокусировать пучок в двух плоскостях, если второй магнит повернуть вокруг центральной оси на 900 по отношению к первому магниту. Такие пары четырехполюсных магнитов являются существенными элементами всех современных ускорителей частиц и устройств, транспортирующих пучки к мишеням. Применение подобных фокусирующих устройств позволяет выводить пучки на многие километры от ускорителя без существенных потерь от интенсивности.
Встречные пучки
Ускорители на встречных пучках, или ускорители со встречными пучками, установки, в которых осуществляется столкновение встречных пучков заряженных частиц (элементарных частиц и ионов), ускоренные электрическим полем до высоких энергий. На таких установках исследуются взаимодействия частиц и рождение новых частиц при максимально доступных в лабораторных условиях эффективных энергиях столкновения. Наибольшее распространение получили ускорители со встречными электрон-электронными (е-е-), электрон-позитронными (е-е +) и протон-протонными (рр) пучками (см. Приложение). Ускорители на встречных пучках имеют важнейшее значение для изучения упругих и неупругих процессов взаимодействия стабильных частиц протонов и электронов (и их античастиц); в области сверхвысоких энергий с ними не могут конкурировать обычные ускорители с неподвижной мишенью (Рис. 7).
В обычных ускорителях взаимодействие частиц изучается в лабораторной системе отсчёта при столкновениях пучка ускоренных до высокой энергии частиц с частицами неподвижной мишени. При этом вследствие закона сохранения полного импульса соударяющихся частиц большая часть энергии налетающей частицы расходуется на сохранение движения центра масс системы частиц, т. е. на сообщение кинетической энергии частицам продуктам реакции, и лишь небольшая её часть определяет «полезную», или эффективную, энергию столкновения, т. е. энергию взаимодействия частиц в системе их центра инерции, которая может идти, например, на рождение новых частиц. Из расчёта следует, что при столкновении двух частиц одинаковой массы m0, одна из которых покоится в лабораторной системе отсчёта, а другая движется с релятивистской (близкой к скорости света с) скоростью, энергия в системе центра инерции
, где E0 = m0c2 энергия покоя частицы, а Е энергия налетающей частицы в лабораторной системе отсчёта. Т. о., чем больше Е, тем меньшая её доля определяет энергию взаимодействия частиц. Если же сталкиваются частицы с равными по величине и противоположно направленными импульсами, т. е. их суммарный импульс равен нулю, то лабораторная система отсчёта совпадает с системой центра инерции частиц и эффективная энергия столкновения равна сумме энергий сталкивающихся частиц; для частиц с одинаковыми массами (и энергией Е) Еци = 2E, т. е. кинетическая энергия может быть полностью использована на взаимодействие.

Рис. 7. Схема ускорителя на встречных электрон-позиторонных пучках. Пучок ускоренных в синхротороне С электронов (е-) выводится по каналу 1 и попадает на мишень М, в которой рождаются позитроны (е+). В течение некоторого времени позитроны накапливаются в накопительном кольце НК, после чего включаются поворотные магниты ПМ, с помощью которых электронный пучок из С направляется по каналу 2 в НК навстречу позитронам, и происходит столкновение пучков е+ е- (КЛ фокусирующие магнитные квадрупольные линзы).
Особенно велико преимущество изучения процессов взаимодействия на встречных пучках для лёгких частиц электронов и позитронов, для которых E0 = 0,5 Мэв. Например, для соударяющихся во встречных пучках электронов с энергией в 1 Гэв Еци = 2 Гэв; такая же эффективная энергия столкновения при одном неподвижном электроне потребовала бы энергии налетающего электрона Е = Е2ци/2Е0 (4000 Гэв. Для встречных пучков протонов (E0 » 1 Гэв), например с энергией Е = 70 Гэв (энергия протонов Серпуховского ускорителя 76 Гэв), Еци = 140 Гэв, тогда как при столкновении с покоящимся протоном эффективная энергия столкновения 140 Гэв была бы достигнута лишь при энергии налетающего протона Е = 10000 Гэв!
Недостаток ускорителей на встречных пучках малая плотность пучков частиц по сравнению с плотностью неподвижной мишени. Для увеличения плотности частиц до процесса соударения производится накапливание заряженных частиц в специальных накопительных кольцах, так чтобы токи циркулирующих частиц составляли не менее десятков ампер. Однако и при таких токах интенсивность пучков вторичных частиц высоких энергий (p- и К-мезонов, нейтрино и др.), образующихся при соударениях, на несколько порядков меньше, чем интенсивность пучков тех же частиц, получаемых на обычных ускорителях. Кроме того (т.к. энергия вторичной частицы не может превышать энергию сталкивающихся в ускорителях на встречных пучках первичных частиц), получается проигрыш в энергии вторичных частиц по сравнению с традиционными ускорителями. Поэтому ускорители на встречных пучках не могут заменить, а лишь дополняют традиционные ускорители, и развитие тех и других должно идти параллельно.
Основная характеристика системы со встречными пучками величина, которая определяет число событий N исследуемого типа в единицу времени и называется светимостью установки. Если изучается взаимодействие в наиболее простом случае, когда угол встречи пучков равен нулю то N = R (N1N2 /S)w/2p, где N1, N2 полные числа частиц в каждом пучке, заполняющем кольца, S площадь поперечного сечения, общая для обоих пучков, w круговая частота обращения частиц по замкнутой орбите, R коэффициент использования установки, равный отношению длины промежутков встречи пучков к периметру орбиты. В более общем случае R зависит от области перекрытия пучков, т. е. от углов пересечения и относительных размеров пучков. Для эффективного изучения процессов взаимодействия с сечением = 10-2610-32 см2, величина светимости должна составлять 10281032 см-2сек-1. Это достигается накоплением циркулирующего тока пучков заряженных частиц и уменьшением поперечного сечения пучков при помощи специальной магнитной фокусировки в прямолинейных промежутках, а также использованием методов электронного или стохастического охлаждения с целью уменьшения поперечной компоненты импульса сталкивающихся пучков.
Для того чтобы обеспечить непрерывный физический эксперимент с мало меняющейся светимостью установки, необходимо большое время жизни накопленных пучков частиц. Время жизни пучка (время, в течение которого интенсивность пучка уменьшается в е (2,7 раз) зависит от ряда эффектов. Главные из них однократное и многократное рассеяние ускоренных частиц на атомах остаточного газа в камере накопителя, а для электронов и позитронов синхротронное излучение и квантовые флуктуации; существенную роль может также играть эффект взаимного рассеяния электронов (позитронов) пучка. Экспериментальный критерий времени жизни пучка относительная величина потери интенсивности пучков в % за 1 ч; для лучших действующих установок она составляет десятые доли % в час (например, для протонной установки в Европейском центре ядерных исследований (CERN) 0,1%/ч при токе 22 А). Такая большая величина времени жизни пучков достигается при помощи высокого вакуума в камерах накопителей пучков: 10-11 мм рт. ст. в объёме камеры и 10-12 мм рт. ст. в зонах встречи пучков.
Большой адронный коллайдер - LHC (Large Hadron Collider)
В Европейской организации ядерных исследований (CERN) с 1996 г. реализуется глобальный научный проект - LHC - большой адронный коллайдер. Большой адронный коллайдер - кольцевой ускоритель заряженных частиц на встречных пучках с кольцом длиной 26,65 км, проходящим под территориями Швейцарии и Франции. Реализация проекта объединит мировой опыт создания и эксплуатации больших экспериментальных установок, накопленный во всем мире на протяжении последних десятилетий. Подобно тому, как открытие атомной структуры, волновых свойств материи и квантовой механики в начале ХХ столетия обеспечило быстрое развитие науки и технологий, результаты экспериментов на LHC не только дадут возможность установить фундаментальные законы физики частиц, но и могут привести к открытиям, которые определят генеральное развитие науки и технологии в XXI веке.
Проект ускорителя задуман как крупномасштабная международная программа. России было предложено участвовать в его создании. Договоренность закреплена в Протоколе об участии в проекте, подписанном 14 июня 1996 г. CERN и Миннауки России по поручению Правительства Российской Федерации. Согласно этому документу российские институты и промышленные предприятия произведут высокотехнологичное оборудование на сумму 200 млн швейцарских франков в течение 10 лет. Финансовый вклад России, определяющий масштаб последующего участия российских физиков в экспериментах на коллайдере, должен составить 133 млн швейцарских франков, а инвестиции CERN и других западных партнеров в Россию - более 66 млн швейцарских франков. Несмотря на то, что финансовый вклад России составит менее 5% общей стоимости проекта, реальная доля участия российских физиков в последующих экспериментальных исследованиях на этом уникальном комплексе составит в среднем 16%. Это результат признания значительного интеллектуального и технологического вклада российских ученых в развитие физики высоких энергий вообще и в осуществление проекта LНС, в частности.
Новый ускоритель будет установлен в уже существующем в CERN кольцевом тоннеле, созданном для электронно-позитронного коллайдера LЕР, и станет крупнейшим в мире ускорителем заряженных частиц.
Ввод ускорителя в строй намечен на 2006-2007 гг. На коллайдере будут изучаться столкновения двух пучков протонов с суммарной энергией 14 ТэВ/протон. Эта энергия в миллионы раз больше энергии, выделяемой в единичном акте термоядерного синтеза.
Россия принимает участие как в строительстве ускорителя, создании детекторов, так и в последующих научных исследованиях с их использованием. Координатором проекта от России и стран-участниц является ОИЯИ (г. Дубна).
Рекомендуемая литература
- Акоста В., Кован К., Грэм Б. Основы современной физики, М., Просвещение, 1981.
- Фраэнфельдер Г., Хенли Э. Субатомная физика, М. Мир, 1979.
- Сегрэ Э. Экспериментальная ядерная физика, М., Иностранная литература, 1961.
- Ананьев Л.М. и др. Индукционный ускоритель электронов бетатрон, Госатомиздат, 1961.
- Вальднер О.А. и др. Линейные ускорители. Атомиздат, 1969.
- Власов. О. А. Линейные ускорители. Атомиздат, 1965.
- Гринберг А.П. Методы ускорения заряженных частиц. Гостехиздат, 1950.
- Дж. Лингвуд. Принципы работы циклических ускорителей. ИЛ, 1963.
- Жилейко Г.И. Высоковольтные электронные пучки. Изд-во «Энергия», 1968.
- Капица С.П., Мелехин В.Н. Микротрон. Изд-во «Наука» 1969.
- Коломенский А.А., Лебедев А.Н. Теория циклических ускорителей. Физматгиз, 1962.
- Комар Е.Г. Ускорители заряженных частиц. Атомиздат, 1964.
- Петухов В.А., Котов В.И. Современные ускорители частиц. Изд-во «Наука», 1965.
- Ускорители. Под ред. Яблокова Б.Н. Госатомиздат, 1962.
- Федоров Н.Д. Циклотрон. Атомиздат, 1960.
- Вахрушин Ю.П., Матора И.М. Линейные индукционные ускорители новые генераторы мощных пучков релятивистских электронов. УФН, 1973, т. 110. вып. 1.
- Гольдин Л.Л. и др. Применение тяжелых заряженных частиц высокой энергии в медицине. УФН, 1973, т. 110, вып. 1.
Приложение