Технология производства экструдированных кормов в ООО Пермский центр зерно - переработки
ВВЕДЕНИЕ
Актуальность темы: Важнейшим условием повышения продуктивности сельскохозяйственных животных, реализации их генетического потенциала, сохранения здоровья и получения высококачественной продукции животноводства считается создание прочной кормовой базы, позволяющей сбалансировать рационы по основным питательным, минеральным и биологически активным веществам Часть животноводческих предприятий включают в рационы животных гранулированные комбикорма, производимые для каждого вида животных определенных групп, что упрощает использовать данные корма. Гранулированные комбикорма удобны при погрузке, разгрузке, перевозке, имеют большой срок хранения, и в них не бывает много вредных микробов.
В наши дни спрос животноводческих предприятий на корма, прошедшие экструзионную обработку, значительно повысился. Применение экструдата в животноводстве существенно увеличивает продуктивность животных до 40%. Во многих животноводческих предприятиях нередки случаи смертности молодняка, причем происходит это в связи с занесением патогенной микрофлоры в пищеварительную систему животных с низкокачественным кормом. В отличие от других видов корма, экструдат практически стерилен и не содержит токсинов, поэтому при его использовании падеж молодняка существенно снижается, а также упрощается переход молодняка на грубые корма, он происходит без потери прироста.
Цель: изучить технологию производства экструдированных кормов в ООО "Пермский центр зерно - переработки".
Задачи:
1. Изучить применение экструдированных кормов.
2. Описать технологию производства струдированных кормов
3.Расчитать экономическую эффективность использования экструдированных кормов.
1.ТЕОРИТИЧЕСКИЕ ИССЛЕДОВАНИЯ
1.1. Суть экструдированного корма.
Экструзия (технологический процесс) метод и процесс получения изделий из полимерных материалов (резиновых смесей, пластмасс, крахмалсодержащих и белоксодержащих смесей) путем продавливания расплава материала через формующее отверстие в экструдере. Кратковременный высокотемпературный процесс, который с успехом применяется как в пищевой так и в комбикормовой промышленностях.
Экструдирование это обработка сырья в экструдере, кормоэкструдере посредством температуры 110-160 0С и давлением в 40-60 атмосфер. Сырье проходит через матрицу, отверстия которой имеют необходимое сечение. В итоге возникает воздушный упругий продукт, имеющий новую структуру и свойства. Существенно повышается питательная ценность корма, так как в процессе обработки происходит изменение структуры питательных веществ. Корм, прошедший процесс экструзии, не содержит вредоносных веществ и микрофлоры. Все микробы погибают от воздействия высокой температуры и давления, а вредные вещества нейтрализуются. Очень важно, что при экструдировании не преобразуются витамины, они остаются в неизменном виде благодаря быстрому воздействию на сырье. Кроме всего этого экструдированные корма имеют высокие абсорбирующие качества, поэтому действуют как профилактические средства для снижения заболеваемостей сельскохозяйственных животных.
Экструдирование позволяет использовать для создания высокопитательного корма отходы растениеводства, остатки и отходы других производств, некачественное зерно. Данное свойство экструдирования корма имеет положительный экономический эффект.
Перерабатываемый продукт нагревается за счет превращения механической энергии в тепло, которое выделяется при преодолении внутреннего трения и пластической деформации продукта (автогенныйрежим работы) или за счет внешнего нагрева (политронный режим работы).
Сменными параметрами процесса экструзионной обработки есть состав сырья, его природа, влажность. В процессе экструзии возможны изменения температуры, давления, продолжительности и интенсивностивоздействия на сырье. Известны три основных метода экструзии это холодная формовка, тепловая обработка и формовка и так называемая «горячая» экструзия.
В последнее время широкое распространение получил метод «горячей» экструзии, который осуществляется при высоких скоростях и давлении, при значительном переходе механической энергии в тепловую.
Природные условия позволяют успешно выращивать сельскохозяйственным организациям рожь, но она не всегда успешно применяется для кормления сельскохозяйственных животных, а ржаная солома и вовсе не используется. При экструдировании ржаной соломы и зерна ржи (30 на 70% соответственно) можно получить ценный корм, использование которого для кормления животных позволяет:
- существенно увеличивать продуктивность животных
- получать животным полезные и питательные вещества в полном объеме, не применяя никаких прикормок
- снижать себестоимость кормов и увеличивать оплату корма продукцией
- перерабатывать солому
- снизить падеж молодняка
- снизить количество болезней желудочно-кишечного тракта, возникающих от некачественной пищи.
В наше время целесообразно не просто включать в рационы экструдированные корма, а учитывая их достоинства, составлять полнорационные комбинированные корма на основе экструдата. Использование таких смесей позволит не просто повысить продуктивность сельскохозяйственных животных, но и закрепить высокую продуктивность на долгий период. Животные обеспеченные качественным кормом, сбалансированным по питательности и полезным веществам, имеют более длительное хозяйственное использование. При экструдировании используются разнообразные отходы и солома. Все это в совокупности несет в себе высокий экономический эффект.
Принцип действия экструдеров определяется самой сутью технологического процесса экструзии.
Экструзионная переработка существенно повышает питательную и биологическую ценность кормов. Высокомолекулярный полисахарид - крахмал, основная составляющая зернового сырья, гидролизуется и превращается в простые моносахариды и декстрины. Содержание растворимых веществ повышается в 5-8 раз. Вместе с тем, сохраняется питательная ценность протеина и полностью или частично разрушаются антипитательные соединения, такие кукуруза, ингибиторы протеаз, трипсина. В результате быстрого вскипания воды, присутствующей в обрабатываемой массе, при выходе из экструдера продукт становится пористым, увеличиваясь в объеме. Он становится более доступным действию пищеварительных соков и ферментов, улучшаются его переваримость и вкусовые качества, то есть возрастает кормовая ценность. Усвояемость зерновых кормов возрастает до 90%. Благодаря высокой степени стерильности такой корм имеет длительные сроки хранения.
Кормовой экструдер очень экономичен. Для его работы не требуется больших энергетических затрат. А обслуживание экструдера не требует больших финансовых затрат на обслуживание и ремонт.
Опыты по использованию экструдированных кормов в рационах высокоудойных коров были проведены сотрудниками лаборатории кормления сельскохозяйственных животных и технологии кормов ГНУ Башкирский НИИСХ на базе Новотураевской МТФ, ООО «Приютовагрогаз», ГУП «Башагропродукт».
С целью изучения влияния экструдированной кормовой смеси СК-136 на молочную продуктивность дойных коров на базе Новотураевской МТФ были сформированы по принципу пар-аналогов 2 группы новотельных коров симментальской породы, равнозначных по возрасту, живой массе, уровню продуктивности и физиологическому состоянию [2]. В период проведения опытов животные находились в одинаковых условиях содержания и кормления. В подготовительный период коровы контрольной группы получали основной рацион в виде грубых и сочных кормов, а концентрированную часть в виде зерносмеси в количестве 3 кг. Различие в кормлении животных опытной группы состояло в том, что концентрированную часть рациона они получали в виде экструдированной кормовой смеси СК-136 в количестве 3 кг. По истечении 10 дней коровы контрольной и опытной группы начали получать по 5 кг концентрированной части своего рациона. Рационы кормления животных были сбалансированы в соответствии с детализированными нормами кормления [1].
Химический анализ кормов Новотураевской МТФ показал, что корма не соответствуют требованиям, предъявляемым к грубым и сочным кормам. Корма были заготовлены в условиях повышенной влажности, с нарушением сроков уборки многолетних злаковых и бобовых трав. В результате сено содержало много плесени, содержание сухого вещества по всем видам кормов было ниже нормы, а клетчатки - выше, корма плохо переваривались и усваивались. Потребность животных в питательных веществах и энергии не удовлетворялась в полной мере. При замене концентрированной части рациона на экструдированный комбикорм СК-136 для коров опытной группы в количестве 5 кг недостатки питательных веществ и энергии, которые необходимы по норме были восполнены.
Опыты продолжались в течение 90 дней. В ходе проведения опытов по кормлению экструдированным комбикормом СК-136 вели учет молочной продуктивности каждой коровы в отдельности, путем проведения контрольных доек через каждые 10 дней с определением жира и белка в молоке. Кроме того изучали химический состав молока и крови подопытных животных.
Результаты контрольных доек показали положительный эффект от использования экструдированного комбикорма СК-136. Если в период формирования групп молочная продуктивность новотельных коров была на одинаковом уровне, то через 10 дней кормления экструдированным комбикормом СК-136, разница по продуктивности между контрольной и опытной группами составила 2,3 кг, через 20 дней - уже 2,5 кг. Ровно через месяц с начала опытов разница уже составила 5,3 кг на 1 корову, хотя и по контрольной группе наблюдался естественный рост молочной продуктивности. Если жирность молока за период опытов в контрольной группе составила 3,5-3,6%, то по результатам анализа в опытной группе жирность молока составила 4,2%, общего белка 3,16%.
Разница по продуктивности между контрольной и опытной группами коров в среднем составила 4 кг в натуральном выражении. А с учетом перевода на базисную жирность разница между группами составила 6,8 кг. При закупочной цене на молоко 13,50 рублей получено дополнительной продукции на 91,80 рублей. Если учитывать, что коровы контрольной группы получали зернофураж стоимостью по 5 рублей5 кг = 25 рублей, а коровы опытной группы получали 5 кг экструдированного комбикорма по цене 20 рублей, то есть затраты составили 5 кг20 рублей=100 рублей. Коровы опытной группы на 75 рублей (100-25=75) больше затратили комбикормов, но продукции от них получено на 91,80 рублей больше. Следовательно, высчитав затраты (91,80-75=16,80 рублей), от каждой коровы в день получено 16,80 рублей чистой прибыли.
При этом следует отметить положительные моменты по упитанности коров опытной группы. Так, за период опытов средняя живая масса коров увеличилась на 26,4 кг, по сравнению с началом опыта. Средняя живая масса коров контрольной группы за период опытов, напротив, снизилась на 11 кг. При скармливании экструдированного комбикорма СК-136 коровы быстрее набрали среднюю упитанность, в отличие от коров контрольной группы, и как результат, своевременно пришли в охоту, оплодотворились и дали здоровых жизнеспособных телят.
1.2. Производства экструдированных кормов для животных
Экструзия в производстве кормов используется для переработки зернопродуктов злаковых и бобовых культур. Из-за большого содержания крахмала усвояемость зерна и продуктов его переработки животными и птицей не превышает 60%. Особенно плохо крахмал усваивается молодняком. Экструзионная переработка существенно модифицирует зерно. Основные и наиболее важные изменения происходят при «взрыве» - резком падении давления и температуры, при выходе продукта из экструдера разрушаются клеточные стенки, разрываются химические связи, меняются физическая и молекулярная структура сырья.
В процессе экструзии происходит изменение свойств сырья питательные вещества становятся более доступными. Благодаря тому, что питательные вещества быстро всасываются в пищеварительной системе животных, значительно повышается продуктивность, что повышает рентабельность производства продукции животноводства.
Производство экструдированных кормов в животноводческом предприятии имеет неоспоримые достоинства:
- Значительно повышается энергетическая ценность корма, поэтому повышается продуктивность животных.
- Погибает вся патогенная микрофлора, исчезают токсины, а благодаря отличным абсорбирующим качествам снижается падеж животных, обусловленный болезнями пищеварительной системы.
- Улучшается и упрощается хранение продукта.
- Приятный запах и вкус экструдированного корма повышает поедаемость корма животными и уменьшает потери при раздаче.
- Используется солома и другие отходы растениеводства.
- Поедая экструдированные корма, животные получают витамины и другие полезные вещества, которые не изменяются в процессе обработки.
Применение: Для КРС, лошадей, кроликов, птиц, свиней всех видов животных, а так же собак и рыб.
Многие фермеры уже успели приобрести, или сделать своими руками экструдер для кормов. При помощи экструдера осуществляется переработка различных компонентов, необходимых для рациона животных.
Полученный корм практически на 100% усваивается в организме у животных. При этом, для того, чтобы скотина полностью насытилась, необходимо меньшее количество зерновых культур. Более того, после переработки, из зерновых культур исчезает крахмал, оказывающий негативное влияние на животный организм. Из-за высоких температур, он превращается во вторичный сахар.
Перед руководителями хозяйств и фермерами, заинтересованными в повышении мясной, молочной и яичной продуктивности, стоит нелегкая задача: постоянно совершенствовать технологию кормления и методы обработки кормов.
Экструдированные корма завоевывают сегодня все большую популярность и в России. Они доказали свою высокую эффективность при откорме свиней, бычков, бройлеров, пушных зверей. Очень продуктивно их применение в молочном скотоводстве для повышения удоев и улучшения качества молока. Экструдированное зерно незаменимо в составе стартерных и предстартерных кормов.
В большинстве наших хозяйств процесс приготовления кормов состоит из измельчения, смешивания, иногда гранулирования. Однако все эти способы не позволяют активно влиять на молекулу белка, «раскрывать» ее, облегчая доступ пищеварительных ферментов к аминокислотам. В результате животные и птицы тратят значительное количество энергии на переваривание корма, увеличиваются затраты на производство продукции. Избежать этих проблем и помогают экструдированные корма.
Сейчас же происходит то, что можно сравнивать с кормлением животных конфетами в свинцовой оболочке животное усваивает лишь половину, поскольку почти вся энергия уходит на переваривание "обертки". В итоге просто поддерживается жизнедеятельность животных и получаются мизерные привесы и надои.
При экструзионной обработке зерна и зерноотходов, половина работы желудка животного выполняется экструдером и поэтому энергия корма целиком идет на строительство организма животного.
Как очевидно из вышесказанного экструдированные корма незаменимы при откорме молодняка животных: свиней, лошадей, КРС, кроликов и т.д. Не менее продуктивно применение экструданта и при получении повышенных надоев, которые достигают в различных хозяйствах от 18 до 40%.
Прекрасный, высококачественный корм методом экструдирования можно получить даже из некондиционного, влажного, залежалого и засоренного зерна. Как результат повышение сроков хранения корма!
Экструдированный корм отличается от просто корма повышенной активности ферментов, расщеплению крахмала до декстринов и сахаров, экструдированные корма имеют отличную усвояемость. Это позволяет вводить в рацион животных и птицы фактически половину обычной порции заметная экономия! Процесс экструзии проходит при высокой температуре, поэтому корм получается стерильным без токсинов и вредной микрофлоры.
После прохождения экструдирования получаются гранулы, полностью готовые для скармливания. При необходимости их можно дополнительно измельчить в крупку и использовать для скармливания мелкой птице, мальку рыбы.
В процессе экструдирования зерно приобретает особый специфический аромат, повышающий привлекательность корма. Аппетитный экструдированный корм можно смешивать с имеющимися кормами более низкого потребительского качества и таким образом стимулировать хорошее поедание.
Экструдированные корма имеют низкую влажность. Это позволяет идеально сохранять их в течение 6 месяцев без загнивания и плесневения.
Дальше, пожалуй, самое важное: что дает использование кструдированных кормов для повышения продуктивности поголовья.
Проведенные опыты на контрольных группах животных и птицы показывают:
- высокие привесы живой массы молодняка до 2 кг в сутки. Откорм животных и птицы может производиться по ускоренной интенсивной технологии.
- повышение удоев молока на 1,8 литра дополнительная прибыль от его реализации работает на рентабельность хозяйства.
- повышение качественных показателей молока: содержание жира с 3,4 до 4,35, белка с 3,01 до 3,18, снижение количества соматических клеток.
- повышение яйценоскости птицы на 20-25%.
При экструзионной обработке кормосмесей часть работы желудка животного выполняется экструдером и, соответственно, энергия корма полностью идет на восполнение потребностей организма. Питательная ценность кормов увеличивается практически вдвое! Это, несомненно, влияет на экономию, особенно если хозяйство испытывает дефицит кормов. Кормление экструдированными гранулами происходит практически без потерь, поскольку животные не зарываются в корм, а поедают с поверхности кормушки. Все это дает возможность существенно повысить рентабельность производства молока, мяса, яиц.
Помимо кормовых качеств, экструдат обладает хорошими абсорбирующими свойствами и обеспечивает отличную профилактику желудочно-кишечных расстройств. При кормлении экструдированными гранулами гибель молодняка от заболеваний ЖКТ снижается 1,5-2 раза. При переходе на грубые корма животное, не измученное в раннем возрасте кишечными заболеваниями, значительно обгоняет своих сверстников в росте.
При раздаче экструдированных гранул снижается запыленность помещений, а это чистота и стерильность. Увеличивается сохранность корма. Продлевается срок службы технологического оборудования. Все это дополнительная экономия средств.
Преимущества использования экструдированных чудо-кормов в качестве основы современного здорового рациона очевидны. При этом не стоит забывать, что любому организму для выживания необходимо трудиться. Поэтому желудочно-кишечный тракт животных должен время от времени получать и неподготовленное сено, и солому, и веточный корм. В молочном и мясном скотоводстве активно идет сегодня концентрация производства. Но все же основная часть поголовья содержится в хозяйствах, которым не по карману возводить собственные комбикормовые заводы. Это требует дорогостоящего высокотехнологичного оборудования, специально обученного персонала, выделения дополнительных помещений. Благо, есть отечественные производители, которые с удовольствием оказывают услуги по экструдированию экологически чистого зернового сырья для хозяйств, фермеров, комбикормовых заводов - качественно и недорого. Бонусом к заказу бесплатные консультации опытных специалистов-зоотехников по грамотному кормлению животных и птицы экструдированными продуктами, правильному введению их в рационы и получению стабильного эффекта от их применения.
Корм - универсальный! Он подойдёт ВСЕМ кто питается зерном и сеном! Главное этот корм (экструдер) при кормлении КРС, свиней, кроликов и т.п дает привесы огромные, так например, при откорме бычков срок откорма бычков до убойного веса сокращается на 5 месяцев. Даже в детском питании используют экструдированные злаковые зерна и для их переваривания детские организмы не тратят много внутренней энергии, а у КРС и свиней это 93-95%!!!
2. МАТЕРИАЛ И МЕТОДЫ ИССЛЕДОВАНИЙ
2.1. Характеристика предприятия
Предприятие было основано на базе старого элеватора и по инициативе Александра Ивановича Касаткина, который вел разработку технологии и линии производства с 1999г. Первоначальными направлениями деятельности были производство фармацевтических и лекарственных средств. Со временем, к ним добавилось направление по разработке и производству высокотехнологичных кормов для животных, проектирование и оснащение линий производства экструдированных кормов. Опыт накоплен достаточно большой, в год удаётся реализовать 3 4 проекта, и нередко для иностранных производителей. За основу берутся отечественные агрегаты и части линии изготовленные силами мехсервиса АвтоВАЗа. Часть оборудования является аналогами импортных агрегатов, прошедших реинжиниринг и изготовленные в Тольятти. Предприятие занимается разработкой и производством экструдированных комбикормов по персональным требованиям заказчика, а так же имеет в ассортименте 20 разновидностей типовых БВМД для различных животных (коровы, козы, кролики, собаки). Идеей реализации производства комбикормов стала необходимость обеспечения реализации генетического потенциала высокопродуктивных пород с/х животных разводимых в России кормами необходимой для этого питательной ценности сделанными так же в России, с учётом сырьевой базы самого предприятия-заводчика.
2.2. Применение экструдированного корма
Применение экспедированного корма путь к повышению э ффективности животноводства :Злаковые зерновые более чем на 50% состоят из крахмала, который плохо усваивается животными. В экструдере под воздействием высокой температуры и давления крахмал гидролизуется с увеличением количества декстринов и общих сахаров, разрушается структура стенок клетки, клетчатка распадается на вторичный сахар. Эти составляющие, в отличие от крахмала, практически полностью усваиваются всеми животными и птицей. Кроме того поверхность компонентов зерна увеличивается в тысячу раз и становиться более доступной для взаимодействия с пищеварительными соками и ферментами животных
Усваиваемость экструдированного корма превышает 90% вместо 60-65% зернового!!!
От высокотемпературного воздействия на зерно уничтожается патогенная микрофлора и появляется возможность получения доброкачественного корма из пораженных насекомыми, грибками и плесенью зерен.
Особенно эффективна экструзия для бобовых культур, так как происходит нейтрализация ингибиторов протеаз, трипсина и уреазы, что делает их пригодными для введения в рацион в больших количествах.
Экструдирование позволяет на 50% уменьшить расход зерна при кормлении (из-за большого объема при малом весе - происходит быстрая насыщаемость).
При применении экструдированного корма для скармливания животным значительная часть работы желудка животного перекладывается на экструдер, т. е. животное тратит энергии на переработку корма примерно в 2 раза меньше. Быстро набирает вес!
В сельском хозяйстве: При неизменных нормах скармливания экструдированного зернофуража, увеличиваются на 20-50% надои молока, на 20-25% яйце ценность птицы, на 30-40% прирост живого веса молодняка. Появляется возможность ускорить отлучение поросят от свиноматок без задержки роста.
Экструдированные корма незаменимы при откорме молодняка животных: свиней, лошадей, крупного рогатого скота, кроликов, шиншилл, нутрий. Известно, что 90 % гибели молодняка происходит из-за болезней желудочно-кишечного тракта или инфекций, занесенных с кормом. Так неоднократные исследования показывают, что экструдированный корм практическистерилен и может смело храниться 6 месяцев в обычных складских условиях!!! Что не может позволить себе обычная зерносмесь или гранулированный корм - которые очень быстро подвергаются спорам плесени или личинкам моли.
В процессе экструдирования в кормовом зерне происходят следующие изменения:
сухая желатинизация крахмала;
преобразование клетчатки;
гибнет вредная микрофлора (плесени, бактерии, грибки), что объясняется высоким давлением (20-30атм) и температурой (130-160гр. ) в экструдере.
Использование экструдата гороха, кукурузы, ячменя, пшеницы и т.п. в кормлении с.х. животных позволяет:
интенсифицировать среднесуточный прирост массы свиней на 15,7-27, сократить расход кормов (в том числе дефицитных кормов животного происхождения).
уменьшить падеж поросят вследствие резкого (в 12-17 раз) снижения бактериальной грибной обсемененности зерна
Экструдированные корма из сена(травяной муки) с зерном (50/50) это корма нового поколения, сочетающие в себе:
1. Стерильный корм;
2. Кальциево белковая добавка;
3. Ингибитор микотоксикозов;
4. Гуминовый стимулятор роста.
Сено с зерном - это корм-пребиотик, необходимый для реализации технологии самого здорового питания.
В экструдере идет осахаривание сена, лигнин из соломы выходит в виде растворимых гуминовых кислот, а известь служит катализатором осахаривания и одновременно кальциевой добавкой, кальций поступает в организм в виде солей органических кислот и усваивается по всей протяженности желудочно-кишечного тракта.
Привесы повышаются на 50-100% . К примеру, откорм бычков на экструдате зерно с сеном 50/50 даёт привесы у бычков мясной породы до 1,5 кг в сутки, надои до 5 литров на корову в пересчёте на стоимость молока высшего сорта. Время откорма бычков мясной породы (до 500 кг) при кормлении только кормами нового поколения сокращается с 1,8 года до 1,2 года. И что главное, что корма так действуют при любой культуре производства.
После тепловой обработки Экструдером зерна - улучшаются вкусовые качества корма, образуются различные ароматические вещества, значительно возрастает активность ферментов в перевариваемости кормов, а также происходит нейтрализация некоторых токсинов и гибель их продуцентов.
Наряду с термической обработкой происходят глубокие деструктивные изменения в питательных веществах. Так, крахмал расщепляется до декстринов и сахаров, протеины подвергаются денатурации. В результате такой комплексной переработки получают продукт с приятным хлебным вкусом и запахом, практически удваивается питательная ценность корма. Часть зерна можно заменить куриным пометом, который с производства выходит с влажностью 30%. Полученный продукт может храниться 6 месяцев, не теряя при этом своих вкусовых качеств.
Наиболее приемлемые параметры получения хлопьев: влажность зерна 23-35% и зазор между вальцами плющилки 0,4-0,55 мм. У овса переваримость органического вещества при плющение повышается с 76,7 до 81%, у пшеницы с 62,9 до 87,7%, у ячменя с 52,5 до 82,2% по сравнению с цельным зерном.
Для повышения биологической полноценности, усвояемости, улучшения вкусовых качеств, диетических свойств и питательности рационов животных - пшеницу, кукурузу, другие злаковые зерновые и особенно зернобобовые (горох, соя, вика и др.) экструдируют. Экструдаты зерна бобовых культур по питательности равноценны кормам животного происхождения.
Таблица 1- Рецепт экструдированного корма
|
№ пп |
Наименования компонентов |
Проценты ввода |
|
1 |
Ячмень экструдированный |
11,4 |
|
2 |
Овес экструдированный |
18,0 |
|
3 |
Кукуруза экструдированная |
18,1 |
|
4 |
Шрот подсолнечный экструдированный |
30,0 |
|
5 |
Мука мясная |
3,2 |
|
6 |
Глютен кукурузный |
3,6 |
|
7 |
Премикс |
1,0 |
Таблица 2 - Показатели качества экстрадированной соевой муки
|
Показатель |
Содержание, % |
||
|
Влага |
До 10 |
До 8 |
До 8 |
|
Сырая зола |
5,2 4 |
5,50 4 |
5,20 4 |
|
Сырой протеин запятые а не точки |
30,00 34,00 |
34,00 37,00 |
38,00 40,00 |
|
Сырой жир |
6,50 5,50 |
5,50 4,00 |
5,00 4,00 |
|
Сырая клетчатка |
0,22 |
0,22 |
0,20 |
|
Кальций |
0,65 |
0,68 |
0,66 |
|
Фосфор |
2,10 |
2,19 |
2,35 |
|
Лизин |
17,00 21,00 |
18,00 22,00 |
18,00 20,00 |
|
Метионин |
0,44 |
0,48 |
0,58 |
|
Метионин + цистин |
0,97 |
0,99 |
1,10 |
|
Треонин |
1,37 |
1,49 |
1,51 |
|
Обменная энергая, МДж |
16,32 |
16,50 |
16,32 |
|
Соотношение: Лизин/ОЭ, Г/МДж |
1,29 |
1,32 |
1,44 |
|
Метионин + Цистин/Лизин |
0,46 |
0,45 |
0,47 |
|
Треонин/Лизин |
0,65 |
0,68 |
0,64 |
|
Отпускная цена за 1 тону, руб. |
23 000, 00 |
24 000, 00 |
25 000, 00 |
Таблица 3 Влияние экструдирования на углеводный состав зерна, % в абсолютно сухом веществе
|
Зерно |
Способ обработки зерна |
Растворимые и легкогидролизуемые углеводы |
Целлюлоза |
Лигнин |
Декстрин |
Степень деструкции крахмала |
||
|
Сахар |
Крахмал |
Гемицеллюлоза |
||||||
|
Кукуруза |
Обычное |
3,08 |
49,59 |
27,18 |
4,46 |
1,83 |
1,53 |
19 |
|
Экструдированное |
11,60 |
31,31 |
31,75 |
3,46 |
2,10 |
2,05 |
44 |
|
|
Пшеница |
Обычное |
5,32 |
52,14 |
18,29 |
4,24 |
2,39 |
3,94 |
17 |
|
Экструдированное |
8,67 |
28,91 |
37,05 |
2,86 |
1,64 |
12,91 |
74 |
|
|
Овес |
Обычное |
2,90 |
29,75 |
26,79 |
6,51 |
3,96 |
1,02 |
13 |
|
Экструдированное |
4,55 |
17,87 |
38,62 |
5,47 |
3,93 |
3,36 |
44 |
|
|
Вика |
Обычное |
1,35 |
28,48 |
31,72 |
4,58 |
5,56 |
0,90 |
8 |
|
Экструдированное |
2,89 |
18,35 |
45,80 |
4,52 |
5,22 |
3,24 |
33 |
3. РЕЗУЛЬТАТЫ ИССЛЕДОВАНИЙ
3.1. Технологический цикл производства
экструдированных кормов.
Экструдирование это процесс сжатия смеси (сырья) до давления 80 атм, при котором происходит его кратковременный (2 сек) нагрев до 120 180 °С с последующим «выбросом» в атмосферные условия, где происходит «взрыв» продукта резкое увеличение объёма, испарение влаги, гидроудар. В результате из смеси любого сырья получается ОДНОРОДНЫЙ продукт с заданными свойствами, которыми не обладает смесь до процесса экструдирования.
В процессе экструдирования происходит процесс разрыва цепей сложных полисахаридов (крахмал) в сырье до более коротких и простых форм. Из крахмала образуются легко растворимые формы углеводов декстрины и частично сахара. При экструдировании объём сырья возрастает в 7 10 раз от первоначального.
Основные протеины при этом процессе денатурировать не успевают, их количество и свойства не изменяются. Водорастворимые витамины страдают. Жирорастворимые витамины в большинстве своём остаются не поврежденными. Микотоксины и ферментные комплексы бобового сырья уничтожаются. Таким образом в сырье после экструдирования повышается энергетическая ценность за счет повышения и упрощения процесса усвоения углеводов корма, уничтожаются не желательные ферментные комплексы (ингибиторы трипсина и уреаза) содержащиеся в бобовых.
Для обеспечения процесса экструдирования кормов необходимо соблюдение ряда технологических операции. Рассчитанные свойства экструдированного корма начинаются с точного отвешивания сырья, от зерна и шротов до отходов рыбной и мясной промышленности, зерноотходы, минерально-витаминные добавки, энергетические добавки. необходимо вывесить (используются спец весы) и смешать в смесителе. При этом добавляется часть воды для обеспечения работы экструдера, который забирает 13% влажности сырья (испаряется). Таким образом при исходной влажности сырья в 15% необходимо внести еще 8% воды. Из получившихся 23% влажности экструдер отсечёт 13 % и продукт получится с влажностью 10% (приложение 1)
Далее, после смешивания и увлажнения, продукт отправляется в выволаживатель, в котором происходит массобмен воды с сырьем. Процесс выволаживания происходит за 12 часов, при этом температура не должна быть ниже +15 градусов С). После чего сырьё дробится и складируется в бункере накопителе, объём которого равен бункеру выволаживателю. Из накопителя выволоженное и дробленое сырье экструдируется. Из экструдера горячий продукт выбрасывается на конвеер-охладитель, по которому подается в накопитель мешкозатарочной машины, либо в бункер загрузчик автотранспорта. Таким образом в линии экструдирования насчитывается 8 и более единиц технологического оборудования и несколько транспортных линий. Необходимость дробления сырья обуславливается тем, что не дроблёное сырье требует в три раза больше электроэнергии на этапе экструдирования.
Пресс-экструдер для приготовления комбикормов (RU 2319424):
Изобретение относится к области сельского хозяйства, для приготовления комбикормов на животноводческих фермах, комплексах и птицефабриках. Пресс-экструдер включает полый корпус с профилированной внутренней поверхностью и размещенный в корпусе с возможностью вращения шнек. Вал шнека выполнен конусообразным, и на нем закреплен четырехперьевой нож. Нож разделяет корпус на зону смешивания с предварительным уплотнением и зону барометрической обработки материала. Навивка шнека в зоне барометрической обработки имеет уменьшающийся шаг. На выгрузном конце шнека установлен формующий конус и измельчающий нож для измельчения конечного экструдата. Между полым корпусом и формующим конусом имеется регулируемый кольцевой зазор, предназначенный для выгрузки экструдата. Использование изобретения позволяет получат высококачественные комбикорма.
Известно устройство для обработки кормов, содержащее снабженный загрузочной горловиной корпус, в котором расположен шнек, имеющий ступенчатый вал и установленные на нем спиральные витки разного внутреннего диаметра, навитые вокруг соответствующей ступени вала, причем концы витков, обращенные к выгрузной горловине, закреплены на валу с возможностью возвратно-поступательного перемещения его в осевом направлении Недостатком существующего устройства является неоднородность частиц по вещественному составу получаемого комбикорма.
Также известен экструдер для приготовления комбикормов, включающий корпус с размещенным в нем шнеком и устройством для изменения давления внутри корпуса, выполненный в виде втулки, установленной в корпусе с возможностью левого перемещения, в виде водила, прикрепленного к выходному концу шнека, и роликов на концах водила, перекатывающихся по внешнему торцу втулки, а втулка со стороны внешнего конца поджата упругим элементом, причем отношение наружного диаметра втулки к диаметру шнека составляет 1,2-1,4
Наиболее близким по технической сущности (авторами принят за прототип) является пресс для отжима растительного масла, содержащий полый корпус с профилированной внутренней поверхностью, размещенный в нем с возможностью вращения шнек, а также закрепленные вдоль шнека многогранные насадки, каждые две сопряженные грани которых совместно с профилированной внутренней поверхностью образуют осевые каналы, одна из сопряженных граней выполнена выпуклой, а другая вогнутой.
Недостатком данного пресса является неоднородность частиц по вещественному составу комбикорма из смеси зерновых компонентов и нерастворимого соевого остатка (окары), что также снижает качество получаемого комбикорма и осложняет технологии приготовления, что не всегда возможно в условиях животноводческих ферм, комплексов и птицефабрик.
Технический результат, который может достигнут с помощью изобретения, сводится к получение высококачественного комбикорма из смеси зерновых компонентов с соевой окары.
Технический результат достигается тем, что в пресс-экструдере для приготовления комбикормов, включающий полый корпус с профилированной внутренней поверхностью и размещенный в корпусе с возможностью вращения шнек, при этом вал шнека выполнен конусообразным и на нем закреплен четырехперьевой нож, разделяющий корпус на зону смешивания с предварительным уплотнением и зону баротермическо обработки материала, причем навивка шнека в зоне баротермической обработки имеет уменьшающийся шаг, кроме того, на выгрузном конце вала установлен формующий конус и измельчающий нож для измельчения конечного экструдата, а между полым корпусом и формующим конусом имеется регулируемый кольцевой зазор, предназначенный для выгрузки экструдата.
Получение высококачественного комбикорма из смеси зерновых компонентов с окарой достигается тем, что при прохождении материала зоны смешивания с предварительным уплотнением происходит активное смешивание компонентов смеси и частичное уплотнение материала, вызывающее водообразование на профилированной внутренней поверхности корпуса из-за относительно высокой влажности. В результате взаимодействия обрабатываемого материала с перьями четырехперьевого ножа происходит разрушение свода материала, при этом материал приобретает сыпучесть, что способствует более интенсивному смешиванию. Кроме этого, при прохождении межосевого расстояния между перьями ножа происходит дополнительное уплотнение и повышается температура за счет сил трения.
Проходя зону баротермической обработки, обрабатываемый материал подвергается температурному воздействию, достаточному для инактивации ингибиторов и уреазы, находящейся в окаре за счет сил трения и возрастающего давления, так как навивка шнека в зоне баротермической обработки имеет уменьшающийся шаг.
На выгрузном конце шнека установлен формующий конус, дополнительно повышающий температурный режим, с возможностью возвратно-поступательного перемещения за счет уменьшения кольцевого зазора между формующим конусом и корпусом шнека, что увеличивает коэффициент трения.
Между корпусом и формующим конусом имеется кольцевой зазор, регулируемый регулировочной шайбой. Через зазор производится выгрузка экструдата с последующим измельчением ножом, установленным на выгрузном конце шнека. Загрузка смеси из зерновых компонентов и нерастворимого соевого остатка производится через приемный бункер пресс-экструдера. Применение четырехперьевого ножа, разделяющего камеру прессования на зону смешивания с предварительным уплотнением и зону баротермической обработки материала, причем вал шнека выполнен конусообразным, навивка шнека в зоне баротермической обработки имеет уменьшающийся шаг, позволяет получать высококачественные комбикорма из смеси зерновых компонентов и нерастворимого соевого остатка (окары).
Пресс-экструдер для приготовления комбикормов состоит из полого корпуса 1 с профилированной внутренней поверхностью 2, размещенного в полом корпусе 1 шнека 3, вал шнека 3 выполнен конусообразным, и на нем закреплен четырехперьевой нож 4, разделяющий корпус 1 на зону смешивания с предварительным уплотнением I и зону баротермической обработки материала II, причем навивка шнека 3 в зоне баротермической обработки II имеет уменьшающийся шаг, кроме того, на выгрузном конце вала установлен формующий конус 5 и измельчающий нож 8 для измельчения конечного экструдата, а между полым корпусом 1 и формующим конусом 5 имеется регулируемый кольцевой зазор 6, регулируемый регулировочными шайбами 7, предназначенный для выгрузки экструдата. Загрузка компонентов смеси производится через приемный бункер 9.
Пресс-экструдер работает следующим образом. После включения привода (не показан) смесь из зерновых компонентов и нерастворимого соевого остатка (окары) подается через приемный бункер 9 на шнек 3, который захватывает ее своими витками, перемещает материал в осевом направлении в зону смешивания с предварительным уплотнением, где происходит активное смешивание компонентов с предварительным уплотнением. При этом за счет сил трения о профилированную внутреннюю поверхность 2 материал истирается и за счет повышения температуры и влажности происходит сводообразование последнего.
При прохождении материала четырехперьевого ножа 4 под действием напорного усилия шнека 3 происходит разрушение свода материала и при этом материал приобретает сыпучесть, что способствует более интенсивному смешиванию.
После прохождения зоны смешивания материал подхватывается соотвествуюшими витками шнека 3, подвергается более интенсивному смешиванию витками шнека 3 баротермической обработки, что способствует инактивации антипитательных веществ.
При прохождение материала через кольцевой зазор 6 между полым корпусом 1 и формующим конусом 5 создается дополнительный температурный режим, что ведет также к сводообразованию материала. Для разрушения свода материала на выгрузном конце шнека 3 установлен измельчающий нож 8. Для регулировки кольцевого зазора 6 между полым корпусом 1 и формующим конусом 5 используются регулировочные шайбы 7, позволяющие возвратно-поступательно перемещать формующий конус 5.
Предлагаемая конструкция по сравнению с прототипом и другими известными техническими решениями имеет следующие преимущества:
- универсальность пресс-экструдера для приготовления комбикормов позволяет объединить в одном техническом средстве несколько технологических операций, таких как смешивание, измельчение, баротермическая обработка;
- снижение энергоемкости за счет интенсификации процесса приготовления комбикормов из зерновых компонентов и нерастворимого соевого остатка (окары);
- повышение качественных показателей за счет повышения однородности частиц комбикорма по вещественному составу.
3.2. Характеристики экструдированных кормов.
Экструзионная обработка повышает перевариваемость белков, делает более доступным аминокислоты вследствие разрушения в молекулах белка вторичных связей. Благодаря относительно низким температурам и кратковременности тепловой обработки сами аминокислоты при этом не разрушаются. В то же время экструдеры успешно нейтрализуют факторы, отрицательно влияющие на пищевую ценность сырья, такие как ингибитор трипсина, уреазу и прочие.
Технология экструзии особенно благотворно влияет на белковые добавки для жвачных животных, так как при этом увеличивается количество белка, не разрушающегося в рубце животного, кроме того, экструзия обеспечивает более полную усвояемость белка в тонком отделе кишечника. В итоге повышается продуктивность скота и снижаются затраты кормов.
В процессе экструзии крахмал желатинируется, что повышает его усвояемость. При выходе из экструдера температура и давление резко падают, что приводит к увеличению конечного продукта в объёме.
Происходит разрыв стенок жировых клеток, вследствие чего повышается энергетическая ценность продукта. Повышается стабильность жиров, благодаря тому, что такие ферменты, как липаза, вызывающие прогоркание масел, разрушаются в процессе экструзии, а лецитин и токоферолы, являющиеся природными стабилизаторами, сохраняют полную активность. Сырьё находится под воздействием максимальных температур всего 56 секунд, а для окисления требуется гораздо более высокая температура и более длительная тепловая обработка.
Клетчатка в процессе трения и дробления измельчается, что повышает её переваримость.
Практика показывает, что экструдирование значительно повышает вкусовые качества готового продукта. Этому есть несколько причин:
·крахмал расщепляется на более простые, сладкие компоненты;
·при выходе продукта из экструдера улетучивается неприятный запах, характерный для некоторого сырья (например соевых бобов);
·готовый продукт имеет однородную структуру.
Ячмень - имеет высокие вкусовые качества и повышенную до 12% перевариваемость питательных веществ в организме поросят. Уровень ввода до 50% в рецептурах стартерных комбикормов.
Пшеница - высокоценный энергетический компонент с низким (1,2%) содержанием клетчатки. По содержанию протеина и особенно лизина (почти в 2 раза) превосходит кукурузу. Рекомендуемый уровень ввода в зерносмеси до 45%. Хорошо сочетается с использованием ингредиентов с высоким уровнем клетчатки (отруби, шрот подсолнечника, сухой жом, сухая барда и т.д.).
Экструдированный горох- высоко протеиновый продукт с хорошим набором аминокислот и легкодоступных углеводов. Может использоваться как основной источник белка в комбикормах для поросят и на откорме. Обладает высокими вкусовыми качествами и ароматным запахом. Уровень ввода 1030%. Удешевляет рационы свиней (на 2030%) за счет экономии кормов животного происхождения.
Применение экструдированных кормов обеспечивает:
·снижение скорости расщепляемости белка в преджелудках;
·повышение синтеза микробиального белка в преджелудках на 30 %;
·повышение усвояемости крахмала за счет его расщепления в процессе экструзии на сахара и декстрины;
·снижение скорости ферментации крахмала в преджелудках;
·повышение энергетической питательности рациона 10 - 15 %.
Зерновые и другие углеводные корма.
Главным источником углеводов в кормовых рационах зверей является зерновые корма. Чаще всего используется зерно злаковых культур: ячменя, пшеницы, кукурузы, овса. Изредка и в небольших количествах скармливают зерно бобовых: горох, вику, чечевицу, кормовые бобы, сою
Большой процент кормового зерна, поступающего в хозяйства, имеет повышенную влажность. В таком зерне быстро возрастает количество плесневых грибов и аэробных бактерий, поэтому оно становится опасным для животных. В свежеубранном зерне даже при невысокой влажности содержится огромное количество микроорганизмов. Развитие содержащихся в зерне плесневых грибков и бактерий приводит к образованию токсинов либо при хранении корма, либо в организме животного. Наличие токсинов отмечается даже в подвергнутом сушке зерне влажностью 14%.
Большое практическое значение имеет метод обеззараживания и подготовки зерна к скармливанию путем его экструзии. В результате баротермического воздействия, возникающего в процессе экструдирования, происходит стерилизация зерна и инактивация находящихся в нем токсичных веществ.
Влаготепловая обработка зернового сырья методом экструзии эффективно повышает его питательную ценность и усвояемость для животных. Нагрев зерна до высоких температур вызывает декстринизацию крахмала, то есть образование легкорастворимых углеводов, а наличие влаги в сочетании с высокой температурой способствует его клейстеризации.
Абсолютно стерильный корм, что особенно важно для молодняка. Это-сухое кормление, вода отдельно. Реальный расход зерна с применением экструдера-250 кг. до убойного веса 115-120кг. у молочных коров на 3-4 день идет реальная прибавка надоев до 20%. у курей будет прибавка яйценоскости 15-18%. на сегодня применение в качестве корма дробленных зерен ячменя и пшеницы недопустим, ведь с навозом вы ежедневно выкидывать до 40% непереваренного корма. и ничего вы не измените. А экструдированные корма усваиваются животными 93-95%. в свинарнике почти отсутствует навоз - там сухо и чисто!!!молодняк не болеет, нет вздутий, нет поносов, нет глистов.
Преимущества кормового экструдера
В процессе производства кормов путем экструдирования можно контролировать плотность гранул, что позволяет получить плавающие, тонущие и медленно тонущие корма. Скорость погружения в воду на глубину 1 м тонущих продукционных экструдированных кормов составляет не менее 67 сек., гранулированные корма погружаются на ту же глубину в течение 4 сек.
Экструдированные корма имеют пористую внутреннюю текстуру, которая возникает вследствие резкого выброса пара из материала кормовой смеси (эффект микро-взрыва) в момент его выхода из экструдера. В результате воздействия давления и температуры в обрабатываемом материале происходит денатурация белка, декстринизация крахмала, а также полная стерилизация корма. Частицы экструдированных кормов являются более прочными, чем частицы гранулированных кормов, поэтому крошимость и отсев экструдированных ормов составляет менее 1%, а для гранулированных кормов от 5 до 8%. Крошимость гранулированных кормов, производимых российскими заводами составляет до 10% и более.
Таким образом, при использовании экструдированных кормов на 75% уменьшается количество пыли, попадающей в воду при кормлении рыбы, иснижается прямое загрязнение воды. Экструдированные корма являются более водостойкими и полностью сохраняют свою форму и структуру в течение 24 часов пребывания в воде. Водостойкость гранулированных кормов не превышает 4 часов.
Благодаря применению процесса экструдирования появилась возможность производить высокоэнергетические корма с высоким содержанием жира. В гранулированных кормах максимальное содержание жира составляло 22%. Компания "Аллер Аква" имеет возможность производить экструдированные продукционные корма для выращивания лосося в соленой воде с содержанием жира до 34%.
Экструдированные корма более эффективно усваиваются рыбой, при их использовании можно получить низкие кормовые коэффициенты и уменьшить загрязнение воды отходами рыб. Так, например, при выращивании радужной форели на экструдированных кормах можно получить кормовые коэффициенты в пределах 0,60,8, тогда как на гранулированных кормах нижний предел кормовых коэффициентов составляет 1,21,4. Экструдированные корма с высоким содержанием жира обладают большей переваримой энергией, их протеин в большей степени расходуется на рост тканей тела, при этом, соответственно, уменьшаются показатели загрязнения окружающей среды продуктами обмена рыб.
Недостатки
Сам процесс изготовление экструдированого корма это тепловая обработка (при высоких температурах от 100 градусов) сырья под высоким давлениям (от 20 атмосфер). В результате таких процессов меняются физические свойства исходных компонентов. Утомлять читателей всеми особенностями такой обработки не буду, в интернете полно информации такого рода, одно можно сказать оборудование позволяет иметь небольшое помещение и минимальные инфраструктурные элементы что делает возможным организацию мини-цеха. На выходе же получаем экструдированный корм и тут возникает масса вопросов, и так что плохого в таком корме:
- - первое и пожалуй самое печально, в ходе термической обработке с большим давлением теряется часть витаминов и минералов;
- - второе, условная эффективность от использования таких кормов по сравнению с традиционным комбикормом не доказана. Сами производители говорят о 95% усвояемости экструдированого корма, но использование таких кормов не дает более значительных результатов на откорме, вот это факт, но правда есть другие плюсы, но о них ниже.
- - третье, расходные материалы при работе экструдера достаточно дороги. К примеру, шнек для небольших экструдеров рассчитан на изготовление пары тонны готового продукта, что собственно и делает не выгодным использование «домашних» экструдеров. Рабочий ресурс промышленных экструдеров на несколько порядков выше. Плюс расходы электроэнергии при изготовлении такого корма достаточно значительны.
3.3 Экономическая эффективность
Стоимость оказания услуг по производству экструдированного комбикорма 1,2 руб/кг.
Стоимость приобретаемого зерна 3 руб/кг.
Цена реализации готового экструдированного комбикорма 5 руб/кг.
Стоимость пресс-экструдера ПЭ-КМЗ-2У 376 200 рублей.
Средняя производительность пресс-экструдера ПЭ-КМЗ-2У 650 кг/ч.
Средняя производительность пресс-экструдера ПЭ-КМЗ-2У за смену 5 200 кг.
Средняя производительность пресс-экструдера ПЭ-КМЗ-2У за месяц 109 200 кг.
Установленная электрическая мощность 55,8 кВт.
Стоимость электроэнергии 2,9 кВт*ч.
Заработная плата оператора 6000 руб/мес.
Экономическое обоснование:
|
Наименования показателя |
Вариант №1 |
Вариант №2 |
Вариант №3 |
|
Месячный Объем производства комбикорма, кг |
109 200 |
||
|
Затраты на производство 1кг комбикорма |
|||
|
электроэнергия, руб/кг |
0,25 |
||
|
заработная плата оператора, руб/кг |
0,05 |
||
|
запасные части, руб/кг |
0,15 |
||
|
стоимость сырья, руб/кг |
|
3 |
2,1 |
|
итого затраты на 1 кг комбикорма |
0,45 |
3,45 |
2,55 |
|
Ежемесячные затраты, руб |
49 565,76 |
377 165,76 |
278 885,76 |
|
Ежемесячная прибыль, руб |
81 474,24 |
168 834,24 |
267 114,24 |
|
Ежемесячная прибыль после уплаты НДС, руб |
69 045,97 |
143 079,86 |
226 368,00 |
|
Окупаемость пресс-экструдера ПЭ-КМЗ-2У, мес |
5,4 |
2,6 |
1,7 |
вариант №1 оказание услуг по переработке зернового сырья;
вариант №2 переработка покупного зерна и реализация готового продукта;
вариант №3 тоже, что и вариант №2 но с добавлением в состав исходного сырья 30% травяной сечки.
Вывод
1. Экструдирование весьма эффективная технология обработки кормов перед скармливанием, позволяющая глубоко изменить структуру и химический состав питательных веществ исходного зернового сырья.
2. В экструдированном зерне пшеницы и ячменя увеличилось по сравнению с зерном без обработки соответственно (в %):
- количество обменной энергии на 3,3 и 3,8;
- содержание сухого вещества на 4,2 и 4,5;
- сырого протеина на 3,3 и 3,6;
- переваримого протеина на 4,0 и 5,3;
- БЭВ на 1,0 и 1,2;
- сахара на 15,1 и 2,3 раза; и, наоборот, снизилось:
- сырого жира на 4,2 и 4,5;
- сырой клетчатки на 87,3 и 17,8;
- витамина Е на 1,7 и 2,2.
3. Включение в стандартный комбикорм - концентрат КК-60-1 для дойных коров экструдированного зерна пшеницы и ячменя как раздельно, так и комплексно по 15% массы каждого компонента позволило увеличить по сравнению с контрольным вариантом (в %):
- энергетическую питательность на 1,0-2,1;
- содержание переваримого протеина на 0,4 - 0,9;
- БЭВ на 0,2 - 0,4;
- сахара на 1,6 - 3,2; и, наоборот, снизить:
- количество сырой клетчатки на 1,5 - 3,1;
- витамина Е на 0,1 - 0,2.
4. Экономические расчеты показали, что наиболее выгодно использовать в кормлении дойных коров комбикорм - концентрат, в который экс-трудированное зерно пшеницы и ячменя вводится комплексно по 15% массы каждого компонента. Это позволяет увеличить количество прибыли на 10,0 - 22,5 и уровень рентабельности на 2,1 - 4,6% по сравнению с другими вариантами опыта.
5. Следует заметить, что известные способы обработки зерновых кормов перед скармливанием (измельчение, пропаривание, прожаривание, плющение, микронизация, обработка токами сверхвысокой частоты и другое) мало влияют или совсем не способствуют структурным изменениям питательных веществ на клеточном уровне. Только метод экструдирования и проращивание зерна в известной мере влияют на структуру клеток и преобразование питательных веществ, переход их в более доступную легкоусвояемую для животных форму. Однако в доступной нам литературе недостаточно источников по влиянию экструдирования зерна на изменения его химического состава и питательных свойств. Поэтому данный вопрос требует дальнейшего изучения.
6. Практически мы не нашли литературных источников по включению экструдированного зерна пшеницы и ячменя в состав стандартного комбикорма - концентрата КК - 60 - 1 для дойных коров. В связи с этим данный прием совершенствования указанного комбикорма считаем новым направлением, позволяющим эффективнее использовать дорогостоящие зерновые компоненты.
Совсем нет данных о влиянии комбикормов - концентратов с включением в них экструдированных зерновых компонентов на протекание рубцового пищеварения и этологические показатели дойных коров.
Поэтому учитывая отмеченное необходимо указать, что мы выбрали для исследований актуальное направление, которое имеет научную новизну и практическую значимость.
Список литература:
1. Нормы и рационы кормления сельскохозяйственных животных: справ. пособие под ред. А.П. Калашникова, В.И. Фисининой, В.В. Щегловой, Н.И. Клейменовой. - 3-е изд., перераб. и доп. М.: Наука, 2003. 456 с.
2. Овсянников, А.И. Основы опытного дела в животноводстве А.И. Овсянников. М.: Колос, 1976. 302 с.
3. Богданов Г. А. Кормление сельскохозяйственных животных / Г. А. Богданов. М.: Агропромиздат, 1990. - 624 с.
4. Бойко JI. Прогрессивные технологии для производства комбикормов / JI. Бойко, Н. Петров, JI. Трунова, Н. Фатьянова // Комбикорма.-2005.-№4.-С. 23-
5. Боярский Л. Повышение питательности кормов и использование кормового протеина / JI. Боярский, Н. Юмашев // Молочное и мясное скотоводство. 2005.-№ 1. - С. 4-7.
6. Бузоверов С.Ю. Влияние экструдирования и химического способа «защиты» протеина кормов на обмен веществ и продуктивность лакти-рующих коров: дис.канд. с.-х. наук: 06.02.02 / Бузоверов Сергей Юрьевич. Барнаул, 2007. - 199 с.
7. Гаганов А.П. Использование зерна кормовых бобов, рапса и ячменя в составе экструдированных смесей в рационах коров / А.П. Гаганов, Н.Г. Григорьев//Зоотехния.-2005. -№1.-С. 18-20.
8. Гайдай И.И.Конверсия протеина и энергии корма в мясную продукцию бычков при использовании экструдированной ржи / И.И. Гайдай // Зоотехния. 2007. - №2. - С. 11-12.
9. Глуховская М.Ю. Повышение ресурсосбережения и экологично-сти побочных продуктов и отходов просопереработки путем экструдирования: дис.канд.техн. наук / М.Ю. Глуховская Оренбург, 2000. - 137 с.
10. ГОСТ 13496.0-80. Комбикорма, сырье. Методы отбора проб -М.: Изд-во стандартов, 1991. - 7 с.
11. ГОСТ 29143 91. - Зерно и зернопродукты. Определение влажности (контрольный метод). - М.: Изд-во стандартов, 1991. 7 с.
12. ГОСТ 10846 91 Зерно и продукты его переработки. Метод определения 13. ГОСТ 10845 98 Зерно и продукты его переработки. Метод определения
14. ГОСТ 13496.2-91. Корма, комбикорма, комбикормовое сырье. Метод определения сырой клетчатки. М.: Изд-во стандартов, 1991. -11 с.
15. Даниленко И.А. Нормированное кормление коров / И.А. Даниленко, Г.И. Пасечник, В.И. Пасечник. Киев: Урожай, 1975. - 168 с.
16. Девяткин А.И. Рациональное использование кормовых ресурсов / А.И. Девяткин. М.: Росагропромиздат, 1990. - 256 с.
17. Калашников А. П. Совершенствование норм энергетического и протеинового питания животных / А. П. Калашников, В. В. Щеглов, Н. В. Груздев // Зоотехния. 2000. - №11. - С. 14-17.
18. Калашников А. П. Достижения науки о кормлении животных /А. П. Калашников // Зоотехния. 2003. - №11. - С. 14-17.
19. Каплун В. Экструдирование зернового сырья с сапонитом / В. Каплун, В. Павлов, Н. Мазур // Комбикорма. 2001. - №3. - С. 24.
20.Карабуля Б. В. Экструзионная технология перспективный способ создания новых пищевых продуктов / Б. В. Карабуля. - Кишинев: МолдНИИНТИ. - 1989. - 25 с.
21. Карташев JI. П. Об особенностях экструзионной обработки кормов / JL П. Карташев, В. Ю. Полищук, Г. М. Зубова и др. // Техника в сельском хозяйстве. 2001. - №4 - С. 21-22.
22. Кирилов М. П. Концентраты в кормлении молочного скота / М. П. Кирилов // Животноводство. 2004. - №5. - С. 10-11.
23. Кормление крупного рогатого скота: учебно-методическое справочное пособие / В. Я. Кавардаков, А. Ф. Кайдалов, А. И. Баранников и др. Ростов н/Д: Феникс, 2008. - 460 с.
24. Кошелев А. Н. Производство комбикормов и кормовых смесей / А. Н. Кошелев, Л. А. Глебов. М.:Агропромиздат, 1986. - 176 с.
25. Сысуев В. Опыт скармливания экструдированного зерна ржи молодняку крупного рогатого скота / В. Сысуев // Научные приоритеты развития АПК Северо-востока: мат. науч.-практ конф. Сыктывкар, 2002.-С. 7-9.
26. Шевцов А. Экструдирование кормов с вводом жиросодер-жащих компонентов / А. Шевцов, В. Василенко, О. Ожерельева // Комбикорма.-2006. -№2. С. 33.
27. Шундулаев Р. А. Кормление коров по сбалансированным рационам / Р. А. Шундулаев, Н. П. Буряков, Э. Э. Темирсултанов // Зоотехния. 2003. - №3. - С.10-13.
28. Эрнст JI. К. Скотоводство / JI. К. Эрнст, А. П. Бегучев, Д. JL Левантин М.: Колос, 1977. - 527 с.
29. Яковчик Н. С. Кормление и содержание высокопродуктивных коров / Н. С. Яковчик, А. М. Лапотко; Молодечно: Тип. «Победа», 2005.-287 с.
30. Яценко Л. И. Экструдированные корма и продуктивность животных / Л. И. Яценко // Рациональное производство и использование кормов в скотоводстве: мат. науч.-практ. конф. М.-Ульяновск, 1988.- С. 93-94.
в скотоводстве: мат. науч.-практ. конф. М.-Ульяновск, 1988.- С. 93-94.
31.http://xn--d1acnpjccdbkm9i.xn--p1ai/stati/dostoinstva-proizvodstva-ekstrudirovannykh-kormov-dlya-zhivotnykh
32.http://agropost.ru/skotovodstvo/kormlenie-krs/vliyanie-ekstrudirovannih-33.kormov-na-produktivnost-korov.html
34.http://pilotbiz.ru/proizv-ekstkormov/
35.http://www.vitaminmuka.ru/proizvodstvo-kormov/proizvodstvo-ekstrudirovannih-kormov
36. http://dic.academic.ru/dic.nsf/ruwiki/1347049
37. http://ptica-ru.ru/korm/2217-extruzija.html
38 http://agroproplus.ru/page15.html
Приложения:
Рисунок 1

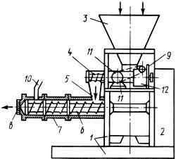
1 основание (рама); 2 основной привод; 3 бункер; 4 питающий шнек-дозатор; 5 приемная камера; 6 нагнетающий шнек; 7 сборный корпус; 8 матрица; 9 привод питающего шнека; 10 термометр; 11 электродвигатель постоянного тока; 12 редуктор.
Рисунок 2

|
Рисунок 3
|
Рисунок 4
|
|
Рисунок 5
|
Рисунок 6
|
|
Рисунок 7
|
Рисунок 8
|
|
Рисунок 9
|
Рисунок 10
|
PAGE \* MERGEFORMAT 36
Технология производства экструдированных кормов в ООО Пермский центр зерно - переработки







