РАЗРАБОТКА ТЕХНИКО-РАСПОРЯДИТЕЛЬНОГО АКТА СТАНЦИИ ГРАНИТ
МИНИСТЕРСТВО ОБРАЗОВАНИЯ И НАУКИ РЕСПУБЛИКИ КАЗАХСТАН
Костанайский социальнотехнический университет
имени академика Зулхарнай Алдамжар
Кафедра «Организация перевозок и транспорт»
ДИПЛОМНЫЙ ПРОЕКТ
РАЗРАБОТКА ТЕХНИКО-РАСПОРЯДИТЕЛЬНОГО АКТА СТАНЦИИ ГРАНИТ
Специальность 050901 «Организация перевозок движения и эксплуатация
транспорта»
Выполнил _______________ Шевцова Е.В.
(Подпись)
Научный руководитель ________________ Петько М.А.
(Подпись) преподаватель
Костанай 2009
МИНИСТЕРСТВО ОБРАЗОВАНИЯ И НАУКИ
РЕСПУБЛИКИ КАЗАХСТАН
Костанайский социально технический университет
имени академика Зулхарнай Алдамжар
Факультет Технический
Кафедра Организации перевозок и транспорт
Специальность 050901 «Организация перевозок движения и эксплуатация
транспорта»
«Утверждаю»
Зав. кафедрой _____________Р.И. Сагимбаев
«____»__________________200_
ЗАДАНИЕ
по дипломному проектированию студенту
Шевцовой Е.В.
1 Тема проекта: Разработка технико-распорядительного акта станции Гранит
Утверждена приказом по университету от «___»_______________200_ №___
2 Срок сдачи студентом законченного проекта __________________________
3 Исходные данные к проекту (спец. указания по проекту)
____________________________________________________________________________________________________________________________________________________________________________________________________________________________________________________________________________________________________________________________________________________________________________________________________________________
4 Содержание расчетно-пояснительной записки (перечень подлежащих разработке вопросов)
- Характеристика отделения
- Разработка технико-распорядительного акта
- Обоснование необходимости вытяжного пути
- Инструкция по охране труда
5 Перечень графического материала (с точным указанием обязательных чертежей)
1. Схема отделения
2. График движения поездов
3. Схема станции Гранит
4. Деталь проекта
5. Экономическая эффективность
6. Охрана труда
Дата выдачи задания «__»_________200 _г.
Руководитель проекта _____________ _____________
/подпись/ /Ф.И.О./
Задание принял к исполнению дипломник ______________ _____________
/подпись/ /Ф.И.О./
СОДЕРЖАНИЕ
Введение 5
1. Характеристика отделения 7
1.1. Разработка графика движения 9
2. Разработка технико-распорядительного акта 14
2.1. Техническая характеристика станции 14
2.2. Эксплуатационная характеристика работы станции 14
2.3. Прием и отправление поездов 22
2.4. Организация маневровой работы 31
2.5. Инструкционные карты работников 46
3. Обоснование необходимости вытяжного пути 66
3.1. Экономические расчеты 66
4. Инструкция по охране труда 68
Заключение 78
Список литературы 79
Приложение 1 81
Приложение 2 82
Приложение 3 83
Приложение 4 84
Приложение 5 85
Приложение 6 86
ВВЕДЕНИЕ
Железнодорожный транспорт РК является определяющим по своему значению в жизнеобеспечении экономики страны перевозкой грузов и пассажиров. Железнодорожным транспортом в общегосударственных перевозках выполняется более 80 % грузооборота и 40 % пассажирооборота.
От технического состояния железнодорожного пути, его сооружений и обустройств, подвижного состава, средств сигнализации и связи, практического выполнения требований к ним в процессе эксплуатации и технического обслуживания, реализации современных технологий ремонтов и содержания, использования средств диагностики, методов планирования и управления, организации движения поездов зависят безопасность и бесперебойность перевозочного процесса.
Все организационные и технические мероприятия на железнодорожном транспорте должны быть направлены на выполнение требований безопасности движения поездов.
Безопасность движения обеспечивается содержанием в постоянной исправности и работоспособном состоянии всех железнодорожных сооружений пути, подвижного состава, оборудования и механизмов, устройств сигнализации, централизации, блокировки и связи в процессе их технического обслуживания. Его обеспечение требует безусловного выполнения действующих на железнодорожном транспорте правил и инструкций. Основополагающими из них являются Правила технической эксплуатации железных дорог, Инструкция по сигнализации на железных дорогах и Инструкция по движению поездов и маневровой работе на железных дорогах.
Правила технической эксплуатации устанавливают основные положения и порядок работы железных дорог и работников железнодорожного транспорта; требования к сооружениям и устройствам путевого, локомотивного и вагонного хозяйств, энергоснабжения, сигнализации и связи, к организации движения поездов.
Инструкция по сигнализации определяет систему видимых и звуковых сигналов, относящихся к движению поездов и маневровым работам, а так же типы сигнальных приборов, которыми эти сигналы подаются.
Инструкция по движению поездов и маневровой работе регламентирует порядок движения поездов и маневровые работы на станциях, детально определяя действия работников, связанных с движением поездов.
Мощность элементов технической вооруженности железной дороги определяется объемами перевозок и качеством их использования. Так, численность парка грузовых вагонов зависит от их грузоподъемности, скорости движения поездов, быстроты обработки вагонов на станциях, а так же от количества перевозимых грузов и дальности их перевозок. Необходимая мощность верхнего строения пути и искусственных сооружений определяется скоростью движения нагрузкой на ось вагонов и локомотивов, а так же количеством перевозимых грузов. Пропускная способность железнодорожных линий зависит от числа главных путей, развития станций, мощности локомотивов, верхнего строения пути, устройств электроснабжения и CЦБ. От организации движения поездов.
На железной дороги действуют следующие важнейшие принципы организации движения:
работа станций (прием, отправление и пропуск поездов, формирование и расформирование составов, погрузка и выгрузка, посадка и высадка пассажиров) на основе научно обоснованных технологических нормативов, разрабатываемых для каждой станции на длительный период;
организация вагонопотоков в специализированные поезда план маршрутизации перевозок с мест погрузки и план формирования поездов на технических станциях, разрабатываемые ежегодно;
движение поездов по графику, который обеспечивает согласованность в работе территориальных подразделений и служб железнодорожного транспорта;
техническое нормирование работы дорог и отделений исходя из оперативных месячных заданий.
В соответствии с Правилами технической эксплуатации железных дорог для каждой станции, разъезда, обгонного пункта составляется технико- распорядительный акт (ТРА) в полном соответствии с требованиями ПТЭ, Инструкции по движению поездов и маневровой роботе на железных дорогах. Составляется ТРА начальником станции, согласовывается с руководителями локомотивных и вагонных депо, дистанции пути, сигнализации и связи, электроснабжения и проверяется ревизором движения. Для участковых, пассажирских и крупных грузовых станций ТРА утверждается начальником службы перевозок дороги. ТРА составляют по ДУ-41 в четырех экземплярах, которые хранятся у начальника станции, в отделе перевозок отделения, в службе перевозок дороги и в Главном управлении перевозок МПС.
Дипломный проект разработан на основе учебного комплекса тренажеров установленного в лаборатории подготовки ДСП и ДНЦ. Комплекс представляет собой программную и аппаратную реализацию математической модели поездной и маневровой работы участка железной дороги
Комплекса тренажеров ДНЦ, ДСП предназначен :
для обучения, периодической проверки знаний и практических навыков в работе дежурных по станции и поездных диспетчеров на реальных средствах управления устройствами электрической централизации (ЭЦ);
для моделирования поездной и маневровой работы железнодорожных станций и прилегающих перегонов при различном техническом состоянии постовых и напольных устройств ЭЦ и устройств интервального регулирования движения поездов на перегоне;
1. ХАРАКТЕРИСТИКА ОТДЕЛЕНИЯ
Отделение состоит из 8-ми станций: 5 станций расположены на двухпутной линии (Роса, Дорохово, Омь, Гранит, Кедр) и 3 оставшиеся расположены на однопутной линии (Малиновое озер, Пионер и Авангард).
Перегоны Роса-Дорохово, Дорохово-Омь, Гранит-Кедр оборудованы двухпутной автоблокировкой с постоянным вариантом движения по обоим направлениям. Перегон Омь-Гранит (I путь) оборудован однопутной автоблокировкой. Перегон Омь-Гранит (II путь) оборудован однопутной полуавтоблокировкой. Перегоны Авангард Пионер Малиновое Озеро Гранит оборудованы однопутной автоблокировкой.
Перегоны между станциями одинаковы по длине и равны значению 8,4 км.
Классификация станций с количеством путей:
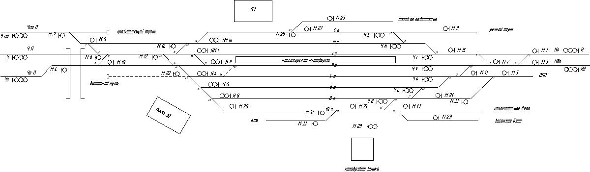
- Кедр промежуточная станция III класса. Прием и отправление осуществляется с 4 станционных приемоотправочных путей.
- Гранит участковая станция II класса. На станции имеется 8 станционных путей.
- Омь грузовая станция II класса. Для осуществления приема отправления поездов станция располагает 5 станционными приемоотправочными путями.
- Дорохово промежуточная станция III класса. Для работы как поездной, так и маневровой станция оборудована 6 станционными путями.
- Роса промежуточная станция III класса. Прием и отправление осуществляется с 4 станционных приемоотправочных путей.
- Малиновое Озеро станция 4 класса с 3 станционными путями.
- Пионер станция 4 класса с 3 станционными путями.
- Авангард станция 5 класса с 2 станционными путями.
Максимальные размеры перевозок, которые могут быть осуществлены на железнодорожной линии (перевозочная мощность), определяются ее пропускной и провозной способностью. Пропускная способность это наибольшее число поездов или пар поездов, которое может пропустить железнодорожная линия в единицу времени (обычно сутки) при имеющейся технической оснащенности и принятой организации движения поездов. Выражается пропускная способность в парах поездов для однопутных линий и числом поездов отдельно для каждого направления двух путных линий.
При расчете пропускной способности принимают во внимание: число главных путей на перегонах; мощность верхнего строения пути; систему средств сигнализации и связи, применяемых при движении поездов; тип тяги и серию локомотивов; число приемоотправочных путей, их длину; способ управления стрелками и сигналами на станциях; мощность устройств электроснабжения, число и мощность экипировочных и ремонтных деповских устройств; тип графика движения.
Пропускная способность железнодорожного участка и линии определяется пропускной способностью основных элементов: перегонов, станций, устройств электроснабжения, локомотивного хозяйства.
Пропускная способность бывает:
Наличная пропускная способность та, которая может быть реализована при существующей технической вооруженности линии.
Потребная пропускная способность та, которой должен удовлетворять участок для пропуска заданных грузового и пассажирского потоков. Размер резерва должен обеспечить запас перевозочной мощности линии для освоения возрастающего в ближайшей перспективе объема перевозок с учетом их колебания из-за неравномерности движения.
Результативная пропускная способность определяется элементом с наименьшей пропускной способностью. Железнодорожная линия сложный комплекс технических устройств, которые тесно связаны между собой и только во взаимодействии обеспечивают необходимую перевозочную мощность. Диспропорции пропускной способности различных элементов железнодорожного хозяйства допускать нельзя, так как развитие отдельного элемента сверх потребного приведет к его недоиспользованию.
Пропускную способность рассчитывают аналитически, а в сложных случаях проверяют графически построением максимальных графиков.
Наличная пропускная способность определяется по формуле [27]:
Nн = ((1440 tтн)н k )/ T, пар поездов (1.1)
где tтн продолжительность технологического «окна» (120 мин);
н коэффициент надёжности работы технических устройств (0,9);
k число поездов или пар поездов в периоде графика (1пара);
T период графика (8 мин).
Потребная пропускная способность определяется по формуле:
Nпт = Nгр + Nпспс + Nсбсб, пар поездов (1.2)
где Nгр, Nпс, Nсб соответственно, количество пар грузовых (43), пассажирских (2) и сборных поездов (1);
пс, сб коэффициенты съёма грузовых поездов пассажирскими (1,1) и сборными (1,3).
Nн = ((1440 120)901)/8 = 149 пар поездов
Nпт = 43 + 2 1,1 + 1 1,3 = 47 пар поездов
Схема отделения представлена в приложении 1.
Полученные результаты расчетов использованы для построения графика движения поездов.
1.1 Разработка графика движения
На железнодорожном транспорте движение поездов осуществляется по графику. График движения поездов является основой организации перевозок. Он объединяет деятельность всех подразделений и выражает план всей эксплуатационной работы железных дорог.
Движение поездов по графику обеспечивается правильной организацией и выполнением технологического процесса работы станций, депо, тяговых подстанций, пунктов технического обслуживания и других подразделений железных дорог, связанных с движением поездов.
В соответствии с ПТЭ график движения поездов должен обеспечивать:
- удовлетворение потребностей в перевозках пассажиров и грузов;
- безопасность движения поездов;
- наиболее эффективное использование пропускной и провозной способности участков и перерабатывающей способности станций;
- рациональное использование подвижного состава;
- соблюдение установленной продолжительности непрерывной работы локомотивных бригад;
- возможность производства работ по текущему содержанию и ремонту пути, сооружений, устройств СЦБ, связи и электроснабжения.
График движения поездов представляет собой графическое изображение следования поездов по участкам и направлениям, выполненное в координатных осях времени (горизонтальная ось) и расстояния (вертикальная ось). Он устанавливает время прибытия, отправления и проследования поездов по каждому раздельному пункту, время следования поездов по перегонам, продолжительность нахождения локомотивов и бригад на участках и конечных станциях.
Железнодорожная сеть нашей страны характеризуется различными условиями эксплуатации участков: размерами движения, числом главных путей, соотношением скоростей грузовых и пассажирских поездов, разностью размеров движения по направлениям и т.д. В связи с этим различны и сами графики движения, которые классифицируются по нескольким признакам.
1. По соотношению скоростей движения поездов графики подразделяются на параллельные и непараллельные. При параллельном графике на перегоне все поезда каждого направления имеют одинаковую скорость движения, по этому линии хода поездов расположены параллельно. Параллельный график позволяет наиболее полно использовать пропускную способность участков, служит основой для изучения свойств и закономерностей всех типов графиков.
2. По числу главных путей на участке графики подразделяются на однопутные, двухпутные и многопутные. На двухпутных линиях главные пути специализируются для движения поездов только в одном направлении (чётном или нечётном), скрещения поездов могут осуществляться не только на станциях и разъездах, но и перегонах. Графики движения на участках с однопутными и двухпутными перегонами называются однопутно-двухпутными.
На трёхпутных линиях обычно два пути специализируют по направлениям, а один используют для следования поездов обоих направлений. На четырёхпутных участках чаще всего два пути используют для грузового и два для пассажирского движения со специализацией каждой пары путей по направлениям.
3. По расположению поездов попутного следования. При следовании поездов с разграничением не менее чем одним раздельным пунктом с путевым развитием (станцией, разъездом, обгонным пунктом) график на однопутных линиях называется непакетным или пачечным, а на двухпутных - пачечным.
По перегонам, оборудованным автоматической блокировкой или имеющим блок-посты при полуавтоматической блокировке, поезда могут следовать в попутном направлении с разграничением их блок-участками или межпостовыми перегонами. Графики движения поездов с таким порядком следования называются пакетными или частично-пакетными. При таких графиках на перегоне может находиться не один, а два или несколько поездов, следующих в одном направлении.
На однопутных и двухпутных линиях в целях уменьшения влияния пассажирских поездов на движение грузовых пропускают группу пассажирских поездов пачкой.
4. По соотношению времени занятия перегонов одной парой поездов или поездом различают графики идентичные и неидентичные. Степень неидентичности графиков зависит от неидентичности перегонов, станционных интервалов ст и добавок на разгоны и замедления tрз.
5. По соотношению размеров движения в чётном и нечётном направлениях графики разделяют на парные с одинаковым числом поездов в обоих направлениях и непарные.
График движения является планом всей эксплуатационной работы железных дорог, основой организации движения поездов, грузовой и коммерческой работы станций, депо, подразделений вагонной службы, службы пути, сигнализации и связи, строительных организаций, т.е. всех подразделений железнодорожного транспорта. График движения основан на определении грузопотоков, тесном взаимодействии в работе железных дорог и всех других видов транспорта.
График движения разрабатывается на основании следующих элементов:
- размеров движения различных категорий поездов и их весовых норм и длины;
- серии грузовых и пассажирских локомотивов и их тяговых плеч;
- времени хода поездов по перегонам tх, tx” и добавок времени к ним на разгон tр и на замедление tз, которые определяются тяговыми расчётами;
- станционных интервалов Iст- промежутков времени, необходимых для выполнения операций при приемке, отправлении и пропуске поездов через раздельные пункты, обеспечивающих безопасность движения;
- интервалов между поездами в пакете I при автоблокировке или полу автоблокировке с блок - постами;
- норм стоянок поездов tст для выполнения операций на промежуточных станциях;
- норм нахождения локомотивов на станциях основного tосн и оборотного tоб депо;
- технологических норм времени на обработку поездов в парках (tпп , tпот) участковых, грузовых, пассажирских и сортировочных станций;
- продолжительности технологического «окна» tтн для выполнения работ по текущему содержанию и ремонту пути, контактной сети, устройств СЦБ и др.
Период графика ограничивающего перегона при заданном времени хода пары поездов и определенных станционных интервалах может принимать различные значения, в зависимости от порядка пропуска поездов через раздельные пункты ограничивающего перегона.
Скорости движения поездов определяю делением поездо-километров на соответствующие поездо-часы. При расчёте технической скорости учитываю поездо-часы без времени стоянок на промежуточных станциях, но с учётом потери времени на разгоны и замедления, а при расчёте участковой скорости общие поездо-часы в пути следования.
При непараллельном графике предусматривается обращение пассажирских и грузовых поездов с разными ходовыми скоростями движения, причём поезда могут быть одной или нескольких категорий (скорые, пассажирские, грузовые нормальной скорости, грузовые ускоренные и др.).
Виды станционных и межпоездных интервалов.
Различают и рассчитывают следующие основные виды станционных и межпоездных интервалов:
а) б)
Рисунок 1.1. Интервал неодновременного прибытия поездов.
|
Операция |
Время, мин. |
|||
|
1 2 3 4 |
||||
|
Получение согласия соседней станции на отправление поезда и приготовление маршрута приёма |
Заблаговременно |
|||
|
Приготовление маршрута отправления поезда |
После освобождения входных стрелок первым прибывающим поездом |
|||
|
Доклад старших стрелочников о прибытии первого поезда и готовности маршрута отправления второму прибывающему поезду |
||||
|
Открытие сигнала сквозного прохода или сигнала приёма при остановке поезда |
||||
|
Проследование прибывающим поездом расчётного расстояния |
||||
|
Выход ДСП для встречи и пропуска поездов при сквозном его проходе |
||||
|
Интервал н |
Одновременный приём запрещен |
|
Рисунок 1.2. График выполнения технологических операций при обеспечении интервала неодновременного прибытия поездов.
Показатели графика движения рассчитываются как по отдельным участкам, так и в целом по отделению.
Техническую скорость определяю по формуле:
Vтех=
, км/ч (1.3)
В данном случае техническая скорость задается и в данном дипломном проекте она равна 60 км/ч.
Участковая скорость:
Vуч =
,км/ч (1.4)
Vуч =,км/ч
График движения представлен в приложении 2.
2. РАЗРАБОТКА ТЕХНИКО РАСПОРЯДИТЕЛЬНОГО АКТА
2.1 Техническая характеристика станции
Станция Гранит участковая II класса, расположена на электрофицированном участке, оборудованном односторонней автоблокировкой.
На станции электрическая централизация стрелок и сигналов: в четной горловине 15 стрелок, в нечетной 18 стрелок, 46 сигналов включенных в централизацию. Маневровая работа производится в нечетной горловине по второму главному пути, с маневровой вышки.
Имеется 2 маневровых района, расположенных в четной и нечетной горловине станции, где производятся маневровые работы по сортировке вагонов, подача и уборка по грузовым фронтам, формирование и расформирование поездов прибывающих в разборку. Внутристанционная связь распорядительного пункта ДСП включает в себя: телефонную связь АТС и прямую связь с оператором маневровой вышки ДСПП, с оператором пульта управления, дежурным по депо, оператором технической конторы, диспетчером связи, ДС, со справочным бюро вокзала.
Имеется маневровая и поездная радиосвязь, а также парковая оповестительная связь общая по парку и по горловине. Станция оснащена АСОУП и включена к АРМ ТВК.
На станции имеется:
а) Вагонное депо, где производится деповской и капитальный ремонт вагонов, полная ревизия и ремонт КП вагонов.
Локомотивное депо;
б) Тяговая подстанция;
в) ПТО производит технический осмотр поездов и вагонов, текущий отцепочный и безотцепочный ремонт вагонов, подготовка вагонов под погрузку;
г) ОПП для отстоя пассажирских поездов;
Схема станции представлена в приложении 3.
2.2 Эксплуатационная характеристика работы станции
В соответствии с планом формирования, расписанием движения поездов станции Гранит выполняет следующие работы:
- с пассажирскими производит технический осмотр, заправку вагонов водой, смену локомотивных бригад, посадку и высадку пассажиров, погрузку и выгрузку багажа;
- с грузовыми поездами технический осмотр вагонов, безотцепочный ремонт и устранение технических неисправностей вагонов, смена локомотивных бригад, уменьшение веса четных поездов, отцепка вагонов на плановые виды ремонта, формирование и расформирование сборных поездов;
- подача и уборка местных вагонов на подъездные пути Вагонного и Локомотивного депо. Маневровую работу на станции Гранит выполняет составитель поездов и локомотивных бригад в одно лицо.
ДСП в процессе работы обеспечивает:
-составление совместно с поездным диспетчером, дежурным по депо, узловым диспетчером плана отправления поездов по 4-6 часовым периодам;
-выполнение сменного плана по приему-отправлению, пропуску поездов, обработке, расформированию информированию составов;
-скоростную обработку транзитных поездов;
-своевременную обработку грузовых пунктов по подаче, уборке местных вагонов, выполнение грузовых операций;
-применение передовых методов труда;
-эффективное использование технических средств станции, путевого развития, маневрового локомотива, средств СЦБ и связи;
-обработку пункта текущего отцепочного ремонта вагонов в соответствии с утверждением графиков.
Перечень подъездных путей и места их примыкания указаны в таблице 2.1
Таблица 2.1
Перечень подъездных путей и места их примыкания
|
№ п/п |
Наименование предприятия для обслуживания, которого предназначен подъездной путь |
Принадлежность |
Место примыкания и граница подъездного пути |
Наличие предохранительных средств для предупреждения выхода подвижного состава с подъездного пути |
|
1 |
2 |
3 |
4 |
5 |
|
1 |
Тяговая подстанция |
К 5 пути СП № 37 Граница изо стык сигнала М 25 |
||
|
2 |
Речной порт |
К 5 пути СП № 17 Граница изо стык сигнала М 9 |
||
|
3 |
ПТО |
К 10 пути СП № 35 Граница изо стык сигнала М 33 |
Продолжение таблицы 2.1
|
1 |
2 |
3 |
4 |
5 |
|
4 |
ОПП |
К 4 пути СП № 5 Граница изо стык сигнала М 5 |
||
|
5 |
Локомотивное депо |
К 10 пути СП № 31 Граница изо стык сигнала М 17 |
||
|
6 |
Вагонное депо |
К 10 пути СП № 33 Граница изо стык сигнала М 29 |
Ведомость парков и путей указаны в таблице 2.2.
Таблица 2.2
Ведомость парков и путей
|
№ пу-тей |
Назначение путей |
Стрелки ограничивающие путь |
Длина в метрах |
Вместимость в условных вагонах |
Наличие на путях |
|||
|
электро изоляция |
конт. сети |
устройств АЛС |
||||||
|
от |
до |
полезная |
||||||
|
1 |
2 |
3 |
4 |
5 |
6 |
7 |
8 |
9 |
|
1 |
Главный для приема - отправления четных и нечетных пассажирских и грузовых поездов |
30 |
13 |
1036 |
74/42 |
есть |
есть |
есть |
|
2 |
Главный для приема и отправления четных и нечетных пассажирских и грузовых поездов |
32 |
19 |
1120 |
80/46 |
есть |
есть |
есть |
|
3 |
Приемо-отправочный для четных и нечетных грузовых поездов |
20 |
15 |
840 |
60 |
есть |
есть |
есть |
|
4 |
Приемо-отправочный для нечетных и четных грузовых поездов. |
24 |
23 |
1050 |
75 |
есть |
есть |
нет |
Продолжение таблицы 2.2
|
1 |
2 |
3 |
4 |
5 |
6 |
7 |
8 |
9 |
|
5 |
Приемо-отправочный для нечетных и четных грузовых поездов |
37 |
17 |
700 |
50 |
есть |
есть |
Нет |
|
6 |
Приемо-отправочный для нечетных и четных грузовых поездов |
26 |
25 |
1008 |
72 |
есть |
есть |
нет |
|
8 |
Приемо-отправочный для нечетных и четных грузовых поездов |
28 |
29 |
798 |
57 |
есть |
есть |
нет |
|
10 |
Приемо-отправочный для нечетных и четных грузовых поездов |
28 |
35 |
798 |
57 |
есть |
есть |
нет |
Для расчета вместимости в условных вагонах использованы
следующие данные:
-серия поездного локомотива для грузового движения ВЛ80т,его длина
по осям автосцепок 33 м;
-серия поездного локомотива для пассажирского движения ВЛ60ПК,его
длина по осям автосцепок 21 м ;
-серия маневрового локомотива ЧЭМ 3, его длина по осям автосцепок
17 м ;
-условная длина одного грузового вагона 14 метров, а пассажирского
вагона 24,5 метра ;
-в графе 7 для 1,2 ПОП в числителе указана длина в условных грузовых
вагонах, а в знаменателе в пассажирских вагонах.
Пути (место), куда следует направлять вагоны с опасными грузами для выполнения мер указанных в аварийной карточке при возникновении утечки, разлива груза, возникновения пожара:
При возникновении аварийной ситуации в пределах станции дежурный по станции сообщает о случившемся поездному диспетчеру, немедленно вызывает начальника станции, после чего принимает в создавшейся обстановке меры, руководствуясь при этом указаниями, содержащимися в аварийной карточке на данный опасный груз.
Для выполнения мероприятий, указанных в аварийной карточке в случае утечки разлива продукта или возникновения пожара при перевозке опасных грузов аварийный вагон должен быть доставлен по направлению к 10 пути. На расстоянии 1340 метра от изо стыка стрелки № 35.
В случае невозможности производства маневров по перестановке аварийных вагонов дежурный по станции принимает меры по недопущению приема поездов всех категорий на станцию. Используя имеющиеся в его распоряжении средства связи принимает меры по выводу людей из опасной зоны и ограждения места аварии. При наличии на смежных путях поездов, в т.ч. пассажирских принимает меры по немедленному их отправлению со станции, прекращает все передвижения по станции не связанные с ликвидацией последствий аварийной ситуации.
К принятию не отложенных мер по указанию дежурного по станции могут быть привлечены работники всех других служб.
Действия работников железнодорожного транспорта и привлеченных формирований при возникновении аварийных ситуаций должны быть максимально оперативными, соответствовать характеру и масштабам аварийной ситуации и производится с учетом свойств груза (пожароопасность, токсичность).
Пути, предназначенные для приема, отправления и пропуска поездов с негабаритными грузами: 5,3. Пути для всех степеней.
При приеме поездов с негабаритными грузами степени нижней и боковой негабаритности на смежных путях не должно быть вагонов с негабаритными грузами, а при наличии на смежных путях габаритных вагонов последние должны быть отведены от предельного столбика на расстоянии не менее 10 метров.
4,6,8,10 - пути, выделенные для приема, отправления и пропуска поездов с вагонами, загруженными опасными грузами класса I (ВМ).
По прибытию поезда с ВМ в случае временного его оставления на станции без локомотива, состав закрепляется и ограждается переносными сигналами остановки с обоих сторон состава по указанию ДСП оператором МВ и составителем поездов.
Дежурный поста ЭЦ, после прибытия поезда с ВМ, по указанию ДСП переводит стрелки, ведущие на путь приема данного поезда в положение исключающее заезд на данный путь, на стрелочные рукоятки навешивает красные колпачки, в т.ч. переводит стрелки:
путь приема нечетная горловина четная горловина
4 21/19 22
6 23 24
8 25/27 26
10 31 28
Переносные сигналы остановки в количестве 2 штук хранятся на маневровой вышке
10 путь, предназначен для стоянки вне поездов вагонов с опасным грузами класса I (ВМ) и цистерн для перевозки сжиженных газов. Указывается, в каком положении устанавливаются стрелки, ведущие на пути стоянки таких вагонов, порядок запирания стрелок и место хранения ключей от них.
Составитель поездов переводит стрелку № 28 и № 31 в положение, исключающее заезд на 10 путь, запирает ее на закладку и навесной замок, ключи от запертой стрелки передает оператору по МВ. Вагоны с ВМ ограждаются переносными красными сигналами, устанавливаемые на оси пути не менее 50 м от вагонов.
Стрелочное хозяйство. Централизованные стрелки представлены в таблице 2.3.
Таблица 2.3
Централизованные стрелки
|
№ постов |
№ стрелок входящих в пост |
Кто переводит стрелки |
Порядок убеждения в свободности стрелки от подвижного состава |
|
|
при нормальном действии устройств |
при неисправности устройств |
|||
|
1 |
2 |
3 |
4 |
5 |
|
Пост ЭЦ |
1/3,5,7/9,13,15,17, 19/21,23,25,27, 29/31,33,35,37 |
Дежурный поста ЭЦ (ДСПЦ), ДСП |
По контрольным приборам |
Личным проходом оператора МЭЦ на стрелку и убеждения в свободности ее от подвижного состава с после- дующим докладом ДСП |
|
Пост ЭЦ |
4/6,8/10,12/14,16/18, 20,22,24,26,28,30/32 |
Дежурный поста ЭЦ (ДСПЦ), ДСП |
По контрольным приборам |
Личным проходом оператора МЭЦ на стрелку и убеждения в свободности ее от подвижного состава с последующим докладом ДСП |
Централизованные стрелки с подвижным (поворотным) сердечником крестовины не имеются.
Нецентрализованные стрелки: отсутствуют.
Нецентрализованные стрелки, не обслуживаемые дежурным стрелочного поста не имеются.
Районы работы и обязанности операторов постов централизации, сигналистов и дежурных стрелочных постов не имеются.
Сортировочные горки, вытяжные пути и их оборудование на станции отсутствуют.
На станционных путях отсутствуют башмаконакладыватели и башмакосбрасыватели.
На станционных путях специальных стационарных устройств для закрепления вагонов не имеется.
Централизованные стрелки, которые можно передавать на местное управление указаны в таблице 2.4.
Таблица 2.4
Централизованные стрелки, которые можно передавать на местное управление
|
№ постов |
№ стрелок входящих в пост |
Кто переводит стрелки |
Порядок убеждения в свободности стрелки от подвижного состава |
|
|
при нормальном действии устройств |
при неисправности устройств |
|||
|
1 |
2 |
3 |
4 |
5 |
|
Маневровая вышка |
1/3,5,7/9,13,15,17, 19/21,23,25,27, 29/31,33,35,37 4/6,8/10,12/14,16/18, 20,22,24,26,28,30/32 |
Оператор поста централизации |
По контрольным приборам |
Личным проходом оператора поста централизации на стрелку и убеждения в свободности ее от подвижного состава |
Места хранения инвентаря, применяемого при нарушении нормальной работы устройств СЦБ указаны в таблице 2.5.
Таблица 2.5
Места хранения инвентаря, применяемого при нарушении нормальной работы устройств СЦБ
|
Наименование инвентаря |
Место хранения |
Количество |
№ курбелей |
|
1 |
2 |
3 |
4 |
|
Курбель |
Пост ЭЦ МВ |
2 2 |
2,4 1,3 |
|
Навесные замки |
Пост ЭЦ МВ |
24 24 |
|
|
Информационные таблички: «Башмак» «Дрезина» «Закрыто» «Отключено» «Отключена энергия» |
Пост ЭЦ |
25 3 4 4 1 |
Освещение станционных путей.
На станции 298 точек освещения
Пути у пассажирских и грузовых устройств указаны в таблице 2.6.
Таблица 2.6
Пути у пассажирских и грузовых устройств
|
№ путей |
Наименование устройств. |
Длина (в метрах) |
|
1 |
2 |
3 |
|
I путь, II путь |
Низкая пассажирская платформа |
400 м |
Место нахождения восстановительных и пожарных поездов, летучек связи и контактной сети, медицинских и ветеринарных пунктов, милиции указано в таблице 2.7.
Таблица 2.7
Место нахождения восстановительных и пожарных поездов, летучек связи и контактной сети, медицинских и ветеринарных пунктов, милиции
|
Наименование |
Станция приписки или нахождения |
Порядок вызова |
|
1 |
2 |
3 |
|
Восстановительный поезд |
станция Гранит |
через ДНЦ |
|
Пожарный поезд |
станция Гранит |
телефон 11-10 |
|
Медпункт |
станция Гранит |
телефон 12-15 |
|
Милиция |
станция Гранит |
телефон 14-18 |
|
Летучка контактной сети |
станция Гранит |
телефон 12-19 |
|
Летучка вязи |
станция Гранит |
телефон 22-20 |
Наличие на станционных путях специальных устройств для экипировки поездных локомотивов, опробования автотормозов, водопоя и др. указаны в таблице 2.8.
Таблица 2.8
Наличие на станционных путях специальных устройств для экипировки поездных локомотивов, опробования автотормозов, водопоя и др.
|
Наименование устройств |
Место расположения |
Для поездов каких направлений |
|
1 |
2 |
3 |
|
Колонки для заправки пассажирских поездов водой |
междупутье 1-2 путей |
Для поездов направлении на станцию Омь, станцию Кедр и Малиновое озеро |
Связь распорядительных пунктов по приему и отправлению поездов и производству маневров указана в таблице 2.9.
Таблица 2.9
Связь распорядительных пунктов по приему и отправлению поездов и производству маневров
|
Перечень командных пунктов |
Виды связи и с кем устанавливается связь |
|||
|
телефонная |
радио |
парковая |
другие виды связи и средства доставки документов |
|
|
1 |
2 |
3 |
4 |
5 |
|
Дежурный по станции |
Поездная диспетчерская связь с ДНЦ;ЭЧЦ; межстанционная связь с ДСП Омь, Кедр, Малиновое озеро; прямая внутри станционная связь с оператором МЭЦ, ДСПП, дежурным по переезду, оператором ПТО, справочное бюро вокзала, ШНЦ, тех.конторой, ДС, ДСЗ |
Поездная с машинистами поездных локомотивов; маневровая с машинистами маневровых локомотивов, с составителем поездов; |
Двухсторонняя парковая связь |
АСОУП АТС № 22-03 |
|
ДСПП |
Прямая связь с ДСП, ДНЦ, ЭЧЦ |
Двухсторонняя парковая связь |
АСОУП АТС № 22-07 |
|
|
Оператор МЭЦ |
Прямая с ДСП |
Маневровая с составителем поездов и машинистами маневровых локомотивов |
Двухсторонняя парковая связь |
АТС № 24-34 |
2.3 Прием и отправление поездов
Разграничение районов управления и круг обязанностей каждого дежурного по станции, посту или парку:
На станции один ДСП
ДСП выполняет:
- ДСП при вступлении на дежурство знакомится с диспетчерскими приказами, с записями в журнале ДУ-46, положением станции и положением на рабочих местах;
- ДСП при вступлении на ночное дежурство проверяет в помещении ДСПП правильность составления своей подписью, контролирует выдачу предупреждений на все поезда;
- руководит приемом, отправлением поездов всех категорий по всем направлениям и маневровой работой станции. Производит устное предъявление вагонов к техническому осмотру;
- руководит работой оператора поста централизации, ДСПП и дежурного поста ЭЦ, составителя поездов;
- ведет переговоры по движению поездов с поездными диспетчерами участков;
- ведет график исполненного движения поездов;
- через оператора поста централизации, составителей поездов по их устным докладам контролирует закрепление подвижного состава и уборку тормозных башмаков, в том числе и при производстве маневровой работы в парках станции. Укладку и изъятие тормозных башмаков отмечает в журнале номерного учета тормозных башмаков;
- передает по радиосвязи устные указания и регистрируемые приказы на проследование запрещающих маневровых, входных, выходных сигналов;
- дает указания ДСПЦ, оператору поста централизации на проверку свободности путей, стрелочных изолированных участков на перевод стрелок курбелем (при неисправности устройств СЦБ);
- контролирует оформление записей в журнале ДУ-46 и на их основании дает разрешение на производство работ.
Дежурная поста ЭЦ (ДСПЦ):
- производит все операции по приготовлению маршрутов приема и отправления поездов всех направлений;
- готовит маршруты для маневровых передвижений по станции;
- ввод и прием информации по приему и отправлению грузовых, пассажирских и сборных поездов по АСОУО;
- ведет журнал движения поездов журнала формы ДУ-58, переговоры по движению с ДНЦ, ЭЧЦ с ДСП Омь, Кедр, Малиновое озеро;
- по указанию ДСП заполняет бланки размещений и вручает их машинистам поездов при переходе на телефонные средства связи, ведет журнал поездных телефонограмм;
- при необходимости по указанию ДСП производит проверку свободности путей, стрелочных изолированных участков, переводит стрелки курбелем;
- обо всех передвижениях по станции, а также на основании записей в ДУ-46 на производство работ оповещает по парковой связи о движении поездов и локомотивов.
Дежурный по парку (ДСПП):
- дежурный по парку производит регистрацию явки локомотивных бригад, отмечает маршруты машинистам, ведет контроль наличия отметки прохождения предрейсовых мед освидетельствования водителей дрезин и машинистов:
- ведет журнал предъявления вагонов и поездов к техническому осмотру формы ВУ 14;
- по АСОУП берет подход поездов, а так же справки 43 и 95, набирает бланки предупреждений;
- по приказу энергодиспетчера манипулирует пультом дистанционного управления разъединителей контактной сети;
- встречает и провожает пассажирские, людские поезда, производит закрепление вагонов и изъятие тормозных башмаков на I и II путях станции;
- при работе в дневную смену принимает заявки на выдачу предупреждений и регистрирует их в журнале формы ДУ-60, составляет контрольный бланк предупреждений. Осуществляет выдачу предупреждений на поезд;
- по указанию дежурного по станции, при необходимости, проверяет свободность путей, стрелочных изолированных участков, переводят стрелки курбелем, вручает письменные разрешения машинистам поездов.
Оператор поста централизации:
- по указанию дежурного по станции проверяет свободность путей, стрелочных изолированных участков, при необходимости переводят стрелки курбелем в обоих горловинах;
- по указанию ДСП вручает письменные разрешения машинистам поездов;
- управляет стрелками на местном управлении;
- по приборам связи сообщает ДСП о маневровых передвижениях и переводе стрелок, о приготовлении маршрутов.
Наличие переездов на станции и прилегающих перегонах, контролируемых дежурным по станции и порядок действий при неисправности переездной сигнализации представлены в таблице 2.11.
Таблица 2.11
Наличие переездов на станции и прилегающих перегонах, контролируемых дежурным по станции и порядок действий при неисправности переездной сигнализации
|
Наименование переездов |
Тип переездной сигнализации |
Порядок действий ДСП при неисправности переездной сигнализации |
|
1 |
2 |
3 |
|
в четной горловине, неохраняемый |
4 категории, автоматическая светофорная сигнализация с электрическими шлагбаумами |
ДСП делает запись в журнале формы ДУ 46, сообщает ШЧД, диспетчеру пути и установленным порядком согласно ИДП п.12.7 выдают предупреждение о неисправности переезда |
Примечание:
При неисправности переезда в четной горловине ДСП ставит в известность маневровую бригаду и обеспечивает выдачу предупреждения маневровым локомотивам.
Порядок прекращения маневров перед приемом или отправлением поезда:
Дежурный по станции при пересечении маршрута приема (отправления) поезда с продолжением маневрового маршрута дежурный за 10 минут до ожидаемого прибытия (отправления) поезда прекращает маневровую работу, извещает составителя поездов и машиниста маневрового локомотива по маневровой радиостанции о прекращении маневров, убеждается в правильности восприятия распоряжения путем ответного доклада составителя поездов и машиниста маневрового локомотива.
При неисправности парковой и маневровой радиосвязи передачу распоряжений дежурного по станции о прекращении маневров производит:
- в нечетной горловине оператор поста централизации на маневровой вышке лично предупреждает машиниста;
- в четной горловине дежурный поста ЭЦ (ДСПЦ) лично предупреждает машиниста.
Работники, лично предупреждающие машиниста о прекращении маневров, должны по докладу убедиться, что распоряжение воспринято правильно, и доложить об этом дежурному по станции.
Порядок проверки свободности путей при наличии и нормальном действии устройств электрической изоляции производится по контрольным приборам аппарата управления.
При отсутствии электрической изоляции путей или при нарушении нормального действия этих устройств проверка свободности путей с 1 по 10 производится по указанию дежурного по станции оператор поста централизации с нечетной стороны до оси станции, дежурный поста ЭЦ с четной стороны до оси станции путем прохода по междупутью навстречу друг другу. Одновременно проверяется наличие проходов по смежным путям.
О результатах проверки докладывают дежурному по станции по двухсторонней парковой связи, по телефонной связи или лично с заходом к дежурному по станции, на пост ЭЦ. Дежурный по станции ведет учет занятости приемоотправочных путей на графике исполненного движения. В исключительных случаях допускается проверка свободности пути пропуском маневрового локомотива, машинист которого должен сообщить о результате проверки дежурному по станции.
При нарушении нормального действия устройств СЦБ:
1.При невозможности перевода централизованных стрелок с пульта управления их перевод осуществляется курбелем. Если после перевода стрелки курбелем сохраняется контроль ее положения на пульте управления, то прием и отправление поездов, маневровые передвижения осуществляется по разрешающему показанию соответствующего светофора. При отсутствии контроля положения стрелки (после перевода курбелем) на пульте управления, дежурный по станции:
- лично готовит маршрут путем индивидуального перевода стрелок, убеждается в правильно приготовленном маршруте путем подсветки положения стрелок, имеющих контроль положения, устанавливает стрелочные рукоятки в положение, соответствующее маршруту, на стрелочные рукоятки навешивает красные колпачки;
- часть маршрута запирается открытием попутных или встречных маневровых сигналов;
- перевод стрелок курбелем, запирание их на закладку и запирание их на навесные замки, с последующим докладом дежурному по станции производят:
а) в нечетной горловине оператор поста централизации;
б) в четной горловине дежурный поста ЭЦ.
2. При ложной занятости путевых, без стрелочных и стрелочных изолированных участков, дежурный по станции обязан:
- убедится в их фактической свободности от подвижного состава через соответствующих работников (четная горловина ДСПЦ, нечетная горловина оператор поста централизации);
- прием и отправление производить по запрещающим показаниям соответствующих светофоров.
На изолированных участков, дежурному по станции разрешается:
- устанавливать маршруты для приема, отправления и маневровых передвижений только после того, как он убедится в свободности изолированного участка от подвижного состава через соответствующих работников (ДСПП, ДСПЦ, оператор поста централизации, составитель поездов);
- прием и отправление и маневровые передвижения осуществлять при запрещающих показаниях светофоров.
Проверку правильности приготовления маршрута производит ДС, ДСЗ с последующим докладом ДСП. Дежурный по станции докладывает поездному диспетчеру положение стрелок в маршруте, о фактической свободности стрелочных секций, изолированных участков, пути приема. Время доклада ДНЦ о приготовлении маршрута дежурный по станции отмечает в графике исполненного движения. Маршруты после приготовления замыкаются кнопкой «замыкание стрелок».
4. При отсутствии контроля положения централизованных стрелок прием и отправление поездов производится по запрещающим сигналам.
При этом правильность установки стрелки в маршруте должна быть проверена, в зависимости от поездной обстановки:
- оператором поста централизации в нечетной или четной горловине;
- дежурный поста ЭЦ четной горловине.
Стрелка должна быть заперта на навесной замок, а в электроприводе выключен блок-контакт, т.е. курбельная заслонка опущена вниз.
5. При неисправности входных, выходных светофоров - прием отправление поездов осуществляется при запрещающем показании этого сигнала. Маршруты приема и отправления готовятся маневровым порядком с открытием маневровых сигналов.
6. При выключении стрелок и изолированных участков без сохранения пользования сигналами - прием и отправление поездов производится при запрещающем показании сигналов. За проверку фактической свободности пути и изолированных участков, положения всех стрелок, входящих в маршрут, ответственность несет дежурный по станции. Проверку осуществляют по указанию ДСП оператор поста централизации или дежурный поста ЭЦ.
7. При приеме пассажирского поезда на станцию при запрещающем показании сигнала дежурный по станции должен получить регистрируемый приказ дежурного по отделению.
Для приготовления маршрута пассажирским и грузовым поездам запрещается пользоваться кнопкой вспомогательного перевода стрелок (ВК).
Разрешение на изъятие курбеля для перевода стрелок дает дежурный по станции дежурному поста ЭЦ или оператору поста централизации, с оформлением записи об этом в журнале формы ДУ 46, указывает фамилию, и должность кому выдан курбель.
Во всех случаях при нарушениях нормальной работы устройств СЦБ прием и отправление ДСП производит под контролем ДС или ДСЗ.
Время, необходимое для приготовления маршрута приема (отправления) поездов при нарушении нормального действия устройств СЦБ:
Время занятия пути прибывающим поездом в зависимости от способа связи по движению можно определить по формулам:
- при автоблокировке
; (2.1)
- при полуавтоматической блокировке
, (2.2)
где - время приготовления маршрута, мин (принимается 0,2 мин); - время на восприятие машинистом показания сигнала, мин - 0,1 мин; , - длины соответственно первого и второго блок участков, м (2800 м с Малинового Озера, 2600 м с Кедра); - длина входной горловины, м ; - длина тормозного пути, м (принимается 900 м); - полезная длина пути, 798 м; - скорость прохода поездом второго блок участка, км/час (принимается 60 км/час); - средняя скорость хода по первому блок участку, горловине и пути до остановки, км/час (принимается 60 км/час); 16,7 - коэффициент перевода скорости из км/час в м/мин.
С Оми
Lг=333+238+280=554 м
Lпол=798 м
tпр=0,2+0,1+(900+554+798 )/ (16,760)=2,5 мин
С Малинового Озера
Lг=333+280+126+518=1023 м
Lпол=798 м
tпр=0,2+(2800)/(16,760)+(2800+1023+798 )/ (16,760)=7,6 мин
С Кедра
Lг=333+252+280=603 м
Lпол=798 м
tпр=0,2+(2600)/(16,760)+(2600+631+798 )/ (16,760)=6,8 мин
Время занятия пути при отправлении поезда исчисляется с момента приготовления маршрута до момента освобождения поездом пути и разделки маршрута и определяется по формуле
(2.3)
где - время от момента приготовления маршрута до трогания поезда, мин (принимается 0,5 мин); - длина горловины отправления, м ; - скорость отправления поезда с учетом разгона, км/час (принимается 30 км/час).
На Омь
Lго=334+252=384 м
tот=0,2+0,5+(384+798)/(16,730)= 3 мин
На Малиновое Озеро
Lго=333+280+126+518=1023 м
tот=0,2+0,5+(1023+798)/(16,730)= 4,3 мин
На Кедр
Lго=333+252+252=603 м
tот=0,2+0,5+(603+798)/(16,730)= 3,5 мин
Для приема поездов:
со станции Омь на 1-10 путь 2,5 мин.
со станции Кедр на 1-10 путь 6,8 мин.
со станции Малиновое Озеро на 1-10 путь 7,6 мин.
Для отправления поездов:
на станцию Омь на 1-10 путь 3 мин.
на станцию Кедр на 1-10 путь 4,3 мин.
на станцию Малиновое озеро на 1-10 путь 3,5 мин.
Нецентрализованные стрелки, положение и исправность которых разрешается проверять не для каждого поезда не имеются.
Порядок пропуска поездов и маневровых составов по путям, расположенным между пассажирским зданием и стоящим на станции пассажирским поездом (если нет переходного моста или тоннеля):
1.Пропуск поездов, одиночных локомотивов, маневровых составов по пути расположенном между стоящим на станции пассажирским поездом и пассажирским зданием запрещен.
2.При одновременном подходе двух пассажирских поездов на первый путь принимается поезд отправляемый со станции согласно расписания раньше, на второй путь поезд отправляемый позже.
3.Перед прибытием поезда дежурный по посту ЭЦ дает указание в справочное бюро объявить о мерах предосторожности пассажиров.
4.При нахождении одновременно двух пассажирских поездов, сокращении стоянок опаздывающих пассажирских поездов и при этом возникновении необходимости отправлении первым поезда с первого пути ДСП принимает все меры по соблюдению безопасного отправления данного поезда. Дежурный по станции предупреждает машиниста отправляемого поезда о необходимости бдительного движения, дает команду на информирование по громкоговорящей связи о соблюдении ПТБ дежурному справочного бюро вокзала, оператору ПТО, ДСПП при подаче сигнала отправления обязана убедится в прекращении посадки и высадке пассажиров и готовности поезда к отправлению.
5.При нахождении грузопассажирского поезда на первом пути, пассажирский поезд принимается на второй путь, а уборку грузопассажирского поезда с первого пути производится после отправления пассажирского поезда со второго пути.
Прием поездов.
Порядок встречи прибывающих на станцию поездов.
Встреча прибывающих поездов дежурным по станции (постам, паркам):
Дежурный по парку встречает все пассажирские поезда, находясь на перроне напротив пассажирского здания.
Отправление поездов.
Кто и где провожает поезда.
а) поезда, провожаемые дежурными по станции (постам, паркам).
Маневровый диспетчер поезда не провожает.
Оператор поста ЭЦ провожает все поезда у помещения поста.
Порядок одновременного отправления и приёма поездов, следующих в том же направлении.
Одновременный приём и отправление поездов, следующих в том же направлении, разрешён по станции согласно путевого развития.
Дополнительные указания по приёму и отправлению поездов.
Отправление поездов с грузами ВВ производится согласно инструкции «О порядке работы с вагонами, гружёными разрядным грузом».
Выезд поездов и маневровых составов с путей парка производится только по разрешению маневрового диспетчера, переданного по радиосвязи. Движение производится по разрешающим показаниям маневровых светофоров.
При осмотре вагонов, пропуск поездов и маневровых составов по смежным путям производится с особой осторожностью, локомотивные бригады должны быть проинформированы по радиосвязи.
Выключение из ЭЦ изолированных участков производится только без сохранения пользования сигналами.
Порядок убеждения дежурным по станции в прибытии поезда в полном составе указан в таблице 2.12.
Таблица 2.12
Порядок убеждения дежурным по станции в прибытии поезда в полном составе
|
Парки (пути) прибытия поездов и направление их следования |
Как убеждается дежурный по станции в прибытии поезда в полном составе |
|
С 1 по 10 пути пассажирские и грузовые поезда трех направлений |
При исправной автоблокировке: - по показаниям приборов управления |
|
При неисправности автоблокировки и переходе на телефонные средства связи, а так же в случае сохранения индикации занятости перегона после прибытия поезда на станцию и отсутствии других попутных поездов на данном перегоне при закрытых выходных сигналах на соседней станции: - ДСП по докладу дежурного по парку, оператора поста централизации по наличию поездного сигнала на хвостовом вагоне. В случае отсутствия поездного сигнала на хвостовом вагоне прибытие поезда в полном составе устанавливается сличением номера хвостового вагона с натурным листом по радиосвязи с машинистом поезда. - Прибытие поезда в полном составе контролируется машинистом поездного локомотива по показаниям приборов, характеризующих целостность тормозной магистрали. - Если прибывающий с перегона поезд имел непредвиденную остановку из-за самоторможения и сбрасывания сигнализации разрыва тормозной магистрали машинист обязан сообщить об этом ДСП. |
2.4 Организация маневровой работы
Производство маневров
Перевод стрелок при маневрах может осуществляться:
а) поездным диспетчером с центрального пульта с передачей соответствующим работникам указаний о готовности маршрута для маневровых передвижений по радиосвязи или диспетчерской связи по телефонам, устанавливаемым в горловинах станций;
б) начальником станции или другим работником, на которого возложено выполнение операций по приему и отправлению поездов, при передаче станции на резервное управление;
в) составителем поездов или другим работником станции в соответствии с местной инструкцией по организации движения поездов и маневровой работе при диспетчерской централизации и, утвержденной начальником железной дороги, при передаче отдельных стрелок станции на местное управление.
При передвижениях по станционным путям одиночных локомотивов и дрезин перевод стрелок, переданных на местное управление, может производиться одним из работников локомотивной бригады (водителем дрезины).
Работник, переводящий стрелки, после каждого перевода должен убеждаться в правильности положения остряков по контрольным приборам на пульте местного управления или по положению остряков.
Запрещается переводить стрелку с пульта местного управления или ключом местного управления до освобождения стрелочного изолированного участка, а там, где не включена в зависимость изоляция стрелки, - до освобождения стрелки от подвижного состава.
По окончании маневров стрелочные и маневровые рукоятки, а также ключ местного управления устанавливаются в нормальное положение, руководитель маневров докладывает об окончании работы поездному диспетчеру, а последний устанавливает в нормальное положение соответствующие кнопки.
Пульты местного управления должны быть постоянно заперты. Перечень работников, которым разрешается доступ к пультам местного управления для пользования или осмотра, а также порядок выдачи и хранения ключей от пультов устанавливаются начальником отделения дороги, а при отсутствии в составе железной дороги отделений железной дороги - начальником железной дороги
Маневры на станционных путях должны производиться по указанию только одного работника дежурного по станции, маневрового диспетчера, а на участках, оборудованных диспетчерской централизацией, - поездного диспетчера. Распределение обязанностей по распоряжению маневрами указывается в техническо-распорядительном акте станции.
Основным средством передачи указаний при маневровой работе должна быть радиосвязь, в необходимых случаях - устройства двусторонней парковой связи.
Подача сигналов при маневровой работе разрешается ручными сигнальными приборами.
Запрещается машинисту локомотива, специального самоходного подвижного состава, производящему маневры, приводить в движение локомотив или специальный самоходный подвижной состав без получения указания руководителя маневров лично, по радиосвязи, устройствам двусторонней парковой связи или сигнала, подаваемого ручными сигнальными приборами. Кроме указания или сигнала руководителя маневров, перед выездом на стрелки централизованных маневровых маршрутов машинист должен убедиться в наличии разрешающего показания маневрового светофора, а на нецентрализованные стрелки - получить от дежурного стрелочного поста сигнал или сообщение (лично, по радиосвязи, устройствам двусторонней парковой связи) о готовности стрелок для маневровых передвижений. При отсутствии маневровых светофоров перед выездом на централизованные стрелки машинистом должно быть получено сообщение о готовности стрелок для маневровых передвижений от дежурного по станции (лично, по радиосвязи, устройствам двусторонней парковой связи или переданное через руководителя маневров).
На станциях с электрической централизацией стрелок и сигналов в случаях передачи стрелок с центрального на местное управление выезд на стрелки разрешается по указанию или сигналу работника, на которого возложен перевод этих стрелок.
Основные положения по использованию устройств радиосвязи и двусторонней парковой связи при маневровой работе предусматриваются Инструкцией по движению поездов и маневровой работе [6].
Маневры производятся со скоростью не более:
|
60 км/ч при следовании по свободным путям одиночных локомотивов и локомотивов с вагонами, прицепленными сзади с включенными и опробованными автотормозами; 40 км/ч при движении локомотива с вагонами, прицепленными сзади, а также при следовании одиночного специального самоходного подвижного состава по свободным путям; |
25 км/ч при движении вагонами вперед по свободным путям, а также восстановительных и пожарных поездов; 15 км/ч при движении с вагонами, занятыми людьми6 а также с негабаритными грузами боковой и нижней негабаритности 4-й, 5-й и 6-й степеней; 5 км/ч при маневрах толчками, при подходе отцепа вагонов к другому отцепу в подгорочном парке; 3 км/ч при подходе локомотива ( с вагонами или без них) к вагонам. |
|
Район заезда |
Порядок согласования заезда маневрового локомотива в район |
Порядок возвращения маневрового локомотива из района |
Дополнительные указания |
|
1 |
2 |
3 |
4 |
Продолжение таблицы 2.1
|
1 |
2 |
3 |
4 |
|
Локомотивное депо |
ДСП по телефону, с диспетчером локомотивного депо |
Составитель по радиосвязи с ДСП, по разрешающему показанию М 27 |
С включенными автотормозами, без выдачи справки ВУ - 45 |
|
Вагонное депо |
ДСП по телефону, с диспетчером вагонного депо |
Составитель по радиосвязи с ДСП, по разрешающему показанию М 29 |
С включенными автотормозами, без выдачи справки ВУ - 45 |
|
ПТО |
ДСП по телефону, с бригадиром ПТОР |
Составитель по радиосвязи с ДСП, по разрешающему показанию М 33 |
С включенными автотормозами, без выдачи справки ВУ - 45 |
|
ОПП |
ДСП по телефону, с работниками ОПП |
Составитель по радиосвязи с ДСП, по разрешающему показанию М 5 |
С включенными автотормозами, без выдачи справки ВУ - 45 |
|
Речной порт |
ДСП по телефону, с работниками речного порта |
Составитель по радиосвязи с ДСП, по разрешающему показанию М 9 |
С включенными автотормозами, без выдачи справки ВУ - 45 |
|
Тяговая подстанция |
ДСП по телефону, с работниками тяговой подстанции |
Составитель по радиосвязи с ДСП, по разрешающему показанию М 25 |
С включенными автотормозами, без выдачи справки ВУ - 45 |
Порядок закрепления составов, располагающихся в пределах полезной длины путей указан в таблице 2.14.
Таблица 2.14
Порядок закрепления составов, располагающихся в пределах полезной длины путей
|
Парки и № путей |
Среднее значение профиля в тысячных |
С какой стороны производится закрепление |
Нормы закрепления |
Кто и когда производит закрепление кому докладывает |
Кто и когда снимает закрепление кому докладывает |
|||
|
Кол-во тормозных башмаков |
Кол-во стационарных устройств |
Кол-во осей |
||||||
|
однородный состав нагрузка не менее 15 т/ось |
нагрузка менее 15 т/ось или неизвестно |
|||||||
|
1 |
2 |
3 |
4 |
5 |
6 |
7 |
8 |
9 |
|
I,II пути |
до 0,5%о |
четной |
по 1 |
нет |
Независимо от количества осей и нагрузки на ось |
По указанию ДСП дежурная по парку, докладывает ДСП |
||
|
до отцепки локомотива |
после отцепки локомотива |
Продолжение таблицы 2.14
|
I,II пути |
до 0,8%о |
нечетной |
по 1 по 2 по 3 по 4 по 5 по 6 по 7 |
нет |
до 88 90-176 178-264 266-288 |
до 44 46-92 94-142 144- 186 188-230 286-330 |
По указанию ДСП дежурная по парку, докладывает ДСП |
|
|
До отцепки локомотива |
После отцепки локомотива |
|||||||
|
III путь |
до 0,8%о |
нечетной |
по 1 по 2 по 3 по 4 по 5 |
нет |
до 88 90-176 178-264 266-288 290-340 |
до 44 46-92 94-142 144-186 188-236 238-284 |
По указанию ДСП составы организованных поездов оператор МЭЦ, при маневрах составитель поездов, докладывают ДСП |
|
|
до отцепки локомотива |
после отцепки локомотива |
|||||||
|
III путь |
до 1%о |
четной |
по 1 по 2 по 3 по 4 по 5 по 6 |
нет |
Независимо от количества осей и нагрузки на ось |
По указанию ДСП составитель поездов, докладывает ДСП |
||
|
4,5 пути |
до 2,1 %о |
четной |
по 1 по 2 по 3 по 4 по 5 по 6 по 7 |
нет |
до 48 50-96 98-144 146-192 194-240 242-288 290-308 |
до 20 22-42 44-62 64-84 86-106 108-126 130-148 150-170 |
По указанию ДСП составитель поездов, докладывает ДСП |
|
|
до отцепки локомотива |
после отцепки локомотива |
|||||||
|
4,5 пути |
до 1,4 %о |
нечетной |
по 1 по 2 по 3 по 4 по 5 по 6 по 7 по 8 по 9 по 10 по 11 |
нет |
Независимо от количества осей и нагрузки на ось |
По указанию ДСП составы организованных поездов оператор МЭЦ, при маневрах составитель поездов, докладывают ДСП |
||
|
до отцепки локомотива |
после отцепки локомотива |
|||||||
|
6 путь |
до 1,1 %о |
четной |
по 1 по 2 по 3 по 4 |
нет |
до 74 76-148 150-224 226-298 |
до 36 38-72 74-108 110-146 |
По указанию ДСП составитель поездов, докладывает ДСП |
Продолжение таблицы 2.14
|
1 |
2 |
3 |
4 |
5 |
6 |
7 |
8 |
9 |
|
до отцепки локомотива |
после отцепки локомотива |
|||||||
|
6 путь |
до 1,1 %о |
нечетной |
по 1 по 2 по 3 по 4 по 5 |
нет |
Независимо от количества осей и нагрузки на ось |
По указанию ДСП составы организованных поездов оператор МЭЦ, при маневрах составитель поездов, докладывают ДСП |
||
|
до отцепки локомотива |
после отцепки локомотива |
|||||||
|
8 путь |
до 0,9 %о |
с обоих сторон |
по 1 по 2 по 3 по 4 |
нет |
Независимо от количества осей и нагрузки на ось |
По указанию ДСП составы организованных поездов оператор МЭЦ, при маневрах составитель поездов, докладывают ДСП |
||
|
до отцепки локомотива |
после отцепки локомотива |
|||||||
|
10 путь |
до 0,5 %о |
четной |
по 1 |
нет |
Независимо от количества осей и нагрузки на ось |
По указанию ДСП составитель поездов, докладывает ДСП |
||
|
до отцепки локомотива |
после отцепки локомотива |
|||||||
|
10 путь |
до 0,9 %о |
нечетной |
по 1 по 2 по 3 по 4 |
нет |
до 84 86-170 172-258 260-308 |
до 42 44-86 88-130 132-172 174-214 216-258 260-300 |
По указанию ДСП составы организованных поездов оператор МЭЦ, при маневрах составитель поездов, докладывают ДСП |
|
|
до отцепки локомотива |
после отцепки локомотива |
Примечание:
Тормозные башмаки укладываются на рельсовую нитку, ближнюю к пассажирскому зданию, начиная с крайних вагонов с накатом.
Группы вагонов пассажирского парка закрепляются согласно графы 6.
При усилении ветра более 15 км/сек норма закрепления увеличивается Укладкой 1 тормозного башмака на каждые 66 осей с обоих сторон:
- до 66 осей - на 1 башмак;
- 68 132 осей - на 2 башмака;
- 134 200 осей - на 3 башмака;
- 202 266 осей - на 4 башмака;
- 268 330 осей - на 5 башмаков;
При получении приказа дежурного по отделению о штормовом предупреждении дежурный по станции дает указание на дополнительную укладку по 1 тормозному башмаку на каждые 28 осей со стороны возможного ухода вагонов. Вызывает начальника станции или его заместителя для контроля правильности закрепления. О принятых мерах докладывает поездному диспетчеру, о чем последний делает запись в графике исполненного движения.
Примечание:
При закреплении смешанных (разнородных по весу) составов или групп, состоящих из груженных или порожних вагонов или груженных вагонов различного веса тормозные башмаки укладываются под вагоны с нагрузкой на ось 15 т (брутто), а при отсутствии таких вагонов - под вагоны с меньшей нагрузкой на ось, но максимальной для закрепляемой группы, а так же под крайний вагон дополнительно укладывается еще один тормозной башмак.
Кто осуществляет контроль за закреплением вагонов и составов, а так же уборкой тормозных башмаков на станционных путях:
Контроль за закреплением вагонов и составов и уборкой тормозных башмаков осуществляет дежурный по станции по докладам дежурного по парку, составителя поездов, оператора МЭЦ. После закрепления вагонов тормозными башмаками на станционных путях исполнитель докладывает ДСП с указанием количества и номеров, уложенных тормозных башмаков. ДСП в журнале номерного учета записывает количество, номера, время укладки или уборки тормозных башмаков. По указанию ДСП дежурный поста ЭЦ навешивает на табло информационные таблички «башмак», с указанием количества уложенных башмаков со стороны фактического закрепления.
Как осуществляется проверка закрепления вагонов тормозными башмаками перед вступлением на дежурство и сдачей дежурства:
Перед вступлением на дежурство дежурный по парку, составитель поездов, операторы МЭЦ сдающей и принимающей смен надежность закрепления и количество тормозных башмаков на станционных путях под составами и в местах хранения осуществляют совместным проходом к месту закрепления и хранения тормозных башмаков с последующим докладом ДСП.
Дежурный по станции сдающей и принимающей смен полученные данные сверяет с данными журнала номерного учета с последующей росписью в нем ДСП сдающей и принимающей.
Места хранения тормозных башмаков указаны в таблице 2.15.
Таблица 2.15
Места хранения тормозных башмаков
|
Места хранения |
Количество и номера тормозных башмаков |
Работник, отвечающий за наличие и сохранность тормозных башмаков |
|
1 |
2 |
3 |
|
Помещение ДСПП |
5 штук № 5 |
Дежурный по парку |
|
Маневровый локомотив |
15 штук С № 6 по № 20 |
Составитель поездов |
|
Маневровая вышка |
70 штук С № 21 по № 95 |
Оператор МЭЦ |
Регламент и последовательность выполнения операций по закреплению вагонов и составов на станционных путях указаны в таблице 2.16.
Таблица 2.16
Регламент и последовательность выполнения операций по закреплению вагонов и составов на станционных путях
|
№№ п/п |
Виды операций |
Лица, участвующие в переговорах |
||
|
ДСП или ДСПЦ при ДСП |
Машинист |
Составитель поездов, ДСПП, оператор МЭЦ |
||
|
1 |
2 |
3 |
4 |
5 |
|
Виды сообщений |
||||
|
1. |
При прибытии поезда на станцию |
«На _путь прибыл поезд №_, ДСП, оператор МЭЦ, составитель поездов закрепить состав (количество)_ тормозными башмаками». |
«Понятно. Закрепить состав на _ пути тормозными башмаками». |
|
|
«Верно! Выполняйте!». |
«Дежурный по станции! Состав на _ пути закреплен (количество)_ тормозными башмаками №№ __». |
|||
|
«Понятно! На _ пути состав закреплен (количество)_тормозными башмаками № __» |
||||
|
«Машинист поезда № _ на __ пути» «Состав закреплен, отцепляйтесь!». «Верно, выполняйте!». |
«Вас понял. Состав на __ пути закреплен. Отцепляюсь» |
Продолжение таблицы 2.16
|
1 |
2 |
3 |
4 |
5 |
|
2. |
При отправлении поезда со станции |
«На _ пути готов к отправлению поезд № __ ДСП, оператор МЭЦ, составитель поездов убрать из-под состава (количество) _ тормозных башмаков». |
«Понятно. На _ пути готов к отправлению поезд №__.У брать из-под состава (количество) _ тормозных башмаков». |
|
|
«Верно! Выполняйте!». |
«Дежурный по станции! С_ пути из-под поезда № _ убраны (количество)_ тормозных башмаков №№__». |
|||
|
«Понятно! На __пути убраны (количество) __ тормозных башмаков №№__». |
||||
|
Если тормозные башмаки зажаты колесами вагона, то докладывает: «Дежурный по станции! На __ пути (количество) __ тормозные башмаки зажаты». |
||||
|
«Понятно! На __ пути (количество) __ тормозные башмаки зажаты». |
||||
|
«Будьте осторожны! На __ пути протягивают состав (осаживают) для уборки тормозных башмаков». |
«Понятно! На __ пути протягивают состав (осаживают) для уборки тормозных башмаков». |
Продолжение таблицы 2.16
|
1 |
2 |
3 |
4 |
5 |
|
«Машинист поезда № __ (фамилия). На __ пути протяните состав (осадите) для уборки тормозных башмаков». |
«Понятно! На __ пути протянуть состав (осадить) для уборки тормозных башмаков». |
|||
|
«Верно! Выполняйте!» |
«Дежурный по станции! На __ пути убраны (количество) __ тормозных башмаков №№__». |
|||
|
«Машинист поезда № __ (фамилия). На __ пути убраны тормозные башмаки». |
«Вас понял! Тормозные башмаки на __ пути убраны». |
|||
|
«Верно». |
||||
|
3. |
Отцепка вагонов и закрепление состава |
«На __ пути от стоящего состава, закрепленного __ тормозными башмаками отцепить (количество) __ вагонов и закрепить этот состав (количество) __ тормозными башмаками». |
«Понятно! На __ пути от стоящего состава, закрепленного __ тормозными башмаками отцепить (количество) __ вагонов и закрепить этот состав (количество) __ тормозными башмаками». |
|
|
«Верно! Выполняйте!» |
||||
|
«Понятно! На __ пути от состава отцеплено __ вагонов, убрано __ тормозных башмаков и оставшиеся вагоны закреплены (количество) __ тормозными башмаками № № __». |
«Дежурный по станции! На __ пути убраны (количество) __ тормозных башмаков №№__». |
Продолжение таблицы 2.16
|
1 |
2 |
3 |
4 |
5 |
|
4. |
Отцепка вагонов от состава и перестановка их на другой путь |
«На __ пути от стоящего состава закрепленного тормозными башмаками будет отцеплено (количество) __ вагонов и переставлено __ вагонов на путь __ и оставшиеся вагоны закрепить __ тормозными башмаками , а переставленные вагоны на __ пути закрепить (количество) тормозными башмаками». |
«Понятно! Оставшиеся вагоны закрепить __ тормозными башмаками, а переставленные вагоны на __ пути закрепить (количество) тормозными башмаками». |
|
|
«Верно! Выполняйте!» |
«Дежурный по станции! На __ пути оставшиеся (количество) __ вагонов закреплены (количество) __ тормозными башмаками №№__». |
|||
|
«Понятно! На __ пути оставшиеся (количество) __ вагонов закреплены (количество) __ тормозными башмаками №№ __». |
«Дежурный по станции! Переставленные вагоны на __ пути закреплены (количество) __ тормозными башмаками №№ __». |
|||
|
«Понятно! Переставленные на __ путь (количество) __ вагонов закреплены (количество) __ тормозными башмаками №№ __». |
Продолжение таблицы 2.16
|
1 |
2 |
3 |
4 |
5 |
|
5. |
Отцепка вагонов от поезда |
«На __ пути от поезда № __ отцепить (количество) __ вагонов и закрепить их (количество) __ тормозными башмаками №№ __». |
«Понятно! На __ пути от поезда № __ отцепить (количество) __ вагонов и закрепить их (количество) __ тормозными башмаками №№ __». |
|
|
«Верно! Выполняйте!» |
«Дежурный по станции! На __ пути от поезда № __ отцеплено (количество) __ вагонов и закреплены (количество) __ тормозными башмаками №№ __». |
|||
|
«Понятно! На __ пути от поезда № __ отцеплено (количество) __ вагонов и закреплены (количество) __ тормозными башмаками №№ __». |
Примечание:
1.Перед вступлением на дежурство ДСПП, оператор поста централизации
(МЭЦ), составитель поездов обязаны в пределах своего района проверить
надежность закрепления стоящих вагонов и доложить об этом вступающему на дежурство по станции;
2.При приеме и сдаче дежурств ДСП обязаны передавать друг другу
сведения о наличии и количестве тормозных башмаков на путях станции, сведения о закреплении вагонов на подъездных путях.
3.Закрепление состава производится с накатом на тормозной башмак
согласно «Местной инструкции о порядке закрепления вагонов на станции Гранит»;
4.Передавая распоряжение, а затем получив доклад о его выполнении
дежурный по станции должен убедиться в том, что его слушает или докладывает то лицо, которое имеет на это право;
5.В процессе ДСП обязан контролировать количество вагонов на станционных путях и достаточность средств их закрепления;
6.Запрещается машинисту локомотива приводить состав в движение, не
получив уведомление о закреплении вагонов ( уборке тормозных башмаков) согласно данному регламенту;
7.Все переговоры дежурного по станции, ДСПЦ с ДСПП, оператором МЭЦ, составителем по закреплению вагонов согласно данному регламенту осуществляется через поездную радиосвязь;
8.Подвижной состав на станционных путях должен устанавливаться в
границах, обозначенных светофорами, а на путях не имеющих светофоров, предельными столбиками. Стоящие на путях станции без локомотивов составы поездов, вагоны и специальный подвижной состав, закрепляются так, чтобы носок полоза башмака касался обода колеса (с накатом) и исключалась возможность легкого доступа к нему посторонних лиц. Дежурный по парку, оператор МЭЦ, составитель поездов обязаны в течение смены постоянно проверять правильность закрепления подвижного состава. Во всех случаях тормозные башмаки укладываются при закреплении вагонов на рельсовую нить со стороны здания вокзала. Под крайнюю колесную пару хвостового вагона.
9.На подъездных путях, путях ведомственных организаций подаваемые
маневровым локомотивом станции под грузовые операции вагоны должны
быть закреплены составителем поездов тормозными башмаками с накатом с обоих сторон.
2.5 Инструкционные карты работников
Товарный кассир.
Товарный кассир является ответственным коммерческим работником станции. От качества работы товарного кассира зависит обеспечение своевременного и четкого выполнения целого ряда грузовых и коммерческих операций на станции и в пути следования, а также безопасность движения поездов (БДП).
Должностная инструкционная карта товарного кассира на станции Гранит.
Квалификация:
Общее среднее образование, специальная подготовка по установленной программе.
Требование к исполнителю:
На должность товарного кассира назначается лица не моложе 18 лет, годные к этой работе по состоянию здоровья. Обязан проходить медицинское освидетельствование для определения годности к выполнению служебных обязанностей.
Круг обязанностей:
- ознакомление с телеграммами и приказами по кругу своих обязанностей, положением на обслуживаемом участке и их обработка;
- проверка правильности заполнения комплектов перевозных документов и наличия приложенных к ним документов;
- таксировка документов, взыскание сборов и тарифов;
- при централизованных расчетах за перевозку осуществление контроля за наличием денежных средств на счету технической обработки перевозочных документов (Тех. ПД), составление учетных карточек;
- сдача взысканных средств инкассаторам;
- хранение бланков документов строгой отчетности и ведение отчетности по ним;
- составление отчета формы ФО-7;
- внесение и контроль за изменениями в Тарифных руководствах и справочном материале;
- ведение операционных книг, коммерческой документации и отчетности по перевозкам, доходным поступлениям, по погрузке, выгрузке грузов, оформление перевозочных документов;
- ввод в АРМ ТВК сообщения 410 по отправлению грузов, 402, 253 по прибытию грузов.
Должен знать в установленном объеме:
ВУЖДРК, Закон РК «О железнодорожном транспорте», Правила перевозок грузов, СИ, СМГС, Временные прейскуранты, Правила перевозок опасных грузов, Тарифные руководства, технологический процесс, технико-распорядительный акт (ТРА) станции, приказы и указания.
Организация рабочего места:
Рабочее место товарного кассира находится в здании начальника станции.
Оборудование и оргоснастика:
- типовой стол, стул;
- сейф, шкаф для документации;
- техническая документация;
- телефон АТС;
- часы;
- компьютер.
Режим труда и отдыха:
- сменный режим работы с регламентированным перерывом на обед и отдых;
- освещение в дневное время естественное, в темное время суток искусственное.
Права:
- имеет право пользоваться служебной связью в пределах Костанайского отделения перевозок;
- бесплатного проезда 1 раз в год по разовым билетам.
Ответственность:
- отвечает за своевременное и качественное выполнение обязанностей по инструкционно технологической карте;
- соблюдает правила внутреннего распорядка и действующих положений, работающих на железнодорожном транспорте.
Порядок назначения:
Назначается директором отделения перевозок.
Порядок замещения:
На период отпуска, командировок, болезни замещается товарным кассиром.
Подчиненность:
Подчиняется начальнику станции.
Ознакомление с документацией.
Организация работы товарной конторы.
Назначение и оснащение товарной конторы являются:
- учет выполнения плана погрузки грузов в целом по станции и по каждому участку;
- оформление перевозочных документов;
- определение причитающихся платежей и расчеты грузополучателями и грузоотправителями (гражданами и другими разовыми плательщиками), не включенными в систему централизованных расчетов;
- информация грузополучателей о прибытии грузов;
- учет и отчетность.
Оснащение товарной конторы.
Для выполнения перечисленных задач в товарной конторе имеется:
- АРМ товарного кассира, оборудование ПЭВМ;
- АТС;
- печатающие машинки для заполнения бланков грузовых документов;
- календарные и специальные штемпели;
- железные и деревянные шкафы для хранения документов и бланков;
- схема железных дорог государств-участников СНГ;
- помещение для клиентуры.
Порядок оформления перевозных документов при отправлении груза.
Заполненную установленным порядком накладную (комплект перевозных документов) грузоотправитель предъявляет в товарную кассу для визирования (проставление № плана, даты, наличие прилагаемых документов, наличие заявки). Товарный кассир проверяет: наличие плана (разрешения), уточняет отсутствие конвенционных запрещений по адресам (разрешения), уточняет отсутствие конвенционных запрещений по адресам, наличие подтверждающей телеграммы со станции назначения о готовности принятия груза, наличие денежных средств, наличие удостоверения на право производства погрузки согласно ТУ, наличие справки кодов предприятий и ОКПО грузоотправителя и грузополучателя, за исключением физических лиц, наличие доверенности на оформление документов по станции Гранит.
При наличии вышеуказанных документов груза и приема вагона к перевозке, приемосдатчик передает накладную с заполненным вагонным листом и ведомость подачи-уборки вагонов в товарную кассу для производства расчета и оформления перевозочных документов.
Товарный кассир перед оформлением перевозочных документов должен проверить коды, записанные отправителем и по необходимости внести уточнения. После этого товарный кассир кодирует следующие реквизиты: номер сообщения, наименование пункта передачи информации, дату передачи сообщения, порядковый номер сообщения, вид, дату, вид расчета. Затем кодируется каждый документ, в котором проставляются следующие коды: вид погрузки, признак перевозки, признак смешанного сообщения, номер документа, номер вагона, код вагона, грузоподъемность вагона, признак зачета вагона в погрузку, вид отправки, страну назначения, признак замены вагона, признак погрузки комплекта контейнеров, номер контейнера, признак суммы платежа, сумму платежей по данному признаку, степень негабаритности, расстояние перевозки (для грузобагажа, молока и молочных продуктов, негабаритных грузов и грузов, следующих с пассажирскими перевозками), тарифные отметки. После этого по данным накладной товарный кассир вводит погрузку в АРМ ТВК и оформляет электронную накладную Ф27-ЕВЦ, номер отправки которой заносит в комплект перевозочных документов.
Оформленные документы товарный кассир заносит в книгу сдачи документов формы ГУ-48 и под роспись передает в техническую контору, а квитанция о приеме груза к перевозке вручается грузоотправителю под расписку в корешке дорожной ведомости.
По принятым к отправителю грузам товарный кассир составляет ведомость номерного учета погрузочных вагонов формы ГУ-2 о грузах, принятых к отправителю и погруженных в вагоны, а по грузам, принятым к перевозке мелкими отправками и в контейнерах, сопроводительную ведомость форсы ГУ-4, которые пересылаются в Тех. ПД.
По дополнительным сборам составляются накопительные карточки дополнительных сборов, которые через день по нечетным числам высылаются в Тех. ПД для производства расчетов.
Порядок оформления перевозочных документов при прибытии груза.
Перевозные документы по прибытии грузов на станцию поступают в техническую контору, где оператор проставляет на каждом документе календарный штемпель о времени прибытия, после чего накладные и дорожные ведомости передает в товарную контору под роспись в книге сдачи документов, а вагонные листы приемосдатчику груза.
В товарной конторе регистрируют документы в Книге прибытия грузов формы ГУ-42.
Товарная контора уведомляет получателя о прибытии груза и оформляет выдачу груза.
Грузополучатель для раскредитования документов предъявляет удостоверение личности (при постоянной доверенности), а при отсутствии постоянной доверенности предъявляет разовую доверенность. На растаможиваемый груз (при прибытии его из-за рубежа) товарный кассир регистрирует документы в книге растаможивания, представляет документы под роспись клиенту до разрешения ввода груза. После получения разрешения на ввод груза грузополучатель возвращает документы в товарную кассу для дальнейшего раскредитования. Товарный кассир после проверки внесенных данных в дорожную ведомость и наличия штампа таможни выдает грузополучателю накладные для получения груза. На грузы, выданные грузополучателям, не пользующимся правом централизованных расчетов, товарный кассир производит окончательный расчет с получателем груза и взыскивает с него сумму доплат по квитанции разного сбору (форма ГУ-57). Копию квитанции разных сборов на выданные отправки товарный кассир записывает в сопроводительные ведомости дорожных ведомостей (форма ФДУ-91), заносит в сопроводительную опись (форма ФДУ-93) и пересылает в Тех. ПД.
Зачет в погрузку производится только при условии загрузки сборного вагона мелкими отправками и контейнер на 50% и более грузами собственного приема: мелких отправок по массе груза, контейнеров по числу груженных контейнеров в учетных единицах. Собственная масса контейнеров включается в массу отправок. Копии вагонных листов составляются также на вагоны.
На лицевой стороне в верхней части вагонного листа и его копии, составленных на сборный вагон с отправками и контейнерами на разные станции назначения, приемосдатчик указывает наименование первой станции сортировки вагонов. О времени подачи вагонов и окончания погрузки делает отметки в вагонных листах и их копиях, памятках приемосдатчика, натурный лист (форма ДУ-1а) и ведомостях подачи и уборки вагонов.
В товарной конторе вагонные листы поступают коммерческому агенту, который соединяет их с накладными и дорожными ведомостями, проставляя в последних сведения о погруженных вагонах.
Провозная плата отправляется на ЭВМ вычислительного центра по двум вариантам:
- по первому варианту провозная плата отправляется на ЭВМ 2 раза: по заявкам на предварительную таксировку и по документам за конкретную перевозку. При оформлении перевозочных документов сумма провозной платы переносится в них из протаксированных на ЭВМ заявок на предварительную таксировку. После оформления перевозочных документов квитанция о приеме выдается отправителю с указанием суммы провозной платы: дорожная ведомость, накладная и вагонный лист передается в товарную контору для следования с грузом. Повторная таксировка на дороге выдачи груза не выполняется.
- по второму варианту сумму провозной платы в перевозочные документы не вносят. Во всех бланках комплекта документов проставляется номер отправки и красочный штемпель. Расчет плат через вычислительный центр, после чего квитанция в приеме груза вручается отправителю.
Дорожная ведомость на перевозку грузов грузовой скоростью.
Дорожная ведомость формы ГУ-29 оформляется при перевозке грузов, принадлежащих гражданам, предприятиям, не предъявившим справок учреждений Госбанка на право централизованных расчетов.
В этих случаях станцией производится таксировка причитающихся железной дороге платежей и начисление дополнительных сборов и штрафов.
Грузоотправителю товарной конторы выдается квитанция в приеме груза к перевозке. Квитанция разных сборов прикрепляется к лицевой стороне корешка дорожной ведомости. Станция назначения, производящая окончательный расчет за перевозку, обязана проверить правильность таксировки, выполненной станцией отправления и исправить те данные, которые окажутся ошибочными.
Общая сумма, взысканная при отправлении, в дорожной ведомости и накладной не исправляется. Если при проверке таксировки будет обнаружен недобор платежей, допущенный на станции отправления, то груз получателю не выдается до внесения им суммы недобора.
Форма ГУ-29 состоит:
- дорожная ведомость;
- квитанция в приеме груза;
- корешок дорожной ведомости.
Комплект перевозочных документов.
Заполняется комплект грузоотправителем и является основным документом для приема груза к перевозке, расчета проводных платежей и выдачи груза получателю.
Грузовым отправкам, оформленным на бланках формы ГУ-29-0, товарный кассир станции отправления присваивает восьмизначные номера. Для этого товарный кассир ведет книгу нумерации грузовых отправок формы ГУ-35, она имеет заранее внесенные восьмизначные номера грузовых отправок.
При порче бланков комплекта перевозочных документов после нанесения на них номера отправки все бланки перечеркиваются с проставлением подписи «Испорчен» и соответствующей отметкой в графе 4 «Примечания».
Форма ГУ-29-0 состоит:
- накладная;
- дорожная ведомость;
- корешок дорожной ведомости;
- квитанция в приеме груза.
Дорожная ведомость на маршрут или группу вагонов.
Оформляется перевозка грузов отправительскими маршрутами без уменьшения массы или длины маршрута в пути следования при следующих условиях:
а) погрузка и выгрузка грузов производится на местах не общего пользования;
б) группы принимаются к перевозке от одного грузоотправителя с одной станции отправления;
в) грузы адресуются на одну станцию назначения в адрес одного грузополучателя.
Оформляются ядро маршрута, следующие на одну станцию выгрузки, а также группы вагонов в местном сообщении в порядке, устанавливаемом начальником дороги.
Форма ГУ-29-б состоит:
- дорожная ведомость;
- корешок дорожной ведомости.
Дорожная ведомость на перевозку груза в вагонах нерабочего парка.
Этими ведомостями оформляются:
а) перевозки грузов в вагонах, принадлежащих предприятиям и организациям;
б) перевозки грузов в вагонах нерабочего парка, предоставленных по норме предприятиям железной дороги;
в) перевозки грузов для хозяйственных нужд железных дорог (шпалы, рельса и др.) в адрес дистанции пути, сигнализации и связи в вагонах нерабочего и рабочего парков.
Вагоны рабочего парка, занятые хозяйственными перевозками, числятся в числе порожних. Дорожные ведомости формы ГУ-64 на перевозку грузов в вагонах нерабочего парка составляется в соответствии с общими указаниями по заполнению дорожных ведомостей.
Форма ГУ-64 состоит:
- дорожная ведомость;
- корешок дорожной ведомости.
Ведомость по СНГ состоит:
- оригинал накладной;
- дорожная ведомость;
- дубликат накладной;
- дорожная ведомость;
- лист выдачи груза;
- лист уведомления о прибытии груза.
Товарная контора выполняет операции, связанные с документальным оформлением перевозок отправляемых и прибывающих грузов, определяет размеры причитающихся платежей и производит расчеты по платежам с отправителями и получателями грузов, контролирует выполнение плана перевозок, составляет станционную отчетность по установленным формам.
Дежурный по парку.
Должностные обязанности:
- производит регистрации явки локомотивных бригад на соответствующие поезда;
- производит выдачу предупреждений;
- ведет журнал ВУ-14;
- по приказу энергодиспетчера манипулирует пультом дистанционного управления разъединителей контактной сети;
- встречает и провожает пассажирские и людские поезда на I-II путях;
- закрепляет вагоны по указанию дежурного по станции на I и II пути;
- принимает заявки на предупреждения, их регистрирует в журнале ДУ-60, составляет:
- контрольные бланки действующих предупреждений формы ДУ-61;
- ведет журнал ВУ-14 (предъявление вагонов для технического осмотра) для служебного пользования, регистрирует вагоны с опасными грузами;
- берет сообщения по АСУ;
- заполняет маршруты локомотивных бригад.
Должность:
- ПТЭ в полном объеме, ИСИ, ИДП;
- технологический процесс работы;
- принципы работы устройств централизации и правил эксплуатации этих устройств;
- правила техники безопасности и производственной санитарии;
- другие документы ОАО «НК «КТЖ» и ДН-2 по кругу своих обязанностей;
- ТРА станции;
- устав о дисциплине работников ж.д. транспорта;
- должностную инструкцию;
- знание государственного языка;
Ответственность:
- несет материальную ответственность за сохранность инвентаря строгого учета и другие технические средства, находящиеся в эксплуатации;
- своевременную правильную выдачу предупреждений на поезда;
- правильное заполнение поездных маршрутов;
- ведение журнала предъявления вагонов к техническому осмотру;
- безопасность движения поездов и безопасные условия труда работников.
Подчиненность:
- начальник станции, инженеру станции, заместителю начальника станции;
- дежурному по станции.
Вводный инструктаж.
Вводный инструктаж проводят со всеми лицами, принимаемыми на работу вновь и переводимыми с одного предприятия на другое в журнале вводного инструктажа (Согласно приложению 4 ГОСТа 12.0.004-90). Вводный инструктаж проводят до начала работ при оформлении приказа формы Т-1. О проведении вводного инструктажа делают запись в журнале регистрации вводного инструктажа с обязательной подписью инструктируемого и инструктирующего, а также в документе о приеме на работу (приказ формы Т-7) Вводный инструктаж проводится инженером по охране труда или лицом, на которое возложены эти обязанности.
Цели инструктажа: ознакомление с условиями труда, правилами внутреннего трудового распорядка и общими положениями по охране труда.
Первичный инструктаж.
На рабочем месте до начала производственной деятельности проводят со всеми вновь принятыми или переведенными с других предприятий рабочими. Инструктаж проводит начальник станции, цеха по инструкции, предназначенной для работников различных профессий. Лица, которые не связаны с обслуживанием, испытанием, наладкой и ремонтом оборудования, использованием инструмента, хранением и применением сырья и материалов, первичный инструктаж на рабочем месте не проходят.
Производственное обучение не должно превышать 3 месяцев. В приказе формы Т-1 указывается, что работник принят с испытательным сроком не более 3 месяцев. Прохождение первичного инструктажа на рабочем месте отмечается в приказе формы Т-1 о приеме на работу или приказе формы Т-5 о переводе на другую работу.
Повторный инструктаж.
Проводится со всеми работниками независимо от их квалификации, образования и стажа работы, с целью повышения уровня знаний по охране труда и их закрепления. Повторный инструктаж не проводится со служащими и специалистами, работа которых не связана с повышенной опасностью. Период проведения повторного инструктажа 1 раз в 3 месяца, по программе первичного инструктажа на рабочем месте для конкретной специальности или профессии. С первозимниками (работниками со стажем работы на данной должности до 1 года) периодичность проведения повторного инструктажа не реже 2 раз в 3 месяца, т.е. в 2 раза чаще, чем с остальными работниками. Повторный инструктаж может быть совмещен с техническими занятиями.
Внеплановый инструктаж.
Проводится не позднее, чем через 3 суток после имевшего место нарушения требований техники безопасности на отделении перевозок, или поступивших телеграмм о несчастных случаях в хозяйстве перевозок ОАО «НК «КТЖ». Внеплановый инструктаж проводится по требованию государственного, ведомственного надзора. Внеплановый инструктаж проводится при введении в действие новых или переработанных стандартов, правил, инструкций по охране труда, при изменении технического процесса. С работником допустившем перерыв в работе более чем на 30 календарных дней, работа которого связана с движением поездов и ему предъявляются повышенные требования безопасности труда, проводятся дополнительно индивидуальный внеплановый инструктаж, для работников, работа которых не связана с движением поездов, при перерыве более чем на 60 дней.
Целевой инструктаж.
Проводится при ликвидации аварии, крушения, выполнении разовых работ, не связанных с прямыми обязанностями по специальности или профессии. Целевой инструктаж проводится при каждой смене вида и характера работ с разъяснением мер безопасности при производстве той или иной работы.
Список действующих приказов по БДП:
1. Приказ Тик РК №70 от 19.03.1996 г. «О мерах по обеспечению безопасности движения на ж/д. транспорте».
2. Приказ №561-Ц от 7.10.2004 г. «Правила проведения комиссионных месячных осмотров путей, стрелочных переводов, устройств СЦБ, связи и контактной сети».
3. Приказ №28-ЦЗ от 23.02.2000 г. «О порядке информирования ДСП локомотивных бригад по радиосвязи при роспуске поездов на маневровом передвижении».
4. Приказ №218-Ц от 27.02.2001 г. Об утверждении Положения о проведении «Для безопасности».
5. Приказ №141-ЦЗ от 06.06.2001 г. «Об утверждении положения о формуляре и талонах предупреждения».
6. Приказ №129-1 Тик РК от 10.04.200 г. «Об утверждении Перечня должностей и профессий в области ж/д. транспорта, подлежащих испытаниям на знание технических нормативных актов и состава комиссии по испытаниям».
7. Приказ №197-Ц от 16.05.2002 г. «О порядке применения в «НК «КТЖ» и ДГП отдельных актов.
8. Приказ №229 ДН-2 от 04.07.2002 г. «О порядке применения на Кустанайском отделении перевозок отдельных пунктов ПТЭ, ИДП и маневровой работе ИСИ РК».
9. Приказ №916-Ц от 14.11.2005 г. «Об обеспечении БДП при наступлении сложных метеорологических условий, возникновении неисправности ж/д. пути, вызывающей толчок поезда в пути».
10. Приказ №29-Ц от 14.04.2003 г. «О порядке пропуска поездов, осмотра рельсов и стрелочных переводов после прохода поезда колесных пар, имеющих ползун».
11. Приказ №632-Ц от 05.09.2003 г. «Об утверждении Положения о ж/д. станции ОАО «НК «КТЖ».
12. Приказ №243-I Тик от 5.08.2003 г. «О внесении изменений и дополнений и некоторые приказы Тик РК».
13. Приказ №621-Ц от 03.09.2003 г. «Правила организации восстановительных работ при ликвидации последствий аварий и сходов подвижного состава в ОАО «НК «КТЖ».
14. Приказ №813-Ц от 18.09.2005 г. «Об утверждении Правил служебного расследования нарушений безопасности движения в поездной и маневровой работе, их учета и отчетности по ним ОАО «НК «КТЖ» и зависимых АО».
15. Приказ №17-Ц от 12.01.2006г. «Об утверждении перечня регламента переговоров».
16. Приказ №150-Ц от 15.02.2006 г. «О системе управления безопасностью движения в условиях реструктуризации на ж/д. транспорте».
17. Приказ №418-Ц от 02.06.2006 г. «Об обеспечении безопасности движения поездов на электрифицированных участках при наступлении сложных метеорологических условиях».
18. Приказ №377-Ц от 12.05.2006 г. «О порядке действий локомотивных бригад по обеспечению безопасности движения».
19. Приказ №578-Ц от 31.07.2006 г. «Об установлении критических и унифицированных весовых норм грузовых поездов по ж/д. участкам».
20. Приказ №159-Ц от 31.01.2007 г. «Об усилении работы по организации и обеспечению безопасности движения».
Тормозные башмаки.
Примечание:
1. Тормозные башмаки укладываются на рельсовую нитку, ближнюю к пассажирскому зданию, начиная с крайних вагонов с накатом.
2. Группы вагонов пассажирского парка закрепляются согласно графе 6.
3. При усилении ветра более 15 м/сек норма закрепления увеличивается укладкой 1 тормозного башмака на каждые 66 осей с обеих сторон:
- до 66 осей по 1 башмаку;
- 68-132 оси по 2 башмака;
- 134-200 оси по 3 башмака;
- 202-266 оси по 4 башмака;
- 268-330 оси по 5 башмаков.
4. При получении приказа дежурного по отделению о штормовом предупреждении дежурный по станции (ДСП) дает указание на дополнительную укладку по 1 тормозному башмаку на каждые 28 осей со стороны возможного ухода вагонов. Вызывает начальника станции или его заместителя для контроля правильности закрепления. О принятых мерах докладывают поездному диспетчеру (ДНЦ), о чем последний делает запись в графике исполненного движения.
Тормозной башмак состоит из полоза с бортами, опорной колодки (головки башмака) и ручки, которая отливается вместе с опорной колодкой. Опорная колодка крепится к полозу заклепками. Основные размеры тормозного башмака:
длина, мм 500
ширина подошвы (внутри), мм 77
толщина подошвы, мм 7
высота борта (внутри), мм 17
высота опорной колодки над уровнем головки рельса, мм 130
масса нового башмака, кг - 6,8
Техническая контора.
Должностная инструкционная карточка на оператора технической конторы станции Гранит.
Должностные обязанности:
- своевременная и качественная обработка и подборка грузовых документов на:
а) прибывающие в разборку и отправляемые своего формирования составления;
- натурных листов;
- номерной учет наличия и расположение вагонов на станционных путях, при необходимости на подъездных путях и тупиках;
- контроль соблюдения плана формирования поездов, установленных норм веса и длины формируемых поездов;
- обеспечение сохранности перевозочных документов;
- контроль наличия «чужих» вагонов по справке «5072» долго простаивающих;
- вагонов на станции по справке «8888»;
- учет и контроль своевременного отправления вагонов со станции;
- ведение установленных форм учета и отчетности;
- разметка вагонов в соответствии плана формирования;
- составление актов общей формы дорожных ведомостей СМГС в соответствии;
- установленных норм и правил;
- введение сообщение в АСУ.
Должен знать:
- ПТЭ, ИСИ, ИДП в установленном объеме в соответствии должностного норматива;
- должностную инструкцию;
- технологический процесс станции в соответствии должностной инструкции;
- ТРА станции;
- устав о дисциплине работников ж/д. транспорта;
- знание государственного языка;
- другие документы ОАО «НК «КТЖ» и ДН-2 по кругу своих обязанностей.
Ответственность:
- несет материальную ответственность за сохранность инвентаря;
- соблюдение правил техники личной безопасности;
- своевременное ведение сообщений по АСУ;
- своевременное оформление перевозочных документов.
Подчиненность:
- непосредственно подчиняется начальнику станции и его заместителю, инженеру станции;
- в оперативном порядке ДСП.
Техническая контора выполняет основную работу по прицепке, отцепке поездов, заполнения натурных листов.
Маневровая вышка.
Должностная инструкционная карточка оператора поста центральной станции Гранит.
Должностные обязанности:
- управление устройствами централизации стрелок и сигналов на местном управлении;
- переводит курбелем стрелки, выключенные из централизации и закрывает на навесные замки;
- при потере контроля стрелок проверяет свободность стрелочного перевода от подвижного состава по указанию ДСП;
- осуществляет перевод стрелок курбелем по указанию ДСП;
- производит закрепление вагонов с 3-15 пути с нечетной стороны станции, 31-37 пути 17, 21-22 тупики согласно ТРА станции;
- ведет учет закрепления, изъятия и перестановку тормозных башмаков согласно инструкции ПД-09/1;
- при неисправности устройств СЦБ проверяет маршруты, фактическую занятость путей и стрелок;
- списывание вагонов отцепляемых и прицепляемых к нечетным поездам по указанию ДСП и передает сведения о них в техническую контору.
Должен знать:
- ПТЭ, ИДП, ИСИ;
- ТРА станции;
- правила технической безопасности и производственной санитарии;
- технологический процесс работы станции;
- устав о дисциплине работников ж/д. транспорта;
- должностную инструкцию;
- знание государственного языка;
- другие документы ОАО «НК «КТЖ» и ДН-2 по кругу своих обязанностей;
- перечень пломбируемых устройств.
Ответственность:
- несет материальную ответственность за инвентарь строгого учета;
- обеспечивает безопасность движения при производстве маневровых работ;
- при работе на местном управлении;
- за технику безопасности работников своего маневрового района.
Подчиненность:
- начальнику станции, заместителю начальника станции, инженеру станции;
- оперативно подчинен ДСП.
Дежурный по станции.
Должностные обязанности:
- оперативное планирование и руководство станции в соответствии со сменно суточным планом;
- координация сортировочной работы и местной грузовой работы;
- обеспечение наиболее эффективного использования технических средств и выполнение установленных показателей работы станции;
- руководит единой сменой;
- знакомится с планом работы, руководящими указаниями, положением станции, с записями в журнале ДУ-46, книгах записи предупреждения и диспетчерских распоряжений;
- получает доклады от составительской бригады, дежурного по путям, оператора поста централизации о готовности к работе, сообщает им план работы;
- ведет контроль и учет тормозных башмаков на рабочих местах;
- обеспечивает выполнение сменного плана по беспрепятственному приему и своевременному отправлению поездов, подаче-уборке местных вагонов;
- технических норм обработки и времени нахождения вагонов на станции;
- корректирует сменный план работы;
- осуществляет контроль за строгим соблюдением работниками смены ПТЭ, ИДП, ИСИ, ТРА станции и других руководствующих документов по движению поездов и правил техники безопасности;
- оперативное планирование и руководство маневровой работы по расформированию, формированию поездов, обработке поездов и местных вагонов на основе данных непрерывного номерного учета, наличие и расположение вагонов на путях станции и тупиках;
- проверяет правильность составления контрольного бланка, после чего:
а) подписывает контрольный бланк и 1 экземпляр берет на пост электрической централизации (ЭЦ);
б) подводит итоги выполнения сменного задания и докладывает о них начальнику или заместителю;
в) проводит первую ступень контроля за состоянием охраны труда.
Должен знать:
- ПТЭ, ИСИ, ИДП;
- технический процесс станции;
- инструкцию по обслуживанию безопасности движения поездов при производстве работ по техническому обслуживанию и ремонту устройств СЦБ-ЦШ-4397;
- инструкцию по обеспечению безопасности движения поездов при производстве путевых работ ЦП-4402;
- правила техники безопасности и производственной санитарии для работников станции инструкция ЦД-3116;
- ТРА станции;
- устав о дисциплине работников ж/д. транспорта;
- должностную инструкцию;
- знание государственного языка;
- другие документы ОАО «НК «КТЖ» и ДН-2 по кругу своих обязанностей;
- план формирования грузовых поездов, бланки форм ДУ-54, 56, 64, 50, 61, 58, 47.
Ответственность:
- за выполнение сменного задания;
- безопасность движения поездов (БДП);
- сохранность подвижного состава при производстве маневровой работы;
- выполнение приказов ДНЦ;
- установленные скорости при маневровой работе;
- эффективное использование устройств ЭЦ;
- безопасные условия труда работников.
Инструкционная карточка на дежурного по посту ЭЦ ст.Гранит.
Должностные обязанности:
- управление устройствами ЭЦ стрелок и сигналов;
- контроль за работой устройств по показаниям контрольных ламп и приборов на пульте-манипуляторе на выносном табло;
- передает по АСУ сообщение №200, 201, 203, 204, 205;
- ведет журналы ДУ-58, ДУ-47;
- выдает письменное разрешение на занятие перегона по указанию ДСП;
- при неисправности устройств СЦБ проверяет маршруты, фактическую занятость путей и стрелок;
- переводит стрелки курбелем по указанию ДСП и закрывает на навесные замки в четной горловине станции;
- при перерыве всех средств связи лично предупреждает путем прохода к маневровому локомотиву машиниста и составителя поездов о прекращении маневровой работы;
- отчитывается о среднем простое грузового локомотива на станции;
- объявлять по громкоговорящей рации о приготовлении маршрутов о передвижениях маневрового локомотива.
Должен знать:
- ПТЭ, ИДП, ИСИ.
- перечень пломбируемых устройств;
- инструкцию по обслуживанию БДП при производстве работ по техническому обслуживанию и ремонту устройств;
- инструкцию по обеспечению БДП при производстве путевых работ;
- правила техники безопасности;
- ТРА станции;
- должностную инструкцию.
Ответственность:
- несет материальную ответственность за сохранность инвентаря;
- БДП;
- сохранность подвижного состава при производстве маневровой работы;
- выполнение приказов ДСП, составителя поездов;
- безопасные условия труда работников.
Подчиненность:
- начальник станции, заместитель начальника станции, инженер по станции, ДСП.
Приемосдатчик груза и багажа.
Должностная инструкционная карта приемосдатчика груза и багажа станции Гранит.
1. Квалификация: общее среднее образование, специальная подготовка по установленной программе.
2. Требования к исполнителю: на должность приемосдатчика груза и багажа назначаются лица не моложе 18 лет, годные к этой работе по состоянию здоровья. Обязан проходить медицинское освидетельствование для определения годности к выполнению служебных обязанностей.
3. Круг обязанностей:
- сдача и прием в коммерческом отношении груженных и порожних вагонов, подаваемых под погрузку или выгрузку средствами отправителя (получателя);
- оформление документации по учету погрузки и выгрузке грузов;
- предъявление вагонов к техническому осмотру в книге формы ВУ-14;
- обеспечение соблюдения грузоотправителями правил перевозки грузов, технических условий и максимальное использование грузоподъемности вагонов;
- проверка правильности размещения и крепления массовых навалочных грузов;
- проверка полноты выгрузки грузов и очистки вагонов после выгрузки;
- оформление ведомостей подачи и уборки вагонов в соответствии с Инструкцией по ведению станционной коммерческой отчетности;
- сдача груженных вагонов с номенклатурными грузами под охрану;
- уведомление ДСП об окончании грузовых операций;
- проведение контрольных перевесок вагонов;
- проверка массы, числа мест и составления груза в случаях, предусмотренных Правилами;
- ввод в АРМ ТВК сообщениями сведений по выгрузке вагонов, сведений по подаче и уборке вагонов на подъездные пути;
- составление коммерческих актов, расследование коммерческих актов, поступивших от других станций;
- выполнение требований технической безопасности.
4. Должен знать в установленном объеме:
Временный устав ж.д. РК, Закон РК «О ж.д. транспорте», Правила перевозок грузов, технические условия погрузки и крепления грузов, правила перевозок опасных грузов, инструкцию по перевозке негабаритных грузов.
5. Организация рабочего места: рабочее место приемосдатчика груза и багажа находится в здании начальника станции.
6. Оборудование и оргоснастика:
- типовой стол, стул;
- шкаф для документации;
- техническая документация;
- телефон АТС;
- часы;
- компьютер.
7. Режим труда и отдыха:
- сменный режим работы с регламентированным перерывом на обед и отдых;
- освещение в дневное время суток естественное, в темное время суток искусственное;
8. Права:
- имеет право пользоваться служебной связью в пределах Костанайского отделения перевозок;
- имеет право бесплатного проезда 1 раз в год по разовым билетам.
9. Ответственность:
- отвечает за своевременное и качественное выполнение обязанностей по инструкционно технологической карте;
- соблюдает правила внутреннего распорядка и действующих положений, работающих на ж.д. транспорте.
10. Порядок назначения: назначается директором Кустанайского отделения перевозок.
11. Порядок замещения: на период отпуска, командировок, болезни замещается приемосдатчиком груза и багажа.
12. Подчиненность: во время работы подчиняется непосредственно старшему приемосдатчику груза и багажа и ДС.
ОАО «НК«КТЖ» отделение перевозок станции Гранит.
Местная инструкция по охране труда для старшего приемосдатчика, приемосдатчика груза.
Общие требования безопасности.
На должность старшего приемосдатчика, приемосдатчика грузов назначаются лица не моложе 18 лет, годные к этой работе по состоянию здоровья. В зависимости от особенностей и местных условий работы старший приемосдатчик, приемосдатчик груза выполняет:
а) прием, взвешивание, погрузку, сортировку, погрузку, выгрузку, хранение и выдачу грузов, перевозимых по железным дорогам, составление и рассмотрение коммерческих актов материалов расследования по не сохраненным перевозкам, подготовка по ним предложений и направление их в установленном порядке;
б) сдачу и прием в коммерческом отношении груженных и порожних вагонов, подаваемых под погрузку или выгрузку средствами отправителя (получателя);
в) сдачу и прием от отправителей (получателей), принадлежащих железной дороге поддонов, перевозочных приспособлений и их учет;
г) оформление составляющих документов и ведение установленной отчетности о приеме, погрузке, сортировке, перегрузке, выгрузке, выдаче и передаче грузов, вагонов, контейнеров, поддонов и съемных перевозочных приспособлений, принадлежащих ж.д.
Старший приемосдатчик, приемосдатчик груза обязаны знать в установленном объеме:
- временный Устав ж.д. РК, правила перевозок грузов, технические условия погрузки крепления грузов;
- инструкцию по перевозке негабаритных грузов на ж.д. РК;
- служебную инструкцию к соглашению о международном железнодорожном грузовом сообщении;
- инструкцию о порядке и технологии взвешивания грузов и ж.д. состава, правила коммерческого осмотра поддонов и вагонов;
- правила технической эксплуатации железной дороги, инструкцию по сигнализации на железной дороге РК;
- устав о дисциплине работников ж.д. транспорта РК;
- должностную инструкцию;
- технологический процесс работы станции;
- инструкцию по движению поддонов и маневровой работе на железной дороге РК;
- правила техники безопасности и производственной санитарии при погрузочно-разгрузочных работах на ж.д. транспорте;
- правила перевозок опасных грузов на ж.д. транспорте;
- правила пожарной безопасности на ж.д. транспорте;
- приказы и указания, касающиеся работы приемосдатчиков груза;
- правила безопасности для работников ж.д. транспорта на электрифицированных линиях.
К выполнению обязанностей старший приемосдатчик, приемосдатчик груза допускаются после соответствующего обучения и сдачи в установленном порядке экзамена в знании вышеуказанных нормативных актов.
Периодическая проверка знания производится не реже одного раза в 2 года.
Характеристика опасных производственных факторов, действующих на рабочего: старший приемосдатчик, приемосдатчик груза работают в зоне повышенной опасности, подвергаются опасным и вредным производственным факторам: метеорологические (температура, влажный воздух, холод), химические (при перевозке грузов).
Обслуживание клиентов и оформление документов производится приемосдатчиком станции Гранит, который дает готовность вагонов под погрузку. Приемосдатчик станции согласно заявки с визой ДС подает письменную заявку ДСП на предъявление вагона под погрузку для дальнейшей под погрузку. Предъявленный вагон приемосдатчик груза записывает в книгу ВУ-14. После этого совместно с вагонником определяет годность его под погрузку, с обязательной росписью о подтверждении годности вагона под погрузку в техническом и коммерческом отношениях в книге ВУ-14 по окончании осмотра. После этого с момента подачи вагона под погрузку, приемосдатчик производит подачу (выставление) вагона на подъездной путь и заводит ведомость подачи-уборки вагонов формы ГУ-46.
Об окончании погрузки и готовности вагона к уборке станция узнает по письменному уведомлению, полученному от грузоотправителя. На основании полученного уведомления старший приемосдатчик станции принимает вагон на подъездном пути, по окончании которого подает письменную заявку ДСП на уборку вагона с подъездного пути.
После приема вагона к перевозке вагонный лист поступает в товарную контору для оформления погрузки. По окончании оформления вагон убирается с подъездного пути по АРМ приемосдатчика, а документы передаются в техническую контору с обязательной регистрацией об этом в книге «Сдачи документов» для дальнейшего отправления.
Оформление случаев не сохранности грузов при перевозках.
При несохранных перевозках на станции, в зависимости от обстоятельств, составляются коммерческие акты и акты общей формы.
По прибытии поезда приемосдатчики осматривают вагоны в коммерческом отношении.
При обнаружении коммерческих неисправностей вагонов, пломб, а также следов утраты, порчи или повреждения груза приемосдатчик груза сообщает старшему приемосдатчику, составляет акт общей формы и в течение 30 мин уведомляет соседнюю станцию о настоящем браке.
Коммерческие акты составляются в актовом столе, старший приемосдатчик по розыску грузов, на основании письменного рапорта приемосдатчика.
Содержание рапорта проверяет ДС или его заместитель и принимает решение о надобности (ненадобности) составления коммерческого акта.
По несохранным перевозкам, подлежащим оформлению коммерческим актом, ДС в тот же день дает по телефону оперативное донесение.
Составленные станцией коммерческие акты в 5-тидневный срок после их составления высылаются в отделения перевозок. Все составленные станцией коммерческие акты регистрируются в книге учета коммерческих актов в день их фактического составления. Записи, сделанные в книге регистрации за каждые сутки, подписываются ДС или его заместителем. Коммерческие акты, поступившие на станцию для расследования с других станций, регистрируются в книге записи актов. В обязанность старшего приемосдатчика груза актового стола входит оформление коммерческих актов, составленных станцией, подготовка ДС материала для расследования случаев не сохранности груза, розыск груза, ведение учета и отчетности, анализ не сохранных перевозок.
Прием и погрузка повагонных отправок средними грузоотправителей.
На подъездных путях.
До начала погрузки грузоотправитель предъявляет заполненную накладную на отправку или отпечатанный на машинке комплект перевозочных документов для одиночных вагонов в товарную контору старшему товарному кассиру, который проверяет наличие плана (разрешения), правильность заполнения комплекта и открыта ли станция назначения для приема груза к перевозке. Затем старший товарный кассир визирует накладную, проставляя номер плана перевозки, число, месяц, после чего возвращает ее отправителю.
Согласно докладной (разовой с визой ДС) заявки приемосдатчика станции подает письменную заявку ДСП на предъявление вагонов под погрузку для дальнейшей подачи по фронтам погрузки. Предъявленные вагоны приемосдатчика груза записывает в книгу ВУ-14. После этого совместно с вагонником определяет годность предъявленных вагонов под погрузку, с обязательной росписью о подтверждении годности вагона под погрузку в техническом и коммерческом отношениях в книге ВУ-14 по окончании осмотра.
После этого с момента подачи или выставления вагонов под погрузку, приемосдатчик производит подачу (выставление) вагонов на подъездной путь и заводит ведомость подачи-уборки вагонов формы ГУ-46.
Визирование накладных на маршрутизируемые грузы производится в строгом соответствии с календарным планом погрузки маршрутов.
Старший приемосдатчик проверяет погрузку всех грузов, кроме навалочных, которые принимает приемосдатчик передает для оформления в товарную контору.
На местах общего пользования.
Согласно декадной (разовой с визой ДС) заявки приемосдатчик станции подает письменную заявку ДСП на предъявление вагонов под погрузку для дальнейшей подачи по фронтам погрузки. Предъявленные вагоны приемосдатчик груза записывает в книгу ВУ-14. После этого совместно с вагонником определяет годность предъявленных вагонов под погрузку, с обязательной росписью о подтверждении годности вагона под погрузку в техническом и коммерческом отношениях в книге ВУ-14 по окончании осмотра.
3. ОБОСНОВАНИЕ НЕОБХОДИМОСТИ ВЫТЯЖНОГО ПУТИ.
3.1 Экономические расчеты
Продолжительность различных маневровых передвижений, в том числе по выводу состава из парка на вытяжку для расформирования tвыв и перестановке состава своего формирования в приемоотправочный парк для отправления tвыст, находят по формуле [28]:
tвыв=tвыст=tм+Lман/16,7ман, мин (3.1)
где - Lман длина полурейса с учетом длины маневрового состава, м (принимается по схеме станции в зависимости от маршрута перестановки);
ман - скорость маневровых передвижений, км/час (20 км/час);50 количество вагонов в составе; 365 суток в году; 3,10 количество поездов в сутки; 15 простой одного вагона (тг).
Lман = 420+15+334=567 м
tвыв=0,2+(567)/(16,720)=1,9 мин
tвыст=0,2+(600)/(16,720)=2 мин
Lман=420+15+335=600 м
При построении графика движения выяснили количество пар поездов в сутки обрабатываемые на станции:
Участковые 3 пары поездов
Сборные 1 пара поездов
Время занятия главного пути маневровой работой участковыми и сборными поездами за сутки определяется по формулам [28]:
tуч= tвыв +tвыст 3 (3.2)
tсб= tвыв+tвыст 10 (3.3)
tсут= tуч+ tсб (3.4)
tуч= 1,9+23=11,7 мин
tсб= 1,9+210=39 мин
tсут=11,7+39=50,7 мин
Эсут = 3+105015tсут ,тг/сут (3.5)
Эгод= Эсут 365,тг (3.6)
Эсут = 13 50 0,84 15=8190 тг/сут
Эгод=8190 365=2989350 тг
Капитальные вложения на строительство вытяжного пути указаны в таблице 3.1.
Таблица 3.1
Капитальные вложения на строительство вытяжного пути [21]
|
Наименование |
ед-цы изм. |
величина измерителя |
ст-ть за ед-цу, млн. тенге |
сумма, млн. тенге |
|
Стоимость укладки железобетонной рельсошпальной решётки P-65 с учетом затрат на сборку, укладку и балластировку |
км |
0,3 |
21 |
6,3 |
|
Стоимость укладки стрелочных переводов с переводными брусьями с учетом сборки, укладки, балластировки |
шт. |
1 |
2,2 |
2,2 |
|
Стоимость отсыпки земляного полотна |
км |
0,3 |
4,664 |
1,4 |
|
Стоимость электрической централизации стрелок |
шт |
1 |
1,995 |
1,995 |
|
Всего |
11,895 |
Время окупаемости строительства вытяжного пути рассчитывается по формуле:
Э=К/ Эгод,(год) (3.5)
где К капитальные вложения на строительство вытяжного пути
Э=11,895/2,989=4 года
Результаты расчетов показывают, что строительство вытяжного пути экономически целесообразно.
Деталь проекта представлена в приложении 5.
4. ИНСТРУКЦИИ ПО ОХРАНЕ ТРУДА
Инструкция по охране труда для ДСП.
Общие требования безопасности [23]:
ДСП является сменным заместителем ДС и несет по кругу своих обязанностей ответственность за безопасность движения, безопасную организацию труда и контролирует соблюдение требований охраны труда и Правил техники безопасности работников станции.
Выполнение требований данной инструкции является обязанностью, а нарушение их нарушением трудовой дисциплины.
ДСП установлен 4-х сменный режим труда, продолжительностью 12 часов. Прием пищи и отдых в технологическом перерыве.
Дежурному по станции выдается бесплатно форменная одежда.
ДСП обязан знать в установленном объеме: ПТЭ, ИДП, ИСИ, ТРА станции, тех. процесс работы станции (технологическую карту), должностную инструкцию, настоящую инструкцию, Закон о труде. Закон «О безопасности и охране труда», приказы и распоряжения вышестоящих органов. Общие обязанности работников ж.д. транспорта, правила по технике безопасности, правила техники безопасности работников, находящихся в непосредственном подчинении.
Порядок оповещений работников о возможной опасности.
Порядок ограждения мест производства работ на ж. д. путях.
Перечень работ, для выполнения которых по условиям безопасности труда требуется определенное число работников.
Порядок служебного прохода работников к месту прохода и обратно.
Последовательность выполнения отдельных операций производственного процесса по условиям безопасности труда.
Уметь оказать первую доврачебную помощь при переломах, вывихах, порезах, поражениях электротоком, обмороках, отравлениях, ожогах и обморожений.
Знать место нахождения медицинской аптечки для оказания первой помощи.
Порядок допуска работников к работе.
К работе ДСП (ДСПЦ) допускаются лица, достигшие 18 лет, прошедшие медицинский осмотр, в дальнейшем обязательное периодическое освидетельствование, прошедшие обучение по установленной программе.
К самостоятельной работе ДСП (ДСПЦ) допускаются лица, выдержавшие испытание и в последующем периодически проверяется в знании: ПТЭ, ИДП, ИСИ, должностной инструкции, Правил и инструкции по тех. безопасности, приказов и распоряжений вышестоящих органов.
К работе ДСП допускаются лица прошедшие первичный инструктаж на рабочем месте и стажировку не менее 6 смен под наблюдением опытного ДСП со стажем не менее 3 лет.
Требование безопасности перед началом работы.
1. Перед заступлением на работу ДСП проходит предсменное медицинское освидетельствование в медпункте, где проверяется общее состояние здоровья работника, артериальное давление.
2. Ежесменно на планерном совещании, перед заступлением на дежурство, утром в 8 часов 30 минут ДСП проходит целевой инструктаж перед заступлением на дежурство по тематике, разработанной техническим отделом ДН.
3. При проведении целевого инструктажа перед вступлением на дежурство работникам разъясняется: оперативная обстановка на станции, план предстоящей работы и безопасные приемы его выполнения, рассматриваются причины и обстоятельства травматических случаев, допущенных в хозяйстве перевозок.
4. В случае образования временных негабаритных мест на станции и путях (до устранения) работникам разъясняется их место нахождение и порядок работы вблизи этих мест.
5. После прохождения инструктажа перед вступлением на дежурство (целевого) ДСП проверяет обеспеченность работников смены спецодеждой, спец.обувью, средствами индивидуальной защиты и сигнальными принадлежностями.
6. ДСП имеет право отстранять от работы нарушителей трудовой дисциплины, в том числе за нарушение правил использования спецодежды и спец.обуви, средств индивидуальной защиты и сигнальных принадлежностей.
7. Если при приеме дежурства и в процессе работы ДСП выявлено нарушение габарита или другие отступления от требования Правил техники безопасности и производственной санитарии, то он должен немедленно сообщить об этом ДС (его заместителю), поездному диспетчеру и принять все меры для ограждения опасного места и устранения отступлений.
8. Прием дежурства производится непосредственно на рабочем месте.
9. Перед вступлением на дежурство и после сдачи смены (окончания работы) ДСП должны проходить по специально установленным маршрутам служебных проходов.
10. Исправность подвижного состава, оборудования, инструмента, действия блокировок, сигнализации.
11. ДСП проводит первую ступень контроля по охране труда ежесменно, до начала работы и в течение рабочего дня.
Замечания, нарушители и нарушения фиксируются в журнале ступенчатого контроля состояния охраны труда при проведении первой ступени контроля на станции проверяются:
- выполнение мероприятий по устранению нарушений, выявленных при предыдущей проверке;
- состояние и правильность организации рабочих мест, наличие и исправность необходимого инструмента и оборудования;
- состояние служебных проходов;
- наличие предохранительных устройств электроводяных котлов.
Инструкция по охране труда для сотавителей поездов.
Общие требования по технике безопасности [24]:
- при невозможности расцепления вагонов расцепка прекращается до устранения неисправности расцепного привоза;
- при нарушении нормального производства маневров составитель поездов должен немедленно поставить в известность ДСП, подать команду остановки и принять меры к остановке движущихся вагонов.
Категорически запрещается:
- перебегать пути перед движущимся поездом, локомотивом или отцепном вагоном;
- подлезать под вагоны для перехода занятого пути;
- пользоваться неисправными переходными площадками, поручными, подножками вагонов;
- спускаться и подниматься на переходную площадку (специальную подножку) при неполной остановке подвижного состава;
- при встрече поездов, находиться на расстоянии не менее 2 м от крайнего рельса;
- находится вне безопасного места на обочине пути или междупутья при движении поездов с меньшими скоростями, а также при маневровых передвижениях составов, локомотивов;
- становиться на рельс и садиться на него;
- садиться на переходную площадку, специальные подножки вагонов и сходить с нее при движении вагонов на стрелочных перевозках, переездах и других опасных местах; при неблагоприятной погоде; недостаточно освещенных местах; у высоких платформ, грузовых платформ, грузовых складов и навалочных площадках.
В местах погрузки и выгрузки маневровая работа может производится только при соблюдении габарита выгруженных или подготовленных к погрузке вагонов, то есть при расположении груза высотой до 1200 мм на расстоянии не менее 2 м от ближнего рельса, а при большой высоте не менее ближе 2,5 м, и при соблюдении условия видимости составителя поездов, машиниста маневрового локомотива.
- нахождении работников, составительских бригад на специальных подножках вагонов и подножках локомотивов, а также ступеньках тамбура пассажирского вагона при движении маневровых составов, одиночных локомотивов у высоких платформ или по путям, расположенным рядом с сооружениями, на которых установлен знак «Негабаритное место», сооружениями, имеющими предупредительную окраску в виде чередующихся желтых и черных полос, и в местах, где возникла угроза безопасности.
- входить в пространство между вагонами, расцеплять вагоны в пределах стрелочных переводах, настилов переездов и в негабаритных местах, а также в местах погрузки навалочных грузов.
- проезд на головке автосцепки и боковых выступающих частях вагонов, а также стоя на платформе и сидя на ее бортах;
- подкладывание под автосцепки посторонних предметов для устранения разницы по высоте между их продольными осями;
Требования по электробезопасности.
- при прохождении через тело человека электрический ток может вызвать ожоги, обмороки, судороги, прекращение дыхания и смерть. Во избежание несчастных случаев от поражения электрическим током необходимо четко представлять себе опасность действия электрического тока, твердо и неуклонно выполнять основные правила электробезопасности.
- Составитель поездов должен иметь первую квалификационную группу по электробезопасности, практически оказать первую доврачебную помощь пострадавшему от электротока.
- запрещается прикасаться к оборванным проводам независимо от того, касаются они или не касаются земли или заземлены конструкции.
- в случае если провода или другие элементы выходят из габарита приближения строения к пути, где могут быть задеты при проходе поезда, это место необходимо оградить сигналами остановки согласно Инструкции по сигнализации на ж.д. РК как место препятствия.
- запрещается класть какие-либо предметы или разогревать пищу на электропечах. При уходе из служебного помещения оно должно быть закрыто и вся электрическая проводка отключена.
- необходимо постоянно следить за состоянием электропроводки, выключателей, штемпельных розеток, а также шнуров электрочайников, плиток, с помощью которых включается в электросеть электроприборы. В случаях неисправностей пользоваться электроэнергией запрещается.
- во избежание повреждения изоляция не допускается:
а) подвешивать электропровода на гвоздях, металлических и деревянных предметах;
б) перекручивать провода;
в) закладывать провода и шнуры за газовые и водопроводные трубы, за батареи отопления;
г) вешать что-либо на провода;
д) вытягивать за шнур вилку розетки.
- в душевых комнатах не разрешается пользоваться включенными в электросеть различными электронагревательными приборами: плитками, каминами, электропечами.
Требования пожарной и взрывобезопасности:
- к самостоятельной работе составителя поездов допускаются после прохождения противопожарного инструктажа, практического обучения по пользованию первичных средств пожаротушения.
- для предупреждения пожаров и взрывов необходимо повседневно соблюдать Правила пожарной безопасности, соблюдать особую осторожность при производстве работ с вагонами, загруженными легковоспламеняющимися жидкостями и взрывчатыми материалами, содержать противопожарный инвентарь в исправном состоянии в доступных местах.
- запрещается ограничивать доступ к пожарным щитам, пожарным выходам (закрывать на замок, закручивать и т.д.), проход и подход к пожарному выходу должны быть всегда свободными.
Для обеспечения пожарной и взрывобезопасности, при производстве работ, на станции запрещается:
- курение в неустановленных для этого местах;
- сжигание мусора, травы и т.д. на территории станции;
- использование электронагревательных приборов кустарного производства;
- оставлять без присмотра включенные в электросеть электронагревательные приборы в бытовых помещениях (электронагреватели, электроплитки, электрочайники);
- хранить в неустановленных местах легковоспламеняющиеся жидкости и материалы;
- при возникновении пожара составитель поездов должен:
а) немедленно сообщить ДСП, вызвать пожарную помощь по телефону;
б) при возможности преступить к тушению пожара, имеющими средствами, если это не угрожает собственной безопасности.
Требование и порядок действий при травматических случаях с работниками Компании и посторонними гражданами.
- О каждом несчастном случае, если работники Компании получили травму или стали очевидцами несчастного случая на ж.д. путях с работниками Компании или посторонними гражданами, в том числе и без утраты трудоспособности, вся имеющая информация об этом каждым работникам станции немедленно сообщается ДСП.
Составитель поездов обязан:
а) организовать первую доврачебную помощь пострадавшему. При оказании первой помощи надо, прежде всего: удалить пострадавшего из обстановки, вызвавшей несчастный случай, извлечь из-под подвижного состава, прекратить действия тока при электротравме, вынести пострадавшего из помещения, наполненного угарным или светильным газом и т.д. Это должно быть сделано с большой осторожностью и не усугубить тяжести повреждения;
б) немедленно вызвать скорую медицинскую помощь (номера телефонов должны быть указаны на рабочем месте) и организовать его доставку в лечебное учреждение. При вызове скорой помощи необходимо сообщить точное место происшедшего случая, его характер, кратчайший путь к месту;
в) по возможности выяснить личность пострадавшему, к какой службе относится;
г) сохранить до расследования обстановку на рабочем месте и состояние оборудование такими, какими они были в момент происшествия, если это не угрожает жизни и здоровью окружающих работников и не приведет к аварии, не нарушит производственный процесс, который по технологии должен вестись непрерывно. Записать фамилии, домашние телефоны очевидцев.
Требования и порядок действий в аварийных ситуациях.
При возникновении аварийной ситуации необходимо:
- немедленно прекратить работу;
- оказать первую доврачебную помощь пострадавшим;
- вызвать скорую медицинскую помощь;
- принять меры по сохранности оборудования, если это не угрожает собственной безопасности;
- принять противопожарные меры;
- сообщить ДСП;
- по возможности локализовать аварийную ситуацию;
- при выбросе сильнодействующих ядовитых веществ в окружающую среду составитель поездов должен, использую индивидуальные средства защиты, учитывая направление ветра покинуть опасную зону и выполнять указания ДС по ликвидации последствий аварии соблюдая меры предосторожности;
- при обнаружении неисправности оборудования, инструмента, инвентаря сообщить ДСП, который в свою очередь обязан сделать запись в журнале первой ступени контроля.
Требование безопасности после окончания работы.
К окончанию смены составитель поездов должен привести в порядок инструменты и приспособления, очистить их от грязи, установить в предназначенное для них специальное место.
При сдаче дежурства составитель поездов обязан проинформировать составителя поездов, вступающего на дежурство с первоочередными заданиями, вытекающими из плана предстоящей работы.
Составитель поездов не должен оставлять свою работу, не дождавшись смены. В случае заболевания во время работы, он должен заявить об этом ДСП и по его разрешению, после вступления на дежурство другого составителя поездов, прекратить работу.
Порядок допуска работников к работе.
К работе составителя поездов допускаются лица, достигшие 18 лет, прошедшие медицинский осмотр, в дальнейшем обязательное периодическое освидетельствование, прошедшие 3-5 месячное обучение на должность.
К самостоятельной работе составителя поездов допускаются лица, выдержавшие испытание и в последующем периодически проверяется в знании ПТЭ, ИДП, ИСИ, должностной инструкции, Правил и инструкции по технической безопасности, Приказов и распоряжении вышестоящих органов.
Инструкция по охране труда для приемосдатчиков.
Средства индивидуальной защиты.
Старшему приемосдатчику, приемосдатчику груза выдается бесплатно по установленным нормам специальная одежда, обувь и другие средства индивидуальной защиты. Нормы выдачи бесплатной спецодежды, обуви и индивидуальных средств защиты согласно Приказу №25 от 18.09.1950г.
Следующие:
- валенки;
- костюм «гудок»;
- полу плащ из брезента;
- рукавицы комбинированные;
- костюм х./б или халат;
- сигнальный жилет.
Требования безопасности перед началом работы.
Старший приемосдатчик, приемосдатчик груза работают в условиях повышенной опасности. Нарушения правил техники безопасности на железнодорожных путях может повлечь за собой травматизм с тяжелым исходом.
Ежесменное в 8 час 30 мин ДС или ДСП проводит инструктаж перед вступлением на дежурство, с целью уяснения оперативной обстановки и разъяснения безопасных приемов и возможных опасностей при предстоящей работе, напоминает работникам маршруты следования служебных проходов.
Старший приемосдатчик, приемосдатчик груза обязаны перед началом работы установить порядок выполнения операций, осмотреть рабочее место и обеспечить приведение его в состояние, гарантирующее безопасность работы, не допускать нахождения на местах работ посторонних лиц. Проверить исправность электропроводки, розеток, электроприборов. Об обнаруженных при вступлении на дежурство неисправностях или других отступлений от требований техники безопасности и производственной санитарии следует доложить соответствующему руководителю для принятия мер к устранению выявленных нарушений.
Требование безопасности во время работы.
Старший приемосдатчик, приемосдатчик груза обязаны:
- следить за соблюдением габарита при погрузо-разгрузочных работах;
- правильно использовать средства индивидуальной защиты;
- обеспечивать ограждения переносными сигналами путей, на которых выполняются погрузо-разгрузочные работы, а также следить за тем, чтобы:
а) находящие в его ведении склады и площадки, в части их содержания и освещения соответствовали нормам, установленным Правилами техники безопасности и производственной санитарии;
б) рабочие места содержались в чистоте и обеспечивалось посыпка их в зимнее время при гололеде песком;
в) все объекты грузового хозяйства, где выполняются грузовые и коммерческие работы, были освещены;
г) выгруженные или подготовленные к погрузке грузы были размещены, уложены и закреплены с соблюдением требований должностной инструкции.
Запрещается становится на рельс между остряком и рамным рельсом или желоба на стрелочном переводе, переездах, перехода, садится на рельсы, ходить внутри колеи и по концам шпал.
При выполнении операции пломбирование вагонов и контейнеров приемосдатчик обязан:
- перед пломбированием убедиться, что на подходах отсутствует движущие локомотивы, вагоны;
- при пломбировании пользоваться приставными лестницами;
- при наложении проволочных закруток или продевании проволоку через пломбу следить за тем, чтобы концами проволоки не нанести себе травму;
- пользоваться только исправными пломбированными тисками;
- при поступлении под погрузку вагонов с опасными грузами приемосдатчик обязан перед началом работ проверить вагон в течение 10 минут, открыть двери вагонов с 2 сторон. Перед разгрузкой вагонов, отравляющих веществ, кислот и других химических веществ, предварительное проветривание должно производиться не менее 30 минут.
Меры электробезопасности.
Старший приемосдатчик, приемосдатчик груза имеют группу допуска первой квалификационной группы, ежегодно сдают экзамены, должны иметь элементарное представление об опасности электротока, а также уметь практически оказать пострадавшему первую помощь.
На электрифицированных станциях запрещается:
а) подниматься на опоры контактной сети или приближаться к находящимся под проводом или частям контактной сети на расстояние ближе 2 м;
б) прикасаться к электрическому оборудованию электроподвижного состава как непосредственно, так и через какие-либо предметы;
в) подниматься до снятия напряжения и заземления контактной сети на крышу вагона, находиться на ней, открывать люки цистерн и на грузах, погруженных на открытом подвижном составе.
Запрещается прикасаться к оборванным проводам контактной сети, находящимся на ней посторонним предметам не зависимо от того, касаются они или не касаются земли или заземленных конструкций.
При обнаружении обрыва проводов контактной сети или линии электропередачи пересекающих ж.д. пути, а также свисающих с находящимся на ней посторонних предметов необходимо немедленно сообщить об этом ДСП или ДНЦ и принять меры к недопущению приближения людей к месту обрыва провода на расстояние ближе 10 м.
Требования по обеспечению пожара и взрывоопасности.
К работе старшего приемосдатчика, приемосдатчика груза допускаются лица после прохождения противопожарного инструктажа. Крайне важно соблюдать противопожарный режим, правила пожарной безопасности:
- производственные помещения должны соблюдаться в чистоте;
- проход и подход к противопожарному инвентарю должны быть свободными;
- необходимо уметь пользоваться огнетушителем;
- при возникновении пожара необходимо вызвать пожарную охрану по телефону и при возможности приступить к тушению пожара имеющимися средствами.
Меры безопасности при нахождении на ж.д. путях.
При нахождении на ж.д. путях старший приемосдатчик, приемосдатчик груза обязаны соблюдать следующие меры предосторожности:
1) быть одетым так, чтобы одежда не мешала движениям, а пуговицы верхней одежды были застегнуты. Головной убор не должен мешать нормальной слышимости, обувь должна быть на широком каблуке;
2) по территории станции и подъездным путям к месту работы и с работы проходить по установленному маршруту служебного прохода;
3) проходить вдоль путей только по обочине путей или по середине междупутья, при этом следить за движущимися поездами, маневрирующими составами и локомотивами, отцепами вагонов;
4) при ходьбе обращать внимание на устройства и предметы, находившиеся на пути следствия, чтобы не споткнуться;
5) при выходе на путь из-за подвижного состава из помещения и т.д. предварительно убедиться в отсутствии движущегося подвижного состава;
6) при переходе через путь занятый стоящим подвижным составом на другую сторону, пользоваться только тормозными площадками вагонов, предварительно убедившись в исправности их поручней, подножек и настила площадки. Запрещается подлезать под вагоны;
7) при обходе стоящих на путях вагонов или локомотивов запрещается переходить путь на расстоянии от них не менее чем 5 метров, а проходить в пространство между расцепленными вагонами (локомотивами) при расстоянии между ними не менее 10 метров;
8) прежде чем сойти с тормозной площадки вагонов на междупутье, необходимо убедиться в исправности подножек, поручней, а также в отсутствии движущихся по смежному пути локомотивов или вагонов;
9) садиться на тормозную площадку и сходить с нее запрещается только при стоянке вагонов;
10) при безостановочном следовании поездов со скоростью свыше 120 км/ч находиться от ближайшего рельса пути, по которому следует поезд, на расстоянии не менее 5 м;
11) при движении поездов с меньшими скоростями или маневровых составов заблаговременно отходить в безопасное место (по обочине или междупутью) на расстояние не менее 2 м от крайнего рельса, а при движении поезда или малогабаритного состава с негабаритным грузом не менее чем на 2,5 м.
Требования безопасности в аварийных ситуациях.
При возникновении аварийных ситуаций необходимо:
- немедленно прекратить работу;
- оказать помощь пострадавшим;
- вызвать врача или скорую помощь;
- принять меры по сохранности оборудования, если это не угрожает собственной безопасности;
- принять противопожарные меры;
- сообщить ДС о случившемся;
- по возможности локализовать аварийную ситуацию.
При обнаружении неисправности оборудования, инструмента, инвентаря сообщить ДС (ДСП), сделать запись в журнале 1-ой ступени контроля.
Требования безопасности по окончании работ.
При сдаче дежурства старший приемосдатчик, приемосдатчик груза обязаны:
- доложить непосредственному руководителю о выполненной работе и представить отчетные данные по установленной работе и представить отчетные данные по установленной форме;
- сдать вступающей смене переводные и отчетные документы, учетные книги, пломбированные тиски, инвентарь и материалы;
- осмотреть находящиеся в его ведении станционные помещения, а также грузы, расположенные на открытых площадках, убедиться в пожарной безопасности и отсутствии посторонних лиц на территории.
Техника безопасности для приемосдатчиков представлена в приложении 6.
ЗАКЛЮЧЕНИЕ
В дипломном проекте разрабатывался технико-распорядительный акт (ТРА) станции Гранит. Состоит ТРА из четырех разделов.
В первом разделе «Характеристика отделения», приводится характеристика отделения: классификация станций с количеством путей; описываются имеющиеся перегоны (чем оснащены, протяженность,); проведены расчеты по нахождению потребной и наличной способности.
Во втором разделе «Разработка ТРА» приводится характеристика станции Гранит, ее классность; перечисляются прилегающие к станции перегоны, на которые отправляются нечетные и четные поезда, с указанием главных путей, установленных средств связи по движению поездов по каждому из них; приводится краткая характеристика примыкающих к станции подъездных путей, приписанных к ней, стрелки примыкания; дается специализация (назначение) каждого пути станции («Приемоотправочный», «Сортировочный»), его границы, длина в 4-осных вагонах; указываются пути, которые выделены для приема, отправления и пропуска поездов с разрядными и негабаритными грузами; отражаются вопросы реализации требований, предусмотренных ПТЭ по эксплуатации стрелочных переводов, приводится наименование постов централизации, номера централизованных стрелок, входящих в тот или иной пост, порядок проверки их свободности от подвижного состава, перечень стрелок, которые передаются на местное управление, и соответствующие им номера колонок.. В разделе имеются сведении о размещении на станции устройств для экипировки локомотивов, вагонов, обслуживания специальных вагонов. Отдельно выделяются вопросы оснащения командных пунктов, откуда ведется управление приемом, отправлением
Также перечисляются районы управления и круг обязанностей работников станции; описывается порядок встречи и отправления поездов; управление маневровой работой.
В третьем разделе проводятся экономические расчеты обоснования необходимости вытяжного пути.
В четвертом раздел «Охрана труда» содержится перечень негабаритных мест на территории станции, где работники, связанные с движением поездов, должны проявлять особую внимательность и осторожность, а также меры безопасности при работе в указанных местах. С требованиями Правил техники безопасности и производственной санитарии для работников станций и вокзалов разрабатываются меры, в частности, устанавливаются наиболее безопасные маршруты прохода работников к рабочим местам.
СПИСОК ЛИТЕРАТУРЫ
- Правила технической эксплуатации железных дорог. М., Транспорт, 1987 г.
- Инструкция по движению поездов и маневровой работе на железных дорогах. М., Транспорт, 1985 г.
- Акулиничев В.М., Кочнев Ф.П., Организация движения на железнодорожном транспорте. - М.: Транспорт, 1979 г.
- Сотников И.Б. Эксплуатация железных дорог в примерах и задачах. М.: Транспорт 1978 г.
- Рожниковский М.А., Буканов М.А., Безопасность движения поездов. М.: Транспорт, 1979 г
- Инструкция по движению поездов и маневровой работе на железных дорогах. М.: Транспорт, 1986г. 240 с.
- Безопасность движения на железнодорожном транспорте: Учебное пособие. Гомель, 1988. 122 с.
- Акулиничев В.П., Куджрявцев В.А., Применение математических методов и вычислительной техники в эксплуатации железных дорог. М.»Транспорт», 1973 г
- Олейник О.А. Анализ производственных процессов железных дорог методами математической статистики. М. ВЗИИТ, 1975 г.
- Сметанин А.И. Техническое нормирование эксплуатационной работы железных дорог. М. Транспорт, 1984, 295 с.
- Железнодорожный транспорт. Серия «Безопасность движения». ОИ/ЦНИИТЭИ МПС.
- Журнал «Железнодорожный транспорт» отраслевые журналы - по указанию руководителя.
- Садиков П.П., Лебедева Т.П. Техническое оснащение станций. М. Транс-желдориздат, 1963.155 с.
- Основные требования к техническому оснащению участковых станций. Труды Всесоюзного научно-исследовательского института железнодорожного транспорта.
- Сметанин А.И. Техническое нормирование эксплуатационной работы железных дорог. М. Транспорт, 1984, 295 с.
- Железнодорожный транспорт. Серия «Безопасность движения». ОИ/ЦНИИТЭИ МПС.
- Журнал «Железнодорожный транспорт» отраслевые журналы - по указанию руководителя.
- Садиков П.П., Лебедева Т.П. Техническое оснащение станций. М. Транс-желдориздат, 1963.155 с.
- Основные требования к техническому оснащению участковых станций станций. Труды Всесоюзного научно-исследовательского института железнодорожного транспорта. М. Трансжелдориздат, 1989 г.
- Ратников В.Д. Автоматизация сортировки вагонов на станциях. «Железнодорожный транспорт», 1988 г.
- Бураков В.А. Методика определения экономической эффективности. М. Транспорт. 1989 г.
- Омаров А Д. и др. Экологическая безопасность на транспорте. Алматы, 1999 г.
- Денисенко Г.Ф. Охрана труда. Учебное пособие для ВУЗов. Москва, 1985 г.
- Под редакцией Князевского Б.А. Охрана труда. Москва, 1982 г.
- Бузанов СП., Харламов В.Ф. Охрана труда на железнодорожных станциях. Москва,1986г.
26.Организация движения на железнодорожном транспорте./Под.ред. проф. Кочнева Ф.П., Транспорт., 1979 г.
27.Методические указания курсовому проекту по дисциплине «Железнодорожные станции и узлы»
28. Методические указания курсовому проекту по дисциплине «Робота отделения железной дороги»
ПРИЛОЖЕНИЕ 1
СХЕМА ОТДЕЛЕНИЯ

ПРИЛОЖЕНИЕ 2
ГРАФИК ДВИЖЕНИЯ

ПРИЛОЖЕНИЕ 3
СХЕМА СТАНЦИИ

ПРИЛОЖЕНИЕ 4
Экономическая эффективность
Капитальные вложения на строительство вытяжного пути
|
Наименование |
ед-цы изм. |
величина измерителя |
ст-ть за ед-цу, млн. тенге |
сумма, млн. тенге |
|
Стоимость укладки железобетонной рельсошпальной решётки P-65 с учетом затрат на сборку, укладку и балластировку |
км |
0,3 |
21 |
6,3 |
|
Стоимость укладки стрелочных переводов с переводными брусьями с учетом сборки, укладки, балластировки |
шт. |
1 |
2,2 |
2,2 |
|
Стоимость отсыпки земляного полотна |
км |
0,3 |
4,664 |
1,4 |
|
Стоимость электрической централизации стрелок |
шт |
1 |
1,995 |
1,995 |
|
Всего |
11,895 |
Экономия от сокращения простоя грузовых поездов на подходе к станции составляет 2989350.
Время окупаемости строительства вытяжного пути и составляет 4 года.
Результаты расчетов показывают, что строительство вытяжного пути экономически целесообразно.
ПРИЛОЖЕНИЕ 5
ДЕТАЛЬ ПРОЕКТА

ПРИЛОЖЕНИЕ 6
ИНСТРУКЦИОННАЯ КАРТОЧКА ПРИЕМОСДАТЧИКА
Средства индивидуальной защиты.
Старшему приемосдатчику, приемосдатчику груза выдается бесплатно по установленным нормам специальная одежда, обувь и другие средства индивидуальной защиты. Нормы выдачи бесплатной спецодежды, обуви и индивидуальных средств защиты согласно Приказу №25 от 18.09.1950г.
Следующие:
- валенки;
- костюм «гудок»;
- полу плащ из брезента;
- рукавицы комбинированные;
- костюм х./б или халат;
- сигнальный жилет.
Требования безопасности перед началом работы.
Старший приемосдатчик, приемосдатчик груза работают в условиях повышенной опасности. Нарушения правил техники безопасности на железнодорожных путях может повлечь за собой травматизм с тяжелым исходом.
Ежесменное в 8 час 30 мин ДС или ДСП проводит инструктаж перед вступлением на дежурство, с целью уяснения оперативной обстановки и разъяснения безопасных приемов и возможных опасностей при предстоящей работе, напоминает работникам маршруты следования служебных проходов.
Старший приемосдатчик, приемосдатчик груза обязаны перед началом работы установить порядок выполнения операций, осмотреть рабочее место и обеспечить приведение его в состояние, гарантирующее безопасность работы, не допускать нахождения на местах работ посторонних лиц. Проверить исправность электропроводки, розеток, электроприборов. Об обнаруженных при вступлении на дежурство неисправностях или других отступлений от требований техники безопасности и производственной санитарии следует доложить соответствующему руководителю для принятия мер к устранению выявленных нарушений.
Требование безопасности во время работы.
Старший приемосдатчик, приемосдатчик груза обязаны:
- следить за соблюдением габарита при погрузо-разгрузочных работах;
- правильно использовать средства индивидуальной защиты;
- обеспечивать ограждения переносными сигналами путей, на которых выполняются погрузо-разгрузочные работы, а также следить за тем, чтобы:
а) находящие в его ведении склады и площадки, в части их содержания и освещения соответствовали нормам, установленным Правилами техники безопасности и производственной санитарии;
б) рабочие места содержались в чистоте и обеспечивалось посыпка их в зимнее время при гололеде песком;
в) все объекты грузового хозяйства, где выполняются грузовые и коммерческие работы, были освещены;
г) выгруженные или подготовленные к погрузке грузы были размещены, уложены и закреплены с соблюдением требований должностной инструкции.
Запрещается становится на рельс между остряком и рамным рельсом или желоба на стрелочном переводе, переездах, перехода, садится на рельсы, ходить внутри колеи и по концам шпал.
При выполнении операции пломбирование вагонов и контейнеров приемосдатчик обязан:
- перед пломбированием убедиться, что на подходах отсутствует движущие локомотивы, вагоны;
- при пломбировании пользоваться приставными лестницами;
- при наложении проволочных закруток или продевании проволоку через пломбу следить за тем, чтобы концами проволоки не нанести себе травму;
- пользоваться только исправными пломбированными тисками;
- при поступлении под погрузку вагонов с опасными грузами приемосдатчик обязан перед началом работ проверить вагон в течение 10 минут, открыть двери вагонов с 2 сторон. Перед разгрузкой вагонов, отравляющих веществ, кислот и других химических веществ, предварительное проветривание должно производиться не менее 30 минут.
Меры электробезопасности.
Старший приемосдатчик, приемосдатчик груза имеют группу допуска первой квалификационной группы, ежегодно сдают экзамены, должны иметь элементарное представление об опасности электротока, а также уметь практически оказать пострадавшему первую помощь.
На электрифицированных станциях запрещается:
а) подниматься на опоры контактной сети или приближаться к находящимся под проводом или частям контактной сети на расстояние ближе 2 м;
б) прикасаться к электрическому оборудованию электроподвижного состава как непосредственно, так и через какие-либо предметы;
в) подниматься до снятия напряжения и заземления контактной сети на крышу вагона, находиться на ней, открывать люки цистерн и на грузах, погруженных на открытом подвижном составе.
Запрещается прикасаться к оборванным проводам контактной сети, находящимся на ней посторонним предметам не зависимо от того, касаются они или не касаются земли или заземленных конструкций.
При обнаружении обрыва проводов контактной сети или линии электропередачи пересекающих ж.д. пути, а также свисающих с находящимся на ней посторонних предметов необходимо немедленно сообщить об этом ДСП или ДНЦ и принять меры к недопущению приближения людей к месту обрыва провода на расстояние ближе 10 м.
Требования по обеспечению пожара и взрывоопасности.
К работе старшего приемосдатчика, приемосдатчика груза допускаются лица после прохождения противопожарного инструктажа. Крайне важно соблюдать противопожарный режим, правила пожарной безопасности:
- производственные помещения должны соблюдаться в чистоте;
- проход и подход к противопожарному инвентарю должны быть свободными;
- необходимо уметь пользоваться огнетушителем;
- при возникновении пожара необходимо вызвать пожарную охрану по телефону и при возможности приступить к тушению пожара имеющимися средствами.
Меры безопасности при нахождении на ж.д. путях.
При нахождении на ж.д. путях старший приемосдатчик, приемосдатчик груза обязаны соблюдать следующие меры предосторожности:
1) быть одетым так, чтобы одежда не мешала движениям, а пуговицы верхней одежды были застегнуты. Головной убор не должен мешать нормальной слышимости, обувь должна быть на широком каблуке;
2) по территории станции и подъездным путям к месту работы и с работы проходить по установленному маршруту служебного прохода;
3) проходить вдоль путей только по обочине путей или по середине междупутья, при этом следить за движущимися поездами, маневрирующими составами и локомотивами, отцепами вагонов;
4) при ходьбе обращать внимание на устройства и предметы, находившиеся на пути следствия, чтобы не споткнуться;
5) при выходе на путь из-за подвижного состава из помещения и т.д. предварительно убедиться в отсутствии движущегося подвижного состава;
6) при переходе через путь занятый стоящим подвижным составом на другую сторону, пользоваться только тормозными площадками вагонов, предварительно убедившись в исправности их поручней, подножек и настила площадки. Запрещается подлезать под вагоны;
7) при обходе стоящих на путях вагонов или локомотивов запрещается переходить путь на расстоянии от них не менее чем 5 метров, а проходить в пространство между расцепленными вагонами (локомотивами) при расстоянии между ними не менее 10 метров;
8) прежде чем сойти с тормозной площадки вагонов на междупутье, необходимо убедиться в исправности подножек, поручней, а также в отсутствии движущихся по смежному пути локомотивов или вагонов;
9) садиться на тормозную площадку и сходить с нее запрещается только при стоянке вагонов;
10) при безостановочном следовании поездов со скоростью свыше 120 км/ч находиться от ближайшего рельса пути, по которому следует поезд, на расстоянии не менее 5 м;
11) при движении поездов с меньшими скоростями или маневровых составов заблаговременно отходить в безопасное место (по обочине или междупутью) на расстояние не менее 2 м от крайнего рельса, а при движении поезда или малогабаритного состава с негабаритным грузом не менее чем на 2,5 м.
Требования безопасности в аварийных ситуациях.
При возникновении аварийных ситуаций необходимо:
- немедленно прекратить работу;
- оказать помощь пострадавшим;
- вызвать врача или скорую помощь;
- принять меры по сохранности оборудования, если это не угрожает собственной безопасности;
- принять противопожарные меры;
- сообщить ДС о случившемся;
- по возможности локализовать аварийную ситуацию.
При обнаружении неисправности оборудования, инструмента, инвентаря сообщить ДС (ДСП), сделать запись в журнале 1-ой ступени контроля.
Требования безопасности по окончании работ.
При сдаче дежурства старший приемосдатчик, приемосдатчик груза обязаны:
- доложить непосредственному руководителю о выполненной работе и представить отчетные данные по установленной работе и представить отчетные данные по установленной форме;
- сдать вступающей смене переводные и отчетные документы, учетные книги, пломбированные тиски, инвентарь и материалы;
- осмотреть находящиеся в его ведении станционные помещения, а также грузы, расположенные на открытых площадках, убедиться в пожарной безопасности и отсутствии посторонних лиц на территории.
Техника безопасности для приемосдатчиков представлена в приложении 6.
н
0.5Lп
0,5Lп
0,5Lп
Lвс
Lпр
lт
Lпр
lвх
lт+lв
г)
в)
0,5
0,25
2,9
1,0
3,65