Разработка технологии получения фрикционных материалов для реставрации тормозных колодок железнодорожных вагонов
МИНИСТЕРСТВО ОБРАЗОВАНИЯ И НАУКИ РЕСПУБЛИКИ КАЗАХСТАН
Костанайский социально технический университет
имени академика З. Алдамжар
Технический факультет
Кафедра Организации перевозок и транспорт
Специальность 050713 «Транспорт, транспортная техника и технологии»
«Утверждаю»
и.о.зав. кафедрой
___________ Сагимбаев Р.И.
«____»__________________2009
ЗАДАНИЕ
по дипломному проектированию студенту
Мелихова Валерия Николаевича______________________________
1 Тема проекта: «Разработка технологии получения фрикционных материалов для реставрации тормозных колодок железнодорожных вагонов»
2 Утверждена приказом по университету от «___»_________2009 №___
3 Срок сдачи студентом законченного проекта _____________________
4 Исходные данные к проекту (спец. указания по проекту)
а) Литературный обзор по теме проекта
б).Патентный поиск
в) Произвести оптмизацию технологического процесса
г) Провести активный эксперимент
д) Провести опытно-промышленные испытания
е) Произвести технико-экономические расчеты по оценке целесообразности внедрения результатов исследований проекта
5 Содержание расчетно-пояснительной записки (перечень подлежащих разработке вопросов) :
1. Анализ состояния вопроса фрикционных материалов
2. Технология получения фрикционных материалов на основе композиций ТЭП
3. Научно-исследовательская часть
4. Технико-экономическая оценка проекта
5. Раздел «Охрана труда».
6. Раздел «Охрана окружающей среды».
6 Перечень графического материала (с точным указанием обязательных чертежей)
1. Свойства исходных компонентов
2. Технологические свойства наполнителей
3. Технологическая схема получения БСП- композиций
4. Схема системы питания
5,6,7Физико-механические свойства БСП- композиций
8. Охрана труда
9. Экономическая эффективность проекта.
Дата выдачи задания «19»_декабря_2008 г.
Руководитель проекта ________ Иманов А.Н.
/подпись/
Задание принял к исполнению _______ Мелихов В.И
Содержание
Введение …………………………………………………………………………..5
1 Литературный обзор ……………………………………………………………7
1.1 Термопластичные полимеры …………………………………………….7
1.1.1 Полиолефины ………………………………………...........................7
1.1.2 Термоэластопласты ………………………………………………….8
1.2 Виды и особенности свойств термоэластопластов …………………….9
1.3 Получение, переработка и применение термоэластопластов ………..11
1.3.1 Получение термоэластопластов …………………………………...11
1.3.2 Твердофазная полимеризация ……………………………………..11
1.3.3 Переработка термоэластопластов ………………………………....12
1.3.4 Применение термоэластопластов ………………………………....12
1.4 Основы создания фрикционных изделий………………………….......16
1.4.1 Практические примеры решения задач триботехники…………..16
1.4.2 Сроки службы трущихся деталей машин………………………….17
1.4.3 Рабочие поверхности деталей и их контактирование. общие сведения деталей и ее геометрия…………………………………………………….18
1.4.4 Шероховатость поверхности……………………………………...18
1.4.5 Показатели качества поверхности…………………………………..19
1.4.6 Механизм изнашивания полимеров и еомпозиций на их основе...20
1.4.7 Материалы для трущихся деталей. разделение материалов деталей пар трения по их назначению……………………………………………..21
1.4.8 Композиционные материалы ( кпм ) в качестве антифрикционных материалов………………………………………………………………...22
1.4.9 Численные критерии работоспособности материалов в парах трения.……………………………………………………………………...25
1.4.10 Некоторые правила сочетания материалов……………….…..27
2 Основы создания фрикционных изделий.…………………………………....33
2.1 Объекты исследования …………………………………………….........33
2.2 Методы исследований ……………………………………………..........34
2.2.1 Определение плотности ……………………………………............34
2.2.2 Способ получения ТЭП ………………………………………........35
2.2.3 Изготовление образцов для испытаний …………………………..36
2.2.4 Определение показателя текучести расплава …………………….36
2.2.5 Методы исследования реологических свойств …………………..38
2.2.6 Исследования релаксации напряжений ТЭП ……………………..39
2.2.7Исследование деформационно-прочностных свойств ТЭП …......39
2.2.8 Исследование динамических механических свойств ТЭП ……...40
2.2.9 Метод оценки долговечности ТЭП …………………………........40
2.2.10 Структурные исследования ……………………………………...41
2.2.11 Определение теплопроводности …………………………….......41
3 Научно-исследовательская часть ……………………………………………44
3.1 Разработка твердофазного метода получения ТЭП при экструзии….44
3.2 Релаксационные свойства и структурные характеристики ТЭП ……47
3.3 Реологические свойства высоконаполненных ТЭП …………………..51
3.4 Технология твердофазной полимеризации СКМС-30 и ПЭНД в процессе экструзии ……..………………………………………...................58
3.5 Эксплуатационные свойства …………………………………………...62
4. Экономическая часть………………………………………………………..69
40.1 Расчет капитальных вложений………………………………………69
4.2 Планирование технологического оборудования ……………………..69
4.3 Расчет стоимости зданий и сооружений ………………………………70
4.4 Стоимость технологического оборудования ………………………….70
4.5 Расчет стоимости технологической (силовой) электроэнергии ……..74
4.6 Расчет численности рабочих цеха……………………………………...77
4.6.1 Расчет численности производственных рабочих цеха по рабочим местам на основании норм обслуживания по агрегатам……………….77
5 Охрана труда ………………………………………………………………….82
5.1 Нормативно правовая база ………………………………………........82
5.2 Анализ опасных и вредных факторов ……………………………........83
5.3 Мероприятия по повышению безопасности труда …………………...85
5.4 Мероприятия по противопожарной безопасности ………………........87
6. Промышленная экология …………………………………………….............92
6.1 Нормативно-правовая база ……………………………………………..92
6.2 Анализ состояния окружающей среды ………………………………..94
6.3 Утилизация и ликвидация полимерных отходов ……………………...96
Заключение ………………………………………………………………………99
Список использованных источников …………………………………………100
Приложение……………………………………………………………………………………102
Введение.
Как прикладные, так и чисто научные аспекты полимерного материаловедения развиваются весьма интенсивно в течение двух последних десятилетий. Однако темпы его развития все еще значительно ниже, чем следовало ожидать, исходя из широты тех областей знания, которые оно охватывает, и потенциальной технической важности полимерных материалов. В Западной Европе, например, по некоторым (хотя и оспариваемым) оценкам использование полимерных материалов в высоконагруженных узлах трения составляет только 1020% от общего объема использования в этих узлах металлов за научные разработки и их внедрение
Недостаточное развитие прикладного полимерного материаловедения признается рядом учреждений в разных странах, ответственных за научные разработки и их внедрение
Полимерное материаловедение, развивающееся на базе фундаментальных наук о полимерных композициях химии, физике, физической химии и механике, выделилось в настоящее время в самостоятельный раздел общего материаловедения. Значительно увеличилась роль полимерных материалов различных типов: конструкционных пластиков, резин, защитных покрытий, волокон, пленок, клеев, компаундов, герметиков и др. в современной технике, технологии и в быту. Полимерное материаловедение вносит существенный вклад в развитие новых принципов создания материалов, в первую очередь композиционных, с направленным регулированием их структуры и свойств.
Решение указанных задач при проектировании узлов трения должно исходить из основных принципов создания машин и агрегатов. Машины и агрегаты должны иметь высокие технико-экономические и эксплуатационные показатели, главными их которых являются экономичность, долговечность, объем и стоимость ремонтных работ при эксплуатации и безопасность обслуживания.
По данным Государственной Академии инженеров железнодорожного транспорта около15 млн.штук тормозных колодок требуют реставрации или полной замены. В Республике Казахстан до настоящего времени отсутсвуют специализированные предприятия по реставрации или по произодству тормозных колодок для железнодорожного транспорта ввиду отсутствия материалов фрикционного назначения и технологий по реставрации и производства новых тормозных систем, то негативно отражается на производственной деятельности вагоноремонтных предприятий Казахстана.
С 2000 года Научно-технический центр «Композиционные материалы» п композиционных материалов специального назначений на базе отечественного сырья и материалов с целью расширения ассортимента специальных материалов и наиболее полного удовлетворения ими потребности казахстанских предприятий. Одним из направлений работы НТЦ «КМ» является программа «Разработка и освоение производства фрикционных материалов для автомобильного и железнодорожного транспорта предприятий Казахстана на основе сырьевых ресурсов Казахстана.»
Настоящая дипломная работа выполнена в рамках вышеуказанной программы в сотрудничестве со специалистами ТТЦ «КМ», РХТУ им. Д.И. Менделеева , Института машиноведения ( г.Москва ) и Академии транспорта (г. Алматы ). Следует отметить, что данные представленные в настоящей работе являются первыми в Республике Казахстан и должны рассматриваться как результаты поисковой и проблемных НИР, проводимых без государственного или отраслевого финансирования по разряду инициативных программ. Отмечая инициативную направленность НИР программы НТЦ «КМ, нельзя не отметить заинтересованность в результатах работы в этом направлении первых руководителей вагоностроительных предприятий гг. Атырау, Караганды и Алматы. Немаловажным фактором при выборе темы настоящей дипломной работы была достигаемая экономические эффективность и безопасность государства. В связи с этим постановка обозначенной проблемы в рамках государственных задач на взгляд является первостепенной задачей Министерства транспорта и коммуникации и Министерства образования РК.
В совокупности вышеуказанные обстоятельства предопределяют актуальность и своевременность темы настоящей дипломной работы и требует должного внимания соответствующих ведомств и служб Республики Казахстан.
1. Литературный обзор.
1.1 Термопластичные полимеры
Термопласты (ТП) полимерные материалы на основе линейных или разветвленных полимеров, сополимеров и их смесей, обратимо переходящих при нагревании в пластическое или вязкотекучее состояние в результате плавления кристаллической или размягчения аморфной (стеклообразной) фаз. Наиболее распространены ТП на основе гибкоцепных (главным образом карбоцепных) полимеров, сополимеров и их смесей полиолефинов (полиэтилена, полипропилена, поли-4-метил-1-пентена), поливинилхлорида, полистирола, полиметилметакрилата, поливинилацеталей, производимых в больших объемах и имеющих сравнительно низкую стоимость; они обладают низкими температурами плавления и размягчения, тепло- и термостойкостью.
По фазовому состоянию ненаполненные ТП могут быть одно- и двухфазными аморфными, аморфно-кристаллическими и жидкокристаллическими.
- Полиолефины
Полиолефины высокомолекулярные полимеры, получаемые гомо- и сополимеризацией олефинов по радикальному, ионному или координационноионному механизму.
Молекулярно весовым распределением (МВР). Полиэтилен промышленных марок охватывает область молекулярных весов от 80000 до 500000. На практике вместо молекулярного веса определяют показатель текучести расплава.4-метил-1-пентен кристаллизующийся бесцветный прозрачный термопластичный полимер изотактической структуры. Он получается в суспензии в органическом растворителе путем полимеризации 4-метилпентена при температуре до 80°С и давлении до 3 кгс/см2 в присутствии металлоорганических катализаторов. Полученную суспензию поли-4-метил-1-пентена в мономере промывают, полимер отжимают и сушат, после чего в него вводят стабилизирующие добавки и гранулируют.
Поли-4-метил-1-пентен является жестким прозрачным полимером с высокой теплостойкостью.
Поли-4-метил-1-пентен обладает высокой химической стойкостью к некоторым органическим жидкостям, маслам, водным растворам кислот и щелочей. Поли-4-метилпентен-1, подобно другим полиолефинам, нестоек к окисляющим средам.
Поли-4-метил-1-пентен выпускается по ТУ в виде композиций с различными стабилизаторами.
Перерабатывается всеми известными для термопластов методами. Применяется для изготовления оболочек для проводов и кабелей, светотехнических изделий, корпусов электрических приборов, прозрачной пленки для электро- и радиоизоляции, работающих в более жестких температурных условиях, чем полиэтилен, лабораторной, чайной и столовой посуды и др., а также волокон.
В зависимости от молекулярного веса и содержания изотактической части свойства полипропилена могут изменяться в широких пределах. Наибольший
Полипропилен выпускается в виде порошка белого цвета или гранул с насыпной плотностью 0,40,5 г/см3. Полипропилен выпускается стабилизированным, окрашенным и неокрашенным.
Полипропилен более жесткий материал, чем полиэтилен. Его поведение при растяжении еще в большей степени, чем полиэтилена, зависит от скорости приложения нагрузки и от температуры. Чем ниже скорость растяжения полипропилена, тем выше значение показателей механических свойств. При высоких скоростях растяжения разрушающее напряжение при растяжении полипропилена значительно ниже его предела текучести при растяжении.
Полипропилен имеет более высокую температуру плавления, чем полиэтилен, и соответственно более высокую температуру разложения. Чистый изотактический полипропилен плавится при 176°С. Максимальная температура эксплуатации полипропилена 120140°С. Все изделия из полипропилена выдерживают кипячение и могут подвергаться стерилизации паром без какого-либо изменения их формы или механических свойств. реосходя полиэтилен по теплостойкости, полипропилен уступает ему по морозостойкости. Его температура хрупкости (морозостойкость) колеблется от -5 до -25°С.
Полипропилен химически стойкий материал. Заметное воздействие оказывают на него только сильные окислители хлорсульфоновая кислота, дымящая азотная кислота, галогены, олеум.
Полипропилен чувствителен к действию кислорода, особенно при повышенных температурах. Этим и объясняется значительно бльшая склонность полипропилена к старению по сравнению с полиэтиленом.
Полипропилен водостойкий материал. Даже после длительного контакта водой в течение 6 месяцев (при комнатной температуре) водопоглощение полипропилена составляет менее 0,5%, а при 60°С менее 2%.
Из полипропилена литьем под давлением (основной метод) изготовляют детали машин, арматуру, экструзией пленки, трубы. Около 40% полипропилена перерабатывается в волокна. Большое значение приобретают наполненные композиции на основе полипропилена (наполнители мел, тальк, графит, сажа и др.), в том числе электропроводные и магнитоактивные.
- Термоэластопласты
Термоэластопласты (термопластичные эластомеры), полимерные материалы, обладающие в условиях эксплуатации высокоэластичными свойствами, характерными для эластомеров, а при повышенных температурах обратимо переходящие в пластическое или вязкотекучее состояние и
перерабатывающиеся подобно термопластам. прочность возрастают, а относительное удлинение при разрыве уменьшается. Предельная температура эксплуатации зависит от температуры стеклования жесткого блока и составляет 7080°С для бутадиен -a- метилстирольного и 4050°С для бутадиен- или изопренстирольных термоэластопластов.

1 блоки полистирола; 2 блоки полибутадиена.
Рисунок 1.1 Схема распределения фаз в блоксополимере
бутадиена и стирола
Наличие фаз в структуре блок-сополимера связано с несовместимостью эластичного и стеклоподобного блоков. При невысоких температурах домены удерживаются относительно друг друга силами Ван-дер-Ваальса, образуя сетчатую структуру физической природы (рисунок 1.1).
Термоэластопласты имеют высокие значения прочности при растяжении, относительного удлинения, эластичности, сопротивления раздиру и стойкости к многократным деформациям и морозостойкости. Оптимальные физико-механические свойства достигаются в тех случаях, когда разность между температурами стеклования соответствующих блоков превышает 100°С.
1.2 Виды и особенности свойств термоэластопластов
Свойства термоэластопластов обусловлены особенностями их структуры образованием двухфазной системы вследствие термодинамической несовместимости гомополимеров, образующих жесткие блоки термопласта (например, полистирола, полиэтилена, полибутилентерефталата и т.п.) и эластичные блоки (например, полибутадиена, полиизопрена, полиоксиалкиленгликоля, сополимеров этилена с пропиленом и т. п.) в макромолекуле. В свою очередь свойствами этого класса материалов объясняется возрастающий спрос на изделия из ТЭП.
Термоэластопласты представляют собой блоксополимеры с жесткими (например, полиэтиленовыми, полистирольными, поливинилхлоридными, полиакрилатными) блоками и гибкими эластомерными блоками (полибутадиеновые, полиизопреновые, этилен пропиленовые и др.) [4]. Термоэластопласты обладают прочностью и эластичностью вулканизованных резин, но при переработке не требуют проведения вулканизации, что значительно упрощает производство изделий и сокращает затраты на этот трудоемкий процесс. Поэтому стоимость изделий из ТЭП ниже стоимости изделий из резины.
Изделия из термоэластопластов характеризуются высокой стойкостью к истиранию, действию озона, минеральных масел, высокой прочностью при растяжении, сравнительно большим относительным удлинением. Изделия из ТЭП могут применяться в диапазоне температур от -45 до 130 °С. Перспективно также применение ТЭП в качестве модификаторов термопластов и каучуков.
Существует много видов термоэластопластов, из них самые распространенные на основе EPDM каучука и полипропилена, на основе ненасыщенных полиэфиров, на основе стирольных блок-сополимеров. Свойства композиций ТЭП зависят от соотношения компонентов, составляющих смесь. В таблице 1.1 приведены характеристики механических свойств некоторых видов ТЭП.
Таблица 1.1 Механические свойства некоторых термоэластопластов.
|
Тип ТЭП |
Прочность при растяжении, МПа |
Относительное удлинение, % |
Твердость по Шору |
|
Полистирол полиизопрен полистирол Полистирол полибутадиен полистирол Полисульфон полисилоксан полисульфон |
32 31 21 |
1110 880 700 |
66 72 80 |
Отечественной промышленностью выпускаются некоторые типы ТЭП-композиций, например, на основе дивинилстирольных каучуков и полистиролов по ТУ 2243-154-00300209-2001. Кроме полимеров композиции содержат мягчители, наполнители, парообразователи (для вспенивающихся композиций) и другие ингредиенты. Композиции выпускаются в гранулах с размерами от 2 до 10 мм. Их разделяют по твердости, которой соответствует несколько марок, и по прочностным показателям, в зависимости от которых они разделяются на несколько видов. В таблице 1.2 представлены свойства ТЭП на основе стирола и дивинилстирольного каучука.
1.3 Получение, переработка и применение термоэластопластов.
1.3.1 Получение термоэластопластов
Синтез термоэластопластов осуществляется с помощью катализаторов, образующих так называемые живые цепи, сохраняющие способность к росту в течение неограниченного времени.
В качестве катализаторов такого типа промышленное признание получили литийорганические соединения. Они позволяют получать полимеры с более регулярной микроструктурой эластомерного блока, чем при использовании органических соединений других щелочных металлов, и тем самым обеспечить термоэластопластам лучший комплекс свойств. Литийорганические инициаторы, используемые для синтеза термоэластопластов, должны обладать высокой скоростью инициирования, обеспечивающей получение полимеров с узким молекулярно-массовым распределением. С этой целью обычно
Наиболее удобны для синтеза циклоалифатические углеводороды (например, метилциклогексан) или их смеси с алифатическими углеводородами (например, смесь циклогексана и гексановой фракции). Применение таких смесей позволяет вести синтез термоэластопластов в широком температурном интервале от 30о до 80°С.
Существует ряд способов синтеза термоэластопластов. Из них промышленное признание получили способ последовательной полимеризации мономеров и способ сочетания двухблочных сополимеров полифункциональными агентами сочетания. Эти способы могут использоваться при синтезе бутадиен-стирольных (ДСТ), изопрен- стирольных (ИСТ), бутадиен -- метилстирольных (ДМСТ) и бутадиен- стирол- - метилстирольных (ДСМСТ) термоэластопластов.
1.3.2 Твердофазная полимеризация
Полимеризация в твердой фазе протекает при температурах ниже температуры плавления мономера. Этот метод не нашел широкого распространения, так как затруднено инициирование полимеризации (низкие температуры, трудности равномерного распределения инициаторов, аппаратурное оформление и др.). Наиболее удобными являются способы инициирования твердофазной полимеризации светом, излучениями высоких энергий, причем могут реализоваться свободнорадикальный, ионный или смешанный (ионно-радикальный) механизмы полимеризации. [1]
Твердофазная полимеризация полимеризация мономеров, находящихся в кристаллическом или стеклообразном состоянии. Дальний порядок и фиксированное расположение молекул в кристаллическом мономере обусловливают ряд кинетических и структурных особенностей твердофазной полимеризации. Наиболее распространенным способом инициирования такой полимеризации является радиационный (быстрые электроны, рентгеновские лучи и т.д.); возможно также термическое, химическое и фотохимическое инициирование. Природа активных центров растущих цепей при твердофазной полимеризации определяется природой мономера и способом инициирования, и ими могут быть радикалы, катионы и анионы. [2]
Процесс так называемой твердофазной полимеризации, для описания механизма которой часто применяется термин «топохимический» [13], открывает исключительно интересные возможности и для кристаллографических исследований. Кроме того, интерес к этому процессу стимулируется и возможностью получения методом твердофазной полимеризации полимеров очень высокой степени кристалличности, макромолекулы которых ориентированы вдоль определенных кристаллографических направлений кристалла мономера. На основании перечисленных наблюдений Эдлер [13] пришел к выводу, что для объяснения механизма образования полимерных кристаллов в рассмотренном случае необходимо привлечь представление об эпитаксиальном росте. Очевидно, эта модель сохранила бы свою силу даже в том случае, если бы удалось получить кристаллический стереорегулярный полимер на основе акриламида. [8]
1.3.3 Переработка термоэластопластов
Термоэластопласты можно перерабатывать как методами, обычными для термопластов (экструзия, литье под давлением), так и методами, характерными для эластомеров (вальцевание, каландрование). Оптимальная температура переработки термоэластопластов литьем и экструзией 150200°С; при более низких температурах может протекать интенсивная механодеструкция, при более высоких окисление [4].
Экструзия термоэластопластов. Для переработки ТЭП используют одношнековые экструдеры со сменной рифленой втулкой в зоне загрузки с увеличенным шагом и глубиной нарезки [4]. Шнеки барьерного типа длиной 25-30D с двумя смесительными секциями: первая с диспергирующе -смесительными спиральными элементами интенсивного сдвига; вторая ромбовидная смесительно-распределительная секция. Степень сжатия 3,5:1. Возможно также использование стандартных трехзонных шнеков, используемых также для переработки ПВХ- пластиката.
Подсушка перед переработкой не требуется, но если материал внесен из холодного помещения, рекомендуется подсушить в течение 2 ч при температуре 80°С.
1.3.4 Применение термоэластопластов
Как указывалось выше, основное применение мягких ТЭП это уплотнители. ТЭП, производимые ЗАО «Уралпластотехника» по ТУ 5775-011-00149279-2001, предназначены для изготовления уплотнителей к оконным и дверным блокам. Уплотнители работоспособны при температуре окружающего воздуха от -50 до 80°С [4] .Гарантийный срок службы не менее 10 лет. Виды выпускаемых уплотнителей и их размеры показаны на рисунке 1.2. В таблтце 1.3 представлены нормативные и фактические данные по свойствам уплотнителей, представленных на рисунке 1.2.
Всемирно известные корпорации Мерседес-Бенц, БМВ, Крайслер, Мицубиси, Ниссан, Пежо, Рено, АвтоВАЗ активно наращивают объемы применения изделий из ТЭП типа «Сарлинк» и «Сантопрен» в производстве автомобилей, используя его для герметизация опускных окон автомобилей, в качестве наружных молдингов, уплотнителя крепления зеркала, для герметизация фар, изготовления уплотнения окантовки ветрового стекла, спойлера, в качестве противоударного амортизатора капота, для воздухоотводов, в качестве уплотнителя системы рамной безопасности, для герметизации радиатора, крышки багажника, неопускного окна, средней стойки. Соединение изделий производится сваркой или склейкой.
В таблице 1.3 приведены характеристики профильных изделий Владимирского электромоторного завода из ТЭП, показанные на рисунке 1.3.
Таблица 1.3 Профильные изделия из ТЭП Владимирского химического .завода.
|
Параметры |
Метод испытаний |
Единица измерения |
Средняя величина |
|
|
Группа 1 |
Группа 2 |
|||
|
Твердость Плотность Прочность на растяжение Относительное удлинение при разрыве ПТР Озоностойкость Атмосферостойкость |
ASTM D 2240 ASTM D 792 ASTM D 412 ASTM D 412 ASTM D 1238 ASTM D 518 ASTM D 1149 ASTM G 5384 |
Shore A г/см3 МПа % г/10 мин Напряженное состояние Напряженное состояние Свойства Цвет |
65±2 1,195±0,025 6,5±5 900±50 2,0±0,5 Отсутствие трещин Отсутствие трещин Макс. разница 5% Стоек |
80 0,96 9,5 820 1 Отсутствие трещин Отсутствие трещин Макс. разница 5% Стоек |

Рисунок 1.2 Типы уплотнительных профилей из ТЭП
Таблица 1.4 Свойства уплотнителей из ТЭП по ТУ 5775-011-00149279-01..
|
Наименование показателя |
Норма по ТУ |
Фактические показатели |
|
Условная прочность при растяжении, МПа, не менее Относительное удлинение при разрыве, %, не менее Температура хрупкости, °С, не выше Остаточная деформация (при деформации сжатия 25% в течение 24 ч при Т=70 °С), %, не более Изменение значения показателей после старения на воздухе в течение 24 ч при Т=125 °С, %, не более: прочность при растяжении относительное удлинение при разрыве твердость по Шору (шкала А), усл. ед. Стойкость к термосветоозонному старению при Т=40 °С в течение 96 ч при объемной доле озона (5±0,5)·10-5% при статической деформации растяжения 20% |
5,0 150 - 45 50 Снижение 25 Снижение 50 Изменение от +5 до -5 Не допускаются трещины, видимые невооруженным глазом |
10,9 868 - 61 47,5 Снижение 17,1 Снижение 6,2 Снижении 3 Трещины отсутствуют |
В последние годы термоэластопласты все более широко применяются для изготовления силовых шланговых кабелей. Это связано как с их свойствами, близкими к свойствам резин, так и с возможностью переработки на обычном экструзионном оборудовании без вулканизации. В таблице 1.5 приведены общие свойства этого вида ТЭП.
Таблица 1.5 Свойства ТЭП Hytrel [5]
|
Наименование материала |
Краткая характеристика |
Области применения |
|
Hytrel 3548 Hytrel G-4774 Hytrel7246 |
Цвет натуральный Повышенная стойкость к ударным нагрузкам Модуль упругости 400-2000 МПа Высокая химическая стойкость Теплостойкость до 80 °С Переработка методом литья пол давлением и экструзии (для высоковязких композиций) на стандартном оборудовании |
Уплотнения, шестерни, хомуты, мембраны и др. |
Одним из наиболее известных типов ТЭП являются термоэластопласты фирмы DuPonl (США) под торговой маркой Hytrel на основе ненасыщенных полиэфиров, Это конструкционный материал с высокой усталостной прочностью, стойкостью к раздиру и ползучести, обладающий высокой прочностью на удар. Изделия из него сохраняют свойства в широком диапазоне температур. Материал легко перерабатывается методом литья под давлением и экструзией с раздувом. Для разных марок Hytrel твердость по Шору (шкала D) находится в диапазоне от 35 до 72.
Изделия из ТЭП находят вес большее применение при производстве различных уплотнителей, мягких, полужестких и теплостойких трубок, товаров для быта.
Основные характеристики уретановых термоэластопластов работоспособность при температурах от -40о до 80°С (некоторые материалы выдерживают кратковременное повышение температуры до 120°С), высокая износостойкость, стойкость к набуханию в маслах и неполярных растворителях, атмосферостойкость, высокая радиационная стойкость. Уретановые термоэластопласты отличаются большой упругостью при низких температурах, высоким сопротивлением разрыву и раздиру, хорошими эластичными и амортизирующими свойствами. Однако для них характерны увеличение хрупкости вследствие высокого теплообразования при многократных быстро повторяющихся деформациях, выцветание под действием ультрафиолетового облучения, плохая стойкость к полярным растворителям и гидролизу при повышенных температурах.
Используют такие термоэластопласты для изготовления РТИ в автомобильной, тракторной промышленности, строительстве, а также изделий бытового назначения, обуви, оболочек кабеля и др.
1.4 Основы создания фрикционных изделий.
1.4.1 Практические примеры решения задач триботехники
Повышенный износ деталей в сочленениях в одних случаях нарушает герметичность рабочего пространства машины (например, в поршневых машинах), в других нарушает нормальный режим смазки, в третьих приводит к потере кинематической точности механизма.
Износ инструмента и рабочих органов машин, помимо снижения производительности, повышает расход энергии. Например, с износом и затуплением зубьев ковша экскаватора уменьшается сечение срезаемой стружки грунта, увеличивается сопротивление резанию последнего, требуется больший путь для заполнения ковша.
Износ и повреждение поверхностей снижают сопротивление усталости деталей и могут служить причиной их разрушения даже при незначительных концентраторах напряжений и весьма низких номинальных напряжениях. Повышенный износ нарушает нормальное взаимодействие деталей в узлах, может вызвать значительные дополнительные нагрузки, удары в сопряжениях и вибрации, стать причиной внезапных разрушений. С повышенным износом нередко связан недопустимый шум машин.
Износ цилиндропоршневой группы двигателя увеличивает засорение воздуха отработавшими газами: 100 изношенных автомобилей загрязняют воздух отработавшими газами как 125 новых автомобилей.
Укажем некоторые примеры решения задач триботехники на промышленных предприятиях.
1.Более кардинальным методом было бы накатывание зеркала цилиндра, однако твердость азотированной поверхности зеркала препятствовала достаточной производительности этого процесса: накатной ролик изнашивался в течение 3040 мин работы.
- На самолете после 400500 посадок в результате повы
шенного износа выходили из строя верхние бронзовые буксы
амортизаторов шасси, что вынуждало ремонтировать амортиза
ционные стойки с заменой букс. Для уменьшения удельных на
грузок на буксу ее высота была увеличена в 1,5 раза. Однако эта
мера не устранила повышенного износа букс. В результате по
исков было установлено, что бронза БрАЖМц, из которой изго
товляли буксы, имела очень низкую износостойкость в условиях
смазывания спиртоглицериновой смесью. Замена этой смеси мас
лом АМГ-10 устранила повышенный износ букс. - В 4. Гидроэлектростанции вырабатывают самую дешевую электроэнергию. Они способны выходить на режим максимальной мощности в сотни раз быстрее, чем тепловые и атомные электростанции. Это особенно важно при автоматизированном управлении энергосистемами, прежде всего при возникновении и компенсации «пиковых» нагрузок. Такое преимущество в большой степени зависит от надежной работы подпятников турбин (особенно при пуске), которые воспринимают вес ротора и водяной напор в общей сложности десятки меганьютонов. В ряде случаев, после 1530, а иногда и после 23 пусков агрегат необходимо останавливать, разбирать и восстанавливать подпятник.
Разработаны специальные системы, обеспечивающие гидростатическую разгрузку подпятников турбин. Применяют также эластичные металлопластмассовые опоры. Число безопасных пусков достигло 25 и более.
1.4.2 Сроки службы трущихся деталей машин
Срок службы машин календарная продолжительность эксплуатации изделия до разрушения или другого предельного состояния. Предельное состояние может устанавливаться по изменениям параметров, условиям безопасности, экономическим показателям, по необходимости первого капитального ремонта и т. п.
Выход из строя деталей и рабочих органов машин при нормальных условиях эксплуатации является следствием физического износа разных видов: усталостных разрушений, ползучести материалов, механического износа, коррозии, эрозии, кавитации, старения материала и др.
Современное состояние теории рабочих процессов машин, наличие обширной экспериментальной техники для определения рабочих нагрузок и высокий уровень развития прикладной теории упругости при относительно хороших знаниях физических и механических свойств материалов позволяют обеспечить достаточную прочность деталей машин с большой гарантией от поломок их в нормальных условиях эксплуатации. Поэтому наиболее распространенной причиной выхода деталей и рабочих органов машин из строя является не поломка, а износ и повреждение рабочих поверхностей.
Особенно велик износ деталей и рабочих органов машин-орудий, которые эксплуатируются в абразивной и агрессивных средах, и деталей транспортных машин, работающих в условиях грязи и пыли. Например, ресурс дробящих плит составляет в среднем 46 мес., зубьев ковшей экскаваторов, ножей скреперов и бульдозеров, шнеков 68 мес. На дробилке массой 6 т при дроблении высокоабразивных пород расходуется в год 17 т дробящих плит. Контрольные сроки службы до капитального ремонта угольных комбайнов 812 мес., а конвейеров в угольных шахтах 23 года. Лемех тракторного плуга в среднем обрабатывает до полного износа всего 1520 га почвы, это вынуждает ежегодно изготовлять для сельского хозяйства свыше 20 млн. лемехов, не говоря уже о том, что на тяжелых почвах режущая кромка лемеха требует ремонта через 4б ч работы плуга. Годовая потребность в запасных звеньях приводных агрегатов сельскохозяйственных машин составляет около 100 млн. шт.
1.4.3 Рабочие поверхности деталей и их контактирование. общие сведения деталей и ее геометрия
В технике под поверхностью детали понимают наружный слой, который по строению и другим физическим свойствам отличается от внутренних слоев. Комплекс свойств, приобретаемых поверхностью детали в результате ее обработки, характеризуется обобщенным понятием «качество поверхности».
Всякое реальное тело имеет отклонения от идеальной геометрической формы, именуемые погрешностями. Погрешности обработанной поверхности с точки зрения причин их образования и методов измерения, применяемых для их оценки, можно подразделить на три категории: макрогеометрические отклонения, волнистость поверхности, шероховатость поверхности.
Макрогеометрическими называют отклонения формы поверхности от заданной. Так, детали с боковой поверхностью кругового цилиндра могут иметь следующие погрешности: отклонения контура от окружности (овальность, огранка); отклонения от прямолинейности образующих при прямолинейности оси цилиндра (бочкообразность); отклонения от прямолинейности образующих (конусность); криволинейности оси. Величина и характер этих отклонений могут быть определены путем измерения диаметра детали в различных поперечных сечениях по длине, а в данном поперечном сечении в различных направлениях.
1.4.4 Шероховатость поверхности
Количественно шероховатость можно оценить по тем или иным показателям. ГОСТ 278973 предусматривает шесть параметров, характеризующих шероховатость поверхности: три высотных Ra, Rz и Rmax, два шаговых S и Sm и относительная опорная длина профиля tp.
На профилограмме положение средней линии профиля определяют так, чтобы площади F по обе стороны от нее до контура профиля были равны, т. е. чтобы
\y(X)dX=0 ИЛИ Fl + F9+... + Fn-l*=F2 + Ifi+...+Fn.
Относительная однородность микронеровностей поверхности детали позволяет судить о шероховатости в данном направлении по результатам обследования участка сравнительно небольшой длины. Длину базовой линии, используемую для выделения неровностей, характеризующих шероховатость поверхности, называют базовой длиной /.
Высота неровностей профиля по десяти точкам Rz представляет собой сумму средних абсолютных значений высот пяти наибольших выступов профиля и глубин пяти наибольших впадин профиля в пределах базовой длины. Де у pi высота t'-ro наибольшего выступа профиля; yVi глубина i-й наибольшей впадины профиля.
Наибольшая высота неровностей профиля Rmax является полной высотой профиля, т. е. расстоянием между линией выступов профиля и линией впадин профиля в пределах базовой длины. Главными показателями шероховатости поверхности являются Ra и Rz. В ГОСТ 278973 можно найти другие показатели: S, Sm и tp.
Профилограммы обработанной поверхности, как правило, имеют пилообразную форму; это является результатом того, что вертикальное увеличение во много раз больше горизонтального (например, 40 000 и 400 соответственно). Иногда создается представление, что при трении обработанные поверхности зацепляются своими зубцами. В действительности профиль поверхности выглядит иначе (рис. 2.3). Отдельные неровности имеют пологую форму. Угол между плоскостью основания выступа профиля и касательной к его боковой поверхности составляет при доводке 13°, при шлифовании 10° и при точении 20°, Самые гладкие металлические поверхности имеют неровности высотой порядка 100 межатомных расстояний.
1.4.5 Показатели качества поверхности.
Качество поверхности деталей характеризуется микро-и макрогеометрией поверхности, волнистостью, структурой, упрочнением и остаточными напряжениями. Глубина поверхностного слоя и качество поверхности зависят от основного материала, вида обработки, основных параметров инструмента, режима обработки и рода смазочно-охлаждающей жидкости.
Поверхностный слой неоднороден по строению (рис. 2.5). Граничный слой 1 состоит из адсорбированной пленки газов, влаги и смазочно-охлаждающей жидкости, которую можно удалить лишь нагревом детали в вакууме

Структура поверхностного слоя шлифованной детали из
углеродистой сталислой не изменяется по толщине, а слои 2 и 3 уменьшаются соответственно меньшим давлению и температуре поверхности при обработке.
Поверхностный слой может находиться в напряженном состоянии. Остаточные напряжения в нем при механической обработке могут достигать 5601000 МПа и быть как сжимающими, так и растягивающими. Шлифовочные трещины возникают под действием высоких внутренних напряжений растяжения. Остаточные напряжения растяжения снижают предел выносливости детали.
1.4.6 Механизм изнашивания полимеров и еомпозиций на их основе.
Взаимодействие полимеров и резины с металлической поверхностью может быть либо механическим, либо молекулярным. Последнее проявляется только в виде адгезии. Зацепление неровностей поверхностей играет большую роль, так как пластическая деформация поверхностного слоя полимера под воздействием неровностей металлической поверхности, увеличивая число пятен контакта, увеличивает и число зацеплений. Это торично стимулирует развитие пластической деформации активных слоев. В результате значительно возрастает сила трения. Если материал эластичный, например резина, то при прочих равных условиях шероховатость металлической поверхности не оказывает такого влияния, так как при отсутствии пластической деформации на перемещение затрачивается меньшая работа.
Если адгезия значительна, то разрушение возникающей связи возможно как по полимеру, так и по металлу. В итоге будет перенос материала с полимера на металл, с металла на полимер или одновременно с одной поверхности на другую. Это также объясняет наблюдаемое изнашивание более твердого металла более мягким полимерным материалом.
Из термопластов с точки зрения механизма изнашивания особый интерес представляет политетрафторэтилен (ПТФЭ).
При шероховатости стальной поверхности более Ra = Q,l мкм ПТФЭ начинает интенсивно изнашиваться. Повышается и коэффициент трения. Подобное явление наблюдается при понижении температуры до 20°С: происходит срезание полимера выступами неровностей твердой сопряженной поверхности.
Полимерные материалы часто оказываются эффективными как покрытия или облицовочный материал в узлах трения, где, казалось бы, нужно применять особо твердые материалы. Некоторые полимеры могут поглощать большое количество энергии, прежде чем от их поверхности отделится частица. Это свойство полимеров используется, например, для повышения износостойкости ротора и статора флотационных установок, установок по перекачке пульпы в химической промышленности. Преимуществом полимеров является еще и то, что они не подвержены коррозии.
Для уменьшения трения и снижения износа полимерного материала в него добавляют различные активные вещества, которые в процессе трения взаимодействуют с рабочими поверхностями пары трения. На рис. 3.14 приведена зависимость коэффициента трения от давления при различных смазочных материалах. Значительное влияние смазочного материала на коэффициент трения можно объяснить различием физико-химических процессов, протекающих в зоне контакта.
На процесс трения между металлом и полимерными материалами влияет температура. С повышением температуры ухудшаются упругие свойства материала и в зависимости от температуры происходят химические процессы распада органического связующего или самого материала. Кроме того, если пластмассы обладают высокой адгезией к металлу, то с повышением
Химические факторы в процессе изнашивания проявляются своеобразно. При повреждении поверхности полимера происходит разрушение отдельных молекулярных цепей, освобождаются свободные валентные радикалы и выступают наружу отдельные элементы в атомарном состоянии, что позволяет металлу и полимеру вступать в химическое взаимодействие. Образующиеся соединения разрушаются и возникают вновь.
1.4.7 Материалы для трущихся деталей. разделение материалов деталей пар трения по их назначению.
Трущиеся детали в зависимости от их назначения изготовляют из конструкционных, фрикционных, износостойких и антифрикционных материалов широкой номенклатуры. Во многих случаях материалы наносят в виде покрытия, пленок или накладок на остов из основного конструкционного материала., металлокерамических и неметаллических материалов.
Фрикционные материалы это материалы, которые в контакте с металлической поверхностью имеют высокий коэффициент трения. Они применяются в тормозах и фрикционных муфтах и разделяются на органические (дерево, кожа, пробка, войлок), металлические (чугун, стали, марганцовистая сталь и др.), асбестокаучуковые, пластмассовые (текстолит, асботекстолит, фибра) и металлокерамические. Подробные сведения о фрикционных материалах и проблеме фрикционности приведены в работах [18, 28].
Из всех пар трения подшипники скольжения вызывали в свое время наибольшую трудность в обеспечении их длительной нормальной работы в силу высоких удельных нагрузок при сравнительно больших скоростях скольжения. Для таких подшипников были разработаны сплавы с малым коэффициентом трения, получившие название антифрикционных (разумеется, при работе в паре со стальным валом). В дальнейшем любой подшипниковый материал (как металлический, так и неметаллический) с твердостью меньшей твердости сопряженной детали, стали называть антифрикционным.
Понятие «антифрикционность» включает комплекс свойств, которому должен удовлетворять подшипниковый; способность образовывать прочный граничный слой смазочного материала и быстро восстанавливать его в местах, где он разрушен; низкий коэффициент трения при несовершенной смазке и отсутствия заедания на валу в случае перерыва подачи смазочного материала; высокую теплопроводность, теплоемкость и прирабатываемость; хорошую износостойкость сопряжения; недефицитность и высокую технологичность. Сведения об антифрикционных материалах указаны в источниках .
Все пары трения, как правило, должны обладать антифрикционностью, под которой следует понимать комплекс свойств, которым должно удовлетворять сочетание трех тел: материалов пары трения и применяемого смазочного материала. Последний является таким же конструктивным фактором, как и материал детали. Заметим, что износостойкость является требованием, общим для всех материалов, в том числе и фрикционных, за исключением приработочных покрытий.
Подходя к антифрикционности с общих позиций, в парах трения трудно отделить антифрикционные материалы от износостойких. Пара поршневое кольцо цилиндр должна быть износостойкой, иметь малый коэффициент трения и хорошо прирабатываться, а кольцо должно еще иметь высокую упругость. При подборе материала кольца по показателю высокой износостойкости пары всегда неявно имеют в виду и антифрикционность.
1.4.8 Композиционные материалы ( кпм ) в качестве антифрикционных материалов
КПМ применяют в подшипниках и в парах поступательного движения благодаря следующим преимуществам: достаточной износостойкости и невысокому коэффициенту трения в некотором диапазоне скоростей и нагрузок; хорошей прирабатываемости, коррозионной стойкости к наиболее распространенным агрессивным средам; пригодности для работы во многих других жидкостях; способности некоторых пластмасс к самосмазыванию при низких температурах, когда масла и пластичные смазочные материалы не применяются; малой плотности (в 5 8 раз меньше плотности стали, меди и свинца и в 34 раза титана); низкой стоимости; слабой чувствительности к ударам; бесшумности в работе; немагнитности. Применение пластмасс для изготовления подшипников экономит цветные металлы и снижает эксплуатационные расходы [26-29].
В зависимости от условий эксплуатации пластмассы в узлах трения могут работать при смазывании минеральными маслами, эмульсиями, пластичными смазочными материалами, водой, а некоторые из них и без смазывания.
Применяя пластмассы в узлах трения, следует учитывать и отрицательные их качества: низкую теплопроводность; разбухание при контакте с жидкостями; значительное тепловое расширение; невысокую теплостойкость; высокую податливость (низкий модуль упругости, в особенности у термопластмасс); старение полиамидов и других пластмасс, приводящее, в частности, к их охрупчиванию; ползучесть при нормальной температуре (холоднотекучесть).
Важное преимущество термопластических материалов перед термореактивными при использовании в подшипниках состоит в следующем. Кромочный контакт в подшипнике из термореактивной пластмассы опасен, поскольку при нагреве материал разлагается и обугливается, а это увеличивает силы трения и может вызвать повреждение пары. Термопластичный материал при нагреве размягчается, благодаря чему происходит быстрая приработка подшипника к валу.
Полиамиды по сравнению с другими пластическими массами имеют следующие преимущества: однородность материала; хорошие демпфирующие свойства при относительно высокой прочности на растяжение и изгиб; низкая стоимость исходного продукта; простота технологической переработки в изделия.
Алюминий и латунь сильно изнашиваются полиамидами. Лучше всего работают детали в паре закаленная стальполиамид. При хорошем смазывании маслами рекомендуется удельная нагрузка не выше 5 МПа. Смазывание водой менее эффективно, чем маслами. Допустимую нагрузку следует в этом случае уменьшить на 5070%.
С полиамидами сходны по своим свойствам полиуретаны.
Из других термопластичных материалов, используемых в качестве антифрикционных, укажем на полиэтилен, винипласт и фторопласт-4. Винипласт материал с низкой теплопроводностью и теплостойкостью, мало работоспособен в условиях ударных нагрузок, может воспринимать только небольшую, спокойную нагрузку. Полиэтилен имеет весьма низкие прочностные характеристики, его коэффициент линейного расширения в 68 раз выше, чем у полиамидов. С понижением температуры полиэтилена модуль упругости его растет, но даже при температуре жидкого воздуха он невысок. Фторопласт-4 отличается хладотекучестью и низкой теплопроводностью, он не поглощает воду, нефтепродукты и другие жидкости. Коэффициент трения фторопласта по стали без смазочного материала и фторопласта по фторопласту 0,04. Наполнителями могут быть графит, медный порошок, дисульфид молибдена, двуокись титана; они улучшают теплопроводность, несколько снижают холодотекучесть и увеличивают коэффициент трения. Шероховатость поверхности вала при использовании фторопластовых подшипников должна быть не ниже Ra = Q,Q8... 0,16 мкм во избежание намазывания вала фторопластом. Фторо-пласт-4 дает большую усадку от 4 до 7%, его невозможно склеивать или сваривать; отходы после его механической обработки нельзя использовать без деполимеризации. Армировать его технологически сложно и не всегда эффективно. Материал высокотоксичен, что вызывает необходимость в специальных мерах для защиты людей при его переработке и изготовлении изделий.
Армирование термопластиков увеличивает их прочность, модуль упругости (в 34 раза), повышает стабильность размеров и теплостойкость. Распространение получили армированный нейлон, полиэтилен, поликарбонат и др. При некоторых условиях износостойкость армированного нейлона выше, чем у закаленной стали.
Из термореактивных пластмасс в узлах трения применяют пластмассы на основе фенол- или крезолформальдегидной смолы (текстолит, волокнисто-, древесно-слоистые материалы, древесная прессованная крошка, пластифицированная прессованная древесина) и композиции на основе эпоксидных смол.
У термореактивных материалов коэффициент линейного расширения более низкий, однако при назначении зазоров в подшипниках надо учитывать обычно большую толщину стенки подшипника из слоистого материала. Большая податливость под нагрузкой термопластичных материалов является в некоторых случаях недостатком, однако при этом быстрее устанавливается режим трения при жидкостной смазке.
Слоистые пластмассы применяют главным образом для изделий больших размеров, при значительных удельных нагрузках.
Выбор термопластичных или термореактивных пластмасс следует проводить с учетом всех факторов. Из нейлона изготовляют зубчатые муфты для портативных мотор- генераторов, мотопомп и т. п., имеющих по сравнению со стальными муфтами меньшие массу и размеры; детали двигателей для стеклоочистителей автомобилей и приводные звездочки и др. Нейлоновые ленты в конвейерных установках для транспортирования пищевых продуктов износостойки, стойки к воздействию кислот, щелочей и крепких соляных растворов и хорошо стерилизуются при обработке водяным паром.
Детали из полиамида используют в подшипниках заводского оборудования, в узлах рессор, педалей управления и шарниров рулевых тяг автомобилей, в педалях велосипедов, в опорах гребных валов на малых судах, в осях сельскохозяйственных машин, а также в подшипниках, смазываемых бензином, керосином и другими перекачиваемыми жидкостями. Применяют также полиамидные ролики, направляющие и кнопки механизмов управления; имеется опыт применения полиамидов для изготовления поршней в пищевых машинах пускателях. Подшипники выдерживают до 1 млн циклов, и долговечность их во много раз выше, чем при использовании бронзовых втулок. Свойство материала впитывать масло позволяет подшипнику работать нормально после прекращения смазывания 2540ч.. Рекомендуют применять лаки в узлах трения с большими удельными нагрузками, прерывистой работой и на этапе приработки. При повышении скорости скольжения и увеличения нагрузок долговечность лаков снижается.
Композиционный материал, состоящий из стальной подложки и пористой бронзовой матрицы, пропитанной и покрытой смесью ПТФЭ со свинцом, работает следующим образом. Стальная подложка обеспечивает механическую прочность, а бронзовый промежуточный слой прочное соединение твердого смазочного материала с подложкой. Пористая бронза улучшает теплопроводность подшипника, снижая температуру на опорной поверхности. Тепловое расширение по окружности подшипника те же по величине, как и у стали, поэтому необходимый зазор поддерживается постоянным во всем диапазоне рабочих температур.
1.4.9 Численные критерии работоспособности материалов в парах трения.
Проверку правильности выбора материалов пар трения скольжения при заданных или принятых сопрягаемых размерах деталей и определение этих размеров при проектном расчете производят по некоторым критериям. Наиболее простой способ проверки заключается в расчете по среднему давлению р. Способ пригоден для пар трения, работающих с малыми скоростями скольжения при невысоких температурах окружающей среды, и имеет целью обезопасить сочленение от возможного заедания. Для шарнирно-болтовых соединений предельные значения удельных нагрузок (МПа) приблизительно могут быть приняты: для закаленной стали по стали до 15, закаленной стали по баббиту 9, закаленной стали по бронзе 8, закаленной стали по чугуну 6, незакаленной стали по баббиту б, незакаленной стали по бронзе 5.
Если режим трения пары определяется не только давлением, но и скоростью скольжения v, то применяют принятый в конструкторской практике расчет по величине fv. Идея метода состоит в следующем: если f коэффициент трения скольжения, то pv представляет собой удельную мощность трения. Поскольку надежная работа подшипника, тормоза или другого узла возможна лишь при теплонапряженности, не превышающей определенную величину для данной конструкции и условий ее эксплуатации, то условие надежности подшипника по теплонапряженности можно записать: pv=, где А предельное количество теплоты в механических единицах, которое может отводиться с единицы площади диаметральной проекции подшипника в единицу времени. Приняв / постоянным, получим это условие в виде pv=const.
В действительности зависимость между предельными значениями р и v сложнее, чем изображаемая равнобокой гиперболой y = const. Представление о свойствах материалов в паре трения в образцах или в деталях дает построенная по результатам испытаний рудиаграмма, на которой предельные значения р и v нанесены в соответствии с наиболее лимитирующими условиями работы пары. Такими условиями являются механическая прочность, теплостойкость неметаллическихматериалов, рушение прочности масляной пленки.
1.4.10 Некоторые правила сочетания материалов.
Подбор наиболее подходящих материалов для пар трения скольжения можно в каждом отдельном случае сделать только на основании тщательного сопоставления условий работы трущихся деталей, исходных свойств материалов и тех изменений, какие они претерпевают на поверхностях трения, а также при учете других обстоятельств. Сформулируем некоторые правила подбора материалов:
- Сочетать твердый материал с мягким, имеющим температуру рекристаллизации ниже средней температуры поверхности трения при работе. При таком сочетании металлы хорошо противостоят заеданию и характеризуются высокой надежностью. Хорошие результаты дают пары хрома резина при смазывании
- минеральным маслом и водой и хром бронза при использовнии пластичных смазочных материалов.

1- 483 К,2- 503 К и 3-553 К . Марки полимера: а- БСП ; 6-БСП; в- БСП 20908-040; г- БСП 21060. к
Рис. 4.5. Зависимость общего количества выделившихся кислых лету
чих продуктов GK при контактной термоокислительной деструкции по-
лиолефинов от времени выдержки ттпри температурах 463 К .
бот, эксперименты, как правило, проводились в условиях, затрудняющих сравнительную оценку термостабильности полимеров, поэтому полученные результаты могут использоваться в данном случае лишь частично. Термоокислительная стабильность полиолефинов оценивалась в настоящей работе по результатам дифференциального термического анализа (ДТА), дифференциального термогравиметрического анализа (ДТГ) (рис. 4.4) и динамоксиметрического анализа (ДО). Количество кислых летучих продуктов деструкции полимеров регистрировали кондуктометрически. Результаты исследований приведены на рис. 4.5 и в табл. 4.3.

1.-БСП 10803-020 + 30% каолин; 2- БСП 10803-020 + 30% асбест; 3-БСП 10803-020 + 30% технического углерода; 4-БСП 15803-020 + 30% каолин; 5-БСП 15803-020 + 30% талька; 6-БСП 20908-040 + 30% каолина; 7-БСП 20908-040 + 50% каолин; S- БСП 21008-075 + 50% каолин.
Заштрихованная часть диаграммы соответствует при переработке базовой марки полимера
.

1-ПЭНП 10803-020 + 20% асбеста; 2-ПЭНП 15803-020 + 25% стекловолокна; 3-ПП 21030 + 25% стекловолокна; 4-ПП 21020 + 33% асбеста
Рис. 4.19. Диаграмма удельной скорости изнашивания образцов.
при переработке: комбинации органических с модифицированными соединениями - пластификаторами. Например, при наличии в рецептуре композита триок-сида сурьмы в сочетании с хлорпарафином выделяющийся при горении хлористый водород взаимодействует с триоксидом сурьмы с образованием оксохлорида сурьмы, который в свою очередь разлагается при определенной температуре с выделением трихлорида сурьмы [163]. Однако хлористый водород в процессе дегидрохлорирования хлорпарафина может выделять пирооксины.
|
Таблица 4.8. Резкими испытаний Фрикционный материал Т4, К N, об/мин 483 21,0 Композиция 1 483 21,0 Композиция 2 483 21,5 Композиция 3 483 21,5 Композиция 4 483 21,0 Композиция 5 483 21,5 16 0,34 СП 209-47 503 21,0 14 0,29 СП 210-63 453 22,0 8 0,24 |
Примечание. Температура цилиндра по зонам для СП 209-47 составляла: Г, = 393 К, Г2=438К, Т3=473К; для остальных композиций: Т4 = 383 К, Т2 = 423 К, Г3 = 443 К. Продолжительность одного этапа во всех случаях была равна 10,8 кс.
бинации органических галогенпроизводных с соединениями сурьмы. Например, при наличии в рецептуре композита триоксида сурьмы в сочетании с хлорпарафином выделяющийся при горении хлористый водород взаимодействует с триоксидом сурьмы с образованием оксохлорида сурьмы, который в свою очередь разлагается при определенной температуре с выделением трихлорида сурьмы [163]. Однако хлористый водород в процессе дегидрохлорирования хлорпарафина может выделять летучие газы.

Рис. 4.24. Диаграмма удельных скоростей изнашивания образцов, изготовленных
из стали 40ХН2МА, при переработке трудносгораемых V композиций:
1-СП 107-61; 2-СП 210-63; 3~СП 209-47; 4-композиции 1; 5-композиции 2; J\ 6-композиции 3; 7-композиции 4; 5-композиции 5; 9-композиции 6. -^ Состав композиций указан в табл. 4.7. Заштрихованная часть диа-К грамм соответствует uz при переработке базовой марки полимера.
7-1.8550 (ионное азотирование при 803 К в течение 24 ч); 2-Reiloy P-48;
З-Reiloy Р-48 (803 К, 36 ч); 4-Akrit B55-Mo-P; 5-Akrit B55P + 50%
Рис. 4.35. Зависимость удельной скорости изнашивания образцов, изготовленных из стали 40ХН2МА, при переработке композиционных полимерных материалов:объясняется большей собственной подвижностью коротких волокон и снижением их кинетической энергии вследствие уменьшения массы.
Данные, приведенные на рис. 4.35, позволяют определить наивыгоднейший режим переработки, например, композиции ПЭВП 15803-020 + 25% стекловолокна. В качестве параметра оптимизации режима переработки использовали отношение производительности к удельной скорости изнашивания образцов. На рис. 4.37 приведена зависимость производительности экструдера от температуры переработки, используемая для получения зависимости параметра оптимизации от условий переработки (рис. 4.38). Оптимальные параметры переработки: р = = 16-4-17 МПа, Г=473 4-483 К.
Несколько иная картина наблюдается при переработке композиции, вызывающей коррозионное изнашивание образцов (см. рис. 4.35, д, е). Влияние давления на удельную скорость из-

Рис. 4.36. Влияние средней длины стекловолокна LB на удельный износ AG/S образцов, изготовленных из стали 9S 20К; рт„ = 84 МПа; Тр = 593 К.
Рис. 4.37. Зависимость производительности от температуры переработки при постоянном сопротивлении головки и разных давлениях массы р: 1-20,5 МПа; 2-16,5; 3-12,5 МПа. 1^Q

Рисунок 5.5. Диаграммы удельного износа AG/S образцов, изготовленных из различных сталей, после переработки 10 кг композиции ПА6,6 + + 35% СВ :
1.-855К (ионное азотирование при 803 К в течение 29 ч); 2-1.8519 (ионное азотирование при 803 К в течение 30 ч); 5-1.2601 (закалка); 4-1.2344 (ионное азотирование при 803 К в течение 24 ч); 5-1.3344 (закалка); 6-1.2311 (борирование при 1173 К в течение 6 ч); 7-1.2379 (закалка); S1.2779 (ионное азотирование при 783 К в течение 30 ч).

СВ (а) и 5 кг полиэфирной смолы, наполненной асбестом (б) :
7-1.8550 (ионное азотирование при 803 К в течение 24 ч); 2-Reiloy P-48; З-Reiloy Р-48 (803 К, 36 ч); 4-Akrit B55-Mo-P; 5-Akrit B55P + 50%
Рис. 5.8. Диаграммы удельного износа AG/S образцов, изготовленных из различных материалов, после переработки 10 кг композиции ПА6,6 + 35% СВ (а) и 5 кг полиэфирной смолы, наполненной асбестом (б) :
Рис. 4.24. Диаграмма удельных скоростей изнашивания образцов, изготовленных
СВ (а) и 5 кг полиэфирной смолы, наполненной асбестом (б) :

|
Таблица 5.11. Износостойкие наплавочные материалы Химический состав, сплава С Сo W 1.ПГ-БСП -1 1,0 3, 0, 9 2. ПГС- БСП- 2. 1,1 2,3 0,9 1,2 3,2 0,8 4,СНГН БСП4- 0,65 3,5 1,0 4,0 0,9 000,90,80,9 |
износостойкостью, чем сплавы на основе никеля, имея при этом меньшую твердость (например, сплавы С-6 и ВСНГН-35). В еще большей мере преимущества кобальтовых сплавов проявляются в условиях коррозионно-механического изнашивания. В табл. 5.12 приведены основные сведения об испытанных сплавах.
|
Таблица Некоторые свойства износостойких ____________БСП -композиций______ Температура Плот- Твердость мат плавления, К ность, HRC г/см3 Э158 40ХН2МА 1310-1330 1230 65 1210 65 1325-1340 1310-1320 1220 65 1315-1325 1250 65 За эталон принята удельная скорость изнашивания стали 40ХН2МА. 598-75. гост 16336-77. |
2. Объекты и методы исследований
2.1 Объекты исследования
Для получения ТЭП в качестве исходных компонентов были использованиы следующие материалы:
1) ПЭНД полиэтилен низкого давления марки 273-79 ГОСТ 16338-85 Казанского завода ООО «Оргсинтез», свойства которого приведены в таблице 2.1.
Таблица 2.1 Физико-механические свойства ПЭНД 273-79
|
Наименование показателя |
Значение |
|
Плотность, кг/м3 |
959-967 |
|
ПТР при 1900С и массе груза 5кг/с, г/10мин |
0,3-0,5 |
|
Разрушающее напряжение при растяжении, МПа |
20,6 |
|
Относительное удлинение при разрыве, % |
550 |
|
Температура плавления, К |
397-405 |
|
Теплопроводность, ВтмК |
(41,8-44)10-2 |
|
Удельное поверхностное электрическое сопротивление, Ом |
1014 |
|
Степень кристалличности, % |
76-78 |
|
Тангенс угла диэлектрических потерь при 106 Гц |
(2-8)10-4 |
2) синтетический - меилстирольный каучук марки СКМС-30 ГОСТ 11138-78 Воронежского завода СК им. Е.Л.Лебедева, свойства которого представлены в таблице 2.2.
Таблица 2.2 Физико-механические свойства СКМС-30 ГОСТ 11138-78
|
Наименование показателя |
Значение |
|
Вязкость по Муни, МБ 1 4 (100°С) |
36 44 |
|
Разброс по вязкости в пределах партии, не более |
8 |
|
Условная прочность при растяжении, МПа (кгс/см2), не менее |
23,5 |
|
Относительное удлинение при разрыве, %, не менее |
550 750 |
|
Эластичность по отскоку, %, не менее |
27 |
|
Потери массы при сушке, %, не более |
0,40 |
|
Массовая доля золы, %, не более |
0,6 |
|
Массовая доля органических кислот, % |
5,0 6,7 |
|
Массовая доля мыл органических кислот, %, не более |
0,3 |
|
Массовая доля масла, % |
14 17 |
|
Массовая доля связанного мономера, % стирола, % метилстирола или % метилметакрилата |
21 - 25 |
|
Массовая доля антиоксиданта, %, не более, |
0,15 2,0 |
Таблица 2.4 Физические свойства Нигрозина спирторастворимого ГОСТ 9307-78
|
Наименование показателя |
Значение |
|
Внешний вид |
Однородный порошок черного цвета |
|
Концентрация по отношению к стандартному образцу, %, не менее |
100 |
|
Растворимость в этиловом спирте, %, не менее |
7 |
|
Массовая доля воды, %, не более |
4,5 |
|
Массовая доля анилина, %, не более |
0,8 |
|
Массовая доля золы, %, не более |
2,0 |
|
Массовая доля остатка после сухого просеивания на сите с сеткой № 016 К (ГОСТ 6613), %, не более |
0,5 |
Структурный модификатор КО «Силор» имеет pH неводного раствора 10,2-14,1, растворяется в органических растворителях, гидролизуется водой с выделением этилового спирта Т 20°С; термически устойчива до 613 К; =3,310-13 Пас при 293 К; мм=490-520, Тпл=294К.
Структурный модификатор КО «Силор» представляет диметилдиэтоксилоксановую жидкость следующей формулы:
где n+m = 1; n=0,42-0,60; m=0,40-0,58.
КО «Силор» имеет pH неводного раствора 10,2-14,1, растворяется в органических растворителях, гидролизуется водой с выделением этилового спирта Т 20°С; термически устойчив до 613 К; =3,310-13 Пас при 293 К; мм=490-520.
2.2 Методы исследований
2.2.1 Определение плотности
Пластические массы сравнительно легкие материалы. Плотность определяют гидростатическим взвешиванием стандартных брусков размером 120±2х15±0,2х10±0,2 мм. Пресс-форма для получения таблеток и стандартных брусков прессованием изображена на рис. 1. Термостатированный брусок при комнатной температуре подвешивают на тонкую медную проволоку и взвешивают на специально приспособленных аналитических весах с точностью до 0,001 г. Затем его полностью погружают в мерный стакан с дистиллированной водой, имеющей температуру 20±5 °С и взвешивают с точностью до 0,001 г.
За результат принимают среднее арифметическое из двух определений.
Через 20-30 минут определяют плотность материала по формуле:
= , (2.1)
где G масса бруска,
V объем вытесненной воды.
Плотность (относительную) отн рассчитывают по формуле:
отн = , (2.2)
где G - масса образца на воздухе, г;
G в масса образца в воде, г.
2.2.2 Способ получения ТЭП
Введение добавок и наполнителей осуществляли путем их смешения с порошкообразной ПС высокой плотности в течение 3-4 мин в вихревом смесителе под давлением 0,1-0,2 МПа с последующей грануляцией полученных смесей на лабораторном экструдере "Brabender.
Содержание СКМС-30 составляет 30- 50 масс. %.
(2.3)
где м - содержание СКМС-30 в масс %; н - плотность наполнителя; ПМ - плотность ПЭВП.
Смесь полимеров получали на лабораторном двухшнековом экструдере «Коллин» с последующим введением в состав полимерной матрицы модификаторов и наполнителей по режиму, представленному в таблице 2.5. Двухшнековый экструдер был снабжен набором смесительных кулачков для обеспечения высоких напряжений сдвига расплава полимерной матрицы.
Таблица 2.5 - Режимы грануляции ПКМ
|
Материал |
Температура, К |
Частота вращения шнека, с-1 |
|
|
цилиндра |
головки |
||
|
ПЭНД |
423-453 |
443-453 |
0,50 |
|
СКМС-30 |
433-483 |
473-483 |
0,25 |
|
ПЭНД+10 масс. % СКМС-30 |
433-473 |
463-473 |
0,25 |
|
ПЭНД+20 масс. % СКМС-30 |
433-473 |
463-473 |
0,25 |
|
ПЭНД+30 масс. % СКМС-30 |
423-473 |
463-473 |
0,30 |
|
ПЭНД+40 масс. % СКМС-30 |
423-473 |
463-473 |
0,30 |
|
ПЭНД+50 масс. % СКМС-30 |
423-463 |
453-463 |
0,30 |
2.2.3 Изготовление образцов для испытаний
Образцы готовили прямым прессованием, литьем под давлением, а также экструзией в виде лент и прутка из плоскощелевого или круглого капилляра при фиксированных скоростях сдвига. Режимы прессования образцов высоконаполненных композиций представлены в таблице 2.6.
Таблица 2.6 Режимы прессования высоконаполненных композиций
|
Материал |
Температура прессования, К |
Давление прессования, МПа |
|
|
Матрицы |
Пуансона |
||
|
ПЭНД |
493-503 |
493-503 |
100,015 |
|
СКМС-30 |
433-453 |
443-453 |
100,025 |
|
ПЭНД+10 масс. % СКМС-30 |
463-473 |
463-473 |
100,025 |
|
ПЭНД+20 масс. % СКМС-30 |
463-473 |
463-473 |
100,025 |
|
ПЭНД+40 масс. % СКМС-30 |
483-493 |
483-493 |
100,025 |
|
ПЭНД+50 масс. % СКМС-30 |
483-493 |
483-493 |
100,025 |
2.2.4 Определение показателя текучести расплава
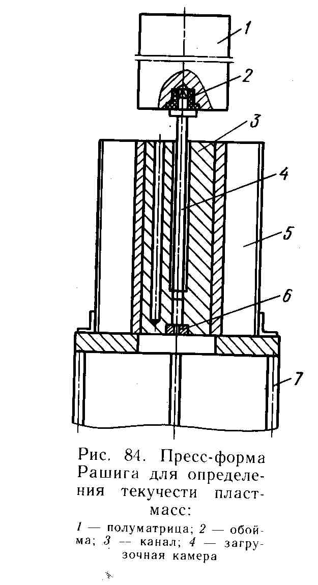
Показатель текучести расплава (ПТР) величина, характеризующая текучесть расплава полимера, определяемая как масса вещества в граммах, проходящего через стандартное сопло в течение 10 мин при 190°С, и выражающаяся в г/10 мин.
ПТР является понятием условным, однако эта величина точно характеризует поведение полимера при переработке его в изделия экструзией, литьем под давлением и другими методами [1].
Определение производят на пластометре (рисунок 2.1), который представляет собой стальной цилиндрический корпус, имеющий два продольных канала. Один канал находится в центре корпуса и служит для загрузки испытуемого материала, а другой предназначен для помещения термопары.

1 груз; 2 втулка; 3 цилиндр; 4 шток; 5 электрообогрев;
6 сопло; 7 подставка
Рисунок 2.1 Выдавливающий пластометр для определения ПТР пластмасс
В центральном канале корпуса помещается поршень из закаленной стали, по длине равный каналу; на нижнем конце поршня имеется направляющая часть.
На верхней части поршня находится втулка, на которой помещен съемный груз. В нижней части центрального канала укреплено стандартное сопло, выполненное из закаленной стали. Сопло не должно выступать за пределы корпуса.
Перед началом испытаний цилиндр и поршень прибора нагревают до 190±0,5°С и выдерживают при этой температуре 15 мин. После этого в центральный канал прибора вводят навеску испытуемого материала и опускают поршень без груза. Через 4 мин, когда в цилиндре установится температура 190±0,5оС, поршень нагружают металлическим диском массой 2160 г или 5000 г, что обеспечивает давление на расплав, равное 0,3 или 0,5 МПа соответственно.
Масса материала, загружаемого в цилиндр пластометра, и промежутки времени, через которые следует отрезать вытекающий из сопла расплав, зависят от предполагаемого значения ПТР (таблица 2.7).
За величину ПТР принимают среднее из трех определений. Разница между максимальной и минимальной массой отрезков не должна превышать 10%.
Таблица2.7. Зависимость массы загрузки и времени течения от ПТР
|
ПТР, г/10 мин |
0,151,0 |
1,03,5 |
3,510 |
1025 |
|
Масса загрузки, г |
34 |
45 |
68 |
68 |
|
Промежутки времени, с |
240 |
60 |
30 |
20 |
2.2.5 Методы исследования реологических свойств
Реологические исследования проводили на капиллярном вискозиметре постоянных объемных расходов «Реограф-2000» фирмы «Геттферт» (ФРГ).
Обогрев резервуара вискозиметра осуществляется двумя автономными кольцевыми электрическими обогревателями. Измерительный канал имеет самостоятельный нагрев. температура регулируется с помощью термозадатчиков, отдельных для каждой зоны. Точность задания температуры 0,1 К. Температура расплава контролируется с помощью точечных термопар.
Продавливание расплава через канал осуществляется плунжером, скорость движения которого варьируется в пределах от 0,01 до 20 мм/с.
Для измерения напряжения сдвига расплава композиции использовали каналы круглого и плоскощелевого сечений.
Использовали плоскощелевой канал длиной (L) = 0,085м, шириной (W) = 0,01м и толщиной (Н) = 0,01м.
Температуру испытаний варьировали в пределах от 363 до 383 К. Расчет скорости сдвига в круглом капилляре производили по формуле (2.4) [11]:
, (2.4)
где Q - объемный расход; R - радиус капилляра.
Расчет напряжения сдвига на стенке канала определяется выражением (2.5):
, (2.5)
где Р - давление в капилляре; L - длина капилляра.
Скорость сдвига при течении расплава через плоскощелевой канал определяется из соотношения (2.6):
, (2.6)
где Q - объемный расход расплава в канале (2.7):
, (2.7)
где D - диаметр вискозиметрического резервуара); Н - толщина щелевого канала; W - ширина канала
Изучение реологических особенностей в закритическом режиме проводили построением зависимости (2.9):
, (2.9)
Поведение расплавов наполненных материалов в неизотермических условиях изучали на пластографе «Брабендер» с длиной червяка 0,3 м и диаметром 0,019 м, снабженном измерительным стендом.
Материал в виде гранул загружали в бункер экструдера. Затем при постоянной частоте вращения червяка от 0,3 до 2,0 с проводили измерение крутящего момента Mкр на валу и весового расхода Q.
Переход к режимам нерегулярного течения и пристенного скольжения фиксировали по появлению амплитуды колебаний Mкр, и Q, а также по внешнему виду экструдата.
2.2.6 Исследования релаксации напряжений ТЭП
Релаксации напряжений и остаточные напряжения в образцах, полученных методом литья под давлением и экструзией, оценивали тензометрическим методом по замерам сопротивления тензодатчиков, наклеенных на деталь.
Тарировку датчиков осуществляли с помощью моста постоянного тока МВЛ-47 с точностью 0,01 Ом.
Тензодатчики располагались под углом 90° друг к другу и с двух противоположных сторон.
Расчет производили по формулам (2.10):
(2.10)
где n и n+1- напряжения в деталях; n и n+1 - деформации, измеренные прибором (разность деформаций разрезанного и целого образца); - коэффициент Пуассона; E- модуль упругости.
2.2.7 Исследование деформационно-прочностных свойств ТЭП
Оценку деформационно-прочностных свойств исследуемых композиционных материалов проводили по стандартным методикам, приведенным в таблице 2.8.
Таблица 2.8 Методики определения физико-механических свойств наполненных материалов
|
Контролируемый параметр |
ГОСТ |
|
Разрушающее напряжение при растяжении Относительное удлинение при разрыве Прочность при изгибе Показатель текучести расплава Ударная вязкость по Шарпи Плотность Модуль упругости при растяжении Водопоглощение |
11262 11262 11262 Н 645 4647 15139 95550 4650 |
Статистическую обработку полученных результатов проводили в соответствии с ГОСТ 14359-69.
2.2.8 Исследование динамических механических свойств ТЭП
Динамические механические характеристики (модуль сдвига G , тангенс угла механических потерь tg ) определяли методом свободно затухающих крутильных колебаний на обратном крутильном маятнике с электронной системой регистрации колебании.
Измерения проводили в режиме плавного подъема температуры со скоростью I град/мин в интервале 120400 К при частоте I Гц. Размеры образцов составляли: длина l = 610-2м, ширина b = 110-2 м, толщина h = 110-3 м. Расчеты производили по формулам:
, (2.11)
где К - постоянная дискриминатора; T - период колебаний маятника с образцом; Т0 - период колебаний маятника без образца; N - число колебаний маятника с образцом; N0 - число колебаний маятника без образца; J - момент инерции маятника.
2.2.9 Метод оценки долговечности ТЭП
Прогнозирование работоспособности в течение длительного времени проводили по методике ЦНИИточмаш РТМ 5550-73, согласно которой образцы выдерживались при 343 К 56 часов, при 213 К 24 часа, затем шестикратно при 243 К и 303 К 2 часа. Указанный цикл рекомендован для прогнозирования свойств изделий, сохраняющих работоспособность в течение I года. Проведено 56 циклов испытании. Оценку свойств производили: первые 5 циклов после каждого цикла, в последующем после каждых 5 циклов.
2.2.10 Структурные исследования
Структурные изменения в модифицированных полимерах исследовали методами динамического механического анализа (ДМА) на обратном крутильном маятнике МК-3; дифференциально-сканирующей калориметрией (ДСК) на термоанализаторе ТА-300»Mettler»; методом ультразвуковых испытаний (УЗИ) рентгенофазным анализом (РФА) на рентгеновском дифрактометре «ДРОН-2», термо - механический анализ на термоанализаторе ТА-3000»Mettler», по методикам.
Оптимизацию состава композиции по комплексу физико-механических свойств полученных материалов проводили методом планирования эксперимента, а обработку экспериментальных данных методом математической статистики на ПК по стандартным саморасчетным таблицам Microsoft Excel.
2.2.11 Определение теплопроводности
Степень теплопроводности различных материалов характеризуется коэффициентом теплопроводности величиной, равной количеству тепла, проходящего через образец материала толщиной 1 м и площадью 1 м2 в течение 1 ч при разности температур на противоположных, плоскопараллельных сторонах образца в 1 (ккал/м·ч·град).
Образцы для испытаний должны иметь в плане форму круга диаметром 250 мм или квадрата со сторонами 250 мм. Толщина образца (в пределах 1050 мм) должна быть измерена с точностью до 0,1 мм. Поверхности образцов должны быть плоскими и параллельными. Образцы высушивают до постоянного веса при температуре, не вызывающей деформации полимерного материала, из которого изготовлен образец [11].
Прибор, применяемый для определения теплопроводности строительных материалов (рисунок 2.2), состоит из плоского электронагревателя 1 и малоинерционного тепломера 2, установленного на расстоянии 2 мм от поверхности холодильника 3, через который непрерывно протекает вода с постоянной температурой.

Рисунок 2.2 Прибор для определения теплопроводности
На поверхностях нагревателя и тепломера заложены термопары 47. Прибор помещен в металлический кожух 8, заполненный теплоизоляцией. Плотное прилегание образца 9 к тепломеру и нагревателю обеспечивается приспособлением 10. Нагреватель, тепломер и холодильник имеют форму круга диаметром 250 мм [11].
Образец, подготовленный к испытанию, укладывают на тепломер и прижимают нагревателем. Затем устанавливают терморегулятор нагревателя прибора на заданную температуру опыта и включают нагреватель в сеть. После установления стационарного режима (в течение 30 мин показания тепломера постоянны) отмечают показания термопар по шкале потенциометра.
Коэффициент теплопроводности материалов вычисляют по формуле:
= , (2.12)
где b толщина образца в м; t1 температура горячей поверхности образца в °С; t2 температура холодной поверхности образца в С; Q количество тепла, проходящего через образец в направлении, перпендикулярном его поверхности, в ккал/м2·ч.
Количество тепла рассчитывают по следующим формулам:
- при измерении малоинерционным тепломером с воспроизводящим элементом:
Q = , (2.13)
где R постоянное сопротивление нагревателя тепломера в Ом; I ток в А; F площадь тепломера в м2;
- при измерении градуированным малоинерционным тепломером:
Q = А Е , (2.14)
где Е электродвижущая сила (э. д. с) в мВ; Акоэффициент, указанный в градуировочном свидетельстве на тепломер.
Температуру поверхностей образца измеряют при условии стационарного состояния с точностью до 0,1С, тепловой поток с точностью до 1 ккал/м2· ч, а коэффициент теплопроводности с точностью до 0,001 ккал/м·ч·град.
На рисунке 2.3 приведена схема прибора для определения коэффициента теплопроводности полимеров

Рисунок 2.3 Схема прибора для определения коэффициента теплопроводности полимеров
Прибор состоит из концентрических медных шаров 1 и 2 с шейками из латунных трубок 3 и 4. На шейку 4 надето текстолитовое кольцо 5 для сохранения концентричности шаров. Кольцо плотно входит в шейку наружного шара. Предварительно измельченный пенопласт (150 г) загружают через загрузочные отверстия 6, 7 и 8 так, чтобы она была равномерно распределена между шарами. Коэффициент теплопроводности вычисляют в ккал/м·ч·град по формуле:
= , (2.15)
где С количество испарившегося кислорода в кг/ч; r скрытая теплота парообразования в ккал/кг; R1 внутренний радиус наружного шара в м; R2 наружный радиус внутреннего шара в м; t1 температура наружного шара в С; t2 температура внутреннего шара в °С.
3. Научно-исследовательская часть
3.1 Разработка твердофазного метода получения ТЭП при экструзии
Реализация термомеханических процессов при совместной переработке в условиях приложения к макромолекулам полимера высоких напряжений и растяжения в расплаве является одним из способов модификации структуры прививкой фрагментов термоэластопластов к макромолекулам полимеров при разрыве С = С связей, что приводит к улучшению физико-механических свойств ПКМ, необходимых для конкретного применения изделий.
Механохимическую модификацию ПЭВП и ПЭНП осуществляли на лабораторном 2х шнековом экструдере с пластикаторами (рисунок 3.1), позволяющим создавать интенсивные термомеханические воздействия на расплав компонентов. Для создания интенсивных сдвиговых деформаций совместно с конструкторами ТОО «Полимер Ондирис» была разработана конструкция шнека с набором специальных смесительных элементов (рисунок 3.1). Шнеки были изготовлены на машиностроительном заводе АО « АЗТМ».

1 Стенка материального цилиндра экструдера, 2 расплав полимера смесь, 3 профиль смесительного элемента шнеков
Рисунок 3.1 Рабочий профиль смесительного элемента шнека
Эффективность поведения процесса модификации исследуемых полиолефинов, при варьировании параметров переработки температуры 1402300С и скорости вращения шнеков (N) 3060 об/мин при использовании различных конструкций смесительных кулачков экструдера оценивали по количеству связанного с полимерами фрагментов СКМС-30, которое определялось путем селективной экстракции продуктов их взаимодействия. В качестве модифицирующих добавок нами использован 10-50 масс.% метил-стирольный каучук марки СКМС-30 линейного строения при условии его введения в ПЭНД.
На рисунке 3.2 представлена зависимость степени прививки каучука к макромолекулам ПЭНД.
|
а) N=30 об/мин |
б) Т=1700С |

Температура головки экструдера:
1-200; 2-220; 3-230 50С
Рисунок 3.2 Зависимость степени прививки СКМС-30
Как видно из представленных данных, степень прививки протекает интенсивно при больших содержаниях ТЭП (5-10масс.%) и высоких скоростях сдвига шнеков (45-60 об/мин). При постоянной скорости вращения шнеков в начальный момент процессы прививки протекают слабо, что может объясняться равенством скорости образования свободных радикалов и скоростью ингибирования процессов сополимеризации ПЭ с СКМС-30. На этот факт указывают в специальных работах по твердофазному синтезу полимеров [3]. При этих условиях крайне затруднительно образование блок-сополимеров, следовательно, протекание механохимического синтеза. В связи с этим в экспериментальных работах повышали скорость вращения шнеков до 60 об/мин. При N=45-60 об/мин наблюдается рост степени прививки СКМС-30 к полимерам, что обусловлено, по- видимому, ростом концентрации свободных радикалов, на что указывает ряд экспериментальных работ Н.К. Барамбойма, проведенных в токе инертного газа [9]. В работах ИХН НАН РК под руководством академика Е.Е. Ергожина получены полимеры на основе стирола, ММА в реальных технологических условиях, что указывает на возможность введения химических превращений в процессе сдвиговых напряжений при переработке.
Исследовали влияние температуры модификации структуры ПЭВП и ПЭНП в зависимости от температуры зоны дозирования и гранулирующей головки. Из представленных данных следует, что в исследуемом диапазоне температуры зоны дозирования и гранулирующей головки 160 2400С степень прививки непрерывно снижается, что свидетельствует о преобладании термоокислительных деструкций ПЭВП и ПЭНП при повышенных температурах (выше 1700С).
Из рисунка 3.1 следует, что степень присоединения ТЭП к ПЭНП, ПЭВП или ПС наиболее интенсивно протекает по схеме ПЭНППСПЭВП. Интенсивность реакции присоединения указанных полимеров хорошо согласуется с литературными данными [7]. Возможность получения блок-сополимеров на основе ПЭ и СК в процессе грануляции подтверждается результатами эксперимента представленными на рисунке 3.2 и 3.3.
По данным инфракрасной спектрометрии (ИКС) можно судить об образовании нового блок-сополимера. В области 2000-3000 см-1 наблюдается образование новых максимумов (рис. 3.3), что свидетельствует об образовании блок сополимера СКМС-30 с полиэтиленом.
На основе полученных результатов можно судить о возможности получения блок-сополимеров ПЭВП и СКМС-30 при температуре зоны дозирования (сжатия) и гранулирующей головки 160-1700С и скорости вращения шнеков 45-60 об/мин.


Рисунок 3.3 Спектр поглощения ПЭНД и ТЭП
Полученные блок-сополимеры обладают удовлетворительными деформационно-прочностными свойствами, представленными в таблице 3.1 Установлено, что оптимальные условия реализации процесса модификации полимеров эластомерами достигаются при температуре зоны дозирования (сж) 150-160 0С, N шнеков 40-45 об/мин с использованием смесительных элементов конструкция которых приведена на рисунке 3.3.
Таблица 3.1. Деформационно-прочностные свойства модифицированных термопластов.
|
Свойства |
Ед. изм. |
Показатели свойств ТЭП |
||
|
ТЭП-10 |
ТЭП-30 |
ТЭП-50 |
||
|
Плотность |
кг/м3 |
963-965 |
967-970 |
965-975 |
|
ПТР |
г/10мин |
2,8-3,2 |
1,2-1,3 |
0,8-1,1 |
|
Разрушающее напряжение при растяжении |
МПа |
14,1 |
24,3 |
20,2 |
|
Теплостойкость по Мартенсу |
% |
125 |
131 |
130 |
|
Усадка |
% |
0,1 |
0,3 |
0,25 |
|
Тангенс угла диэлектрических потерь при 50Гц |
- |
0,004 |
0,004 |
0,004 |
|
Молекулярная масса |
ед. |
187000 |
210000 |
- |
При этих параметрах переработки в композиции превалируют процессы рекомбинации генерируемых макрорадикалов с образованием блок - и привитых продуктов их взаимодействия. При этом наибольшую эффективность реализации процесса модификации обеспечивает использование в качестве модифицирующего агента метил- стирольного каучука СКМС-30, который обладает повышенной склонностью к механохимическим превращениям при активирующем протекании термоокислительных процессов.
3.2 Релаксационные свойства и структурные характеристики ТЭП
Релаксационные свойства полимерных связующих во многом определяют эксплуатационные свойства ПКМ. Релаксационные свойства модифицированных полимерных связующих исследуемых систем изучали динамическим (механические потери) и квазистатическим (дифференциально-сканирующая калориметрия) методами, на основании которых оценивали значения тангенса угла механических потерь (tg) и удельной теплоемкости (Ср) представленные на рисунках 3.4, 3.5 и в таблице 3.2 соответственно.
Интерпретацию релаксационных переходов проводили в следующем порядке: начиная с высокотемпературного -перехода, связанного с сегментальной подвижностью в кристаллических областях; `-перехода, связанного с сегментальной подвижностью в переходных аморфно-кристаллических слоях; - перехода, обусловленного сегментальной подвижностью в аморфных областях и возможной релаксацией в привитых к основной цепи ПЭНД боковых ответвлениях СКМС-30; - перехода, обусловленной мелкомасштабным движением малых участков полимерной цепи в аморфной фазе. Результаты экспериментальных данных представлены в таблице 3.6.

1 ПЭНД; 2 то же + 0,5 масс. % КЖ «Силор» + 30 масс. % СКМС-30
Рисунок 3.4 Зависимость тангенса угла механических потерь ТЭП (ДМА)
Как видно, из представленных данных во всех спектрах низкотемпературной области проявляются максимумы механических потерь, обусловленные наличием в композиции эластомерной фазы СКМС-30. Содержание 30-50 % СКМС-30 сдвигает максимумы потерь в среднем на 5° в стороны более высоких температур, что свидетельствует о том, что степень прививки на поверхность наполнителя макромолекул ПЭНД при выбранных режимах переработки остается неизменной.
Смещение , ` и переходов в сторону высоких температур на 10-15° при введении наполнителей и эластомерного модификатора свидетельствует, что физическая прививка макромолекул полимерного связующего ПЭНД и химическая прививка фрагментов СКМС-30 приводят к ограничению подвижности макроцепей. Сдвиг максимумов , ` и переходов и снижение модуля потерь (G) обусловлены усилением взаимодействия наполнителей и полимерной матрицы, а также упорядочением расположения боковых ответвлений эластомерной фазы СКМС-30, за счет которого снижается подвижность макроцепей основной цепи. В таблице 3.3 приведены Показатели характеристик релаксационных переходов.

1 - ПЭНД+ 0,5 масс. % КЖ «Силор» + 30 масс. % СКМС-30; 2 ПЭНД+0,5масс.% КЖ «Силор»+40 масс. % СКМС-30; 3 ПЭНД+0,5 масс. % КЖ «Силор» + 50 масс. % СКМС-30; 4 ПЭНД+5,0 масс. % КЖ «Силор» + 40 масс. % СКМС-30
Рисунок 3.5 Температурная зависимость модуля сдвига ТЭП, полученная методом ДМА
Таблица3.2.Теплофизические показатели компонентов и ТЭП
|
Материал |
Теплоемкость, Ср, Дж/гК |
|
ПЭНД |
2,1-2,12 |
|
СКМС-30 |
1,98 |
|
КЖ «Силор» |
2,70 |
|
ПЭНД+30 масс. % СКМС-30+0,5 масс. % КЖ «Силор» |
1,87 |
|
ПЭНД+40 масс. % СКМС-30+0,5 масс. % КЖ «Силор» |
1,43 |
|
ПЭНД+50 масс. % СКМС-30+0,5 масс. % КЖ «Силор» |
1,3 |
Наличие в составе полимерного связующего свободной эластомерной фазы (10-50 масс. % от количества вводимого СКМС-30 повышает подвижность всей системы ПЭНД в процессе структурообразования, влияя на рост плотности упаковки макромолекулярных цепей в аморфных и кристаллических зонах, а также улучшает адгезионное взаимодействие полимеров с наполнителем.
По результатам исследования процессов неизотермической кристаллизации полимерного связующего установлено, что если наличие наполнителей приводит к замедлению процессов кристаллизации расплава полимера, то содержание эластомерной фазы СКМС-30 приводит к повышению скорости кристаллизации за счет повышения концентрации новых центров кристаллизации. Структурные характеристики, полученные методами СКМС-30 и РФА представлены в таблице 3.4.
Таблица 3.3. Показатели характеристик релаксационных переходов
|
Материал |
Показатели характеристик |
|||||||
|
Температура переходов, 0С |
Значение модуля потерь (G), МПа |
|||||||
|
Т |
Т |
Тст |
переход |
Тст формы |
||||
|
ДМА |
ДСК |
ДМА |
ДСК |
- |
||||
|
ПЭНД |
-30 |
-27 |
35 |
49 |
- |
35 |
3,3 |
- |
|
ПЭНД+30 масс. % СКМС-30 |
-10 |
-14 |
43 |
54 |
-85 |
32 |
3,7 |
30 |
|
ПЭНД+40 масс. % СКМС-30 |
-21 |
-19 |
39 |
50 |
-80 |
30 |
3,5 |
32 |
|
ПЭНД+50 масс. % СКМС-30 |
-24 |
-22 |
41 |
52 |
-82 |
28 |
3,3 |
34 |
|
ПЭНД+40 масс. % СКМС-30+0,5 масс. % КЖ «Силор» |
-25 |
-22 |
43 |
54 |
-80 |
25 |
3,0 |
37 |
Таблицо3,4 Структурные характеристики композиций на основе модифицированной полимерной матрицы
|
Материал |
Степень кристал-личности |
Размер кристал-литов, |
Дефект-ность кристал-литов, % |
Т плавления, 0С |
Интервал плавления, 0С |
||
|
пика |
начала |
||||||
|
ДСК |
РФА |
||||||
|
ПЭНД |
49 |
45 |
370 |
2,8 |
110 |
104 |
14 |
|
ПЭНД+30 масс. % СКМС-30 |
37 |
40 |
330 |
3,3 |
115 |
108 |
22 |
|
ПЭНД+40 масс. % СКМС-30 |
41 |
40 |
310 |
3,9 |
120 |
120 |
24 |
|
ПЭНД+50 масс % СКМС-30 |
38 |
41 |
310 |
3,8 |
127 |
110 |
20 |
|
ПЭНД+40 масс. % СКМС-30+0,5 масс. % КЖ «Силор» |
42 |
43 |
300 |
3,3 |
125 |
110 |
24 |
Из анализа полученных результатов следует, что при содержании мела и модифицирующей добавки температурный интервал плавления значительно расширяется на 8-100, что обусловлено образованием разветвленной макроцепи полимерного связующего. При введении СКМС-30 выше 40 масс. % и 0,5масс.% КЖ «Силор», как отмечалось ранее, дефектность кристаллитов повышается, что объясняется образованием стерических факторов в процессе кристаллизации - замедление процессов кристаллизации, обусловленные расширением температурного интервала кристаллизации, а также замедленными условиями протекания кристаллизации полимера.
Таким образом, методами ДМА, ДСК и РФА установлено, что в наполненных системах модификация структур полимерного связующего введениием 0,5 -1,0 масс.% КЖ «Силор» и 30-50 масс.% СКМС-30 приводит к снижению ее внутренних напряжений, совершенствованию надмолекулярных образований за счет снижения дефектности в аморфных и кристаллических зонах, образованию мелкосферолитной структуры полимерного связующего и улучшению адгезионного взаимодействия полимера с наполнителями, что обеспечивает изотропность физико-механических (прочностных) свойств ТЭП в результате минимизации внутренних остаточных напряжений.
3.3 Реологические свойства высоконаполненных ТЭП
Реологические свойства изучали на капиллярном вискозиметре постоянных объемных расходов. Реограф “2001” фирмы “Геттферт” в диапазоне температур 433-573К и скоростей сдвига () от 10-1 до 104 с-1. При неизотермических условиях течения расплава композиции градиент температуры от степени канала по его длине варьировали от 1,0 до 3,0 град/см. Измерения проводили на круглых и плоскощелевых каналах. Кривые течения (КТ) описывали уравнением: Pп=Pк+Pвх, где Pп полное давление в капилляре, Pвх потери давления на входе в канал, Pк перепад давления при течении композиции в канале. Напряжение сдвига () определяли с применением двух капилляров длиной (L) 20 и 40 мм и диаметром 1 и 2 мм. Установлено, что характер изменения КТ зависит от типа полимерного связующего и не претерпевает изменений в исследуемом диапазоне концентрации полимерной составляющей.
При скоростях сдвига, соответствующих параметрам переработки наполненных композиций, область ньютоновского течения (=/) не достигалась.
Результаты эксперимента показывают, что при фиксированном содержании полимера, содержащих различное количество эластомера (от 30-50 масс.%) выполняются условия температурной и концентрационной суперпозиции, т.е. КТ могут быть совмещены друг с другом путем плоско-параллельного сдвига вдоль осей логарифмических координат.
Все существующие методы переработки полимеров и их композиций на их основе связаны с транспортированием расплава через каналы различного сечения и приданием расплаву геометрической формы конечного изделия.
Течение расплава полимера в каналах перерабатывающего оборудования и оснастки используются описываются следующими уравнениям состояния закон течения Ньютона (3.1):
=/, (3.1)
и степенной закон течения Оствальда-де-Вилле (3.2):
(3.2)
где коэффициент консистенции; скорость сдвига; напряжение сдвига; вязкость ньтоновской жидкости.
Для оценки формуемости ТЭП в изотермическом режиме оценивали реологические характеристики при течении расплава через круглый капилляр и плоскощелевой каналы, при заданной температуре.
Расчет скорости сдвига в цилиндрическом канале производили по формуле (3.3):
, (3.3)
Расчет напряжения сдвига на стенке канала определяли по формуле (3.4):
= PR/2L105, (3.4)
где Q объемный расход; R, L радиус и длина капилляра; P давление в капилляре.
Реологические поведения расплава ТЭП в неизотермических условиях изучали на пластографе «Брабендер» с L/d червяка 15 при d=19 мм.
Полученное уравнение, как показали экспериментальные данные, проведенные по контрольным рецептурам, может адекватно описывать реологические свойства ТЭП, где объемное содержание СКМС-30 не превышает 16 об.%. Для ТЭП, содержащих полимерные наполнители.
На основе экспериментальных исследований реологических свойств ТЭП расчетным путем было установлено следующее: в зависимости lgотн=Kоб, величина К зависит только от природы каучука, поэтому когда полимерной матрицей служит ПЭНД для определения относительной вязкости нами предложено применять формулу (3.5):
lgотн=K1К2об, (3.5)
если в качестве полимерной матрицы используется смесь полиолефинов или (3.6):
lgотн=K1К2(g+в), (3.6)
где K1 и К2 коэффициенты учитывающие влияние природы полимера на вязкость наполненной системы. Данное уравнение не может быть использовано для описания реологических свойств ПКМ на основе блок-сополимеров, используемых в настоящей работе в качестве полимерной матрицы, которые представляют качественно новый класс полимеров с присущими только им физико-химическими свойствами.
В связи с этим нами было предложено уравнение, учитывающее структуру блок-сополимеров, и, адекватно описывающее эксперимент (3.7):
lgотн=K1К2(g+в)+ С, (3.7)
где С=1,22ТЭП коэффициент, учитывающий разветвленность структуры СКМС-30 при получении ТЭП. В таблице 3.5 представлены значения K1, К2 и С.
Таблица 3,5,Значения поправочных коэффициентов
|
Полимер |
Значение коэффициентов |
||
|
К1 |
К2 |
С |
|
|
ПЭНД |
0,84 |
0,82 |
0 |
|
СКМС-30 |
0,93 |
0,90 |
0 |
|
ПЭНД + 30 масс. % СКМС-30 |
0,88 |
0,86 |
0 |
|
ПЭНД + 40 масс. % СКМС-30 |
0,99 |
0,91 |
1,013 |
|
ПЭНД + 50 масс. % СКМС-30 |
0,97 |
0,92 |
1,017 |
|
ПЭНД + 30 масс. % СКМС-30 + 0,5 масс.% КЖ «Силор» |
0,97 |
0,94 |
1,022 |
В дальнейших расчетах нами учитывалось влияние разветвленной структуры ПЭНД на вязкостные свойства ТЭП, так как существенного изменения вязкости от соотношения и содержания полимерного связующего и бинарного наполнителя не наблюдали.
В результате обработки экспериментальных работ было установлено, что коэффициент С наиболее полно учитывает влияние разветвленности макроструктуры полимерной матрицы на адгезионное взаимодействие системы полимер-наполнитель и, как следствие, на вязкостные свойства расплава ПКМ.
Так, на рисунках 3.6 и 3.7 на кривых течения показано, что закономерность изменения () подчиняется закону пропорциональности и зависит только от молекулярной массы (ММ).
При введении 30; 40 и 50 масс. % СКМС-30 кривые течения сдвигаются в область высоких значений скоростей сдвига, причем величина сдвига легко может быть рассчитана с учетом K1, К2 и С.
Изменение угла наклона кривых течения ТЭП содержащих 30 50 масс. % СКМС-30 на кривых течения (рисунки 3.6 и 3.7) объясняется образованием густой пространственной сетки блок-сополимеров в объёме ТЭП и нарастанием жесткости связи полимера с наполнителем и возрастанием его концентрации в ТЭП.
В соответствии с целью получения штучных конструкционных изделий из ТЭП с высокими эксплуатационными свойствами нами была поставлена задача твердофазным способом получать блок-сополимеры ПЭНД. Установлено, что полученные блок-сополимеры имеют пространственную структуру, в которой основная цепь полимера является превалирующей. Схематически пространственную сетку блок-сополимера можно изобразить следующим образом (рисунки 3.8, 3.9):

1 ПЭНД; 2 ПЭНД + 30 масс. % СКМС-30; 3 ПЭНД + 40 масс. % СКМС-30; 4 50 % СКМС-30 (пунктиром показаны свойства
соответствующих материалов, содержащих 0,5 масс. % КЖ «Силор»)
Рисунок 3.6 Кривые течения ПЭНД и ТЭП в зависимости от содержания структурных модификаторов
Т=1700С; L/d=20/2; Содержание СКМС-30: 1 50, 2 40, 3 10 масс. %.
Рисунок 3.7 Кривые течения расплава ТЭП

- атом углерода; - полимерная группа (CH3 R);
- стирольный блок
Рисунок 3.8 - Пространственная структура блок-сополимера ТЭП
При твердении расплава ТЭП (стекловании или кристаллизации), как известно линейная структура стремится к статическому кубику (глобулярная структура) в процессе которого и формируются физические зацепления макромолекул или боковых цепей полимера с частицами наполнителя. В результате твердения формирования образуется аморфизированный межфазный слой, с плотностью большей, чем у кристаллической фазы полимерной матрицы.

Рисунок 3.9 Схема статического клубка
Вышеописанное макрообразование обуславливает высокую адгезионную связь на границе раздела фаз, определяя характер течения расплава (рисунки 3.6 и 3.7) кривые течения расплава ТЭП имеют различный угол наклона, величину которого, по-видимому, можно определить как (3.8):
tg=f(ад, ТЭП, ММ), (3.8)
где ад - адгезионная прочность, ТЭП объемное содержание ТЭП, ММ - молекулярная масса полимерной матрицы.
Для технологических расчетов и составление номограммы нами использовано эмпирическая зависимость (3.9):
ПТР=lg(отн)i + tg, (3.9)
где tg - угол наклона на кривых течения зависимости lg от lg.
Следовательно, при образовании блок-сополимеров вязкости характеристики расплава ПКМ существенно изменяются, которые необходимо учитывать при прогнозировании и расчете технологических параметров.
В настоящей работе нами установлено, что на вязкостные свойства расплава ТЭП влияют только форма и размер частиц эластомера, что подтверждается различием значений , , и до 2,5-3,0% Наибольший интерес с точки зрения прогнозирования текучести представлял интерес исследование зависимости вязкости расплава ТЭП от рецептурного состава ТЭП.
Введение модификатора КЖ «Силор» в количестве 0,5-1,0 масс. % позволяет повысить значение текучести расплава ТЭП, что делает материал пригодным для формования высокопроизводительными методами, что обеспечит экономическую эффективность производства конечных изделий и деталей (рисунки 3.10 и 3.11).

Т=1700С; L/d=20/2; Содержание КЖ «Силор»: 1 ПЭНД, 2 ПЭНД+0,5масс.%, 3 ПЭВД+1,0масс.%
Рисунок 3.10 Зависимость вязкости расплава полимеров
от напряжения сдвига

Т=1700С; L/d=20/2; Содержание СКМС-30: 1 ПЭНД + 30 масс. % ; 2 ПЭНД + 40 масс. %; 3 ПЭНД + 50 масс %
Рисунок 3.11 Зависимость вязкости расплава ТЭП от напряжения сдвига
В результате экспериментальных исследований, которые были проведены с учетом ряда допущений: - считать поверхность наполнителей активированными и химическая природа наполнителей не оказывает существенных изменений на реологические характеристики ТЭП;
ТЭП с содержанием 30 50 масс. % СКМС-30 могут формоваться на стандартном технологическом оборудовании и оснастки.
3.4 Технология твердофазной полимеризации СКМС-30 и ПЭНД в процессе экструзии
Механохимическую модификацию осуществляли на лабораторном двухшнековом экструдере «Брабендер» с диаметром шнека 20 мм; L/d=20 при температуре гранулирующей головки 170-2100С. Экструзионный шнек в зонах питания и зоне сжатия для создания высоких напряжений сдвига снабжен смесительными элементами, профили которых приведены на рисунке 3.1 Согласно теории механохимической модификации, условиями протекания твердофазной сополимеризации является разрыв двойных связей и образование свободного радикала , к который инициирует присоединяет молекулярные цепи СКМС-3 к основной цепи полимерного связующего. В зависимости от структуры вновь образованного привитого сополимера (в реакциях участвуют 2 и более линейных полимера) или блоксополимера (1 линейный полимер и полимеры с ароматическими бензольными кольцами). В настоящей работе в качестве реагентов нами были выбраны линейные полимеры ПЭНД с молекулярной массой 150000-250000 и метил-стирольный каучук марки СКМС-30. Выбор в качестве полимеров ПЭВП марки 273 79 крупнотоннажностью их промышленного производства к 2010 г согласно данным «Информационного статического центра» РК на Атырауском химическом заводе будет освоено производство с мощностью 50000 тонн в год.
Промышленный выпуск термоэластопластов ДСТ-30, ДСТ-30Р и ДСТ-30М планируется на II и III квартал 2008 г ТОО «Композиционные материалы» . По данным ТОО НТЦ «Композиционные материалы» выбранные ТЭП являются аналогами ТЭП, выпускаемых методом химического синтеза на Воронежском заводе синтетического каучука им. Е.И. Лебедева.
Ведение управляемого твердофазного синтеза линейных полимеров с ТЭП в процессе формования становится возможным при определенных
специфических условиях: - наличие высоких напряжениях сдвига в межвитковом зазоре материального цилиндра экструдера, достаточные для разрыва двойных связей; поддержание условий протекания сополимеризации исключение процессов ингибирования сополимеризации при термоокислительной деструкции.
На основании литературных данных, теоретического и практического опыта ТОО НТЦ «Композиционные материалы» и научно-производственных предприятий других стран для получения ТЭП нами был выбран твердофазный способ. Механохимическая модификация позволяет получать сополимеры и блок-сополимеры с новыми физико-механическими свойствами для формования строительных изделий с высокой надежностью, долговечностью и другими эффективными эксплуатационными свойствами, которые обеспечат высокую технологичность и экономический эффект.
Одним из показателей образования блок-сополимеров является степень прививки ТЭП к основной цепи линейных полимеров. Об образовании блок-сополимеров судили по изменению ММ, вязкости, степени кристалличности (глава 3) и косвенных показателей (изменение прочности, плотности и т.д.)
Экспериментальные данные свидетельствуют об образовании блок-сополимеров во всем диапазоне скоростей вращения шнека 30-60 об/мин. и температуры гранулирующей головки 170-2100С, при которых Ср составляет 50-68%.
С материаловедческой точки зрения, представлял интерес определить зависимость Сп от концентрации ТЭП. При 17050С и N=40-45 об/мин при возрастании содержания ТЭП с 5,0 до 10,0 масс. %, значения Сп возрастают для композиций на основе ПЭНД, причем максимальная степень прививки достигается при модификации ПЭНД, что удовлетворительно совпадает с показателями блок-сополимеров, полученных методом химического синтеза. Установлено, что при содержании 30 50 масс. % ТЭП достигаются максимальные значения Сп к ПЭНД при Тг=17050С и N=40-45 об/мин.
В качестве оптимального содержания ТЭП нами выбран СКМС=3050 масс. % для минимизации себестоимости. Увеличение СКМС целесообразно для формования гибких изделий, шлангов, оболочек оптоволоконных и электропроводящих кабелей, электрических проводов и др.
Для повышения устойчивости конструкционных изделий к действию ультрафиолетовых лучей в композицию нами рекомендуется вводить до 0,01 масс. % Диафен НН [8]
Полное ингибирование процессов сополимеризации, по-видимому, возможно при высоких температурах гранулирующей головки (1700С). В связи с этим при выборе режима грануляции с целью исключения процессов превалирующего ингибирования нами предложен оптимальный режим грануляции, который представлен в таблице 3.6.
Таблица 3,6,Технологический режим грануляции ТЭП
|
Технологические параметры |
Показатели параметров |
||||
|
Т цилиндра по зонам, 0С |
Тгг |
N, об/мин |
|||
|
I |
II |
III |
|||
|
СКМС=30 масс. % Нп |
1405 |
1605 |
18010 |
1705 |
45 |
|
СКМС=40 масс .% Нп |
1305 |
1605 |
18010 |
1705 |
40 |
|
СКМС=50 масс. % Нп |
1305 |
1705 |
17010 |
1605 |
40 |
|
СКМС=40 масс .% Нп +0,5 масс .% КЖ «Силор» |
1305 |
1705 |
18010 |
1705 |
35 |
НП- наполнитель
С целью прогнозирования деформационно-прочностных и технологических свойств полученных ТЭП была произведена оценка модуля упругости при растяжении (Ер) и показателя текучести расплава, как наиболее информативных показателей. На рисунках 3.12; 3.13 и 3.14 приведены результаты экспериментальных исследований.Как видно из представленных данных, при выбранном технологическом режиме (температура 170-2100С и частоте вращения шнеков с 30-60 об/мин) ПТР составляет 0,5-2,0 г/10 мин, Ер = (25)103МПа, что соответствует требованиям, предъявляемым к ТЭП.

Частота вращения шнека: 1 30; 2 45; 3 60 об/мин
Рисунок 3.12 Зависимость степени прививки ТЭП от температуры гранулирующей головки

1 1700С, 2 1900С, 3 2100С; Р=5кгс
Рисунок 3.13 Зависимость ПТР ТЭП от содержания СКМС-30

1 Т=2100С; 2 Т=1900С; 3 Т=1700С; V=50мм/мин
Рисунок 3.14 Зависимость модуля упругости при растяжении от содержания ТЭП
Для механохимической модификации ПЭНП нами разработана технология в процессе получения ТЭП, принципиальная технологическая схема которой представлена на рисунке 3.15.
Со склада сырья через весовые дозаторы в приемный бункер 5 с принудительным питателем подается 5,010,0 масс. % от расчетного количества полимера, подается ТЭП, одновременно через бункер 6 с принудительным питателем подается порошкообразный ПЭНД. Температура I зоны загрузки составляет 60800С. Червяки в зоне загрузки снабжены специальными смесительными элементами, обеспечивающими максимальное уплотнение твердых частиц полимера. Зона сжатия червяка снабжена шестеренчатыми зубчатыми смесителями, которые обеспечивают напряжения сдвига, достаточные для разрыва макромолекул полимеров и СКМС-30.
Головка экструдера снабжена фильерой с диаметром отверстий 12 мм. Продукты термоокислительной деструкции непрерывно отводятся через дегазаторы 7. Гранулирование стренгов проводится шестипозиционным ножом 8, имеющим независимый привод с редуктором. Скорость вращения ножа-гранулятора синхронизируется с производительностью двухчервячного экструдера или с числом оборотов привода шнеков 1.
В угловой головке гранулы орошаются холодной водой во избежание их агрегации. Смесь гранул с водой подается в центрифугу 3 , где гранулы отсекаются от воды решетками. Отделенная от воды масса гранул подается противоточно под давлением 1,0-2,0 МПа в вертикальную сушилку 4, где в псевдоожиженном слое протекает процесс сушки горячим воздухом (90-100)°С. Полученные гранулы подаются на фасовочную машину.
Таким образом, в результате разработки механохимической технологии модификации структуры ПЭНД: высокие напряжения сдвига, возникающие в процессе пластикации при N=3060 об/мин, создают условия разрыва двойных связей макромолекул полимерных компонентов ТЭП, что приводит к образованию блок-сополимеров;
- показано, что повышение концентрации СКМС-30 до 3050 масс. % приводит к увеличению максимальной степени прививки СКМС-30 к ПЭНД до 68 % и до 52% к ПЭВП для получения блок-сополимеров на основе ПЭНД и СКМС-30, предложена унифицированная технология получения ТЭП, которая позволяет в широком диапазоне варьировать температурный режим материального цилиндра, гранулирующей головки экструдера (170-210°С), и частоту вращения шнеков (30-60 об/мин).
3.5 Эксплуатационные свойства
Высокая экономическая эффективность применения ТЭП в производстве требует надежного диапазона эксплуатационных свойств и возможность формования изделий высокопроизводительными методами.
При выборе ТЭП следует учитывать их основные эксплуатационные свойства , которые можно рассматривать на трех уровнях:
1) молекулярный, характеризующийся химическим строением макромолекул полимера (в настоящей работе структура блок- сополимеров на основе ПЭНД и СКМС-30;
2) уровень надмолекулярный, характеризующийся морфологией макроструктуры ТЭП, который определяет структурные образования в межфазном слое, физико- химию взаимодействия макромолекул ПЭНД и СКМС-30;

1- 2х червячный экструдер Е 290, 2 - гранулирующая головка с шестипозиционным ножом, 3 - бункер с принудительным питателем, 4 струйно-вихревой активатор СВА 2 дезинтегратор Д-19,5 вертикально-вихревая сушилка, 6 компрессор;емкости для сыпучих компонентов: 7 ПЭНД, 8 СКМС-30, 9 Диафен 10 емкость для жидкости КЖ «Силор», 11 струйно-вихревая еьница,12 дезинтегратор;15емкости для сыпучих наполнителей: 13 Нигрозин, 14 целевые компоненты
Рисунок 3.15 - Технологическая схема линии механохимической модификации полимеров коллоидный уровень, характеризующийся гетерогенностью состава ТЭП основной эксплуатационной характеристикой конструкционного материала является долговечность, которая согласно [12] определяется формулой (3.10): , (3.10)
где - измеренный показатель прочности предельной молекулярной массы полимера; - показатель прочности полимера с известной молекулярной массой; n степень полимеризации и Р константа уравнения.
При использовании временной характеристики удобно пользоваться теорией Журкова, которая описывается уравнением (3.11):
,
или (3.11)
,
где v скорость роста магистральной трещины разрушения; K параметр структуры; U энергия активации процесса разрушения; R - универсальная газовая постоянная; T абсолютная температура; 0 параметр уравнения.
Для прогнозирования числа циклов механической нагрузки ( N ) до разрушения использовали уравнения (3.12), (3.13):
, (3.12)
где R универсальная газовая постоянная, Т температура испытаний, U - энергия разрушения; и - нижний и верхний пределы напряжений растяжения.
(3.13)
Указанный на рисунке 3.16 цикл рекомендован для прогнозирования свойств материалов и изделий за один год эксплуатации в условиях резко-
Для оценки изменения физико-механических свойств ТЭП, выбрали композицию содержащую 30-50% масс. % СКМС-30 и ПЭНД. Содержание в ТЭП в качестве связующего ПЭНД. Содержание в ТЭП СКМС-30 М1, М2 и М3 существенного влияния на изменение физико-механических свойств в результате циклических испытаний не оказывает.
|
а |
б |
1 ПЭНД+50 масс. % СКМС-30; 2 ПЭНД+40 масс. % СКМС-30; 3 ЭНД+40 масс. % СКМС-30+0,5 масс. % КЖ «Силор»; 4 ПЭНД+30 масс. % СКМС-30; 5 ПЭНД ( а прочность при растяжении; б прочность при сжатии)
Рисунок 3.16 Изменение физико-механических свойств ТЭП
Показатели Уэп неизменно снижаются при N=30-60 циклах (рисунок 3.17), что свидетельствует о том, что с увеличением продолжительности испытаний формирование равновесия структуры ТЭП достигается повышением адгезионной прочности, приводящей к усилению жесткости системы полимер-межфазный слой наблюдается, снижение остаточных напряжений, то есть протекают наиболее полные процессы релаксации внутренних напряжений. .
|
а |
б |
1 ПЭНД+50 масс. % СКМС-30; 2 ПЭНД+40 масс. % СКМС-30; 3 ЭНД+40 масс. % СКМС-30+0,5 масс. % КЖ «Силор»; 4 ПЭНД+30 масс. % СКМС-30; 5 ПЭНД ( а прочность при растяжении; б прочность при сжатии)
Рисунок 3.17 Изменение физико-механических свойств ТЭП
Водопоглощение полимерных материалов обусловлено наличием адсорбированной влаги в гигроскопических порах, образованных дефектами макроструктуры полимеров при кристаллизации и стекловании. Кинетика сорбции влаги из атмосферы ПКМ обусловлена в большей степени поглотительной способностью полимерной матрицы, наполнителя и целевых компонентов. В этом случае, полное водопоглощение ТЭП определяется следующей формулой (3.14):
ВПКМ=Вп+Вн+Вцк, 14)
где Вп поглощение полимера, Вн наполнителя и Вцк целевых компонентов.
В связи с этим при проектировании и производстве ТЭП технологи практики вынуждены учитывать сорбционную способность минералов, используемых в качестве наполнителя и предусматривать эффективные методы их сушки. На рисунке 3.18 показана кинетика водопоглощения используемых наполнителей для получения ПКМ.
Из результатов исследований следует, что при использовании в качестве наполнителя за период испытаний (24ч) равновесное ВТЭП не наступает, что, по-видимому, напрямую зависит от объема его пор. По данным ртутной порометрии [11] объем пор ПЭНД составляет 5,1-7,3 % от общего объема. Равновесное значение (ВТЭП) достигается за 24 часа испытаний при влажности воздуха 78%..

Связующее ПЭНД; СКМС-30: 1 50 + М1; 2 40+ М1; 3 30 +М1 масс. % ; 4 ПЭНД масс. %; 1`, 2`, 3`, 4` без КЖ «Силор». Влажность воздуха 78%, температура испытаний 2520С
Рисунок 3.18 Кинетика водопоглощения ТЭП
В таблице 3.6 представлены эксплуатационные свойства на основе исследуемых ПЭНД и СКМС-30.
При В=0,5-1,0% диэлектрические показатели снижаются, что показывает в ТЭП при воздействии электрического поля могут протекать процессы «перебоя» объема ТЭП, что приводит к разрушению сплошности материала. Особо следует отметить, что обработка поверхности наполнителей приводит к существенному повышению диэлектрических свойств ТЭП. Как показывают кривые 1 и 2 рисунка 3.19 на теплофизические свойства ТЭП в исследуемом диапазоне ВПКМ существенно не изменяются, что хорошо согласуется с литературными данными [12]. В таблице 3.7 представлены результаты испытания влияния предварительной сушки и подогрева на эксплуатационные свойства изделий и деталей на основе исследуемых ТЭП
Таблица 3.7 Результаты предварительной тепловой обработки ПКМ
|
Композиционный материал |
Вmax, % |
Bд, % - после сушки |
Параметры сушки |
|
|
T, 0С |
t, час |
|||
|
ПЭНД |
0,05 |
0,04 |
(85-90)5 |
0,8-1,0 |
|
ПЭНД + 30 масс. % СКМС-30 + 0,5 масс. % КЖ «Силор» |
0,06 |
0,04 |
(85-90)5 |
0,8-1,0 |
|
ПЭНД + 40 масс .% СКМС-30 + 0,5 масс. % КЖ «Силор» |
0,06 |
0,04 |
(90-95)5 |
1,0-1,2 |
|
ПЭНД + 50 масс. % СКМС-30 + 0,5 масс. % КЖ «Силор» |
0,07 |
0,05 |
(95-100)5 |
1,2-1,5 |
|
ПЭНД + 40 масс. % СКМС-30 + 0,75 масс. % КЖ «Силор» или 1,0 масс. % КЖ «Силор» |
0,07 |
0,05 |
(95-100)5 |
1,2-1,5 |
Таблица 3.8 Эксплуатационные свойства исследуемых ТЭП
|
№ п/п |
Композиционный материал |
Показатели свойств |
||||||||||
|
Стр, ч |
р, МПа |
сж, МПа |
отн, % |
ап, кДж/м2 |
ТМ, 0С |
Уэп, % |
В, мг/г |
tg |
Морозо-стойкость, 0С |
Срок служ., лет |
||
|
1 |
ПЭНД |
500 (нестоек) |
24-26 (18) |
32-35 (30) |
20-50 (20) |
30-35 (20) |
1405 (120) |
0,15-0,42 (1,5) |
0,032-0,042 (0,049) |
(0,2-0,3) 10-4 (110-3) |
-50 (-50) |
не менее 35 (30) |
|
2 |
ПЭНД + 30 масс. % СКМС-30 + 0,5 масс. % КЖ «Силор» |
500 (нестоек) |
24-26 (18) |
32-34 (30) |
10-45 (20) |
35-40 (20) |
1455 (120) |
0,1-0,4 (1,5) |
0,036-0,044 (0,532) |
(0,3-0,4) 10-4 (110-3) |
-50 (-50) |
не менее 35 (30) |
|
3 |
ПЭНД + 40 масс. % СКМС-30 + 0,5 масс. % КЖ «Силор» |
300 (нестоек) |
23-25 (18) |
34-37 (30) |
5-40 (20) |
25-30 (20) |
1505 (120) |
0,1-0,25 (1,5) |
0,046-0,051 (0,065) |
(0,3-0,4) 10-4 (110-3) |
-50 (-50) |
не менее 35 (30) |
|
4 |
ПЭНД + 50 масс. % СКМС-30 + 0,5 масс. % КЖ «Силор» |
100 (нестоек) |
18-24 (18) |
37-42 (30) |
2-25 (20) |
30-33 (20) |
1605 (120) |
0,03-0,25 (1,5) |
0,053-0,061 (0,075) |
(4,0-5,0) 10-4 (110-3) |
-50 (-50) |
не менее 35 (30) |
другим ограничивающим фактором использования ТЭП с большим В являются диэлектрические показатели (рисунок 3.19 в).
а б

в г 
1- после ТО, 2- до ТО
Рисунок 3.19 Зависимость эксплуатационных свойств полимеров от водопоглощения ПКМ
Результаты исследований показывают, что падение прочностных показателей составляет до 50% при влажности ВПКМ = 0,75 1,5% (рисунок 3.19 а, кривая 2). Такой же характер изменения имеют и другие технические параметры ТЭП. Так, отношение начальной ПТР0 и текущей ПТРi (измеренной при ti) при В1,0 % снижается до 10%, то есть переработка ТЭП при этих условиях становится невозможной.
Кривые 1 рисунка 3.20 а -г показывают, что эксплуатационные свойства (прочностные, теплофизические, диэлектрические и технологические) ТЭП удается сохранять при обработке поверхности наполнителей силоксанами (КЖ «Силор») на стадии получения ТЭП является предварительная сушка или подогрев гранул при формовании изделий.

Рисунок 3.20 Стойкость ТЭП к циклическим испытаниям
4. Экономическая часть
4.1 Расчет капитальных вложений
В экономической части отражены технико-экономические и финансовые показатели предлагаемого проекта, необходимые для производства ПВХ -труб.
В таблице 4,1 представлена программа цеха по производству фрикционных труб на основе ТЭП композиций.
Таблица 4,1 Программа цеха.
|
Изделие |
Материал |
Способ переработ- ки |
Масса изделия, кг/м |
Годовая программа по перерабаты- ваемому материалу, т |
|
|
готового |
потери, % |
||||
|
Труба d Труба d Труба d |
ПВХ-С-7058-М |
экструзия |
1,75 2,61 5,47 |
1,5 2,0 2,5 |
1000 |
Объем капитальных вложений рассчитывается по видам основных фондов.
4.2 Планирование технологического оборудования
Для производства БСП- накладок принимаем марку машины экструдера ЛТ 90*25-75/160 с мощностью 60 кВт/час.
Количество технологического оборудования определяется по формуле:
,
где Qг- годовая программа по перерабатываемому материалу, т/год;
К коэффициент , учитывающий потери времени на обслуживание. По Оленеву [ 2- ] К=0,9-0,95;
Фд(ч) действительный годовой фонд времени оборудования, ч/год; Согласно Крыжановскому [ 1] при 2-х сменном режиме работы Фд(ч)=6100ч
где Q производительность 1-го экструдера; Q= 180 кг/час.
Принимаем n=3 шт.
4.3 Расчет стоимости зданий и сооружений
Площадь производственного здания составляет 1008 м2.
Стоимость 1 м2 площади цеха составляет 350$.
Стоимость цеха определяется по формуле:
Кцеха = ЦМ2 · fцеха
где ЦМ2 - цена одного метра квадратного площади, Цм2=350$
Курс доллара равен 128 тенге, тогда ЦМ2=350$=350128=44800 тг;
fцеха площадь цеха.
Кцеха =448001008=45158400 тг.
Таблица 4,2 Расчет стоимости зданий и сооружений.
|
Наименование |
Площадь, м2 |
Цена за 1 м2 |
Стоимость rz. |
Норма амортизации, % |
Сумма амортиза-ционных отчислений, kz |
|
Здание отдельное |
1008 |
44800 |
45158400 |
7 |
3 161 088 |
4.4 Стоимость технологического оборудования .
Капитальные вложения в технологическое оборудования рассчитывается по каждому виду оборудования:
К0=Ц0·N
Где Ц0- оптовая цена оборудования, включая установку,
N количество оборудований , шт
Экструзионный трубный агрегат КЭ=30000000тенге
Таблица 4,3 Стоимость основного оборудования .
|
Наименование оборудования |
Кол-во, шт |
Цена единицы оборудования, млн. kz |
Общая стоимость оборудования, млн. kz |
Норма амортиза ции, % |
Сумма амортизационных отчислений,млн. kz |
|
Экструзионный трубный агрегат |
3 |
30 |
90 |
9 |
8,1 |
|
Итого |
90 |
8100000 |
Стоимость вспомогательного оборудования:
Таблица 4,4 Механический участок.
|
Наименование оборудования |
Кол-во, шт |
Цена единицы оборудования, тг |
Общая стоимость оборудования, тг |
Норма амортизации, % |
Сумма амортизационных отчислений |
|
Токарный станок |
1 |
2250000 |
2250000 |
9 |
202500 |
|
Заточной станок |
1 |
750000 |
750000 |
9 |
67500 |
|
Сверлильный станок |
1 |
5000000 |
5000000 |
9 |
450000 |
|
Шлифовальный станок |
1 |
2750000 |
2750000 |
9 |
247500 |
|
Итого |
10750000 |
967500 |
Таблица 4,5, Участок регенерации.
|
Наименование оборудования |
Кол-во, шт |
Цена единицы оборудования, тг |
Общая стоимость оборудования, тг |
Норма амортизации, % |
Сумма амортизационных отчислений |
|
Гранулятор |
1 |
2750000 |
2750000 |
9 |
247500 |
|
Струйно-вихревая сушилка |
1 |
3125000 |
3125000 |
9 |
281250 |
|
Смеситель двухстадийный СМ |
1 |
4375000 |
4375000 |
9 |
393750 |
|
Итого |
10250000 |
922500 |
Таблица 4.6. Склад сырья.
|
Наименование оборудования |
Кол-во, шт |
Цена единицы оборудования, тг |
Общая стоимость оборудования, тг |
Норма амортизации, % |
Сумма амортизационных отчислений |
|
Силоса для ПВХ V=100м3 |
3 |
250000 |
750000 |
9 |
67500 |
|
Силоса для ПВХ V=50м3 |
2 |
1875000 |
3750000 |
9 |
337500 |
|
Силоса для ПВХ V=20м3 |
1 |
1250000 |
1250000 |
9 |
112500 |
|
Емкость для ДОФ (пластификатор) |
2 |
250000 |
500000 |
9 |
45000 |
|
Емкость для хлорпарафина ХП-470 |
1 |
1875000 |
1875000 |
9 |
168750 |
|
Емкость для красителя V=10 м3 |
1 |
1875000 |
1875000 |
9 |
168750 |
|
Силос для ХПЭ V=20м3 |
1 |
3750000 |
3750000 |
9 |
337500 |
|
Итого |
13750000 |
1237500 |
Таблица 4.7. Лаборатория .
|
Наименование оборудования |
Кол-во, шт |
Цена единицы оборудования, тг |
Общая стоимость оборудования, тг |
Норма амортизации, % |
Сумма амортизационных отчислений Цена единицы оборудования, тг |
|
Лабораторный комбайн Skamia |
1 |
3125000 |
3125000 |
9 |
281250 |
|
Итого |
3125000 |
287250 |
Таблица 4.8. Транспорт.
|
Наименование транспорта |
Кол-во, шт |
Цена Единицы транспорта, тг |
Общая стоимость транспорта, тг |
Норма амортизации, % |
Сумма амортизационных отчислений |
|
Электрокара |
3 |
875000 |
2625000 |
9 |
236250 |
|
Итого |
2625000 |
236250 |
- 2Затраты на сырье
Затраты на сырье включает стоимость основных и вспомогательных материалов, покупных изделий и полуфабрикатов с учетом расходов за вычетом выручки от реализации отходов материалов:
Затраты на сырье представлены в таблице 4.9
Таблица 4.9. Исходное сырье.
|
Компоненты композиции |
содержание |
Расход, кг на 1т. ПВХ -композиции |
Рыночная цена 1 кг, тенге |
Стоимость, тенге |
|
|
масс. ч. |
% |
||||
|
ПВХ-С-7058-М |
100,0 |
50 |
500 |
187,5 |
93750 |
|
Асбест |
15,0 |
7,5 |
75 |
43,75 |
7656 |
|
Каолин |
30,0 |
15,0 |
150 |
37,5 |
2812,5 |
|
Технический углерод |
10,0 |
5,0 |
50 |
125,0 |
6250 |
|
Хлорированный полиэтилен |
5,0 |
2,5 |
25 |
100,0 |
250 |
|
Хлорпарафин ХП-70 |
5,0 |
2,5 |
25 |
80,0 |
250 |
|
ДОФ |
35,0 |
17,5 |
175 |
62,5 |
31250 |
|
Всего |
200 |
100 |
1000 |
142,068 |
1420688 |
Где gi расход сырья, gi=1000 кг;
ЦМi- цена сырья, ЦМi=142,068 тг/кг;
Км коэффициент, учитывающий транспортно-заготовительные расходы, Км=1,021,10;
goi- количество отходов; 2,5% от 1000 кг, тогда goi=25 кг
ЦОТХ- цена отходов, ЦОТХ=25·142,068=35571,7 тг.
тг/кг
4.5 Расчет стоимости технологической (силовой) электроэнергии
Расчет затрат на технологическую (силовую) электроэнергию определяется по формуле:
Где Еэ- общая годовая потребность в технологической электроэнергии, кВт·ч;
Rn.э- средний расход электроэнергии на 1 час работы оборудования n-го типа.
Среднечасовой расход технологической электроэнергии для оборудования можно определить по формуле:
Где Ny- установленная мощность машины, кВт;
КN- коэффициент использования машины по мощности;
КW-коэффициент учитывающий потери электроэнергии в сети предприятия.
Рассчитаем установленную мощность всех оборудований, согластно паспортным данным:
Среднечасовой расход технологической электроэнергии для оборудований:
Годовая потребность в электроэнергии на освещение помещений проектируемого цеха определяется по формуле:
где Еэ.о- годовая потребность в электроэнергии на всех помещений цеха, кВт/ч;
z- количество помещений цеха;
Rz средний расход электроэнергии на освещение 1 м2 площади помещения ;
Коd коэффициент одновременности горения ламп;
Fz площадь помещения z-го вида;
Тг продолжительность горения электроламп в году, ч.
Коэффициент Rz принимается равным 0,015; коэффициент Коd принимается равным 0,8; Тг принимается равным 2500.
Подставляя в формулу принятые коэффициенты, находим годовую потребность в электроэнергии на освещение цеха:
Определение затрат на производственную воду, сжатый воздух и
вспомогательные материалы
Затраты на производственную воду определяются расходом на охлаждаемую ванну по формуле:
где gвод - норма расхода воды в литрах на охлаждаемую ванну в час (30
литров в час);
wвод - количество станков, работающих с охлаждением, wвод=3;
kз - коэффициент загрузки оборудования, kз=0,7;
Цвод - цена 1 м3 технической воды, Цвод =34 тг/м3;
FД - действительный годовой фонд времени оборудования, ч/год.
где wР - расчетное количество оборудования, wР=2,22 шт;
wПР - принятое количество оборудования, wПР=3 шт.
КЗ=2,22/3=0,7
Годовые затраты на сжатый воздух:
Принимаем максимальное давление магистрали сжатого воздуха равного 10 МПа с максимальным объемом равного 100 м3/час, тогда годовые затраты на сжатый воздух определяются по формуле:
где Wэл.двиг. - мощность электродвигателя, Wэл.двиг=10 кВт/час.
Годовые затраты на отопление определяются по формуле:
где fЦЕХА - площадь цеха, м2; fЦЕХА=1008 м2;
ЦОТ - цена отопления за м2 площади в месяц, ЦОТ=57,73 тг.;
6 - количество отапливаемых месяцев в году.
Затраты на вспомогательные материалы включают затраты на смазочные, обтирочные материалы и тому подобное. Укрупнено затраты на вспомогательные материалы составляют 3000 тенге в год на 1 рабочего.
Затраты на топливно-энергетические ресурсы сведены в таблицу 4.10.
Таблица 4.10. Сводная ведомость годовой потребности в топливно- энергетических ресурсах.
|
Наименование ресурсов |
Единица измерения |
Годовая потребность, тыс.kz |
Оптовая цена единицы ресурса, тыс.kz |
Сумма, тыс.kz |
|
1.Электроэнергия |
||||
|
технологическая |
кВт·ч |
371768 |
3,07 |
1110627,5 |
|
осветительная |
кВт· |
30240 |
3,07 |
92836,8 |
|
2. Вода |
||||
|
на производственные нужды |
м3 |
2194,8 |
34 |
11609,64 |
|
на хозяйственные нужды |
м3 |
396,8 |
34 |
13491,2 |
|
3. Отопление |
м2 |
6048 |
57,73 |
349151,04 |
|
4. Сжатый воздух |
37939 |
3,07 |
116475 |
4.6 Расчет численности рабочих цеха.
В расчет включены несколько категорий персонала руководители, специалисты, служащие. В таблице 3 приведено штатное расписание персоналов по категориям, учитывая характер рабочего цикла технологического оборудования и фонд времени работы машин.
4.6.1 Расчет численности производственных рабочих цеха по рабочим местам на основании норм обслуживания по агрегатам
Рабочие работают на автоматической линии, тогда число производственных рабочих, занятых обслуживанием машины рассчитывается по формуле:
где Паг- число обслуживающих агрегатов, равно 3;
р число рабочих, необходимых для обслуживания одного агрегата в течении смены (норма обслуживания), равно 1;
h число смен в сутки, равно 2;
FH номинальный фонд времени одного рабочего за год, равный 4068 ч. (таблица 3);
Fd действительный фонд времени одного рабочего за год, равный 3824 ч. (таблица 3).
Таблица 4.11 Расчет действительного фонда времени рабочих.
|
Прод-ть рабочей недели в ч. |
Прод-ть основного отпуска в днях |
Номинальный фонд рабочего времени |
% потерь от номинального фонда времени |
Действительный фонд времени в ч. |
|
41 |
24 |
4068 |
12 |
3824 |
Таблица 4.12 Руководители цеха.
|
Профессия |
Количество рабочих в смену |
Количество рабочих в 2 смены |
|
Начальник цеха |
1 |
1 |
|
Старший мастер |
1 |
2 |
|
Инженер по контролю качества |
1 |
2 |
|
Экономист |
1 |
1 |
Расчет вспомогательных рабочих.
Таблица 4.13Состав основных рабочих.
|
Профессия |
Количество рабочих в смену |
Количество рабочих в 2 смены |
|
Мастер |
1 |
2 |
|
Механик цеха |
1 |
1 |
|
Оператор экструзионного трубного агрегата |
3 |
6 |
Таблица.14 Состав вспомогательных рабочих .
|
Профессия |
Количество рабочих в смену |
Количество рабочих в 2 смены |
|
Электрик цеха |
1 |
2 |
|
Технолог-контролер |
1 |
1 |
|
Токарь-фрезеровщик |
1 |
1 |
|
Оператор регенерации |
1 |
2 |
|
Лаборант |
1 |
2 |
|
Кладовщик - раздатчик инструмента |
1 |
2 |
|
Упаковщик |
1 |
2 |
|
Разнорабочие |
3 |
6 |
|
Уборщица |
1 |
2 |
Таблица 4.15 Расчет численности служащих и фонд заработной платы.
|
Профессия |
Кол. рабочих в смену |
Месячный оклад, тыс.kz |
Годовой ФЗП по окладам, тыс.kz |
Премия, Тыс kz |
Общий фонд заработной платы, тыс. |
Подоходный Налог, тыс.kz |
Пенсионные отчисления |
|
Начальник цеха |
1 |
65 |
780 |
195 |
975 |
97,5 |
97,5 |
|
Старший мастер |
1 |
45 |
540 |
135 |
675 |
67,5 |
67,5 |
|
Инженер по контролю качества |
1 |
40 |
480 |
120 |
600 |
60,0 |
60,0 |
|
Экономист |
1 |
35 |
420 |
105 |
525 |
52,5 |
52,5 |
|
Мастер |
1 |
35 |
420 |
105 |
525 |
52,5 |
52,5 |
|
Механик цеха |
1 |
30 |
360 |
90 |
450 |
45,0 |
45,0 |
|
Оператор экструзионного трубного агрегата |
3 |
40 |
480 |
120 |
600 |
60,0 |
60,0 |
|
Электрик цеха |
1 |
30 |
360 |
90 |
450 |
45,0 |
45,0 |
|
Технолог-контролер |
1 |
25 |
300 |
75 |
375 |
37,5 |
37,5 |
|
Токарь-фрезеровщик |
1 |
25 |
300 |
75 |
375 |
37,5 |
37,5 |
|
Оператор регенерации |
1 |
25 |
300 |
75 |
375 |
37,5 |
37,5 |
|
Лаборант |
1 |
25 |
300 |
75 |
375 |
37,5 |
37,5 |
|
Кладовщик - раздатчик инструмента |
1 |
20 |
240 |
60 |
300 |
30,0 |
30,0 |
|
Упаковщик |
1 |
20 |
240 |
60 |
300 |
30,0 |
30,0 |
|
Разнорабочие |
3 |
18 |
216 |
54 |
270 |
27,0 |
27,0 |
|
Уборщица |
1 |
18 |
216 |
54 |
270 |
27,0 |
27,0 |
|
Итого |
20 |
466 |
5552 |
1388 |
7440 |
744 |
744 |
Подоходный налог и отчисления в пенсионный фонд осуществляются в соответствии с нормами действующего законодательства РК и составляют 10% соответственно от фонда основной и дополнительной заработной платы.
Калькуляция себестоимости продукции.
Себестоимость продукции представляет собой затраты предприятия в денежном выражении на ее производство и сбыт.
Предприятие согласно программе цеха работает с мощностью 1000 тонн год.
Масса 1 п/м трубы=450 г.
Тогда в год производят Nг п/м ПВХ- труб:
Стоимость СГ=NГ·Цп/м=2941176·90=200000000 тг.
Таблица 4.16 Калькуляция себестоимости годового выпуска БСП- накладок.
|
№ пункта |
Статьи раcходов |
Годовой расход,тыс.kz. |
Цена единицы, тыс. kz |
Затраты за год, тыс. kz |
|
1 |
Материалы, т |
1025 |
156,7 |
160617,5 |
|
2 |
Электроэнергия |
|||
|
технологическая |
371768 |
3,07 |
1110627,5 |
|
|
осветительная |
30240 |
3,07 |
92836,8 |
|
|
3 |
Вода |
|||
|
на производственные нужды |
2194,8 |
34 |
11609,64 |
|
|
на хозяйственные нужды |
396,8 |
34 |
13491,2 |
|
|
4 |
Отопление |
6048 |
57,73 |
349151,04 |
|
5 |
Сжатый воздух |
37939 |
3,07 |
116475 |
|
6 |
Амортизационный оборот |
1751100 |
||
|
7 |
Ремонтный фонд |
6393750 |
||
|
8 |
Основная зарплата и дополнительная зарплата производственных рабочих |
7440000 |
||
|
9 |
Прочие затраты |
218800 |
||
|
10 |
Заводская себестоимость |
11722258 |
||
|
11 |
Коммерческие расходы |
616112 |
||
|
12 |
Накопления |
13235292 |
||
|
13 |
Полная себестоимость |
41459861 |
Капитальные вложения в проект:
К=Коборуд+Кздания=127875000+45158400=173033400 тг.
Найдем прибыль 200000000-41459861=158540139 тг.
Срок окупаемости:
Примем Т= 2 года.
Основные технико-экономические и финансовые показатели цеха по производству БСК-накладок отражены в таблице 4.17.
Таблица 4.17 Основные технико экономические показатели.
|
Показатели |
Единицы измерения |
Количество |
|
|
базовая |
проектная |
||
|
Годовой выпуск продукции |
м/п |
2222222 |
|
|
Производственная площадь |
м2 |
750 |
|
|
Списочный состав рабочих: |
28 |
||
|
-производственных рабочих |
16 |
||
|
-вспомогательные рабочие |
12 |
||
|
Полная себестоимость годовой годной продукции |
41459861 |
||
|
Срок окупаемости, лет=К/Эгод |
2 |
5. Охрана труда
5.1 Нормативно правовая база
Реализация государственной политики осуществляется через систему правовых и нормативных актов, соблюдение которых при организации рабочих мест и выполнении работ на предприятиях в любой сфере профессиональной деятельности является по существу основой в создании здоровых и безопасных условий труда и предупреждении производственного травматизма [14].
Значение охраны труда и её основные принципы закреплены законодательно в Конституции РК и Трудовом кодексе РК (ТК РК).
Условия безопасности труда на рабочем месте должны соответствовать требованиям государственных стандартов, правил по безопасности и охране труда [1].
В ТК РК используются следующие основные понятия:
- охрана труда - система обеспечения безопасности жизни и здоровья работников в процессе трудовой деятельности, включающая в себя правовые, социально-экономические, организационно-технические, санитарно-гигиенические, лечебно-профилактические, реабилитационные и иные мероприятия и средства;
- безопасные условия труда условия труда, созданные работодателем, при которых воздействие на работника вредных и опасных производственных факторов отсутствует либо уровень их воздействия не превышает нормы безопасности;
- вредный производственный фактор производственный фактор, воздействие которого на работника может привести к заболеванию или снижению трудоспособности;
- опасный производственный фактор производственный фактор, воздействие которого на работника может привести к временной или стойкой утрате трудоспособности (трудовому увечью или профессиональному заболеванию) или смерти и др.
Согласно ТК РК работник имеет право:
- на безопасность и охрану труда;
- на рабочее место, защищенное от воздействия вредных и (или) опасных производственных факторов, которые могут вызвать производственную травму, профессиональное заболевание или снижение работоспособности;
- на обеспечение средствами индивидуальной и коллективной защиты, специальной одеждой в соответствии с требованиями, предусмотренными законодательством Республики Казахстан о безопасности и охране труда, а также индивидуальным трудовым и коллективным договорами и пр.
Работник обязан:
- соблюдать требования норм, правил и инструкций по безопасности и охране труда, а также требования работодателя по безопасному ведению работ на производстве;
- использовать по назначению спецодежду, индивидуальные и коллективные средства защиты и пр.
В ТК РК изложены права и обязанности работодателя в области безопасности и охраны труда.
Работодатель имеет право:
- издавать в пределах своих полномочий акты по вопросам безопасности и охраны труда;
- требовать от работников соблюдения норм безопасности, правил и инструкций по безопасности и охране труда и пр.
Работодатель обязан:
- обеспечивать безопасные условия труда;
- осуществлять контроль за состоянием безопасности и охраны труда;
- проводить инструктажи, обеспечивать работников соответствующими инструктивными документами (инструкциями, правилами, методическими указаниями) по безопасному ведению производственного процесса и работ и пр.
Основными направлениями политики в области охраны труда являются:
- обеспечение приоритета сохранения жизни и здоровья работников;
- государственный надзор и контроль за соблюдением требований охраны труда;
- установление компенсаций за тяжелую работу и работу с вредными и опасными условиями труда, неустранимыми при современном технологическом уровне производства;
- распространение передового опыта по улучшению условий труда;
- защита законных интересов работников, пострадавших от несчастных случаев на производстве и профессиональных заболеваний;
- порядок обеспечения работников средствами индивидуальной и коллективной защиты за счет средств работодателя и др.
5.2 Анализ опасных и вредных факторов.
Переработка полимеров относится к категории пожароопасных и взрывоопасных технологических процессов (категория А), так как применяемые в процессе переработки материалы выделяют газы образующие с воздухом взрывчатые смеси.
В данном дипломном проекте проводятся исследования физико-механических и технологических свойств термоэластопластов. Процесс исследования связан с оборудованием, предназначенным для определения теплостойкости, текучести, влажности, ударной вязкости, разрушающего напряжения при растяжении, а также определение прочности при сжатии и изгибе термоэластопластов.
В процессе исследования свойств термоэластопластов при нагреве материала выше 150°С возможно выделение в воздух летучих продуктов термоокислительной деструкции, содержащих стирол, углеводороды, окись углерода [15].
Предельно допустимые концентрации этих веществ в воздухе рабочей зоны в соответствии с ГОСТ 12.1.005 76 приведены в таблице 5.1 [18].
Таблица 5.1 Предельно допустимые концентрации веществ в воздухе рабочей зоны по ГОСТ 12.1.005 76.
|
Наименование вещества |
Предельно допустимая концентрация, мг/м3 |
Класс опасности |
|
Стирол |
10 |
1 |
|
Окись углерода |
20,0 |
4 |
Оборудование, используемое при исследовании свойств полимеров, должно снабжаться укрытиями с местными отсосами. Предельно допустимые концентрации вредных веществ в воздухе рабочей зоны не должны превышать значений, указанных в ГОСТ 12.1.00576. Конструкция вентиляционных систем должка исключать возможность отложения или скопления в них пожаро- и взрывоопасных веществ. Вытяжные и приточные системы должны иметь контрольно-измерительную аппаратуру, позволяющую регулировать их работу в пределах заданных режимов.
Гранулированный термоэластопласт, а так же изделия из него при комнатной температуре не выделяет в окружающую среду токсических веществ и не оказывают вредного влияния на организм человека при непосредственном контакте. Работа с ним не требует особых мер предосторожности.
На опасность поражения электрическим током существенное влияние оказывает состояние окружающей воздушной среды, а так же окружающая обстановка.
Факторами, повышающими опасность воздействия тока на человека в производственном помещении, являются:
- сырость; относительная влажность воздуха длительно превышающая 75 % (с учетом того, что относительная влажность в рабочих помещениях по переработке полимеров в соответствии с правилами пожаро- и взрывоопасности должна быть не ниже 50 %) и токопроводящая пыль;
- высокие температуры (температура, необходимая для эксперимента 210°C).
Постоянную опасность представляет эксплуатация электроустановок и оборудования, работающих под напряжением до 250- 380 В. Наименьшую опасность представляют установки с постоянным током.
Так как некоторые процессы исследования протекают при средней температуре 210°C, существует опасность получить ожог. Температура наружных поверхностей оборудования и трубопроводов, а также ограждений и защитных устройств не должна превышать 318 К (45С).
5.3 Мероприятия по повышению безопасности труда .
Периодический контроль воздушной среды рекомендуется производить:
- в местах непосредственного выделения взрыво- и пожароопасных веществ (кабинах реакторов, кожухах местных отсосов, траншеях с газовыми или жидкостными коммуникациями, сушильных камерах и т.п.);
- на постоянных рабочих местах и в местах возможного пребывания обслуживающего персонала (например, на рабочих площадках, антресолях, в проходах и т.п.);
- в нейтральной зоне помещения;
- на слабо вентилируемых участках;
- в тамбурах-шлюзах, эвакуационных коридорах или проходах (переходах), предназначенных для эвакуации людей в аварийных условиях и в случае возникновения пожара;
- в магистральных воздуховодах, перед вентилятором и очистными устройствами вентиляционных установок, перемещающих взрывоопасные пыли, пары или газы.
При неудовлетворительном состоянии воздушной среды наряду с выявлением и установлением причин технологического характера необходимо проверить эффективность работы вентиляционной установки.
Для контроля за состоянием воздушной среды в исследовательских, производственных и складских помещениях, в которых применяют, производят или хранят вещества и материалы, способные образовывать газы и пары взрывоопасных концентраций, должны быть установлены автоматические газоанализаторы. В случае отсутствия серийно выпускаемых газоанализаторов необходимо осуществлять периодический анализ воздушной среды.
Исследование свойств термоэластопластов следует производить в помещениях, оборудованных местной вытяжной и общеобменной вентиляцией. Рабочие места должны быть организованы по ГОСТ 12.2.003-91, ГОСТ 12.2.061-81. Относительная влажность в рабочих помещениях должна быть не ниже 50 %. [17]
Концентрация огнеопасных или токсичных паров, газов или пылей в помещениях, а также в устройствах, требующих непрерывного или периодического пребывания людей, не должна превышать предельно допустимых значений, указанных в таблице 5.1.
- регулярная очистка воздуховодов от отложений пыли и конденсата должна производится безопасными в пожарном отношении способами;
- с целью устранения утечки вредных газов необходима герметичность воздуховодов;
- антикоррозионное покрытие воздуховодов, регулирующих и огнезадерживающих устройств должно быть в исправном состоянии;
- самозакрывающиеся обратные клапаны на воздуховодах приточных вентиляционных систем (в пределах вентиляционной камеры), изолирующие приточную камеру от взрывоопасных помещений при остановке приточного вентилятора, должны быть исправными и иметь указатель рабочего положения.
Для обеспечения взрыво- и пожаробезопасности электроустановок эксплуатация электрооборудования должна соответствовать требованиям:
- технической эксплуатации электроустановок потребителей и правил техники безопасности при эксплуатации электроустановок потребителей;
- устройства электроустановок;
- инструкции по монтажу электрооборудования взрывоопасных установок (в помещениях и наружных);
- инструкции по монтажу электрооборудования пожароопасных установок напряжением до 1000 В;
- инструкции по ремонту взрывозащищенного электрооборудования.
Для обеспечения безопасности работ в действующих электроустановках выполняют ряд организационных мероприятий:
- организуют инструктаж и обучение безопасным методам труда, проверку знаний правил безопасности и инструкций, проведение работ под контролем ответственного лица.
Технические мероприятия должны предусматривать:
- отключение установки от электроснабжения, снятие предохранителей и другие мероприятия, обеспечивающие невозможность ошибочной подачи напряжения к месту работы;
- установку знаков безопасности и ограждение остающихся под напряжением токоведущих частей рабочих мест и другие мероприятия.
В пожароопасных зонах горючие материалы любых видов должны находиться на расстоянии не менее 1м от электрооборудования.
Для тушения термоэластопластов применяют огнетушители любого типа, воду, водяной пар, огнегасительные пены, инертные газы, песок, асбестовые одеяла [15].
Для защиты от токсичных продуктов, образующихся в условиях пожара, при необходимости применяют изолирующие противогазы любого типа или фильтрующие противогазы марки БКФ.
Средства индивидуальной защиты работающих на переработке пластических масс должны отвечать требованиям ГОСТ 12.4.011-89. Лица, занятые на производстве полимерных изделий, должны быть обеспечены в соответствии с типовыми отраслевыми нормами спецодеждой из хлопчатобумажной ткани и средствами индивидуальной защиты перчатками по ГОСТ 12.4.068.
Средства защиты в каждом отдельном случае следует выбирать с учетом требований безопасности для данного процесса или вида работ.
В помещениях с взрывоопасными производствами (категории А, Б, и Е) следует применять системы воздушного отопления, совмещенные с приточной вентиляцией без рециркуляции воздуха [19]. Не допускается применять печное отопление и отопление с инфракрасными или высокотемпературными излучателями.
Экраны и нагревательные приборы при любой температуре теплоносителя должны быть устранены в помещениях для хранения легковоспламеняющихся жидкостей (бензина) с температурой вспышки паров 28°С и ниже, а также в помещениях для хранения самовозгорающихся веществ и материалов.
Запрещается складывать спецодежду, промасленную ветошь и другие горючие материалы на нагревательные приборы и трубопроводы отопления.
Механизмы узлов включения и выключения должны действовать безотказно, обеспечивать остановку подвижных органов машины в заданных положениях.
Для машин, постоянно работающих в автоматическом и полуавтоматическом режимах, должна предусматриваться возможность работы в ручном и наладочном режимах, обеспечивающих независимое перемещение узлов и механизмов. Самопроизвольное включение оборудования или его переключение с одного режима работы на другой должно исключаться.
Переключатель режимов работы и способов управления должен устанавливаться в закрываемом шкафу.
Техника безопасности при эксплуатации электроустановок в соответствии с ГОСТ 12.1.01979 обеспечивается:
- конструкцией электроустановки;
- техническими средствами и способами защиты;
- организационными техническими мероприятиями;
К техническим способам и средствам защиты относятся:
- защитное заземление, задача которого устранение опасности поражения током в случае прикосновения к корпусу и другим токоведущим частям электроустановки;
- изоляция токоведущих частей - основное условие, обеспечивающее безопасность эксплуатации и надежность электроснабжения электроустановок;
- оградительные устройства применяют для того, что бы исключить случайные прикосновения к токоведущим частям электроустановки;
- предупредительная сигнализация, блокировка, знаки безопасности.
5.4 Мероприятия по противопожарной безопасности.
В Законе РК «О пожарной безопасности» от 22.11.1996 г. используются следующие основные понятия:
пожарная безопасность - состояние защищенности людей, имущества, собственности, общества и государства от пожаров;
требования пожарной безопасности - специальные условия социального и (или) технического характера, установленные в целях обеспечения пожарной безопасности законодательством Республики Казахстан;
нарушение требований пожарной безопасности - невыполнение или ненадлежащее выполнение норм, правил и инструкций по обеспечению пожарной безопасности, установленных в соответствии с законодательством Республики Казахстан;
меры пожарной безопасности - действия по выполнению требований пожарной безопасности;
Основными принципами обеспечения пожарной безопасности (ст. 3 Закона РК «О пожарной безопасности» от 22.11.1996 г.) являются:
- охрана жизни и здоровья людей, собственности, национального богатства и окружающей среды в области пожарной безопасности;
- заблаговременное определение степени риска в деятельности организаций и граждан, обучение мерам предупреждения и осуществление профилактических мероприятий в области пожарной безопасности;
- обязательность тушения пожара, проведения первоочередных аварийно-спасательных и других необходимых работ, оказания медицинской помощи, социальной защиты граждан и пострадавших работников, возмещения вреда, причиненного вследствие пожара здоровью и имуществу граждан, окружающей среде и объектам хозяйствования.
Для обеспечения противопожарной защиты в опытно-экспериментальном цехе проводятся технические и организационные меры.
Технические меры соблюдение противопожарных норм при эвакуации, систем вентиляции, отопления, освещения, электрического обеспечения и использование разнообразных защитных систем, соблюдение параметров технологических процессов и режимов работы оборудования.
Организационные меры проведение обучения по пожарной безопасности, соблюдению мер по пожарной безопасности.
Требования пожарной безопасности согласно Инструкция о мерах пожарной безопасности для рабочих, ИТР и служащих включают в себя требования безопасности во время работы.
1. В рабочее время каждый рабочий и служащий должен:
- постоянно содержать в чистоте и порядке свое рабочее место;
- проходы, выходы не загромождать различными предметами и оборудованием;
- строго соблюдать на рабочем месте установленные нормы хранения производственных материалов и готовой продукции;
- не допускать нарушение пожарной безопасности со стороны посторонних лиц;
- промасленную одежду, тряпки и горючие отходы хранить только в металлических ящиках с плотно закрывающимися крышками;
- протирать полы, стены и оборудование горючими растворами запрещается;
- горючие жидкости, легковоспламеняющиеся жидкости (ГЖ, ЛВЖ) хранить в строго отведенных местах, соблюдая требования пожарной безопасности;
- переносить ГЖ и ЛВЖ только в специальной таре с плотно закрытыми крышками, в случае пролива необходимо немедленно убрать;
- не подключать самовольно электроприборы, исправлять электрическую сеть и предохранители;
- не пользоваться открытым огнем в служебных и рабочих помещениях;
- не курить, не бросать окурки и спички в служебных и рабочих помещениях;
- не накапливать и не разбрасывать бумагу и другие легковоспламеняющиеся материалы и мусор;
- не хранить в столах, шкафах и помещениях ЛВЖ (бензин, керосин и др.);
- не пользоваться электронагревательными приборами в личных целях с открытыми спиралями;
- не оставлять включенными без присмотра электрические приборы и освещение;
- не вешать плакаты, одежду и другие предметы на электророзетки, выключатели и другие электроприборы.
2. Действие рабочих и служащих на случай пожара:
- в случае возгорания немедленно сообщить начальнику добровольной пожарной дружины, руководителю предприятия;
- для вызова городской пожарной команды звонить 01;
- немедленно эвакуироваться, согласно плану эвакуации при пожаре.
Под пожаротушением подразумевается комплекс мероприятий, направленных на ликвидацию возникшего пожара. Существуют следующие способы пожаротушения:
- охлаждение очага горения или горящего материала ниже определенных температур;
- изоляция очага горения от воздуха или снижение концентрации кислорода в воздухе путём разбавления негорючими газами;
- торможение (ингибирование) скорости реакции окисления;
- механический срыв пламени сильной струей газа или воды
- создание условий огнепреграждения, при которых пламя распространяется через узкие каналы, сечение которых ниже тушащего диаметра.
Для достижения этих эффектов применяют различные огнетушащие вещества и составы (называемые в дальнейшем средствами тушения). В настоящее время в качестве средств тушения используют:
- воду, которая может подаваться в очаг пожара сплошными
или распыленными струями;
- пены (воздушно-механическая различной кратности и химическая), представляющие собой коллоидные системы, состоящие из пузырьков воздуха (в случае воздушно-механической пены) или диоксида углерода (в случае химической пены), окруженных пленками воды;
- инертные газовые разбавители (диоксид углерода, азот, аргон, водяной пар, дымовые газы);
- гомогенные ингибиторы низкокипящие галогеноуглеводороды (хладоны);
- гетерогенные ингибиторы огнетушащие порошки;
- комбинированные составы.
Проектирование противопожарного водопровода производят в соответствии со СНиП 2.04.02-84 "Водоснабжение. Наружные сети и сооружения" и СНиП 2.04.01-85 "Внутренний водопровод и канализация зданий". Для отбора воды из наружного водопровода на нем устанавливают на расстоянии 100-150 м. пожарные гидранты.
Пожарные краны должны устанавливаться на высоте 1,35 м. над полом помещения и размещаться в шкафчиках, которые должны быть снабжены пожарным рукавом одинакового с краном диаметра и длиной от 10 до 20 м, а также пожарным стволом. В жилых зданиях пожарные краны устанавливают обычно на лестничных площадках. Диаметр крана при расходе одной пожарной струи 4 л/с должен быть 50 мм, а при большем расходе - 65 мм.
В качестве первичных средств пожаротушения используют различные огнетушители, которые могут быть ручными, передвижными (установленными на колеса и перемещаемые вручную), стационарными (оборудованными гибкими шлангами и ручными стволами). Огнетушители маркируют знаками, обозначающими состав заряда огнетушителя и его емкость (например, 10-литровый порошковый огнетушитель - ОП-10). В настоящее время выпускают следующие огнетушители:
- порошковые с зарядами ПСБ-3, П-2АП, "Пирант А", ПФ:
ручные ОП-1 "Момент 2", ОП-2Б, ОП-5, ОП-8Б, ОП-10А,
ОП-10 "Прогресс", ОП-10 (закачной), ОП-50 (закачной);
передвижные ОП-50; стационарные ОП-250;
- пенные: ручные ОХП-10 (химпенные), ОХВП-10 (химпенные и с зарядом воздушно-механической пены), ОВП-10 (воздушно-механическая пена), ОВП-5; передвижные ОВП-10; стационарные ОВП-250;
- углекислотные с зарядом диоксида углерода: ручные ОУ-2,
ОУ-5; передвижные ОУ-25, ОУ-80, ОУ-400.
По степени опасности развития пожара предприятия по переработке полимеров относят к третьей группе помещений [20].
После установления группы помещения устанавливаются параметры установки по таблице 5.2 [20].
Для обеспечения пожаробезопасности в соответствии с таблицей 5.2 на территории цеха необходимо разместить оросители.
Расход воды определяется по формуле (5.1) :
Q=I·Sn (5.1)
где Q расход воды, л/с;
I интенсивность орошения, л/(м2 с);
S площадь для расчета расхода, м2;
n количество оросителей.
Таблица 5.2 Параметры водопенных установок пожаротушения.
|
Группа |
Интенсивность орошения, л/(м2 с) |
Площадь орошения спринклер, м2 |
Площадь для расчета расхода, м2 |
Время работы установки, с |
Расстояние между оросителями, м |
|
|
воды |
раствор ПО |
|||||
|
1 |
0,08 |
|
12 |
120 |
30 |
4 |
|
2 |
0,12 |
0,08 |
12 |
240 |
60 |
4 |
|
3 |
0,24 |
0,12 |
12 |
240 |
60 |
4 |
|
4 |
0,3 |
0,15 |
12 |
360 |
60 |
4 |
|
5 |
0,32 |
0,16 |
9 |
180 |
60 |
3 |
|
6 |
0,4 |
0,24 |
9 |
180 |
60 |
3 |
|
7 |
1 |
0,4 |
9 |
180 |
|
3 |
Проектирование системы защиты с использованием набора генераторов аэрозольного тушения типа "Габар-П" производится на основе расчета потребного количества генераторов (n) по формуле (5.2). Расчет может быть произведен для генератора типа Габар-П-10:
(5.2)
где qh = 0.05 кг/м3 нормативная огнетушащая концентрация АОС, кг/м3;
V = 7257.6 м3 объем помещения, м3;
Q = 10 кг масса заряда ТТК одного генератора, кг;
K1 = 1,3 коэффициент, учитывающий неравномерность заполнения помещения;
K2 = 1,6 коэффициент, учитывающий негерметичность помещения.
По значению показателя токсичности продуктов горения по ГОСТ 12.1.044 [16] полипропилен относится к классу высокоопасных. При тушении сырья (полипропилен низкого давления) необходимо пользоваться промышленными противогазами марки «В» с фильтром или изолирующими противогазами для защиты от фтороводорода и окиси углерода, выделяющихся при горении. Температура воспламенения полипропилена 440С.
-контрольной станции, передающий сигнал и включающей световую и звуковую сигнализацию, а также автоматические установки пожаротушения и дымоудаления.
6 Промышленная экология.
6.1 Нормативно-правовая база.
Охрана окружающей природной среды и рациональное использование ее ресурсов в условиях развития научно-технического прогресса и бурного роста промышленного производства стала одной из актуальнейших проблем современности.
В Законе Республики Казахстан от 15 июля 1997 года N 160-1 «Об охране окружающей среды» в ст. 35 излагается необходимость экологического нормирования, целью которой является установление,научно обоснованных предельно допустимых норм воздействия на окружающую среду, гарантирующих экологическую безопасность и охрану здоровья населения, и, обеспечивающих предотвращение загрязнения окружающей среды, воспроизводство и рациональное использование природных ресурсов.
В основные задачи экологического нормирования входят:
- установление экологических норм и определение их влияния на здоровье человека, охрану, воспроизводство и рациональное использование природных ресурсов;
- установление предельно допустимых величин и уровней вредных воздействий на окружающую среду.
Не допускается завышение установленных нормативов качества окружающей среды или замена их на временные и заниженные нормы.
Допускаются изменения величин нормативов в сторону ужесточения в зависимости от конкретных экологических условий территорий.
Утвержденные экологические нормативы являются обязательными для всех юридических и физических лиц, подлежат опубликованию и свободному распространению.
В ст. 36 [21] раскрыты основные виды экологических нормативов.
К основным видам экологических нормативов относятся:
- нормативы предельно допустимых концентраций вредных веществ в окружающей среде;
- нормативы предельно допустимых выбросов и сбросов загрязняющих веществ в окружающую среду;
- нормативы предельно допустимых уровней шума, вибрации, магнитных полей и иных вредных физических воздействий;
- нормативы предельно допустимого уровня радиационного воздействия;
- предельно допустимые нормы применения агрохимикатов в сельском и лесном хозяйстве;
- нормативы охранных, санитарно-защитных и иных защитных зон;
- удельные нормативы выброса, сброса вредных (загрязняющих) веществ;
- нормативы обращения с отходами.
Законодательство Республики Казахстан может предусматривать и иные виды экологических нормативов.
В целях охраны здоровья населения, растительного и животного мира, сохранения их генетических фондов устанавливаются нормативы предельно допустимых концентраций потенциально опасных химических и биологических веществ, загрязняющих атмосферный воздух, воду, почву и недра [21].
В Законе Республики Казахстан от 15 июля 1997 года N 160-1 «Об охране окружающей среды» изложены экологические требования при эксплуатации объектов промышленности, энергетики, транспорта и связи, объектов сельскохозяйственного назначения и мелиорации.
Эксплуатация объектов промышленности, энергетики, транспорта и связи, объектов сельскохозяйственного назначения и мелиорации должна осуществляться с учетом установленных экологических требований и с использованием экологически обоснованных технологий, необходимых очистных сооружений и санитарно-защитных зон, исключающих загрязнение окружающей среды..
Запрещаются проектирование, строительство атомных и гидроэлектростанций на территориях с большой концентрацией населения, в сейсмически опасных зонах, традиционных местах массового отдыха и лечения населения [21].
Экологические требования при обращении с отходами производства и потребления определены в главе 10 Закона РК 15 июля 1997 года N 160-1 «Об охране окружающей среды»:
- складирование, уничтожение и захоронение отходов производятся в местах, определяемых решениями местных исполнительных органов областей (города республиканского значения, столицы) по согласованию с уполномоченным органом в области охраны окружающей среды и иными исполнительными органами Республики Казахстан, осуществляющими функции охраны окружающей среды.
.
- ввоз для переработки, захоронения или хранения отходов в Республику Казахстан может осуществляться только по специальному разрешению Правительства Республики Казахстан.
- запрещается импорт продукции, не имеющей технологии для ее обезвреживания или утилизации после использования.
- экологические требования при обращении с отходами, наряду с настоящим Законом, определяются законодательством об отходах и иными нормативными правовыми актами.
- образование и использование производственных и коммунально-бытовых отходов подлежат государственному учету.
. В соответствии с этой главной задачей бюро экологии выполняет следующие функции:
1. Разрабатывает с участием заинтересованных подразделений, цехов, служб предприятия годовые перспективные планы мероприятий по охране природы и рациональному использованию природных ресурсов, подготавливает их к утверждению в порядке, определяемом руководством предприятия, согласовывает их с инспектирующими органами и осуществляет контроль за их выполнением.
2. Организует систематический контроль за качеством сточных вод, газовых выбросов, за содержанием вредных веществ в воздухе рабочей зоны, работой общезаводских и локальных установок очистки сточных вод и газовых выбросов, сооружений для обезвреживания и захоронения отходов производства, уровнем освещенности и шума в производственных помещениях.
3. Организует и осуществляет контроль за выполнением предписаний инспектирующих организаций по вопросам охраны природы.
4. Осуществляет методологическое руководство, координацию и контроль природоохранительной деятельностью отделов, служб и подразделений предприятия, принимает участие в рассмотрении и согласовании технологических регламентов производств в части промышленных выбросов в окружающую среду, а также норм расхода материальных ресурсов.
5. Участвует в работе комиссий вышестоящих инспектирующих организаций, обследующих состояние охраны природы на предприятии.
6. Участвует в работе комиссии по приемке в эксплуатацию промышленных объектов и производств по указаниям и в порядке, определяемом руководством предприятия.
7. Осуществляет сводный учет количества отходов, выбрасываемых в окружающую среду.
8. Организует расследование причин и последствий залповых выбросов вредных веществ в окружающую среду, разбор действий персонала и руководителей подразделений по предотвращению и ликвидации последствий залповых выбросов, подготавливает предложения руководству о мерах по недопущению подобных выбросов и наказанию виновных.
9. Подготавливает справки, доклады, проекты приказов, ответы на письма, жалобы, а также другие документы, касающиеся вопросов охраны окружающей среды [23].
В задачи службы входит также планирование средств на охрану окружающей среды. Что касается качества работы экологической службы. То залогом его повышения является активизация научно-прикладных исследований, более активное внедрение новых информационных технологий, инженерных решений, привлечение высококвалифицированных специалистов в области охраны окружающей среды..
6.2 Анализ состояния окружающей среды
В научной лаборатории НТЦ «Композиционные материалы» проводятся исследования физико-механических и технологических свойств полимерных материалов, в которых применены оборудование и процессы, исключающие образование вредных веществ или попадание их в рабочую зону.
Начато изучение особенностей термоэластопластов. Основными операциями при изучении являются:
- изготовление образцов материала с требуемыми параметрами;
- исследования их на прочность при сжатии, растяжении и изгибе;
- определение плотности, влажности, текучести, теплостойкости и других технологических параметров материала.
Лицензирование деятельности фирмы в области охраны окружающей среды регламентируются законом Республики Казахстан «О лицензировании отдельных видов деятельности», постановленном Правительством Республики Казахстан от 26.02.96 № 168. В соответствии с этими нормативно-правовыми документами лицензированию подлежат следующие виды деятельности фирмы:
- экологическая паспортизация оборудования, применяемого при исследовании;
- проведение экологической сертификации оборудования, сырья и отходов;
- утилизация, складирование, перемещение, размещение и уничтожение производственных и иных отходов.
Объектом исследования в данном дипломном проекте является термоэластопласт.
Также некоторые типы ТЭП- композиций производятся твердофазной полимеризацией, например, на основе дивинилстирольных каучуков и полистиролов по ТУ 2243-154-00300209-2001. Кроме полимеров композиции содержат мягчители, наполнители, парообразователи (для вспенивающихся композиций) и другие ингредиенты, изначально подобранные таким образом, чтобы обеспечить практически безвредное производство. Композиции выпускаются в гранулах с размерами от 2 до 10 мм, что в свою очередь не способствует запылению помещения и не требует установки пылеуловителей. Воздух в рабочей зоне остается чистым на протяжении всего рабочего времени.
Термоэластопласт представитель полиолефинов является безопасным с точки зрения экологии и токсичности полимером. Термоэластопласт может иметь слабый парафиноподобный запах или может вообще его не иметь. Вещества, которые могут мигрировать из него, являются практически безвредными. Термоэластопласт не обладает способностью образовывать токсичные соединения в воздушной среде и сточных водах в присутствии других веществ или факторов при температуре окружающей среды.
При производстве изделий в процессе переработки материалов может происходить выделение газообразных продуктов (уксусная кислота, оксид углерода, аэрозоли и эфиры). Работа с термоэластопластами в лабораторных условиях позволяет не допустить перегрева материала, тем самым избежать большого количества выбросов токсичных веществ [22].
Устройства контроля и регулирования технологических операций для локализации выделяющихся веществ предусмотрена система вытяжной вентиляции, отвечающая требованиям ГОСТ 12.4.021-75 .
Источником энергии для работы машин служит электричество, таким образом исключены выбросы в атмосферу, которые образуются при использовании тепловой энергии в топливно-энергетическом комплексе при сжигании топлива. Все это, безусловно, будет являться преимуществом любого завода по производству пластмассовых изделий, так как не требует огромных затрат на выплаты за загрязнение окружающей среды, а только осуществляет плановые платежи.
Температура в рабочем помещении в холодный период поддерживается оптимальной в пределах 1820С от местного отопления. Тепловое излучение, исходящее от лабораторного оборудования, практически отсутствует. В теплый период излишний нагрев рабочей зоны устраняется с помощью стационарных или передвижных вентиляторов.
Термоэластопласт, соответствующий ТУ, запускается в производство, после выдачи лабораторией заключения о годности.
Готовая продукция из термоэластопластов не выделяет в окружающую среду токсичных веществ, не оказывают вредного воздействия на организм человека. Радиоактивные излучения исключены. Готовая продукция должна обеспечивать требования ГОСТ Р 51958 2002.
6.3 Утилизация и ликвидация полимерных отходов
При переработке термоэластопластов образуются отходы возвратные и безвозвратные отходы сырья. Возвратные потери могут использоваться вторично для производства изделий. В случае изменения свойств полимера его вторичное использование не возможно и возникает проблема утилизации отходов.
Производственные отходы на предприятиях, производящих полимеры, не превышают 0,30,5% от объема выпуска и утилизируются самостоятельно предприятиями [25].
Однако уничтожение полимерных отходов является не менее сложным и дорогостоящим, чем их производство, поэтому эти отходы вместе с другим мусором складируют на свалки. Содержимое свалок, постепенно разлагаясь, отравляет окружающую среду продуктами распада, и, хотя полимеры и являются достаточно инертными компонентами мусора, они также постепенно разрушаются, выделяя опасные для живых организмов вещества, в том числе сверхтоксичные соединения диоксинового и фуранового ряда.
Для решения проблемы переработки полимерных отходов необходимо решение следующих задач:
- разработка прогрессивных технологий переработки полимеров, но менее дорогостоящих, чем её зарубежные аналоги;
- проектирование необходимого оборудования, и модернизация уже функционирующих мощностей;
- анализ номенклатуры и источников отходов, определение возможной номенклатуры продукции из отходов и ее потребителей;
- разработка технологических процессов утилизации отходов и сопутствующей нормативной документации;
- создание мобильных опытных производств или модернизация уже существующих для переработки отходов.
Утилизация отходов термоэластопластов возможна всеми известными для термопластов способами [26].
- переработка отходов в полимерное сырьё и повторное его использование для получения изделий;
- сжигание вместе с бытовыми отходами;
- пиролиз получение жидкого и газообразного топлива;
- захоронение на полигонах и свалках в составе бытовых отходов.
Утилизация имеет целью использование полезных свойств отходов или их компонентов (повторно). Отходы выступают в качестве вторичного сырья.
В первом случае полезную продукцию изготавливают термомеханическими методами: экструзией, экструзионно- прессовым и вальцево- прессовым методами или методом непрерывного литья под давлением, применяемым для переработки полимерных материалов с неоднородными реологическими параметрами. Основное требование к продукции большой срок эксплуатации, по крайней мере не менее 20 лет, чтобы ограничить ее попадание на полигоны ТБО и на следующую переработку.
Таким образом, несмотря на возможные ограничения по использованию полимерных отходов, области их применения достаточно объемные и опасности в невостребованности продукции из них нет.
Отходы полимеров могут быть использованы без предшествующей глубокой физико-химической переработки. После сортировки их можно сразу переплавлять в изделия или использовать в качестве наполнителей легких бетонов.
При глубокой переработке они могут быть полностью переработаны в товарную муравьиную или уксусную кислоту. В основе такой глубокой переработки лежит процесс:
Органические отходы Водно-щелочная среда
Захоронение отходов пластмасс на полигонах и свалках, может рассматриваться лишь как временная мера их утилизации, т. к. пластмассы подвергаются разложению чрезвычайно медленно. При этом методе из сферы возможного полезного использования изымаются тысячи тонн ценного вторичного сырья.
Другими методами переработки отходов являются:
- сжигание;
- пиролиз;
- рециклизация переработка.
.
Целесообразно проводить дожигание газов с получением новых продуктов, которые можно использовать в производственном цикле в качестве сырья или промежуточных продуктов. Целесообразно так же использовать выделяющееся тепло.
Пиролиз является прогрессивным методом переработки. Он протекает при температуре 5001000оС в бескислородной (обедненной кислородом атмосфере), что препятствует возгоранию полимеров. Количество и состав продуктов пиролиза зависят от исходных веществ и технологического режима переработки. В среднем продукт разложения содержит: пиролизный газ 20%, жидкие углеводороды 40%, твердый остаток 30%, смола 10%.
Печи сжигания должны соответствовать основным требованиям:
- обеспечивать хорошее перемешивание твердых отходов в процессе горения для лучшего проникновения воздуха в массу отходов и более полного процесса окисления отходов;
- сохранять и поддерживать высокие температуры, надежное воспламенение и устойчивое горение, с гарантирование полного сжигания органических составляющих;
- обеспечивать полное обезвреживание минеральной части промышленных отходов от органических веществ [26].
Кроме утилизации и обезвреживания пластмассовых отходов, следует отметить их использование в строительстве. В большинстве асфальтовых дорожных покрытий основными связующими являются битумы различной природы.
позволяющих модифицировать свойства покрытий.
Все более широкое распространение для использования отходов пластмасс получает многокомпонентное литье, при котором изделие имеет наружный и внутренний слой из различных материалов. Наружный слой это, как правило, товарные пластмассы высокого качества, стабилизированные, окрашенные, имеющие хороший внешний вид.
Таким образом, проблема утилизации полимерных отходов вполне решаема, причем их переработка имеет существенный экономический эффект. В условиях уже существующих промышленных установок и накопленного опыта отечественных специалистов, решение поставленных задач будет успешным только при должном внимании к этой не только экологической проблеме и поддержке со стороны государства.
Заключение.
1.Разработаны ТЭП-композиций с высокими эксплуатационными свойствами и высокой стойкостью к циклическим нагрузкам.
2. Разработана технология получения ТЭП- композиций на основе термореактивных полимеров.
3.Разработана технолгия реставрации производства тормозных накладок и тормозных колодок на основе исследуемых ТЭП- композиций., состоящих из ТЭП- 40 масс. %, 45масс. % бинарного наполнителя ( 75 частей каолин и 25 частей волокнистый асбест ) 15 масс. % технического углерода.
4.Тормозные колодки, реставрированные и вновь изготовленные ,были переданы для стендовых испытаний в лабораторию Карагандинского вагоноремонтного завода Целинного отделения ОАО «Казахстан темир жолы».
5. Подготовлены Нормативно-технические документации на ТЭП-композиций и переданы на сертификацию по графе «Специальные материалы».
6.Экономический эффект от внедрения ТЭП- композиций на предприятий НТП «Композиционные материалы» по результатам опытно промышленных испытаний составил от применения 1 тонны ТЭП- композиций 476360 тенге .
7. По результатам проведенных исследований в рамках дипломной работы опубликована 1 статя в журнале «Химический журнал» Вестник Института химических наук, 2009 г. №2, -С. 74-79., 1 тезисы докладов в материалах студенческой конференции «Алдамжаровские чтения»,2009г. №3, С.156-159. и подана 1 заявка на изобретение в комитет интеллектуальной собственности Республики Казахстан.
Список использованных источников
1. Шаталов В. П. Юдин В. П. Промышленность СК. Л. «Химия», 1985. 523с
2. Гормонов И. В. Синтетические каучуки. Л. «Химия», 1989. 430 с.
3. Моисеев Е. А. Термоэластопласты. М. «Химия», 1985. - 192 с
4. Володин В. П. Экструзия профильных изделий из термопластов. СПб. «Профессия», 2005. 430 с.
5. Макаров В. Г. Промышленные термопласты. Справочник. Л. «Химия», 2003 208 с.
6. Справочник по композиционным материалам. / Под ред. Дж. Любина / Пер с англ. - М. : Машиностроение, Т.1. - 1988. - С. 152-156.
7. Иманов А.Н., Мусалимов И.Г. Термопластичные композиционные материалы. Ч.1. Композиционные материалы на основе полиэтилена высокой плотности / Алма-Ата : НАДП и МИ РК, 1997. - 172 с.
8. Иманов А.Н., Мусалимов И.Г. Термопластичные композиционные материалы. Ч.2. Композиционные материалы на основе полипропилена / Алма-Ата : НАДП и МИ РК, 1997. - 121 с.
9. Иманов А.Н. Переработка наполненных материалов на основе ПЭВП в изделия санитарно-технического назначения: Дисс.… канд. техн. наук: 05.23.05 / А.Н. Иманов. - М., 1989. 280 с.
10. Справочник по композиционным материалам. / Под ред. Дж. Любина / Пер с англ. - М. : Машиностроение, Т.2. - 1988. - С. 203-208.
11. Кулезнев В.Н., Шершнев В. А. Химия и физика полимеров / Учебник. 2-е изд., перераб. И доп. М. : КолосС, 2007. - 367 с.
12. Чалая Н.М. Производство и переаботка полиолефинов в России // Берлин А.А., Вольфсон С.А., Ошмян В.Г. Принципы создания полимерных композиционных материалов. М.: Химия, 1990. - 216с.
13. Шварц О. и др. Переработка пластмасс. СПб.: «Профессия», 2005. 310 с.
14. Крыжановский В.К. и др. Производство изделий из полимерных материалов. М. «Профессия», 2004.- 460 с.
15. Материаловедение и технология металлов: Учеб. для студентов машиностроит. спец. вузов / Г. П. Фетисов, М. Г. Карпман, В. М. Матюнин и др.; Под ред. Г. П. Фетисова. М.: Высш. шк., 2001. 638 с.: ил
16. Графкина М. В. Охрана труда и производственная безопасность: учебник М.: «Проспект», 2007. 424 с.
17. Гормонов И. В. Синтетические каучуки. Л. «Химия», 1989. 430 с.
18. ГОСТ 12.1.044 76 Содержание токсичных веществ. Общие требование безопасности.
19. Князевский Б. А. Охрана труда. М. «Высшая школа», 1982. 312 с.
20. Филатов В. И. Карсаков В. Д. Технологическая подготовка процессов формования изделий из пластмасс. Л.:
«Политехника», 1991. 353 с.
21. Баратов А. Н. Пожарная безопасность. М. 1997. 173 с.
22. Закон Республики Казахстан от 15 июля 1997 года N 160-1 «Об охране окружающей среды».
23. Брылов С.А., Грабчак Л.Г. Охрана окружающей среды. М.: Высшая школа, 1985
24. Хван Т.А. Промышленная экология. Ростов на Дону: Феникс, 2003.
25. Бобков А.С. Охрана труда и экологическая безопасность в химической промышленности. М.: Химия, 1998.
26. Кушелев В.П. Охрана природы от загрязнений промышленными выбросами М.: Химия, 1999.
27. Д.Н.Гракунов Триботехника.- М.: Машиностроение.1989.328 с.
28. Кащеев В.Н. Процессы в зоне фрикционного контакта металлов . М.: Машиностроение,1978.211 с.
29. Елизаветин М.А., Сатель Э.А. Технологические способы повышения долговечности машин. М.: Машиностроение,1979. 438 с.
Белый В.В. Полимерные конструкционные материалы. Минск: Наука и техника, 1980. 278 с.
Директор
Научно-технического центра
«Композиционные материалы»
Д.Б. Жокебаев
«______»_________2009г
ТЕХНИЧЕСКИЙ АКТ
приемки-сдачи НИР
Мы, нижеподписавшиеся, представитель заказчика Директор научно-технического центра (НТЦ) «Композиционные материалы» Жокебаев Д.Б. ,д.х.н,проф. Е.О. Батырбеков и нач.отдела внелрения Ю.А.Ли с одной стороны, и представители разработчика к.т.н. профессор Иманов А.Н. и В.И.Мелихов составили настоящий технический акт приемки и сдачи НИР «Разработка и освоение технологии получения композиционных полимерных материалов фрикционного назначения» по программе НТЦ «Композиционные материалы»: «Освоение и внедрение в практику производства передовых достижений науки и техники»
1.Научно-исследовательская работа «Разработка фрикционных материалов на основе фенолоформальдегидных смол, асбеста и каолина» выполнена в полном объеме в соответствии с техническим заданием № 0077 от 12.01.2005г.
2.НИР выполнена в соответствии с заданием в полном объеме согласно Приложения 1 Технического задания № 0077.
3. В результате исследований разработана технология получения и переработки КПМ на основе ФФС марки Ж9- 010-60,предусматривающая использование в качестве исходных компонентов сырье казахстанских месторождений.
4. Результаты разработки приняты для проектирования цеха по производству фрикционных материалов с мощностью 1000 тонн в год в условиях НТЦ» Композиционные материалы».
5.Практическая создание нового типа фрикционных материалов с использованием асбеста и природного каолина.
Практическое применение результатов НИР.
1. Результаты НИР планируется использовать для производства фрикционных изделий для автотранспортных средств. (Усть-Каменогорский автомобильный завод легковых автомобилей).
2.Вид и форма использования: Организация производства фрикционных материалов Ж9-010-60 с мощностью 1000 тонн в год 2010-2011гг.
3. Создание широкого класса ассортимента технических изделий для машино-строительной промышленности Казахстана с целью обеспечения программы Республики Казахстан по импортозамещаемости. ( Заказ наряд Министерства индустрии и торговли Республики Казахстан)
4. Создание новых 55 рабочих мест с годовым фондом заработной платы в 4.400 000 тенге.
5. Финансирование проектно - изыскательских работ в рамках рассматриваемой работы:
а)- проектирование цеха производства КПМ-12 млн. тенге;
б)- проектирование участка реставрации
тормозных колодок;
в)- проектирование цеха производства техниче-кого углерода.
6. Составление финансовой модели организации производства по общей программе « Композиционные материалы специального назначения» для разработки «Сметы доходов и расходов»,ТЭО и ТЭР
Подписи:
Подписи от КСТУ: ОТ НТЦ «КМ»:
1.______________А.Н. Иманов ____________Батырбеков Е.О.
2._____________ Мелихов В.И. _____________Ли Е.Н.
Директор
Научно-технического центра
«Композиционные материалы»
Д.Б. Жокебаев
«______»_________2009г
АКТ ВНЕДРЕНИЯ
Мы нижеподписавшиеся, зам. директора по научной работе Научно технического центра (НТЦ) «Композиционные материалы» доктор химических наук, профессор Батырбеков Е.О , гл.бухг.Ли Е.Н. и разработчики к.т.н., профессор Иманов А.Н. и дипломант Мелихов В.И.составили настоящий акт в том, что в результате проведения научно-исследовательской работы «Разработка технологии получения фрикционных материалов для реставрации тормозных колодок железнодорожных вагонов» по плану программы НТЦ «Композиционные материалы», выполненной в период с 01 января 2008 г.. по 30 марта 2009 года в производственных условиях НТЦ «Композиционные материалы» внедрены в производство результаты научно-исследовательских работ
«Разработка технологии получения фрикционных материалов для реставрации тормозных колодок железнодорожных вагонов», предусматривающая использование в качестве исходных компонентов сырьевые материалы казахстанских месторождений и высокие физикомеханические характеристики готовых БСП.
Выводы.
1.В результате внедрения экономический эффект составил от внедрения одной тонны композиция 476360 тенге за 1 кв. метр, и социально-экономический эффект составил :12 рабочих мест с фондом заработной платы 5,8 млн.тенге за 1 год.
2.По прогнозам экономического отдела от внедрения результатов научно-исследовательской работы годовой экономический эффект составит 14 200 000 ( четырнадцать миллионов двести тысяч) тенге.
3. Технологическому отделу в течение 6 месяцев разработать технологический регламент получения фрикционных материалова, также приступить к работам по сертификации материала и получению патента по
ISO и разработке мероприятий по охране окружающей среды.( ответственный-зам . директора по научной работе д.х.н. проф. Батырбеков и гл.технолог Мустафин Е.С.
Подписи:
От НТЦ «КМ» От КСТУ;
_____________Батырбеков Е.О _____________Иманов А.Н.
____________ Ли Е.Н _____________Мелихов В.И.
PAGE 1
Разработка технологии получения фрикционных материалов для реставрации тормозных колодок железнодорожных вагонов


