ОБОРУДОВАНИЕ И СООРУЖЕНИЯ ДЛЯ ВОДОСНАБЖЕНИЯ ФЕРМ И ПАСТБИЩ
ЛЕКЦИЯ № 10
ТЕМА: ОБОРУДОВАНИЕ И СООРУЖЕНИЯ ДЛЯ ВОДОСНАБЖЕНИЯ ФЕРМ И ПАСТБИЩ
План лекции
1 Системы водоснабжения ферм и комплексов.
1.1 Использование воды в животноводстве.
1.2 Санитарно-гигиенические требования к питьевой воде.
1.3 Водопотребление на животноводческих фермах и комплексах.
1.4 Системы водоснабжения.
1.5 Водоисточники и водозаборные сооружения.
2 Водопроводные сети и водонапорное оборудование.
2.1 Наружные и внутренние водопроводные сети.
2.2 Гидравлический расчет водопроводной сети.
2.3 Насосные станции и насосы.
2.4 Конструктивные особенности насосов.
2.5 Конструктивные особенности водоподъемников.
2.6 Водонапорные башни и резервуары.
2.7 Определение объема напорно-регулирующего бака и высоты его расположения
3 Оборудование поения животных и птицы.
1 Системы водоснабжения ферм и комплексов
1.1 Использование воды в животноводстве
Продуктивность и здоровье животных и птицы зависят не только от уровня кормления, но и от хорошей организации снабжения животных доброкачественной водой на фермах и пастбищах. Качество воды, используемой для животноводческих ферм, не всегда в полной мере отвечает санитарно-гигиеническим требованиям.
Воду, предназначенную для сельскохозяйственных животных и птицы, следует считать пригодной только в том случае, если она по своим качествам мало отличается от рекомендованной для использования человеком. Организм животного находится в состоянии постоянного обмена веществ с окружающей внешней средой, в котором непременно участвует вода. Все жизненно - важные процессы обмена в организме протекают только в водных растворах органических и неорганических веществ. Животные при голодании, но при обеспечении их водой в состоянии прожить 30…40 дней, хотя при этом теряют до 50 % жиров, углеводов и белков. При полном лишении воды животные погибают через 4…8 дней.
Своевременное и в достаточных количествах потребление животными воды в сочетании с рациональным и полноценным кормлением способствует достижению их высокой продуктивности. Хорошо налаженный водопой способствует повышению удоя у коров на 25…30 %. У молочных коров потребность в воде увеличивается с повышением удоев. На 1 л молока коровы затрачивают от 2,31 до 3,17 л воды, а вместе с водой, содержащейся в корме, до 4,0…5,1 л. Корова с удоем 12 кг выпивает в сутки 35…40 л. Птица при сухом кормлении получает не более 10 % воды от ее общей потребности. При свободном доступе к воде она пьет воду по потребности, примерно 0,2…0,3 л воды на 100 г комбикорма. Научными исследованиями установлено, что на 1 кг сухого вещества корма животные потребляют следующее количество воды: лошади 2…3 л; крупный рогатый скот 4…6 л; свиньи 6…8 л; овцы 2…3 л.
С гигиенической точки зрения целесообразно удовлетворять животных питьевой водой вволю, давать ее многократно, лучше через равные промежутки времени.
Добываемая из различных источников природная вода не бывает совершенно чистой. Соприкасаясь в процессе кругооборота на поверхности и в земле с различными веществами, она смешивается с ними и частично растворяет их. В воду также попадают различные микроорганизмы (бактерии), которые могут быть возбудителями многих заболеваний. Поэтому не всякую воду можно употреблять не только для поения животных, но даже и для технических целей.
1.2 Санитарно-гигиенические требования к питьевой воде
Питьевая вода должна быть чистой, прозрачной, без цвета и запаха, не содержать вредных веществ, патогенных микроорганизмов (бактерий) и яиц гельминтов. Показатели санитарно-гигиенических качеств питьевой воды регламентируются ГОСТами 2874-82 и 2761-57, в которых указаны допустимые пределы значений ее физических, химических и бактериологических свойств [ ].
К физическим свойствам относятся температура, прозрачность и мутность, цветность, запах и привкус. Интенсивность биологических процессов самоочищения воды в водоемах во многом зависит от ее температуры. Слишком теплая вода плохо утоляет жажду, длительное поение водой с температурой выше 293 К может привести к повышенной восприимчивости к простудным заболеваниям. Температура воды оказывает большое влияние на продуктивность животных. При поении животных холодной водой значительное количество энергии расходуется не на образование продукции, а на нагревание питьевой воды. Для компенсации затраченной теплоты требуется дополнительный корм. По результатам исследований, проведенных в производственных условиях, рекомендуются наиболее благоприятные температуры для поения: при поении молочных и стельных коров 288...289 К; при поении других взрослых животных 285...287 К. Температура воды для хозяйственно-питьевых целей должна быть в пределах 280...285 К. По рекомендациям МСХ СССР, в технологических процессах принимаются следующие значения температуры воды: для подмывания вымени 310...311 К; для мойки молокопроводов и молочной посуды 328...338 К; для приготовления кормов в телятниках 313...338 К.
Питьевая вода должна быть прозрачной. Если в ней присутствуют органические или минеральные частицы, то вода становится мутной. Мутность питьевой воды должна быть не более 2 мг/л.
Цветность воды на фермах вызывается присутствием в ней растворенных гумусовых веществ. Если цветность обусловлена загрязнением сточными водами или фекальными отбросами, то такую воду без предварительной обработки употреблять для питьевых целей нельзя. Цветность определяют сравнением испытываемой пробы с эталонами подкрашенной воды и оценивают в градусах по специальной шкале. По нормам качества цветность воды должна быть не более 20°.
Запах и вкус зависят от примесей, содержащихся в воде. Хорошая питьевая вода не должна иметь постороннего запаха, а по вкусовым качествам должна быть приятной и освежающей. Интенсивность запаха и вкусовые качества воды оцениваются по пятибалльной системе: привкус отсутствует 0; очень слабый 1; слабый 2; заметный 3; отчетливый 4; очень сильный 5. По нормам качества на питьевую воду ее запах и вкус, определяемые при температуре 293 К, не должны быть выше 2 баллов.
Химические свойства воды характеризуются следующими показателями: жесткость, сухой остаток, активная реакция (рН) и содержание в ней вредных веществ.
Жесткость воды в основном обусловливается присутствием в ней двууглекислых солей кальция Са(НСО3)2 и магния Мg(НСО3)2. Жесткая вода для хозяйственно-питьевых и технических целей нежелательна. У животных она нередко вызывает расстройства в работе кишечно-желудочного тракта, особенно если в ней содержится много сульфата магния MgSO4. Очень мягкая вода также малопригодна для поения животных, так как не обеспечивает организм необходимым количеством минеральных солей. Кроме того, мягкую воду животные пьют неохотно. Различают общую жесткость, устранимую при кипячении, и постоянную (неустранимую). Жесткость воды измеряют в молях или в градусах жесткости. При этом 1° жесткости соответствует содержанию в 1 л воды 10 мг окиси кальция СаО или 14 мг окиси магния MgO. Жесткость в 1 мг-экв./л соответствует содержанию в воде 28 мг/л солей окиси кальция или 20,16 мг/л солей магния. Вода называется мягкой, если ее жесткость не превышает 10°; вода с жесткостью от 10 до 20° называется средней; вода с жесткостью 2030° жесткой; свыше 40° очень жесткой. По ГОСТу 2874-82 в питьевой воде общая жесткость должна быть до 20°. Однако в некоторых зонах допускается использование для поения животных воды с повышенной жесткостью. Остаток сухого вещества (после выпаривания) характеризует степень минерализации воды, т. е. общее содержание в ней растворенных веществ. В 1 л питьевой воды сухого остатка не должно быть более 1000 мг.
Активная реакция воды показывает степень ее кислотности, или щелочности, и характеризуется водородным показателем рН, т.е. концентрацией водородных ионов. У природной воды его значение колеблется в пределах от 6,5 до 9,5. Наиболее кислыми являются болотные воды, а щелочными подземные. Доброкачественная вода должна иметь нейтральную или слабощелочную реакции (рН в пределах 6,5…8,5). Если в открытых водоемах рН воды ниже 6,5 или выше 8,5, то это указывает на ее загрязнение сточными водами. Значения водородного показателя определяют электрометрическим методом с помощью лабораторного рН-метра (потенциометра) или универсального индикатора (в порошке) с использованием специальной шкалы сравнения.
При гигиенических исследованиях часто определяют биологическое потребление кислорода (ВПК), т. е. количество растворенного в 1 л воды кислорода, расходуемого на окисление органических веществ за 5 сут. хранения при температуре 291...293 К. Чем больше в данной пробе легкоокисляющихся органических веществ, тем значительнее уменьшение в ней концентрации растворенного кислорода.
Принята следующая классификация воды открытых водоемов по ВПК за пять дней хранения (БПК5): 1) очень чистая потеря 1 мг кислорода; 2) чистая потеря 2 мг; 3) довольно чистая потеря 3 мг; 4) сомнительной чистоты потеря 5 мг; 5) очень загрязненная потеря 10 мг кислорода на 1 л воды. В воде прифермских водоисточников (пруды) величина БПК5 колеблется в пределах от 3,5 до 8,4 мг/л, т. е. вода в прудах невысокого санитарного качества. Бактериологические свойства воды характеризуются бактериальной загрязненностью, т.е. количеством и видом вносимых в нее загрязнений. Пригодность воды к употреблению устанавливается органами санитарного надзора.
При загрязнении водоисточников отбросами животного происхождения (навоз, моча, сточные воды и яйца гельминтов) в водоемы попадают бактерии, вызывающие желудочно-кишечные заболевания (брюшной тиф, дизентерию, холеру). Такие бактерии называются патогенными. При наличии указанных микроорганизмов и яиц гельминтов вода является источником заражения животных инфекционными, а также инвазионными болезнями.
С эпизоотологической точки зрения при оценке воды имеют значение преимущественно патогенные микроорганизмы и яйца гельминтов. Но непосредственно обнаружить в воде возбудителей заболеваний весьма трудно, поэтому ее санитарно-бактериологическая оценка производится по косвенным показателям: микробному числу, титру кишечной палочки (коли-титр) и коли-индексу.
Микробное число это общее количество микробов при посеве 1 мл неразбавленной воды после 24-часового выращивания их при температуре 310 К. В воде хорошо оборудованных скважин микробное число колеблется в пределах 10…30; в воде шахтных колодцев 300…400; в воде чистых открытых водоемов 1000…1500 в 1 мл. В водопроводной воде при хорошей очистке и обеззараживании микробное число не должно превышать 100 в 1 мл воды.
Коли-титр это наименьший объем воды (в миллилитрах), в котором содержится одна кишечная палочка. По результатам исследований установлено, что при значительном загрязнении органическими веществами коли-титр в открытых водоемах (озерах, прудах) составляет 0,1…0,004. Доброкачественная водопроводная вода должна иметь коли-титр не ниже 300. В чистой воде артезианских скважин коли-титр бывает выше 500. В воде колодцев, применяемой без обеззараживания, допустим коли-титр не менее 100. Коли-индекс это количество кишечных палочек в 1 л воды. В водопроводной воде после очистки и обеззараживания количество бактерий группы кишечной палочки в 1 л не должно быть более 3, а в воде шахтных колодцев, применяемой без обеззараживания, не более 10 в 1 л.
Допустимые нормативы содержания в питьевой воде различных химических веществ и степени бактериального загрязнения определены ГОСТом 2874-73 «Вода питьевая». Соответствующие показатели и нормы (не более или в диапазоне) приведены далее:
Запах при 293 К и подогревании воды до 333 К, баллов 2
Привкус при 293 К, баллов 2
Цветность по имитирующей шкале, град 20
Мутность по стандартной шкале, мг/л 1,5
Сухой остаток, мг/л 1000
Водородный показатель, рН 6,5…8,5
Общая жесткость, мг-экв./л 7,0
Общее количество бактерий в 1 мл неразбавленной воды 100
Количество бактерий группы кишечной палочки в 1 л (коли-индекс) 3
Коли-титр, мл 300
Требования к качеству воды из водоисточников, используемых или намечаемых к использованию для хозяйственно-питьевого водоснабжения, регламентирует ГОСТ 2761-57.
Ниже изложены требования к качеству воды источников водоснабжения:
Величина сухого остатка, мг/л Не более 1000
Содержание сульфатов, мг/л » 500
Количество хлоридов, мг/л » 350
Общая жесткость, мг-экв./л » 7
Железо (в подземных источниках), мг/л » 1
Источники с очисткой и хлорированием воды:
коли-титр Не менее 0,1
коли-индекс Не более 10000
Водоисточники загрязняются стоками животноводческих ферм и комплексов, удобрениями, синтетическими моющими веществами, пестицидами, промышленными и коммунальными отходами и нефтепродуктами. Все виды загрязнений делятся на биологические и химические. Контроль за спуском сточных вод, их очисткой и обеззараживанием входит в обязанности медицинского и ветеринарного надзоров в соответствии с «Правилами охраны поверхностных вод от загрязнения сточными водами».
1.3 Водопотребление на животноводческих фермах и комплексах
В типовых проектах ферм и комплексов в соответствии с производственным заданием и нормами водопотребления разработаны системы водоснабжения и на основе гидравлических расчетов определены суточный, часовой и секундный расходы по каждому объекту водоснабжения. В связи с концентрацией производства суточный расход на комплексах может составлять несколько тысяч кубометров. Система водоснабжения должна обеспечивать бесперебойную подачу воды для поения животных, так как недостаток питьевой воды незамедлительно вызывает снижение продуктивности. Расчетные нормы водопотребления по СНиП для различных видов животных на голову, л/сут., приведены ниже:
Крупный рогатый скот:
коровы 80
быки и нетели 50
молодняк до 2 лет 30
телята до 6 мес. 20
Свиньи:
хряки-производители, взрослые матки 25
матки с приплодом 60
молодняк старше 4 мес. и свиньи на откорме 15
поросята-отъемыши 5
Овцы и козы:
взрослые 10
молодняк до одного года 3
Лошади (рабочие, верховые, племенные,
кормящие матки, жеребята до 1,5 лет) 60
Птица:
куры 1
индейки 1
утки 1,25
гуси 1,25
молодняк 0,5…0,6
Для коров и телят в указанные количества должно входить горячей воды (315...320 К) 5 и 2 л соответственно.
Ниже приведены значения расхода воды, т, на производство 1 т продукции:
Молоко 5…10
Мясо (говядина) 50
Картофель 300
Пшеница 1000
1.4 Системы водоснабжения
Системой водоснабжения называется совокупность объединенных в поточные линии машин, оборудования и инженерных сооружений, предназначенных для добывания, перекачки, улучшения качества, хранения и подачи воды от водоисточников к местам ее потребления.
Различают групповые и локальные системы водоснабжения. Первые предназначены для централизованного водоснабжения нескольких крупных объектов, связанных общностью территории (город, район и т.п.), а вторые для обслуживания одного индивидуального объекта водоснабжения (хозяйство, животноводческий комплекс и т.п.). Локальная система имеет свой автономный источник воды, насосную станцию и водопроводную сеть.
В зависимости от расположения водоисточника относительно потребителей воды применяют напорные или самотечные системы водоснабжения. При напорной уровень воды в источнике расположен ниже уровня объекта водоснабжения и воду приходится подавать к потребителям насосами, создавая некоторый напор. В самотечной системе водоисточник расположен выше уровня потребителей, к которым она поступает самотеком. В зависимости от типа водонапорного оборудования системы бывают башенными с водонапорной башней и безбашенными с пневматической водоподъемной (пневмогидравлической) установкой. В водоснабжении животноводческих ферм и комплексов получили распространение локальные и реже централизованные (от одного водоприемника) системы водоснабжения с подземными водоисточниками и резервными противопожарными резервуарами, оборудованными мотопомпами или автонасосами.

1 источник; 2 самотечная труба; 3 водозаборное сооружение; 4 насосная станция первого подъема; 5 очистное сооружение; 6 резервуар чистой воды; 7 насосная станция второго подъема; 8 водонапорная башня; 9 водопроводная сеть; 10 объект водоснабжения
Рисунок 1.1 Схема водоснабжения из поверхностного источника
В зависимости от конкретных условий (рельеф местности, мощность водоисточника, надежность электроснабжения) применяемое оборудование системы водоснабжения объединяется в различные поточные технологические линии.
Схема напорной башенной системы водоснабжения с забором воды из поверхностного источника (реки, пруда) представлена на рис. 1.2. Вода из источника 1 через водоприемник и трубу 2 самотеком поступает в водозаборное сооружение 3 (колодец), откуда насосной станцией 4 первого подъема подается на очистные сооружения 5, где осуществляется улучшение ее качества. После очистки и обеззараживания вода сливается в резервуар 6 чистой воды, из которого насосной станцией второго подъема она перекачивается по водоводу в напорно-регулирующее сооружение водонапорную башню 8. Далее вода поступает в водопроводную сеть 9, подводящую ее к объекту водоснабжения 10 (ферме, комплексу, населенному пункту).

1 скважина; 2 насосная станция; 3 водопроводная сеть; 4 объект водоснабжения; 5 напорная башня
Рисунок 1.2 Схема водоснабжения из поверхностного источника
В отличие от системы с забором воды из поверхностного источника вода в показанной на рис. 63 системе водоснабжения из подземного источника при помощи буровых скважин 1 не требует очистки, вследствие чего схема не содержит очистных сооружений, резервуара чистой воды и насосной станции второго подъема. В результате вся система оказывается более простой и надежной.
В рассмотренной ранее системе водоснабжения (см. рисунок 1.1) водопроводная сеть питается от водонапорной башни. Вода подается от насосной станции и напорно-регулирующего бака башни только в одном направлении. Поэтому такая система называется системой с проходным резервуаром. Аналогичные схемы применяются в тех случаях, когда рельеф местности имеет уклон в сторону конца водопроводной сети. При наличии подъема в направлении к концу водопроводной сети (см. рисунок 1.2) напорно-регулирующее сооружение (башню) устанавливают в ее конце. Эта система называется системой с контррезервуаром. В часы наибольшего потребления вода поступает в водопроводную сеть с двух сторон: от насосной станции и из водонапорной башни. При плоском рельефе башню сооружают в центре территории, занимаемой объектом водопотребления.
1.5 Водоисточники и водозаборные сооружения
Водоисточники делятся на поверхностные и подземные. В свою очередь поверхностные водоисточники могут быть естественными реки, ручьи и озера и искусственными водохранилища, пруды и каналы. Подземные воды подразделяются на грунтовые со свободной поверхностью (безнапорные) и межпластовые, залегающие между двумя водонепроницаемыми слоями (напорные, артезианские).
Подземные воды более чистые, чем поверхностные, и имеют относительно постоянную температуру. Просачиваясь через водопроницаемые слои, атмосферная вода освобождается от взвешенных частиц и микроорганизмов (процесс самоочищения воды) и обогащается минеральными солями, микроэлементами, углекислотой и в результате приобретает высокие питьевые качества. По этим причинам водоснабжение, основанное на использовании подземных вод, имеет существенные преимущества перед снабжением из поверхностных источников. В сельском хозяйстве до 90 % используемой воды получают из подземных источников. Выбор последних важный вопрос при организации водоснабжения, и для его решения Л.Я. Кашеков [11] рекомендует придерживаться следующих положений:
1. Источник должен иметь воду хорошего качества и в количестве, достаточном для полного удовлетворения потребителей.
2. Источник должен быть расположен по возможности ближе к объекту водоснабжения и в условиях, отвечающих санитарным требованиям (по заключению Госсанинспекции).
3. При выборе источника водоснабжения в первую очередь следует ориентироваться на использование межпластовых (напорных) подземных вод, надежно защищенных от внешних загрязнений.
4. При отсутствии или невозможности использовать подземные воды (большая глубина залегания и т. п.) другие источники водоснабжения следует выбирать в такой последовательности: родники, грунтовые воды, реки с незарегулированным стоком, водохранилища, озера.
Водозаборные сооружения. Забор воды из поверхностных источников осуществляется специальными водозаборными сооружениями береговыми (рисунок 1.3, а) или русловыми (рисунок 1.3, б); их располагают по течению реки обязательно выше населенных пунктов и производственных предприятий, сточные воды которых могут быть причиной загрязнения. Для забора воды из подземных источников используют шахтные или трубчатые колодцы (буровые скважины).
Шахтные колодцы (рисунок 1.4, а) устраивают для забора грунтовых вод из водоносных слоев, залегающих на глубине 30…40 м. Каждый из них состоит из водоприемной части 5 с донным фильтром 6 из гравия, шахты 4 и возвышающегося над поверхностью земли на 0,5…0,8 м оголовка 2. Последний плотно закрывается водонепроницаемой крышкой для предохранения от попадания в колодец атмосферных осадков и посторонних предметов. Вокруг оголовка устраивают глиняный замок 3 шириной и глубиной не менее 1 м для защиты от загрязнений, вносимых с атмосферными осадками. Шахту делают квадратного сечения (со стороной 1…3 м) или круглого (диаметром 1…3 м) из железобетонных колец, кирпича или рубленой из дерева. На дне колодца устраивают песчано-гравийный фильтр, состоящий из 2…3 слоев фильтрующего материала толщиной не менее 100 мм, а в оголовке устанавливают вентиляционную трубу 1 сечением 0,80,8 м и высотой до 1 м.


а б
а водозаборное сооружение берегового типа: 1 водоприемник; 2 самотечная труба; 3 задвижка; 4 береговой колодец; б русловый водозабор: 1 водоприемник; 2 самотечная труба; 3 береговой колодец; 4 насосная станция
Рисунок 1.3 Схемы водозабора поверхностных источников
Шахтный колодец работает следующим образом. Когда вода из него не отбирается, ее уровень находится на той же глубине, что и уровень подземных (грунтовых) вод, который называют статическим. При отборе воды уровень ее в колодце понижается и в зависимости от расхода и поступления свежей воды из водоносного слоя устанавливается на некоторой глубине. Такой уровень называется динамическим, а количество воды, даваемое источником в единицу времени, дебитом источника (л/с, м3/ч). В производственных условиях дебит колодца определяют способом откачки.


а б
а шахтный: 1 вентиляционная труба; 2 оголовок; 3 глиняный замок; 4 шахта; 5 водоприемная часть; 6 донный фильтр; б трубчатый: 1 кондуктор; 2 обсадная труба; 3 сальник; 4 надфильтровая труба; 5 фильтрующая часть; 6 отстойник фильтра
Рисунок 1.4 Схемы колодцев
Трубчатые колодцы. Для забора воды из глубоко залегающих водоносных пластов (до 150 м и более) устраивают трубчатый колодец, схема которого приведена на рисунке 1.4, б. Он представляет собой глубокую буровую скважину диаметром 350 мм и более. Стенки закрепляют обсадными стальными трубами, предохраняющими ее от обвала и проникновения воды из вышележащих пластов с непригодной для питья водой. Колодец этого типа состоит из водоприемной части, ствола и оголовка. Заглубляемая в водоносный пласт водоприемная часть включает надфильтровую трубу 4, фильтрующую часть 5 и отстойник 6. Труба 4 соединяет фильтр с нижней обсадной трубой 2. Место соединения уплотняется сальником 3. В устойчивых каменных породах фильтр в водоприемной части иногда не устраивают, и вода из водоносного слоя поступает непосредственно в нижнюю обсадную трубу. В зависимости от местных условий и типа применяемого оборудования устье скважины располагают в надземном помещении или в заглубленной бетонированной камере. Верхняя часть обсадных труб скважины должна выступать над полом помещения не менее чем на 0,5 м. Каждая скважина должна быть оборудована уровнемером для наблюдения за динамическим уровнем воды, трубопроводом для отвода воды при прокачке, водомером для измерения дебита скважины и краном отбора проб воды для анализа.
Весьма важным и ответственным фактором, связанным с функционированием системы водоснабжения, является санитарная охрана воды и источников от попадания в них болезнетворных бактерий. При сбросе в открытые водоемы животноводческих стоков после их биологической очистки и предварительной обработки допускается иметь показатель БПК5 не более 6 мг/л.
Согласно действующему в нашей стране законодательству все поверхностные и подземные источники воды и устроенные на водопроводах сооружения контролируются органами санитарной охраны. Границы зон охраны устанавливают органы Госсанинспекции.
2 Водопроводные сети и водонапорное оборудование
2.1 Наружные и внутренние водопроводные сети
Для подачи воды от водоисточника к потребителям служит водопровод. Он состоит из двух частей: подводящего участка от водоисточника до водонапорной башни или другого напорно-регулирующего сооружения и разводящей сети от водонапорной башни до мест водоразбора. Различают внешнюю (наружную) сеть, прокладываемую вне зданий, и внутреннюю (разводящую) сеть сооружений. Водопроводные сети могут быть тупиковыми или кольцевыми (рисунок 1.5). Тупиковой называется такая сеть, в которой от главной магистрали отходят в разные стороны не связанные между собой ветви. В них вода движется только в одном направлении. Недостатком тупиковых сетей является то, что в случае аварии или ремонта приходится отключать всех потребителей, расположенных за местом повреждения по направлению движения воды.
В кольцевой сети вода к любому потребителю может поступать с двух сторон, так как трубопровод в этом случае представляет собой замкнутый контур, что позволяет отключать поврежденные участки сети, не прекращая подачу воды другим потребителям. При сооружении водопровода отдают предпочтение кольцевым сетям, так как в них создается более равномерный напор по всей длине, а также уменьшается опасность гидравлических ударов и замерзания воды в трубах. На практике применяются и комбинированные сети, в которых к основному замкнутому контуру присоединяются отдельные тупиковые ответвления. Водопроводная сеть состоит из отдельных элементов; к ним относятся трубы, соединительные части и арматура.

Рисунок 1.5 Схемы водопроводных сетей: а тупиковая; б кольцевая.
2.2 Гидравлический расчет водопроводной сети
Определение диаметров труб. Гидравлический расчет водопроводной сети заключается в определении диаметров труб и потерь напора на преодоление сопротивления в трубах при пропуске по ним расчетного количества воды. Знание потерь напора необходимо также для расчета высоты водонапорных башен, а также для выбора насоса с требуемой напорной характеристикой.
Расход воды определяется количеством и составом водопотребителей, а также принятыми строительными нормами и правилами водопотребления (СНиП).
Расчет водопотребления производится с целью определения численных значений среднесуточного расхода Qср.сут, максимального суточного расхода Qmaxсут и максимального часового расхода Qmaxчас с учетом затрат воды на поение животных и на производственно-технические нужды. В расчетах также необходимо учесть расход воды на тушение возможного пожара и создание в системе минимально необходимого запаса (на случай отключения электроэнергии, наложения карантина при эпизоотии и т. п.). Для расчета необходимо знать среднесуточные нормы водопотребления, состав и количество водопотребителей каждого вида.
Нормой водопотребления называется количество воды в литрах, расходуемоеодним потребителем в сутки. Применительно к животным она включает расходы на поение, мойку помещений, молочной посуды, приготовление кормов, охлаждение молока и др. Расход воды на фермах очень неравномерен как в течение года (по сезонам), так и в течение суток (по часам). Его колебания оцениваются соответствующими коэффициентами неравномерности: для животноводческого сектора kсут = 1,3 и kч = 2,5; для жилищно-коммунального сектора в сельской местности kсут = 1,2…1,4 и kч = 1,5…2,0.
Среднесуточный расход воды на ферме Qср.сут, м3/сут, определяется по формуле
, (1.1)
где ni число потребителей i-гo вида; qi среднесуточная норма потребления воды i-м потребителем, л/сут; N общее число потребителей.
Максимальный суточный расход воды Qmaxсут определяется из равенства
, (1.2)
где kсут коэффициент суточной неравномерности.
В сутки максимального водопотребления среднечасовой расход Qср.ч, м3/ч, составит
, (1.3)
а максимальный часовой расход Qmaxчас, м3/ч, будет
, (1.4)
где kч коэффициент часовой неравномерности.
Для обоснования выбора насосов и расчета поточных линий требуется знать секундный расход Qmaxс, м3/с, который рассчитывается по формуле
. (1.5)
Запас воды на противопожарные нужды предусматривает быструю и бесперебойную подачу ее к месту возникновения пожара в достаточном количестве и с необходимым напором в течение 3 ч.
Если дебит источника водоснабжения недостаточен для тушения пожара, то на ферме предусматривается устройство специальных резервуаров для хранения неприкосновенного трехчасового запаса воды. Расход воды на наружное тушение одного пожара через гидранты для зданий объемом от 3 до 5 тыс. м3 принимают равным 10…20 л/с. В фермских водопроводах низкого давления необходимый напор для тушения пожара создается с помощью передвижных пожарных насосов, которые присоединяются к пожарным гидрантам наружной водопроводной сети.
Для объектов с пожарным расходом более 20 л/с потраченный на тушение пожара неприкосновенный запас воды в резервуарах должен быть восстановлен в течение 24 ч, а для объектов с пожарным расходом менее 20 л/с в течение 36 ч.
В качестве примера рассмотрим схему внутреннего водопровода в животноводческом помещении, а именно в свинарнике-откормочнике комплекса по выращиванию и откорму 54 тыс. свиней в год (т. п. 802142), показанную на рис. 1.6. На комплексе сектор откорма состоит из пяти свинарников, в которых размещены 18 000 голов секциями в групповых станках по 25 голов. В свинарнике установлены 146 автопоилок. Внутренняя кольцевая сеть собрана из труб диаметром 50 мм и размещена на высоте 3,02 м от пола свинарника. Автопоилки и поливочные вентильные краны присоединены к кольцевой сети отводами (спусками) из труб диаметром 25 и 15 мм. Кроме того, в свинарнике установлено 12 смывных баков вместимостью по 1000 л для удаления жидкого навоза из каналов самотечной системы, в которые вода из баков подается по трубам диаметром 80 мм.
Главный магистральный трубопровод, питающий водой все внутренние водопроводы комплекса, выполнен из стальных труб диаметром 200 мм и проложен в поперечной галерее, устроенной в коридоре, который проходит через все его свинарники. Вода в магистральный трубопровод поступает из наружной сети с двух сторон: со стороны входа в коридор и со стороны выхода из него. К числу водопотребителей в каждом свинарнике относятся также душевые помещения и санузлы.

1 баки для смыва навоза; 2 поливочные краны; 3 автопоилки; 4 задорный кран (вентиль); 5 кольцевая сеть внутреннего водопровода
Рисунок 1.6 Схема внутреннего водопровода в свинарнике-откормочнике комплекса по выращиванию 54 тыс. голов
Для гидравлического расчета на основании генерального плана хозяйства составляют расчетную схему водопроводной сети, на которую по участкам наносятся исходные данные: секундные расходы воды каждым участком qyчi, л/с; длина каждого участка , м; геодезические отметки потребителей (высоты) zi, м, и все устанавливаемые, приборы и сооружения. Расход воды определяется суммированием секундных расходов всех потребителей qni, л/с, расположенных на каждом i-м участке.
Расчетная схема тупиковой сети показана на рисунке 1.7. На ней начальные и конечные точки участков обозначены номерами по ходу движения воды.
Для расчета водопроводных сетей важно уяснить, что по всем участкам, кроме конечных (тупиков), идут два потока с путевым расходом qn, достаточным для удовлетворения потребителей, расположенных на рассматриваемом участке, и с транзитным расходом qT, предназначенным для потребителей, расположенных по ходу потока за рассматриваемым участком. Поэтому расход воды в начале любого участка сети равен сумме путевого и транзитного расходов. Через конечную точку каждого расчетного участка проходит только транзитный расход, так как весь его путевой расход уже израсходован. На следующем участке, расположенном вслед за рассматриваемым, снова будут два расхода: путевой для потребителей нового участка; транзитный, уменьшенный на величину путевого расхода этого участка.

l длина участка; q расчетный расход участка
Рисунок 1.7 Расчетная схема тупиковой водопроводной сети
Таким образом, в любом сечении расчетного участка расход, проходящий по участку, будет изменяться от до . Расчетный расход линии находится из равенства
, (1.6)
где а коэффициент, учитывающий соотношение значений транзитного и путевого расходов, зависящий от равномерности (по длине) забора воды из линии потребителями; значение а принимают равным 0,5, тогда
, (1.7)
Суммируя среднесуточные расходы с учетом норм водопот-ребления по всем потребителям, можно рассчитать, пользуясь формулой (1.7), суточный расход воды по всему объекту (ферме, комплексу).
Диаметр трубы каждого из участков водопроводной сети определяют по расчетному расходу на i-м участке.
При этом используют уравнение
, (1.8)
где Fi площадь i-го живого сечения напорной трубы, м2; v скорость движения воды, м/с.
Из зависимости (1.8) получают формулу для определения диаметра трубы D, на i-м участке:
. (1.9)
Скорость движения воды в трубах диаметром 50…300 мм принимают равной 0,7…1,0 м/с; для труб диаметром 300…1000 мм от 1,0 до 1,5 м/с. Диаметры труб наружных сетей можно выбирать, пользуясь данными, приведенными в табл. 1.5.
Потери напора в трубах. Напор это гидравлическое давление в водопроводной сети, выраженное через высоту водяного столба в метрах. При анализе работы трубопровода различают потери на трение по длине и местные потери (в задвижках, кранах, отводах и т. п.), вызываемые изменением скорости или направления потока воды.
Применительно к водопроводным трубам круглого сечения потери напора на трение hT по длине выражают через скорость v или расход Q и их значения определяют соответственно по формулам
, (1.10)
или
, (1.11)
где hТ потери напора на трение по длине трубопровода, м; коэффициент гидравлического сопротивления, зависящий от материала труб, степени шероховатости их стенок и диаметра (для приближенных расчетов можно принимать = 0,03); v скорость движения воды в трубах, м/с; l длина трубопровода, м; D диаметр трубопровода, м; Q секундный расход воды, м3/с; g = 9,81 м/с2 ускорение свободного падения.
Для расчетов определяют потери напора на единицу длины трубопровода (на 1, 100, 1000 м), называемые гидравлическим уклоном, который находят из формулы
, (1.12)
Потери напора в местных сопротивлениях hМ определяют, пользуясь выражением
, (1.13)
где безразмерный коэффициент местного сопротивления; v скорость движения воды за местным сопротивлением, м/с.
В протяженных водопроводных сетях потери в местных сопротивлениях оценивают как 3…5 (в наружных) и 5…10% (во внутренних) от всех линейных потерь на трение.
Полные потери напора в трубопроводе определяются как сумма потерь на трение по длине и потерь в местных сопротивлениях, т. е.
. (1.14)
Для нормальной работы водоразборных приборов в каждом пункте сети должен оставаться еще некоторый запас напора, называемый свободным напором. В наружной водопроводной сети на фермах свободный напор соглсно СНиП быть не менее 10м. Для водопроводной сети соответствующие значения должны быть не менее 4 м для автопоилок и 2 м для водоразборных кранов. Свободные напоры на вводах в производственные помещения устанавливают в соответствии с расходами воды, которые они обеспечивают.
2.3 Насосные станции и насосы
Насосные станции. Напор в водопроводной сети создается насосными станциями и напорно-регулирующими сооружениями.
При проектировании насосной станции требуется рассчитать величину свободного напора водопроводной сети. С этой целью на ее схеме определяют самый отдаленный от источника или наиболее высокорасположенный пункт потребления воды, называемый «диктующей» точкой. Если водопроводная сеть будет в состоянии обеспечить потребителей «диктующей» точки, то и все остальные также будут иметь воду.
Свободный напор HСВ, Па, можно определить по формуле
, (1.15)
где HГ геометрическая высота расположения «диктующей» точки, м; hСВ свободный напор, который необходимо обеспечить у водоразборных приборов, м; h потери напора в трубопроводе от точки соединения его с внешней сетью до точки присоединения водоразборных приборов, м.
Различают насосные станции первого и второго подъема. Станции первого подъема забирают воду из источника и обеспечивают ее подачу в промежуточные сборные резервуары или на очистные сооружения. Станции второго подъема подают воду из промежуточных резервуаров в напорно-регулирующие сооружения (водонапорную башню) или непосредственно в водопроводную сеть.
В зависимости от расположения помещения относительно поверхности земли насосные станции бывают наземные и заглубленные. В зависимости от требований, предъявляемых к надежности систем водоснабжения, насосные станции по допустимой продолжительности перерыва в подаче воды делят на три класса. На крупных животноводческих комплексах строят насосные станции второго класса, для которых допустим перерыв в подаче воды только на время, необходимое для включения в работу резервных агрегатов.
Напорные гидравлические машины, предназначенные для подъема, нагнетания и перемещения жидкостей (или газов), называются насосами. В отличие от них безнапорные водоподъемники служат только для подъема жидкости, не создавая свободного (дополнительного) напора; их также называют водоподъемными установками.
Насосы. По принципу действия насосы делятся на лопастные, объемные и струйные. В лопастных (центробежные, осевые или пропеллерные) жидкость перемещается под действием вращающегося рабочего колеса, снабженного лопастями; к объемным (или насосам вытеснения) относятся поршневые и роторные (винтовые, шестеренчатые, шиберные и др.); струйные (эжекторы) включают подъемники, в которых для подачи жидкости используется энергия другого ее потока.
Применяются водоподъемники следующих типов: воздушные (пневматические насосы замещения и эрлифты), в которых для подъема воды используется энергия сжатого воздуха; водочерпальные (ленточные и шнуровые), основанные на смачивании водой непрерывно движущейся ленты или шнура; гидроударные (гидравлические тараны), использующие энергию гидравлического удара, возникающего в трубе при резком торможении потока воды; инерционные (вибрационные), в которых используются силы инерции, проявляющиеся в столбе жидкости при быстром изменении давления.
Для подачи воды из поверхностных источников, промежуточных резервуаров, а также из шахтных колодцев и буровых скважин при динамическом уровне воды до 6 м ниже поверхности земли применяют центробежные насосы. При динамическом уровне от 6 до 10 м эти насосы устанавливают с заглублением на 4…5 м, а свыше 10 м закладывают буровые скважины и используют водоподъемные установки других типов.
Выбор типа конкретного водоподъемного оборудования производят в соответствии с условиями работы водопроводной сети, что отражается в ее гидравлической характеристике, которая представляет собой совокупность кривых на графике, показанном на рис. 1.8. Они отображают зависимость изменения основных показателей работы водопровода (напор, КПД, затраты мощности) от расхода.

Рисунок 1.8 Рабочая характеристика центробежного насоса ЗК-9 (а) и совмещение ее с характеристикой трубопровода (б)

Рисунок 1.9 Схема центробежного насоса: 1 нагнетательный трубопровод; 2 рабочее колесо; 3 лопасть; 4 приемный клапан; 5 всасывающая труба; 6 корпус насоса; 7 обратный клапан
Рассмотрим рабочий процесс лопастного центробежного насоса консольного типа, схема которого приведена на рисунок 1.9. При вращении колеса 2 вода, залитая в насос перед пуском, увлекается лопастями 3 и под действием центробежной силы устремляется по межлопастным каналам от центра колеса к его периферии, приобретая при этом кинетическую энергию, которая идет на создание напора. Выброшенная из колеса с большой скоростью в расширяющееся русло спирали вода постепенно теряет скорость, создавая при этом напор, возрастающий по мере приближения к нагнетательной полости. Далее она под этим напором поступает через нагнетательный (напорный) трубопровод 1 в водопроводную сеть. При вытеснении воды из рабочего колеса в центре его создается разрежение, вследствие чего она под действием атмосферного давления через приемный клапан 4 поступает из источника в насос. Таким образом, в последнем устанавливается равномерное и непрерывное движение жидкости от источника к напорному трубопроводу. Клапан 7 предотвращает обратный слив воды и защищает насос от гидравлического удара при внезапной остановке.
Особенностью центробежных насосов является тесная взаимосвязь между подачей и напором. С ее увеличением напор насоса уменьшается, а с уменьшением возрастает.
Работа насоса характеризуется следующими основными показателями: подача или расход Q, м3/с, л/с; напор Н, м; затрачиваемая мощность N, кВт; частота вращения рабочего колеса п, с-1, мин-1; коэффициент полезного действия (КПД) .
Полный напор, развиваемый насосом, равен сумме высот всасывания и нагнетания и потерь напора во всасывающем и нагнетательном трубопроводах, т.е.
, (1.16)
где zВС геометрическая (геодезическая) высота всасывания, т.е. расстояние по вертикали от уровня воды в источнике до оси рабочего колеса насоса, м; zНАГ геометрическая (геодезическая) высота нагнетания, т.е. расстояние по вертикали от оси рабочего колеса насоса до уровня воды в трубе или напорном резервуаре, м; HВС, HНАГ потери напора соответственно во всасывающем и нагнетательном трубопроводах, м.
Полезная мощность NП на валу насоса, затрачиваемая на подъем и перекачку воды, составляет
. (1.17)
где NДВ развиваемая электродвигателем мощность, которая определяется при испытании по показаниям ваттметра, кВт; ДВ, ПЕР КПД двигателя и передачи соответственно.
При соединении двигателя непосредственно с валом насоса ПЕР = 1,0, а КПД двигателя при его номинальной нагрузке равняется ДВ = 0,87…0,90. Значения полного КПД центробежного насоса НАС указываются в его паспорте. У разных конструкций они колеблются в пределах = 0,60…0,92.
Для того, чтобы выбрать наиболее экономичный режим работы насоса, требуется знать взаимосвязь рассмотренных параметров насоса и характер их изменений при переходе от одних условий эксплуатации к другим. Графическое изображение зависимости основных параметров (напора, мощности, КПД) от подачи при постоянной частоте вращения рабочего колеса называется рабочей характеристикой насоса. Рабочая характеристика центробежного насоса марки ЗК-9 (или ЗКМ-9) (см. рис. 1.9, а), полученная по результатам испытаний [11], содержит кривые зависимостей Q Н, Q N, Q и Q . Характерные режимы работы насоса отмечены соответствующими точками. Так, начальная точка на кривой Q H соответствует работе, насоса при закрытой задвижке у начала нагнетательного трубопровода, когда подача Q = 0. Мощность N при этом составляет около 30 % номинальной (она расходуется на механические потери и нагрев воды в насосе). Закрывать задвижку можно лишь на время пуска насоса.
Оптимальный режим работы соответствует точке максимального значения КПД max, а конечная точка кривой Q H максимальному значению подачи Q. За ее пределами насос может войти в кавитационный режим, при котором жидкость вскипает с выделением из нее паров и газа. Кавитация ведет к нарушению нормальной работы насоса и быстрому износу лопаток. При работе центробежного насоса на водопроводную сеть его подача и напор определяются не только им самим, но также и сопротивлением нагнетательного трубопровода. Зависимость между расходом воды трубопровода и напором, необходимым для его пропуска QT HГ, называется характеристикой трубопровода (сети). Напор, который должен при этом развивать насос, складывается из геометрической высоты подачи и потерь на трение и преодоление местного сопротивления в линии нагнетания, т.е.
. (1.18)
При постоянстве значений высот всасывания и подачи потери Hнаг можно определить по формуле
, (1.19)
где A постоянная величина, называемая удельным сопротивлением данного трубопровода; k поправочный коэффициент при скорости движения воды v =1,2 м/с; l длина трубопровода, м.
Сопоставление рабочей характеристики насоса (см. рис. 1.8, а) с характеристикой трубопровода (см. рис. 1.8, б) было произведено ранее. Геометрическая высота подачи, соответствующая отметке zНАГ на последнем, показана прямой, параллельной оси абсцисс (постоянная для конкретных условий величина). Точка А пересечения кривой Q HТ характеристики сети с кривой подачи Q Н центробежного насоса определяет условия совместной работы данного насоса ЗК-9 с конкретной водопроводной сетью. Точку А называют рабочей. По ней можно определить все основные параметры насоса при работе на данную водопроводную сеть, отмечаемые на характеристике вертикальной линией, проведенной к оси подач. В частности, ордината точки 1 на кривой Q соответствует КПД насоса при работе на сеть. При правильном выборе его эта вертикальная линия пересечет кривую Q вблизи максимального значения КПД.
Ордината точки 2 характеризует мощность, затрачиваемую при работе насоса при данной подаче; ордината точки 3 пересечения с кривой Q показывает допустимую высоту всасывания насоса, при которой еще не возникает кавитация; ордината точки 4 соответствует значению подачи при работе насоса с присоединенной водопроводной сетью. При этом развиваемый насосом полный напор характеризует горизонтальная прямая (пунктир), проведенная от рабочей точки А до оси ординат.
В зависимости от изменений частоты вращения п рабочего колеса различные значения также принимают подача, напор и потребляемая мощность. Значения этих параметров при другой частоте вращения п1 определяются согласно теории подобия по формулам
; ; . (1.20)
Эти соотношения справедливы при изменениях частоты вращения до ±20 % от номинальной. Насос выбирают такой, режим работы которого был бы оптимальным, т. е. он работал бы при КПД, близких к максимальному.
По значениям создаваемого напора центробежные насосы делятся на малонапорные до 20 кПа, средненапорные до 600 кПа и высоконапорные более 600 кПа (или соответственно 20, 60 и более 60 м). Насосы сельскохозяйственного назначения относятся к группе средненапорных. В зависимости от частоты вращения рабочего колеса центробежные насосы делятся на тихоходные, нормальные и быстроходные. Коэффициентом быстроходности называется такая частота вращения колеса, при которой оно развивает давление 10 кПа при затрате мощности 0,736 кВт. Он обозначается и определяется по формуле
. (1.21)
У тихоходных насосов nS = 40…80, у нормальных nS = 80…150 и у быстроходных nS = 150…350.
2.4 Конструктивные особенности насосов
В сельскохозяйственном водоснабжении широко применяются центробежные лопастные насосы, реже вихревые и центробежно-вихревые. Осевые насосы устанавливают только в технологических аппаратах и вентиляторах.
Центробежные насосы. Центробежные консольные насосы типа К и КМ, показанные на рис. 1.10, используются для подачи воды из поверхностных источников и шахтных колодцев при высоте всасывания до 7 м. Они просты по устройству и удобны в эксплуатации. Насосы этого типа состоят из корпуса со всасывающим и нагнетательным патрубками, рабочего колеса, вала с подшипниками, муфты для соединения с электродвигателем или шкива для привода от двигателя внутреннего сгорания и пускорегулирующей аппаратуры. Насос перед пуском требует залива воды через отверстие в верхней части корпуса.
В насосах типа КМ в отличие от насосов типа К корпус крепится непосредственно к фланцу электродвигателя, а рабочее колесо устанавливается на удлиненном конце его вала.
Входящие в марку насоса буквы и цифры;, например, 2КМ-6, обозначают: 2 уменьшенный в 25 раз диаметр входного патрубка, мм; К консольный; М моноблок-насос; 6 коэффициент быстроходности, уменьшенный в 10 раз.

1 рабочее колесо; 2 сальниковые набивки; 3 вал; 4 сальник; 5 шпонка; 6 корпус; 7 гайка; 8 входной патрубок; 9 нагнетательный патрубок
Рисунок 1.10 Консольные насосы типа К (а) и КМ (б)
Из различных типов погружных центробежных насосов в животноводстве наиболее распространены насосы типов ЭЦВ и ЭПН. Указанные электронасосы используются в комплекте с насосной установкой для подъема воды из глубоких скважин неагрессивной воды с температурой не выше 298 К, содержание механических примесей в которой до 0,01 % по массе.

1 головка; 2 стяжка; 3 клапан; 4 ступица верхнего подшипника; 5 рабочее колесо; 6 направляющий аппарат; 7 обойма; 8 диск; 9 вал; 10 ступица основания; 11 соединительная муфта
Рисунок 1.11 Погружной насос типа ЭЦВ
Погружной насос представляет собой сочетание центробежного насоса и погружного электродвигателя. В насосах типа ЭЦВ валы связаны жесткой муфтой, а в насосах типа ЭПН двигатель и насос соединены опорным фланцем.
Погружной многоступенчатый насос типа ЭЦВ представлен на рисунке 1.11. Конструкция его электродвигателя предполагает эксплуатацию под водой. Марка насоса, например ЭЦВ6-10-140, расшифровывается так: Э электропогружной; Ц центробежный; В высоконапорный; 6 уменьшенный в 25 раз минимальный диаметр скважины, мм; 10 подача, м3/ч; 140 напор, м.
Объемные насосы. Лопастные вихревые насосы типа В и ВК предназначены для перекачки чистой воды из открытых водоемов и шахтных колодцев при высоте всасывания 5…7 м, Эти самовсасывающие насосы не требуют залива воды перед повторным запуском, достаточно залить ее в корпус насоса только перед первым пуском. Насосы этого типа применяются для подачи воды из неглубоких (до 8 м) шахтных колодцев и открытых источников. Принцип действия вихревого насоса можно уяснить из схемы, приведенной на рисунке 1.16. Кольцевая полость 1 в корпусе насоса соединяет всасывающий и нагнетательный патрубки. В этой полости жидкость вовлекается в круговое движение относительно ее осевой линии. Такое движение, как видно из рисунка 1.17, обусловлено своеобразным «трением», которое возникает в пространстве, образуемом в корпусе межлопаточными ячейками 8 рабочего колеса 3 и примыкающим к нему кольцевым каналом. Как показано в сечении АА (см. рисунок 1.12, б), под действием центробежных сил по периферии колеса возникает интенсивное вихревое циркуляционное течение (отсюда и название вихревой насос). На него накладывается еще одно течение, вызванное давлением лопаток колеса на жидкость, т. е. перепадом давления на передней и задней сторонах лопаток. Обмен импульсами за счет вторичных течений столь интенсивный, что при равных размерах и частотах вращения вихревой насос создает напор в 3…5 раз больший, чем центробежный насос.
На рисунке 1.13 показано, что всасывающий патрубок имеет вертикальный участок. Это исключает вытекание воды при неработающем насосе. При повторном пуске воздух из всасывающей трубы удаляется самим насосом, в результате чего в ней создается разрежение, и вода из источника под действием атмосферного давления поступает в корпус насоса.

1 кольцевая полость; 2 колесо
Рисунок 1.14 Разрез (а) и принцип работы (б) вихревого насоса
В марке вихревых насосов буквы и цифры, например у насоса 2В-1,6 обозначают: 2 уменьшенный в 25 раз диаметр входного патрубка, мм; В вихревой; 1,6 коэффициент быстроходности, уменьшенный в 10 раз, У насоса типа ВК, например ВК-1/16, символы обозначают: В вихревой; К консольный; 1 подача, м3/ч; 16 напор, уменьшенный в 10 раз.

1 фланец; 2 корпус; 3 рабочее колесо; 4 вал; 5 всасывающий патрубок; 6 нагнетательный патрубок; 7 канал; 8 межлопаточная ячейка
Рисунок 1.15 Устройство вихревого насоса
Следует отметить вибрационные насосы (НЭБ, «Малыш», установки ВПУ-1), принцип работы которых основан на использовании инерционных сил, которые возникают под воздействием колебательных процессов в перекачиваемой жидкости, заключенной в трубопроводе. Электромагнитный вибрационный насос НЭБ-1/20, показанный на рисунке 1.16, относится к насосам плавающего типа и предназначен для подачи воды из шахтных колодцев с динамическим напором до 20 м. Он состоит из кожуха 9, соединенного болтами 6 с основанием 1. В образовавшейся камере помещены электромагнит и приводимый им в действие рабочий орган насоса поршень 19.
В верхней части кожуха имеется напорный патрубок, к которому присоединен гибкий пластмассовый шланг 11 диаметром 20 мм, отводящий перекачиваемую воду от насоса. Насос, закрепленный в поплавке понтоне 10, удерживается на воде в вертикальном положении и дополнительных креплений не требует. Подача насоса НЭБ-1/20 при подъеме воды с глубины 20 м достигает 1 м3/ч. Номинальная мощность 0,25 кВт.
Электромагнитный вибрационный насос «Малыш» по конструкции аналогичен насосу НЭБ-1/20. Он относится к типу погружных и предназначен для подачи воды из шахтных колодцев и буровых скважин с минимальным диаметром обсадных труб 100 мм и динамическим уровнем воды до 40 м. Подача при высоте подъема 20 м равна 1 м3/ч, а при 40 м 0,5 м3/ч. Потребляемая мощность составляет 0,25 кВт. Питание насоса осуществляется от однофазной сети переменного тока напряжением 220 В.

1 основание; 2 диафрагма; 3 упор; 4 стакан; 5 амортизатор; 6 болт; 7 якорь; 8 корпус магнита; 9 кожух; 10 понтон; 11 шланг; 12 рукоятка; 13 кабель; 14 ярмо; 15 катушка магнита; 16, 18 регулировочные шайбы; 17 шток; 19 поршень; 20 клапан
Рисунок 1.16 Электромагнитный вибрационный насос НЭБ-1/20
Поршневые насосы отличаются от центробежных тем, что их подача не зависит от развиваемого напора. Другая особенность состоит в том, что эти насосы могут работать как самовсасывающие, и поэтому они не требуют предварительного залива водой перед пуском. Принцип работы поршневых насосов основан на изменении объема рабочей камеры без доступа воздуха. Их характерной конструктивной особенностью является наличие воздушного колпака, который используется для сглаживания в сети пульсаций подачи и давления, обусловленных циклическим рабочим процессом поршневого насоса.
Подача Q, м3/с, поршневого насоса простого действия определяется по формуле
, (1.12)
где F площадь поршня, м2; S ход поршня, м; n число двойных ходов поршня в 1 мин; объемный КПД насоса, принимаемый равным 0,8…0,9.
Из формулы (1.12) следует, что подача не зависит от напора.
Для подачи воды из глубоких скважин применяется поршневой насос марки «Бурвод III» глубинного типа с приводом от электродвигателя или от двигателя внутреннего сгорания. Насосы выпускаются с двумя диаметрами цилиндра: 92 и 145 мм.
Винтовые насосы также относятся к группе объемных насосов роторного типа, рабочий орган которых в отличие от поршневых машин совершает не возвратно-поступательное, а вращательное движение. По аналогии с поршневыми они могут развивать высокие давления, но имеют равномерную по дачу и не нуждаются в воздушных колпаках. Винтовые насосы могут перекачивать воду с повышенным содержанием примесей (до 0,2 % по массе).
Подачу одновинтового насоса определяют по формуле
Q = 4eDhn, (1.13)
где Q подача, м3/с; D диаметр винта ротора, м; h шаг винтовой поверхности статора, м; п частота вращения ротора, с-1; е эксцентриситет, м.
Из формулы (1.13) следует, что подача винтового насоса при заданных размерах его рабочих органов зависит только от частоты вращения ротора.
В сельском хозяйстве для подачи воды из шахтных колодцев и буровых скважин применяют винтовые насосы двух типов: 1) с двигателем, расположенным на поверхности земли, и с приводом через вертикальный вал; 2) с приводом от погружного электродвигателя. К первому типу относится насос 1В-20/3, широко применяемый на пастбищных водопойных пунктах в условиях Средней Азии.
Ко второму типу относится погружной насос 1В-В-1,6/16, подающий воду из скважин с диаметром обсадных труб 125 мм. Он имеет подачу 3 м3/ч при напоре 100 м. Привод осуществляется от погружного электродвигателя ПЭДВ-2,8-114 мощностью 2,8 кВт.
2.5 Конструктивные особенности водоподъемников
Водоструйные установки. Они предназначены для подачи воды из шахтных колодцев и буровых скважин со значительным содержанием механических примесей (10% и более).

1 всасывающая труба; 2 водоструйный насос; 3 напорная труба; 4 водоподъемная-труба; 5 центробежный насос; 6 бак; 7 диффузор; 8 смесительная камера; 9 сопло; 10 всасывающий патрубок насоса
Рисунок 1.17 Схемы водоструйной-установки (а) и аппарата (б)
В комплект водоструйной установки, схема которой дана на рисунке 1.17, а, входит следующее оборудование: питающий центробежный (или другого типа) нacoc, устанавливаемый на поверхности земли; струйный аппарат, помещаемый в колодце или скважине ниже динамического уровня; система трубопроводов, связывающая струйный аппарат с всасывающей трубой насоса.
Струйными аппаратами называют устройства, в которых два потока жидкости, обладающие разными скоростями и энергиями, образуют смешанный поток (рисунок 1.17, б) с некоторой промежуточной скоростью и энергией. При этом вода, которая перекачивается из источника, непосредственно увлекается рабочей струей, движущейся с большой скоростью, что исключает необходимость в использовании каких-либо промежуточных механизмов.
Принцип работы водоструйной установки состоит в том, что сочетание насоса со струйным аппаратом позволяет при ее использовании забирать из скважин воду с глубин, больших предельной высоты всасывания (6…7 м), т. е. с глубин, превышающих 10 м. Эти объясняется способностью струйного аппарата (эжектора) обеспечивать необходимое входное давление жидкости, исключающее возникновение кавитации. В результате насос, установленный на поверхности земли, может перекачивать воду с глубин, превышающих его всасывающую способность.
В сельском хозяйстве находят применение водоструйные установки марок ВНШ-2Ш, ВН-2Ц-6, ВН-1-6 и ВН-1-4 с центробежными насосами и струйными аппаратами разных типов с подачей от 4 до 25 м3/ч.
Пневматические безбашенные водокачки. В зависимости от применяемого водоподъемника различают три типа установок: с погружными электронасосами (например, ВУ-7); с вихревыми насосами (например, ВУ-5-30); с водоструйными установками (например, ВУ-6-50). Общим признаком установок первых двух типов является наличие воздушно-водяного котла (бака). На рис. 1.18 показан общий вид автоматической насосной установки ВУ-7-65 с погружным центробежным насосом 10 марки ЭЦВ-6-10-85, подающим воду из буровой скважины 9, и пневматическим котлом 5, который устанавливают в подземном помещении. На котле монтируют воздушный регулятор 16, реле давления 17, предохранительный клапан 4 и манометр 6. Комбинированный клапан 12 устанавливают на водоподъемном трубопроводе 11 на высоте не менее 5 м от статического уровня воды в скважине (уровень воды при неработающем насосе).

1 подземное помещение; 2 люк; 3 вентиляционная труба; 4 предохранительный клапан; 5 пневмогндроаккумулятор (котел); 6 манометр; 7, 15 вентили; 8 нагнетательный трубопровод; 9 скважина; 10 насос; 11 водоподъемная труба; 12 комбинированный клапан; 13 кабель; 14 опорная плита; 16 воздушный регулятор; 17 реле давления; 18 станция управления
Рисунок 1.18 Общий вид автоматической водоподъемной установки ВУ-7-65 с погружным центробежным насосом и пневмогидроаккумулятором

1 станция управлении; 2 реле давления; 3 жиклер; 4 воздушный клапан; 5 струйный регулятор камера смешивания; 6 пневмогндроаккумулятор, или воздушно-водяной котел; 7 вихревой насос
Рисунок 1.19 Схема работы водоподъемной установки ВУ-5-30
Принцип действия пневмогидроаккумулятора поясняет схема (рисунок 1.19) водоподъемной установки второго типа марки ВУ-5-30, которая оборудована вихревым насосом 7. Установка работает следующим образом. Вихревым насосом вода подается в воздушно-водяной котел 6, из которого через водоразборную магистраль она поступает к потребителям. Излишки воды накапливаются в котле, сжимая воздух. Как только давление в нем достигнет расчетного, реле давления 2 (в нормальном положении его контакты замкнуты) разомкнет электрическую сеть магнитного пускателя, электродвигатель насоса 7 остановится, и вода будет подаваться потребителям только под действием сжатого в котле воздуха. При уменьшении давления до определенного уровня контакты реле замкнутся, и включится насос, который снова начнет подавать воду в котел.
Во время работы водокачки объем воздушной подушки в котле вследствие неплотности соединений и растворения воздуха в воде уменьшается. Это приводит к увеличению частоты включения установки и ускоряет износ электродвигателя и насоса. Для автоматического заполнения котла воздухом служит струйный регулятор 5. Установки с вихревыми насосами применяются преимущественно для подъема чистой воды из поверхностных источников.
Насосная станция ВУ-6-50 с водоструйной установкой ВНШ-2Ш показана на рисунке 1.20. Она предназначена для подъема воды из шахтных колодцев с динамическим уровнем воды до 35 м. Станция оборудована центробежным насосом марки ЦНСМ-2,8 и, струйным аппаратом двухлинейной конструкции с параллельным расположением труб. Струйный аппарат 2 подвешен в колодце на двух трубах напорной 3 и водоподъемной 4, верхние концы которых на выходе из колодца прочно закреплены на его крышке 5. Напорная труба 3 присоединяется к напорному трубопроводу, а водоподъемная к всасывающему патрубку центробежного насоса 8. На нагнетательном трубопроводе 12 устанавливают манометр 10 с трехходовым краном 9 и регулировочный кран (вентиль) 13, предназначенный для пуска установки и регулирования подачи воды, а также для отключения станции от наружной водопроводной сети при ее ремонте. Для периодического удаления из установки скапливающегося в повышенных местах трубопровода воздуха-, который выделяется из воды в процессе работы, на нагнетательной трубе 12 устанавливают продувочный вентиль 11. Установка ВУ-6-50 подает воду из скважин с повышенным содержанием механических примесей.

1 водоприемные отверстия; 2 струйный аппарат; 3 напорная труб; 4 водоподъемная труба; 5 крышка колодца; 6 монтажный хомут; 7 монтажные шины; 8 насос марки ЦНСМ-2,8; 9 трехходовой крав; 10 манометр; 11 продувочный вентиль; 12 нагнетательная труба; 13 регулировочный кран; 14 ходовая скоба; 15 выходной люк; 16 вештиявцвонкая труба
Рисунок 1.20 Насосная станция ВУ-6-50 с водоструйной установкой ВНШ-2Ш для подачи воды из шахтных колодцев
Безнапорные водоподъемники. Для механизации подъема воды на пастбищах применяют два типа безнапорных водоподъемников: ленточные и шнуровые со стационарными или передвижными силовыми агрегатами.

1 рама; 2 крышка; 3 ведущий шкив; 4 ремень; 5 двигатель; 6 лента; 7 натяжной шкив; 8 груз
Рисунок 1.21 Схема ленточного водоподъемника

1 двигатель; 2 водоотделяющая головка; 3 бак; 4 шнур; 5 блок; 6 груз; 7 обсадная труба; 8 водоподъемная труба; 9 направляющая труба
Рисунок 1.22 Схема шнурового водоподъемника ВШП-30
Ленточный водоподъемник ВЛМ-100 предназначен для подъема воды из шахтных колодцев глубиной до 100 м. Его схема дана на рис. 1.21. Рабочим органом водоподъемника служит гладкая или шероховатая бесконечная лента из прорезиненного ремня 4, верхняя часть которого помещается в желобе ведущего блока, расположенного в кожухе. Бесконечная лента 6 свободно висит на ведущем шкиве 3 и натягивается блоком с грузом 8. Подача водоподъемника равна 1,7…3,4 м3/ч. Скорость движения ленты 5…6 м/с. Привод осуществляется от двигателя внутреннего сгорания 5 марки ЗИД-4,5 или от электродвигателя мощностью 3,3 кВт.
Шнуровые переносные водоподъемники ВШП-30 и ВШП-50 предназначены для подъема воды из буровых скважин с диаметром обсадных труб не менее 0,5 м. Схема водоподъемника ВШП-30 приведена на рис. 1.24. В качестве рабочего органа используется бесконечный обрезиненный шнур 4 сечением 327 или 3212 мм для подъема воды с глубины до 30 (ВШП-30) и до 50 м (ВШП-50). Восходящая ветвь шнура перемещается вверх внутри водоподъемной трубы 8, а нисходящая вниз внутри направляющей трубы 9.
Действие водоподъемника основано на использовании сил адсорбционного взаимодействия частиц воды с твердой поверхностью рабочего органа (обрезиненного шнура), имеющего поперечные канавки треугольного профиля с шагом 4 мм и высотой, 2,5 мм. Шнур натягивается грузом 6 (блок-балластом) и свободно висит на ведущем шкиве. При вращении последнего восходящая ветвь увлекает за собой слой воды, который удерживается на ее поверхности благодаря молекулярным силам сцепления. Скорость движения шнура больше скорости стекания воды, поэтому вода поднимается вверх и в момент перехода через ведущий шкив в водоотделяющей головке 2 отбрасывается под действием центробежных сил в бак 3, из которого по патрубку стекает в желоб и поступает к потребителю. При скорости движения шнура 5 м/с подача составляет 0,5…8,4 м3/ч для ВШП-30 и 0,6…5,8 м3/ч для ВШП-50.
2.6 Водонапорные башни и резервуары
В систему водоснабжения составной частью входят напорно-регулирующие сооружения водонапорные башни или ранее рассмотренные водовоздушные котлы. Они предназначены для обеспечения в водопроводной сети необходимого напора, регу лирования подачи в нее воды, а также для создания необходимых запасов. Наряду с напорными сооружениями для хранения последних применяют и безнапорные в виде подземных резервуаров большой вместимости, из которых в разводящую сеть воду подают насосами.

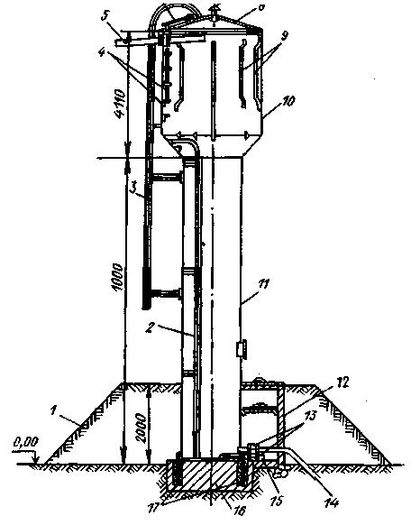
1 водопроводная труба; 2 смотровой колодец; 3 ствол; 4 на пор но-разводящая труба; 5 сливная труба; 6 задвижка сливной трубы; 7 водонапорный бак; 8 шатер; 9 переливная (контрольная) труба; 10 утеплительный короб; 11 задвижка напорио-разводяшей трубы
Рисунок 1.23 Схема водонапорной башни
Водонапорные башни. Водонапорная башня, схема которой приведена на рисунке 1.24, состоит из опорной конструкции ствола 3, водонапорного бака 7, шатра 8 и системы трубопроводов: напорно-разводящей трубы 4 с задвижкой 11, переливной (контрольной) 9, сливной трубы 5 с вентилем или задвижкой 6.
Водонапорные башнн бывают шатровые и бесшатровые. На животноводческих фермах наибольшее распространение получили сборно-блочные металлические бесшатровые башни-колонны марки БР, которые промышленность выпускает трех типоразмеров с вместимостью бака 15, 25 и 50 м3 при высоте от дна бака до уровня земли 8…30 м. Колонна башни также заполняется водой, в результате чего общая ее вместимость становится значительно больше паспортной вместимости одного бака.
В комплект сборноблочной башни типа БР, схематически изображенной на рисунке 1.25, входят следующие узлы: бак 10 с приваренными на внутренних стенках льдоудержателями 9 и скобами 4, заменяющими лестницу; цилиндрическая опора-колонна 11 (ствол) с приваренными к ней патрубками для присоединения напорно-разводящей 14 и сливной 15 труб с задвижками 13. Внутри опоры приварена лестница 2 спуска в колонну для осмотра и ремонта. Бак 10 с люком 6 и вентиляционной трубой 7 сверху закрыт крышкой 8. Наружная лестница 3 служит для подъема на башню. Последнюю из отдельных блоков собирают на земле, а затем устанавливают на заранее подготовленный фундамент 16 с помощью автокрана, трактора или лебедки и мачты. Крепят колонну на фундаменте анкерными болтами 17.
Резервуары. Безнапорные заглубленные в землю резервуары используются не только для хранения запасов воды, но и для регулирования подачи и напора в водопроводной сети путем перекачки воды насосами. В сельскохозяйственных системах водоснабжения резервуары строят по типовым проектам преимущественное сборных железобетонных элементов (за исключением монолитного днища). Каждый из них оборудуют подающей (напорной) и отводящей (всасывающей), а также переливной и сливной трубами. Для проветривания в резервуаре предусмотрены вентиляционная труба и люк для прохода персонала при осмотрах и ремонте.

1 земляная обсыпка; 2 внутренняя лестница; 3 наружная лестница; 4 скобы; 5 переливная труба; 6 люк; 7 вентиляционная труба; 8 крышка; 9 льдоудержатели; 10 бак; 11 опора бака (ствол); 12 смотровой колодец; 13 задвижка; 14 напорно-разводящая труба; 15 сливная труба; 16 фундамент; 17 анкерный болт
Рисунок 1.24 Металлическая бесшатровая водонапорная башня БР (конструкции A.А. Рожновского)
2.7 Определение объема напорно-регулирующего бака и высоты его расположения
Регулирование расхода (подачи) и напора в разводящей сети водопровода осуществляется при помощи либо устанавливаемых на водонапорных башнях напорно-регулирующих баков, либо к подземных резервуаров, а также с использованием автоматических водокачек с высотным напорным баком или безбашенных с регулирующим воздушно-водяным котлом (по аналогии с водоподъемными установками типа ВУ). Общий внутренний (геометрический) объем бака водонапорной башни или резервуара должен вмещать регулирующий, противопожарный и аварийный запасы воды.
Регулирующий объем бака определяется на основании данных расхода воды потребителями и подачи ее насосной станцией. На рисунке 1.25 приведен интегральный график водопотребления 1, совмещенный с графиками подачи воды насосом при круглосуточной равномерной работе насосной станции 3 и при равномерной работе ее в течение 16 ч в сутки (с 4 до 20 ч). При построении кривой 1 по оси абсцисс откладывают часы, а по оси ординат В суммарные объемы воды и почасовой расход, выраженные в процентах от соответствующих суточных значений. Далее, задав режим и количество часов работы насосной станции в сутки (прямые 2 и 3 на рис. 1.25), наносят на этот же график интегральную кривую подачи воды насосами, соответствующую равномерной работе станции за сутки или за 16 ч.
По интегральному графику регулирующий объем Vр.б бака определяют по сумме наибольших значений разности ординат между кривой 1 водопотребления и линиями 2 и 3 подачи воды, соответствующих ее избытку или недостатку. Эта величина для каждого конкретного случая определяется по формуле
, (1.14)
где k`1 максимальная положительная разность между ординатами подачи и водопотребления, %; k``2 максимальная отрицательная разность между ординатами прямой 2 и кривой 1, %.
При равномерной круглосуточной работе станции для рассматриваемого случая имеем: k`1 = l3%; k``1 =5,5 % и .
При равномерной 16-часовой работе станции получим: k`2 = 13%; k``2 = 5% и .
Сравнительный расчет показывает, что при 16-часовом режиме работы станции регулирующий объем бака потребуется немного меньше. Чтобы обеспечить некоторый запас воды, который исключал бы возможность полного опорожнения бака в часы пик, выбранный регулирующий объем бака увеличивают на 2…3%.

Рис. 1.25. Интегральный график потребления воды (/) и работы насосной станции при 16-часовом и круглосуточном режимах (2, 3)
При ориентировочных расчетах водонапорных башен и промежуточных резервуаров в зависимости от суточного расхода воды можно пользоваться приведенными ниже данными:
Суточный расход воды, м3 До 50 50…100 100…300 300…500 Свыше 500
Регулирующий объем, % 35…50 25…35 20…30 15…20 12…20
В современных системах сельскохозяйственного водоснабжения регулирующий объем не превышает 5…10 % от общего объема бака.
Основным параметром, определяющим величину регулирующего объема, является допустимое число включений насоса в единицу времени. Если известны подача и максимально допустимое число включений насоса в сутки zmaxсут, то регулирующий объем бака водонапорной башни можно определить по формуле
. (1.15)
Необходимый расчетный регулирующий объем воздушно-водяного котла автоматической безбашенной водокачки можно рассчитать, пользуясь соотношением
. (1.16)
где zч допустимое число включений насоса в час; kч коэффициент часовой неравномерности водопотребления; Pк давление включения в котле, МПа.
В сельском хозяйстве противопожарный запас воды хранят, как правило, в подземных или наземных безнапорных резервуарах, из которых воду подают пожарными насосами. Часто для этих целей на фермах оборудуют специальные водоемы (пруды).
Согласно СНиП бак водонапорной башни для населенных пунктов должен иметь сверх регулирующего объема еще дополнительный, равный запасу воды, необходимому для тушения п течение 10 мин одного наружного и одного внутреннего пожара, а для хозяйственно-производственного комплекса запас воды, обеспечивающий 10-минутную работу внутренних пожарных кранов при одновременном расходе воды на все остальные нужды. В случае автоматического включения насосов при падении уровня воды в башне объем неприкосновенного пожарного запаса воды может быть сокращен вдвое.
Необходимый аварийный запас на хозяйственно-питьевые нужды определяется рядом факторов, основными из которых являются: надежность электроснабжения и отдельных составных частей системы водоснабжения, а также наличие или отсутствие резервного оборудования.
Полный объем Vб бака определяют по формуле
, (1.17)
где Vзап объем для хранения необходимых запасов воды, м3; Vм = Vм.в + Vм.н «мертвый» объем (Vм.в верхний и Vм.н нижний, м3, который не может быть использован при данной конструкции системы).
Так, максимальную высоту наполнения бака водой обычно принимают на 0,3 м ниже верхнего обреза стенок бака, а глубину отстойной части берут в пределах 0,15…0,20 м.
Аналогично формуле (17) полный объем воздушно-водяного котла безбашенной водокачки рассчитывают по зависимости
, (1.18)
Максимальная частота включений насоса в час zmaxч может быть определена из соотношения
, (1.19)
где Qmaxч максимальная подача, м3/ч.
Наиболее выгодными считаются режимы работы насоса при 250 < zmахсут < 500.
Высота установки бака Hб водонапорной башни зависит от свободного напора Hсв по формуле (45) в «диктующей» точке, м; при самом низком уровне воды в баке справедливо равенство
. (1.20)
где zд и zд.т отметки поверхности земли в месте расположения водонапорной башни и «диктующей» точки, м.
3 Оборудование поения животных и птицы
Общие сведения. Поение животных и птицы наряду с кормлением является важнейшим биотехнологическим процессом, в котором биологическое звено системы ОМЖС непосредственно контактирует с рабочими органами машин, приборов и аппаратов. При рассмотрении систем водоснабжения в разделе 1.4 уже было показано, что последние представляют собой поточные технологические линии, предназначенные для получения, накопления, хранения, очистки, транспортирования воды и поения животных (птицы), которые удовлетворяют потребность в питьевой воде, обеспечивая нормальное функционирование организма. Для повышения эффективности взаимодействия между средствами труда животными и предметом труда питьевой водой оператор применяет соответствующие приемы подготовки последней (очистка, нагрев, подача и др.), обеспечивая с помощью технологического оборудования (водопроводные сети, водоразборная арматура и др.) создание наиболее комфортных условий для животного в пределах физиологически, технологически и экономически оправданных норм водопотребления и затрат операционного времени.
Два варианта поточных технологических линий поения в коровнике с привязным содержанием животных представлены на рис. 1.26. В этих линиях энергосиловая часть, связанная с получением и доставкой воды, оборудована разными техническими средствами, включая локальные водоисточники и насосные станции, а технологическая часть, обеспечивающая распределение воды и подвод ее к каждому животному, оснащена однотипным оборудованием, включающим поилки и краны.

а с водонапорной башней; б с пневмогидроаккумулятором (автоматической водокачкой); 1 водоструйная установка; 2 водонапорная башня; 3 водопровод; 4 автопоилки; 5 пневмогидроаккумулятор (воздушно-водяной котел); 6 реле давления; 7 станция управления; 8 погружной электронасос
Рисунок 1.26 Схемы систем водоснабжения
Среди технологического оборудования, предназначенного для линий поения животных, наибольшим разнообразием отличаются типы поилок. И это вполне естественно, так как именно их рабочие органы контактируют с животными и должны наилучшим образом отвечать физиологическим особенностям последних.
Автопоилка представляет собой специальное автоматически действующее устройство (прибор), при помощи которого животные и птица самостоятельно без участия человека получают из водопровода необходимую для поения воду в любое время суток и в нужном количестве.
Применение их на фермах крупного рогатого скота способствует увеличению удоев молока на 10…15 %, позволяет значительно сократить затраты труда на обслуживание и улучшает санитарно-гигиенические условия содержания животных.
Поилки делятся на индивидуальные и групповые. Индивидуальные применяются на фермах крупного рогатого скота при привязном содержании и свинофермах при содержании свиней в отдельных станках (клетках). Групповые поилки используются на фермах крупного рогатого скота при беспривязном содержании, в летних лагерях, на пастбищах, а также для свиней, овец и птицы при групповом содержании. На пастбищах и в лагерях, удаленных от источников воды, животных поят из передвижных поилок-цистерн. По конструкции автопоилки бывают клапанные и бесклапанные, действующие по принципу сообщающихся сосудов.
Контрольные вопросы
1. Дайте определение системы водоснабжения.
2. Перечислите схемы водоснабжения.
3. В каких случаях применяют схему водоснабжения с двумя подъемами воды?
4. Перечислите источники водоснабжения.
5. Что такое дебит воды?
6. Что такое водозаборное сооружение и его назначение?
7. Чем отличается насос от водоподъемника?
8. Перечислите насосы по принципу их действия.
9. За счет чего происходит подъем воды ленточным и шнуровым водоподъемниками?
10. Перечислите водопойное оборудование, используемое на фермах: крупнорогатого скота, свиноводческой, овцеводческой и птицеводческой.
11. По какой формуле определяется среднесуточный расход воды, суточный расход насосной станции, потребляемая мощность электродвигателя для привода насоса и количество водопойного оборудования?
ОБОРУДОВАНИЕ И СООРУЖЕНИЯ ДЛЯ ВОДОСНАБЖЕНИЯ ФЕРМ И ПАСТБИЩ