Сезонные графики коэффициентов аварийности на существующей дороге
Федеральное государственное бюджетное образовательное учреждение профессионального образования
ТЮМЕНСКИЙ ГОСУДАРСТВЕННЫЙ АРХИТЕКТУРНО-СТРОИТЕЛЬНЫЙ УНИВЕРСИТЕТ
Кафедра “Автомобильные дороги и аэродромы”
ПОЯСНИТЕЛЬНАЯ ЗАПИСКА
к курсовой работе по дисциплине:
«Дорожные условия и безопасность дорожного движения»
на тему: «Сезонные графики коэффициентов аварийности на существующей дороге».
Выполнил: студент
группы АД-07-4
Муратов Дамир
Проверил: к.т.н. доцент
Андронов Р. В.
Тюмень 2011
|
Содержание |
|
|
1. Способы оценки безопасности дорожного движения |
4 |
|
2. Построение сезонных графиков коэффициентов аварийности |
6 |
|
2.1. Определение зон влияния |
6 |
|
2.2. Определение сезонных изменений параметров дороги |
6 |
|
2.3. Определение частных коэффициентов аварийности |
6 |
|
2.4. Определение итоговых коэффициентов аварийности |
6 |
|
3. Установление очередности выполнения мероприятий на опасных участках |
8 |
|
4. Реализация мероприятий по повышению безопасности дорожного движения |
9 |
|
5. Разметка на характерных участках |
10 |
|
6. Приложение 1 |
|
|
7. Список литературы |
1. Способы оценки безопасности дорожного движения
Существуют следующие методы оценки безопасности дорожного движения:
- метод экспертных оценок не учитывающий изменение интенсивности;
- метод коэффициента происшествий;
- метод коэффициента безопасности;
- метод конфликтных ситуаций;
- метод итоговых коэффициентов аварийности.
Наиболее простым методом является метод экспертных оценок и сравнения разных участков по абсолютному числу происшествий.
Недостаток этого метода в том, что он не учитывает изменение интенсивности движения, вследствие чего отсутствует возможность прогнозирования аварийности.
Для длинных и однородных по геометрическим элементам участков более надежна оценка по коэффициенту происшествий, измеряемым количеством ДТП на 1 млн. авт-км пробега:
Д = А*106 /365*L*N*n, (1)
Где: Д- число ДТП за n лет
L длинна участка, км
N интенсивность движения, авт/сут
n число лет.
В зависимости от величины коэффициента участки имеют степень опасности:
Таблица 1
|
Д |
‹ 0,4 |
0,41-0,8 |
0,81-1,2 |
› 1,2 |
|
Степень опасности |
Не опасный |
Мало опасный |
Опасный |
Очень опасный |
При оценке безопасности дорожного движения по коэффициенту безопасности используется расстояние, которое должно быть не менее расстояния видимости по СНиП.
Кб = V1/V2, (2)
где: Кб коэффициент безопасности;
V1 максимальная скорость движения на участке, км/ч;
V2 скорость при въезде на участок, км/ч.
Таблица 2
|
Кб |
› 0,8 |
0,6-0,8 |
0,4-0,6 |
‹ 0,4 |
|
Степень опасности |
Не опасный |
Мало опасный |
Опасный |
Очень опасный |
Метод конфликтных ситуаций применяется лишь для разработки проектов по реконструкции сложных участков дорог. Конфликтной считается та ситуация при которой расстояние между транспортными средствами во времени составляет 1-1,5 секунды. Для работы с этим методом необходимы данные передвижной лаборатории.
Конфликтные ситуации делятся на :
- легкие (К1)
- средние (К2)
- критические (К3)
Количество конфликтных ситуаций приведенных к критической находится по формуле:
К = 0,44*К1+0,83*К2*К3, (3)
Количество конфликтных ситуаций на 1млн. авт. - км находится по формуле:
К = 106*К /N*L, (4)
Для оценки условий безопасности движения применяют также метод коэффициентов аварийности, разработанный проф. В.Ф.Бабковым. В развитии этого метода предложен метод построения сезонных графиков коэффициентов аварийности, которые характеризуют условия безопасности движения в летний, осенне-весенний и зимний периоды. Для оценки безопасности движения на эксплуатируемых дорогах этот метод является основным для построения графика.
Для построения графика сезонных коэффициентов аварийности необходимо выполнить сезонные обследования и измерить основные параметры и характеристики дороги. Наиболее характерные состояния наблюдаются летом в июле, осенью в октябре, ноябре и зимой в феврале. На основании измерений назначают частные коэффициенты аварийности для каждого периода года, затем
вычисляют итоговые коэффициенты.
2. Построение сезонных графиков коэффициентов аварийности
2.1.Определение зон влияния
Зона влияния участок, на котором распространяется влияние опасного элемента дороги.
Согласно данных таб. 4 (Мет. Указания) строим зоны влияния и вносим в прил.1
2.2. Определение сезонных изменений параметров дороги.
Изменение параметров находится по формуле:
Пi сез = Пппроект * Кi сезп, (5)
Результаты расчета заносятся в прил.1.
2.3. Определение частных коэффициентов аварийности.
Величина частных коэффициентов аварийности назначается на основании предполагаемых изменений параметров дороги под воздействием природных климатических факторов. Величина частных коэффициентов аварийности определяется для каждой конкретной дорожной ситуации с учетом зон влияния дорожных элементов.
По известным параметрам и характеристикам дороги по табл.2 (Мет. Указ) определяем частные коэффициенты аварийности и заносим в приложение 1.
2.4. Определение итоговых коэффициентов аварийности.
Итоговый коэффициент находится по формуле:
К = К1* К1* ….. *К14, (6)
Критерий оценки аварийности:
Китогавар<10 не опасный
10<Китогавар<10 мало опасный
20<Китогавар<40 опасный
Китогавар>40 очень опасный.
Результаты расчета заносятся в приложение 1 и в таблицу 3.
Для установления очередности перестройки опасных участков необходимо учитывать тяжесть ДТП:
Кститог = Мт *Китог, (7)
Мт коэффициент тяжести ДТП;
Китог итоговый коэффициент аварийности.
Мт = Пmi, (8)
П среднее значение коэффициента тяжести mi.
Таблица 3
Сводная таблица значений итоговых коэффициентов аварийности
|
N |
Адреса участков |
Значения итоговых коэффициентов аварийности |
Коэф. тяжести ДТП |
Значения итоговых коэффициентов аварийности с учетом тяжести ДТП |
|||||
|
от |
до |
лето |
весна-осень |
зима |
лето |
весна-осень |
зима |
||
|
1 |
2 |
3 |
4 |
5 |
6 |
7 |
8 |
9 |
10 |
|
1 |
0+00 |
16+50 |
3,2 |
3,35 |
6,13 |
||||
|
2 |
16+50 |
17+50 |
10,44 |
10,93 |
17,58 |
||||
|
3 |
17+50 |
29+50 |
4,17 |
4,37 |
|||||
|
17+50 |
29+00 |
7,03 |
|||||||
|
4 |
29+50 |
30+50 |
12,51 |
13,11 |
|||||
|
29+00 |
31+00 |
21,09 |
0,6 |
12,65 |
|||||
|
5 |
30+50 |
38+00 |
4,17 |
4,37 |
|||||
|
31+00 |
38+00 |
7,03 |
|||||||
|
6 |
38+00 |
42+75 |
1,56 |
1,63 |
3,0 |
||||
|
7 |
42+75 |
56+75 |
3,02 |
3,1 |
5,7 |
||||
|
8 |
56+75 |
63+25 |
18,12 |
18,6 |
3,68 |
66,68 |
68,45 |
||
|
56+50 |
63+50 |
34,2 |
3,12 |
106,7 |
|||||
|
9 |
63+25 |
65+00 |
3,02 |
3,1 |
|||||
|
63+50 |
65+00 |
5,7 |
|||||||
|
10 |
65+00 |
79+50 |
4,37 |
4,56 |
|||||
|
65+00 |
79+00 |
8,4 |
|||||||
|
11 |
79+50 |
80+50 |
26,22 |
27,26 |
1,4 |
36,71 |
38,16 |
||
|
79+00 |
81+00 |
50,4 |
1,19 |
59,98 |
|||||
|
12 13 |
80+50 |
83+50 |
4,37 |
4,56 |
|||||
|
81+00 |
83+50 |
8,4 |
|||||||
|
14 |
83+50 |
90+50 |
1,56 |
1,63 |
3,0 |
||||
|
15 |
90+50 |
107+50 |
3,9 |
4,08 |
7,5 |
||||
|
16 |
107+50 |
115+00 |
18,56 |
19,43 |
20,59 |
2,02/1,2 |
37,49 |
39,25 |
24,71 |
|
17 |
115+00 |
124+50 |
7,42 |
7,77 |
|||||
|
115+00 |
124+00 |
8,24 |
|||||||
|
18 |
124+50 |
125+50 |
44,52 |
46,62 |
1,0 |
44,52 |
46,62 |
||
|
124+00 |
126+00 |
49,44 |
0,64 |
31,64 |
|||||
|
19 |
125+50 |
129+00 |
7,42 |
7,77 |
|||||
|
126+00 |
129+00 |
8,24 |
|||||||
|
20 |
129+00 |
156+00 |
1,28 |
1,34 |
2,45 |
3. Установление очередности выполнения мероприятий на опасных участках.
Таблица 4
Сводная ведомость опасных участков на дороге
|
Адрес участка |
Протяженность, м |
Значения итоговых коэффициентов аварийности |
Очередность проведения мероприятий |
Основные причины повышения опасности движения |
Перечень мероприятий по повышению безопасности движения |
|||
|
от |
до |
лето |
весна-осень |
Зима |
||||
|
1 |
2 |
3 |
4 |
5 |
6 |
7 |
8 |
9 |
|
16+50 |
17+50 |
100 |
10,44 |
10,93 |
17,58 |
|||
|
29+00 |
31+00 |
200 |
12,51 |
13,11 |
21,09 |
4 |
Плохая видимость, малый радиус в плане и населенный пункт |
1.Установка дорожных знаков: -предупрежда- ющих. |
|
56+50 |
63+50 |
700 |
18,12 |
18,6 |
34,2 |
3 |
Плохая видимость, малый радиус в плане, высокая интенсивность на пересечении в одном уровне и населенный пункт |
|
|
79+00 |
81+00 |
200 |
26,22 |
27,26 |
50,4 |
1 |
большая протяженность прямых участков, маленький габарит моста, высокие уклоны |
|
|
107+50 |
115+00 |
750 |
18,56 |
19,43 |
20,59 |
5 |
большая протяженность прямых участков, высокие уклоны, высокая интенсивность на пересечении в одном уровне |
|
|
124+00 |
126+00 |
200 |
44,52 |
46,62 |
49,44 |
2 |
Маленький радиус кривой в плане, плохая видимость, высокая интенсивность на пересечении в одном уровне |
4. Реализация мероприятий по повышению безопасности дорожного движения.
В качестве показателя, характеризующего ожидаемое изменение состояния аварийности от проведенных мероприятий, используется средняя вероятность снижения количества ДТП (Pm).
(9)
Где: - итоговый коэффициент аварийности;
- вероятность снижения числа ДТП с пострадавшими.
Если мы применяем комплекс мероприятий, то рассчитывается по формуле:
(10)
Результаты расчета сведены в таблицу 5.
На исследуемом участке дороги имеется примыкание с второстепенной дорогой. Этот участок является опасным для движения. Проанализировав причины повышения опасности, делаем вывод, что для повышения безопасности движения на данном участке необходима установка предупреждающих знаков.
Таблица 5
|
№ |
Адрес участка |
Мероприятие |
Значения итоговых коэффициентов аварийности после назначения мероприятий |
||||
|
от |
до |
зима |
весна-осень |
лето |
|||
|
1 |
46+00 |
48+62 |
1Установка предупреждающих знаков. |
0,60 |
12,16 |
8,92 |
8,2 |
5. Разметка на характерных участках.
Разметкой следует считать линии, надписи и другие обозначения, применяемые самостоятельно, в сочетании с дорожными знаками или светофорами, на проезжей части дорог с усовершенствованным покрытием, бордюрах, элементах дорожных сооружений и обстановки дорог.
Установлено две группы разметки горизонтальная и вертикальная. Каждому виду разметки присвоен номер, состоящий из цифр, означающих первое число - номер группы, к которой принадлежит разметка (1 - горизонтальная, 2 - вертикальная), второе - порядковый номер разметки в группе, третье - разновидность разметки.
. В горизонтальную разметку входят линии, надписи, стрелы и другие обозначения, наносимые на усовершенствованное дорожное покрытие.
Горизонтальная разметка может быть постоянной или временной. Функции временной дорожной разметки ограничиваются продолжительностью дорожных работ или событий, потребовавших ее введения.
В вертикальную разметку входят линии и обозначения, наносимые на элементы опор мостов, путепроводов, торцевые поверхности порталов тоннелей, на парапеты, ограждения, бордюры и другие дорожные сооружения и элементы оборудования дорог с целью повышения их видимости участниками дорожного движения.
При разметке дорог ширина полосы движения должна приниматься с учетом категорий дорог согласно требованиям действующих строительных норм и правил. На дорогах, элементы поперечного профиля которых не соответствуют требованиям действующих строительных норм и правил, ширина размечаемой полосы движения не должна быть менее 3,0 м; допускается уменьшение ширины полосы, предназначенной для движения легковых автомобилей, до 2,75 м при условии введения необходимых ограничений на режим движения.
1.На прямолинейных участках.
Рис.1.
Рис.2.
1.1. - разделение транспортных потоков противоположных направлений. Обозначение полос движения Обозначение границ участков проезжей части, на которые въезд запрещен. Обозначение границ мест стоянки транспортных средств.
1.5. - разделение транспортных потоков противоположных направлений. Обозначение полос движения.
1.6. - обозначение приближения к сплошной линии продольной разметки.
1.11. - разделение транспортных потоков противоположных или попутных направлений в местах, где необходимо ограничить маневрирование на проезжей части Обозначение мест, где необходимо разрешить движение только со стороны прерывистой линии (в местах разворота, въезда и выезда со стояночных площадок, АЗС, остановочных пунктов маршрутных транспортных средств и т.п).
1.19. - обозначение приближения к сужению проезжей части или к сплошной линии продольной разметки 1.1
1.23. - обозначение полосы проезжей части предназначенной исключительно для движения маршрутных транспортных средств (автобусы, троллейбусы).
2.Разметка на участке горизонтальной кривой малого радиуса.
,
Р условная плавность закругления;
R радиус закругления;
d угол поворота трассы.
Рис.3.
Разделение транспортных потоков противоположных направлений на кривой в плане осуществляется с помощью сплошной линии 1.1 при условной плавности закругления кривой Р 19,0. В остальных случаях разделение потоков осуществляется с помощью прерывистой линии 1.5
3.Разметка на вертикальных выпуклых прямых.
,
Мф фактическая видимость;
R радиус выпуклой кривой ( СНиП 2.05.02-82 );
h расчетная высота глаз водителя над уровнем поверхности дороги ( 1,2м).
Если Мф > Мmin , то существует 2 зоны с ограниченной видимостью ( зоны не доходят до вершины либо заходят за нее ).
Рис. 4.Зоны с ограниченной видимостью перекрывают друг друга.

Рис. 5.Зоны с ограниченной видимостью не перекрывают друг друга.
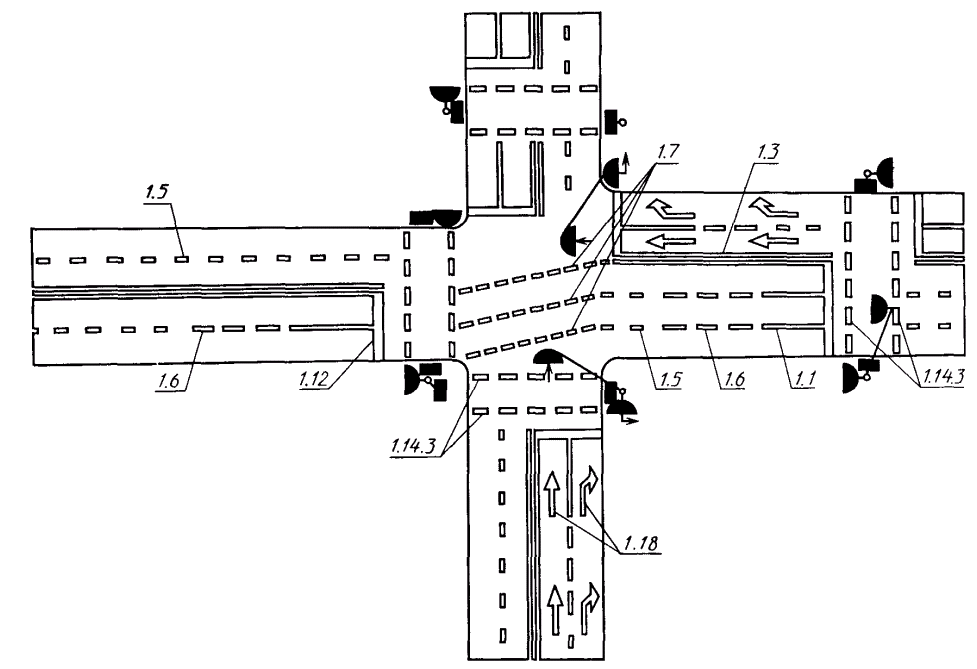
4. Разметка на пересечениях.

Рис.6.

Рис.7.
1.1. - разделение транспортных потоков противоположных направлений. Обозначение полос движения Обозначение границ участков проезжей части, на которые въезд запрещен. Обозначение границ мест стоянки транспортных средств.
1.5. - разделение транспортных потоков противоположных направлений. Обозначение полос движения.
1.6. - обозначение приближения к сплошной линии продольной разметки.
1.7. - обозначение полос движения в пределах перекрестка.
1.12. - обозначение места остановки транспортных средств - стоп-линия
1.14.1. - обозначение пешеходного перехода при 6,00 Р4,00.
1.14.2. - обозначение пешеходного перехода при Р > 6,00.
1.18. - обозначение направлений движения по полосам.
1.21. - обозначение приближения к поперечной линии разметки 1.12.
5. Разметка на мостах.

Рис.8.Вертикальная разметка.

Рис.9.Горизонтальная разметка на мосту.
2.1. - обозначение вертикальных поверхностей дорожных сооружений (опор мостов, путепроводов, торцевых частей парапетов и т.п.):
2.1.1 - слева от проезжей части;
2.1.2 - на проезжей части,
2.1.3 - справа от проезжей части данного направления движения.
2.2 - обозначение нижнего края пролетного строения путепроводов, мостов, тоннелей.
2.7. - обозначение бордюра на опасных участках и боковых поверхностей возвышающихся островков безопасности.
Список литературы
1) Методические указания: «Оценка безопасности дорожного движения на эксплуатируемых дорогах и разработка мероприятий по ее повышению».
2) ВСН 25-86 «Указания по обеспечению безопасности движения на автомобильных дорогах»
3) ГОСТ Р51256-99 «Разметка дорожная».
4) ГОСТ 23457 “Технические средства организации дорожного движения”.
5.) ВСН 23-75 “Указания по разметке а/д”.
Сезонные графики коэффициентов аварийности на существующей дороге