Защита атмосферы
Лекция 4. Защита атмосферы
Атмосферный воздух должен иметь определенную чистоту и любое отклонение от нормы опасно для здоровья. Атмосферный воздух выполняет и сложную защитную экологическую функцию, предохраняя Землю от холодного космоса и потока Солнечного излучения. В атмосфере идут глобальные метеорологические процессы, формируется климат и погода, задерживается масса метеоритов.
Атмосфера обладает способностью к самоочищению. Оно происходит при выбывании аэрозолей из атмосферы осадками, турбулентном перемешивании приземного слоя воздуха, отложении загрязненных веществ на поверхности земли… В современных условиях возможности природных систем самоочищения атмосферы сильно подорваны, атмосфера не в полной мере выполняет свои защитные, терморегулирующие и жизнеобеспечивающие экологические функции.
Под загрязнением атмосферы понимают любое изменение его состава и свойств, которое оказывает негативное воздействие на здоровье человека и животных, состояние растений и экосистем.
Загрязнение атмосферы бывает:
Естественным вызванное природными процессами (вулканическая деятельность, выветривание горных пород, ветровая эрозия, дым от лесных и степных пожаров…)
Антропогенным связанное с выбросами различных загрязняющих веществ в процессе деятельности человека.
В зависимости от масштабов распространения выделяют: местное, региональное и глобальное загрязнение.
По агрегатному состоянию выбросы вредных веществ в атмосферу делят на: газообразные (оксиды серы, углерода, азота, углеводороды), жидкие (кислоты, щелочи, растворы солей), твердые (канцерогенные вещества, свинец и его соединения, органическая и неорганическая пыль, сажа, смолистые вещества)
Наиболее опасное загрязнение атмосферы радиоактивное. Сейчас оно обусловлено в основном глобально распределенными долгоживущими радиоактивными изотопами продуктами испытания ядерного оружия, в приземный слой атмосферы выбрасываются радиоактивные вещества с действующих АЭС.
Основной вклад в антропогенное загрязнение воздуха вносят: теплоэнергетика(тепловые и атомные электростанции, промышленные и городские котельные), предприятия черной металлургии, нефтедобычи, нефтехимии, автотранспорт, предприятия цветной металлургии, производство стройматериалов.
В атмосферном воздухе, насыщенном различными примесями, происходят химические реакции, которые приводят к образованию новых веществ, часто более опасных, чем исходные. Это так называемые вторичные загрязнители. Например, диоксид серы SO2 реагирует с кислородом с образованием триоксида серы SО3 а поэтому оба оксида всегда присутствуют вместе. Дальнейшие реакции с водой и другими веществами в атмосфере могут перевести их в сульфаты или серную кислоту. Вторичные загрязнители главным образом ответственны за кислотные дожди. Так, под влиянием солнечной радиации происходят сложные реакции превращения газов в более тяжелые твердые частицы, которые оседают в нижние слои атмосферы и в конечном итоге вместе с осадками выпадают на землю.
Таблица Вещества, загрязняющие воздух, выбрасываемые природными и искусственными источниками
|
Загрязнитель |
Искусственный источник |
Природный источник |
|
Углекислый газ (СО2 ) |
Сгорание дерева и природного топлива |
Биологический распад, выделение из океана, лесные пожары, дыхание |
|
Угарный газ (СО) |
Неполное сгорание (особенно в автомобилях) |
Лесные пожары, фотохимические реакции |
|
Оксид серы IV (SO2) |
Сгорание угля и нефти, плавка Руд |
Вулканические и биологические процессы |
|
Метан (СН4) |
Сгорание, утечка природного газа |
Анаэробный биологический распад и деятельность термитов |
|
Оксиды азота (N0„) |
Высокотемпературное сгорание |
Грозовые разряды, деятельность бактерий почвы |
|
Сероводород(H2S) |
Перегонка нефти и обработка почв |
Вулканы и анаэробный биологический распад |
|
Аммиак (NH3) |
Обработка почвы и удобрения |
Анаэробный биологический распад |
К резкому возрастанию концентрации вредных веществ в приземном слое атмосферы приводят температурные инверсии воздуха. При инверсии температура воздуха повышается с высотой, так как нижние слои воздуха в результате охлаждения земной поверхности имеют более низкую температуру. Установлено, что при инверсии уровень концентрации примесей в приземном слое на 10-60% больше, чем в ее отсутствие.
Важное значение для рассеивания примесей имеет ветер, его скорость, направление и продолжительность. Если дуют так называемые опасные ветры (скорость ветра невелика и не превышает 2 - 5 м/сек), концентрация примесей для низких источников загрязнений (высота труб до 25 м), а они являются преобладающими, в приземном слое примесей на 30-70% больше, чем при больших скоростях ветра.
Большое влияние на уровень загрязнения оказывают рельеф и связанное с ним движение атмосферного воздуха. В подветренной части города могут возникать зоны завихрения. Такая циркуляция воздуха нередко способствует повышению концентрации примесей.
Таким образом, загрязнение воздуха вредными примесями зависит от двух основных факторов- от поступления выбросов в атмосферу (их количество, состав веществ, изменение во времени) и от дальнейшего переноса загрязнителей в ней. Большое значение имеет повторяемость ветров разных направлений, которую изображают в виде розы ветров. Установлено, что в Ставропольском крае в холодное полугодие преобладают восточные ветры, а в теплое - юго-западные. В течение всего года в западной части края преобладают ветры со скоростью 5,0 -5,5 м/сек, в восточной -до 4 м/сек. В предгорьях скорость ветра уменьшается до 2 - 3 м/сек. Безветренные дни бывают редко. Для нашего края характерны "опасные" ветры, которые загрязняющие вещества рассеивают слабо и оставляют на месте.
1. Защита атмосферы от промышленных выбросов
Охрана и защита атмосферы включает комплекс технических, административных и экономических мер, прямо или косвенно направленных на прекращение или по крайней мере уменьшение возрастающего загрязнение атмосферы, связанного с деятельностью людей. При этом защита не может быть эффективной при односторонних или половинчатых мерах, направленных только против конкретных источников загрязнения. Необходимо комплексно подходить к определению причин загрязнения атмосферы, вкладу отдельных источников и выявлению различных возможностей ограничения выбросов загрязняющих веществ.
В зависимости от расстояния распространения загрязнений в воздухе от их источников соответствующие мероприятия по охране атмосферного воздуха могут иметь локальные, региональное, государственное, межгосударственное значение. В настоящее время практически все государства имеют соответствующие законодательные акты, определяющие основу для необходимых нормативных положений в области охраны окружающей среды или целенаправленно в области борьбы с загрязнением воздуха. В некоторых странах имеются законы, действующие на уровне отдельных провинциальных административных единиц.
Для защиты воздушного бассейна от негативного антропогенного воздействия в виде загрязнения его вредными веществами используют следующие меры:
- Экологизация технологических процессов.
Наиболее радикальная мера создание замкнутых технологических циклов, безотходных и малоотходных технологий, исключающих образование, а следовательно и выброс вредных веществ.
- Очистка газовых выбросов от вредных примесей.
Для нетоксичных аэрозолей и паро- и газообразных примесей используют сухие и мокрые пылеуловители, фильтры и электрофильтры, а так же комбинированные методы очистки. Для очистки от токсичных примесей применяется каталитическое окисление, абсорбция и адсорбция.
- Рассеяние газовых выбросов в атмосфере.
Используют для снижения опасных концентраций примесей до уровня соответствующего ПДК. Рассеивание осуществляется с помощью высоких дымовых труб, причем чем выше труба, тем больше рассеивающий эффект.
- Устройство санитарно-защитных зон, архитектурно-планировочные решения.
Санитарно-защитная зона это полоса, отделяющая источники промышленного загрязнения от жилых или общественных зданий для защиты населения от влияния вредных факторов производства. Ширину санитарно-защитных зон устанавливают в зависимости от класса производства, степени вредности и количества выделенных в атмосферу веществ и принимают равной от 50 до 1000 м. Санитарно-защитная зона должна быть благоустроена и озелена газоустойчивыми породами деревьев и кустарников: акацией белой, тополем канадским, елью колючей, вязом лиственным. (хвоя 1 га елового леса улавливает 32 т пыли, листва букового леса 68 т.)
Архитектурно-планировочные мероприятия включают правильное взаимное размещение источников выброса и населенных мест с учетом направления ветров, выбор под застройку промышленного предприятия ровного, возвышенного места, хорошо продуваемого ветрами, сооружение автомобильных дорог в обход населенных пунктов.
2. Принципы очистки газовых выбросов
На предприятиях повсеместно используются различные методы очистки отходящих газов от аэрозолей (пыли, золы, сажи) и токсичных газо- и парообразных примесей (NO, NO2, SO2, SO3 и др.), однако, с точки зрения будущего, аппараты пылегазоочистки по вышеуказанным причинам не имеют перспектив.
Тем не менее все методы могут быть условно разбиты на две основные группы. К первой относятся физические методы очистки газов от жидких и твердых частиц с использованием так называемого разделительного оборудования, в котором в несколько стадий под действием тех или иных сил происходит выделение этих частиц из основного газового потока и перенесение их на поверхности осадителей различных конструкций. Для удаления частиц из потока могут применяться гравитационные, инерционные, диффузионные, электростатические и другие воздействия.
Во второй группе для извлечения примесей из газа используются физико-химические методы. В зависимости от физико-химических свойств загрязняющих веществ и от условий, при которых осуществляется их отделение, наиболее часто используются процессы абсорбции, адсорбции, окисления и восстановления, а также каталитические (обычно гетерогенные) химические реакции.
Как правило, пылеулавливающие аппараты (сепараторы) подразделяются на четыре группы:
- сухие или механические пылеуловители, в которых частицы пыли отделяются от газа с помощью механической силы; чаще используются в качестве первой ступени перед более эффективными устройствами;
- мокрые, в которых частицы пыли отделяются от газа с помощью промывки той или иной жидкостью, чаще водой; существует большое разнообразие таких устройств по конструкции и принципам действия;
- фильтры, которые задерживают пыль при пропускании через них очищаемого газа (применяются тканевые, волокнистые, воздушные, зернистые и другие фильтры);
электрофильтры, в которых отделение частиц из газового потока осуществляется под действием электрических сил; пригодны для сухой и мокрой очистки и обеспечивают для мелкодисперсных сред наибольшую ее эффективность.
Для очистки выбросов от аэрозолей в настоящее время применяют различные типы устройств в зависимости от степени запыленности воздуха, размеров твердых частиц и требуемого уровня очистки.
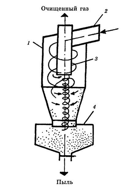
Сухие пылеуловители (циклоны, пылеосадительные камеры) предназначены для грубой механической очистки выбросов от крупной и тяжелой пыли. Принцип работы оседание частиц под действием центробежных сил и сил тяжести. Пылегазовый поток вводится в циклон через патрубок (рис.15.1), далее он совершает вращательно-поступательное движение вдоль корпуса; частицы пыли отбрасываются к стенкам циклона и затем падают вниз в сборник пыли (бункер), откуда периодически удаляются.
Рис.15.1. Схема устройства циклона: 1 корпус; 2 входной патрубок; 3 выхлопная труба; 4 сборник пыли
Для повышения эффективности работы применяют групповые (батарейные) циклоны.

Мокрые пылеуловители (скрубберы, турбулентные, газопромыватели и др.) требуют подачи воды и работают по принципу осаждения частиц пыли на поверхность капель под действием сил инерции и броуновского движения. Наибольшее практическое применение получили скрубберы Вентури (рис.15.2.), которые обеспечивают 99% очистки от частиц размером более 2 мкм и, как все мокрые пылеуловители, незаменимы при очистке от пыли взрывоопасных и горячих газов.
Рис.15.2. Схема устройства скруббера Вентури: 1 труба Вентури; 2 скруббер-каплеуловитель
Фильтры (тканевые, зернистые) способны задерживать мелкодисперсные частицы пыли до 0,05 мкм. Особенно эффективны рукавные фильтры с тканями из синтетических волокон повышенной термостойкости (250300 С) типа "сульфон-Т", фильтровальные металлические ткани (до 800 С), а также фильтры из тканей типа ФПП и ФПА, дающие высокую степень очистки.

Электрофильтры наиболее совершенный способ очистки газов от взвешенных в них частиц пыли размером до 0,01 мкм при высокой эффективности очистки газов (99,099,5%). Принцип работы всех типов электрофильтров основан на ионизации пылегазового потока у поверхности коронирующих электродов. Приобретая отрицательный заряд, пылинки движутся к осадительному электроду, имеющему знак, обратный заряду коронирующего электрода. При встряхивании электродов осажденные частички пыли под действием силы тяжести падают вниз в сборник пыли (рис.15.3.). Электроды требуют большого расхода электроэнергии это их основной недостаток.
Рис.15.3. Схема устройства трехпольного электрофильтра: 1 - корпус; 2 - электрод осадительный; 3 - электрод коронирующий; 4 - механизм встряхивания коронирующих электродов; 5 - механизм встряхивания осадительных электродов; 6 - газораспределительная решетка; 7 - сборник пыли; 8 изолятор.
Наиболее эффективны комбинированные методы очистки от пыли. Например, отличные результаты дает очистка агломерационных газов в батарейных циклонах с последующей доочисткой в скрубберах Вентури, а также в электрофильтрах. (Защита окружающей среды..., 1993).
Естественно, что газообразное веществозагрязнитель из общего газового потока с помощью сепараторов выделить, как правило, невозможно. В этом случае используются физико-химические методы.
Способы очистки выбросов от токсичных газо- и парообразных примесей (NO, NO2, SO2 и др.) подразделяют на три основные группы: 1) поглощение примесей путем применения каталитического превращения; 2) промывка выбросов растворителями примеси (абсорбционный метод) и 3) поглощение газообразных примесей твердыми телами с ультрамикропористой структурой (адсорбционный метод).
С помощью каталитического метода токсичные компоненты промышленных выбросов превращают в вещества безвредные или менее вредные для окружающей среды путем введения в систему дополнительных веществ, называемых катализаторами. Широко применяют палладийсодержащие и ванадиевые катализаторы. С их помощью происходит каталитическое досжигание оксида углерода до диоксида и диоксида серы до оксида. Возможно также восстановление оксидов азота аммиаком до элементарного азота. Одна из разновидностей этого метода дожигание вредных примесей с помощью газовых горелок (факельное сжигание), широко используется на нефтеперерабатывающих заводах.
Абсорбционный метод основан на поглощении вредных газообразных примесей жидким поглотителем (абсорбентом). В качестве абсорбента используют воду, растворы щелочей (соды), аммиака и др. Газообразные цианистые соединения абсорбируют, например, 5%-ным раствором железного купороса. Устройство, в котором осуществляют процесс абсорбции, называют абсорбером.
Абсорбционный метод основан на подборе такой жидкости, при прохождении через которую вредная примесь переходит в жидкую фазу абсорбента, растворяясь в нем это физическая абсорбция. Например, физическая абсорбция применяется для очистки природных газов и газов при производстве водорода от сероводорода, диоксида углерода с использованием сульфолана, пропиленкарбоната. В тех случаях, когда абсорбенты вступают в химические реакции с очищаемым газом, например, при очистке природных газов от сероводорода, диоксида углерода, диоксида серы с помощью водных растворов слабых оснований - аммиака, анилина, ксилидина, происходит процесс так называемой химической абсорбции.
Для поглощения загрязняющих веществ из промышленных выбросов применяется разнообразное абсорбционное оборудование: безнасадочные распылительные абсорбенты, абсорбционные колонны с насадкой, пенные абсорбенты, абсорбенты с плавающей насадкой.
В качестве насадок чаще всего используются кольца Рашига, башни с колпачковыми тарелками. В некоторых случаях в качестве абсорбента применяются определенного типа скрубберы, например, мокрые центробежные.
Адсорбция это диффузный процесс, в котором повышенная концентрация отделяемого газообразного и жидкого вещества образуется на границе раздела фаз в результате связывания этих веществ на поверхности твердого или жидкого соединения. Если между молекулами адсорбированного вещества и адсорбента не происходит никаких химических реакций, то подобный процесс относится к физической адсорбции, в отличие от хемосорбции, когда происходит перенос или объединение электронов адсорбента и адсорбата, как у химических соединений.
При физической адсорбции адсорбированное вещество можно полностью удалить при обратном процессе (десорбции), например, понизив давление или увеличив температуру. Адсорбент можно применять повторно в циклическом процессе, а отделенное вещество подвергается дальнейшей обработке или используется непосредственно по назначению. Поэтому процесс физической адсорбции, как правило, включает в себя три последовательных этапа: контактирование газа с адсорбентом, десорбцию и улавливание после регенерации. Метод физической адсорбции находит применение прежде всего там, где в процессе производственного цикла теряются с выбросами ценные продукты, например, растворители. Чаще всего в качестве адсорбентов применяются активированный уголь, силикагель, глинозем, бентонит, окись алюминия и др.
Хемосорбированное вещество вернуть в газовую форму ни повышением температуры, ни снижением давления невозможно, процесс необратим. Поскольку процессы хемосорбции идут только в тонких поверхностных слоях адсорбента, то для повышения эффективности процесса активную поверхность хемосорбента увеличивают за счет нанесения его тонкими слоями на поверхности инертного тонкодисперсного носителя.
Адсорбционное оборудование может быть весьма разнообразным в зависимости от условий эксплуатации. В простейшем случае адсорбер выполняется в виде цилиндра с сеткой на дне. На сетку насыпается слой адсорбента, через который прогоняется очищаемый газ. По мере эксплуатации адсорбера происходит постепенное послойное насыщение адсорбента с полной потерей адсорбционной способности при насыщении всего слоя, т.е. необходима замена адсорбента на свежий. Эффективность адсорбционного метода очистки может достигать 100%.
Адсорбционный метод позволяет извлекать вредные компоненты из промышленных выбросов с помощью адсорбентов твердых тел с ультрамикропористой структурой (активированный уголь и глинозем, силикагель, цеолиты, сланцевая зола и другие вещества). Например, на АЭС широко применяется метод очистки технологических газов путем сорбции радиоактивных продуктов на угольных фильтрах адсорбентах, которые позволяют надежно предотвратить загрязнение атмосферы при всех режимах работы АЭС ("Защита окружающей среды..., 1993).
Иногда загрязняющие вещества промышленных выбросов можно трансформировать с переводом в безвредное состояние с помощью реакций окисления или восстановления. Обычно при нормальных условиях реакции окисления или восстановления идут очень медленно. Поэтому для ускорения процессов либо повышаются давление или температура, либо используются процессы катализа. При этом получаемые продукты являются либо конечными, либо промежуточными и пригодными для дальнейшей переработки или становятся почти полностью удаляемыми с помощью других известных методов. В частности, с помощью катализатора диоксид серы превращают в триоксид, который удаляется затем в процессе адсорбции.
В принципе каталитическое окисление (сжигание) экономически оправдывает себя при необходимости очистки смесей, когда они либо не горючи, либо процесс горения возможен при предварительном нагреве смеси до высокой температуры (до 800°С). Применение катализаторов обеспечивает быстрое и практическое полное протекание химических процессов при низких температурах. Например, полнота прохождения химических реакций с использованием современных катализаторов достигает 90% при температуре ЗООС и 99% - при 350-400'С.
Каталитические методы очистки промышленных отходящих газов применяются в производстве акрилатов, лаков, красок, синтетического каучука и др. В последние годы во всем мире ведутся работы по созданию устройств на основе применения катализаторов для нейтрализации и дожигания выхлопных газов автомобилей. Каталитическое дожигание также может быть полезно при удалении запахов некоторых органических соединений в промышленных выбросах.
Катализаторы представляют собой либо металлы, либо соединения, нанесенные на инертную подложку. Чаще всего применяются платина, палладий или другие металлы платиновой группы, а также железо, никель, ванадий, медь, молибден и их сплавы.
Оборудование для каталитического окисления также достаточно разнообразно, тем не менее включая в себя три основных узла: камеру сгорания, она же смеситель, реактор, где происходят химические реакции, и теплообменник для отвода выделяемого тепла.
Рассеивание газовых примесей в атмосфере используют для снижения опасных концентраций примесей до уровня соответствующего ПДК. Как показывает опыт, в приземном слое атмосферы вблизи крупных энергетических установок (ТЭЦ, ТЭС, ГРЭС) и других предприятий концентрация вредных веществ в отходящих газах может превышать предельно допустимые нормы, несмотря на все применяемые меры по очистке газов и экологизацию технологических процессов.
Рассеивание пылегазовых выбросов осуществляют с помощью высоких дымовых труб. Чем выше труба, тем больше ее рассеивающий эффект. На ряде предприятий высота дымовых труб достигает более 300 м. Так, на медно-никелевом комбинате в г. Садбери (Канада) высота трубы 407 м. Значительную высоту (не менее 100 м) имеют вентиляционные (выбросные) трубы на АЭС для рассеивания радиоактивных выбросов. Следует признать, что рассеивание газовых примесей в атмосфере это далеко не самое лучшее решение проблемы, связанной с загрязнением воздушного бассейна. По мнению А. Гора (1993), "применение высоких дымовых труб, хотя и помогло уменьшить локальное дымовое загрязнение, осложнило в то же время региональные проблемы выпадения кислотных дождей. Чем выше от поверхности земли происходит выброс загрязняющих газов, тем дальше от своего источника они распространяются. То, что было когда-то дымной мглой над Питтсбургом, становилось кислотным снегопадом в Лабрадоре. Примеси, досаждающие лондонцам в виде смога, губят листву в лесах Скандинавии". Рассеивание вредных веществ в атмосфере это временное, вынужденное мероприятие, которое осуществляется вследствие того, что существующие очистные устройства не обеспечивают полной очистки выбросов от вредных веществ.
Защита атмосферы