Обеспечение заземления в вычислительной техники
Обеспечение заземления в вычислительной техники.

Практически каждый блок питания компьютера или иного устройства имеет сетевой фильтр (рис. 1). Конденсаторы этого фильтра предназначены для шунтирования высокочастотных помех питающей сети на землю через провод защитного заземления и соответствующую трехполюсную вилку и розетку. «Земляной» провод полагается соединять с контуром заземления (закопанным в землю и обеспечивающим хороший контакт с грунтом), но допустимо его соединять и с «нулем» силовой сети (теоретически, с точки зрения помех это хуже, но разница практически ощущается только в особо тяжелых условиях эксплуатации). При занулении необходимо быть уверенным в том, что этот «нуль» не станет фазой, если кто-либо перевернет какую-нибудь вилку питания. Если же «земляной» провод трехполюсной вилки компьютера никуда не подключать, то на корпусе устройства появится напряжение порядка 110 вольт переменного тока. Откуда оно берется понятно из рис. 2: конденсаторы фильтра работают как емкостной делитель напряжения, поскольку их емкость одинакова, 220 В сети делится пополам.

Рис. 1. Входные цепи блока питания компьютера
Рис. 2. Образование потенциала на корпусе компьютера
Конечно, мощность этого «источника» ограничена ток короткого замыкания на землю составляет от единиц до десятков миллиампер, причем чем мощнее блок питания, тем обычно больше емкость конденсаторов фильтра и, следовательно, ток:
Iкз=Uпит*2F/С,
где Uпит =220 В, F=50 Гц частота питающей сети, С емкость конденсатора фильтра. При емкости конденсатора С=0,01 мкФ этот ток будет около 7 мА. Во-первых, это напряжение (и такой ток) опасно для человека, а попасть под него можно, прикоснувшись одновременно к неокрашенным металлическим частям корпуса компьютера и, например, к батарее отопления. Во-вторых, это напряжение и является одним из источников той самой разности потенциалов между устройствами, от которой страдают интерфейсные схемы.

Рис. 3. Правильное подключение периферийного устройства
При соединении двух устройств (например, компьютера и принтера) интерфейсным кабелем происходит следующее. Общий провод интерфейсов последовательных и параллельных портов связан со «схемной землей» и корпусом устройства. Если соединяемые устройства надежно заземлены (занулены) через отдельный провод на общий контур (рис. 3), то проблемы разности потенциалов не возникает.

Рис. 4. Появление разности потенциалов при двухпроводном кабеле питания
Однако если в качестве заземляющего провода использовать нулевой провод питания при разводке питающей сети с трехполюсными розетками двухпроводным кабелем (этим часто грешат как по незнанию, так и в целях экономии), то на нем будет набегать разность потенциалов, вызванная падением напряжения от протекающего силового тока Inul (рис.4). А если в эти же розетки включать и электронагревательные приборы (также лазерные принтеры или мощные копировальные аппараты), то разность потенциалов (и импульсные помехи при включении-выключении питания) будет ощутимой. При этом эквивалентный источник напряжения при относительно невысокой Э.Д.С. Enul (единицы вольт) будет иметь очень низкое выходное сопротивление, равное сопротивлению участка нулевого провода (доли Ом). Уравнивающий ток через общий провод интерфейса Iint можно оценить по формуле Iint =Enul / (Rnul + Rint);
где Enul = Iint x Rnul; lnul = P/220,
Rnul сопротивление нулевого провода (и соединительных контактов розеток),
Rint сопротивление общего провода интерфейса,
Р мощность, потребляемая устройствами, расположенными на рис.4 справа (Р=Р2+РЗ).
Поскольку обычно сопротивление интерфейсного кабеля все-таки выше, чем питающего, через общий провод интерфейса потечет ток, существенно меньший, чем силовой. Но при нарушении контакта в нулевом проводе питания через интерфейсный провод может протекать и весь ток, потребляемый устройством. Он может достигать и единиц ампер (правда, замерить его может оказаться не просто тонкий интерфейсный провод успеет сгореть), но дальнейший ход событий может иметь достаточно ощутимые материальные последствия. Невыровненные потенциалы корпусов устройств являются и источником помех в интерфейсах.
Если оба соединяемых устройства не заземлены, то в случае их питания от одной фазы сети разность потенциалов между ними будет относительно небольшой (вызванной только разбросом емкостей конденсаторов в разных фильтрах). Уравнивающий ток через общий провод интерфейса будет совсем малым, и, следовательно, разность потенциалов между схемными землями устройств (падение напряжения на этом проводе) будет тоже малой. Но остается «во-первых» безопасность человека. А если незаземленные устройства подключены к разным фазам, то эта разность потенциалов между их несоединенными корпусами будет порядка 190 В, при этом уравнивающий ток через интерфейс может достигать десятка миллиампер. Когда все соединения (и разъединения) выполняются при отключенном питании, для интерфейсных схем такая ситуация почти безопасна. Но при коммутациях при включенном питании возможны крупные неприятности: если контакты общего провода интерфейса соединяются позже (или разъединяются раньше) сигнальных, то разность потенциалов между схемными землями (корпусами устройств) прикладывается к сигнальным цепям, и они, как правило, выгорают. Самый тяжелый случай для интерфейсных схем соединение заземленного устройства с незаземленным (рис.5), особенно когда у последнего мощный блок питания. После подобного подключения могут выйти из строя блок питания , а также большинство элементов системного блока..
Для устройств, у которых блоки питания имеют шнуры с двухполюсной вилкой, эти проблемы тоже могут быть актуальны. Такие блоки питания зачастую тоже имеют сетевой фильтр, но, как правило, на базе конденсатора малой емкости (ток короткого замыкания достаточно мал).
Весьма коварны сетевые шнуры компьютеров с двухполюсной вилкой, которыми подключаются блоки питания с трехполюсным разъемом. Доверчивые пользователи, смело подключающие свои ПК в бытовые розетки (без проблем толщиной штырьков вилки), могут столкнуться со всем «букетом» проблем незаземленного компьютера, который заземлять (или хотя бы занулять) необходимо.

Рис. 5. Подключение незаземленного устройства
Локально проблемы заземления решает применение сетевых фильтров типа «Pilot» и им подобных. Питание от одного такого фильтра (или их цепочки связанной трехполюсными вилками и розетками) всех устройств, соединяем интерфейсами, решает проблему разности потенциалов. Если этот фильтр включить в трехполюсную розетку с заземлением (занулением), то решается проблема по ТБ. Но не все так просто заземляющие контакты (обжимающие «усики» многих розеток могут не обеспечивать надежного контакта вследствие слабой упругости или заусениц в пластмассовом кожухе. Кроме того, эти контакты не любят частого вынимания и вставки вилок, так что обесточивание оборудования по окончании работы лучше выполнять выключателем питания фильтра или общим настенным автоматом.
Ради сохранности техники рекомендуется отключать питание при подключении и отключении интерфейсных кабелей. Например, даже небольшая разность потенциалов, которая практически исчезнет при соединении устройств общими проводами интерфейсов, может пробить входные (и выходные) цепи сигнальных линий, если в момент присоединения разъема контакты общего провода соединятся позже сигнальных. А от такой последовательности обычные разъемы не страхуют.
К помехам, вызванным разностью потенциалов схемных «земель» (корпусов) устройств, наиболее чувствительны параллельные порты. Последовательные порты имеют большее значение зоны нечувствительности (пороги ±3 В), еще меньшую чувствительность имеют интерфейсы локальных сетей, где обычно имеется гальваническая развязка сигнальных цепей от схемной земли с допустимым напряжением изоляции порядка 100 В.
Электропитание и заземление оборудования в локальных сетях.
В локальных сетях проблемы разводки электропитания и заземления стоят особенно остро, поскольку здесь, как правило, имеется большое количество устройств (компьютеров и коммуникационного оборудования), соединенных между собой интерфейсными кабелями и значительно разнесенных в пространстве.
Каждое сетевое устройство компьютер, принтер, повторитель, хаб и т. д. питается от электросети и обычно имеет сетевой фильтр с конденсаторами, пропускающими высокочастотные помехи на его корпус, обычно связанный со схемной «землей» (см. рис.1).
По правилам техники безопасности корпус должен заземляться или зануляться, и, как было сказано выше, несоблюдение этого правила приводит к появлению на корпусе включенного устройства переменного напряжения около 110 В и разности потенциалов между корпусами различных устройств. Если два незаземленных устройства соединяются интерфейсом, не обеспечивающим гальванической развязки (например, через ) СОМ- или LPT-порты), то через общий провод интерфейсного кабеля потечет уравнивающий ток (переменный с высокочастотными составляющими), приводящий к помехам. В случае неконтакта в общем проводе разность потенциалов между корпусами будет приложена к сигнальным цепям интерфейса, что, как правило, приводит к выгоранию микросхем адаптеров и даже всего устройства.
При заземленных корпусах устройств, сильно разнесенных территориально, между их корпусами будет разность потенциалов, обусловленная падением, напряжения на заземляющих проводах. Эта разность будет особенно ощутимой, если разводка питания и заземления выполнена двухпроводным кабелем (см. рис.4). В ряде случаев практикуется прокладка отдельного кабеля или шины для цепи заземления. Однако разводка заземления отдельным кабелем не всегда удобна и часто неэффективна с точки зрения защиты от помех, поскольку при этом могут образовываться замкнутые контуры с широким охватываемым пространством своеобразные антенны. Так что и с точки зрения борьбы с помехами разводку питания к устройствам целесообразно выполнять 3-х проводным кабелем, один из проводов которого используется для защитного заземления. При этом древовидная схема заземления получается естественным образом (рис.6), защитный провод в корневой части этого дерева заземляют или зануляют (с гарантией того, что этот нуль не станет фазой). Все устройства, электрически соединяемые между собой, желательно питать от одной фазы сети, хотя с точки зрения энергетиков это требование часто трудно выполнимо (все фазы должны быть равномерно нагружены).
Дополнительные проблемы при разводке электропитания для компьютеров обусловлены ярко выраженной динамической нелинейностью входной цепи бестрансформаторных блоков питания. Традиционные электросети рассчитаны на более или менее линейную нагрузку, у которой в спектре те основная мощность приходится на 1-ю гармонику.

Рис 6. Разводка питания и заземления
В трехфазной сети с равномерно распределенной по фазам линейной нагрузке в идеале через нейтральный провод ток практически не течет, поскольку токи от нагрузок всех трех фаз компенсируют друг друга. Учитывая это свойство, в большинстве четырехпроводных кабелей сечение проводника для нейтрали существенно меньше, чем сечение фазных проводников. При нелинейной симметричной нагрузке фаз при большом уровне 3-й гармоники тока (что характерно для бестрансформаторных блоков питания) взаимной компенсации токов не происходит, и действующее значение тока в нулевом проводе оказывается даже больше, чем в каждом из фазных. Таким образом, при подключении большого числа компьютеров к традиционной 4-проводной трехфазной проводке происходит перегрузка нулевого провода. Эта перегрузка приводит к следствиям разной степени тяжести от «набегания» помехи переменного тока на нулевом проводе до перегорания нулевого провода, который никогда не защищают от перегрузки - все автоматы защиты ставятся только в фазных проводах. Во избежание перегрузки нулевого провода и в случае питания от трехфазной сети силовую разводку к розеткам от распределительного щита следует опять-таки вести трехпроводным кабелем. Перегрузки нулевого провода подводящего силового кабеля можно избежать установив в распределительном щите развязывающий трехфазный трансформатор 380/220 В. К этому трансформатору входное напряжение подводится по схеме «треугольника», а выходные обмотки соединяют по схеме «звезда».
Все адаптеры локальных сетей (Ethernet, ARCNet и пр.), использующих в качестве среды передачи электрический кабель, имеют гальваническую развязку выходного разъема от схемной земли, обеспечивающую их нечувствительность к разности потенциалов между схемными землями устройств в пределах гарантированного напряжения изоляции. Для интерфейсов с внутренними трансиверами (ARCNet, Ethernet тонкий и на витой паре) типовое напряжение изоляции 100 В, что подразумевает НЕОБХОДИМОСТЬ ЗАЗЕМЛЕНИЯ аппаратуры. При использовании внешнего трансивера Ethernet с гарантированным напряжением изоляции 5 кВ острота проблемы снимается, хотя требования заземления остаются в силе.
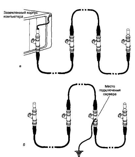
Каждый сегмент коаксиального кабеля локальной сети должен заземляться только в одной точке. Для этого предусмотрены специальные терминаторы с заземляющим проводником (рис.7). Типовое требование заземления одного из терминаторов не всегда разумно, поскольку изменение топологии может приводить к блужданию этого окончания сегмента, а заземление через корпус компьютера штатным коротким «хвостиком» нарушит заземление сегмента при необходимости отключения шнура питания компьютера от сети. Разумный вариант заземление сегмента около главного сервера или другого ответственного и неподвижного узла сети с помощью хомута, надетого на Т-коннектор. Следует помнить, что Т-коннектор, присоединенный к разъему сетевого адаптера, не должен соприкасаться с другими разъемами, в противном случае возможны помехи в сети. Проблема изоляции разъемов не возникает при использовании внешних трансиверов, подключенных через кабель-спуск.

Рис 7. Заземление коаксиального кабеля локальной сети: а «штатное», б «разумное»
В случае необходимости связи компьютеров в тяжелых условиях питания (высоковольтная аппаратура, импульсные помехи, перепады земляного потенциала, например на электростанциях и подстанциях) идеальное решение применение оптоволоконного кабеля.
Неэкранированная витая пара (UTP) не предусматривает заземления каких либо проводов. Пластмассовые разъемы RJ-45 обеспечивают недоступность токоведущих частей (в отличие от BNC-разъемов коаксиала).
Современные хабы часто выпускаются в малогабаритном пластмассовом исполнении с внешним источником питания, включаемым в обычную двухполюсную розетку. Заземление таких хабов не предусматривается, но при этом подразумевается, что все подключенные к нему узлы ЗАЗЕМЛЕНЫ. При незаземленных устройствах между портами хаба может появиться напряжение порядка 100-180 В, что вполне может вывести хаб и адаптеры из строя. Профессиональные хабы имеют нормальный трехполюсный разъем питания с заземляющим контактом. Такой хаб, будучи заземленным, является барьером на пути выгорания интерфейсов высокий потенциал на линиях одного порта скорее всего выведет из строя только этот порт, а далее разрушение не распространится.
5
Обеспечение заземления в вычислительной техники