Проектирование разведочной скважины на участке Мазар месторождения Чадак
МИНИСТЕРСТВО ВЫСШЕГО И СРЕДНЕГО
СПЕЦИАЛЬНОГО ОБРАЗОВАНИЯ
РЕСПУБЛИКИ УЗБЕКИСТАН
ТАШКЕНТСКИЙ ГОСУДАРСТВЕННЫЙ ТЕХНИЧЕСКИЙ УНИВЕРСИТЕТ
имени Абу Райхона Беруний.
ФАКУЛЬТЕТ ГЕОЛОГИИ И ГОРНОГО ДЕЛА
КАФЕДРА: «ГЕОЛОГИЯ ПОЛЕЗНЫХ ИСКОПАЕМЫХ И РАЗВЕДОЧНЫЕ РАБОТЫ»
Выпускная квалификационная
работа
На тему: «Проектирование разведочной скважины на участке Мазар месторождения Чадак»
Выполнил Воронов А. С
Научный руководитель доцент Л. А Думаревский
Ташкент 2010
Оглавление
Введение. Роль и значение минерально - сырьевой базы и разведуемого полезного ископаемого в экономике Республики Узбекистан ………..
1. Общая часть………………………………………………………………....
1.1 Краткая географоэкономическая характеристика района объекта
разведки……………………………………………………………………...
1.2 Оценка геолого-технических условий бурения, на объекте разведки……
1.3 Характеристика горных парод объекта разведки………………………….
1.4 Физико-механические свойства горных парод и их влияние на процесс
бурения……………………………………………………………………….
2. Техника и технология бурения разведочной скважины…………………….
2.1 Выбор способа и вида бурении разведочной скважины, виды
промывочной жидкости и схемы промывки скважины……………………
2.2 Проектирование конструкции скважины…………………………………..
2.3 Выбор бурового оборудования и инструментов…………………………..
2.4 Разработка режимов бурения……………………………………………….
2.5 Порядок работы с буровым снарядом………………………………………
2.6 Мероприятия по предупреждению аварий и осложнений в скважине…..
2.7 Мероприятия по качественному опробованию горных парод полезного
ископаемого…………………………………………………………………..
3. Расчетная часть…………………………………………………………………
3.1 Расчет прогнозной механической скорости бурения……………………….
3.2Расчет затрат мощности на бурение скважины……………………………...
3.3 Расчет потребного количества промывочной жидкости и её
компонентов……………………………………………………………………
3.4 Теоретический расчет параметров режима бурения………………………...
4. Специальный вопрос…………………………………………………………….
4.1 Специальный вопрос…………………………………………………………...
5. Безопасность жизнедеятельности на буровых работах……………………….
6. Экологическая безопасность на скважине……………………………………..
7.Стоимость бурения разведочной скважины……………………………………
8. Заключения……………………………………………………………………….
9. Список литературы………………………………………………………………
Введение.
Роль и значение минерально - сырьевой базы и разведуемого полезного ископаемого в экономике Республики Узбекистан.
Республика Узбекистан обладает большим комплексом рудных полезных ископаемых, включающим различные виды металлов, широко используемых во всех отраслях народного хозяйства. Установлены многочисленные месторождения и перспективные рудопроявления благородных, цветных, редких, радиоактивных и черных металлов, открытых и разведанных в основном в ХХ веке, хотя отдельные их проявления известны уже более трех тысяч лет.
За годы независимости республики, геологическая служба превратилась в одну из базовых отраслей народного хозяйства. Сегодня в Узбекистане разведано более 100 рудных месторождений, включающих свыше 30 видов минерального сырья: 51 месторождение благородных, 41 цветных, редких и радиоактивных металлов, 4 черных металлов, 7 месторождений плавикового шпата. Это объясняется не только широким разнообразием геологического строения и благоприятных рудоносных структур, но и высокой изученностью его территории. По степени изученности геологического строения территории Узбекистан занимает одно из ведущих мест. Все это достигнуто благодаря упорному труду многих поколений геологов. Наличие устойчивой минерально-сырьевой базы особенно важно именно сейчас, когда республика самостоятельно строит свою рыночную экономику.
Республика находится в первой пятерке стран мира по подтвержденным запасам золота и урана, в первой десятке по добыче золота, урана и меди, а по общему потенциалу запасов и прогнозных ресурсов золота занимает второе место в мире. В СНГ Узбекистан занимает второе место по запасам и добыче золота, третье серебра и меди.
Знаменательными вехами в истории геологоразведочных работ Узбекистана явились открытие уникального, крупнейшего в Евразии месторождения золота штокверкового типа (Мурунтау), разведка широко известных медно-порфировых объектов (Кальмакыр, Сарычеку, Дальнее), находки крупного месторождения редких щелочных металлов (литий, рубидий, цезий) нового генетического типа (Шавазсай), вольфрама (Лянгар, Ингичке, Саутбай), создание мощных минерально-сырьевых баз золота, меди, вольфрама, свинца, цинка, серебра и редких элементов в Кызылкумах и Приташкентском районе и др.
На базе разведанных запасов золота, меди, серебра, свинца, цинка, вольфрама, молибдена, плавикового шпата действуют многочисленные шахты, рудники и карьеры, и такие крупные предприятия, как Алмалыкский и Навоийский горно-металлургические комбинаты.
ЗОЛОТО.
ЗОЛОТОАи. Золото является одним из металлов, известных человеку с древнейших времен. Среди минералов рассматриваемой группы оно пользуется наибольшим распространением в природе.
Химический состав. В химически чистом виде золото встречается исключительно редко. Так называемое самородное золото в подавляющем большинстве случаев содержит в виде изоморфной примеси серебро (обычно от 4 до 15% по весу). Встречаются разности и более богатые серебром, которые относятся к самостоятельному минеральному виду.
К числу разновидностей золота относятся следующие: медистое золото (купроаурид) с содержанием Си до 20% (по весу); порпецит палладистое золото с содержанием Pd от 5 до 11% и Ag до 4%; висмутистое золото (бисмутоаурит) с содержанием Bi в твердом растворе до 4%.
Цвет самородного золота золотисто-желтый (у богатых серебром разностей бледно-желтый). Черта металлическая, желтая. Блеск типичный металлический.
Твердость 2,53,0. Ковко и тягуче. Легко расплющивается в тончайшие листочки. Спайность отсутствует. Уд. вес 15,618,3 (для чистого золота 19,30). Прочие свойства. Обладает высокой тепло- и электропроводностью.
Диагностические признаки. Характерны: золотисто-желтый цвет, низкая твердость (легко режется ножом), большая ковкость, высокий удельный вес и не окисляемость на воздухе. От похожих на него пирита, халькопирита CuFeS2 и миллерита NiS отличается по сильному блеску и характерному оттенку цвета.
П. п. тр. плавится. Не растворяется в кислотах, кроме царской водки; растворяется в KCN и реагентах, выделяющих свободный хлор и бром. Горячие многосернистые щелочи растворяют золото, образуя сернистые соединения.
Происхождение и месторождения. Наибольшая масса золота распространена в типичных гидротермальных месторождениях, генетически связанных с интрузивами кислых изверженных пород. Парагенетический оно чаще всего связано с кварцем и сульфидами (пиритом, арсенопиритом, блеклыми рудами, халькопиритом, реже с галенитом, сфалеритом), иногда с теллуридами золота и серебра и др. Весьма характерно, что так называемое видимое золото, как правило, выделяется в числе самых последних минералов, нередко приурочиваясь к трещинкам в ранее образовавшихся минералах. Кроме видимого, различают также «связанное» золото, открываемое в существенных количествах химическими анализами в сульфидах, главным образом в пирите и арсёнопирите (FeAsS), лишь частично наблюдаемое под микроскопом. Очевидно, часть его находится в рассеянном тонкодисперсном состоянии подобно тому, как в кристаллозолях распределена дисперсная фаза.
Как новообразование самородное золото встречается в зонах окисления сульфидных месторождений в ассоциации с лимонитом, азуритом, свинцовыми, висмутовыми, сурьмяными охрами и др. Установлено также, что серебро, содержащееся в золоте, в условиях поверхностного выветривания частично выносится, и вследствие этого золото по периферии и вдоль трещинок становится более высокопробным. Точно так же давно было подмечено, что золото, намываемое из россыпей, содержит меньше серебра, чем золото из коренных месторождений.
Практическое значение. Как известно, золото является основным валютным и денежным металлом. Расходуется также на украшения, предметы роскоши, физические и химические приборы, в зубоврачебном деле и для других целей.
Минимальное промышленное содержание золота в коренных рудах колеблется в пределах от 1 до 10 г/т, т. е. от 0,0001 до 0,001% (в зависимости от масштабов месторождений и экономических условий освоения).
Вывод:
Будущее нашего народа прежде всего зависит от него самого, от духовной энергией, национального сознания, стремление к материальному благополучию не давшею заслонить необходимость духовного и интеллектуального роста нации. Духовность и просвещенность всегда были самыми сильными отличительными чертами нашего народа на всем протяжений его многовековой истории. Именно в наших традиционных ценностях с ценностями с ценностями современного демократического общества залог нашего будущего процветания.
Мировой опыт, а в последние годы и накопленный собственный опыт , со всей уверенностью свидетельствует, что важнейшим условием спешного осуществлением полномасштабных преобразований в экономической, образовательной, политической, духовной регулирования общественных отношений признания и активного международного сотрудничество является обеспечение в стране общественно политической стабильности, гражданского мира межнационального согласия.
1. Общая часть
1.1 Краткая географо экономическая характеристика района объекта разведки.
Чадакский рудный район в пределах Юго-восточный склона Кураминскогохребта. В административном отношении к територи и хребта. В административным отношении эта площадь относится к территории Панского района Наманганской области. Участок мазар расположен на севере от Чадакского ГОКа и связан с ним асфальтовой и грунтовой автодорогами. От базы Чадакской ГРП участок расположен в 4.5 км к северу- западу.
Рельеф описуемого участка довольно расчленен. Абсолютные отметки высот колеблются от 1400 до 1520 м, относительно превышения водоразделов саев от 20 до 60-80м.
Основной водной артерий района являться горная река Чадак с ее притоками Кокенсай, Урюклисай, Койдаксай и др. Питание происходит за счет таяния снега, атмосферных осадков и родников. Вода чистая, бес примесей вредных солей и пригодна для бытовых и технических нужд. Притоки, как и сама р.Чадак характеризуется редкими изменениями дебитов бурные во время снеготаянья, сезона дождей и пересыхающие или редко снижающие свой дебит в летнее время. Большая часть водопротоков являются сезонными и совершено пересыхающими в июне-июле месяцах Редкие родники, имеются на площади проектируемых работ, такие совершено пересыхают в жаркое время.
Климат района резко континентальный, характеризуется жарким засушливым летом с перепадами температуры до +38.420 и относительно холодной зимой наблюдаемой в декабре январе 18 …-200.Наибольшее количество осадков приходится на осеннее, зимнее и висение времена года (70-80%)
Средне годовое количество осадков колеблется от 260 до 450 мм. Толщина снежного покрова достигает не более 20-30 см. Растительный и животный мир района довольно беден. Склоны долин часто скалистые с весьма бедным растительным покровом в виде редкого кустарника, шиповника, горная вишня, миндаля. Древесная растительность представлена тополями, боярышником и фруктовыми деревьями, растущими главным образом около населенных пунктов пойменных террасах ручьев
Коренное население в основном таджики, узбеки занято в горной промышленности и сельском хозяйстве. Труда обеспечивающими предприятиями являются рудник Чадак и золото извлекательная фабрика. Источником рабочей силы этих предприятий являются поселки Чадак и Мазар (Тулистан).
Энергоснабжение объекта осуществляется от гос. сети.
Таким образом, проведение буровых работ на Чадакском рудном поле возможно круглый год. Буровые работы обеспечены электроэнергии, водой, местным материалом, рабочий силой.
Участок мазар расположен на северном фланге Чадакского рудного поля, 6 км от Чадакской ЗИФ, где занимает площадь около 0.6 кв.км.
Граница участка условные. С юга он граничит с участком Ботамсай. Участок охватывает северо-западные окончание протяжностью (около 5 км), Акбулак - Музарской рудоносной зоны. В пределах этой зоны с юга на север расположена участки с золотым орудинением. Акбулак, Северный Гузаксай, Музар причем на первых двух подсчитаны разведочные запасы по промышленным категориям
По сравнению с другими участками рудного поля площадь участка Мазар довольно диагональной задорностью. Выходы коренных парод, как правило, подвергнуты сильному гидротермальному изменению. Это в какой-то степени затрудняет диагностику вмещающих парод. Геологическое строение площади участка крайне сложное, поэтому увязка геологических образований на проектных планах, разрезах масштаба 1:1000 не однозначная.
Итак, геологическая характеристика участка Мазар такова, что проведение геологоразведочных работ невозможно без бурения разведочных скважин.
1.2 Оценка геолого-технических условий бурения, на объекте разведки.
В 1978 1979 гг. Чадакской ГРП Восточно Кураминской ГРЭ на участке мазар выполнялись поисково-оценочные работы по установлению золотоносности рудных зон, бурение скважин с поверхности глубиной до 200-250м. Было пробурено 18 скважин общим объемом 3215.3м в 5-ти профилях расположенных, в основном, через 100-200м. По данным буровых работ установлены крутые вертикальные углы падения кварцевых жил зон окварцивания, преимущественно на северо-восток. По падению кварцевые жилы были прослежены на 250м от поверхности. При этом установлено зоны гидротермальное изменах парод характеризуются более повышенными концентрациями золота по сравнению с кварцевыми жилами. Из пробуренных 18 скважин, только в 3-х были выявлены кондиционные рудопроявления, по которым содержание золота составляет от 3.1 до 3.4 г\т, серебра от 7.3 до 106.8 г\т на мощность от 1.0 до 7.2м. Кроме того, и скважины по аварийным причинам не выполнили целевого назначения.
По результатам выполненных работ участку Мазар до глубины 250-300м дана отрицательная оценка.
Следует отметить, что в пробуренных в этот период скважинах, выход керна составляет менее 50% и по большинству проб колеблется в пределах 15-30%. Имеются интервалы длиной 1-3 метра, по которым не поднят керн. Выявлены многочисленные случаи опробования кварцитов, окварцованных пород, имеющих стволовую мощность от 12.5 до 18.8м геохимическими пробами, с шагом отбора проб 1.5 6.0м, что неравноценно керновому опробованию. Некоторые керновые пробы с содержанием золота 0.4 - 3.0 г\т по данным золото спектрального анализа, остались не проанализированы пробирным анализом.
Таким образом, качество ранее выполненного колонкового бурения следует признать неудовлетворительным, а поисковое оценочные работы считать не завершенными.
Буровое оборудование и инструменты, применяемые при бурении скважины для алмазного вращательного бурения разведочной скважины используется буровая установка УКБ 200\300С передвижного типа.
Техническая характеристика буровой
Условные обозначения УКБ-200\300С
Глубина бурения коронками, мм
Твердосплавными -200
Алмазными -300
Диаметр коронок, мм
Начальный -132
Конечный
Твердосплавными -93
Алмазными -59
Угол наклона вращателя к горизонтали
Горизонтали, градус -70-90
Диаметр бурильных труб (основной), мм -50
Частот вращения шпинделя станка
обмин -100,200,365
655,1020,1500
Максимальное усилие подачи, Кн
вниз -30
вверх -40
Ход шпинделя, мм -500
Затяжной патрон - пружинно - гидравлический
Грузоподъемность на крюке, т
номинальная -2.0
максимальная -3.2
диаметр каната, мм -15
длина свечи, м -6.2
Скорость подъема бурового снаряда, м\с
Минимальная -0.39
Максимальная 6.00
Труборазворот
Тип -РТ-300
Привод -гидравлический
Максимальный крутящий момент, н-м -2200
Диаметр проходного отверстия, мм -140
Буровой насос -НБ3 120\40
Привод установки
Тип - электрический
Мощность приводного электродвигателя, Квч -15
Транспортная база -сани
Высота мачты, м 12.7
Порода разрушающие инструменты применяемые при бурении разведочной скважины:
- твердосплавная коронка типа СА4 для бурения осадочных и вулканогенных пород диаметр бурения 112мм
- однослойная алмазная коронка 01А3 для бурения монолитных и слаботрещеноватых парод VIII-IX категории по бурению.
3) для бурения в рудной зоне алмазная однослойная коронка типа 18А3.
Набор технологического инструмента для колонкового бурения из коронки, кернорвательное устройство, колонковый трубы, переходника бурильной колоны с ведущей трубой и буровым сальником-вертлюгом на верхнем конце
Кернорватели при бурении алмазными и твердосплавными коронками между коронкой и колонковой трубой включили кернарватель. Он состоит из полого цилиндрического корпуса с внутренний конической расточкой, расширяющейся кверху. В которой помещается рвательная пружина представляющая собой разрезанное по образующей коническое кольцо с внутренними выступами. Во время бурения пружина кернорвателя не препятствует вхождения керна в колонковую трубу. При подъеме снаряда пружина вследствие трении о керн входит в суженую часть конической расточки корпуса, крепко сжимает керн и срывает его.
Переходники служат для соединения колонковых труб с колонной бурильных труб.
Вертлюг сальник, прикреплен для подвески бурильных труб к талевому канату и подвода промывочной жидкости во вращающиеся бурильные трубы, а для подъема колонны труб из скважины ведущий трубы. Он крепиться к ведущей бурильной трубе станка.
Колонка бурильных труб служит для соединения породаразрушающего инструмента, работающего на забое, с буровой установкой смонтированной на поверхности.
Для высокооборотистого бурения скважин алмазными и твердосплавными коронками диаметром 59 мм применяются трубы
ЛБТН-54 из алюминиевого сплава Д16Т. Ниппельное соединения труб изготовлено из стали 40ХН.
Вспомогательный инструмент для бурового инструмента отнесется ключи, подкладные валики, хомуты, турбодержатели. Для свинчивания и развенчивания бурильных, колонковых и осадных труб, переходников и коронок существует несколько конструкций шарнирных ключей. С помощью шарнирных ключей проводят сборку и разборку снарядов.
Шарнирные ключи для обсадных (колонковых) труб принципиально отличается от шарнирных ключей для бурильных труб и состоит из трех скоб и рукояти, двух съемных сухарей.
Ключи колонковые типа КК предназначена для навинчивания и развенчивания твердых и алмазных коронок, колонковых труб и других деталей колонковых наборов.
Ключи гладко захватные типа КТ предназначены для сборки и разборки колонковых труб при алмазном бурении.
Ключи типа КБ по ТУ 41-01-005-85 предназначены для твердосплавных и алмазных коронок, корпусов кернорвателей, переходников, колонковых обсадных и бурильных труб.
Инструмент для ликвидации аварии, предусмотренный для захвата и увлечения оставленных в скважине частей бурового снаряда, обсадных труб, стального каната и других предметов, называется ловительным. К нему относятся следующие типа инструментов.
Ловительные метчики применяют для извлечения труб, имеющих относительно ровный отрыв и не закрытое в результате деформации трубы внутреннее отверстие.
Ловильный колокол при вращении колокол навинчивается на бурильную трубу.
Гидравлическая труболовка - типа ТГ предназначена для захвата и извлечения колонковых или обсадных труб.
Оверлот - применяют для извлечения не прихваченных бурильных труб.
Труборезы служат для отрезания бурильных, колонковых и обсадных труб в скважине с целью их извлечения по частям. По принципу действия они делится на механические, гидравлические, химические и электрические.
Печать служит для определения положения находящегося в скважине буровых труб или посторонних предметов, вида их слома и состояние обсадной колон.
Контрольно измерительные приборы -Указатель осевой нагрузки, манометр, давление промывочный жидкости, звуковой секундомер пере подъема бурового снаряда. Счетчик мот-сов.
1.3 Характеристика горных парод объекта разведки
Акчинский вулканогенно-осадочный комплекс (С2ак)
Отложения этого комплекса преимущественно имеют распространения в центральной части площади месторождения Пирмираб. Залегают через маломощные зоны метасоматитов на туфах и лавах андезитов и андезидацитов (С2bl) и прорываются субвулканической фацией карабауского комплекса (Сзк); на юге перекрыты отложениями шурабсайского комплекса (Psh). Состав - переслаивание конгломератов, алевролитов с прослоями песчаников и туфов биотитовых и биотит-амфиболовых андезидацитов, дацитов. Преимущественное падение на восток, угол падения 40°-45°, мощность, устанавливаемая по скважинам - до 100 м. Пространственно отложения этого комплекса расположены в зоне широтного разлома. Отложения С2ак резко выделяются в разрезе. Изменены до вторичных кварцитов и в следствии сильного гидротермального изменения пород тип цемента определить практически невозможно. Судя по простиранию в широтном направлении, возможно - это древняя палеодолина.
Балгалинский вулканогенный комплекс (С2bl)
Балгалинский комплекс (ранее выделяемый как чашлинский), обнажается только в северной части площади, в более поднятом эродированном блоке. Представлен лавами и туфами амфиболовых и биотит-амфиболовых андезитов и адезидацитов с прослоями песчаников и алевролитов. Породы темно-
зеленого, серо-зеленого цвета, в основном отмечается мелко-средне порфировая структура, неравномерно окварцованы, хлоритизированы, эпидотизи- рованы. В пределах месторождения Пирмираб не отмечается залегания пород этого комплекса на гранодиоритах Кураминского комплекса (С2k), они прорываются кварцевыми сиенито-диоритовыми порфиритами карабауского комплекса (C3k) и гранит-порфирами оясайского комплекса (Р0). Контакт с отложениями акчинcкого комплекса метасоматически изменен, осложен внедрением силлообразных тел кварцевых сиенито-диоритовых порфиритов (Сзк). Отложения балгалинского комплекса залегают гипсометрические ниже отложений акчинекого комплекса. Предполагаемая мощность отложений в пределах или более 10 - 15 м.
Кызылнуринский вулканогенный комплекс (P-T1kz)
Кызылнуринский вулканогенный комплекс представлен только секущей фацией - кварцевыми порфирами красно-бурого цвета. Отмечаются редкие выхода на юге Восточной рудоносной зоны на правобережье реки Чадак. Взаимоотношения с шурабсайским комплексов не фиксируются, контакты задернованы. На сегодняшний день взгляды относительно возраста кызылнуринской свиты неоднозначны, и ее возраст поставлен с вопросом.
Описание парод.
Андезит эффузивный аналог диорита. Цвет андезита от серого до черного, иногда с зеленым оттенком. Андезит образуется в процессе вулканических извержений при застывании лавы, вышедшей на дневную поверхность или оставшейся в недрах земли недалеко от поверхности. Основная масса андезита состоит из микрлитов, плагиоклаза пироксена, погруженных в вулканическое стекло. В краплении представлены ромбическим пироксеном, роговой обманкой, биотитом. Изредка присутствует оливин.
Дацит эффузивная кислая горная порода кайнотипного облика в основной массе которых наблюдается порфировые выделения известково-натровогополевого шпата (чаще андезина), кварца а из цветных минералов биотита роговой обманки или пироксена . Цвет светло серый, реже темно серый.
Конгломерат - или сцементированный галечник, осадочная порода, представляющая собой агрегат обломков пород, сцементированных кремнистым, кальцитовым или лимонитовым веществом. Размерность обломков колеблется от мелкой гальки (от 2 мм) до крупной гальки и валунов. Они могут состоять из одного (обычно кварц или полевой шпат) или нескольких минералов. Хотя некоторые конгломераты являются продуктами ледниковой деятельности, бльшая их часть образуется на морских и речных берегах. Иногда конгломераты содержат (обычно в цементе) ценные полезные ископаемые (золото, платину и др.).
Алевролиты - образуются в процессе метаморфизма при окаменении песчано-пылеватых и глинистых пород вследствие их уплотнения, воздействия температуры, кристаллизации коллоидов. Большое влияние на прочностные показатели алевролитов и аргиллитов оказывают состав и тип цемента. В зависимости от цемента алевролиты образуют обширный ряд последовательных переходов от слабо прочных разностей, близких по своим свойствам к плотным глинам, до окварцованных пород, прочность которых превышает 100 МПа. В большинстве случаев алевролиты и аргиллиты в инженерно-геологической практике оцениваются как породы, обладающие худшими показателями, чем песчаники. Объясняется это четко выраженной слоистостью тонкозернистых пород и благодаря этому высокой анизотропностью их свойств. По базальным поверхностям алевролиты и аргиллиты легко выветриваются, часто образуют на склонах подвижные осыпи из плитчатой щебенки. Вместе с тем массивные алевролиты могут приближаться по прочности к крепким песчаникам, а в некоторых случаях превосходить их.
Туфолавы вулканические пароды с туфовой массой, состоящей из лавы и пепла, и сравнительно крупными включениями темного стекла, внедренными в эту массу. Стекло и туф в краевых зонах обычно переходят друг в друга, так что пароды кажутся какбы сваренными, отчего иногда их называют «сваренными туфами», но часто они переходят и внастоящие туфы. Включения стекла на сером фоне породы выступают в виде неправильных клочьев и искр. Чаще встречаются среди кислых вулканических пород.
Кварцит вторичный - метаморфическая горная порода, состоящая в основном из кварца, а также серицита, алунита, пирофиллита, каолинита, андалузита и диаспора. Типичные второстепенные минералы и минералы-примеси представлены корундом, топазом, рутилом гематитом и др., включенными в зёрна кварца или зажатыми между ними. Образуются в результате гидротермально-метасоматических преобразований кислых и средних эффузивных пород и их туфов, реже кислых интрузивных пород. По форме залегания представляют собой массивы размерами до нескольких км кислых интрузивных пород.
Таб. 1
1.4 Физико-механические свойства горных парод и их влияние на процесс бурения.
|
Горная парода |
Категория по буримости |
Объединенный показатель, м |
Динамическая прочность, Fg |
Абразивность, Ка |
Трещиноватость Ку |
Устойчивость |
|
Конгломераты Алевролиты Туфолавы Андезит-дациты Кварцевая жыла Вторичные кварциты |
IX VIII IX IX XI X |
30 13,5 25 25 60 38 |
13 9,4 11.2 11.8 18 15 |
1.3 0,2 1.3 1.2 2.16 1.6 |
7 17 9 11 5 6 |
Устойчивые Среднеустойчивые Устойчивые Устойчивые Устойчивые Устойчивые |
Данные пароды относятся по (Таб 1.)
Категории по буримости X
Характеристика прочности парод- 16 Умеренная
Пароды относятся по коэффициенту абразивности Ка -III группе и считаются среднеабразивные
Типизация парод по буримости- II группа очень твердые и твердые
Классификация парод по трищиноватости II группа слаботрещиноватые
Классификация пород по степени устойчивости в стенках скважины относятся к I группе, являются устойчивыми пародами, практически не разрушаемыми динамическими нагрузками и вибрациями снаряда.
2. Техника и технология бурения разведочной скважины
Президент Республики Узбекистан И.А Каримов в выступлении на совместном заседании Сената и Олий Мажлиса (декабрь 2009г.) поставил перед страной задачу модернизации экономики, внедрении техники и технологии производственных процессов, повышения качества выпускаемой продукции, ориентированной на экспорт.
Происходящие в Узбекистане переходные процессы в области экономики, политики, социальной и культурной сферах не могли сказаться на функционирование геологической отросли.
Анализ результатов геологоразведочных работ на твердые полезные ископаемые показывает, что на большинстве объектов разведки при существующей техники и технологии (алмазное, твердосплавное, Бескерновое бурение, которые являются базовыми) качество результатов бурения скважин оставалось низким. Нередко имеет место некондиционный выход керна, что приводит к браку объема бурения,
Широкая номенклатура буровых станков и установок, технологического инструмента, другое оборудование создают трудности технического, технологического и организационного характера.
Улучшения качества буровых работ и их производительность невозможно без учета опыта бурения геологоразведочных скважин такими фирмами, как Атлас Копко, Лонгир, Сандвик и др., которые выпускают буровое оборудование и инструменты, отвечающие самым высоким мировым стандартом.
Учитывая вышесказанное в технический проект для разведочной скважины заложены техника бурения, выпускаемая фирмой Атлас Копко
2.1 Выбор способа и вида бурении разведочной скважины, виды промывочной жидкости и схемы промывки скважины.
Известны два способа бурения скважин механический с помощью различных породаразрушающих инструментов и физические с помощью различных физических полей.
В настоящее время в практике бурения разведочных скважин как в нашей стране так и зарубежном нашел широкое применение вращательный способ бурения.
Механический способ бурения может осуществляется вращательным, удара вращательным, вращательно ударным, ударным, вибрационным, путем задавливания инструмента в горную породу. Способам бурения выбираю алмазный вид вращательного способа бурения.
В качестве промывочной жидкости используем воду с добавлением присадок фирмы Atlas Copco Superdrill. Представляет она собой не загрязняющую окружающую среду, биологически разлагаемую смесь жиров в органическом растворителе. Он не влияет на измерение флуоресценции, проницаемости, пористости и результаты физико-химического анализа. Он соответствует действующим международным требованиям по контролю загрязнения окружающей среды или превосходит их.
Промывка скважины будет осуществляется по прямой схеме. Такая схема промывки отличается простотой осуществления и не требует каких-либо дополнительных устройств, кроме стандартных элементов системы.
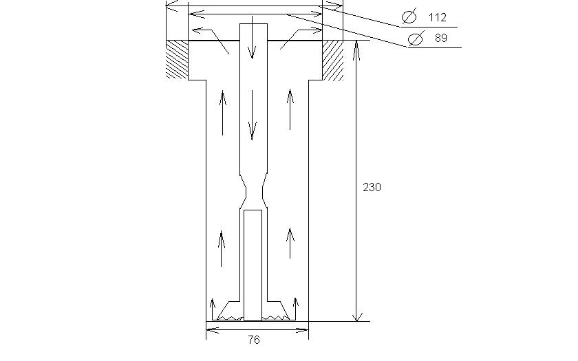
2.2 Проектирование конструкции скважины
Выбор конструкции разведочных скважин (Рис 1) важный исходный момент и играет решающую роль в успешном доведении скважин до проектных глубин с лучшими технико экономическими показателями, в обеспечении оптимальных условий бурения и опробования скважин.
Геологический разрез представлен вулканогенными и вулканогенно-осадочными породами. В данном разрезе один участок с осложненной зоной. Сложный участок находится в интервале от 0 до 3 метров, на данном участке происходит обрушение стенок скважины. Общую глубину скважины берем равной 230 метров. Для конструкции данной скважины наиболее рационально выбрать 2 ступени, как минимально возможное число для исследуемого геологического разреза. Коночная ступень скважины будет в интервале о 3 до 230 метров, диаметром 76мм. Начальная ступень будет находится в интервале от 0 до 3 метров диаметр начальной ступени возьмем равным 112мм. Обсадные трубы возьмем 89мм. Для того чтобы увеличит выход керна в рудной зоне будут использоваться двойные колонковые трубы на остальном участке одинарные. С целью герметизации зазора между стенкой скважины и обсадной трубой, следует затомпонировать цементным раствором.
Таб. 2
Показатели горных парод геологического разреза
|
№ |
Геологический разрез |
Интервал |
Название парод |
Категории по буримости |
|
|
от |
до |
||||
|
1 |
См. Рис 2 |
0 |
3 |
Наносы |
III
|
|
2 |
3 |
117 |
Переслаивание конгломератов, алевролитов с прослоями песчаников и туфов биотитовых и биотит-амфиболовых андезидацитов, дацитов |
IX |
|
|
3 |
117 |
124 |
Кварцевая жила |
XI |
|
|
4 |
124 |
164 |
Лавы и туфы амфиболовых и биотит-амфиболовых андезитов и адезидацитов с прослоями песчаников и алевролитов |
IX |
|
|
5 |
164 |
214 |
Вторичные кварциты |
X |
|
|
6 |
214 |
219 |
Кварцевая жила |
XI |
|
|
7 |
219 |
230 |
Вторичные кварциты |
X |

Проектная конструкция скважины. Рис. № ( 1 )

|
Рис.2 Геологический разрез участка мазар месторождения Чадак |
2.3 Выбор бурового оборудования и инструментов
Данным проектом предусмотрено высокооборотное алмазное бурение до глубины 230 м, поэтому используем высокооборотные буровые установки фирмы Атлас Копко - Christensen СS1000 P4 (рис 3)
Достоинства Christensen СS1000 P4 малые затраты времени на монтажно-установочные работы, улучшенные технические параметры, более благоприятные условия для рабочих. Техническая характеристика бурового станка Christensen СS1000 P4 и принадлежности к нему приводится в описании ниже.
Размер бурильной Глубина бурения
трубы (ориентировочно)
BK/BQ (~60 мм) 900 м;
NK/NQ (~76 мм) 500 м;
HK/HQ (~99 мм) 350 м;
PK/PQ (~121 мм) 200 м
В связи с большим разнообразием условий бурения приведенные
значения служат только как справочные (при вертикальном бурении
вниз и однородных породах).
Мачта и рама податчика
Ход подачи 1 830 мм
Режим подачи быстрый/медленный
(с плавной регулировкой)
Усилие подачи 60,3 кН
Рис. №(3)
Усилие подъема 90,7 кН
Угол наклона скважин 450 900 (вниз)
Макс. длина свечи 6,09 м
Вращатель и гидропатрон
Привод: а/п реверс. гидромотор
Макс. внутр. диам. патрона 117 мм;
Усилие удержания 18 143 кг;
Устройство отведения вращателя в сторону
Перед. отношение об/мин Кр.момент, Нм
ступень 1, 6,63:1 130 - 196 4382 - 3007
ступень 2, 3,17:1 270 - 410 2095 - 1437
ступень 3, 1,72:1 500 - 756 1138 - 780
ступень 4, 1,00:1 857 - 1300 662 - 454
Переключение ступеней осуществляется вручную; возможность плавной
регулировки оборотов в пределах одной ступени с панели управления.
Штангодержатель
Штангодержатель закрывается под действием пружин,
открывается под действием гидравлики.
Максимальный внутр. диаметр штангодержателя 121 мм
Силовая установка и гидросистема
Двигатель CUMMINS, 4ВТА
(3,9 л, 6 цилиндров)
Мощность 116 лс (86,5 кВт)
при 2500 об/мин
Тип двигателя TURBO, дизель,
водяное охлаждение
Первичный насос 24,1 МПа, 162 л/мин;
Вторичный насос 20,6 МПа, 56 л/мин;
Вспомогательный насос 17,2 МПа, 30 л/мин;
Другие типы двигателей устанавливаются по дополнительному запросу.
Основная лебедка
Грузоподъемность:
при одинарной ветви каната 4 082 кг
при двойной ветви каната 8 164 кг
Скорость наматыв. (пустой барабан) 45 м/мин
Диаметр каната 14,3 мм
Лебедка ССК
Емкость барабана:
при диаметре троса 4,76 мм 975 м
Грузоподъемность:
пустой барабан 1134 кг
полный барабан 318 кг
Скорость наматывания:
пустой барабан 119 м/мин
полный барабан 384 м/мин
Масса основных узлов
Вращатель 470 кг
Основание и рама 310 кг;
Нижняя секция мачты 500 кг;
Ср. и верхняя секция мачты 340 кг;
Дизельн. двигатель (сухой) 511 кг;
Гидравл. компоненты 410 кг;
Гидравл. лебедки с тросами 420 кг;
Общая масса СS1000 P4 3290 кг
Размеры основных узлов
Вращатель 787х1118х533 мм
Основание и рама 2896х1626х1473 мм
Нижняя секция мачты 3328х660х838 мм
Средняя секция мачты 3277х584х559 мм
Верхняя секция мачты 2794х533х737 мм
Дизельн. двигатель 1105х1245х737 мм
Гидравл. компоненты 953х1257х737 мм
Гидравл. лебедки с тросами 706х1435х660 мм
Стандартные элементы
Гидравлический подъем мачты;
Устройство для буксирования установки;
Устройство закачки с фильтрацией масла;
Топливный бак на 125 л;
Механические аутригеры
Устройство очистки и обезвоживания масла
Дополнительные опции
Одинарный шкив диам. ~0,7 м для основн. лебедки;
Гидроприв. насос для глин. раств. 140 л/мин, 4,9 МПа;
Гидроприводная глиномешалка;
Набор дополнительного освещения мачты;
Гидравлические аутригеры;
База для установки на автомобиль или гусен. шасси
Оснастка и принадлежности Atlas Copco
для разведочного бурения
Atlac Copco Водяной Вертлюг WS 25/8 .рис (4)
Промывочный вертлюг соединяет напорный шланг от бурового насоса с вращающейся бурильной колонной.

Рис 4
|
Тип |
Макс. Нагрузка |
Внутр., мм |
Соед. Резьба |
Соед. Шланг |
Вес |
|
WS 25/8 |
80 кН |
22 мм |
. CR 50 наружн. |
1-1/4 « внутр |
13,5 кг |
Соединительная муфта буровой штанги 50 мм
Пародаразрушающий инструмент
Алмазная коронка Hobic#10-R/#7-C. Рис 5.

Рис 5.
Характеристика алмазной коронки. Таб.3
|
Тип алмазной коронки |
Шифр |
Диаметр коронки, мм |
Твердость матрицы HRC |
Общая масса алмазов в коронке, кар |
Зернистость алмазов, шт/кар |
||
|
наружный |
внутренний |
объемных |
подземных |
||||
|
Импрегнированная |
Hobic#10-R/#7-C |
76 |
59 |
30-35 |
16 |
120-400 |
30-40 |
Долото- B112T51A
|
Тип коронки |
Диаметр по резцам, мм |
Промывочные каналы |
Масса коронки, кг |
|
B112T51A |
112 |
2 |
5 |
БУРОВЫЕ СНАРЯДЫ
Двухтрубные снаряды серии «Т2» фирмы Atlas Copco. Рис 6.
Универсальные двухтрубные колонковые снаряды серии Т2 предназначены для бурения пород малой крепости до очень крепких. Промывка - вода (возможно с полимерными присадками).
Рис 6.
|
Марка |
Диаметр скважины, мм |
Диаметр керна, мм |
Диаметр бурильной трубы, мм |
Скорость вращения. об/мин |
Усилие подачи. кН |
Промывка. л/мин |
|
76T2 |
76.5 |
61.7 |
70 |
750-1250 |
16-24 |
16-25 |
Однотрубные снаряды серии «В» фирмы Atlas Copco. Рис 7.
Универсальные однотрубные колонковые снаряды серии В предназначены для бурения пустых пород. Промывка - вода (возможно с полимерными присадками).
Рис 7. Однатрубный снаряд
|
Марка |
Диаметр скважины, мм |
Диаметр керна, мм |
Диаметр бурильной трубы, мм |
Скорость вращения. об/мин |
Усилие подачи. кН |
Промывка. л/мин |
|
76В |
76.3 |
61.7 |
70 |
750-1100 |
20-30 |
16-25 |
Таб.8
Добавки к буровому раствору
Присадка Superdrill
Superdrill представляет собой не загрязняющую окружающую среду, биологически разлагаемую смесь жиров в органическом растворителе. Он не влияет на измерение флуоресценции, проницаемости, пористости и результаты физико-химического анализа. Он соответствует действующим международным требованиям по контролю загрязнения окружающей среды или превосходит их.
Преимущества
• Продлевает срок службы алмазной буровой коронки и улучшает эксплуатационные характеристики практически для всех пород (это обусловлено улучшением отвода тепла от алмазной коронки).
• Снижает крутящий момент и трение оборудования в скважине.
• Снижает вибрацию колонны бурильных труб.
• За счет своих антикоррозионных свойств уменьшает коррозию.
• Обладает плотностью в 1,0 кг/дм3, которая идеально для разведения водой.
Лотки для керна
Прочные, но легкие лотки для керна предназначены для хранения и транспортировки образцов керна. Унифицированные лотки для керна разных типоразмеров изготавливается из высококачественного формованного полипропилена. имеются четыре типоразмера лотков. Лотки пользуются спросом у геологоразведчиков всех стран мира, успешно эксплуатируются в экстремальных климатических условиях с температурами от +50 до 35 С.
Преимущества
Жесткая конструкция каналов предотвращает перемещение образцов керна при транспортировке, а отделка поверхности позволяет нанесение штампов и идентификацию керна. Лоток для керна может использоваться как с защелкивающейся крышкой, так и без нее. При необходимости дополнительных мер безопасности предусмотрена возможность использования свинцовых пломб. Лотки вкладываются один в другой в пустом виде, и штабелируются при заполнении даже без использования крышек. Компактность хранения и снижение транспортных затрат основное преимущество. Удобство размера не только позволяет перенос одним оператором, но и пользование при трудной транспортировке и ограниченном пространстве. Диаметр желобов подходит для керноотборников различных размеров.
Трубные ключи
Универсальные трубные ключи. Рис 8.
|
Тип |
Макс. внешний трубы, мм |
|
143 |
78 |
|
147 |
160 |
Рис 8.
Разводные трубные ключи со стальными рукоятками. Рис 9.
|
Тип |
Макс. Раскрывание, мм |
|
24” |
76 |
|
36” |
127 |
Рис 9.
Ключи с полным охватом (со стальными рукоятками). Рис 9.
Конструкция ключа позволяет свинчивание / развенчивание тонкостенных коронок, керноприемников и обсадных труб без риска их повреждения. Ключи должны использоваться парой.
|
Для труб мин-макс., мм |
Для внутренних труб |
Для наружных труб |
Для обсадных труб |
|
|
CR |
DCDMA |
|||
|
73.00 - 77.50 |
HK, 86T2, 86T6 |
NK, NGM, 76T2-T6-T6S, TNW |
74 |
BW |
|
100.00 - 117.50 |
131T6, S Geobor |
PG, 116T6 - T6S |
113 |
HW |
Рис 10.
Ловильный инструмент. Рис 11.
Ловильные метчики (внутренние) с термообработкой Atlas Copco Craelius и ловильные колокола (наружные) используются с большинством размеров буровых штанг, обсадных труб, керноотборников, буровых коронок и расширителей метрических и дюймовых стандартных размеров. Ловильный метчик для ликвидации аварий вынимает из скважины трубообразные предметы, подхватывая их с внутренней поверхности. Ловильный колокол подхватывает их снаружи. Их использование рекомендуется при потере предмета относительно малого диаметра в скважине большого диаметра.
Рис 11.
Тросы и зажимы-фиксаторы. Рис 12.
Трос крепится к основной лебедке буровой установки и другим концом к карабину. Чтобы закрепить свободный конец к серьге крюка с предохранителем, используется обжимная муфта. Для бурения с ССК буровая установка оснащается дополнительной тросовой лебедкой с более тонким и длинным тросом, который крепится ковершоту.
Рис 12.
Адаптеры для буровых штанг и обсадных труб. Рис13
Переходные муфты или переходники применяются, если необходимо соединить друг с другом два элемента с различным типом или размером резьбы. Переходники замки, соединяющие буровые штанги с обсадными трубами, также представлены как «обсадные замки». Нестандартные муфты поставляются по отдельному заказу.
Рис13.
Область применения породоразрушающих инструментов. Таб.4
|
Горные пароды |
Интервал Бурения, м |
Тип Порода- разрушающего инструмента |
Диаметр, мм |
Область применения |
||
|
от |
до |
Нор. |
Внут. |
|||
|
Наносы |
0 |
3 |
B112T51A |
112 |
- |
Мягкие с прослойками более твердых пород IV-V к.п.б |
|
переслаивание конгломератов, алевролитов с прослоями песчаников и туфов биотитовых и биотит-амфиболовых андезидацитов, дацитов |
3 |
117 |
Hobic#10-R/#7-C |
76 |
59 |
Абразивные, мелко и среднезернистые, очень крепкие, плотные и трещеноватые |
|
Кварцевая жила |
117 |
124 |
Hobic#10-R/#7-C |
76 |
59 |
То же |
|
представлены лавами и туфами амфиболовых и биотит-амфиболовых андезитов и адезидацитов с прослоями песчаников и алевролитов |
124 |
164 |
Hobic#10-R/#7-C |
76 |
59 |
То же |
|
Вторичные кварциты |
164 |
214 |
Hobic#10-R/#7-C |
76 |
59 |
То же |
|
Кварцевая жила |
214 |
219 |
Hobic#10-R/#7-C |
76 |
59 |
То же |
|
Вторичные кварциты |
219 |
230 |
Hobic#10-R/#7-C |
76 |
59 |
То же |
2.4 Разработка режимов бурения
Режим бурения это рациональное сочетания трех параметров осевой нагрузки, частоты вращения и расхода промывочной жидкости, подаваемой по прямой схеме промывки скважины.
Рациональное сочетание параметров режима бурения обеспечивает достаточный максимум механической скорости бурения в данной горной породе.
В связи с отсутствием в информационных источников рекомендаций по параметрам режима бурения буровым станком фирмы Атлас Копко и данных по параметрам режима бурения выбранным типом алмазной коронки, в работе произведены расчеты параметров режима бурения по общепринятой методике.
Параметры режима бурения (Таб. 5)рассчитаны и приведены в разделе 3.4
Параметры режима бурения
|
Горная порода |
Интервал бурения, м. |
Параметры режима бурения |
|||
|
Осевая нагрузка, Р,кгс |
Частота вращения об/мин |
Расход промывочной жидкости л\мин |
|||
|
от |
до |
||||
|
Наносы |
0 |
3 |
3 |
234 |
45,6 |
|
переслаивание конгломератов, алевролитов с прослоями песчаников и туфов биотитовых и биотит-амфиболовых андезидацитов, дацитов |
3 |
117 |
756-945 |
502,8-755 |
45,6 |
|
Кварцевая жила |
117 |
124 |
1134-1512 |
402,2-555 |
45,6 |
|
лавы и туфы амфиболовых и биотит-амфиболовых андезитов и адезидацитов с прослоями песчаников и алевролитов |
124 |
164 |
756-945 |
502,8-755 |
45,6 |
|
Вторичные кварциты |
164 |
214 |
945-1134 |
402,2-555 |
45,6 |
|
Кварцевая жила |
214 |
219 |
1134-1512 |
402,2-555 |
45,6 |
|
Вторичные кварциты |
219 |
230 |
945-1134 |
402,2-555 |
45,6 |
2.5 Порядок работы с буровым снарядом
Сборка колонкового снаряда
Берется коронка в неё вставляется кернорвательное кольцо закручивается на колонковую требу соединяется с буровыми трубами и осторожноспускается в скважину, далее буровой снаряд скрепляется с ведущей трубой. Включается буровой насос и при поевлении промывочной жидкости на усте скважины начинается процесс бурения
При спуске бурового снаряда
1. Надевание элеватора или навинчивание вертлюжной пробки на свечу (трубу). 2. Подъем свечи (трубы) из подсвечника или с мостков, очистка и смазка резьбового соединения, навинчивание свечи (трубы) на ранее спущенную бурильную колонну, приподнимание и освобождение колонны от подкладной вилки или штангодержателя (элеватора). 3. Спуск очередной свечи (трубы) в скважину и установка колонны на подкладную вилку или закрепление ее в штангодержателе. 4. Снятие элеватора или отвертывание вертлюжной пробки, подъем свободного элеватора или вертлюжной пробки.
При подъеме бурового снаряда
1. Надевание элеватора или завинчивание вертлюжной пробки, освобождение колонны от подкладной вилки или штангодержателя. 2. Подъем колонны на длину свечи (трубы) и установка ее на подкладную вилку или штангодержатель, отвинчивание свечи (трубы) с отводкой ее от устья скважины и установкой на подсвечник или укладкой на мостки. 3. Снятие элеватора или отвинчивание вертлюжной пробки, спуск вертлюжной пробки или элеватора.
Подготовительно-заключительные работы, связанные с подъемом и спуском бурового снаряда
При подъеме бурового снаряда
1. Остановка вращения ротора и выключение насоса. 2. Подъем бурового снаряда на длину ведущей трубы или квадрата, установка снаряда на подкладную вилку или штангодержатель, отвинчивание и отвод от устья скважины ведущей трубы (квадрата). 3. Извлечение породоразрушающего инструмента (колонкового набора или долота с переводником) из скважины и укладка его на мостки.
При спуске бурового снаряда
1. Подготовка и спуск в скважину породоразрушающего инструмента (колонкового набора). 2. Навинчивание однотрубки (при спуске бурильной колонны свечами), соединение талевого блока с вертлюгом-сальником. 3. Навинчивание ведущей трубы на спущенную бурильную колонну, выключение насоса, снятие колонны с подкладной вилки или штангодержателя, включение вращения ротора и постановка бурового снаряда на забой.
Наращивание бурового снаряда
1. Выключение бурового насоса, остановка вращения ротора, подъем бурильной колонны до первого соединения (на длину рабочей штанги). 2. Установка колонны на элеватор или подкладную вилку, отвинчивание ведущей трубы (квадрата) и отвод ее в сторону или опускание в шурф. 3. Наращивание заранее подготовленной и проверенной трубы. 4. Спуск колонны в скважину на длину наращиваемой трубы с постановкой на элеватор или подкладную вилку. 5. Навинчивание ведущей трубы, включение насоса и вращение ротора, постановка бурового снаряда на забой с восстановлением циркуляции.
Смена породоразрушающего инструмента
Подъем из скважины коронки с переводником, отвертывание поднятого коронки и навертывание другого.
2.6 Мероприятия по предупреждению аварий и осложнений в скважине
При бурении скважин, так же как и при всяких работах на поверхности, бывают различного рода неполадки или ремонты. К таким неполадкам или ремонтам во время бурения относятся: обрывы или развенчивание в буровой скважине (не на поверхности) штанг, обсадных труб или другого бурового инструмента, а также падение в скважину с поверхности различных инструментов и случайных предметов.
Устранение подобных неполадок на поверхности земли в пределах доступности и видимости глазам явилось бы самым простым и обычным ремонтом. В то же время эти простейшие работы, перенесенные с повёрхности земли в буровую скважину, на глубину, становятся сложными и равносильны аварийным работам на поверхности.
Как правило, устранение неполадок или ликвидация аварии в буровых скважинах требует длительного времени, специальных инструментов и приспособлений, а также опытных исполнителей. Поэтому, из-за сложности устранения неполадок и производства различных ремонтных работ в скважинах, неполадки в скважинах принято называть авариями, а устранение неполадок ликвидацией аварий Аналогично этому, инструмент и приспособления, применяемые. Для ликвидации аварий, называются аварийным инструментом.
Аварии, в зависимости от того, с каким оборудованием они произошли, могут быть разделены на шесть групп:
Аварии со штангами.
Аварии с колонковыми трубами.
Аварии с рабочими наконечниками.
Аварии с обсадными трубами.
Аварии с подъемным канатом.
Аварии, вызванные попаданием в скважину мелких инструментов и случайных предметов
Предупреждения аварий
Время, затрачиваемое на работы по ликвидации аварий при колонковом бурении, в общем балансе времени на буровые работы весьма значительно. Поэтому, учитывая, что большая часть аварий зависит от исполнителей, а следовательно, вполне устранима, необходимо принимать все меры, возможные по условиям работы, для предупреждения аварий изжития причин, порождающих аварии.
Повышение технической культуры бурового персонала должно являться основным мероприятием по предупреждению аварий на бурении геолого-разведочных скважин.
При колонковом бурении большинство аварий заключается в обрыве штанг и обсадных труб, поэтому необходимо перед работой особенно тщательно осматривать их, отбраковывая неисправные, а затем правильно вести эксплуатацию (использование) и учет работы штанг и труб.
Предупреждение аварий со штангами. Для того, чтобы предупредить обрывы штанг, необходимо прежде всего:
- Вести точный учет работы штанг, для чего производить маркировку (кернение) штанг по срокам поступления их в работу.
- Применять в одной колонне штанги только одного сорта и процента годности, не допуская смешения штанг различной годности и с различными сроками работы.
- Не пускать в работу на скважинах глубже 100 м штанги, износившиеся в диаметре более 1 мм.
- Систематически проверять резьбу штанг, не допуская в работу штанги с неправильной резьбой.
- Не пускать в работу погнутые штанги.
- Свинчивать штанги ключами до отказа.
- Не допускать при бурении излишних давлений на инструмент, что, как правило, приводит к искривлению скважин, а последнее способствует излому штанг в резьбовых соединениях.
- Не допускать большого количества оборотов штанг (свыше 100) при бурении скважин в зонах карстовых пустот, а также на участках размыва ствола скважины.
- Не допускать резких включений станка при захвате инструмента или срывах керна.
- Не пользоваться разгоном станка и лебедки для вырывания захваченного бурового снаряда.
- Пользоваться при бурении глубоких скважин противовесом для разгрузки веса инструмента.
- Хранить штанги на стеллажах и смазывать их резьбу.
- Содержать в исправности штангодержатель, шарнирный хомут, вертлюги, фарштули, подъемный канат, блок и крюк.
- Содержать в исправности лебедку и тормозное устройство.
Предупреждение аварий с обсадными трубами. Аварии с обсадными трубами могут происходить от разрыва их в резьбовых соединениях, от развенчивания в скважине и от смятия. Для того, чтобы предупредить аварии с обсадными трубами, необходимо:
- Проверять шаблонами резьбу и диаметр труб, предназначенных для спуска в скважину.
- Если башмак колонны обсадных труб не закрепляется на забое задавкой в глину или цементацией, то свинчивание труб при спуске их в скважину производить на вару или на смоле.
- Не допускать при спуске колонны труб их расхаживания, как это делается при ударно-вращательном способе бурения.
- Производить спуск колонны обсадных труб как можно быстрее, для чего все необходимое количество обсадных труб должно быть заранее подготовлено, проверено и в зависимости от высоты вышки свинчено в столбы; если возможно, столбы труб для ускорения спуска следует установить около устья скважины.
- Производить надежное (до отказа) свинчивание труб на всю резьбу.
- Соблюдать особую осторожность при бурении, особенно дробью, в непосредственной близости от башмака колонны обсадных труб, чтобы не отвернуть низ колонны.
- Тщательно изолировать зазоры между колоннами обсадных труб, чтобы не зашламовать их одна в другой.
- При спуске длинных колонн труб на большую глубину