Работа нагнетателя в сети
Работа нагнетателя в сети.
Характеристика нагнетателя определяет всю совокупность возможных режимов работы нагнетателя. Но, если нагнетатель подсоединён к сети, то конкретный режим его работы (значения параметров p-Q) определяется ещё и характеристикой сети. Последняя представляет собой зависимость потерь давления в сети от расхода. Режим работы системы нагнетатель-сеть определяется равенством создаваемого нагнетателем давления (напора) сопротивлению сети.
Потери давления в сети равны суммарным потерям на трение (потери по длине l) и на местные сопротивления (с коэффициентами ) во всех её элементах:
Но, поскольку c=Q/F (см. уравнение 2.1*) p = kQ2, (6.1)
где k некоторая константа для данной сети.

Рассмотрим простейшую вентиляционную сеть, состоящую из одного участка воздуховода постоянного сечения на входе в вентилятор и одного на выходе (рис. 6.1). Полное давление Pп (избыточное) на входе в систему из атмосферы равно 0 и далее по ходу движения воздуха падает на величину потерь. Это падение давления пропорционально длине воздуховода p l, т.е. эпюра полных давлений представляет собой наклонную прямую. Динамическое давление Pд постоянно (c=const). Поэтому эпюра статических давлений Pc=Pп-Pд параллельна эпюре полных давлений.
Рис.6.1 Эпюры давлений в простейшей вентиляционной сети
В вентиляторе полное давление повышается на величину p (давление вентилятора), становится положительным и далее, в связи с наличием потерь падает пропорционально длине. В сечении выхода в атмосферу полное давление равно динамическому, а статическое равно 0.
Из рассмотрения эпюр следует, что давление вентилятора равно потерям давления в воздуховодах плюс динамическое давление на выходе. Впрочем, последнее также может быть отнесено к потерям, поскольку соответствующая кинетическая энергия безвозвратно рассеивается в атмосфере.
Если вентилятор работает на всасывание и выдаёт воздух непосредственно в атмосферу, то на преодоление гидравлических потерь идёт только часть давления за исключением динамического давления на выходе pд.в.: pc=p-pд.в..
Это т.н. статическое давление вентилятора и именно оно должно приниматься во внимание при подборе его на данную сеть.
Из формулы 6.1 следует, что для вентиляторов характеристика сети представляет собой квадратичную параболу. Если наложить на неё характеристику вентилятора, то точка пересечения графиков характеристики сети и характеристики вентилятора по давлению (она обычно называется рабочей точкой) определяет параметры режима работы вентилятора на данную сеть (рис. 6.2).
По иному определяется характеристика сети для работающего на неё насоса. Если применить уравнение Бернулли (2.4) для установки, схема которой показана на рис. 6.3 и предположить, что, как это чаще всего бывает на практике, PI=PII=Pа, то напор, который необходимо создать насосу, будет составлять H=Hг+H, т.е. напор насоса идёт не только на преодоление гидравлических потерь (H), но и на подъём жидкости на высоту Hг. Поскольку гидравлические потери, как и ранее, пропорциональны Q2, характеристика сети для насосной установки будет иметь вид:
H=Hг+ kQ2, (Hг=z2-z1).


Рис.6.2 Нахождение рабочей точки для Рис. 6.3 Схема насосной установки
вентилятора


Теперь уже эту параболу надо совместить с характеристикой насоса для определения рабочей точки (рис. 6.4).
Рис. 6.4 Нахождение рабочей точки Рис. 6.5 К исследованию устойчивости
для насоса системы нагнетатель-сеть
Следует заметить, что в установках с дымососами возникает ещё и гравитационное давление, связанное с разностью плотностей газа в дымовой трубе и наружного воздуха pе так называемая самотяга, которая “помогает” вентилятору, и при определении характеристики сети вычитается из потерь в газовом тракте p = kQ2- pе.
Совмещение характеристик сети и нагнетателя позволяет также рассмотреть очень важный вопрос об устойчивости работы системы нагнетатель-сеть.
В системах нагнетатель-сеть могут возникать периодические или случайные изменения режимов работы (препятствия на выходе из сети, колебания скорости вращения двигателя и т.д.).
Если постоянный режим соответствует точке А (рис. 6.5), то в случае увеличения подачи давление нагнетателя уменьшается, а сопротивление сети возростает. Это вызовет торможение потока и возвращение режима в точку А. Здесь тангенс угла наклона характеристики сети больше тангенса угла наклона характеристики нагнетателя. Такая система является устойчивой.
В точе В это условие не соблюдается и режим неустойчив. При таком сочетании форм характеристик нагнетателя и сети снятие возбуждений не приводит к устойчивости режима, и в системе остаются самопроизвольные колебания параметров. Такие автоколебания получили наименование помпаж.
Возникновение этого явления в современных высокоскоростных установках представляет большую опасность с точки зрения усталостного разрушения машин и трубопроводов, и поэтому работа в условиях помпажа недопустима.
Совместная работа нагнетателей
Необходимость в установке нескольких совместно работающих нагнетателей может возникнуть в следующих случаях:
1) Производительность или давление установок в процессе эксплуатации требуют значительных резких изменений.
2) Один нагнетатель не обеспечивает требуемый режим работы, а замена большим невозможна.
3) Требуется повысить надежность эксплуатации установки путем создания определенного резерва (нестопроцентного).
Последовательная работа нагнетателей. При последовательном включении нагнетателей перемещаемый поток сначала проходит через первый нагнетатель (по ходу движения потока), а затем поступает на вход второго и т.д. Обычно в последовательную работу стараются включать не более двух нагнетателей, причём, наиболее оптимальный вариант включение в работу одинаковых вентиляторов.
Пусть кривая 1 - характеристика первого нагнетателя, а кривая 2 второго нагнетателя (рис.7.1). Для построения суммарной характеристики установки, состоящей из двух последовательно работающих нагнетателей, необходимо учесть, что в каждый конкретный момент времени подача нагнетателей одинакова Q1=Q2, а общее давление равно сумме давлений обоих нагнетателей при указанной подаче Р1,2=Р1+Р2.

Эффективность последовательного соединения нагнетателей существенно зависит от формы характеристики сети. Из рис. 7.1 видно, что при пологой характеристике сети (кривая I) выигрыш в подаче очень невелик, или вообще отсутствует. В то же время, при крутой характеристике (кривая II) этот выигрыш существенен.

Рис. 7.1 Характеристики нагнетателей, Рис. 7.2 Характеристики нагнетателей,
работающих последовательно работающих параллельно
При параллельной работе нагнетателей (рис.7.2) через каждый из нагнетателей проходит свой расход. При этом в системе обязательно должен быть хотя бы один участок, по которому проходит общий расход.
Суммарная характеристика установки строится исходя из того, что давление в каждой из ветвей одинаково Р1=Р2=Р1,2. Общая подача установки при работе двух машин равна сумме подач каждого из нагнетателей Q1,2=Q1+Q2. В отличие от случая последовательной работы, в данном случае при крутой характеристике сети II совместная работа нагнетателей явно нецелесообразна.
Если мы проведем горизонтальную прямую через точку пересечения характеристики сети с суммарной характеристикой нагнетателей, то окажется, что она пересечет характеристику нагнетателя 2 в области отрицательных подач, что означает движение жидкости в нем в обратном направлении. Об участке характеристики, проведенном на рис.7.2 левее оси Р пунктиром, говорят, что он находится во втором квадранте. В случае последовательной работы, показанном на рис.7.1, при изменении характеристики сети I в сторону уменьшения сопротивления сети, нагнетатель 2 работает при отрицательном давлении или, иными словами, он оказывает сопротивление, которое приходится преодолевать нагнетателю 1. Соответствующий участок характеристики, проведенный на рис.7.1 пунктиром расположен в IV квадранте.
Необходимость в характеристиках нагнетателей во II и IV квадрантах возникает при проектировании установок для совместной работы и некоторых других, встречающихся на практике случаях.
Случаи нерасчетной характеристики сети.
В практике проектирования и эксплуатации вентиляционных, отопительных и других систем могут возникать случаи, когда реальная характеристика сети отличается от расчетной.
а) сеть рассчитана с излишним запасом по давлению. В этом случае реальная характеристика сети имеет более пологую форму (рис.7.3). Производительность оказывается выше расчетной Q>Qр. Для определения соответствующих значений мощности и к.п.д. надо через рабочую точку (т.е. точку пересечения кривой давления нагнетателя и характеристики сети) провести вертикальную линию до пересечения с кривыми N(Q) и (Q). При этом может оказаться, что N>Nр и возникает опасность перегрузки двигателя. Это особенно актуально для вентиляторов с загнутыми вперед лопастями, у которых кривая мощности монотонно возрастает. То же происходит в случае повышенной негерметичности сети.

б) сеть рассчитана с недоучетом потерь. Характеристика сети проходит более круто. Производительность становится ниже расчетной, что может оказаться недопустимым с точки зрения выполнения системой основной ее функции, например, обеспечение требуемого воздухообмена.
Рис. 7.3 Случаи нерасчетной характеристики сети
Регулирование работы нагнетателей.
Фактическая производительность нагнетателя может отличаться от расчётной вследствие изменения характеристики сети. В некоторых случаях может возникать необходимость в изменении фактической производительности.
В ряде случаев необходимость изменения производительности возникает в связи с изменениями в технологическом процессе установок, в которые входит нагнетатель. Так, например, при снижении нагрузки котлов необходимо снижать производительность дымососов и дутьевых вентиляторов. Таким образом, нагнетатели должны обладать средствами регулирования производительности.
В принципе, такое регулирование может достигаться:
1) изменением характеристики сети;
2) изменением характеристики нагнетателя;
3) изменением числа совместно (параллельно) работающих машин.
В первом случае применяется изменение сопротивления сети с помощью так называемых дроссельных устройств («дросселирование»). В насосных установках это обычно задвижки (вентили), в вентиляторных заслонки, шиберы, дроссели. Как будет показано ниже, это наименее экономичный способ регулирования, но, к сожалению, он наиболее распространён на практике (особенно для насосов) вследствие своей простоты.

В ряде случаев, в зависимости от формы кривой мощности, его применение вообще недопустимо. Речь идёт о нагнетателях, у которых кривая мощности в определённом диапазоне падающая, т.е. . Однако, и в тех случаях, когда , дросселирование также крайне неэкономично.
Рис. 8.1 Регулирование с помощью дросселирования
На рис. 8.1 исходной характеристике I соответствует рабочая точка Р1, Q1. В результате дросселирования (увеличения сопротивления сети), характеристика сети приобретает форму II, а рабочая точка координаты Р2, Q2. При этом давление Рдр=Р2-Р1 теряется в дроссельном устройстве, т.е. для преодоления потерь в сети трубопроводов I используется только давление Рс1. Поэтому к.п.д. установки (вентилятор + дроссель) будет:
,
а к.п.д. вентилятора при производительности Q2:
.
Тогда:
Если учесть, что величина Рдр/Р2 часто превышает 50%, то низкая экономичность рассмотренного способа регулирования становится очевидной.
В противоположность дросселированию наиболее экономичный способ регулирования изменение скорости вращения рабочего колеса, поскольку, если характеристика сети проходит через начало координат, в этом случае сохраняется подобие треугольников скоростей, и, таким образом, сохраняется значение к.п.д. Если, например, к.п.д. находился в области максимального значения, то он останется столь же высоким и при изменении скорости вращения рабочего колеса нагнетателя (это относится, как уже упоминалось, к автомодельному интервалу числа Re). При этом, правда, часть энергии теряется в устройствах регулирования самой скорости вращения.
Как правило, в нагнетателях в качестве привода применяются электродвигатели переменного тока с короткозамкнутым ротором, которые практически вообще не поддаются экономичному регулированию. Однако, существуют такие двигатели с переменным числом пар полюсов двухскоростные. Именно их и нужно стараться заказывать при необходимости регулирования нагнетателей.
За рубежом для привода насосов и вентиляторов всё шире применяются электроприводы с частотным регулированием с помощью полупроводниковых преобразователей (тиристоры).
Доступным и весьма экономичным способом изменения скорости вращения рабочих колёс нагнетателей является применение сменных шкивов ременной передачи. Это целесообразно при нечастом изменении подачи, например, при сезонном регулировании.


Значительно более экономичным, чем дросселирование, является регулирование изменением характеристики нагнетателя с помощью направляющих аппаратов. Действие направляющих аппаратов заключается в изменении момента количества движения c1ur на входе в рабочее колесо. При этом теоретическое давление Pт=c2ur2-c1ur1 уменьшается, если закручивание потока направлено в сторону вращения рабочего колеса (c1u>0). Можно было бы ожидать, что при c1u<0 (закручивание против вращения колеса) давление будет повышаться, однако, в действительности этого не происходит. Поэтому применяется только «регулирование вниз», т.е. c1u>0.
Рис.8.2 Осевой направляющий аппарат Рис.8.3 Упрощённый направляющий аппарат
Как правило, применяются осевые направляющие аппараты (рис.8.2), которые представляют собой систему плоских лопаток, поворачивающихся на осях, проходящих через отверстия в корпусе. Лопатки одновременно поворачиваются на одинаковые углы и, отклоняя поток, создают его закручивание.
Известны упрощённые направляющие аппараты, лопатки которых устанавливаются параллельно друг другу во входных коробках вентиляторов (рис.8.3).
8.1 Подбор вентиляторов
В результате расчета вентиляционной сети определяется режим работы вентилятора (p-Q), и далее следует подобрать вентилятор, наиболее экономично обеспечивающий этот режим.
Обозначение типов радиальных (центробежных) вентиляторов содержит:
- букву В, что означает «вентилятор»;
- букву Ц, что означает «центробежный» («радиальный»);
- число, равное пятикратной величине коэффициента давления на номинальном режиме;
- число, равное быстроходности вентилятора на номинальном режиме.
Номинальный режим это режим вентилятора, при котором достигается максимальное значение к.п.д.
В настоящее время изготовляются вентиляторы В.Ц4-75, В.Ц4-76, В.Ц14-46, В.Ц10-28 и др.
Вентиляторы изготовляются в различных конструктивных исполнениях в зависимости от физических свойств перемещаемой среды. Вентиляторы в обычном исполнении вентиляторы общего назначения предназначены для перемещения воздуха и других неагрессивных газовых смесей с температурой не выше 80С, не содержащих пыли и других трёрдых примесей в количестве более 100 мг/м3 или липких и волокнистых материалов.
Если эти условия не соблюдаются, применяют вентиляторы специального назначения. К ним относятся:
- коррозионностойкие вентиляторы, которые могут перемещать агрессивные газовые смеси;
- искрозащищённые вентиляторы, применяются для перемещения взрывоопасных газовых смесей. Эти вентиляторы комплектуются взрывобезопасными электродвигателями, а корпуса и рабочие колёса таких вентиляторов чаще всего изготавливаются из алюминия;
- пылевые вентиляторы для перемещения пылегазовоздушных смесей с содержанием твёрдых примесей до 1000 г/м3. Проточная часть пылевых вентиляторов выполняется таким образом, чтобы уменьшить абразивный износ деталей вентилятора, а также предотвратить возможность налипания пыли. В их обозначении присутствует буква П («пылевой») В.ЦП6-45, В.ЦП7-40 и др.
Конструктивные особенности всех перечисленных выше вентиляторов будут изложены далее.
Для вентиляционных систем, требующих небольших давлений при значительных производительностях, целесообразно подбирать не радиальные, а осевые вентиляторы. Для общепромышленной вентиляции наибольшее распространение получили осевые вентиляторы следующих типов В.О-06-300 и В.О2.3-130.
Вентиляторы каждого типа изготовляются со стандартными диаметрами рабочих колёс, образуя ряд диаметров или ряд типоразмеров. Этот ряд включает: 200, 250, 315, 400, 500, 630, 800, 1000, 1250, 1600 мм. Вентилятор каждого из этих диаметров принято обозначать «номером» величиной диаметра, выраженной в дециметрах, т.е. ряд номеров: №№ 2, 2.5, 3.15, 4 и т.д.
Выбор номера вентилятора и скорости вращения начинается по сводным характеристикам (рис.5.3). При этом принимается кривая, ближайшая к точке p-Q, полученной по данным расчёта системы вентиляции. Далее режим работы уточняется, исходя из того, где характеристика сети (по расчётным данным p-Q) пересечёт принятую кривую сводного графика.
Понятно, что чем ближе соседние значения диаметров рабочих колёс, тем точнее можно подобрать вентилятор для данного задания и обеспечить это задание с наибольшей экономичностью. Поэтому заводы выпускают вентиляторы с промежуточными диаметрами: меньше и больше приведенных выше номинальных значений на 5 или 10%.
Каждая из кривых сводного графика, представленного на рис.5.3, имеет обозначение, которое содержит следующую информацию:
1. Условное обозначение типа вентилятора. Например, для вентиляторов В.Ц4-75 буква Е.
2. Условное обозначение диаметра рабочего колеса: 090 при D=0.9Dном; 095 при D=0.95Dном; 100 при D=Dном и т.д.
3. Порядковый номер рабочей характеристики, соответствующий скорости вращения для данного вентилятора, обозначаемый арабской цифрой.
4. В некоторых случаях данный вентилятор при данной скорости вращения может комплектоваться двигателями разной мощности для разных участков характеристики. Индекс мощности обозначается прописной буквой (а, б и т.д.).
Если, например, условное обозначение характеристики Е3.15.105-1а, то речь идёт о вентиляторе В.Ц4-75 № 3.15 с диаметром рабочего колеса 1.05Dном, со скоростью вращения n=1365 об/мин, с двигателем мощностью 0.25 кВт.
Окончательное решение о выборе вентилятора (с уточнением всех его параметров подачи, развиваемого давления, к.п.д., мощности) принимается с использованием индивидуальной характеристики данного вентилятора. Параметры двигателей обычно приводятся в прилагаемой к характеристике таблице.
Следует иметь в виду, что вентиляторы рекомендуется использовать при таких фактических значениях к.п.д.: ф0.85макс. Диапазон режимов работы вентилятора, в котором выполняется указанное условие, принято называть рабочим участком характеристики вентилятора.
Сводные и индивидуальные характеристики приводятся для условий работы вентиляторов, соответствующих нормальным атмосферным условиям: барометрическое давление 101.3 кПа (760 мм.рт.ст.), температура 20С, плотность воздуха 1.2 кг/м3.
Для других атмосферных условий следует выполнить пересчёт давления для фактической плотности по формуле 5.3. При этом:
где В фактическое барометрическое давление (мм.рт.ст.); t температура в С; 0=1.2 кг/м3.
Конструкция центробежных нагнетателей
КОНСТРУКЦИЯ ВЕНТИЛЯТОРОВ

Радиальные вентиляторы небольших типоразмеров (до № 10) состоят из следующих основных узлов (рис. 9.1): рабочее колесо 1, насаженное на вал электродвигателя 5, корпус 2, входной патрубок 3 и станина 4. У вентиляторов больших номеров рабочее колесо сидит на собственном валу, укреплённом в подшипниках и соединённом с электродвигателем муфтой или ременной передачей (рис. 9.2)

Рис. 9.1 Конструкция радиального вентилятора Рис. 9.2 Конструктивные схемы вентилятор-
ных установок
Рабочие колёса вентиляторов В.Ц4-75 имеют по 8 загнутых назад листовых лопаток, у вентиляторов В.Ц14-46 - 32 лопатки, загнутые вперёд. Лопатки 1.1 крепятся с одной стороны - к заднему диску 1.2, с другой стороны - к переднему 1.3. Задний диск закреплён на ступице 1.4, сидящей на валу.

Корпус представляет собой сварную конструкцию из листовой стали, состоящую из спиральной обечайки и плоских боковых стенок. Спиральная стенка вычерчивается способом "конструкторского квадрата" (рис. 9.3). Здесь сторона квадрата а равна 1/4 части "раскрытия" корпуса А. Последнее обычно составляет А=0.6D2.

Рис. 9.3 Спиральный корпус Рис. 9.4 Пылевой вентилятор В.ЦП-6-45-8
Входной патрубок также изготавливается сваркой из листовой стали и в вентиляторах В.Ц4-75 имеет коническую форму. Станина имеет сварную конструкцию из листовой и угловой стали.
Существует несколько различных схем соединения вентилятора с электродвигателем - это так называемые конструктивные исполнения (рис. 9.2).
В конструктивном исполнении 1 изготавливаются все вентиляторы В.Ц4-75 до № 10 включительно. Большие типоразмеры, начиная с номеров 12,5 чаще всего в 6-ом исполнении. Вентиляторы В.Ц14-46 - в 1-ом исполнении.
Вентиляторы 5-го и 7-го исполнений - это вентиляторы двухстороннего всасывания, отличающиеся значительно большими подачами, чем вентиляторы других исполнений.
По направлению вращения различают вентиляторы правого вращения (рабочее колесо вращается по часовой стрелке, если смотреть со стороны всасывания) и левого вращения (колесо вращается против часовой стрелки).
Расположение выхлопного патрубка вентилятора определяется положением корпуса. Положение корпуса обозначается величиной угла, отсчитываемого от направления «вертикально вверх» по направлению вращения рабочего колеса (если смотреть на корпус со стороны всасывающего патрубка). Обычные значения 0, 90, 180, 270; реже встречаются 45, 135, 215 и т.д.
Пылевые вентиляторы, получившие наибольшее распространение, изготавливаются двух типов: ЦП6-45 и ЦП7-40. Вентиляторы ЦП6-45 имеют рабочие колёса с 8-ю плоскими лопатками, расположенными радиально (рис. 9.4). Передний и задний диски отсутствуют. Эти конструктивные особенности связаны с необходимостью предотвращения оседания и налипания пыли на поверхности деталей рабочего колеса.
В конструкции коррозионностойких вентиляторов используются: нержавеющая сталь, титановые сплавы, пластмассы.
В качестве искрозащищенных вентиляторов применяются вентиляторы из алюминиевых сплавов и из разнородных металлов. Последние изготавливаются из обыкновенной углеродистой стали, кроме входного патрубка, часть которого, обращенная к колесу, выполняется из латуни, что исключает искрообразование при задевании деталей вращающегося колеса о неподвижную поверхность патрубка.


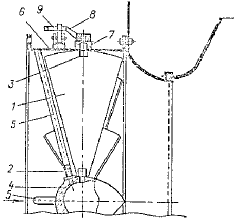
Для установки непосредственно на кровлях зданий применяются крышные вентиляторы; чаще всего они применяются без сети воздуховодов для обеспечения общеобменной вытяжной вентиляции. Схема радиального крышного вентилятора приведена на рис. 9.5, где 1 - рабочее колесо, 2 - двигатель, 3 - корпус.
Рис. 9.5 Крышной радиальный Рис. 9.6 Центробежный насос типа К
вентилятор
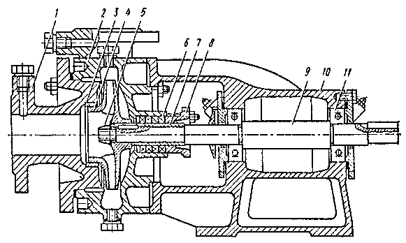
КОНСТРУКЦИЯ НАСОСОВ
Наиболее распространённым типом центробежных насосов являются одноступенчатые насосы одностороннего всасывания. На рис. 9.6 показан насос типа К (консольный). Здесь 1 - крышка корпуса, 2 - корпус, 3 - переднее уплотнение. Рабочее колесо 4 сидит на валу 9 и крепится с помощью гайки 5. Узел уплотнения включает набивку сальника 6, которая поджимается крышкой 8, для защиты вала от износа служит втулка 7. Вал 9 установлен в подшипниках качения 11.
В системах теплоснабжения применяются насосы:
1) СЭ для перегретой воды температурой 120 и 180.
2) СД двухстороннего всасывания для перегретой воды с теми же параметрами.
3) Д с двусторонним подводом потока (двусторонние);
4) К и КМ консольные одноступенчатые с горизонтальным валом;
5) Кс, КсД, КсВ, КсВД конденсатные (с температурой до 120).
Рабочее колесо представляет собой отливку из чугуна или, в специальных случаях, из бронзы.
Корпус насоса служит для подвода и отвода потока от колеса, преобразования кинетической энергии в потенциальную, а также для объединения всех неподвижных деталей насоса в один общий узел статор.
Для восприятия радиальных и осевых нагрузок, действующих на ротор, применяются подшипники качения или скольжения.
В местах выхода вала из корпуса устанавливают уплотнения, обычно сальникового типа. Действие сальникового уплотнения заключается в том, что набивка, сжимаемая втулкой, раздаётся в стороны и прижимается к движущейся поверхности вала. Этим достигается уплотнение между вращающимся валом и неподвижным корпусом.
По числу рабочих колёс насосы могут быть одно- и многоступенчатыми. По положению вала - вертикальные и горизонтальные. По назначению для воды (холодной, горячей, чистой или с примесями), для жидких химических реактивов, вязких жидкостей.
Борьба с осевыми усилиями в центробежных насосах.
Осевые силы возникают в центробежных нагнетателях в результате наличия разных по значению и направлению давлений, действующих на рабочие колёса с передней (обращённой к всасыванию) и задней сторон. Кроме того, осевая сила возникает в результате динамического действия потока, входящего в рабочее колесо. В крупных многоступенчатых центробежных насосах осевые силы могут достигать нескольких десятков тонн.
Один из способов уменьшения осевого усилия состоит в выравнивании давления с обеих сторон рабочего колеса. Этого можно добиться путём высверливания нескольких отверстий в заднем диске рабочего колеса близ ступицы, либо при помощи специальных соединительных трубок, соединяющих область с низким давлением (вход в колесо) и область высокого давления (за рабочим колесом). Недостатком такого способа является снижение объёмного к.п.д. насоса за счёт перетекания части потока через отверстия (или трубки).
Другой способ состоит в использовании разгрузочного диска (гидравлической пяты).
Наиболее рациональной конструкцией центробежных насосов, в которых осевое давление практически неощутимо, является конструкция насосов двухстороннего всасывания (типа Д). Подвод потока к двусторонним колёсам осуществляется с двух сторон и осевые усилия взаимно компенсируются. Обычно это насосы с горизонтальным разъёмом корпуса, причём выходной патрубок расположен в нижней части, что позволяет проводить ремонт насоса при снятой верхней части корпуса без отсоединения трубопроводов. Кроме того, усилено уплотнение.
Рабочие колёса всех насосов имеют лопатки, загнутые назад.
Аэро-гидродинамика и элементы конструкций осевых нагнетателей.
Для рассмотрения работы осевых нагнетателей используется теория плоских решеток профилей. Если через лопастную систему осевого нагнетателя (рис.10.1) провести цилиндрическое сечение радиусом r и затем развернуть его на плоскость, то получится так называемая плоская решетка профилей. Основные геометрические параметры решетки: t - шаг лопастей, равный расстоянию между сходственными точками соседних профилей (рис.10.2); b - хорда профиля; - угол установки лопасти. Каждый из профилей характеризуется еще толщиной с, и стрелкой прогиба f. В расчетах используются относительные величины: с=с/b и f=f/b, а также густота решетки =b/t.
Все относительные размеры получаются путём деления размера на величину хорды лопатки.
Рис. 10.1 Схема осевого нагнетателя Рис. 10.2 Решётка профилей осевого
нагнетателя
На рис.10.2 также показаны треугольники скоростей на входе и на выходе из решетки профилей: u1; w1; c1 - соответственно переносная, относительная и абсолютная скорости на входе и u2; w2; c2 - на выходе, wср. - средняя геометрическая относительная скорость в решетке: wср.=(w1+w2)/2.
Если провести вокруг профиля замкнутый контур S (рис.10.2) и обозначить через угол между скоростью w и касательной к контуру, то для определения циркуляции скорости Г необходимо вычислить интеграл (рис.10.3)
Или через тангенцильные составляющие относительной скорости на входе w1u и на выходе w2u циркуляция для всей лопаточной системы рабочего колеса:
Гк=(w2u-w1u)t.
Но из уравнения Эйлера (3.4), которое в равной мере относится и к центрабежным и к осевым машинам
w2u-w1u=рт/u
поскольку для осевого нагнетателя u2=u1=u; w1u-w2u=с2u-с1u.
Таким образом,
Рт=rГкu/t.
Или, переходя к безразмерным величинам:
т=2Гк,
где т=Рт/u2/2; Гк=Гк/ut.
Расчет величин Гк и теоретических аэродинамических характеристик осевого нагнетателя для заданных геометрических параметров изложен в книге И.В.Брусиловского «Аэродинамический расчёт осевых вентиляторов».
Величина циркуляции позволяет вычислить подъемную силу профиля, т.е. составляющую силы, действующей со стороны потока на профиль по направлению, перпендикулярному к вектору wср (рис. ) с помощью известной теоремы Н.Е.Жуковского:
Ру=wсрГ
При переходе от теоретического давления Pт к p необходмио так же учесть потери давления в элементах проточной части: p=Pт-P.
Потери в проточной части связаны, с одной стороны, с обтеканием лопастной системы (профильные потери), с другой стороны, с трением на цилиндрических поверхностях корпуса и втулки рабочего колеса, а также с перетеканиями жидкости через зазоры между концами лопастей и корпусом (вторичные). При расчёте величина потерь может быть определена по экспериментальным данным, приведенным, например, в упомянутой выше книге И.В.Брусиловского.
В настоящее время выпускаются осевые вентиляторы общепромышленного назначения с листовыми лопатками по двум аэродинамическим схемам: В.06-300 и В.2.3-130.
Рабочее колесо вентилятора В.06-300 состоит из цилиндрической втулки с тремя приваренными листовыми лопатками. Угол лопатки составляет =22 на среднем радиусе.
В отличие от них вентиляторы В.2.3-130 имеют кроме рабочего колеса выходной спрямляющий аппарат. Рабочее колесо имеет 12 листовых лопаток с углом =36.
Ряд типоразмеров этих вентиляторов включает номера от 4 до 10.
Работа нагнетателя в сети