Расчет посадок
PAGE \* MERGEFORMAT 2
БЕЛОРУССКИЙ ГОСУДАРСТВЕННЫЙ ИНСТИТУТ ПОВЫШЕНИЯ КВАЛИФИКАЦИИ И ПЕРЕПОДГОТОВКИ КАДРОВ ПО СТАНДАРТИЗАЦИИ.
МЕТРОЛОГИИ И УПРАВЕНИЮ КАЧЕСТВОМ
КОНТРОЛЬНАЯ РАБОТА
слушателя Дьяковой Татьяны Анатольевны
фамилия, имя, отчество
группа С 14 02
ТЕМА РАБОТЫ
«Расчет посадок»
Проверил_______________
СОДЕРЖАНИЕ
|
1 РАСЧЕТ ПОСАДОК ГЛАДКИХ ЦИЛИНДРИЧЕСКИХ СОЕДИНЕНИЙ
|
4 4 4 6 |
|
2 Выбор, ОБОСНОВАНИЕ и расчет посадОк подшипника качения 2.1 Задание 2.2 Расчет посадок подшипника качения 6-316 |
10 10 10 |
|
3 ВЫБОР, ОБОСНОВАНИЕ И Расчет шпоночных посадок 3.1 Задание 3.2 Выбор, обоснование и расчет посадок шпоночного соединения |
15 15 15 |
|
Библиография Перечень нормативных документов |
20 20 |
1 Расчет посадок гладких цилиндрических соЕДИНЕНИЙ
1.1 Задание
Для гладких цилиндрических сопряжений 16 P7/h6 и 180 K8/h6 провести расчет одной посадки с зазором (натягом) и одной переходной посадки. Построить схемы расположения полей допусков; определить идеальные размеры сопрягаемых деталей; рассчитать зазоры (натяги) табличные и вероятные; допуск посадки. Для переходных посадок определить вероятность получения зазоров (натягов).
1.2 Расчет посадки с натягом 16 P7/h6
Предельные отклонения и размеры для отверстия 16 P7:
По ГОСТ 25346-89 определяем величину допуска IT7 = 18 мкм;
По ГОСТ 25346-89 определяем значение основного отклонения:
Верхнее: ES=-18+7=-11
Нижнее отклонение EI = ES + IT = -11 + (-18) = -29 мкм.
Предельные размеры отверстия:
Dmax = Dн + ES = 16,000 +(-0,011) = 15,989 мм;
Dmin = Dн + EI = 16,000 + (-0,029) = 15,971мм.
Рассчитываем предельные размеры вала 16 h6:
По ГОСТ 25346-89 определяем величину допуска IТ6 = 11 мкм;
По ГОСТ 25346-89 определяем значение основного отклонения
es = 0 мкм;
Нижнее отклонение: ei = es - IT = 0 - 11 = -11 мкм.
Предельные размеры вала:
dmin = dн + ei = 16,000 - 0,011 = 15,989 мм;
dmax = dн + es = 16,000 0 = 16,000 мм.
Результаты расчетов представлены в виде таблицы 1.1.
Таблица 1.1 Предельные отклонения и размеры сопряжения
|
Диаметр, мм |
IT, мкм |
ES(es), мкм |
EI(ei), мкм |
Dmin(dmin), мм |
Dmax(dmax), мм |
|
16 Р7 |
18 |
-11 |
-29 |
15,971 |
15,989 |
|
16 н6 |
11 |
0 |
-11 |
15,989 |
16,000 |
Определяем предельные натяги:
Nmax = Dmax dmin = 16,000 15,971= 0,029мм = 29 мкм;
Nmin = Dmin dmax = 15,989 15,989= 0,000 мм = 0 мкм;
Nср = (Nmax + Nmin)/2 = (29 + 0)/2 = 14,5 мкм.
Допуск посадки:
TS = IT(D) + IT(d) = 18 + 11 = 29 мкм.
Строим схему расположения полей допусков сопрягаемых деталей (рисунок 1.1).

Рисунок 1.1 - Схема расположения полей допусков посадки 16 Р7/h6
Принимаем нормальный закон распределения случайных погрешностей и рассчитываем предельные значения вероятностных зазоров:
N = = 3,516 мкм.
Nmax вер = Nср + 3N = 14,5 + 3·3,516 = 25,048 мкм;
Nmin вер = Nср 3N = 14,5 - 3·3,516 = 3,952 мкм.
График распределения вероятностных натягов показан на рисунке 1.2.

Рисунок 1.2 - Распределение вероятных натягов в посадке 16 P7/h6
1.3 Расчет посадки переходной 180 К8/h6
Предельные отклонения и размеры для отверстия 180 К8 по (ГОСТ25346-89) :
IT8 = 63 мкм
ES = 20 мкм
EI = -43 мкм.
Dmin = Dн + EI = 180,000 - 0,043 = 179,957 мм;
Dmax = Dн + ES = 180,000 + 0,020 = 180,020 мм.
Предельные размеры вала 180 h6 по (ГОСТ25346-89) :
IТ6 = 25 мкм
ei = -25 мкм
es = 0
dmin = dн + ei = 180,000 - 0,025 = 179,975 мм;
dmax = dн + es = 180,000 +0 = 180,000 мм.
Результаты представлены в виде таблицы 1.2.
Таблица 1.2 Предельные отклонения и размеры сопряжения
|
Диаметр, мм |
IT, мкм |
ES(es), мкм |
EI(ei), мкм |
Dmin(dmin), мм |
Dmax(dmax), мм |
|
180 K8 |
63 |
+20 |
-43 |
179,957 |
180,020 |
|
180 h6 |
25 |
0 |
-25 |
179,975 |
180,000 |
Dср = (Dmax + Dmin)/2 = (180,020 + 179,957)/2 = 179,9885 мм;
dср = (dmax + dmin)/2 = (180,000 + 179,975)/2 = 179,9875 мм.
Smax = Dmax dmin = 180,020 179,975 = 0,045 мм = 45 мкм;
Nmax = dmax Dmin = 180,000 - 179,957 = 0,043 мм = 43мкм.
TS, N = IT(D) + IT(d) =63 + 25 = 88 мкм.
Строим схему расположения полей допусков сопрягаемых деталей (рисунок 1.3).

Рисунок 1.3 - Схема расположения полей допусков посадки 180 K8/h6
Принимаем нормальный закон распределения случайных погрешностей и рассчитываем предельные значения вероятностных зазоров (натягов). В рассматриваемом сопряжении Dср > dср, поэтому более вероятно возникновение зазоров.
S,N = = 0,0114мм.
M S,N = (Smax - Nmax)/2 = (45 - 43)/2 = 1 мкм.
Smax вер = Mср + 3S,N = 1,0 + 3·11,4 = 35,2 мкм;
Smin вер = Mср 3S,N = 1,0- 3·11,4 = -33,2 мкм;
Nmax вер = 28 мкм.
Считаем, что размеры отверстия и вала распределены по нормальному закону. В этом случае можно считать, что распределение натягов и зазоров также будет подчиняться нормальному закону, а вероятности их получения определяются с помощью функции Лапласа Ф(z) ,где z = M S,N /.
Так как MS,N = 0,001 мм; S,N = 0,0114 мм,
то z = 0,001/0,0114=0,09
По найденому значению z по таблице определяем функцию Ф(z)
Ф(z) = 0,359
Определяем вероятность получения натягов и зазоров в посадке,
Если МS(N)0, то
РN=0,5- Ф(z) = 0,5 0,359 = 0,141
РS=0,5+ Ф(z) = 0,5 + 0,359 = 0,859
Таким образом, вероятность получения зазоров в сопряжении 180 K8/h6 составляет P(S) = 14,1%; вероятность получения натягов P(N) = 85,9%.
График распределения вероятностных натягов (зазоров) показан на рисунке 1.4.

Рисунок 1.4 - Распределение вероятностных натягов (зазоров) в посадке 180 K8/h6
2 Выбор, ОБОСНОВАНИЕ и расчет посадок подшипника качения
2.1 Задание
Для подшипникового узла (подшипник качения 6-316, режим работы - нормальный) выбрать и обосновать посадку по наружному (местное нагружение) и внутреннему (циркуляционное нагружение) диаметрам. Построить схемы расположения полей допусков сопрягаемых деталей, рассчитать предельные размеры сопрягаемых деталей; зазоры (натяги); выполнить эскизы сопрягаемых с подшипником деталей.
2.2 Расчет посадок подшипника качения 6-316
Данный подшипник относится к шариковым радиальным однорядным открытым, серия диаметров средняя, серии ширин нормальная. Основные размеры подшипника:
- номинальный диаметр отверстия внутреннего кольца подшипника d = 80 мм;
- номинальный диаметр наружной цилиндрической поверхности наружного кольца D = 170 мм;
- номинальная ширина подшипника B = 39 мм;
- номинальная высота монтажной фаски r = 3,5 мм.
Из заданного режима нагружения колец следует, что передача крутящего момента осуществляется зубчатыми колёсами, в зубчатом зацеплении действует радиальная нагрузка, постоянная по направлению и по значению; вал вращается, а корпус неподвижен. Режим работы подшипникового узла - нормальный.

Рисунок 2.1 Схема нагружения подшипника
ГОСТ 3325 для такого случая рекомендует поля допусков цапфы вала, сопрягаемой с кольцом подшипника качения k6 или js6. Выбираем поле k6, которое обеспечивает посадку с натягом. Так же на основании рекомендаций стандарта выбираем поле допуска отверстия корпуса Н7. Предельные отклонения средних диаметров колец подшипника качения определяем по ГОСТ 520, предельные отклонения вала 80k6 и отверстия корпуса 80Н7 по ГОСТ 25347-82 . Расчеты сводим в таблицы 2.1 и 2.2.
Таблица 2.1 - Предельные размеры колец подшипников качения
|
Размер, мм |
ES (es), мкм |
EI (ei), мкм |
Dп max (dп max), мм |
Dп min (dп min), мм |
|
dп = 80 |
0 |
- 12 |
80,000 |
79,988 |
|
Dп = 170 |
0 |
- 18 |
170,000 |
169,982 |
Таблица 2.2 -Предельные размеры цапфы вала и отверстия корпуса
|
Размер, мм |
ES (es), мкм |
EI (ei), мкм |
Dп max (dп max), мм |
Dп min (dп min), мм |
|
d = 80 |
+21 |
+ 2 |
80,021 |
80,002 |
|
D = 170 |
+40 |
0 |
170,040 |
170,000 |
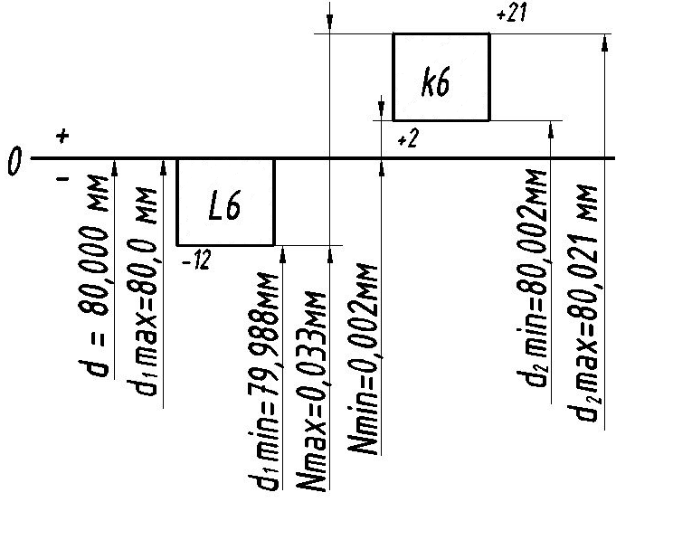
Строим схемы расположения полей допусков сопрягаемых деталей подшипникового узла и рассчитываем зазоры (натяги).
По dп:
Nmax = dmax dп min = 80,021 79,988 = 0,033 мм = 33 мкм;
Nmin = dmin dп max = 80,002 80,000 = 0,002 мм = 2 мкм;
Ncp = (Nmax + Nmin)/2 = (33 + 2)/2 = 17,5 мкм.

Рисунок 2.2 - Схема расположения полей допусков сопряжения 80 L6/k6
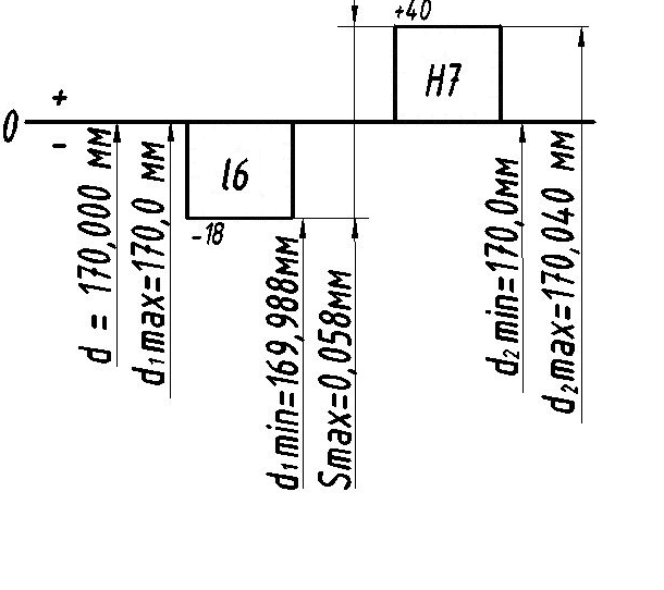
По Dm:
Smax = Dmax Dп min = 170,040 169,982= 0,058 мм = 58 мкм;
Smin = Dmin Dп max = 170,000 170,000 = 0;
Scp = (Smax + Smin)/2 = (58 + 0)/2 = 29 мкм;
TS = ITDm + ITD = 40 + 18= 58 мкм.

Рисунок 2.3 - Схема расположения полей допусков сопряжения 170Н7/l6
Производим проверку наличия в подшипнике качения радиального зазора, который уменьшается по причине натяга при посадке подшипника на вал. В расчетах принимаем среднее значение натяга и среднее значение зазора в подшипнике как наиболее вероятные.
Ncp = 17,5 мкм;
Nэфф = 0,85·17,5 = 14,9 мкм = 0,0149 мм;
d0 = dп +(Dп dп)/4 = 80,000 + (170,000 80,000)/4 = 102,5 мм;
d1 = Nэфф·dm / d0 = 0,0149·80,0/102,5 = 0,0116 мм = 11,6 мкм.
По ГОСТ 24810 определяем предельные значения теоретических зазоров в подшипнике 6-316 до сборки:
Gr min = 8 мкм; Gr mах = 28 мкм.
Средний зазор в подшипнике 316 определяется как полусумма предельных теоретических зазоров
Gr cp = ( Gr min + Gr mах)/2 = (8 + 28)/2 = 18 мкм.
Тогда Gпос = Gr cp d1 = 18 11,6 =6,4 мкм.
Расчёт показывает, что при использовании посадки 80L6/k6 по внутреннему диаметру зазор в подшипнике качения после посадки будет положительным.
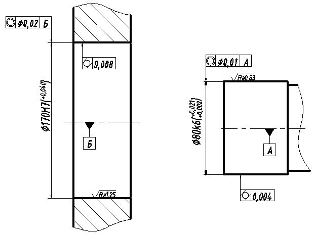
На чертежах общего вида выбранные посадки подшипника качения обозначаются:
- на вал 80L6/k6, где L6 поле допуска внутреннего кольца подшипника нормального класса точности; k6 поле допуска вала.
- в корпус 170Н7/l6, где Н7 поле допуска отверстия корпуса; l6 поле допуска наружного кольца подшипника нормального класса точности.
Шероховатость посадочных поверхностей, сопрягаемых с кольцами подшипника деталейПо ГОСТ 3325 выбираем требования к шероховатости
- посадочной поверхности вала под кольцо подшипника Rа 0,63;
- посадочной поверхности корпуса под кольцо подшипника Rа 1,25;

Рисунок 2.4 Эскиз сопрягаемых деталей подшипникового соединения
3 ВЫБОР, ОБОСНОВАНИЕ И Расчет шпоночных посадок
3.1 Задание
Для шпоночного соединения (диаметр вала 40 мм, длина шпонки 32 мм, вид соединения - свободное) выбрать размеры, обосновать вид сопряжения, построить схемы расположения полей допусков, рассчитать предельные размеры сопрягаемых элементов, зазоры (натяги). Выполнить эскизы сечения.
3.2 Выбор, обоснование и расчет посадок шпоночного соединения
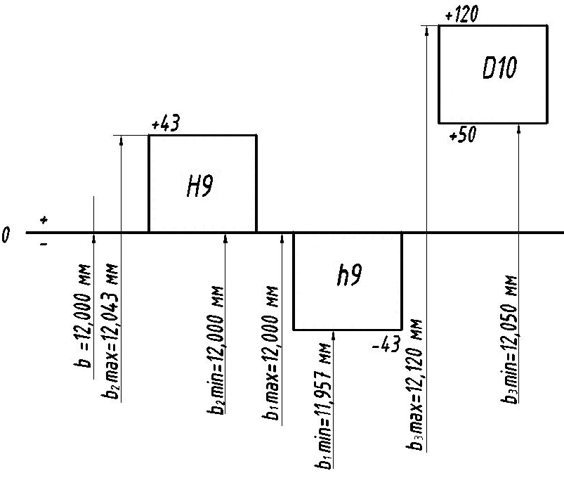
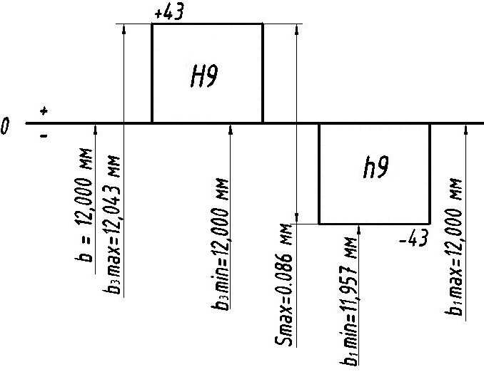
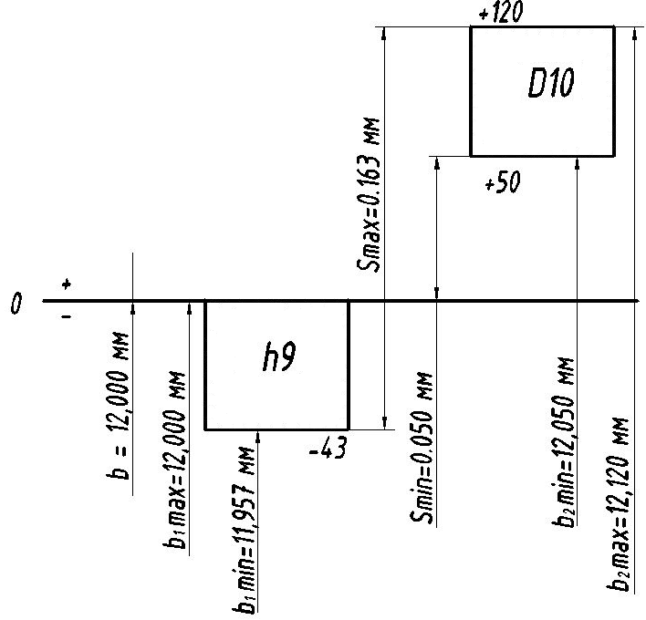
По ГОСТ 23360 выбираем размеры шпонки: , ; . Условное обозначение шпонки: 12х8х32 ГОСТ 23360-78. Для вала при свободном соединении выбираем поля допусков: ширина шпонки ; ширина паза на валу ; ширина паза во втулке .
: es = 0,0 мм; ei = -0,043 мм.
: es = +0,043 мм; ei =0,0.
: es = +0,120 мм; ei = +0,050 мм.

Рисунок 3.1 Схема расположения полей допусков шпоночного соединения
Рассчитаем табличные зазоры по размеру :
- соединение шпонки с пазом вала
.

Рисунок 3.2 - Схема расположения полей допусков соединения «шпонка вал»
- соединение шпонки с пазом втулки

Рисунок 3.3 - Схема расположения полей допусков соединения «шпонка паз втулки»
Рассчитаем табличные зазоры по размеру :
- глубина паза вала
;
- высота шпонки
;
- глубина паза втулки
;
Smax = t1 max + t2 max hmin = 5,20+3,50 8,0 = 0,70 мм
Smin = t1 min + t2 min hmax = 5,0 + 3,3 8,090 = 0,21 мм
Рассчитаем табличные зазоры по размеру :
- длина шпонки
;
- длина паза вала
;
Тогда

Рисунок 3.4 - Схема расположения полей допусков соединения по длине шпоночного паза
Числовые значения допусков расположения определяем из соотношения:
;
.
Полученные значения округляем до стандартных по ГОСТ 24643 ; .
Шероховатость боковых поверхностей шпоночного паза Ra3.2; для паза Ra6,3. Контроль ширину пазов вала и втулки осуществляется специальными предельными калибрами; глубину паза во втулке пробками со ступенчатой шпонкой; глубину паза на валу кольцевыми калибрами с проходной/непроходной ступенью.

Рисунок 3.5 Эскиз сечений шпоночного соединения
Библиография
1. Соломахо В.Л. и др. Справочник конструктора-приборостроителя. В 2-х томах. Т. 1. Минск: Высш. школа, 1988.; Т.2. Минск: Высш. школа, 1990
Перечень нормативных документов
- ГОСТ 25346-89 «Единая система допусков и посадок. Общие положения, ряды допусков и основных отклонений».
- ГОСТ 3325-85 «Подшипники качения. Поля допусков и технические условия к посадочным поверхностям валов и корпусов. Посадки».
- ГОСТ 520-89 «Подшипники качения. Общие технические условия».
- ГОСТ 2789-73 «Шероховатость поверхности. Параметры, характеристики и обозначения».
- ГОСТ 24643-81 «Допуски формы расположения поверхностей. Числовые значения».
Расчет посадок