НАЗНАЧЕНИЕ И КЛАССИФИКАЦИЯ СТАНЦИЙ И УЗЛОВ
НАЗНАЧЕНИЕ И КЛАССИФИКАЦИЯ СТАНЦИЙ И УЗЛОВ
План лекции
1. Железнодорожные станции, их классификация
2. Виды станций, их назначение
3. Железнодорожные узлы
1. Железнодорожные станции, их классификация
Все железнодорожные линии делятся на перегоны или блок-участки. Пункты, которые делят железнодорожные линии на перегоны или блок-участки, называются раздельными. К ним относятся: разъезды, обгонные пункты, станции, узлы.
Станции обеспечивают движение поездов по графику; отправление всех поездов в строгом соответствии с планом формирования поездов; исправными в техническом и коммерческом отношениях; обеспечивают безопасность движения при выполнении операций по приему, отправлению и пропуску поездов, производству маневров, размещению и креплению грузов, перевозимых на открытом подвижном составе; сохранность перевозимых грузов; безопасное обслуживание и перевозку пассажиров по железным дорогам.
В зависимости от функционального назначения станции подразделяются на промежуточные, участковые, сортировочные, грузовые и пассажирские.
На станциях выполняются следующие операции:
·прием, отправление и безостановочный пропуск пассажирских и грузовых поездов;
·маневры со сборными и вывозными поездами;
·маневры по подаче и уборке вагонов от грузовых фронтов;
·выгрузка, погрузка и хранение грузов, оформление грузовых документов и платежей;
·продажа билетов, посадка и высадка пассажиров, прием, выдача и хранение багажа и почты;
·сортировку вагонов по назначениям.
Для безопасного и своевременного выполнения указанной работы промежуточные станции имеют:
·путевое развитие;
·пассажирские здания, платформы, пешеходные тоннели или мостики;
·грузовой район, включающий склады, площадки, погрузочно-выгрузочные механизмы, автомобильные подъезды;
·устройства связи, СЦБ, электроснабжения, освещения, водоснабжения, канализации и теплоснабжения.
Также в зависимости от расположения устройств, путей и парков путей все станции делятся на типы:
а) станции поперечного типа располагаются на относительно небольшой, но широкой площадке, длина которой определяется длиной приемоотправочных путей с учетом стрелочных горловин. Приемоотправочные пути располагаются по одну сторону от главных путей;
б) станции с полупродольным расположением путей размещают там, где длина станционной площадки не позволяет разместить станцию продольного типа. По эксплуатационным показателям станции этого типа немного хуже станций продольного типа, так как у этих станций нет прямого выхода с путей одного направления на пути другого направления;
в) станции продольного типа требуют более протяженной площадки. На таких станциях приемоотправочные пути для противоположных направлений находятся по обе стороны от главных путей. При этом имеется прямой выход из одного парка в другой.
2. Виды станций, их назначение
Промежуточные станции наиболее распространенный вид раздельных пунктов на сети железных дорог. Их размещают на однопутных, двухпутных и многопутных линиях на расстоянии от 20 до 40 км между ними. Эти станции обеспечивают пропуск грузовых поездов без остановок, а также прием и отправление поездов, имеющих остановки (как правило, сборные и вывозные поезда).
Промежуточные станции бывают обычные и опорные. На опорных станциях концентрируется грузовая и коммерческая работа по обслуживанию населенных пунктов района тяготения.
Характер работы промежуточных станций определяется организацией пропуска поездов различных категорий (пассажирские, обычные грузовые, ускоренные, соединенные), методами обработки сборных и вывозных поездов, с которыми прибывают (или отправляются) вагоны под погрузку выгрузку, и обслуживанием подъездных путей промышленных предприятий.
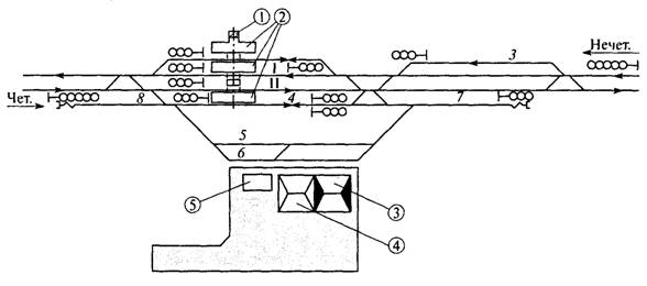
Для выполнения перечисленных операций имеются соответствующие пути, погрузочно-выгрузочные механизмы; устройства связи, СЦБ и др. (рис. 1).

Рис. 1. Схема промежуточной станции: I, II главные пути; 3,4 приемоотправочные; 5,6 погрузочно-выгрузочные; 7 вытяжные; 8 предохранительные тупики; 1 пассажирское здание; 2 платформы; 3, 4 грузовые склады; 5 площадки.
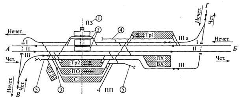
Участковые станции. Основное их назначение обработка транзитных поездов, смена локомотивов и локомотивных бригад, формирование и расформирование участковых и сборных поездов, выполнение пассажирских, грузовых и коммерческих операций. Схема узловой участковой станции представлена на рис. 2.
Сортировочные станции. Они располагаются в пунктах слияния нескольких железнодорожных направлений, в крупных промышленных центрах, в районах массовой погрузки и выгрузки грузов (вблизи речных и морских портов, добывающих бассейнов) и предназначены для массовой сортировки вагонов в прибывающих составах путем расформирования и формирования сквозных, участковых, сборных, участково-сборных, вывозных и передаточных поездов в соответствии с планом формирования. Сортировочные станции на сети железных дорог являются решающими опорными пунктами в организации вагонопотоков и в выполнении важнейших показателей перевозочной работы.

Рис. 2. Схема узловой участковой станции:1 пассажирское здание, 2 пассажирские платформы, 3 сортировочная горка малой мощности, 4 локомотивный тупик, 5 вытяжные пути, Тр1 нечетный транзитный парк, Тр2 четный транзитный парк, С сортировочный парк, ЛХ, ВХ локомотивное и вагонное хозяйство, ГД грузовой двор, ПП подъездной путь
Схема односторонней сортировочной станции дана на рис. 3.

Рис. 3 Схема односторонней сортировочной станции: П парк прибытия, Г сортировочная горка, С сортировочный парк, О парк отправления, Тр1 нечетный транзитный парк, Тр2 четный транзитный парк, ЛХ локомотивное хозяйство, ВХ вагонное хозяйство, ГД грузовой двор
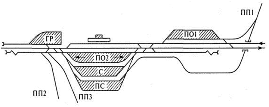
Грузовые станции. Основными операциями на них являются грузовые. Эти станции предназначены для приема к перевозке, взвешивания, кратковременного хранения, погрузки, выгрузки, сортировки и выдачи грузов, оформления перевозочных документов; приема, расформирования, формирования и отправления грузовых поездов, передач вагонов; производства маневров по подаче и уборке вагонов, обслуживания подъездных путей и организации транспортно-экспедиционного обслуживания грузоотправителей и грузополучателей. Схема грузовой станции, обслуживающей примыкающие подъездные пути, приведена на рис. 4.
Грузовые станции подразделяются:
на станции общего пользования;
станции примыкания подъездных путей;
портовые;
перегрузочные.
Разновидностями грузовых специализированных станций являются углепогрузочные, нефтеналивные, лесопогрузочные, зерновые.

Рис. 4. Схема грузовой станции, обслуживающей примыкающие подъездные пути: ПО1, ПО2 приемо-отправочные парки, ПП1, ПП2 подъездные пути, С сортировочный парк, ПС приемо-сдаточный парк, ГР грузовой район.
Пассажирские станции. Они расположены в крупных городах и промышленных центрах со значительным объемом пассажирских перевозок, предназначены для обслуживания пассажиров и выполнения операций с пассажирскими поездами различных категорий.
Все операции, выполняемые на пассажирских станциях, подразделяются на два основных вида технические и по обслуживанию пассажиров.
Технические операции заключаются в приеме и отправлении пассажирских поездов, подготовке составов в рейс для перевозки пассажиров, техническом осмотре и снабжении составов транзитных поездов и пр.
Обслуживание пассажиров заключается в продаже билетов, организации отдыха пассажиров, в том числе с детьми, приеме, хранении и выдаче багажа и грузобагажа.
По характеру выполнения работы пассажирские станции делятся на три основных вида: собственно пассажирские, где производятся операции по обслуживанию и пропуску пассажирских поездов, а также все операции по оформлению проезда пассажиров и перевозки багажа и грузобагажа.
Технические пассажирские станции имеют пути и устройства для экипировки, ремонта, дезинфекции и отстоя пассажирских составов, начинающих и заканчивающих свое следование на этой станции. Объединенные пассажирские станции выполняют все операции как собственно пассажирских, так и технических станций.
В зависимости от объемов пассажирских, грузовых и технических операций и сложности выполняемых работ станции делятся на внеклассные, I(первого), II (второго), III (третьего), IV (четвертого) и V (пятого) классов. Классность станций устанавливается на основе оценки показателей достигнутого уровня объема работы в условных единицах сумма баллов.
Железнодорожные узлы
Железнодорожные узлы это пункты слияния или пересечения нескольких линий, а также пункты расположения на одном направлении нескольких станций, технически связанных друг с другом, в которых помимо обычных участковых и других станционных операций осуществляется пропуск транзитных пассажирских и грузовых поездов и передача групп вагонов с одной линии на другую, перевозка пассажиров, переработка грузовых поездов с сортировкой вагонов на примыкающих направлениях, а также на отдельные станции узла и промышленные районы.
Железнодорожные узлы обычно классифицируют по следующим основным признакам:
·характеру эксплуатационной работы;
·экономико-географическому расположению;
·геометрическому начертанию их конструкций.
В связи с этим железнодорожные узлы имеют схемы: с одной станцией, тупикового типа, треугольного типа, узлы крестообразного типа и другие (рис. 5).
Система оперативного управления работой железнодорожного узла относится к сложным человеко-машинным системам, состоящим из многочисленных взаимодействующих элементов. Изменение в работе хотя бы одного элемента немедленно отражается на функционировании всей системы.

Рис. 5. Схема железнодорожного узла
Организация и управление работой узла требует рационального распределения ее между всеми элементами узла, организации своевременного подвода к узлу вагонов и системы передаточного движения поездов внутри узла, информационного обеспечения, взаимной ответственности транспортников и клиентуры за выполнение норм простоев вагонов, создание автоматизированных систем управления работой объектов узла.
Контрольные вопросы
1. Как классифицируются раздельные пункты?
2. Какие основные операции выполняются на станциях?
Какие типы станций вы знаете? Опишите их назначение.
4. Как станции различаются по классам?
5. Какие пункты называются железнодорожными узлами?
6. По каким признакам классифицируются узлы?
БИБЛИОГРАФИЧЕСКИЙ СПИСОК
- Боровикова, М.С. Организация движения на железнодорожном транспорте : учеб. для техникумов и колледжей железнодорожного транспорта / М.С. Боровикова. М.: Маршрут, 200 368 с.
- Каликина, Т.Н. Технический комплекс железнодорожного транспорта и технологическое управление : учеб. пособие / Т.Н. Каликина, Т.А. Одуденко. Хабаровск: Изд-во ДВГУПС, 2008. 104 с.
- Ковалев, В.И. Организация вагонопотоков на сети железных дорог России в условиях реформирования отрасли. СПб.: Информ. центр «Выбор», 2002. 144 с.
- Кочнев Ф.П. Пассажирские перевозки на железнодорожном транспорте : учеб. для студентов вузов / Ф.П. Кочнев. М.: Транспорт, 1980. 496 с.
- Основы эксплуатационной работы железных дорог: учеб. пособие для студентов среднего проф. образования / В.А. Кудрявцев, В.И. Ковалев, А.П. Кузнецов [и др.] ; под ред. В.А. Кудрявцева. М.: ПрофОбрИздат, 2002. 352 с.
- Правила технической эксплуатации железных дорог Российской Федерации [Текст]: (ЦРБ-756): Утверждены Минтрансом России 21.12. 2010 г. М.: Техинформ, 2012. 519 с.
- Устав железнодорожного транспорта Российской Федерации о железнодорожном транспорте в Российской Федерации № 18-ФЗ от 10 января 2003 г. М.: «Книга сервис». 200 96 с.
PAGE \* MERGEFORMAT1
НАЗНАЧЕНИЕ И КЛАССИФИКАЦИЯ СТАНЦИЙ И УЗЛОВ