ЛАЗЕРЫ НА ОСНОВЕ КОНДЕНСИРОВАННЫХ СРЕД
Контрольная работа
ЛАЗЕРЫ НА ОСНОВЕ КОНДЕНСИРОВАННЫХ СРЕД
Содержание
Введение
1. Специфика оптической накачки активной среды лазера
2. Квантовые приборы с оптической накачкой, работающие по “трёхуровневой схеме”
2.1. Теоретический анализ трёхуровневой схемы
2.2. Рубиновый лазер
2.3. Эрбиевый волоконно-оптический квантовый усилитель
3. Лазеры с оптической накачкой, работающие по “четырёхуровневой схеме”.
3.1. Теоретический анализ четырёхуровневой схемы
3.2. Неодимовый лазер
3.3. Преобразование частоты излучения в нелинейной среде
3.4. Перестраиваемые лазеры на красителях
3.5 Перестраиваемый лазер на сапфире, легированном титаном
3.6. Перестраиваемые лазеры на центрах окраски
3.7. Волоконные лазеры
4. Параметрическая генерация света
5. Полупроводниковые лазеры
5.1. Принцип действия
5.2. ДГС-лазеры
5.3. РОС- и ВРПИ-лазеры
СПИСОК ЛИТЕРАТУРЫ
Введение
К лазерам на основе веществ в конденсированном состоянии относятся лазеры, активная среда которых создаётся:
1) в твёрдых телах главным образом в диэлектрических кристаллах и стёклах, где активными частицами являются легирующие кристалл ионизированные атомы актиноидов, редкоземельных и других переходных элементов, а также в кристаллах, обладающих свойствами полупроводника,
2) в жидкостях, в состав которых вводятся активные частицы молекулы органических красителей.
В этих средах вынужденное лазерное излучение возникает за счёт индуцированных излучательных переходов (см., раздел 1) между энергетическими уровнями ионов-активаторов или термами молекул. В полупроводниковых структурах вынужденное излучение возникает в результате рекомбинации свободных электронов и дырок. В отличие от газовых лазеров (см., раздел 4) инверсия населённостей в твёрдотельных и жидкостных лазерах всегда создаётся на переходах, близкорасположенных к основному энергетическому состоянию активной частицы.
Поскольку диэлектрические кристаллы не проводят электрический ток, то для них а также и для жидких сред используется т.наз. оптическая накачка накачка лазерного перехода оптическим излучением (светом) от вспомогательного источника.
В полупроводниковых лазерах чаще используется накачка электрическим током (инжекционным током), протекающим через полупроводник в прямом направлении, реже другие типы накачки: оптическая накачка, либо накачка бомбардировкой электронами.
1. Специфика оптической накачки активной среды лазера
Важной особенностью ОН является её селективность, а именно: подбором длины волны излучения ОН можно избирательно возбуждать нужное квантовое состояние активных частиц. Найдём условия, обеспечивающие максимальную эффективность процесса возбуждения активных частиц за счёт оптической накачки (ОН), в результате чего активная частица испытывает квантовый переход из энергетического состояния i в вышерасположенное по шкале энергии возбуждённое состояние k. Для этого воспользуемся выражением для мощности излучения источника ОН, поглощаемой активными частицами облучаемой среды (см., раздел 1.9)
. (1)
В (1) входят частотная зависимость спектральной плотности энергии излучения источника ОН и функция формы линии поглощения среды, т.е. её частотная зависимость (форм-фактор) .
Очевидно, что скорость поглощения и величина поглощаемой мощности будут максимальными, когда:
1) концентрация частиц в состоянии i будет наибольшей, т.е. ОН эффективна при высокой плотности активных частиц, а именно, из всего многообразия сред для сред, находящихся в конденсированном состоянии (твёрдых тел и жидкостей);
2) В состоянии ТДР распределение частиц по состояниям с различными значениями внутренней (потенциальной) энергии описывается формулой Больцмана, а именно: максимальной заселённостью обладает основное (низшее) энергетическое состояние частицы и ансамбля в целом. Отсюда следует, что состояние i должно являться основным энергетическим состоянием частицы;
3) для возможно более полного поглощения энергии источника ОН (наибольшей Pik) желательно иметь среду с наибольшим значением коэффициента поглощения на квантовом переходе: (см., ф-лу (1.35)), а поскольку пропорционален коэффициенту Эйнштейна Bki, а ВkiАki (см., ф-лу (1.11,б)), то желательно, чтобы поглощающий переход был бы “разрешённым” и “резонансным”;
4) Желательно, чтобы ширина спектра излучения источника накачки была бы не больше ширины контура поглощения активных частиц. При накачке спонтанным излучением ламп добиться этого, как правило, не удаётся. Идеальной с этой точки зрения является “когерентная” накачка накачка монохроматическим излучением лазера, при которой вся линия (весь спектр) излучения ОН “попадает” в контур поглощения. Такой режим поглощения и был рассмотрен нами в разделе 1.9;
5) очевидно, что эффективность ОН будет тем выше, чем большая доля излучения будет поглощаться активными частицами посредством квантового перехода с накачкой нужного уровня. Так, если активная среда представляет собой кристалл (матрицу), легированную активными частицами, то матрица должна выбираться такой, чтобы излучение ОН ею не поглощалось, т.е. чтобы матрица была бы “прозрачной” для излучения накачки, что исключает в том числе и нагрев среды. В то же время полный КПД системы “источник ОН активная среда лазера” обычно в большой степени определяется эффективностью преобразования электрической энергии, вкладываемой в источник накачки, в его излучение;
6) В разделе 1.9 было показано, что в квантовой системе с двумя энергетическими уровнями ни при каких значениях интенсивности внешнего излучения (т.е. оптической накачки) принципиально невозможно получить инверсию населённостей: при удаётся лишь уравнять населённости уровней.
Поэтому для накачки квантового лазерного перехода оптическим излучением и создания на нём инверсии населённостей, используются активные среды с одним или двумя вспомогательными энергетическими уровнями, что вместе с двумя уровнями лазерного перехода образует трёх- или четырёхуровневую схему (структуру) энергетических уровней активной среды.
2. Квантовые приборы с оптической накачкой, работающие по “трёхуровневой схеме”
2.1. Теоретический анализ трёхуровневой схемы. В такой схеме (рис. 1) нижним лазерным уровнем «1» является основное энергетическое состояние ансамбля частиц, верхним лазерным уровнем «2» является относительно долгоживущий уровень, а уровень «3», связанный с уровнем «2» быстрым безызлучательным переходом, является вспомогательным. Оптическая накачка действует по каналу «1»«3».
|
|
|
Рис. 1. «Трёхуровневая» схема при оптической накачке |
Найдем условие существования инверсии между уровнями «2» и «1». Полагая статистические веса уровней одинаковыми g1=g2=g3, запишем систему кинетических (балансных) уравнений для уровней «3» и «2» в стационарном приближении, а также соотношение для числа частиц на уровнях:
(2)
где n1, n2, n3 концентрации частиц на уровнях 1,2 и 3, Wn1 и Wn3 скорости поглощения и индуцированного излучения на переходах между уровнями «1» и «3» под действием излучения накачки, вероятность которой W; wik вероятности переходов между уровнями, Nполное число активных частиц в единице объёма.
Из (2) можно найти населённости уровней n2 и n1, как функцию W, и их разность n в виде
, (3)
которая определяет ненасыщенный коэффициент усиления 0 ансамбля частиц на переходе «2»«1». Для того, чтобы 0>0, необходимо, чтобы , т.е. числитель в (3) должен быть положительным:
, (4)
где Wпор пороговый уровень накачки. Так как всегда Wпор>0, то отсюда следует, что w32>w21, т.е. вероятность накачки уровня «2» релаксационными переходами с уровня «3» должна быть больше вероятности его релаксации в состояние «1».
В случае, если
w32 >>w21 и w32 >>w31, (5)
то из (3) получим: . И, наконец, если W>>w21, то инверсия n будет: nn2N, т.е. на уровне «2» можно “собрать” все частицы среды. Заметим, что соотношения (5) для скоростей релаксации уровней отвечают условиям генерации “пичков” (см., Раздел 3.1).
Таким образом, в трёхуровневой системе с оптической накачкой:
1) инверсия возможна, если w32>>w21 и максимальна когда w32>>w31;
2) инверсия возникает при W>Wпор , т.е. создание носит пороговый характер;
3) при невысоких w21 создаются условия для “пичкового” режима свободной генерации лазера.
2.2. Рубиновый лазер. Этот твёрдотельный лазер является первым лазером, заработавшим в видимом диапазоне длин волн (Т.Мейман, 1960 г.). Рубином называют синтетический кристалл Аl2O3 в модификации корунд (матрица) с примесью 0,05% ионов-активаторов Cr3+ (концентрация ионов ~1,61019см3), и обозначается как Аl2O3:Cr3+. Рубиновый лазер работает по трёхуровневой схеме с ОН (рис. 2,а). Лазерными уровнями являются электронные уровни Cr3+: нижний лазерный уровень «1» является основным энергетическим состоянием Cr3+ в Аl2O3, верхний лазерный уровень «2» долгоживущий метастабильный уровень с 2~103с. Уровни «3а» и «3б» являются вспомогательными. Переходы «1»«3а» и «1»«3б» принадлежат к синей (0,41мкм) и “зелёной” (0,56мкм) частям спектра, и представляют собой широкие (с ~50нм) контура поглощения (полосы).
|
|
|
Рис. 2. Рубиновый лазер. (а) Диаграмма энергетических уровней Cr3+ в Al2O3 (корунде); (б) конструктивная схема лазера, работающего в импульсном режиме с модуляцией добротности. 1 рубиновый стержень, 2 лампа накачки, 3 эллиптический отражатель, 4а неподвижное зеркало резонатора, 4б вращающееся зеркало резонатора, модулирующее добротность резонатора, Сн накопительный конденсатор, R зарядный резистор, «Кн» кнопка пуска импульса тока через лампу; показан вход и выход охлаждающей воды. |
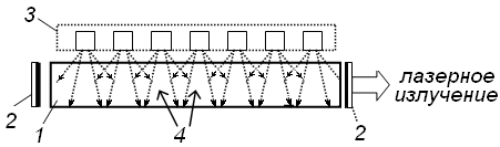
Метод оптической накачки обеспечивает селективное заселение вспомогательных уровней «3а» и «3б» Cr3+ по каналу «1»«3» ионами Cr3+ при поглощении ионами Cr3+ излучения импульсной ксеноновой лампы. Затем за сравнительно малое время (~108с) происходит безызлучательный переход этих ионов из «3а» и «3б» на уровни «2». Выделяющаяся при этом энергия превращается в колебания кристаллической решетки. При достаточной плотности энергии излучения источника накачки: когда , и на переходе «2»«1» возникает инверсия населённостей и генерация излучения в красной области спектра на 694,3нм и 692,9нм. Пороговая величина накачки с учётом статвесов уровней соответствует переводу на уровень «2» около всех активных частиц, что при накачке с 0,56мкм требует удельную энергию излучения Епор>2Дж/см3 (и мощность Рпор>2кВт/см3 при длительности импульса накачки 103c). Столь высокое значение вкладываемой в лампу и рубиновый стержень мощности при стационарной ОН может привести к его разрушению, поэтому лазер работает в импульсном режиме и требует интенсивного водяного охлаждения.
Схема лазера показана на рис. 2,б. Лампа накачки (лампа-вспышка) и рубиновый стержень для повышения эффективности накачки располагаются внутри отражателя с цилиндрической внутренней поверхностью и сечением в форме эллипса, причём лампа и стержень располагаются в фокальных точках эллипса. В результате всё излучение, выходящее из лампы, оказывается сфокусированным в стержне. Импульс света лампы возникает при пропускании через неё импульса тока путём разряда накопительного конденсатора в момент замыкания контактов кнопкой «Кн». Охлаждающая вода прокачивается внутри отражателя. Энергия излучения лазера в импульсе достигает нескольких джоулей.
Импульсный режим работы этого лазера может быть одним из следующих (см., Раздел 3):
1) режим “свободной генерации” при малой частоте повторения импульсов (обычно 0,1…10Гц);
2) режим “модулированной добротности”, обычно оптико-механический. На рис. 2,б модуляция добротности ООР осуществляется путём вращения зеркала;
3) режим “синхронизации мод”: при ширине линии излучения неодн~1011Гц,
число продольных мод М~102, длительность импульса ~10пс.
Среди применений рубинового лазера: голографические системы записи изображений, обработка материалов, оптические дальномеры и др.
Широко применяется в медицине и лазер на BeAl2O4:Cr3+ (хризоберилле, легированном хромом, или александрите), излучающий в диапазоне 0,7…0,82 мкм.
2.3. Эрбиевый волоконно-оптический квантовый усилитель. Такой усилитель, называемый часто “EDFA” (аббревиатура от “Erbium Dopped Fiber Amplifier”), работает по трёхуровневой схеме на квантовых переходах между электронными состояниями Er3+ в кварцевом волокне, легированном эрбием: SiO2:Er3+ (рис. 3,а). Нижним квантовым состоянием «1» является основное электронное состояние Er3+4I15/2. Верхними квантовыми состояниями «2» является группа нижних подуровней расщеплённого электронного состояния 4I13/2. Расщепление на ряд близкорасположенных подуровней возникает из-за взаимодействия ионов Er3+ с внутрикристаллическим полем SiO2 (эффект Штарка). Верхние подуровни электронного состояния 4I13/2 и отдельный уровень 4I11/2 являются вспомогательными уровнями «3а» и «3б».
Под действием излучения накачки на длинах волн 980нм (или 1480нм) ионы Er3+ переходят из состояния «1» в короткоживущие состояния «3а» или «3б», а затем быстрыми безызлучательными переходами (w32~106c1) в состояние «2», которое является квазиметастабильным (w21~102c1, а 2~10мс). Таким образом, требование w32>>w21 выполняется, и на уровне «2» происходит накопление частиц, число которых при превышении уровня накачки над ее пороговым значением W>Wпор, превышает населённость уровня «1», т.е. возникнет инверсия населённостей и усиление на длинах волн в диапазоне 1,52…1,57мкм (рис. 3,б). Оказывается, что порог инверсии достигается, когда на уровень «2» переводится одна треть частиц. Пороговый уровень ОНWпор и частотная зависимость коэффициента усиления определяются структурой волокна (рис. 3,б), концентрацией Er3+ и длиной волны излучения ОН. Эффективность накачки, а именно отношение ненасыщенного коэффициента усиления к единице мощности источника ОН, составляет для накачки с 980нмдо 11дБ·м1мВт1, а для 1480нмоколо 6дБ·м1мВт1.
Соответствие частотного диапазона усиления EDFA третьему “окну про-зрачности” кварцевого волокна обуславливает применение таких усилителей в качестве компенсаторов линейных потерь современных волоконно-оптических линий связи (ВОЛС) с частотным уплотнением каналов (системы WDM: Wavelength Division Multiplexing, и DWDM: Dense Wavelength Division Multiplexing). Отрезок кабеля-усилителя, накачиваемый излучением полупроводникового лазера, достаточно просто включается в ВОЛС (рис. 3,в). Использование эрбиевых волоконных усилителей в ВОЛС заменяет технически гораздо более сложный метод “регенерации” сигнала выделения слабого сигнала и его восстановления.
|
|
|
Рис. 3. Эрбиевый волоконно-оптический квантовый усилитель (EDFA). (а)схема энергетических уровней Er3+ в SiO2 (кварце), (б)усиление сигнала в кварце с различными добавками, (в)упрощенная схема включения усилителя в ВОЛС:1входное излучение (из тракта передачи), 2 полупроводниковый лазер накачки, 3мультиплексор (coupler), 4 EDFA (волокно SiO2: Er3+), 5оптический изолятор, 6выходное излучение (в тракт передачи). |
3. Лазеры с оптической накачкой, работающие по “четырёхуровневой схеме”.
3.1. Теоретический анализ четырёхуровневой схемы. В такой схеме уровней (рис. 4) уровень «0» является основным энергетическим состоянием ансамбля частиц, уровень «1», связанный квантовым переходом с уровнем «0», является нижним лазерным, долгоживущий уровень «2» является верхним лазерным уровнем, а уровень «3» является вспомогательным. Накачка действует по каналу «0»«3».
|
|
|
Рис. 4. Упрощённая четырёхуровневая схема лазера с оптической накачкой |
Найдем условие существования инверсии между уровнями «2» и «1». Полагая статистические веса уровней одинаковыми, а также полагая, что
; ;
и , (6)
запишем упрощённую систему кинетических уравнений для уровней «3», «2» и «1»в стационарном приближении, а также соотношение для числа частиц на всех уровнях:
(7)
где n0, n1, n2, n3, концентрации частиц на уровнях 0,1,2,3; Wn0 и Wn3 скорости поглощения и индуцированного излучения на переходах между уровнями «0» и «3» под действием излучения накачки, вероятность которой W; wikвероятности переходов между уровнями, Nполное число активных частиц в единице объёма.
Из (6 и 7) можно найти населённости уровней n1 и n2 как функцию W, и их разность n в виде
, (8)
которая определяет ненасыщенный коэффициент усиления 0 на переходе «2»«1».
Очевидно, что коэффициент усиления будет положительным и максимальным, когда:
. (9)
Отсюда можно сделать выводы, что при четырёхуровневой схеме с ОН, когда выполняются условия (6) и (9):
1) инверсия не носит порогового характера и существует при любых W;
2) выходная мощность лазера, определяемая выражением (2.14), зависит от скорости оптической накачки Wn0.
3) по сравнению с трёхуровневой, четырёхуровневая схема является более универсальной и позволяет создавать инверсию населённостей, а также осуществлять как импульсную, так и непрерывную и генерацию при любых уровнях накачки (когда усиление превышает потери в ООР).
3.2. Неодимовый лазер. В лазере используется квантовый переход между электронными энергетическими уровнями Nd3+, лазерная генерация осуществляется по четырёхуровневой схеме с ОН (рис. 5). Наиболее широко применяемой кристаллической матрицей для ионов Nd3+ является иттрий-алюминиевый гранат: Y3Al5O12, и легированный кристалл обозначается как Y3Al5O12:Nd3+ или ИАГ:Nd3+. Концентрация Nd3+, не деформирующая кристалл ИАГ до 1,5%. Другими матрицами для Nd3+ являются фосфатные и силикатные стёкла (обозначаемые как стекло:Nd3+), кристаллы гадолиний-скандий-галлиевого граната (ГСГГ:Nd3+), иттрий-литий фторидаYLiF4:Nd3+, ортованадата иттрия, металлоорганические жидкости. Благодаря кубической структуре матрицы, спектр люминесценции ИАГ имеет узкие линии, что определяет высокий коэффициент усиления твёрдотельных лазеров на неодиме, которые могут работать как в импульсном, так и в непрерывном режимах генерации.
|
|
|
Рис.5 Диаграмма энергетических уровней иона Nd3+ в ИАГ Y3Al5O12: стрелки с буквами а, б, в, г, дполосы поглощения при ОН с длинами волн 0,52, 0,58; 0,75, 0,81 мкм и 0,89 мкм соответственно |
Упрощённая диаграмма энергетических электронных уровней Nd3+ в ИАГ представлена на рис.5 Нижний лазерный уровень «1» 4I11/2 наиболее интенсивного квантового перехода Nd3+ с длиной волны 1,06мкм располагается примерно на 0,25эВ выше основного энергетического состояния «0»4I9/2, и в нормальных условиях практически не заселён (0,01% от населённости основного состояния), что и определяет низкий порог генерации этого лазера. Уровень 4F3/2, время жизни которого 0,2мс, является верхним лазерным уровнем «2». Группы уровней (энергетические “зоны”) «3а»…«3д» играют роль вспомогательного электронного уровня «3». Оптическая накачка осуществляется по каналу «0»«3», полосы поглощения имеют длины волн вблизи 0,52; 0,58; 0,75; 0,81 и 0,89мкм. Из состояний «3а»…«3д» происходит быстрая релаксация безызлучательными переходами в верхнее лазерное состояние «2».
Для накачки используются криптоновые и ксеноновые газоразрядные лампы, галогенные лампы с добавками щелочных металлов в наполняющем газе, а также полупроводниковые GaAs лазеры (0,88мкм) и светодиоды на основе Ga1xAlxAs (0,81мкм) (рис. 6).
|
|
Рис. 6. Схема неодимового лазера, накачиваемого излучением светодиодов: 1кристалл ИАГ (или стекло), активированные Nd3+, 2зеркала ООР, 3“линейка” светодиодов, 4пучки излучения накачки |
Мощность излучения лазера на ИАГ:Nd3+ с длиной волны 1,06мкм в непрерывном режиме достигает 1кВт, рекордные значения, достигнутые в импульсном режиме: энергия импульса около 200кДж, а мощность200ТВт при длительности импульса ~1нс (лазер, созданный для экспериментов по управляемому лазерному термоядерному синтезу-ЛТС).
|
|
|
Рис.7. Схемы преобразования частоты излучения неодимового лазера, работающего в режиме модулированной добротности с помощью нелинейных кристаллов KDP: аудвоение частоты (0,53мкм), бучетверение частоты с помощью двух кристаллов (0,26мкм), вгенерация 5-й оптической гармоники (0,21мкм): сложением основной частоты и 4-й гармоники |
В кристалле ИАГ лазерная линия Nd3+ с 1,06мкм уширена однородно (до 0,7нм), в то время, как в стёклах имеет место значительное неоднородное уширение за счёт эффекта Штарка (неодн31012Гц,), что позволяет успешно применять режим синхронизации продольных мод (см., раздел 3.3) с М~104 и получать сверхкороткие импульсы длительностью порядка 1пс.
Повышенная концентрация ионов-активаторов в таких средах как пентафосфат неодима (NdP5O14), тетрафосфат неодима лития (LiNdP4O12) и др., обеспечивает эффективное поглощение излучения полупроводникового лазера на расстояниях порядка долей миллиметра, что позволяет создавать миниатюрные модули, называемые минилазерами: полупроводниковый лазернеодимовый лазер.
Высокая мощность излучения неодимового лазера с 1,06мкм позволяет осуществлять преобразование частоты его излучения с помощью нелинейных кристаллов. Для генерации второй и высших оптических гармоник используют кристаллы с квадратичной и кубичной нелинейной восприимчивостью (калия дигидрофосфат KDP, калия титанилфосфат KTP), при прямом и (или) последовательном (каскадном) преобразовании. Так, если использовать для излучения неодимового лазера цепочку кристаллов, то можно получать кроме ИК-излучения на основной частоте с 1,06мкм генерацию 2-й, 4-й и 5й гармоник с длинами волн 0,53мкм (зелёное излучение); 0,35мкм, 0,26мкм и 0,21мкм (УФ излучение)(рис. 7).
Основные области применения неодимовых лазеров: технологические и медицинские установки, эксперименты по управляемому лазерному термоядерному синтезу, исследования резонансного взаимодействия излучения с веществом, в системах подводного видения и связи (0,53мкм), оптическая обработка информации; спектроскопия, дистанционная диагностика примесей в атмосфере (УФ излучение) и др.
В лазерах, использующих в качестве матрицы стёкла (силикатные, боратные и др.), могут с успехом применяться и другие ионы-активаторы: Yb3+, Er3+, Tm3+, Ho3+ с излучением в диапазоне 0,9…1,54мкм.
3.3. Преобразование частоты излучения в нелинейной среде. Явление удвоения и сложения частот световых волн состоит в следующем. При распространении света в среде под действием электрического поля электромагнитной волны Е , происходит соответствующее смещение атомных электронов относительно ядер, т.е. среда поляризуется. Поляризуемость среды характеризуется величиной электрического дипольного момента единицы объёма - р, связанного с величиной поля Е через диэлектрическую восприимчивость среды : [13]. Если это поле невелико, то диэлектрическая восприимчивость =0=Const, р является линейной функцией от Е: , и смещение зарядов вызывает излучение с той же частотой, что и начальное излучение (“линейная” оптика).
При высокой мощности, когда электрическое поле излучения начинает превышать значение внутриатомного поля, поляризуемость становится нелинейной функцией Е: То есть кроме линейно зависящего от Е слагаемого при малых Е, когда мы имеем дело с линейной оптикой, в выражении для р появляется нелинейное относительно Е слагаемое (“нелинейная” оптика). В результате при распространении в среде волны “накачки” с частотой 0 и волновым вектором (где показатель преломления среды), появляется новая волна вторая оптическая гармоника с частотой и волновым вектором , а также ряд гармоник высших порядков. Очевидно, что энергия волны накачки с частотой будет наиболее эффективно перекачиваться в новую волну с частотой , если скорости распространения этих двух волн будут одинаковы, т.е. если имеет место т.наз. условие волнового синхронизма: . Выполнить это условие можно используя кристалл с двулучепреломлением, когда две волны распространяются под некоторым углом к его главной оптической оси.
При распространении в кристалле двух волн с частотами и и волновыми векторами и , кроме гармоник каждой из волн, в кристалле генерируется волна с суммарной частотой: , и волна с разностной частотой. Условие волнового синхронизма при этом имеет вид: .
Описанные явления в определённом смысле можно рассматривать как генерацию гармоник при когерентной оптической накачке нелинейного кристалла.
3.4. Перестраиваемые лазеры на красителях. Лазеры на растворах сложных органических соединений (в т. ч. красителей: родаминов, кумаринов, оксазолов и др.) в спиртах, ацетоне и других растворителях, относятся к группе жидкостных лазеров. Такие растворы обладают интенсивными полосами поглощения при ОН и излучения в ближней УФ-, видимой или ближней ИК-областях спектра. Основное их достоинство широкая линия люминесценции (до 50…100нм), что даёт возможность плавно перестраивать рабочую частоту лазера в пределах этой линии.
Электронные состояния большинства красителей, используемых в таких лазерах, представляют собой широкие, до 0,1эВ, сплошные зоны энергии, получающиеся как результат сложения сотен “перекрывающихся” колебательных и вращательных подуровней, что приводит и к широким, как правило, бесструктурным полосам поглощения и люминесценции, как результат сложения «перекрывающихся» переходов между такими подуровнями (рис. 8,а). Между подуровнями “внутри” этих зон имеют место быстрые безызлучательные переходы с вероятностями w~1010…1012 c1, а вероятности релаксационных переходов между электронными состояниями на два-четыре порядка меньше (~108 c1).
Генерация происходит по “четырёхуровневой” схеме на переходах молекулы красителя с нижних колебательных подуровней первого возбуждённого синглетного электронного состояния S1 (рис. 8,а), аналогах уровня «2» на диаграмме рис. 4 на верхние подуровни основного электронного состояния S0, аналогах уровня «1». Аналогом уровня «0» являются нижние подуровни основного электронного терма, а аналогом вспомогательного уровня «3» верхние колебательные подуровни возбужденного электронного терма S1.
Поскольку внутри электронных термов имеют место быстрые переходы, то распределение населённости состояний отвечает закону Больцмана: верхние под-уровни «3» и «1» являются слабо заселёнными, а нижние «0» и «2» сильно заселёнными. Такое соотношение для уровней «0» и «3» определяет для них высокую эффективность ОН по каналу «0»«3», а соотношение для уровней «2» и «1» инверсию населённостей, усиление и генерацию на этом переходе.
Для получения узкой линии генерации, а также для возможности перестройки её по частоте в пределах широкой полосы люминесценции молекул красителя используют дисперсионный резонатор со спектрально-селектирующими элементами (призмами, дифракционными решётками, интерферометрами и др. (рис. 8,б).
|
|
|
Рис. 8. Лазер на красителе с оптической накачкой: (а) обобщённая схема энергетических уровней, S0, S1 и S2 синглетные уровни, Т1 и Т2 триплетные уровни, rобобщённое расстояние между атомами в молекуле красителя; показаны паразитные переходы, снижающие эффективность лазера («2»Т1, Т1«1», Т1Т2); (б) оптическая схема струйного лазера на красителе с лазерной (когерентной) накачкой: З1З4 зеркала резонатора, Пдиспергирующий элемент (призма), показаны лазерный луч накачки и сопло, формирующее струю раствора красителя; (в)область перестройки лазера с дисперсионным резонатором: 1линия люминесценции, 2лазерная линия (показаны схематично). |
Возможность перестройки по длине волны в пределах линии люминесценции (рис. 8,в) без потери мощности определяется быстрыми безызлучательными переходами внутри электронных термов «2» и «1», вероятность которых превышает вероятность индуцированных переходов. Так, при настройке резонатора на какую-либо длину волны в пределах линии люминесценции перехода «2»«1» возникает лазерное излучение на переходе между соответствующими подуровнями «2» и «1», в результате подуровень «2» индуцированными переходами “очищается”, а «1» дополнительно заселяется. Однако за счёт ОН и быстрых переходов с соседних подуровней внутри терма населённость “генерирующего” подуровня «2» непрерывно восстанавливается. Одновременно подуровень «1» быстрыми переходами непрерывно очищается, релаксируя в конечном итоге в состояние «0». Таким образом, вся накачка верхнего электронного терма «2» становится накачкой перехода «2»«1» и превращается в узкополосное монохроматическое лазерное излучение на частоте настройки дисперсионного резонатора, и эту частоту можно варьировать.
Помимо излучательных переходов S1S0 («2»«1») существует и ряд переходов, снижающих эффективность генерации. Это переходы: S1Т1, снижающие населённость уровней «2», переходы Т1«1», увеличивающие населённость уровней «1», и переходы Т1Т2, поглощающие лазерное излучение.
Лазеры на красителях бывают двух типов: с некогерентной (ламповой) оптической накачкой излучением импульсных ламп и импульсным режимом работы; а также с когерентной накачкой излучением лазеров других типов (газовых или твёрдотельных) при непрерывном, квазинепрерывном или импульсном режиме работы. Если в лазере применить смену красителей, а их известно больше тысячи, то таким способом можно “перекрыть” излучением всю видимую и часть ИК области спектра (0,33…1,8мкм). В лазерах с когерентной накачкой для получения непрерывного режима в качестве источников накачки используются ионные Ar- или Kr-газовые лазеры. Для накачки красителей в импульсном режиме применяют газовые лазеры на N2, парах меди, эксимерах , а также лазеры на рубине и неодиме с умножением частоты. Часто приходится использовать прокачку раствора красителя, благодаря чему из активной зоны выводятся молекулы, подвергшиеся диссоциации под действием излучения накачки, и вводятся свежие.
Лазеры на красителях, имея неодн~1013 Гц и М>104, позволяют в режиме пассивной синхронизации мод (см., раздел 3.3) осуществить генерацию ультракоротких импульсов излучения (~1014…1013 c).
Особую группу составляют лазеры на красителях с распределённой обратной связью (РОС). В РОС-лазерах роль резонатора играет структура с периодически изменяющимся показателем преломления и (или) усиления. Обычно она создается в активной среде под действием двух интерферирующих пучков накачки. РОС-лазер характеризуется узкой линией генерации (~102см1), которая может перестраиваться в пределах полосы усиления путём изменения угла между пучками накачки.
Среди сфер применений лазеров на красителях: фотохимия, селективная накачка квантовых состояний в спектроскопии, при разделении изотопов и др.
3.5 Перестраиваемый лазер на сапфире, легированном титаном. Плавную перестройку длины волны генерации обеспечивает и твёрдотельный лазер на кристалле корунда, активированного титаном (Al2O3:Ti3+), называемом сапфиром.
Каждое электронное состояние Ti3+, состоит из большого числа «перекрывающихся» колебательных подуровней, что приводит к еще более широким, чем у красителя, бесструктурным полосам поглощения и люминесценции как результат сложения «перекрывающихся» переходов между такими подуровнями. Внутри этих состояний имеют место быстрые безызлучательные переходы с вероятностями w~109 c1, при том, что вероятности релаксации между электронными состояниями имеют порядок 105…106 c1.
Лазер на сапфире относится к группе т.наз. вибронных лазеров, отличающихся тем, что их основной электронный терм представляет собой полосу из колебательных подуровней (кристаллической решётки), благодаря чему лазер работает по четырёхуровневой схеме, и подобно лазеру на красителе создаёт возможность плавной перестройки генерации в диапазоне 660…1180 нм. Полоса поглощения простирается от 0,49мкм до 0,54мкм. Малое время жизни возбужденного состояния «2» Ti3+ делает малоэффективной ламповую накачку этого лазера, которая, как правило, осуществляется непрерывным аргоновым лазером (488нм и 514,5нм), второй гармоникой неодимового лазера (530нм) или импульсами излучения лазера на парах меди (510нм).
Несомненными достоинствами сапфирового лазера с титаном являются гораздо более высокая допустимая мощность накачки без деградации рабочего вещества и более широкая неоднородно уширенная линия люминесценции. В результате в режиме синхронизации мод получена последовательность импульсов с длительностью порядка десятков фемтосекунд (1фс=1015 с), а с последующей компрессией (сжатием) импульсов в нелинейных волоконных световодахдо 0,6 фс.
3.6. Перестраиваемые лазеры на центрах окраски. Такие лазеры, как и рассмотренные выше твёрдотельные лазеры, в качестве активного вещества используют ионные кристаллы, но с центрами окраски, называемыми F-центрами, что позволяет осуществлять перестройку их излучения. Лазерные материалы для таких лазеров: кристаллы фторидов и хлоридов щелочных металлов (Li, Na, К, Rb), а также фторидов Ca и Sr. Воздействие на них ионизирующих излучений: гамма-квантов, электронов высоких энергий, рентгеновского и жесткого УФ излучений, а также прокаливание кристаллов в парах щелочных металлов приводит к возникновению точечных дефектов кристаллической решётки, локализующих на себе электроны или дырки. Вакансия, захватившая электрон, образует дефект, электронная структура которого подобна структуре атома водорода. Такой центр окраски имеет полосы поглощения в видимой и УФ областях спектра.
Схема генерации лазера на центрах окраски аналогична схемам жидкостных лазеров на органических красителях. Впервые генерация вынужденного излучения на центрах окраски была получена в кристаллах КCl-Li при импульсной оптической накачке. На данный момент генерация наблюдалась на большом числе различных центров окраски с ИКизлучением в импульсном и непрерывном режимах с когерентной ОН. Перестройка частоты излучения осуществляется с помощью дисперсионных элементов (призм, дифракционных решёток и др.), помещаемых в резонатор. Однако плохие термо- и фотостабильность препятствуют широкому применению таких лазеров.
|
|
Рис. 9. Волоконный лазер. 1легированное волокно, 2полупроводниковый лазер накачки, 3,4«Брэгговские» дифракционные решетки (отражатели). |
3.7. Волоконные лазеры. Волоконными называют лазеры, резонатор которых построен на базе оптического волокна-волновода, являющегося и активной средой лазера, в котором генерируется излучение (рис. 9). Используется кварцевое волокно, легированное редкоземельными элементами (Nd, Ho, Er, Tm,Yb и др.), или пассивное волокно с использованием эффекта вынужденного рамановского рассеяния. В последнем случае оптический резонатор образует световод в сочетании с “брэгговскими” решётками показателя преломления, “встроенными” в волокно. Такие лазеры называют волоконными “рамановскими” лазерами. Излучение лазера распространяется внутри оптического волокна и поэтому резонатор волоконного лазера отличается простотой и не требует юстировки. В волоконном лазере можно получать как одночастотную генерацию, так и генерацию ультракоротких (фемтосекундных, пикосекундных) световых импульсов.
4. Параметрическая генерация света
Параметрическая генерация света (ПГС) осуществляется под действием лазерного оптического излучения накачки в твёрдых телах-кристаллах, обладающих нелинейными свойствами, и характеризуется достаточно высоким коэффициентом преобразования (десятки процентов). При этом удаётся плавно перестраивать частоту выходного излучения. В определённом смысле ПГС, как и рассмотренное выше явление умножения и сложения частот, можно рассматривать как генерацию перестраиваемого излучения при когерентной оптической накачке нелинейного кристалла.
В основе явления ПГС, как и при умножении и сложении частот лежат нелинейно-оптические явления в средах. Рассмотрим случай, когда со средой, обладающей нелинейными свойствами и находящейся в открытом оптическом резонаторе (ООР), взаимодействует лазерное излучение достаточно высокой интенсивности, имеющее частоту 0 (накачка). За счёт накачки энергией этой волны в среде могут возникать две новые световые волны:
1) волна “шумовой” природы с некоторой частотой 1;
2) волна с разностной частотой (0 1), которая является результатом нелинейного взаимодействия излучения накачки и случайного (шумового) волны с частотой 1.
Причём частоты 1 и (0 1) должны быть собственными частотами ООР и для всех трёх волн должно выполняться условие волнового синхронизма: . Другими словами, световая волна накачки с частотой 0 с помощью вспомогательной шумовой волны с частотой 1, преобразуется в волну с частотой (0 1).
Перестройка частоты излучения ПГС осуществляется путём подбором ориентации двулучепреломляющего нелинейного кристалла путём его вращения, , т.е. изменения угла между его оптической осью и осью резонатора для того, чтобы выполнялось условие волнового синхронизма. Каждому значению угла отвечает строго определённая комбинация частот 1 и (0 1), для которых в данный момент выполняется условие волнового синхронизма.
Для реализации ПГС могут использоваться две схемы:
1) “двухрезонаторная” схема, когда генерируемые волны с частотами 1 и (0 1) возникают в одном ООР, при этом потери ООР для них должны быть малы;
2) “однорезонаторная” схема, когда в ООР генерируется только одна волна с частотой (0 1).
В качестве активной среды может использоваться кристалл LiNbO3 (ниобат лития), накачиваемый излучением второй гармоники ИАГ:Nd3+ (0,53мкм) и плавную перестройку можно осуществлять в диапазоне до 3,5мкм в пределах 10%. Набор оптических кристаллов с различными областями нелинейности и прозрачности позволяет осуществлять перестройку в ИК области до 16 мкм.
5. Полупроводниковые лазеры
Полупроводниковыми называют такие твёрдотельные лазеры, в которых в качестве активной среды (рабочего вещества) используются кристаллы полупроводников различного состава с инверсией населенностей на квантовом переходе. Решающий вклад в создание и усовершенствование таких лазеров внесли наши соотечественники Н.Г.Басов, Ж.И.Алфёров и их сотрудники.
5.1. Принцип действия. В полупроводниковых лазерах, в отличие от лазеров других типов (в том числе и других твёрдотельных), используются излучательные переходы не между изолированными энергетическими уровнями атомов, молекул и ионов, не взаимодействующих или слабо взаимодействующих между собой, а между разрешёнными энергетическими зонами кристалла. Излучение (люминесценция) и генерация вынужденного излучения в полупроводниках обусловлена квантовыми переходами электронов как между энергетическими уровнями зоны проводимости и валентной зоны, так и между уровнями этих зон и примесными уровнями: переходы донорный уровеньакцепторный уровень, зона проводимости акцепторный уровень, донорный уровень валентная зона, в том числе и через экситонные состояния. Каждой энергетической зоне соответствует очень большое (~1023…1024) число разрешённых состояний. Поскольку электроны относятся к фермионам; то, например, валентная зона может быть полностью или частично заполнена электронами: с плотностью, убывающей снизу вверх по шкале энергий подобно распределению Больцмана в атомах.
В основе излучения полупроводников лежит явление электролюминесценции. Фотон испускается в результате акта рекомбинации носителей зарядаэлектрона и “дырки” (электрон из зоны проводимости занимает вакансию в валентной зоне), при этом длина волны излучения определяется шириной запрещённой зоны. Если создать такие условия, что электрон и дырка перед рекомбинацией будут находиться в одной области пространства достаточно долгое время, и в этот момент через эту область пространства пройдёт фотон с частотой, находящейся в резонансе с частотой квантового перехода, то он может индуцировать процесс рекомбинации с испусканием второго фотона, причём его направление, вектор поляризации и фаза будут в точности совпадать с теми же характеристиками, что и у первого фотона. Например, в собственных (“чистых”, “безпримесных”) полупроводниках, существует заполненная валентная зона и практически свободная зона проводимости. При межзонных переходах для возникновения инверсии и получения генерации необходимо создать избыточные неравновесные концентрации носителей заряда: в зоне проводимости электронов, а в валентной зоне дырок. При этом интервал между квазиуровнями Ферми должен превышать ширину запрещённой зоны, т.е. один или оба квазиуровня Ферми будут находиться внутри разрешённых зон на расстояниях не более kT от их границ. А это предполагает возбуждение такой интенсивности, чтобы было создано вырождение в зоне проводимости и в валентной зоне.
Первые полупроводниковые лазеры использовали арсенид галлия (GaAs), работали в импульсном режиме, излучали в ИК диапазоне и требовали интенсивного охлаждения. Дальнейшие исследования позволили внести много существенных улучшений в физику и технику лазеров такого типа, и в настоящее время они излучают и в видимом, и в УФ диапазонах.
Вырождение полупроводника достигается путём его сильного легирования при высокой концентрации примеси, такой, что проявляются в основном свойства примеси, а не свойства собственного полупроводника. Каждый атом донорной примеси отдаёт в зону проводимости кристалла один из своих электронов. Напротив, атом акцепторной примеси захватывает один электрон, который был обобществлен кристаллом и находился в валентной зоне. Вырожденный nполупроводник получается, например, при внесении в GaAs примеси теллура (концентрация 3...5·1018 см3), а вырожденный pполупроводник примеси цинка (концентрация 1019 см3). Генерация осуществляется на ИК длинах волн от 0,82 мкм до 0,9 мкм. Распространены и структуры, выращенные на подложках InP (ИК область 1…3 мкм).
Полупроводниковый кристалл простейшего лазерного диода, работающего на “гомопереходе” (рис. 10), имеет вид очень тонкой прямоугольной пластинки. Такая пластинка по сути является оптическим волноводом, где распространяется излучение. Верхний слой кристалла легируется для создания pобласти, а в нижнем слое создаётся nобласть. В результате получается плоский pn переход большой площади. Две боковые стороны (торцы) кристалла скалывают и полируют для образования гладких параллельных отражающих плоскостей, которые образуют открытый оптический резонатор-интерферометр Фабри-Перо. Случайный фотон спонтанного излучения, испущенный в плоскости pn перехода перпендикулярно отражателям, проходя вдоль резонатора, будет вызывать вынужденные рекомбинационные переходы, создавая новые и новые фотоны с теми же параметрами, т.е. излучение будет усиливаться, начнётся генерация. При этом лазерный луч будет формироваться за счёт неоднократного прохода по оптическому волноводу и отражения от торцов.
|
|
|
Рис. 10. Схема устройства полупроводникового инжекционного лазера (лазерного диода) |
Важнейшим видом накачки в полупроводниковых лазерах является инжекционная накачка. При этом активными частицами служат свободные носители заряда избыточные неравновесные электроны проводимости и дырки, которые инжектируются в p-n-переход (активную среду), при пропускании через него электрического тока в “прямом” направлении при “прямом” смещении, уменьшающем высоту потенциального барьера. Это позволяет осуществить непосредственное преобразование электрической энергии (тока) в когерентное излучение.
Другими способами накачки служат электрический пробой (в т. наз. стримерных лазерах), накачка пучком электронов и оптическая накачка.
5.2. ДГС-лазеры. Если расположить слой с более узкой запрещённой зоной (активная область) между двумя слоями с более широкой запрещённой зоной, будет создана т.наз. гетероструктура. Лазер, её использующий, называют лазером на двойной гетероструктуре (ДГС-лазер, или “double heterostructure”, DHS-laser). Такая структура образуется при соединении арсенида галлия (GaAs) и арсенида алюминия-галлия (AlGaAs). Достоинство таких лазеров состоит в малой толщине среднего слоя активной области, где локализуются электроны и дырки: свет дополнительно отражается от гетеропереходов, и излучение будет заключено в области максимального усиления.
Если с двух сторон кристалла ДГС-лазера добавить ещё два слоя с меньшим показателем преломления по сравнению с центральными, то образуется напоминающая световод структура, более эффективно удерживающая излучение (ДГС-лазер с раздельным удержанием, или “separate confinement heterostructure”, SCHS-laser). Большинство лазеров, произведённых в последние десятилетия, изготовлены именно по такой технологии. Развитие современной оптоэлектроники, солнечной энергетики происходит на основе квантовых гетероструктур: в т.ч. с квантовыми “ямами”, квантовыми “точками”.
5.3. РОС- и ВРПИ-лазеры. В лазерах с распределённой обратной связью (РОС или “distributed feedback”DFBlaser) в районе p-n перехода наносится система поперечных рельефных “штрихов”, образующих дифракционную решётку. Благодаря этой решётке излучение только с одной длиной волны возвращается обратно в резонатор, и на ней происходит генерация, т.е. осуществляется стабилизация длины волны излучения (лазеры для многочастотной волоконно-оптической связи).
Полупроводниковый “торцевой” лазер, излучающий свет в направлении, перпендикулярном поверхности кристалла и называемый лазером “с вертикальным резонатором и поверхностным излучением” (ВРПИ-лазер, или “vertical cavity surface-emitting”: VCSElaser), имеет симметричную диаграмму направленности излучения с малым углом расходимости.
В активной среде полупроводникового лазера может достигаться очень большое усиление (до 104 см-1), благодаря чему размеры активного элемента П. л. лазера исключительно малы (длина резонатора50 мкм…1 мм). Помимо компактности, особенностями полупроводниковых лазеров являются: простота управления интенсивностью путём изменения величины тока, малая инерционность (~109 с), высокий кпд (до 50%), возможность спектральной перестройки и большой выбор веществ для генерации в широком спектральном диапазоне от УФ, видимого до среднего ИК. В то же время по сравнению с газовыми лазерами полупроводниковые отличаются относительно низкой степенью монохроматичности и когерентности излучения и не могут излучать на разных длинах волн одновременно. Полупроводниковые лазеры могут быть как одномодовыми, так и многомодовыми (с большой шириной активной зоны). Многомодовые лазеры применяются в тех случаях, когда от устройства требуется высокая мощность излучения, и не ставится условие малой расходимости луча. Областями применений полупроводниковых лазеров являются: устройства обработки информации-сканеры, принтеры, оптические запоминающие устройства и др., измерительные устройства, накачка других лазеров, лазерные целеуказатели, волоконная оптика и техника.
СПИСОК ЛИТЕРАТУРЫ
- Карлов Н. В. Лекции по квантовой электронике М.: Наука, 1988. 2-е изд., -336с.
- Звелто О. Принципы лазеров. М.: Мир, 1984, -395с.; 3-е изд. 1990, 560с.; 4-е изд. 1998, -540с.
- Пихтин А.Н. Оптическая и квантовая электроника. М.: Высшая школа, 2001. -573с.
- Ахманов С.А., Никитин С.Ю. Физическая оптика. М.: Изд.МГУ, 2004. 2-е изд.- 656с.
- Малышев В.А. Физические основы лазерной техники. М.: Высшая школа, 200 -543с.
- Тарасов Л. В. Физика процессов в генераторах когерентного оптического излучения. М.: Радио и связь, 1981, -440с.
- Яковленко С.И., Евтушенко Г.С. Физические основы квантовой электроники. Томск: Изд. ТГУ, 2006. -363с.
- Иванов И.Г., Латуш Е.Л., Сэм М.Ф. Ионные лазеры на парах металлов. М.: Энергоатомиздат, 1990. -256с.
- Физическая энциклопедия. В 5 т. М.: «Российская энциклопедия». 1988-1998.
- Иванов И.Г. Газовый разряд и его применение в фотонике. Учебное пособие. Ростов н/Д: Изд. ЮФУ, 2009. -96с.
- Электроника. Энциклопедический словарь. М.: Энциклопедия, 1991. -688с.
- Иванов В.А., Привалов В.Е. Применение лазеров в приборах точной механики. СПб.: Политехника, 1993. -216с.; Голикова Е.В., Привалов В.Е. Расчет линий поглощения для лазеров, стабилизированных по реперам йода. Препринт №53. С-Пб.: Институт Аналитического приборостроения РАН. 1992. -47c.
- Калашников С.Г. Электричество. М.: Физматлит. 2003. -624с.
- Физическая энциклопедия // Химический лазер. URL: http://femto.com.ua/articles/part_2/4470.html
- Крюков П.Г. Фемтосекундные импульсы. Введение в новую область лазерной физики. М.: Физматлит. 2008. -208с.
- Yanovsky V. et al. Optics Express. 2008. Vol. 16. N3, P.2109-2114.









