ГАЗОВЫЕ ЛАЗЕРЫ
Контрольная работа
ГАЗОВЫЕ ЛАЗЕРЫ
Содержание
Введение
1. Условие создания инверсии населённостей
2. Лазеры, накачиваемые в газоразрядной плазме столкновениями с электронами 1-го рода
3. Лазеры с накачкой неупругими столкновениями 2 рода между частицами в газоразрядной плазме
4.Накачка ударным возбуждением и ион-ионной рекомбинацией, эксимерные лазеры
5. Тепловая накачка, газодинамический лазер
6. Накачка в химической реакции
7. Оптическая накачка газовых активных сред
Литература
Введение
Лазеры генерируют оптическое излучение в широком диапазоне длин волнот вакуумного УФ до дальнего ИК и различаются: видом активной среды (газы, жидкости, твердые тела), способом накачки, создающей и поддерживающей в среде инверсию населённостей и режимом работы (импульсный, непрерывный).
Газовые лазеры, активная среда которых представляет собой нейтральный или ионизированный газ, выгодно выделяются в первую очередь чрезвычайно высокими монохроматичностью, пространственной и временной когерентностью, а также направленностью излучения. Кроме того, важным достоинством газовых лазеров является реализованная в последние годы для многих активных сред возможность излучения одновременно на нескольких длинах волн, относящихся к различным участкам спектра (например, имеющих различный цвет), для каждой из которых сохраняются указанные свойства. Это делает такие лазеры незаменимыми источниками высококачественного излучения в многочисленных устройствах обработки информации, метрологии, оптике, голографии и др.
1. Условие создания инверсии населённостей
В общем случае из выражения для коэффициента усиления активной среды вытекает условие работы лазера, связывающее скорости накачки верхнего-F2 и нижнего-F1 лазерных уровней с их временами жизни - 2 и 1:
или . (1)
Анализ условия (1) показывает, что:
1) если 2>>1, то стационарная инверсия населённостей будет иметь место, даже если g2F1g1F2, при этом режим работы лазера может быть как непрерывным, так и импульсным. Импульсный режим осуществляется модуляцией скорости накачки F2 или добротности открытого оптического резонатора (ООР) (см., раздел 3);
2) если же 1>2 , то для создания инверсии необходимо, чтобы g1F2>>g2F1, что возможно реализовать в существенно нестационарном режиме разряда, и генерация будет импульсной.
Большинство активных сред газовых лазеров накачивается в плазме стационарного или импульсного газового разряда различных видов (cм., [10]). Импульсный режим как в случае 1), так и в случае 2), позволяет снизить тепловую нагрузку на разрядную трубку лазера при высокой вкладываемой в разряд пиковой мощности.
Процесс накачки квантового рабочего перехода может быть одно- или многоступенчатым, при этом в подавляющем числе случаев энергия для накачки перехода изначально черпается из энергии электронов, которые приобретают её в электрическом поле разряда. Функция электронов в плазме газоразрядного лазера двоякая: воспроизводство заряженных частиц путём ионизации газа, что обеспечивает протекание тока в газовом разряде, а также возбуждение атомов, молекул в столкновениях 1-го рода. Возбуждённые частицы либо излучают фотоны непосредственно за счёт спонтанных и индуцированных переходов, либо путём столкновений активизируют другие частицы, передавая им свою энергию. При этом механизмом накачки данного лазера принято считать процесс передачи энергии на конечном этапе, непосредственно возбуждающий лазерный переход. Различные виды накачки рассматриваются далее на примере конкретных лазеров.
Для накачки лазерного перехода чаще используются: плазма положительного столба (ПС) разряда продольного типа и плазма отрицательного свечения (ОС) катодной области тлеющего разряда [10]. При анализе накачки в ПС нужно иметь в виду, что температура (и энергия) электронов снижаются при повышении давления газа (смеси газов), а также что концентрация электронов оказывается пропорциональной давлению и плотности тока разряда.
2. Лазеры, накачиваемые в газоразрядной плазме столкновениями с электронами 1-го рода
Поскольку электроны в ПС имеют энергию, простирающуюся от нуля до значений, теоретически намного превышающих энергию ионизации газа, то при столкновениях 1-го рода в той или иной степени возбуждаются все возможные квантовые состояния атомов и молекул, и поэтому накачка столкновениями с электронами в газовом разряде является в общем “неселективной”.
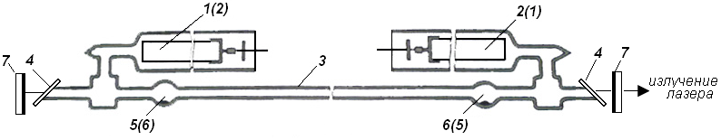
2.1. Аргоновый ионный лазер. Газоразрядный лазер на ионизированном аргоне, или Ar+-лазер, работает на квантовом переходе между электронными конфигурациями (1s2…3s2)3p44p (верхние лазерные уровни «2») и ( )3p44s (нижние лазерные уровни «1») однократно ионизированного аргона Ar+* (рис.1,а). Наиболее интенсивные линии генерации лазера принадлежат сине-зелёной области спектра: 488нм и 514,5нм. Дезактивация уровней «1» 3p44s происходит быстрыми “резонансными” спонтанными переходами в основное энергетическое состояние иона аргона 3p5 Ar0+, поэтому отношение 2/1~5…10 оказывается благоприятным для создания стационарной инверсии и реализации непрерывного режима работы лазера. Накачка уровней «2» Ar+*, т.е. лазерных переходов, происходит одно- и двухступенчатыми неупругими столкновениями 1-го рода атомов аргона с быстрыми электронами ПС (рис.1,б,в) в ПС газового разряда в аргоне при давлении pAr~10…102Па с большой плотностью тока j (до нескольких кА/см2) в продольном магнитном поле. Схема лазера показана на рис. 2.
При столь малом pAr и высокой j становится существенным электрофорез газа в ПСперемещение аргона к аноду за счёт столкновений электронов плазмы с атомами и передачи им импульса в направлении анода, что приводит к появлению градиента концентрации аргона и давления газа вдоль трубки и может вызывать даже погасание разряда. Параметры плазмы и скорость накачки лазерного перехода становятся неоднородными и неоптимальными по длине резонатора, что снижает мощность лазера. Для понижения этого градиента анодная и катодная области разрядной трубки соединяются обводным каналом (“байпасом”). В связи с большим энерговкладом в разрядную трубку, применяется водяное (реже воздушное) охлаждение. Мощность генерации достигает десятков и даже сотен Ватт. Квантовый КПД лазерного перехода составляет 0,06, а полныйоколо 103.
Аргоновый ионный лазер используется для накачки перестраиваемых лазеров на конденсированных средах (см., раздел 5), в проекционных установках для демонстрации световых эффектов, в голографии, метрологии (см., раздел 6) и др.
Подобный механизм накачки и условия разрядаи у лазера на ионизированном криптоне (Kr+-лазера), излучающего красную линию с 647нм. Лазер, работающий на смеси аргона и криптона, излучает одновременно на трёх линиях, синей, зелёной и красной: 488нм и 514,5нм Ar+ и 647нм Kr+.
|
|
Процессы в плазме ПС, приводящие к накачке лазерных переходов |
|
|
б) одноступенчатая ударная ионизация Ar c возбуждением |
||
|
|
||
|
в) двухступенчатая ударная ионизация Ar c возбуждением |
||
|
1-я ступень: |
|
|
|
2-я ступень: |
Рис. 1. Диаграмма энергетических уровней нейтрального и однократно ионизированного атома аргона и процессы накачки лазерного перехода
|
|
|
Рис. 2. Схема аргонового ионного лазера. Источник питания не показан. Селекция линий генерации осуществляется поворотом призмы Литтрова. 1 анод («+» источника питания), 2 катод («» источника питания), 3графитовые или керамические (из ВеО) шайбы с разрядным каналом 4 и узким отверстием для пропуска газа (обводной канал), 5зеркало ООР, 6 “Брюстеровское” окно трубки, 7призма Литтрова с отражающим покрытием 8; 9-подвижное соединение, 10рубашка водяного охлаждения, 11соленоид. |
2.2. Лазеры на квантовых переходах с резонансного на метастабильный уровень в атомах и ионах. У лазеров этой группы время жизни нижнего лазерного уровня 1 превосходит время жизни верхнего 2, т.е. 2/1<1, поэтому инверсия населённостей может быть создана только в период т.наз. ионизационной неравновесности плазмы в короткий промежуток времени в момент включения разряда или, как говорят: “на переднем фронте” импульса тока.
Наиболее ярким представителем таких лазеров является импульсный лазер, работающий на парх меди и излучающий на электронных переходах в атоме меди. Диаграмма нижних энергетических уровней атома меди приведена на рисунке 3,а. Символом «0» обозначен основной энергетический уровень атома меди с электронной конфигурацией (1s2…3p6)3d104s Cu0. Инверсия возникает между верхними лазерными уровнями «2» конфигурации ( )3d104p Cu* и нижними уровнями «1» конфигурации ( )3d94s2Cu* на зелёной (510,5нм) и жёлтой (578,2нм) линиях в импульсном режиме.
Опишем свойства уровней «1» и «2». Уровень «1» является метастабильным, поскольку переход в единственное нижерасположенное по шкале энергий состояние «0», запрещён правилами отбора. Для изолированного атома Cu вероятность (A10)изол103с1, а в плазме, вследствие столкновений с электронами и атомами газа, она повышается, и 1105с.
Уровень «2» является резонансным. Вероятность спонтанного перехода «2»«0» для изолированного атома (A20)изол108с1. В плазме при концентрации атомов меди ~1015см3, эта вероятность снижается на два порядка за счёт эффекта пленения резонансного излучения. Вероятность спонтанного перехода «2»«1»: A21~107с1, и, таким образом, время жизни уровня «2»: 2~107с, и 2/1102. Требуемое для генерации условие (1) достигается путём избирательного (селективного) ударного возбуждения уровня «2» из основного энергетического состояния «0» при столкновениях 1-го рода быстрого электрона с атомом Cu0:
e (быстрый) + Cu0«0»(3d104s) Cu*«2»(3d104p)+e. (2)
Скорость ударного возбуждения уровня «1» на несколько (~пять) порядков ниже, поскольку (A10)изол/(A20)изол105.
Цикл работы лазера, продолжающийся около 10мкс, показан на диаграммах (рис.3,бе). Перед приходом импульса тока, согласно распределению Больцмана, атомы меди находятся преимущественно в состоянии «0». В момент зажигания разряда, на переднем фронте импульса тока, атомы меди селективно возбуждаются в состояние «2» (рис.3,б), между уровнями «2» и «1» возникает инверсная заселенность, и за счёт индуцированных переходов происходит генерация (рис.3,в), в результате которой происходит накопление частиц на уровне «1». Как только n1 становится равной n2, инверсия исчезает и генерация прекращается (рис.3,г). Время существования инверсии, а следовательнои длительность импульса генерации г , определяются скоростью перехода «2»«1» и составляют обычно несколько десятков наносекунд. Понятно, что именно квантовые переходы «2»«1», главным образоминдуцированные, и ограничивают время существования инверсии, поэтому такие лазеры часто называют “лазерами на “самоограниченных” переходах”. После прекращения импульса тока (рис.3,д) начинается столкновительная релаксация атомов Cu из состояния «1» в основное состояние «0», и следующий импульс тока может быть подан только после полного опустошения уровня «1» (рис. 3,е). Необходимая для этого пауза в протекании тока определяет предельную частоту повторения импульсов тока и лазерного излучения.
|
|
|
Рис.3. Динамика заселённости уровней меди при генерации на «самоограниченных» переходах с верхнего лазерного уровня «2» на нижний уровень «1» (зелёная 510,5нм и жёлтая 578,2нм линии излучения). асхема рабочих (нижних энергетических) уровней атома меди; бнаселённость уровней перед включением импульса тока, вна «переднем» фронте импульса тока, когда имеют место инверсия и генерация, гв момент исчезновения инверсии и прекращения генерации, дпосле окончания импульса тока, епосле полной релаксации частиц с уровня «1» на уровень «0» |
Для возбуждения лазера на парх меди (рис. 4) используется ПС импульсного разряда в смеси паров меди с так называемым буферным газом (чащенеоном). Атомы меди в газообразном состоянии возникают при испарении металлической меди (или галогенида меди), помещаемой внутрь разрядной трубки, за счёт её нагрева энергией, выделяемой в газовом разряде (режим “саморазогрева” трубки). Буферный газ в этом лазере необходим для:
1) предварительного зажигания разряда и нагрева трубки до температуры испарения меди;
2) защиты выходных оптических окон трубки от конденсации на них паров меди, что препятствует появлению дополнительных потерь 2 в ООР;
3) протекания столкновительной релаксации атомов меди из состояния «1» в основное состояние «0» в межимпульсный период.
Достоинством лазеров на «самоограниченных» переходах является большая средняя мощность (до 102Вт) и высокое усиление 0. В результате лазерный пучок успевает сформироваться за короткое время существования инверсии г, совершив всего несколько проходов через активную среду, а в т.наз. режиме «сверхизлучения»всего один проход. Поэтому лазеры на самоограниченных переходах с равным успехом работают при устойчивом и неустойчивом резонаторах, только с одним “задним” зеркалом (с R=1), и даже без резонатора.
Среди многочисленных применений лазера на парх меди выделим накачку лазеров на красителях (см., раздел 5), обработку материалов, хирургию и др. На базе этого лазера создан лазерный проекционный микроскоп.
На “самоограниченных” переходах в атомах работают лазеры на парах золота (312,3нм и 627,8нм), марганца (542…553,8нм), стронция (6,4мкм), инертных газов, а на “самоограниченных” переходах в атомарных ионахлазеры на парах ртути, бария, кальция, стронция, европия и др.
|
|
|
Рис. Схема импульсного лазера на парах металла (меди). 1разрядный канал с ПС, 2 и 3электроды, 4навески рабочего вещества(меди), 5вакуумноплотная теплоизолирующая оболочка разрядной трубки, 6зеркала ООР, С-накопительный конденсатор, Тэлектронный ключ (тиратрон) |
2.3. “Самоограниченные” лазерные переходы молекул. На рис.5 показана схема термов молекулы N2 с лазерным переходом на УФ-линии 337нм между колебательными подуровнями электронного C3u-терма (верхнее лазерное состояние «2») и B3g-терма (нижнее состояние «1»). Отношение 2/140нс/10мкс<<1. Оказалось, что вследствие малого времени существования инверсии (3…10нс) наилучшим для возбуждения N2-лазера с высоким давлением является разряд поперечного типа по схеме “Блюмляйн”, с “бегущей волной тока” (рис. 5,б).
Разрядная камера состоит из нижней сплошной металлической пластины 1, слоя диэлектрика 2 и верхних металлических пластин: сплошной 3 и секционированной Электродами разряда поперечного типа являются: анодомбоковая поверхность 5 пластины 3, а катодамиповерхность 6 секций При подаче на схему постоянного напряжения U от источника питания происходит зарядка ёмкостных накопителей С13 и С14 по цепи: дроссель Lдиод Дшунтирующий дроссель Lш. В результате при резонансном заряде напряжение на накопителях удваивается и достигает 2U, при этом напряжение между анодом и катодами UАК=0. При подаче на электронный ключ-разрядник 8 запускающего импульса, происходит быстрый перезаряд накопителей С14а…С14д до напряжения с обратной полярностью (2U). Перезаряд начинается с дальней секции 4а и происходит далее по секциям 4б, 4в, 4г и 4д со сдвигом во времени, определяемом различным временем распространения электрических сигналов по кабельным линиям 7а7д, соединяющим секции и разрядник. В результате между анодом и катодом каждой секции со сдвигом во времени возникает напряжение UА-К2U(2U)=4U, поочередно ”пробивающее” разрядные промежутки секций, т.е. возникает “бегущая волна” тока от секции 4а к секции 4д. Длина кабельных линий подобрана так, чтобы волна тока разряда в секциях распространялась синхронно с распространением световой волны лазерного излучения вдоль разрядного канала, что поддерживает оптимальные условия для усиления этого излучения.
Лазер работает либо без зеркал, либо только с задним зеркалом 9.
По схеме, аналогичной азотному, работает и лазер на электронных переходах в молекуле водорода с вакуумным УФ-излучением в полосе 0,12…0,16мкм.
|
|
|
Рис. 5. Импульсный лазер на молекулярном азоте. адиаграмма энергетических уровней молекулы N2; б схема возбуждения лазера бегущей волной тока, оболочка разрядного канала не показана; в эквивалентная электрическая схема |
3. Лазеры с накачкой неупругими столкновениями 2 рода между частицами в газоразрядной плазме.
Накачка лазеров, работающих на смеси газов, осуществляется благодаря нескольким типам таких столкновений:
1) “резонансная” передача энергии возбуждения от метастабильных атомов (молекул) буферного газаатому или иону рабочего газа, на квантовом переходе которого возникает инверсия населённостей;
2) передача энергии от метастабильного атома буферного газа атому рабочего газа, в результате чего последний становится положительным ионом в возбуждённом состоянии (пеннинговская ионизация или Пеннинг-процесс);
3) передача энергии и заряда от иона буферного газа атому рабочего газа, в результате чего последний становится положительным ионом в возбуждённом состоянии (“несимметричная” перезарядка в условиях “случайного резонанса”);
4) ударно-излучательная рекомбинация двукратно-заряженного иона рабочего газа A++ с электроном, в результате которой заселяется лазерный переход A+*;
5) ион-ионная рекомбинация положительного иона A+ с отрицательным ионом В, в результате которой заселяется верхний лазерный уровень (AВ)* или A*.
Интенсивному протеканию таких реакций способствует накопление в плазме метастабильных атомов и молекул, а также ионов газов, которые образуются в плазме главным образом за счёт неупругих соударений 1-го рода с электронами.
3.1. Накачка “резонансной” передачей возбуждения в столкновениях между атомами. Гелий-неоновый лазер. Лазер работает на электронных квантовых переходах атома неона между верхними лазерными уровнями «2» электронных конфигураций: (1s22s22p5)5s и ( )4s, и нижними лазерными уровнями «1» конфигураций: ( )4p и ( )3p (рис.6). При переходах ( )5s( )3р излучаются красная лазерная линия с 632,8нм и ряд менее интенсивных лазерных линий (зелёная с 543нм, оранжевые: 594нм и 612нм и ближняя ИК с 730нм). Переходам ( )4s( )3p и ( )5s( )4p соответствуют две ИК-линии с 1,15мкм и 3,39мкм.
Время жизни состояний «2» определяется скоростью радиационных переходов Ne* в состояния «1», а состояний «1»в долгоживущие состояния конфигурации ( )3s. В результате: 2/1~3…5, благодаря чему создаётся стационарная инверсия и становится возможным непрерывный режим работы лазера.
Селективная «резонансная» накачка состояния «2» Ne*-( )5s происходит в смеси неона с гелием как результат эндотермической реакции передачи возбуждения от атома гелия Неm в метастабильном состоянии 21Sатому неона Ne0, а накачка состояния «2» Ne*-( )4s как результат подобной экзотермической реакции передачи возбуждения: от атома гелия Неm 23Sатому неона Ne0 (рис.6,б,в).
Возбуждение смеси неона с гелием при соотношении pNe:pHe1:5 может осуществляться в ПС тлеющего стационарного разряда постоянного тока (несколько мА) (рис.7), или в высокочастотном разряде. Окна трубки изображенного на рисунке лазера ориентированы под углом Брюстера к оптической оси ООР, в результате излучение лазера становится линейно-поляризованным в плоскости падения луча на окно.
В лазере наблюдается конкуренция переходов с 632,8нм и 3,39мкм, имеющих общий верхний уровень ( )5s Ne*, а именно: появление генерации на 3,39мкм, имеющей в 3 раз больший коэффициент усиления (см., (1.41)), приводит к снижению мощности на 632,8нм. Поэтому в достаточно длинных разрядных трубках лазера, работающего на 632,8нм, предпринимаются меры по повышению потерь для 3,39мкм путём введения в ООР лазера вспомогательной метановой поглощающей ячейки.
Линии 1,15мкм и 632,8нм конкурируют по нижнему уровню ( )3p Ne*.
Отметим, что передачи энергии возбуждения “в обратном направлении”: от Ne*«2»к Неm, не происходит, т.к. концентрация N(Hem) в плазме значительно превышает концентрацию Ne*: N(21S Hem)>>N(5s Ne*) и N(23S Hem)>>N(4s Ne*). Это вызвано различием времён жизни данных состояний: (Hem)>>(5s и 4s Ne*).
|
|
Процессы в плазме ПС, приводящие к накачке лазерных переходов |
|
б)ударное возбуждение гелия в метастабильные состояния Hem при неупругом столкновении 1-го рода He с электроном плазмы ПС |
|
|
|
|
|
в)передача возбуждения от Hem атому Ne |
|
|
|
|
|
Рис. 6. Диаграммы энергетических уровней гелия и неона («2» и «1»верхние и нижние лазерные уровни неона соответственно, жирные стрелкилазерные переходы в He-Ne лазере |
|
|
|
|
|
Рис. 7. Конструкция He-Ne лазера (источник питания не показан). 1 капилляр (область ПС разряда постоянного тока), 2 анод («+» источника питания), 3 катод («» источника питания), 4 “Брюстеровское” окно трубки, 5 зеркала ООР, 6 стеклянная оболочка трубки |
В настоящее время He-Ne лазер является наиболее стабильным лазером, что и определяет его многочисленные применения. В частности, его линии излучения в видимой области на переходах ( )5s( )3р могут дополнительно стабилизироваться по частоте с использованием в качестве репера линий поглощения паров йода, а ИК линия с 3,39мкмлинии метана [12]. В результате длины волн линии излучения HeNe лазера являются стандартами длины волны в видимом и ИК диапазонах (подробнее, см., раздел 6).
3.2. Накачка передачей возбуждения в столкновениях между молекулами. Лазер на двуокиси углерода. Лазер работает на квантовых переходах между колебательно-вращательными уровнями основного электронного состояния молекулы CO2 (рис. 8). Верхние лазерные состояния «2» соответствуют “антисимметричным” колебаниям молекулы (00°1), а нижние «1» “симметричным” (10°0) и “деформационным” (02°0) колебаниям. Невозбуждённое состояние молекулы обозначается как (00°0). Все колебательные уровни расщеплены на ряд вращательных подуровней, что приводит к большому числу линий генерации в ИК диапазоне: 9,4…10,6мкм. Поскольку вероятность спонтанного излучения Aik~3 (1.11), то для ИК-переходов в молекуле CO2 она оказывается значительно меньшей, чем для переходов в видимом диапазоне, и поэтому релаксация уровней в CO2 лазере происходит главным образом столкновениями. Времена жизни: состояний «2»(00°1)2~103с, а состояний «1» (10°0 и 02°0) 1~2105с.
Соотношение 2/1~50, что определяет стационарную инверсию и возможность непрерывного режима работы лазера. Накачка уровней «2» молекулы CO2 может осуществляться и столкновениями 1-го рода с электронами плазмы, однако гораздо более эффективно она происходит в смеси двуокиси углерода с азотом путём передачи энергии молекуле CO2(00°0) от колебательно-возбуждённого долгоживущего состояния X1g+ молекулы азота N2* при эндотермической реакции
N2* (X1+g)+CO2(00°0)+E(~kT) (N2)0 + CO2 «2»(00°1). (3)
Молекулы N2*, в свою очередь, создаются в разряде ударным возбуждением молекул азота (N2)0 электронами плазмы ПС.
Состояния CO2 «1» распадаются и интенсивно заселяют состояние 01°0:
CO2(10°0) + CO2(00°0)2CO2(01°0) и CO2(02°0)+CO2(00°0)2CO2(01°0). (4)
Это приводит к нежелательному заселению нижних лазерных уровней столкновениями CO2(01°0)+CO2(01°0). Для дезактивации состояния CO2 (01°0) в газовую смесь CO2+N2 вводят гелий, который, кроме того, охлаждает CO2 в объёме ПС. Соотношение давлений: 1:1:8.
Для возбуждения смеси CO2-N2-Не при средних давлениях используются одно- и многоканальные (“волноводные”), разрядные трубки с продольным разрядом, воздушным и водяным охлаждением. Проблемой, возникающей в лазере, является деградация смеси в разряде, вызванная диссоциацией молекул двуокиси углерода: 2CO22CO+O2, поэтому смесь приходится обновлять путём ее прокачки через зону разряда. Быстрая прокачка в поперечном направлении по отношению к оси оптического резонатора позволяет, кроме обновления смеси, убирать из разряда “горячие” молекулы, а также возбуждённые молекулы CO2 в состоянии (01°0). Энергия возбуждения верхних лазерных уровней молекулы CO2 составляет 0,28эВ и на 2 порядка ниже, чем у Ar+ и He-Ne лазеров, что определяет значительно более высокий КПД CO2 лазера (до 0,4).
Лазеры на смеси CO2-N2-He с продольным разрядом позволяют получать в непрерывном режиме мощность около 1кВт в расчёте на метр длины активной среды.
Во много раз большую мощность имеют электроионизационные лазеры с “несамостоятельным” разрядом “поперечного” типа и предионизацией, работающие при высоком давлении газовой смеси только в импульсном режиме. В таких лазерах, называемых “ТЕА-лазерами” (“ТЕА” аббревиатура от: “Transverse Excitation Atmospheric pressure”), используется ПС разряда, в котором вектор электрического поля направлен перпендикулярно оптической оси резонатора (разряд «поперечного» типа). После приложения к электродам напряжения U, меньшего, чем напряжение зажигания Uзаж, т.е. U<Uзаж, разряд не возникает. Зажигание однородного объёмного разряда происходит в момент включения источника дополнительной ионизации: либо путём облучения межэлектродного промежутка импульсом УФ-излучения через прозрачную стенку разрядной кюветы, либо путём введения в межэлектродный промежуток лазера пучка быстрых электронов через тонкую металлическую фольгу. В результате мощность ТЕА-лазера достигает десятков тераватт.
|
|
|
Рис. 8. Диаграммы нижних колебательно-вращательных уровней основного электронного состояния молекул азота N2 и двуокиси углерода CO2 |
Лазеры на двуокиси углерода применяются: в технологии для обработки материалов, в экспериментах по управляемым ядерным реакциям, в хирургии, а такжев метрологии.
Передачей возбуждения в столкновениях между молекулой синглетного кислорода и йодом накачивается химический кислородно-йодный лазер (подробнее см., раздел 6).
3.3. Накачка Пеннинг-процессом. Ионный лазер на парах кадмия. Лазер работает на электронных квантовых переходах в спектре однократно ионизированного кадмия (рис. 9,а). Верхние лазерные уровни «2» представляют собой две компоненты тонкой структуры (ТС) состояния иона кадмия Cd+* 2D*3/2,5/2 с электронной конфигурацией (1s22s22p63s23p63d104s24p6)4d95s2, образованной удалением электрона из «внутренней» 4d-подоболочки (т.наз. “Бейтлеровский” терм). Нижние лазерные уровни «1»также две компоненты ТС Cd+* 52P1/2,3/2 “одноэлектронной” системы термов иона кадмия Cd0+* состояния с электронной конфигурацией (1s2…4p6)4d105p, получающегося при ионизации 5s-оболочки. Уровни «2» релаксируют путём радиационных переходов только в состояние «1», и поскольку переход “двухэлектронный”, их вероятность невысока, и время жизни уровней «2» 2800нс. Уровни «1» являются резонансными уровнями иона кадмия, и их время жизни 12нс. В результате 2/1~4·102, благодаря чему возможно создание стационарной инверсии и реализации непрерывного режима работы лазера на трёх переходах: с 441,6нм (синяя линия), 325нм и 353,6нм (УФ-линии).
Накачка уровней «2» может происходить и столкновениями 1-го рода электронов с атомами кадмия в основном состоянии, однако гораздо эффективнее она осуществляется посредством нерезонансной экзотермической реакции пеннинговской ионизации кадмия при столкновении атомов Cd с метастабильными атомами Неm при разряде в смеси паров кадмия с гелием (рис. 9,б,в).
“Нерезонансность” объясняется появлением в результате реакции третьей частицыэлектрона, который уносит в данном случае разницу Е между энергией Hem и энергией состояний «2»Cd+*, и поэтому накачку эффективно осуществляют атомы гелия в обоих метастабильных состояниях: 21S и 23S.
|
|
Процессы в плазме ПС, приводящие к накачке лазерных переходов |
|
б)ударное возбуждение гелия в метастабильные состояния Hem при неупругом столкновении 1-го рода He с электроном плазмы ПС |
|
|
|
|
|
в)ионизация с возбуждением атома Cd0 при его неупругом столкновении 2-го рода с Hem (Пеннинг-процесс) |
|
|
|
|
|
Рис. 9. Диаграммы возбуждённых уровней атома гелия (Неm), иона гелия (Не+) и однократно ионизированного кадмия («2» и «1» верхние и нижние лазерные уровни Cd+* соответственно, жирные стрелкилазерные переходы в He-Cd+ лазерах с ПС (Пеннинг-процесс) и РПК (перезарядка). |
Возбуждение смеси гелия с парами кадмия осуществляется в разрядной трубке с тлеющим разрядом (рис. 10), принципиально отличающейся от трубки He-Ne лазера лишь наличием испарителя с кадмием вблизи анода, и конденсатора паров кадмия (зоны с малой температурой)вблизи катода. Испаряющиеся атомы кадмия ионизируются в разряде, за счёт дрейфа ионов Cd+ в электрическом поле ПС (явление катафореза) кадмий транспортируется в направлении катода, и в конденсаторе паров атомы кадмия выводятся из разряда. После переноса всего имеющегося в испарителе кадмия, направление потока паров изменяется на обратное путём перемены функций электродов: анода и катода, а также испарителя и холодильника.
Роль буферного газа гелия в данном лазере состоит в:
1) предварительном зажигании разряда и “саморазогреве” трубки до температуры, препятствующей конденсации в ней паров кадмия при катафорезе,
2) накачке рабочего перехода Пеннинг-процессом,
3) защите выходных оптических окон трубки от конденсации на них паров металла.
He-Cd+ лазеры различных размеров имеют выходную мощность на 441,6нм от единиц мВт до 200мВт, а на 325нмдо 50мВт, и используются в системах обработки информации, голографии (см., раздел 6), спектроскопии и др.
|
|
|
|
Рис. 10 Схема ионного лазера на парх металла с продольным разрядом и введением паров металла с помощью катафореза. Источник питания не показан. 1 анод («+» источника питания), 2 катод («» источника питания), 3 капилляр разрядной трубки (область ПС), 4 “Брюстеровское” окно трубки, 5 испаритель, 6 конденсатор паров (холодильник), 7 зеркала ООР |
|
|
Процессы в плазме ПС, приводящие к накачке лазерных переходов He-Se ионного лазера |
|
|
а)ударная ионизация гелия при неупругом столкновении 1-го рода атома He с электроном плазмы ПС |
|
|
б)ионизация с возбуждением атома Se0 при его неупругом столкновении 2-го рода с ионом гелия He0+ (перезарядка) |
|
|
Рис. 11. Этапы накачки “перезарядкой в условиях случайного резонанса” ионизацией с возбуждением атома Se при его столкновении с ионом He+ |
3.4 Накачка перезарядкой. Ионный лазер на парх селена. Лазер работает на электронных квантовых переходах в спектре однократно ионизированного селена. Верхние лазерные уровни «2» являются дублетными и квартетными термами 4P и 2,4D электронной конфигурации (1s2…3d10)4s24p25p Se+*. Нижние лазерные уровни «1» относятся к конфигурациям ( )4s24p24d, ( )4s24p25s и ( )4s4p Уровни «2» распадаются “по лазерному переходу”, а уровни «1»быстрыми резонансными переходами в основное состояние иона Se0+. В результате 2/1~5…10, благодаря чему стационарная инверсия создаётся более чем на 50-ти ионных лазерных переходах селена, и происходит непрерывная генерация в диапазоне длин волн 0,44…1,2мкм. Шесть наиболее интенсивных лазерных линий Se+* лежат в сине-зелёной и зелёной частях спектра в диапазоне 0,49…0,531мкм.
Энергия возбуждения верхних лазерных уровней «2» иона селена близка к энергии основного состояния иона гелия He0+-1s 2S1/2, и поэтому эти уровни могут селективно заселяться посредством реакции перезарядки при столкновениях атомов селена Se0 с ионами He0+ в газоразрядной плазме (рис. 11).
Разрядная трубка He-Se+ лазера с накачкой в ПС имеет такую же конструкцию, что и трубка He-Cd+ катафорезного лазера (рис. 10). He-Se+ лазер излучает на сине-зелёных и зелёных линиях с суммарной мощностью до 200мВт (такой же, как и в He-Cd+ лазере на синей линии). Отметим, что линии излучения He-Se+ лазера в зелёной области могут стабилизироваться по частоте с использованием в качестве репера линий поглощения паров йода [12].
Очевидно, что Оба описанных лазера: He-Cd+ (с синим излучением) и He-Se+ (с зелёным излучением) удачно дополняют He-Ne лазер, излучающий на красной линии, и в результате эти три лазера можно использовать для синтеза цветных изображений.
|
|
|
Рис. 12. Схема ионного лазера на парах металла с РПК (оболочка разрядной трубки и источник питания не показаны) |
3.5. Накачка атомов металлов перезарядкой в плазме ОС. Лазеры с РПК. Активной средой газоразрядного лазера, возбуждаемой ударами второго рода, с неменьшим успехом, чем ПС, может служить плазма двух других видов [10]: плазма ОС катодной области аномального тлеющего разряда постоянного тока и плазма высокочастотного разряда “ёмкостного” типа.
В качестве примера таких лазеров рассмотрим лазер с накачкой активной среды в разряде постоянного тока с полым катодом (РПК). Если изготовить катод с полостью, то можно подобрать такое давление газа, что полость будет заполнена плазмой ОС (рис. 12). Принципиальным отличием лазерной трубки с РПК от трубки с ПС является то, что направление вектора электрического поля разряда оказывается перпендикулярным оптической оси лазера, т.е. вид разряда в отличие от “продольного” в лазерах с ПС, становится “поперечным”. По сравнению с ПС, в плазме ОС РПК появляется большое число высокоэнергетических электронов, отсутствует продольный дрейф ионов и возникает существенный выигрыш в параметрах генерации для накачиваемых перезарядкой ионных лазеров, таких как лазеры на парах Hg, Cd, Zn, Tl, Cu, Ag, Auв смеси с гелием, и на парах Tl, Cu, Ag, Al в смеси с неоном.
Все эти лазеры имеют благоприятное соотношение времен жизни уровней: 2/1>1, могут работать как в непрерывном, так и в импульсном режиме свободной генерации (см., раздел 3), излучая в видимом, ИК- и УФ-диапазонах длин волн, а линия с 224,3нм ионного Нe-Ag+ лазера является самой коротковолновой лазерной линией, на которой генерация наблюдается в непрерывном режиме.
3.5.1. Ионные лазеры видимого диапазона с РПК на парах металлов. В импульсном лазере на смеси гелия с парами ртути генерация происходит на двух компонентах ТС перехода иона Hg+: (1s2…5d10)7p 2P3/2,1/2( )7s 2S1/2 (красная 615нм и ИК 794,5нм линии), накачиваемых перезарядкой ионов гелия на атомах ртути:
He0+(1s 2S1/2) +Hg0(6s2 1S0) Hg+*(7p 2P3/2,1/2) +He0(1s2 1S0) +{E(~kT)}. (5)
В импульсном лазере на смеси неона с парами таллия генерация происходит на жёлтой линии 595,0нм (переход (1s2…5d10)6s7p 3P2( )6s7s 3S1 Tl+), накачиваемой перезарядкой ионов неона на атомах таллия:
Ne0+(2S1/2) +Tl0(6s26p 2P1/2) Tl+*(6s7p 3P2) +Ne0(1S0) +{E0,33эВ}. (6)
Введение паров металлов в ОС этих лазеров осуществляется термоиспарением.
В РПК можно использовать и смесь из нескольких активных сред. Так, в импульсном лазере на смеси гелия с криптоном и парами ртути генерация происходит одновременно на трёх далеко разнесённых по частоте линиях: синей линии иона криптона (469,4нм), а также красной 615нм и ближней ИК 794,5нм линиях иона ртути.
3.5.2. Одновременная накачка атомов кадмия Пеннинг-процессом и перезарядкой в РПК. Трёхцветный лазер на парах кадмия. Уникальностью ионного спектра кадмия является наличие у него лазерных переходов с энергией возбуждения меньшей энергии метастабильных состояний гелия Неm, а также переходов, верхний уровень которых находится в энергетическом резонансе с основным ионным состоянием He0+1s 2S1/2 (рис. 9). Поскольку в разряде происходит одновременное возбуждение как Hem1s2s 21,3S, так и He0+, то в смеси He-пары Cd одновременно реализуются как Пеннинг-процесс (рис. 9,в), так и перезарядка:
He0+ +Cd0 He0+Cd+*(6g 2G, 4f 2F)+E (~kT). (7)
Реакцией (7) накачиваются в РПК уровни Cd+*6g 2G, а в результате их релаксациии уровни Cd+*4f 2F, которые являются верхними соответственно для красных и зелёных лазерных линий с 635,5нм и 636нм, 533,7 и 537,8нм (см., рис. 9,а). Таким образом, использование РПК для накачки кадмия приводит к одновременному излучению на синей линии 441,6нм (Пеннинг-процесс), а такжена зелёном (0,53мкм) и красном (0,63мкм) дублетах (перезарядка). Такое трёхцветное излучение используется, например, при анализе цветной графики.
На зелёных и красных линиях, имеющих высокую одн контура усиления, в лазере реализуется одночастотный режим излучения (см., раздел 2), что увеличивает длину когерентности лазера до величины порядка метра и говорит о перспективности его применения, в частности, в голографии. Отметим, что зелёные линии излучения He-Cd+ лазера с РПК (533,7нм и 537,8нм) могут стабилизироваться по частоте с использованием в качестве репера линий поглощения паров йода [12].
3.5.3. Ультрафиолетовые ионные лазеры с получением паров металлов катодным распылением. Явление катодного распыления состоит в том, что в аномальном тлеющем разряде при бомбардировке поверхности катода ускоренными в катодной области ионами газа, с поверхности катода, кроме эмиссии электронов, возникает и интенсивная эмиссия атомов материала самого катода [10]. Это используется для создания в ОС лазеров с РПК необходимой концентрации трудноиспаряемых металлов, таких как Cu, Ag, Au, Al и др. В этом случае катод лазера изготовляется из нужного металла целиком или покрывается слоем этого металла. В таблице 1 перечислены лазерные переходы этих металлов, принадлежащие в т.ч. и УФ-части спектра (0,22...0,36мкм), и механизм их накачки.
Таблица 1. Лазеры с катодным распылением и возбуждением ионных переходов металлов перезарядкой в плазме РПК
|
Лазер |
Реакция в плазме ОС, обеспечивающая накачку лазерного перехода |
Длины волн наиболее важных лазерных линий |
|
He-Cu+ |
He0++Cu0 He0+Cu+*(6s)+E |
780,8нм (ИК) |
|
Ne-Cu+ |
Ne0++Cu0 Ne0+Cu+*(5s)+E |
248,6, 259,9 и 260нм (УФ) |
|
He-Ag+ |
He0++Ag0 He0+Ag+*(5d)+E |
224,3нм и 227,8нм (УФ) |
|
Ne-Ag+ |
Ne0++Ag0 Ne0+Ag+*(4d85s2)+E |
318нм (УФ) |
|
He-Au+ |
He0++Au0 He0+Au+*(6s)+ E |
282...292нм (УФ) |
|
Ne-Al+ |
Ne0++Al0 Ne0+Al+*(4f)+ E |
358,7нм (УФ) |
Лазеры с УФ-излучением привлекательны для использования в фотолитографии, для накачки лазеров на красителях, димерах и кристаллах, при контроле качества оптических материалов по их флюоресценции и др.
3.6. Накачка ион-электронной рекомбинацией. Импульсный ионный лазер на парах стронция. При рекомбинации положительных ионов с электронами [10], в результате которой однократные ионы нейтрализуются, двукратные ионы становятся однократными и т.д., и происходит заселение возбуждённых состояний (и лазерных переходов) нейтрализовавшейся частицы. Наилучшие условия для рекомбинации создаются в импульсном газовом разряде непосредственно после прекращения импульса тока в интервал времени, когда возникает рекомбинационная неравновесность или так называемое “послесвечение” плазмы. В этот интервал времени ионы и электроны, накопившиеся в плазме за время протекания тока, рекомбинируют с «остывающими» электронами. Процесс протекает интенсивно именно в послесвечении, поскольку электроны теряют энергию в упругих столкновениях с тяжёлыми частицами, их температура Te резко снижается, а скорость рекомбинации, как известно, резко зависит от Te , как Te9/2.
Диаграмма энергетических уровней одного из наиболее мощных лазеров такого типа, работающих на электронных переходах в атомарном ионе стронция Sr+*, показана на рис. 13,а. Верхний лазерный уровень «2» относится к электронной конфигурации Sr+* (1s2…4p6)6s, а нижние уровни «1» к конфигурации Sr+* (1s2…4p6)5p и представляют собой две компоненты ТС. Переходы «2»«1» имеют длины волн 416,2нм и 430,5нм (ближняя УФ и фиолетовая части спектра). Уровень «2» распадается по каналу «2»«1»,
|
|
Процессы в плазме ПС, приводящие к накачке лазерных переходов |
|
б)двукратная ударная ионизация атома Sr0 при неупругом столкновении 1-го рода Sr0 с электроном плазмы ПС |
|
|
|
|
|
в)трёхчастичная ударно-излу-чательная рекомбинация двукратно-ионизированных атомов стронция Sr++ в “остывающей” плазме |
|
|
|
|
|
Рис. 13. Диаграмма энергетических уровней однократно- и двукратно-ионизированного Sr и механизм накачки в лазере на парах стронция |
а уровни «1» посредством переходов с 1032,7нм и 1091,4нм в состояния Sr+* (1s2…4p6)4d. Так как Aik~3 (1.11), то 2/1<1, а поскольку F2~F1 (а не F2>>F1, как того требует условие (1)), то инверсию населённостей можно получить только путём снижении 1 во время действия накачки уровня «2». Такой метод и реализуется в послесвечении импульсного газового разряда: снижение 1 происходит за счёт “сверхупругих” столкновений ионов Sr+* в состоянии «1» с остывающими электронами:
Sr+*( «1» 5p)+e (медленный) Sr+*(4d) + е (с энергией E'). (8)
В реакции (8) электрон приобретает и уносит энергию: E'=E(Sr+*5p)E(Sr+*4d). Одновременно происходит интенсивная накачка верхнего уровня лазерного перехода «2»( )6s трёхчастичной ударно-излучательной рекомбинацией двукратно-заряженного иона Sr++ и двух медленных электронов (рис. 13,б,в):
Sr0++ + 2e(медленные) Sr+*(«2» 6s) + е (с энергией E''), (9)
где через E''=E1''+E2'' обозначена энергия, выделяющаяся при ударно-излучательной рекомбинации и уносимая вторым электроном E1'', а также энергия E2'', уносимая квантами света при последующих релаксационных переходах ионов Sr+* в состояние «2».
Лазер работает в циклическом режиме. Во время протекания импульса тока разряда в трубке, конструкция и схема возбуждения которой идентичны трубке лазера на парах меди (рис. 4), за счёт неупругих столкновений 1-го рода атомов стронция с электронами плазмы ПС, происходит образование и накопление двукратно заряженных ионов Sr0++ (см., рис. 13,б). После окончания импульса тока, в “послесвечении”, внешнее электрическое поле снимается, электроны остывают, и начинается одновременное протекание процессов (8) и (9). Это приводит к инверсии населённостей и импульсной генерации, длительность которой определяется скоростью остывания электронов. Лазер работает на смеси паров стронция с гелием, который помимо обычных функций буферного газа в лазерах на парах металла, способствует и столкновительному охлаждению электронов.
К возможным применениям Sr+-лазера можно отнести накачку жидкостных лазеров на красителях, спектроскопию комбинационного рассеяния, флуоресцентную спектроскопию и др.
4.Накачка ударным возбуждением и ион-ионной рекомбинацией, эксимерные лазеры
Такие лазеры генерируют на электронных переходах двухатомных молекул, устойчиво существующих только в электронно-возбуждённых состояниях: эксимеровмолекул инертных газов (Ar2*, Kr2*, Xe2*), и эксиплексовмоногалогенидов инертных газов (ArF*, KrF*, XeF*, XeCl* и др.). «Эксимер» (exсimer) аббревиатура от “excited dimer”. Возбуждённое устойчивое состояние таких молекул называется “связанным”, является верхним лазерным состоянием «2», и имеет ряд колебательных подуровней (рис. 14). Основное энергетическое состояние, являющееся нижним лазерным состоянием «1», неустойчиво (т.наз.“разлётный” терм), и его время жизни очень мало 11012…1013с, откуда: 2/1>>1. Таким образом, в этой среде может быть создана стационарная инверсия населённостей, и лазер может работать или в непрерывном режиме, или в импульсном режиме свободной генерации, что определяется способами создания частиц в состоянии «2».
Образование эксимеров-димеров инертных газов R2* при рабочих давлениях в десятки атмосфер происходит электронными соударениями 1-го рода с последующими тройными соударениями:
е(быстрый)+R R*, и далее R* + 2R R2*«2» + R. (10)
Лазеры на моногалогенидах инертных газов (обозначаемых как RX*) обладают лучшими характеристиками, чем лазеры на димерах. Здесь главной является следующая цепочка процессов:
1а) образование возбуждённого атома инертного газа R* соударениями 1-го рода с электронами
е (быстрый)+R R*, (11,а)
1б) или образование R* в три этапа: путём создания атомарных ионов R+, далееконверсией ионов R+ в молекулярныеR2+, и, наконец,последующей их диссоциативной рекомбинацией с образованием R*:
е(быстрый)+R R+, R++2R R2++R и R2++e R + R*, (11,б)
2) образование RX* в состоянии «2» путём соударений R* с молекулой галогена X2:
R* + X2 (RX)* «2» + X . (12)
|
|
|
Рис. 1 Схема термов эксимерных (эксиплексных) молекулактивной среды эксимерных лазеров (rрасстояние между ядрами атомов в молекуле) |
Однако более интенсивно протекает ион-ионная рекомбинация по схеме:
1) образование молекулярных ионов R2+:
е(быстрый) + R R+, R+ + 2R R2+ + R (13,а)
2) образование отрицательных ионов галогена (X):
е(быстрый) + Х2 Х + Х, и е(медленный) + Х (Х), (13,б)
3) ион-ионная рекомбинация:
R2+ + (X) (RX)*«2» + R . (14)
Возбуждение газа (смеси газов) осуществляется либо в импульсном разряде поперечного типа с предыонизацией (ТЕА-лазеры), либо пучком быстрых электронов с малой частотой следования импульсов (доли Гц).
Наибольшее распространение получили эксимерные лазеры на молекулах XeCl* (308нмдля офтальмологии), и ArF* (192нмдля фотолитографии). Достаточно широкая линия (~10нм) позволяет осуществлять перестройку излучения эксимерного лазера по длине волны (частоте).
5. Тепловая накачка, газодинамический лазер
В этом типе накачки энергия черпается из нагретых до высокой температуры молекул газа, то есть тепловая энергия непосредственно преобразуется в энергию лазерного излучения. В качестве активных сред используются газовые среды с низкорасположенными энергетическими уровнями, как правило,колебательно-вращательными уровнями основного электронного состояния частиц. Однако один лишь нагрев не может обеспечить инверсию населённостей, поскольку среда будет оставаться в термодинамически равновесном состоянии с больцмановским распределением частиц по уровням энергии (1.2).
Инверсию населённостей можно создать при быстром охлаждении нагретого газа, за счёт различных скоростей релаксации частиц, находящихся на уровнях «1» и «2». Это можно сделать, например, в схеме с тремя уровнями энергии молекулы CO2 (рис. 15), используя то, что w1>>w2 , где w1=11 и w2=21.
|
|
|
Рис. 15. Динамика заселённости уровней при тепловой накачке (аг), и схема газодинамического лазера (д). 1 форкамера (зона сжатия газа в компрессоре 1а и камера сгорания 1б), 2 сопло, 3 ООР, 4 диффузор |
На рис. 15,а-г приведена динамика изменения населённостей уровней при тепловой накачке активной среды лазера:
1) равновесный нагрев газа до температуры T1 (рис. 15,б), превышающей начальную температуру T0 (рис. 15,а), увеличивает число частиц на уровне «2». Однако распределение частиц остаётся больцмановским с температурой T1, и инверсия между уровнями 2 и 1 не возникает, поскольку с точностью до статвесов уровней: N2<N1;
2) далее газ быстро охлаждается до температуры T0 за время tохл, следующим образом связанное с временами жизни уровней 1 и 2:
1<tохл<<2 . (15)
При этом населённость уровня «1» снизится синхронно со снижением температуры газа, а уровня «2»гораздо медленнее (рис. 15,в,г), и в газе возникает термодинамическая неравновесность, а на переходе «2»«1» инверсия населённостей (рис. 15,г).
Данная схема реализуется в газодинамических CO2-лазерах (рис. 15,д). Нагрев газа внешними источниками тепла нерационален, поэтому он осуществляется путём сжигания в воздухе углеводородного топлива с T1~2·103К. В результате появляются возбуждённые молекулы CO2, для которых 2>>1 (см., раздел 3.2). Далее за счёт адиабатического расширения при истечении нагретого и сжатого газа из узкого сопла в область низкого давления, происходит охлаждение газа (“газодинамическое охлаждение при V-T релаксации”).
Столкновительному опустошению уровня CO2(01°0) способствуют пары H2O, появляющиеся при горении, а дополнительная накачка уровня «2» обеспечивается столкновениями с молекулами N2*, образующимися в камере сгорания из азота, содержащегося в воздухе.
Хотя КПД преобразования тепловой энергии в излучение у газодинамического лазера меньший, чем у электроразрядного СО2 лазера, такие лазеры могут быть сделаны с большим объёмом активной среды и, следовательноиметь высокую мощность, а вопрос о КПД при использовании тепловых источников энергии стоит не так остро.
6. Накачка в химической реакции
Химические связи молекул являются исключительно ёмким накопителем энергии, которая выделяется при перестройке химических связей и может быть превращена во внутреннюю потенциальную энергию частиц, в частностив энергию их колебательного движения. Примером химической накачки является реакция взаимодействия водорода (или дейтерия) с фтором во фтор-водородном химическом лазере. Если в смеси Н2 и F2 каким-либо образом подвергнуть диссоциации небольшое количество молекул F2, то возникнет цепная реакция:
F + Н2 (НF)* + Н , Н + F2 (НF)* + F и т.д. (16)
Молекулы (НF)*, образующиеся в результате этой реакции, находятся в возбуждённом колебательном состоянии, причём на ряде ИК-квантовых переходов (3мкм) создаётся инверсия населённостей. Если к исходной смеси добавить двуокись углерода, то при столкновениях молекул происходит резонансная передача энергии возбуждения от (НF)* молекуле СO2 с возбуждением её верхнего лазерного уровня 00°1 CO2 и последующая генерация на 10,6мкм. То есть колебательно возбуждённые молекулы (НF)* играют ту же роль энергетических доноров, что и молекулы N2* в газоразрядных лазерах на смеси СО2-N2, а смесь D2, F2 и СО2 оказывается даже более эффективной.
В этой смеси коэффициент преобразования химической энергии в энергию когерентного излучения может достигать 15%. Химические лазеры могут работать как в импульсном, так и в непрерывном режимах; разработаны различные варианты химических лазеров, в том числе сходные с газодинамическими лазерами при тепловой накачке.
“Резонансной” передачей энергии в столкновениях между возбуждённой молекулой кислорода (в “синглетном” 1-состоянии) и невозбуждённым йодом с последующей генерацией на линии йода 1,315 мкм, накачивается химический кислородно-йодный лазер (Chemical Oxygen-Iodine Laser COIL). Синглетный кислород в электронно-возбуждённом состоянии возникает при химической реакции щелочного раствора перекиси водорода с хлором. Реакция передачи возбуждения происходит в газовом потоке, куда впрыскивается йод в смеси с буферным химически инертным газом. Мощность излучения достигает 105-106 Вт [14].
7. Оптическая накачка газовых активных сред
Особенности оптической накачки (ОН) подробно описываются далее в Разделе 5. Несмотря на то, что газы и пары металлов имеют заведомо меньшую плотность активных частиц, чем среды в конденсированном состоянии, в двух случаях ОН может дать здесь приемлемый результат:
1) если при узкой, типичной для газов, линии поглощения активных атомов, удаётся подобрать узкополосный эффективный источник ОН. Этот метод реализуется в лазерах на атомах щелочных металлов с накачкой излучением полупроводникового лазера (Diod pumped alkali lasers “DPAL-lasers”), работающих по классической 3-х уровневой схеме генерации с ОН (подробный анализ этой схемы см., в Разделе 5). Рассмотрим механизм накачки и генерации таких лазеров на примере квантовых переходов в атоме цезия. Из основного состояния Cs06s 2S1/2 путём ОН с длиной волны ОН=852,1нм заселяется “вспомогательный” резонансный уровень Cs*6p 2Р3/2, и далее, за счёт столкновений с атомами буферного газа происходит быстрый безызлучательный переход между уровнями ТС: 6p 2Р3/26p 2Р1/2. В результате возникает инверсия населённостей и генерация на переходе 6p 2Р1/26s 2S1/2 c ген=894,3нм и намного лучшими, чем у полупроводникового лазера, пространственными и частотными характеристиками. Несколько большей эффективностью обладает лазер на атомах рубидия (накачка: ОН=780нм, переход 5s 2S1/25p 2Р3/2, генерация: переход 5p 2Р1/25s 2S1/2, ген794,7нм), меньшей лазер на атомах калия. Для накачки используется AlGaAs-полупроводниковый лазер (см., раздел 5.5);
2) если газовая среда имеет широкую полосу поглощения и возможна “ламповая” широкополосная накачка. Это реализуется при фотодиссоциации молекул среды с образованием частиц в возбуждённом, верхнем лазерном состоянии «2». Например, в йодном фотодиссоционном лазере широкополосное УФ-излучение с 0,3мкм вызывает диссоциацию молекул CF3I с образованием возбуждённого йода в верхнем лазерном состоянии «2»:
CF3I + h(~4,1эВ) I*(2Р1/2)«2» + CF3 . (17)
Активная среда лазера создаётся в кварцевой трубке с парами CF3I, помещённой в оптический резонатор и накачиваемой излучением ксеноновой газоразрядной лампы. Генерация происходит на ИК линии йода с 1,32мкм.
Литература
Петров К.С.: Радиоматериалы, радиокомпоненты и электроника. - СПб.: Питер, 2004
Прянишников В.А.: Электроника: Полный курс лекций. - СПб.: Корона принт, 2004
РАН, Сибирское отделение, Институт физики полупроводников; Отв. ред. А.Л. Асеев; Рец.: Ф.А. Кузнецов, И.Г. Неизвестный, В.К. Малиновский: Нанотехнологии в полупроводниковой электронике. - Новосибирск: СО РАН, 2004
Степаненко И.П.: Основы микроэлектроники. - М. ; СПб.: Лаборатория Базовых Знаний, 2004
Алексеенко А.Г.: Основы микросхемотехники. - М.: Лаборатория Базовых Знаний: Физматлит: Юнимедиаста, 2012
Быстров Ю.А.: Электронные цепи и микросхемотехника. - М.: Высшая школа, 2012
Лазарькова А.В.: Физическая электроника. - Белгород: БелГУ, 2002
Пасынков В.В.: Полупроводниковые приборы. - СПб.: Лань, 2012
Авт.: Ю.Г. Шретер, Ю.Т. Ребане, В.А. Зыков, В.Г. Сидоров; Под общ. ред.: В.И. Ильина, А.Я. Шика; Федер. целевая программа " Гос. поддержка интеграции высшего образования и фундаментальной науки" : Широкозонные полупроводники. - СПб.: Наука, 2011
Лачин В.И.: Электроника. - Ростов н/Д: Феникс, 2011
Новиков Ю.В.: Основы цифровой схемотехники. Базовые элементы и схемы. Методы проектирования. - М.: Мир, 2011
Пихтин А.Н.: Оптическая и квантовая электроника. - М.: Высшая школа, 2001
Ремизов А.Н.: Сборник задач по медицинской и биологической физике. - М.: Дрофа, 2011
Степаненко И.П.: Основы микроэлектроники. - М. ; СПб.: Лаборатория Базовых Знаний ; Невский Диалект ; Физ, 2011
Убайдуллаев Р.Р.: Волоконно-оптические сети. - М.: Эко-Трендз, 2001
Шило В.Л.: Популярные микросхемы КМОП: Серии К176, К561, К564, КР1561, К1554, К1564, К1594. - М.: Горячая линия-Телеком, 2001
Ильин В.И.: Варизонные полупроводники и гетероструктуры. - СПб.: Наука, 2000
Кравченко А.Ф.: Физические основы функциональной электроники. - Новосибирск: НГУ, 2010
ГАЗОВЫЕ ЛАЗЕРЫ























