Сердечно-сосудистая и нервная системы человека
Реферат
По Анатомии
Тема: Сердечно-сосудистая и нервная системы человека
Сердце. Топография, внешнее строение

Сердце (cor) полый четырехкамерный мышечный орган массой 240-330 г, размером с кулак человека, конусообразной формы, нагнетающий кровь в артерии и принимающий венозную кровь. Расположено сердце в грудной полости между легкими, в нижнем средостении.
Различают три поверхности сердца: грудино-реберную, диафрагмальную, легочную, а также правый край сердца. Грудино-реберная поверхность выпуклая, касается грудной стенки только областью верхушки. Диафрагмальная поверхность целиком прилегает к диафрагме, эта поверхность сердца уплощена. Легочная поверхность, соответствующая сердечному вдавлению левого легкого, выпуклая. Правый край входит в состав стенки правого желудочка. На поверхности сердца находятся передняя и задняя межжелудочковые борозды, охватывающие сердце спереди и сзади, и поперечная венечная борозда, расположенная кольцеобразно.
В грудной полости сердце занимает косое положение и обращено широкой частью основанием кверху, назад и вправо, а узкой верхушкой вперед, вниз и влево, на две трети оно располагается в левой половине грудной полости.
Границы сердца сверху проецируются во втором подреберье, справа выступают на 2 см за правый край грудины, верхушка сердца залегает в пятом левом межреберье на 1 см. кнутри от левой среднеключичной линии. Положение границы сердца изменчивы и зависят от возраста, пола, конституции человека и положения тела.
Строение сердца. Общие сведения

Сердце (cor) у человека четырехкамерное. В сердце расположены продольные перегородки (межпредсердная -4 и межжелудочковая - 14), которые делят орган на две изолированные половины правое и левое сердце, поперечная перегородка делит каждую из этих половин на верхнюю камеру предсердие и нижнюю желудочек сердца.
Предсердия принимают кровь из вен и проталкивают ее в желудочки, желудочки выбрасывают кровь в артерии. Из правого желудочка кровь поступает в легочные артерии, а из левого желудочка в аорту. От аорты берут начало многочисленные артерии, идущие к органам тела. Каждое предсердие сообщается с соответствующим желудочком через предсердно-желудочковое отверстие. Правая половина сердца содержит венозную кровь, а левая артериальную кровь.
Сердце окружено околосердечной сумкой перикардом (pericardium), отделяющей его от других органов. Стенку сердца образуют три слоя: наружный эпикард (epicardium 13), средний миокард (myocardium - 11), внутренний эндокард (endocardium - 12). Эпикард представляет собой часть серозной оболочки, состоящей из двух листов: наружного перикарда и внутреннего - непосредственно эпикарда. Миокард мышечная оболочка сердца, в предсердиях она тонкая (около 2 см.), а в желудочках достигает 15 см. По своему строению миокард поперечно-полосатая мышца, синцитий.
Эндокард образован эндотелием и выстилает все полости сердца.
Строение правого предсердия и желудочка
Правая половина сердца содержит венозную кровь и состоит из правого предсердия (atrium dexstrum) и правого желудочка (ventriculus dexter). Правое предсердие имеет форму куба, располагается в основании сердца справа и позади аорты и легочного ствола. От левого предсердия отделяется межпредсердной перегородкой (16), на которой находится овальная ямка (15), которая является остатком овального отверстия через которое сообщаются между собой предсердия во внутриутробном развитии. В правое предсердие впадает верхняя полая вена (1), нижняя полая вена (14) и венечный синус (13). Верхняя часть правого предсердия образована правым ушком сердца (5). Правое предсердие сообщается с правым желудочком при помощи предсердно-желудочкового отверстия.
Правый желудочек имеет форму треугольной пирамиды, с верхушкой обращенной вниз и располагается справа и спереди от левого желудочка. От левого желудочка отделяется при помощи межжелудочковой перегородки. Вверху в стенке желудочка есть два отверстия: сзади правое предсердно-желудочковое, а спереди отверстие легочного ствола. Предсердно-желудочковое отверстие закрывается при помощи трехстворчатого клапана (8). Внутри правого желудочка находятся трабекулы и сосочковые мышцы, от которых к створкам клапана идут сухожильные хорды. Из правого желудочка начинается легочной ствол (6). Между правым желудочком и легочным стволом находится полулунный клапан легочного ствола.
Строение левого предсердия и желудочка

Левая половина сердца содержит артериальную кровь и состоит из левого предсердия (atrium sinistrum) и левого желудочка (ventriculus sinister).
Левое предсердие имеет форму неправильного куба, отграничено от правого межпредсердной перегородкой, имеет левое ушко (15). В левое предсердие открываются 4 легочные вены, лишенные клапанов, они приносят артериальную кровь от дёгких. С левым желудочком сообщается с помощью предсердно-желудочкового отверстия, возле которого находятся гребенчатые мышцы.
Левый желудочек (16) конусовидный, его основание обращено кверху. В переднем верхнем отделе желудочек сообщается с аортой. У места выхода аорты из левого желудочка имеется клапан аорты, который состоит из правой, левой и задней полулунных заслонок. В предсердно-желудочковом отверстии располагается двухстворчатый клапан (митральный - 7).
На внутренней поверхности левого желудочка находятся мясистые трабекулы (10) и две сосочковые мышцы (9), от которых идут сухожильные хорды (8), прикрепляющиеся к свободным краям створок митрального клапана.
Толщина стенок левого предсердия около 2 мм, а желудочка до 15 мм. Верхушку сердца полностью выполняет левый желудочек.
Строение перикарда, проводящая система сердца
Сердце окружено околосердечной сумкой перикардом (pericardium). Перикард это замкнутый серозный мешок, который имеет 2 слоя: наружный - фиброзный и внутренний серозный. Наружный фиброзный слой переходит в оболочку крупных сосудов, а спереди при помощи соединительной ткани прикрепляется к внутренней поверхности грудины. Внутренний серозный слой делится на 2 листка: висцеральный эпикард и париетальный перикард. Между висцеральным и париетальным листками находится серозная щелевидная перикардиальная полость, которая содержит серозную жидкость.
Мускулатура предсердий и желудочков функционально соединяется друг с другом при помощи проводящей системы сердца, представляющей собой сложное нервно-мышечное образование. Проводящие волокна, входящие в ее состав имеют особое строение: их клетки бедны миофибриллами, но богаты саркоплазмой. В проводящей системе различают узлы и пучки: 1. Синусно-предсердный узел (1) расположен в стенке правого предсердия. Он связан с мускулатурой предсердий и обеспечивает их ритмическое сокращение. 2. Предсердно-желудочковый узел расположен в стенке правого предсердия вблизи трехстворчатого клапана (2). 3. Предсердно-желудочковый пучок (пучок Гисса 3) находится в перегородке между предсердиями и желудочками. 4. Ножки пучка Гисса (4) находятся в мускулатуре желудочков. 5. Волокна Пуркинье (5) ветвятся под эндокардом желудочков.
Строение стенок артерий. Особенности эластических, мышечных и смешанных артерий

Кровеносные сосуды, идущие от сердца к органам и несущие к ним кровь, называются артериями. Стенка артерий (рис. А) состоит из 3-х оболочек: 1 - tunica intima внутренняя оболочка образована эндотелием, 2 - tunica media - представлена гладкой мышечной тканью и эластическими волокнами, 3 - tunica externa содержит соеденительнотканные волокна. Эластические элементы артериальной стенки образуют единный эластический каркас, который работает как пружина и обеспечивает эластичность артерий. Существует несколько видов артерий: эластические, мышечные и смешанные. Артерии эластического типа содержат большое количество эластических волокон, которые обеспечивают им сократительную функцию. К артериям эластического типа относятся: аорта, крупные ветви аорты. Артерии мышечного типа имеют хорошо развитую мышечную ткань, например, средние и мелкие артерии.Смешанные артерии имеют хорошо развитые эластические волокна и мышечную ткань. Артерии различаются по отношению к органу: идущие вне органа называются экстраорганные, разветвляющиеся внутри органа внутриорганные (интраорганные). Боковые ветви одного ствола артерий или разных стволов могут между собой соединяться и образовывать соустье (анастомоз). Артерии ветвятся, мелкие ветви артерий называются артериолами. Артериолы имеет развитый слой мышечных клеток, поэтому они играют важную роль в регуляции регионального кровотока.
Особенности строения вен

Вены в большинстве случаев, это сосуды, которые несут кровь от органов к сердцу. Хотя в малом круге кровообращения существует исключение, это легочные вены, которые несут к сердцу богатую кислородом артериальную кровь.
Стенки вен (рис. Б) устроены как артерии (рис. А), но в них меньше эластической и мышечной ткани, поэтому пустые вены спадаются. Вены, сливаясь друг с другом, образуют крупные венозные стволы, которые впадают в сердце, это верхняя и нижняя полая вена. Вены образуют анастомозы и венозные сплетения.
Движение крови по венам происходит благодаря работе сердца, сокращению скелетной и висцеральной мускулатуры, а так же присасывающей деятельности грудной полости, в которой во время вдоха создается отрицательное давление. Обратному току крови в венах препятствуют клапаны , которые находятся в венозной стенке. Венозные клапаны состоят из складок эндотелия, содержащих слой соединительной ткани. Клапаны обращены свободным краем в сторону сердца, поэтому не препятствуют току крови в этом направлении, но удерживают ее от возвращения обратно.
В стенках артерий и вен находятся нервные окончания, которые связаны с центральной нервной системой, благодаря чему осуществляется нервная регуляция кровообращения.
В венах нижней половины тела мышечные волокна более развиты, чем в верхней.
Общий план строения большого и малого круга кровообращения. Микроциркуляторное русло
Малый круг кровообращения служит для обогащения крови кислородом. Он начинается из правого желудочка легочным стволом, который подходя к легким и делится на правую и левую легочные артерии. В легких кровь обогащается кислородом (легочное дыхание) и возвращается в сердце по 4 легочным венам в левое предсердие. В левом предсердие заканчивается малый круг кровообращения.
Большой круг кровообращения служит для доставки питательных веществ и кислорода всем органам и тканям организма и удаление из них углекислоты и продуктов обмена. Большой круг начинается из левого желудочка аортой. Аорта разветвляется на артерии, которые идут ко всем органам и тканям тела и переходит в толще их в артериолы и капилляры. Капилляры собираются в венулы, а потом в вены. Заканчивается большой круг в правом предсердии верхней и нижней полой венами. Дополнением к большому кругу является венечный (сердечный) круг кровообращения, которые обслуживает само сердце. Он начинается выходящими из луковицы аорты венечными артериями, а заканчивается венами сердца, которые сливаются в венечный синус и впадают в правое предсердие.
К микроциркуляторному руслу относят капилляры, лимфатические капилляры и интерстициальные пространства. Микроциркуляторное русло состоит из 5 отделов: 1- артериолы, 2 - прекапилляры, 3 - капилляры, 4 - посткапилляры, 5 - венулы.
Основные закономерности распределения кровеносных сосудов в теле человека
Кровеносные сосуды распределяются по телу в соответствие с общим строением тела и конечностей. Выделяют органные, т.е. находящиеся внутри органа и экстраорганные сосуды. Особенности распределения экстраорганных сосудов следующие:
- сосуды располагаются по ходу нервной трубки и нервов, образуя с последними нервно-сосудистые пучки,
- каждая конечность имеет один главный ствол,
- сосуды большей частью располагаются по принципу билатеральной симметрии, идут вместе с лимфатическими сосудами, образуя сосудистый комплекс,
- сосуды идут соответственно скелету конечностей: одна кость один главный ствол бедро, плечо; две кости два ствола предплечье, голень,
- ветвление артерий к органу идет по кратчайшему пути, т.е. каждая артерия снабжает ближайший орган,
- крупные сосуды располагаются на сгибательной поверхности,
- артерии образуют сосудистые сети, кольца и дугообразные анастомозы,
- калибр артерий определяется не только размером органа, но и его функцией (все железы внутренней секреции имеют несколько источников питания).
Характер ветвления внутриорганных сосудов соответствует строению, функции и развитию органа. Сосуды входят в орган со стороны его вогнутой поверхности через ворота органа.
В сосудистой системе имеются анастомозы соустья, всякий третий сосуд, соединяющий два других. Коллатераль окольный, боковой сосуд, идущий параллельно основному.
Аорта и её основные ветви

Аорта это основной ствол артерий большого круга кровообращения, который выносит кровь из левого желудочка сердца. В аорте различают 3 отдела: 1- восходящая часть аорты, 2- дуга аорты, (7), 3- нисходящая часть аорты (9). Длина восходящей части аорты 6 см, она покрыта перикардом. Позади рукоятки грудины она продолжается в дугу аорты, которая загибается назад и влево и перекидывается через левый бронх, а затем на уровне 4 грудного позвонка переходит в нисходящую часть аорты.
Нисходящая часть аорты лежит в заднем средостении сначала влево от позвоночного столба, а затем вправо, на уровне 7 грудного позвонка находится впереди позвоночного столба. Нисходящая часть аорты, находящаяся в грудной полости называется грудной частью аорты, а в брюшной полости брюшной часть аорты. Ниже 4 поясничного позвонка брюшная часть аорты делится на 2 общие подвздошные артерии. Ветви восходящей части аорты образованы сердечными артериями, которые выходят из луковицы аорты. От дуги аорты отходят 3 ствола: 1- плечеголовной ствол, 2 - общая сонная артерия, 3 - левая подключичная артерия. Плечеголовной ствол имеет длину 3-4 см, располагается впереди трахеи и позади грудинно-ключичного сустава делится на конечные ветви: правую общую сонную и правую подключичную артерии. Все ветви нисходящей части аорты делятся на париетальные идущие к стенкам полостей и висцеральные идущие к внутренним органам грудной и брюшной полости.
Венозная система. Системы верхней и нижней полых вен
Верхняя полая вена представляет собой толстый (2,5 см), но короткий ствол (5-6 см), располагающийся справа и сзади восходящей аорты. Передняя стенка верхней полой вены отделена от передней стенки грудной клетки толстым слоем правого легкого. Плечеголовные вены образуют верхнюю полую вену. Верхняя полая вена собирает венозную кровь от головы, шеи и верхних конечностей.
Нижняя полая вена это самый толстый венозный ствол в теле, лежит в брюшной полости рядом с аортой, вправо от нее. Она образуется на уровне 4 поясничного позвонка из слияния двух общих подвздошных вен. Нижняя полая вена направляется вверх и несколько вправо. Нижний отдел ее расположен на поясничной части диафрагмы. На задней поверхности печени нижняя полая вена проходит через отверстие диафрагмы в грудную полость и впадает в правое предсердие. Притоки, впадающие прямо в нижнюю полую вену, соответствуют парным ветвям аорты. Они разделяются на пристеночные вены и вены внутренностей.
Воротная вена собирает кровь от всех непарных органов брюшной полости, за исключением печени: от всего желудочно-кишечного тракта, где происходит всасывание питательных веществ, которые поступают по воротной вене в печень для обезвреживания и отложения гликогена; от поджелудочной железы, откуда поступает инсулин, регулирующий обмен сахара; от селезенки.
Кровообращение плода
Обогащенная кислородом и питательными веществами артериальная кровь поступает из плаценты матери в пупочную вену (24), которая входит в тело плода в области пупка и направляется вверх к печени. На уровне ворот печени делится на 2 ветви, одна из которых впадает в воротную вену печени, а вторая в ствол нижней полой вены. Одна из ветвей пупочной вены доставляет печени через воротную вену чистую артериальную кровь. Пройдя через печень, кровь по печеночным венам вливается в нижнюю полую вену. Смешанная (артериальная и венозная) кровь по нижней полой вене течет в правое предсердие. Из правого предсердия она через овальное окно, расположенное в перегородке предсердий в левое предсердие. Из левого предсердия смешанная кровь попадает в левый желудочек, затем в аорту, минуя не функционирующий легочной круг кровообращения. В правое предсердие впадают верхняя полая вена и венечный синус сердца. Венозная кровь из верхней полой вены и верхней половины тела попадает в правый желудочек, а из него в легочной ствол. Незначительная часть крови поступает в паренхиму легких, а оттуда по легочным венам в левое предсердие. Большая часть крови из легочного ствола переходит в нисходящую аорту и оттуда к внутренностям и нижним конечностям. Таким образом, верхняя часть тела (голова) получает кровь, более богатую кислородом и питательными веществами, а нижняя половина тела питается хуже. При рождении происходит переход от плацентарного кровообращения к легочному.
Лимфатическая система
Лимфатическая система является составной частью сосудистой системы и представляет добавочное русло венозной системы и имеет сходные черты строения (наличие клапанов, направление тока лимфы от тканей к сердцу).
Функция лимфатической системы проведение лимфы от тканей в венозное русло (транспортная, резорбционная и дренажная), а также образование лимфоидных элементов (лимфопоэз), участвующих в иммунологических реакциях, и обезвреживание попадающих в организм инородных частиц, бактерий. По лимфатическим путям распространяются клетки злокачественных опухолей.
Лимфатическая система состоит из следующих отделов: 1 - пути проводящие лимфу (сосуды, стволы, протоки); 2 - места развития лимфоцитов (костный мозг, вилочковая железа, лимфоидные образования в слизистых оболочках, одиночные лимфатические узелки, образование лимфоидной ткани в форме миндалин); 3 - скопления лимфоидной ткани в червеобразном отростке; 4 - пульпа селезенки; 5 - лимфатические узлы. Наличие лимфатических узлов это отличие лимфатической системы от венозной. Лимфатические сосуды пронизывают почти все органы, кроме мозга, паренхимы селезенки, эпителиального покрова кожи, хрящей, роговицы, хрусталика глаза, плаценты и гипофиза.
Лимфатические узлы расположены по ходу лимфатических сосудов и вместе с ними составляют лимфатическую систему. Каждый лимфатический узел покрыт соединительнотканной капсулой от которой внутрь узла отходят капсулярные трабекулы. На поверхности узла имеется вдавление ворота узла. У соматических узлов имеются одни ворота, у висцеральных 3-4.
Органы кроветворения. Костный мозг, вилочковая железа, селезёнка
Костный мозг - основной орган иммунной системы и важный орган кроветворения. Выделяют красный костный мозг и жёлтый. У взрослого красный мозг заполняет ячейки губчатого вещества костей, а жёлтый полости диафизов трубчатых костей. Общая масса костного мозга составляет около 5% массы тела. Красный костный мозг состоит из миэлоидной и лимфоидной ткани. В нём образуются стволовые клетки предшественницы всех клеточных элементов крови. У детей красный мозг заполняет все полости костей, а к 20-25 годам в полостях диафизов он замещается желтым костным мозгом, состоящим, в основном, из жировой ткани.
Вилочковая железа (thymus - 3, 7) находится в верхенепередней части средостения, позади рукоятки грудины и состоит из 2-х долей. Величина железы меняется с возрастом, у новорожденного 12 г, в 10-13 лет - 40-60 г, а в 70 лет 15 г. У детей в железе преобладает лимфоидная ткань, а с возрастом она замещается соединительной тканью. К 50 годам 90% массы железы представлено соединительной тканью.
Селезёнка (splen) наиболее крупный орган иммунной системы. Её вес достигает 150-200 г. Располагается в брюшной полости в левом подреберье и лежит интраперитонеально. Селезёнка соседствует с желудком, хвостом поджелудочной железы и левым надпочечником. На вогнутой поверхности селезёнки находятся ворота селезёнки, где в орган входят сосуды и нервы.
Эволюция нервной системы. Филогенетические типы

В процессе филогенеза развитее нервной системы проходит ряд основных этапов.
1 этап сетевидная (диффузная) нервная система состоит из нервных клеток, многочисленные отростки которых соединяются друг с другом в разных направлениях, образуя сеть, диффузно пронизывающую все тело животного (рис.А).
2 этап узловая нервная система, когда нервные клетки сближаются в отдельные скопления или группы, причем из скоплений клеточных тел получаются нервные узлы центры, а из скоплений отростков нервные стволы нервы (рис.Б).
3 этап трубчатая нервная система в виде метамерно построенной нервной трубки с отходящими от нее сегментарными нервами ко всем сегментам тела. Развивается передний конец нервной трубки и образуется головной мозг. На первом этапе развития головной мозг состоит из трех отделов: заднего, среднего и переднего. В дальнейшей эволюции задний мозг дифференцируется на продолговатый мозг и собственно задний мозг, из которого развиваются мозжечок и мост, а передний мозг разрастается и разделяется на промежуточный и конечный мозг. Трубчатая нервная система позвоночных сохраняет некоторые свойства диффузной и узловой систем - обширные связи отдельных структур и наличие нервных центров узлов.
Строение и типы нервных клеток. Синапсы

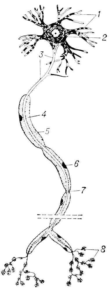
Нервная ткань состоит из двух типов клеток крупных нейронов и мелких вспомогательных клеток нейроглии. Нейрон основная структурная и функциональная единица нервной системы. Тело нейрона - сома (2). От сомы отходят дендриты (1) многочисленные, ветвящиеся наподобие дерева отростки, и аксон (3) одиночный отросток, начальный участок которого не ветвится. Отростки нейрона или нервные волокна могут иметь оболочки из белого белково-липидного комплекса миелина (4) и образуют белое вещество мозга (substantia alba). Классификация нейронов, исходящая из их функций различает чувствительные, вставочные и двигательные нейроны. Морфологическая классификация нейронов исходит из размера и формы тела, количества и характера отростков, отходящих от тела клетки. С этой точки зрения нейроны делятся на униполярные (один отросток), псевдоуниполярные, биполярные (два отростка) и мультиполярные 
(множество отростков).
Передача возбуждения от нейрона к нейрону проходит в синапсах. Различают химические и электрические синапсы. В первых имеется пресинаптическая (3) и постсинаптическая (5) мембраны и синаптическая щель между ними, в которую выделяется медиатор (7). Электрические синапсы это плотные контакты между мембранами нейронов, где нервный импульс передаётся от одного нейрона к другому.
Центральная и периферическая нервная система. Общий обзор

В нервной системе выделяют два основных отдела: центральную нервную систему - головной (1) и спинной мозг (2) и периферическую - нервы (5, 6), нервные сплетения (4, 7) и узлы (3).
Деление на центральную и периферическую части достаточно условно, так как нервная система едина. Более функционально деление нервной системы на соматический и вегетативный отделы, каждый из которых имеет центральную и периферическую части. К центральной части соматической нервной системы относятся структуры головного и спинного мозга, к периферической черепно-мозговые и спинномозговые нервы и узлы. Соматический отдел нервной системы иннервирует тело и некоторые внутренние органы - язык, гортань, глотку, мышцы глазного яблока, среднего уха.
Вегетативный отдел нервной системы состоит из симпатической и парасимпатической частей, которые включают скопления клеток, расположенных в головном и спинном мозге, а также узлы, сплетения и вегетативные нервы, иннервирующие внутренние органы.
В нервной системе выделяют афферентный и эфферентный отделы. Первый отдел отвечает за поступление информации в нервную систему из внешней и внутренней среды, а второй обеспечивает управляющие воздействия нервной системы на организм.
Спинной мозг. Внешнее строение. Сегменты

Спинной мозг (medulla spinalis) лежит в позвоночном канале и представляет собой полный цилиндрический тяж, уплощенный в дорсовентральном направлении и имеющий два утолщения: шейное (intumescentia cervicalis - 3), и поясничное (intumescentia lumbalis - 5). Снаружи спинной мозг покрыт тремя оболочками: мягкой, или сосудистой, паутинной и твердой.

Спинной мозг делится на две симметричные половины передней срединной щелью (fissura mеdiana anterior) и задней срединной бороздой (sulсus medianus posterior). От каждой из этих половин из боковых бороздок отходят два продольных ряда корешков (radix) спинномозговых нервов (1). Передние корешки (11) образованы эфферентными отростками нейронов спинного мозга, задние (10) афферентными отростками нейронов спинномозговых узлов. Соединяясь друг с другом передние и задние корешки образуют спинномозговые нервы (нижний рисунок). Ниже второго поясничного позвонка пучок корешков, образует так называемый конский хвост (cauda equna - 9). Участок спинного мозга, соответствующий двум парам корешков спинномозговых нервов, называют сегментом спинного мозга. В спинном мозге насчитывается 31 сегмент: в шейном отделе 8 сегментов; в грудном 12; в поясничном и крестцовом по 5; в копчиковом 1. Спинной мозг покрыт тремя оболочками сосудистой, паутинной и твёрдой.

Серое и белое вещество спинного мозга
Серое вещество (substantia grisea) лежит внутрь от белого вещества по всей длине спинного мозга в виде веретеновидных ядер - скоплений тел нейронов.
На поперечном срезе справа и слева видны два выступа серого вещества, называемые рогами или столбами, передний рог (crnu antrius) (4) и задний (crnu posterius) (2). В некоторых сегментах есть боковой рог (cornu laterale) (3). Большинство нейронов спинного мозга являются интернейронами с отростками, не покидающими серого вещества. Выделяют также канатиковые или пучковые клетки более крупные клетки, отростки которых составляют белое вещество. В передних рогах находятся мотонейроны, в боковых - вегетативные нейроны. В центре серого вещества имеется канал спинного мозга, тянущийся по всей его длине (5).
Белое вещество (substantia alba) составляет проводниковый аппарат спинного мозга и залегает на периферии спинного мозга. Оно образует три системы нервных волокон: 1 - короткие пучки ассоциативных волокон (относятся к собственному аппарату спинного мозга), 2 - длинные афферентные (восходящие) волокна, 3 - длинные эфферентные (нисходящие) волокна. Последние две системы составляют проводниковый аппарат двусторонних связей с головным мозгом.
Передняя срединная щель, задняя и боковые борозды разделяют белое вещество каждой половины спинного мозга на три продольных канатика: передний (funiculus anterior - 7), боковой (funiculus lateralis - 8) и задний (funiculus posterior - 9).
Восходящие и нисходящие пути спинного мозга

Выделяют восходящие, нисходящие и собственные пути или тракты (tractus), образующие пучки (fasciculus) нервных волокон.
В задних канатиках медиальный нежный пучок Голля (fasciculus gracilis) (1) и латеральный клиновидный пучок Бурдаха (fasciculus cuneatus - 2) восходят к продолговатому мозгу.
В боковых канатиках лежат восходящие пути: задний спинно-мозжечковый путь Флексига (tractus spinocerebellaris posterior - 4) и передний Говерса (tractus spinocerebellaris anterior - 10), боковой спинно-таламический (tractus spinothalamicus lateralis - 8). Здесь же располагаются нисходящие пути: от коры больших полушарий боковой пирамидный (tractus corticospinalis lateralis - 5), руброспинальный (tractus rubrospinalis - 7), оливоспинальный (tractus olivospinalis - 12).
Передние канатики содержат нисходящие пути: передний кортикоспинальный или пирамидный (tractus corticospinalis (pyramidalis) anterior - 17), тектоспинальный (tractus tectospinаlis - 18), ретикулоспинальный (tractus reticulospinalis - 13) и вестибулоспинальный (tractus vestibulospinalis - 14) а также восходящий передний спинно-таламический (15). Собственные пучки (fasciculi proprii - 3, 6, 16) прилегают к серому веществу по его периметру. Они обеспечивают связь между отдельными сегментами спинного мозга.
Спинномозговая рефлекторная дуга

Рефлекторная дуга - совокупность структур организма участвующих в рефлексе, путь, по которому раздражение (сигнал) от рецептора проходит к исполнительному органу. Рефлекторная дуга включает рецепторы (1), центростреми -
тельные (афферентные) волокна (2); нервный центр (3); центробежные (эфферентные) волокна (4); исполнительный орган (мышца, железа и др. - 5). Простейшие рефлексы реализуются спинным мозгом без участия головного мозга.
В состав спинномозговой рефлекторной дуги обязательно входят чувствительные и двигательные нейроны. Моносинаптические (двухнейронные) рефлекторные дуги включает только один синапс, а полисинаптические (многонейронные) имеют один или несколько вставочных нейронов и, следовательно, включают по меньшей мере два синапса, находящиеся в ЦНС. Как правило полисинаптическая спинномозговая рефлекторная дуга формируется нейронами расположенными в нескольких ядрах и сегментах спинного мозга, объединенных функционально.
Кроме двигательных рефлекторных дуг, представленных во всех отделах спинного мозга, на уровне грудного и крестцового отделов замыкаются вегетативные рефлекторные дуги, осуществляющие контроль нервной системы за деятельностью внутренних органов.
Головной мозг. Верхнелатеральная поверхность

При внешнем осмотре головного мозга (encephalon) видны три основные части: полушария (7, 9), мозжечок (5) и мозговой ствол (6). Полушария заполняют переднюю и среднюю ямки черепа, а мозжечок лежит в задней ямке вместе с мостом и продолговатым мозгом.

Верхнелатеральная поверхность, мозга имеет яйцевидную форму и представляет собой только полушария, отделенные одно от другого глубокой продольной щелью (fissura longitudinalis - 8). Полушария покрывает мозговая кора (cortex cerebri), изрезанная многочисленными бороздами, которые отделяют одну от другой извилины поверхности мозга (10).На латеральной поверхности можно видеть четыре доли полушарий головного мозга: височную (1), лобную (2), теменную (3) и затылочную (4). Кроме того, в глубине боковой (Сильвиевой) борозды находится пятая доля островок.
Извилины делятся на три категории абсолютно постоянные, относительно постоянные и непостоянные.
Головной мозг. Нижняя поверхность (основание мозга)

Основание мозга, соответствует неровностям основания черепа. На фоне больших полушарий мозга (1) видны структуры ствола и обонятельного мозга: продолговатый мозг (21), мост (11), ножки мозга, перекрест зрительных нервов (6), воронка с гипофизом (5), серый бугор, сосцевидные тела (8) и продырявленная субстанция, обонятельные тракты (3), выходящие из обонятельного треугольника и оканчивающийся обонятельными луковицами (2).
На базальной поверхности мозга находятся места выхода из мозгового вещества двенадцати пар черепно-мозговых нервов: I пара обонятельные нервы (п. olfactorii), II пара зрительный нервы (п. opticus - 6), III пара глазодвигательный нерв (п. oculomotorius - 9), IV пара блоковый нерв (п. trochlearis - 10), V пара тройничный нерв (п. trigeminus - 12), VI пара отводящий нерв (п. abducens - 13), VII пара лицевой нерв (п. facialis - 14), VIII пара преддверно-улитковый нерв (п. vestibulocochlearis - 15), IX пара языкоглоточный нерв (п. glossopharyngeus - 16), X пара блуждающий нерв (п. vagus - 17), XI пара добавочный нерв (п. асcessorius - 18), XII пара подъязычный нерв (п. hypoglossus -19).
К чувствительным относятся 1, 2 и 8 пары нервов, к двигательным 4, 6, 11 и 12 пары. Остальные нервы чувствительно-двигательные (смешанные).
Головной мозг. Сагиттальный разрез

На сагиттальном разрезе мозга видны медиальная поверхность полушарий большого мозга, структуры ствола мозга и мозжечка. Кора полушарий отделена бороздой от мозолистого тела. Мозолистое тело (1) является большой спайкой мозга, имеет волокнистую структуру и имеет следующие части: валик, ствол, колено, клюв. Под мозолистым телом располагается тонкая белая полоска - свод (2), который, изгибаясь вперед и книзу, переходит в столбы свода, а те в свою очередь направляются к сосцевидным телам (5). Между сводом и мозолистым телом расположена тонкая сагиттально направленная пластинка прозрачная перегородка, за которой просматривается головка хвостатого ядра. Сразу под сводом лежит таламус (3) отделенный гипоталамической бороздой от серого бугра, который книзу переходит в воронку с гипофизом (10). Спереди от серого бугра находится перекрест зрительных нервов (8), а позади - сосцевидные тела. III желудочек ограничен с боков таламусами, снизу - серым бугром, спереди - терминальной пластинкой, сверху - сводом, а сзади-эпиталамической спайкой и эпифизом. Эпифиз лежит в эпифизарной ямке, которая спереди ограничена задней спайкой мозга. Каудальнее таламуса расположены структуры среднего мозга: пластинка четверохолмия (4), отделенная от ножек мозга (7) сильвиевым водопроводом (6). Еще ниже находятся сагиттальные разрезы моста (11), мозжечка (12) и продолговатого мозга, для которых общей полостью является IV желудочек (9).
Строение продолговатого мозга и моста


Продолговатый мозг (medulla oblongata) - луковица мозга (bulbus cerebri), самый задний (нижний) отдел головного мозга. На вентральной стороне расположен перекрест пирамидных путей (13) , пирамиды (20); нижние оливы (21). Из передне-латеральной борозды (14) выходят корешки подъязычного нерва, а из латеральной борозды - (15) добавочного, языкоглоточного и блуждающего нервов. На дорсальной стороне нежный (2) и клиновидный (3) пучки образуют утолщения (4, 5) в которых находится нежное (Голля) и клиновидное (Бурдаха) ядра. В толще продолговатого мозга залегают проводящие пути и ядра черепно-мозговых нервов, ядро оливы, ретикулярная формация, центры дыхания, кровообращения и другие центры вегетативных реакций.
Мост (pons - 17) относится к заднему мозгу. Волокна и ядра трапециевидного тела делят мост на вентральную и дорсальную части. На выпуклой вентральной поверхности располагается основная борозда (19), в которой залегает основная артерия. В толще вентральной части моста залегают небольшие скопления серого вещества - собственные ядра моста. Дорсальная часть моста более тонкая, участвует в формировании ромбовидной ямки (7). В дорсальной части моста располагаются ядра V VIII пар черепных нервов, ретикулярная формация, верхняя олива.
Строение мозжечка

Мозжечок (cerebellum) является производным заднего мозга и включает два полушария и непарный червь. Со стволовой частью мозжечок соединяется тремя парами ножек: верхними - со средним мозгом, средними - с варолиевым мостом, нижними - с задним мозгом. Под мозжечком находится IV желудочек мозга. Мозжечок делится на переднюю, заднюю и клочково-узелковую доли. Передняя доля связана со спинным мозгом, в задняя с корой больших полушарий. Клочково-узелковая доля представляет собой самую древнюю часть мозжечка, отвечающую за вестибулярные рефлексы. 
Поверхность мозжечка покрыта слоем серого вещества (4), составляющим кору мозжечка, и образует извилины (folia cerebella - 2), отделенные друг от друга бороздами (fissura cerebelli) (верхний рисунок). Кора мозжечка состоит из трех слоев: наружного молекулярного, среднего ганглиозного, образованного грущевидными клетками Пуркинье, и зернистого. В толще мозжечка имеются парные ядра серого вещества (нижний рисунок): ядра шатра (nucleus fastigii-1), шаровидные ядра (nucleus globosus -2), пробковидные ядра (nucleus emboliformis- 3) и зубчатые ядра (nucleus dentatus- 4).
Белое вещество мозжечка на разрезе имеет вид мелких листочков, общая картина белого и серого вещества на разрезе напоминает дерево. Основные функции мозжечка связаны с координацией сложных двигательных актов.
Строение среднего мозга

Средний мозг (мesencephalon) отдел головного мозга, древний зрительный центр. В нем выделяют крышу и ножки (1 и 7 на верхнем рисунке). Полостью среднего мозга является водопровод мозга или Сильвиев водопровод (3).

Крыша среднего (tectum mesencephali) мозга образует четверохолмие, расположенное над водопроводом мозга. Передние бугры четверохолмия являются первичными зрительными центрами, а задние слуховыми. Пластинку крыши среднего мозга можно рассматривать как рефлекторный центр для различного рода движений, возникающих главным образом под влиянием зрительных и слуховых раздражений. В покрышке расположены красное ядро (5) и черная субстанция (6), принимающие участие в регуляции движений. Эти структуры относятся к экстрапирамидной системе. Через ножки мозга (pendunculi cerebri -7) проходят восходящие пути, несущие импульсы к зрительному бугру и большим полушариям, и нисходящие пути, проводящие импульсы к продолговатому и спинному мозгу.
В среднем мозге расположены ядра глазодвигательного и блокового черепно-мозговых нервов а также структуры ретикулярной формации и парасимпатическое ядро Якубовича. На нижнем рисунке виден выход глазодвигательных нервов (8).
Строение промежуточного мозга

Промежуточный мозг (diencephalon) залегает под мозолистым телом и сводом, срастаясь по бокам с полушариями конечного мозга. В промежуточном мозге дорсально расположен таламический мозг (thalamencephalon) центр афферентных путей, вентрально-гиппоталамус (hypotalamus) высший вегетативный центр. Полостью промежуточного мозга является III желудочек. Таламический мозг включает парные образования таламус (1), метаталамус (2), эпиталамус (3) и субталамус (4). Таламус содержит более 120 ядер с различными функциями. Гипоталамус делится на два отдела: передний, который включает серый бугор (5), переходящий в воронку (6), соединенную с гипофизом (7), а также зрительный перекрест (8) и зрительные тракты, задний сосцевидные тела (10) и заднюю гипоталамическую область (11). В гипоталамусе насчитывается более 30 ядер. В составе промежуточного мозга есть две эндокринные железы: гипофиз (7)и эпифиз (12). Гипофиз, или нижний придаток мозга, соединен ножкой воронки с гипоталамусом, эпифиз (шишковидное тело) связан с эпиталамусом. Промежуточный мозг является подкорковым центром всех сенсорных систем, высшим центром вегетативной регуляции, центром биологических мотиваций и эмоций
Кора большого мозга. Цитоархитектоника

Кора большого мозга - это серое вещество поверхности больших полушарий толщиной в среднем около 3 мм. (разброс от 1,5 до 5 мм). В соответствии с филогенезом различают древнюю (paleocortex), старую (archicortex), и новую кору (neocortex). Новая кора составляет 96% от всей поверхности полушарий. По морфологическим особенностям в ней выделяют 6 основных слоев: I - молекулярный, II - наружный зернистый, III - наружных пирамидный, IV - внутренний зернистый, V - ганглиозный (внутренний пирамидный), VI - полиморфный. В коре встречаются все разновидности нервных клеток пирамидные, звездчатые, веретенообразные.

Цитоархитектонические особенности строения разных участков коры большого мозга (количестве, форме и расположении клеток в разных ее слоях) являются основой распределения ее на области, подобласти, поля и подполя.
Топография полей коры большого мозга человека детально исследована К. Бродманом. По Бродману кору делят на 11 участков и 52 поля, которые отличаются особенностями клеточного состава, строения и исполнительной функции (нижние рисунки).
Белое вещество головного мозга. Базальные ядра

Все пространство между серым веществом мозговой коры и базальными ядрами занято белым веществом. Оно состоит из большого количества нервных волокон, идущих в различных направлениях и образующих проводящие пути конечного мозга. Нервные волокна могут быть разделены на три системы: ассоциативные, комиссуральные и проекционные волокна.
К базальным ядрам относятся хвостатое ядро (nuсleus caudatus - 4), чечевицеобразное (nuсleus lentiformis - 7), ограда (claustrum - 8) и миндалевидное тело (corpus amigdoloideum). Между ядрами расположены капсулы белого вещества Первые два из перечисленных ядер относятся к полосатому телу (corpus striatum). Небольшие прослойки белого вещества делят чечевицеобразное ядро на скорлупу (7) и бледный шар (11).
Базальные ядра отделяются друг от друга прослойками белого вещества: внутренней (6), наружной (9) и внешней капсулами.Скорлупа соединяется с хвостатым ядром тонкими тяжами серого вещества, располагающимися между пучками волокон внутренней капсулы. Хвостатое ядро и скорлупа имеют филогенетически более позднее происхождение по сравнению с бледным шаром. Оба этих образования обладают сходной нейронной структурой, и их объединяют под названием стриатум. Базальные ядра относятся к так называемой стриопаллидарной системе, участвующей в регуляции двигательной активности.
Оболочки головного мозга и их производные

Головной мозг, как и спинной, окружен тремя оболочками. Самая наружная - твердая (1), средняя - паутинная (7) и внутренняя - мягкая или сосудистая (9). Прочность и эластичность твердой оболочкм (dura mater), обеспечивается большим количеством коллагеновых и эластиновых волокон. В местах прикрепления к костям оболочка расщепляется и образует каналы - венозные синусы. В ряде мест твердая мозговая оболочка образует отростки, которые впячиваются в щели между отдельными частями мозга: между полушариями - серп большого мозга (11), над мозжечком - намет мозжечка и др. Паутинная оболочка (arachnoidea) - тонкая, прозрачная, не заходит в борозды и щели, отделена от мягкой оболочки подпаутинным пространством (subarachnoidalis), в котором содержится спинномозговая жидкость. Спинномозговая жидкость (ликвор) продуцируется сосудистыми сплетениями желудочков и циркулирует по всем желудочкам и подпаутинным пространствам головного и спинного мозга. Отток спинномозговой жидкости в венозное русло осуществляется через грануляции (3), образуемые выпячиванием паутинной оболочки в венозные синусы. Мягкая оболочка (pia mater) состоит из рыхлой соединительной ткани, в толще которой находятся кровеносные сосуды, питающие мозг. Эта оболочка плотно прилежит к поверхности мозга и заходит во все борозды, щели и желудочки. От неё в толщу мозга радиально входят сосуды. В желудочках она образует сосудистые сплетения, продуцирующие спинномозговую жидкость.
Вегетативная нервная система


Автономная, или вегетативная, нервная система (АНС) является той частью единой нервной системы, которая регулирует внутренние системы гомеостаза. АНС является преимущественно эфферентной и передает импульсы от центральной нервной к периферическим органам. В ней различают центральный и периферический отделы. К центральному отделу относятся вегетативные ядра, расположенные в головном и спинном мозге, к периферическому вегетативные узлы (ганглии), вегетативные нервы, висцеральные сплетения и внутриорганные сплетения. Тела нейронов симпатических преганглионарных волокон расположены в боковых рогах сегментов спинного мозга на уровне Т1-L2, поэтому симпатическая система является тораколюмбальной половиной АНС. Преганглионарные волокна проходят короткий путь к симпатическим ганглиям, расположенным паравертебрально в виде двух цепей (3). От этих ганглиев отходят постганглионарные нервы (4) и ветви (5). Преганглионарный участок парасимпатической нервной системы включает в себя нейроны двигательных ядер III, VII, IX и X пар черепно-мозговых нервов в стволе мозга, а также второй, третий и четвертый крестцовый сегменты спинного мозга. Поэтому парасимпатическую систему часто называют краниосакральной половиной автономной нервной системы. Ганглии расположены рядом с органами или внутри органов интрамурально (9-15). Главный парасимпатический нерв блуждающий (2).
Литература
Бирюкова Н.В.: Сборник ситуационных задач по анатомии и физиологии. - Белгород: НИУ БелГУ, 2011
Кулабухов Д.А.: Возрастная анатомия, физиология и основы медицинских знаний. - Белгород: ИПК НИУ "БелГУ", 2011
рец.: М.И. Рецкий и др. ; БелГУ, Каф. медико-биологических дисциплин : Физиология с основами анатомии. - Белгород: БелГУ, 2011
Барабанов, Е.И.: Ботаника. - М.: Академия, 2010
Козубова Л.А.: Практикум по анатомии. Костная и мышечная системы. - Белгород: БелГУ, 2010
: Гинекология. - Ростов н/Д: Феникс, 2009
Балеева Н.В.: Грудной пояс амфибий. - СПб.: Санкт-Петербургский государственный университет, 2009
Бусловская Л.К.: Анатомия, физиология и патология органов слуха, речи и зрения. - Белгород: БелГУ, 2009
Быков М.П.: Анатомия головного мозга. - М.: Практическая медицина, 2009
Квятковская Т.А.: Строение и функция верхних мочевых путей. - Днепропетровск: Днепр-VAL, 2009
Погребняк Т.А.: Практикум по возрастной анатомии и физиологии. - Белгород: БелГУ, 2009
Федюкович Н.И.: Анатомия и физиология человека. - Ростов н/Д: Феникс, 2009
Федюкович Н.И.: Анатомия и физиология человека. - Ростов н/Д: Феникс, 2009
Федюкович, Н.И.: Анатомия и физиология человека. - Ростов н/Д: Феникс, 2009
Воронова Н.В.: Анатомия центральной нервной системы. - М.: Аспект Пресс, 2008
Крикун Е.Н.: Факторы изменчивости морфофункциональных показателей детского организма. - Белгород: БелГУ, 2008
Федюкович, Н.И.: Анатомия и физиология человека. - Ростов н/Д: Феникс, 2008
Чернявских С.Д.: Лабораторный практикум по возрастной физиологии и геронтологии. - Белгород: БелГУ, 2008
: Гинекология. - Ростов-на-Дону: Феникс, 2007
Барабанов, Е.И.: Ботаника. - М.: Академия, 2007
Бахрушина Л.А.: Латинско-русский и русско-латинский словарь наиболее употребительных анатомических терминов. - М.: ГЭОТАР-Медиа, 2007
БелГУ: Анатомия черепа человека. - Белгород: БелГУ, 2007
Сердечно-сосудистая и нервная системы человека