ВАЖНЕЙШИЕ ПРИМЕНЕНИЯ ЛАЗЕРОВ И ДРУГИХ ПРИБОРОВ КВАНТОВОЙ ЭЛЕКТРОНИКИ
Реферат
ВАЖНЕЙШИЕ ПРИМЕНЕНИЯ ЛАЗЕРОВ И ДРУГИХ ПРИБОРОВ КВАНТОВОЙ ЭЛЕКТРОНИКИ
Содержание
1. Области применения лазеров
2. Оптическая голография
3. Квантовые эталоны и стандарты частоты в СВЧ и оптическом диапазонах
3.1. КСЧ СВЧ-диапазона
3.2. КСЧ оптического диапазона
4. Резонансное возбуждение частиц. Селективное возбуждение изотопов.
5. Генерация импульсов света ультракороткой длительности
СПИСОК ЛИТЕРАТУРЫ
1. Области применения лазеров
Создание лазеров, происходившее начиная с 60-х гг. ХХ века, явилось огромным качественным скачком в развитии источников оптического излучения. Это, с одной стороны, позволило “перенести” большинство методов, разработанных для радиоэлектроникив оптический диапазон, и таким образом, создать оптическую электронику. С другой стороны, уникальные свойства лазерного излучения: высокая направленность, монохроматичность, когерентность, малая длительность импульса и высокая мощность и др.предопределили бурное развитие применений лазеров.
Большая мощность лазерного излучения и возможность сконцентрировать его в малом объёме (в пределе до 3~мкм3), помимо очевидных «силовых» применений лазеров (в технологии при обработке материалов, в хирургии, и др.), привели к открытию новых разнообразных явлений при взаимодействии света большой интенсивности со средой: нелинейные эффекты, “оптический” разряд в газе “лазерная искра” и др. Открыты уникальные возможности испарения и нагрева вещества, в частности: нагрева плазмы лазерным излучением до температур порядка 106 градусов, достаточных для протекания термоядерных реакций (в перспективе-управляемый “лазерный” термоядерный синтез), получения многозарядных ионов различных элементов. “Острая” фокусировка излучения лазера делает его излучение незаменимым инструментом в технологии микроэлектронного приборостроения (фотолитография).
Возможность формирования сверхкоротких импульсов пикосекундной длительности привела к прогрессу в методах обработки и передачи информации, в метрологии, были развиты методы изучения быстро протекающих процессов, в том числе биологических.
Газовые лазеры позволяют осуществить “многоволновый” режим излучения (многоцветныйв видимом спектре), т.е. одновременную генерацию на нескольких линиях.
Полупроводниковые лазеры, а также лазерные модули: полупроводниковый лазер накачкитвёрдотельный лазер, волоконные лазеры и др. явились основными элементами нового раздела оптики и радиоэлектроники оптоэлектроники, занимающегося методами создания устройств, предназначенных для хранения, передачи, обработки и отображения информации, представленной в виде оптических сигналов.
Монохроматичность и когерентность сделали лазеры незаменимыми источниками излучения в методах интерферометрии, широко используемых сейчас в измерительной технике, а также для практической реализации идей голографии, что привело к бурному её развитию.
Малая, порядка дифракционной, расходимость пучка лазерного излучения, привела к развитию методов дальнометрии, лазерной связи и локации (с использованием приемов коррекции волнового фронта), подводной локации, созданию систем наведения, напримерсистем посадки самолётов (“лазерная глиссада”).
Возможность перестройки длины волны излучения лазера при сохранении высокой монохроматичности (малой ширины линии излучения) и мощности, позволила селективно воздействовать на вещество. Избирательное возбуждение квантовых состояний атомов и молекул успешно используется для целенаправленного стимулирования химических реакций, лазерного разделения изотопов, охлаждения атомов до сверхнизких температур.
Применениям лазеров посвящено много книг и работ в периодических изданиях. В данном разделе мы, не затрагивая оптоэлектроники, остановимся только на тех применениях, которые позволили реализовать уникальные свойства лазерного излучения, а именнов голографии, в оптических лазерных стандартах частоты и в экспериментах по селективному возбуждению изотопов атомов.
2. Оптическая голография
Голография (от греч. holosвесь, полный), область физики, занимающаяся изучением методов записи, воспроизведения и преобразования волновых полей различной физической природы и частоты, и созданием на их основе голографических устройств.
Оптическая голография использует интерференцию светадля записи на фотоматериале поля световых волн, рассеянных объектом, и далеедифракцию светадля восстановления записанной информации, в результате чего можно наблюдать объёмное изображение этого объекта. Теоретические основы голографии были заложены в 40-е годы ХХ века, однако реализована она была только после создания лазеров, в 60-е годы.
|
|
|
Рис. 1. Схемы получения голограммы (а) и восстановления волнового поля голограммы (б). З зеркало, S источник света |
При записи голограммы регистрируется волновое поле, которое образуется при интерференции двух когерентных волн: волны, освещающей объект (т. наз.“опорной”), и волны, отражённой объектом (“предметной”) (рис. 1,а). В отличие от фотографии, голографический метод получения объёмного изображения объекта позволяет регистрировать на светочувствительном материале не только интенсивность (как в фотографии), но и фазу световой волны (системы стоячих волн) в плоскости регистрации. Получаемая после обработки светочувствительного материала голограмма представляет собой множество чередующихся тёмных и светлых полос, образующих периодические структуры («дифракционные решётки»), шаг которых порядка длины световой волны , что требует применения фотоматериалов с высокой разрешающей способностью. Восстановление волнового поля объекта осуществляется при освещении записанной голограммы (фотопластинки) опорной волной. (рис. 6,1,б) либо в проходящем свете (пропускающая голограмма), либо в отражённом свете (отражательная голограмма).
Голограммы подразделяются на: “амплитудные”, когда осуществляется изменение оптической плотности среды, “фазовые”изменяется показатель преломления или оптическая толщина среды, либо “амплитудно-фазовые”изменяются обе характеристики. Отметим, что информация об объекте, записанная в виде интерференционной картины, оказывается однородно распределенной на большой площади, т.е. каждый участок голограммы несёт всю информацию, что обусловливает высокую надёжность записи.
Голографический метод требует использования лазерного излучения с высокими когерентными свойствами. Необходимо, чтобы выполнялось условие
, (1)
где время когерентности, L максимальное для конкретной схемы разность путей двух световых лучей, проходящих от источника лазера до голограммы. Время когерентности лазерного излучения может достигать 103с. В этом случае длина когерентности доходит до 105 м, что на семь порядков превышает длину когерентности обычных источников света (доли см). Наиболее широко в голографии используются газоразрядные лазеры с излучением в видимом диапазоне длин волн и узкой линией (He-Ne, Ar+ и др.).
Если опорный и предметный пучки падают на светочувствительный слой с разных сторон, то период минимален и близок к /2, а интерференционная картина располагается в толще слоя (“отражательная”голограмма Денисюка).
Методы голографии позволяют получать объёмные изображения предметов (в т.ч. и цветные изображения), что используется в демонстрационных целях, при создании объёмных изображений произведений искусства, голографических портретов (изобразительная голография). Трёхмерные свойства голографических изображений используются для исследования движущихся частиц (например, капель дождя или тумана), треков ядерных частиц и др. Объёмность изображения делает перспективным создание голографического кино и телевидения. Широкое применение получили методы голографической интерферометрии для изучения неоднородностей материалов (внутренние трещины, пустоты и др.), в т. ч. для исследования механических деформаций. Методы голографии также используются для хранения и обработки информации.
3. Квантовые эталоны и стандарты частоты в СВЧ и оптическом диапазонах
В настоящее время единицы частоты (1 Гц) и времени (1 с), используемые в измерительной технике, навигации и метрологической службе, определены через период колебаний излучения атомов водорода и цезия при квантовых переходах в СВЧ диапазоне, а единица длины (1 м) определена через длину волны квантового перехода He-Ne лазера.
Эти величины воспроизводятся с помощью квантовых эталонов (стандартов) частоты (КСЧ)устройств для получения электромагнитных колебаний со стабильной во времени частотой. Среднеквадратичное относительное отклонение частоты (относительная нестабильность) и относительная погрешность воспроизведения действительного значения частоты (воспроизводимость) у КСЧ достигает 10-14.
3.1. КСЧ СВЧ-диапазона. КСЧ (реперы частоты) подразделяются на активные и пассивные. Активный репер является квантовым генератором (мазером). Рассмотрим принцип действия мазера на переходах сверхтонкой структуры (СТС) атома водорода.
Водородный мазерквантовый генератор эталонных высокостабильных электромагнитных колебаний, работа которого основана на вынужденном испускании фотонов атомами водорода на квантовом переходе между магнитными подуровнями СТС основного электронного состояния 1s атома водорода (для электрона: n=1, l=0, ml=0, s=, I=; для ядра J=). Используется квантовый переход между верхним подуровнем «2» (|F|=|I|+|J|=1, mF=0) и нижним «1» (|F|=|I||J|=0, mF=0), где Fполный момент атома, а mFпроекция этого момента. Частота 0 этого перехода в слабом магнитном поле Н:
0 = (1420 405 751,786 + 428,1103 H2) Гц, 021 см. (2)
Задача создания инверсной заселённости в СВЧ-диапазоне усложняется тем, что указанные подуровни заселены в состоянии термодинамического равновесия по закону Больцмана. Для разности населённостей уровней N = N1N2 нетрудно получить:
N=(N1N2) (N1+N2)(E2E1) / 2kT, (3)
где E2E1=h0<<kT, при нормальных условиях N 103(N2+N1). Как следует из (1.12), на переходах в СВЧ диапазоне релаксация состояния «2» в состояние «1» происходит главным образом межатомными столкновениями. Поэтому единственным способом создания инверсной населённости между состояниями «2» и «1» является сортировка частиц по состояниям, которая выполняется в неоднородном магнитном поле, и в результате атомы в состоянии «1» уходят в область сильного поля, а атомы в состоянии «2»слабого. Чтобы после сортировки атомы в состоянии «2» не релаксировали в состояние «1» путём столкновений, сортировка осуществляется для бесстолкновительного, “монокинетического” пучка атомов водорода. По этой причине водородный мазер и сходные с ним приборы называются “пучковыми”.
Выделенные (селектированные) атомы водорода в состоянии «2», группирующиеся в области слабого поля Н0, и образуют ансамбль частиц с инверсией населённостей. Далее эти атомы попадают в объёмный резонатор, настроенный на частоту 0. Начало процессу генерации даёт или флуктуационное электромагнитное поле, или спонтанное испускание фотона с 0 одним из атомов. В резонаторе при каждом акте вынужденного перехода «2»«1» излучается электромагнитная энергия, равная h0. Если количество атомов в состоянии «2», вводимых в единицу времени в резонатор, достаточно для того, чтобы выделяемая ими электромагнитная энергия компенсировала потери энергии в нём, то наступает самовозбуждение, аналогичное показанному на рис.2.4. Амплитуду установивших колебаний определяет эффект насыщения.
Внутри вакуумноплотной оболочки водородного мазера, где давление остаточных газов очень мало, на одной оси находятся: источник пучка атомарного водорода, сортирующая магнитная система и СВЧ-резонатор. Магнитная сортирующая система обычно представляет собой магнит с чётным числом полюсов (2, 4 или 6), атомы в состоянии «2»(1,0) фокусируются на её оси, а атомы в состоянии «1»(0,0) отклоняются.
В пассивном КСЧ (репере) на атомах цезияцезиевой атомно-лучевой трубке (АЛТ)спектральная линия квантового перехода используется для автоподстройки по ней частоты вспомогательного высокостабильного клистронного СВЧ-генератора. В этом случае квантовый репер работает как дискриминатор частоты, определяющий величину и знак отклонения частоты вспомогательного генератора от её номинального значения, а система АПЧ путём подстройки частоты вспомогательного генератора устраняет это отклонение.
В цезиевой АЛТ используется квантовый переход между магнитными подуровнями СТС основного электронного состояния атома цезия 137Cs, а именно: между верхним уровнем «2» (F=4, mF=0) и нижним«1» (F=3, mF=0) с частотой
0=9 192 631 777,0… Гц, 03,25 см.
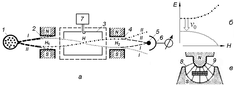
Схема цезиевой АЛТ показана на рис. 2. В левом конце трубки, давление остаточных газов в которой очень мало, расположен источник атомов цезияиспаритель с металлом (температура около 100С), пары из которого выходят через систему параллельных капилляров. Атомы, вылетая из источника, формируются в слаборасходящийся монокинетический пучок с “плоским” профилем. В противоположном конце трубки расположен детектор атомов Cs с поверхностной ионизацией.
По пути от источника к детектору пучок атомов пересекает два постоянных неоднородных магнитных поля Н1 и Н2. Поле Н1 магнита 2 (рис. 2, в) “сортирует” атомы по траекториям. Функция поля Н2 магнита 4 состоит в выделении и фокусировке атомов, совершившие квантовый переход в резонаторе 3.
|
|
|
Рис. 2. Цезиевая атомно-лучевая трубка: схема трубки (а), упрощённая диаграмма уровней СТС атома Cs (б); профиль полюсных наконечников магнитов (в). 1 источник пучка атомов Cs, 2 и 4 отклоняющие магниты, 3 объёмный резонатор, 56 детектор атомов цезия с поверхностной ионизацией (5 раскаленная проволочка, 6 коллектор положительных ионов), 7 генератор, 8 линия магнитного поля, 9 профиль пучка атомов Cs (оболочка трубки не показана). |
Чтобы понять принцип работы цезиевой АЛТ рассмотрим две ситуации:
1) частота генератора отличается от частоты квантового перехода. Атом в состоянии «2» из пучка I пролетев через объёмный резонатор и не испытав квантового перехода, уводится полем Н2 от оси и не попадает на детектор. То же самое происходит и с атомами в состоянии «1» из пучка II. Ток детектора равен нулю.
2) частота генератора совпадает с частотой квантового перехода. Атом в состоянии «2» из пучка I пролетев через резонатор, испытывает индуцированный излучением генератора квантовый переход «2»«1». Перейдя в состояние «1», он взаимодействует с полем Н2, отклоняется в направлении к оси трубки и фокусируется в детекторе. Атом в состоянии «1» из пучка II пролетая через резонатор поглощает квант излучения генератора и испытывает квантовый переход «1»«2». Находясь в состоянии «2», атом взаимодействует с полем Н2, также отклоняется в направлении к оси трубки и также фокусируется в детекторе. Детектор регистрирует ток.
Точность определения 0 обусловлена пролётным уширением.
Международным комитетом по мерам и весам цезиевая АЛТ признана первичным стандартом частоты, по отношению к которому стандарты других типов являются вторичными. Цезиевый КСЧ обычно дополняют синтезаторами частотыустройствами, вырабатывающими определённый набор частот ниже 0, вплоть до 1 Гц (для атомных часов), стабильность которых равна стабильности стандарта (погрешность ~1014). Достоинство цезиевой АЛТ состоит в доступности и точности: даже малогабаритные цезиевые АЛТ работают с относительной погрешностью 10121013.
3.2. КСЧ оптического диапазона. Создание таких КСЧ сводится к стабилизации частоты генерации лазеров, что решает задачу создания оптического стандарта единицы длины.
Методы стабилизации направлены на уменьшение ширины линии излучения лазера и уменьшение спектрального дрейфа линии излучения за продолжительное время. В пассивных методах стабилизация осуществляется стабилизацией расстояния между зеркалами ООР, сводящей к минимуму тепловые, механические, акустические и др. возмущения. В системах активной стабилизации частоты одночастотного лазера используется тот или иной частотный репер: провал Лэмба либо обращённый провал Лэмба (рис. 3), к которому с помощью электронной системы АПЧ ”привязывается” мода резонатора и частота лазера.
|
|
|
Рис. 3. Кривые насыщенного усиления в лазерах: провал Лэмба (а), обращенный провал Лэмба с поглощающей ячейкой II в резонаторе (б). I усиление в усиливающей ячейке I, II поглощение в ячейке II, III суммарное действие двух ячеек. |
Действительно, поскольку ширина лэмбовского провала (~2одн) обычно много меньше доплеровской ширины контура усиления перехода (см., рис. 2.8 и 3,а), положение «дна» лэмбовского провала 0 (и 0) определяется только квантовым переходом и фиксируется с очень высокой степенью точности. Если одно из зеркал резонатора укреплено на пьезоэлектрическом преобразователе таким образом, что длина резонатора может монотонно изменяться при приложении к преобразователю электрического напряжения, то с помощью соответствующего электронного устройства обратной связи частоту настройки резонатора лазера можно стабилизировать и поддерживать равной частоте 0 (и 0). В He-Ne-лазере применение такого метода позволило получить стабильность и воспроизводимость частоты генерации порядка 109.
Еще большую точность обеспечивает метод стабилизации, основанный на так называемом “обращённом провале Лэмба”. Он состоит в том, что внутрь резонатора лазера помещают поглощающую ячейку II со стабильной по частоте линией поглощения (рис. 3,б). При этом в этой ячейке при насыщении (т. е. во время генерации лазера) происходит выравнивание населённостей верхнего и нижнего уровней поглощающего перехода, и на центральной частоте этого поглощающего перехода должен иметь место провал в контуре поглощения (), или “пичок” (локальный максимум) в зависимости [ ()], с шириной этого пичка на полувысоте, равной одн в ячейке II. Этот пичок и называется обращённым провалом Лэмба. Подстраивая частоту выходного излучения с помощью дискриминатора и АПЧ таким образом, чтобы она совпадала с частотой 0 этого максимума, добиваются более высоких значений стабильности и воспроизводимости частоты лазера (1012…1013), чем в случае с провалом Лэмба. Желательно, чтобы поглощающая ячейка была бы “бестоковой” и с низким давлением газа, что обеспечивает минимальную ширину контура поглощения. В He-Ne лазере в случае генерации с длиной волны 3,39 мкм в качестве газа-поглотителя используют метан СН4, а в случае 632,8 нмпары йода [12] с поглощающим электронным переходом в молекулярном спектре (129I)2. Как отмечалось, по линиям поглощения молекулярного йода могут быть застабилизированы и некоторые лазеры, излучающие в сине-зелёной области спектра.
Оптический стандарт единицы длины строится на двух главных элементах: стабилизированном одночастотном лазере и многолучевом интерферометре, например,интерферометре Фабри-Перо. При этом определяется расстояние между зеркалами интерферометра Н, и порядок интерференции m из условия максимального пропускания интерферометра:
, или . (4)
Из (4) видно, что изменение порядка интерференции на единицу, например, от m до (m+1), соответствует изменению nН на опорн=опорн. Таким способом любой отрезок длины может быть измерен в длинах волн эталонного излучения опорн.
Сопоставить (сравнить) частоты цезиевой АЛТ (~1010 Гц) и газового лазера (~1014…1015 Гц) удаётся путём генерации т.наз. суперконтинуумакогерентного излучения с ультрашироким спектром с эквидистантными составляющими. Суперконтинуум генерируется под действием мощных и коротких лазерных импульсов в специальных оптических волокнах.
4. Резонансное возбуждение частиц. Селективное возбуждение изотопов.
С использованием перестраиваемого по частоте излучения лазера можно реализовать методы лазерного охлаждения атомов, лазерного разделения изотопов (обогащения или обеднения естественной смеси изотопов каким-либо одним изотопом) и др.
Лазерное разделение изотопов основано на том, что различные изотопы данного элемента могут характеризоваться сдвинутыми по частоте контурами резонансного поглощения оптического излучения; т.е. каждому изотопу соответствует своя длина волны поглощаемого света, однако этот сдвиг обычно мал. Если контура поглощения не накладываются друг на друга, то “на одном из них” можно осуществить селективное (избирательное) поглощение и увеличение населённости верхнего квантового состояния соответствующего изотопа. Для этого надо иметь мощный узкополосный источник света с возможностью плавной перестройки по частоте, например, лазер на красителе или на сапфире, легированном титаном.
Опишем метод лазерного разделения изотопов; который называют «двухступенчатой селективной фотоионизацией». Предположим, что имеется смесь двух изотопов; один из изотопов назовем «первым», а другой «вторым». Будем облучать эту смесь мощным лазером, подобрав длину волны излучения такой, чтобы происходило интенсивное резонансное поглощение света «первым», но не происходило поглощения «вторым» изотопом (рис. 4). Поглощая свет, атомы «первого» изотопа “селективно” возбуждаются в состояние А*(М1); атомы же «второго» изотопа А(М2) остаются невозбуждёнными. Далее, подберём широкополосное вспомогательное излучение с такой величиной кванта, чтобы при его поглощении возбуждёнными атомами происходила бы их объёмная фотоионизация, в то время как для ионизации атома из невозбуждённого состояния, величины кванта этого излучения было бы недостаточно. Таким образом, после поглощения последовательно двух квантов излучения атомы изотопа М1 окажутся в виде положительных ионов А+(М1), которые затем легко можно “собрать” на отрицательно заряженном коллекторе.
В другом методе выделяются изотопы, входящие в состав молекул. Молекулы с «первым» изотопом, селективно поглощая лазерное излучение, диссоциируют на атомы. Если атомы являются химически активными, то они вступают в химическую реакцию со специально вводимыми в смесь другими вспомогательными частицами. В образующихся при этом молекулах нового химического соединения присутствуют атомы только «первого» изотопа. Затем это соединение отделяют химическими методами и, путем диссоциации получают нужный изотоп.
|
|
|
Рис. 4. Метод двухступенчатой фотоионизации, применяемый для обогащения изотопов (а), и спектры поглощения изотопов 235U и 238U (в единицах lg) (б). |
Особенно остро проблема разделения изотопов, предполагающая отделение и последующее накопление нужного изотопа стоит в атомной энергетике, радиоэлектронике, медицине и др. областях науки, техники и технологии. Естественный уран содержит в основном изотоп 238U и только 0,7% изотопа 235U; хотя для ядерных энергетики важен как раз изотоп 235U, и необходимо, чтобы содержание его в ядерном топливе составляло не менее 3%. То есть необходимо обогащение природного урана в 4-5 раз. Здесь как раз и используется метод двухступенчатой фотоионизации: “монокинетический бесстолкновительный” пучок атомов урана из испарителя облучается точно подстроенным излучением лазера на красителе (=591,54мкм, h2эВ) и одновременноультрафиолетовым излучением от ртутной лампы (=0,21...0,31мкм, h~4…6 эВ). Пучок ионов изотопа 235U отделяется от пучка атомов изотопа 238U с помощью электрического поля, создаваемого коллектором положительных ионов. На рис. 6 показаны резонансные линии поглощения для изотопов 235U и 238U, по горизонтальной оси отложено значение сдвига частоты, измеряемого в гигагерцах. Видно, что расстояние между линиями поглощения этих изотопов урана составляет более 5ГГц. Перестраиваемый лазер на красителе характеризуется шириной линии генерации 0,1ГГц; и такое излучение нетрудно настроить так, чтобы возбуждать только один изотоп.
Многоступенчатая схема используется также для наработки моноизотопов 168Yb, 105Pd и 107Pd, для обеднения свинца радиоактивным изотопом 210Pb и др.
5. Генерация импульсов света ультракороткой длительности
Благодаря развитию и совершенствованию лазерной техники и квантовой электроники, последнее десятилетие знаменуется революционными достижениями в области получения импульсов света ультракороткой длительности вплоть до долей периода световой волны (диапазон пико-, фемто- и аттосекунд). Это открывает перспективы для исследования воздействия излучения на быстропротекающие процессы в веществах: в спектроскопии со сверхвысоким временным разрешением, в фемтохимии, для точного измерения интервалов времени и частот оптических квантовых переходов с последующим созданием сверхточных оптических стандартов частоты-времени и оптических часов. Определяемая ультрамалой длительностью импульса, сверхвысокая импульсная мощность излучения (порядка единиц петаватта) вызывает новые нелинейно-оптические явления при взаимодействии излучения с веществом, обеспечивает нагрев вещества до температур порядка 106К, ускорение электронов плазмы до релятивистских скоростей и др. [15].
Рассмотрим два примера построения лазеров ультракоротких импульсов (УКИ). На рис. 5 показана оптическая схема KLM-лазера (Kerr Lens Mode-locked laser). Используется режим пассивной синхронизации мод твердотельного лазера, теория которого описана в 3. Активной средой лазера является кристалл сапфира Al2O3:Ti3+, имеющий наиболее широкую полосу усиления (от =0,66 мкм до 1,1 мкм) с максимумом усиления на 780 нм. Накачка осуществляется либо излучением второй гармоники неодимового лазера (с активным стержнем из YLiF4:Nd3+ или стекла:Nd3+) с =530 нм, либо излучением Ar+-газового лазера =514,5 нм. К “пассивному” модулятору (“самопросветляющейся” ячейке) предъявляется зачастую невыполнимое требование малого времени релаксации порядка длительности УКИ (или обратной величины ширины полосы усиления), поэтому вместо ячейки обычно используется эффект “самофокусировки” света в кристалле за счёт “нелинейности керровского типа”, заключающейся в зависимости показателя преломления среды от интенсивности света. Эффект “керровской линзы” возникает непосредственно в самом кристалле сапфира. Диафрагма на рис. 5 пропускает только высокоинтенсивный свет, концентрирующийся у оптической оси за счёт самофокусировки по аналогии с эффектом увеличения пропускания “самопросветляющейся” ячейки при росте интенсивности света.
При этом, вследствие положительной дисперсии сред, в том числе и сапфира, происходит т.наз. “чирпирование” импульса, т.е. изменение частоты света во времени: низкочастотная часть спектра “обгоняет” высокочастотную, и в результате лазерный импульс может растянуться во времени. Для компенсации этого эффекта используется устройство с “отрицательной” дисперсией компенсатор дисперсии групповых скоростей (ДГС), двухпризменный вариант которого показан на рис. 5. Первая призма разводит свет по длинам волн (частотам), а вследствие разности хода лучей различной частоты во второй призме, эффективное время прохождения лазерного кристалла и компенсатора ДГС всеми составляющими спектра импульса будет одинаковым.
На рис. 6 приведена блок-схема мощного генератора УКИ света, построенного по принципу “chirp pulse amplification” (CPA). Задающий генератор (лазер) формирует импульс света наносекундной длительности, который затем направляется в устройство, растягивающее импульс во времени (эспандер) и за счёт этого понижающее его интенсивность (мощность), а также осуществляющее частотную модуляцию света во времени (“чирпирование”). Далее этот импульс усиливается одно- или многокаскадным усилителем и попадает в устройство, называемое компрессором, и сжимающее импульс во времени, за счёт чего импульсная мощность многократно возрастает.
В качестве задающего генератора может выступать KLM-лазер. Эспандер состоит из двух дифракционных решеток. После прохождения усилителя энергия в импульсе возрастает на 3-4 порядка величины, при этом интенсивность (мощность) остаётся невысокой, что не приводит к нелинейно-оптическим явлениям и повреждениям кристаллов усилителей. Как и эспандер, компрессор состоит из двух дифракционных решеток, ориентированных так, что разность хода составляющих спектра эквивалентна “отрицательной” дисперсии.
По CPA-схеме Центром ультрабыстрых оптических явлений Мичиганского университета построена установка “Hercules”, которая генерирует световые импульсы длительностью до 16фс с рекордными мощностью до 300 ТВт и интенсивностью до 2·1022 Вт/см2 [16].

Рис. 5.

Рис. 6
СПИСОК ЛИТЕРАТУРЫ
- Карлов Н. В. Лекции по квантовой электронике М.: Наука, 1988. 2-е изд., -336с.
- Звелто О. Принципы лазеров. М.: Мир, 1984, -395с.; 3-е изд. 1990, 560с.; 4-е изд. 1998, -540с.
- Пихтин А.Н. Оптическая и квантовая электроника. М.: Высшая школа, 2001. -573с.
- Ахманов С.А., Никитин С.Ю. Физическая оптика. М.: Изд.МГУ, 2004. 2-е изд.- 656с.
- Малышев В.А. Физические основы лазерной техники. М.: Высшая школа, 2005. -543с.
- Тарасов Л. В. Физика процессов в генераторах когерентного оптического излучения. М.: Радио и связь, 1981, -440с.
- Яковленко С.И., Евтушенко Г.С. Физические основы квантовой электроники. Томск: Изд. ТГУ, 200 -363с.
- Иванов И.Г., Латуш Е.Л., Сэм М.Ф. Ионные лазеры на парах металлов. М.: Энергоатомиздат, 1990. -256с.
- Физическая энциклопедия. В 5 т. М.: «Российская энциклопедия». 1988-1998.
- Иванов И.Г. Газовый разряд и его применение в фотонике. Учебное пособие. Ростов н/Д: Изд. ЮФУ, 2009. -96с.
- Электроника. Энциклопедический словарь. М.: Энциклопедия, 1991. -688с.
- Иванов В.А., Привалов В.Е. Применение лазеров в приборах точной механики. СПб.: Политехника, 1993. -216с.; Голикова Е.В., Привалов В.Е. Расчет линий поглощения для лазеров, стабилизированных по реперам йода. Препринт №53. С-Пб.: Институт Аналитического приборостроения РАН. 1992. -47c.
- Калашников С.Г. Электричество. М.: Физматлит. 2003. -624с.
- Физическая энциклопедия // Химический лазер. URL: http://femto.com.ua/articles/part_2/4470.html
- Крюков П.Г. Фемтосекундные импульсы. Введение в новую область лазерной физики. М.: Физматлит. 2008. -208с.
- Yanovsky V. et al. Optics Express. 2008. Vol. 1 N3, P.2109-2114.



