Водоснабжение и водоотведение. Наружные сети и сооружения

Водоснабжение
и водоотведение
Наружные сети и
сооружения
Под редакцией профессора,
доктора технических наук Б.Н.РЕПИНА
МОСКВА «ВЫСШАЯ ШКОЛА» 1995
ББК 38.761
В62 УДК 628.1
Рекомендовано Государственным комитетом Российской Федерации по высшему образованию для использования в учебном процессе
Рецензенты
кафедра водоснабжения и канализации
Полтавского инженерно-строительного института
(зав кафедрой канд. техн. наук, доц. С.М. Сребнюк),
проф. П.П. Пальгунов (директор института МосводоканалНИИпроекта)
Водоснабжение и водоотведение. Наружные сети и сооружения.
В62 Справочник/Б.Н. Репин, С.С. Запорожец, В.Н. Ереснов и др., Под ред. Б.Н. Репина. М.; Высш. шк., 1995 431 с: ил.
ISBN 5-06-003291-4
В справочнике систематизированы материалы по расчету, проектированию, конструированию сетей и сооружений, оптимизации внешних систем водоснабжения и водоотведения, водопроводных и канализационных насосных станций и др
Приложения, включенные в справочник, позволяют выполнять курсовые и дипломные проекты практически без привлечения дополнительной справочной литературы
Для студентов строительных вузов и факультетов, а также для специалистов, связанных с проблемами охраны окружающей среды и экологии населенных мест
Учебное издание
Репин Борис Николаевич, Запорожец Сергей Сергеевич, Ереснов Владимир Николаевич, Трегубенко Надежда Степановна, Мялкин Сергей Михайлович
ВОДОСНАБЖЕНИЕ И ВОДООТВЕДЕНИЕ НАРУЖНЫЕ СЕТИ И СООРУЖЕНИЯ
Редактор; Т.Ф.Мельникова. Художник: К.Э.Селенков. Художественный редак- тор: Ю.Э.Иванова. Технические редакторы: А.К.Нестерова, Н.В.Яшукова.
Корректор: Г.И. Кострикова
ИБ № 10277
ЛР№ 010146 от 25 12 91. Изд. № Стр. 125 Сдано в набор 25 1 1 94 Подп в печать 04 09. 95 Формат 60Х 88 Бум тип № 2 Гарнитура Литературная Печать офсет*!**. Объем 26,46 >сл печ л 26,46 уел кр отт 26,30 уч-изд л Тираж 3000 экз Зак №1507
Издательство «Высшая школа», 101430, Москва, ГСП 4, Нетлийная ул , д. 29/14 Набрано в АООТ «Ярославский полиграфкомбинат» 150049, г Ярославль, ул Свободы, 97. Отпечатано в АООТ «Оригинал», 101898, Москва, Центр, Хохловский пер . 7
Тип. Зак.№ 513.
ISBN 5-06-003291-4 ©Колл авторов, 1995
ПРЕДИСЛОВИЕ
Проектирование, строительство и реконструкция городов, населенных пунктов, промышленных предприятий, а также жилнщно-промышленных комплексов регионального масштаба должны соответствовать положениям Законов Российской Федерации «О санитарно-эпидемиологическом благополучии населения» и «Об охране окружающей природной среды», требующих исключения влияния вредных факторов на здоровье и санитарно-бытовые условия жизни населения. Состояние окружающей среды и условия проживания населения определяют одну из наиболее острых социальных проблем, прямо или косвенно затрагивающих интересы каждого человека. Острота данной проблемы в значительной степени зависит от состояния инженерной инфраструктуры, в первую очередь сетей водоснабжения и водоотведения, играющих важную роль в функциональном жизнеобеспечении населенных мест.
Тяжелое положение сложилось с техническим состоянием действующих сетей водоснабжения Российской Федерации; их износ превышает 40 % и нарастает с каждым годом более 1/3 всех водопроводных сетей требуют полной замены. Ежегодно на водопроводных сетях происходит около 75 тыс. прорывов, отключений и аварий, что вызывает не только потери воды (15... 20 %) и снижение производства промышленной продукции, но и наносит значительный экономический ущерб. В ряде случаев нарушение санитарного режима населенных пунктов приводит к возникновению вспышек инфекционных заболеваний. При этом в 15 городах и 419 поселках городского типа нет централизованного водоснабжения, в 88 крупных городах России во многих микрорайонах вода подается только по жесткому графику.
В настоящее время централизованными системами водоотведении в Российской Федерации охвачено 987 городов из 1052 (94 %) и 1360 поселков городского типа из 2204 (61 %). Общая протяженность водоотводящих сетей в населенных пунктах России составляет 96,7 тыс. км, в том числе коммунальных 46,4 тыс. км. Ежегодно на водоотводящих сетях происходит около 90 тыс. технологических нарушений (прорывы, засоры, затопления). Систематическая и аварийная утечка загрязненных и токсичных сточных вод помимо значительных эксплуатационных затрат вызывает заражение подземных горизонтов. В районах крупных промышленных предприятий, а также сельскохозяйственных объектов на территории Российской Федерации выявлено около 500 очагов с загрязнением подземных вод сточными водами, в том числе около 70 действующих водозаборов питьевой воды. Наиболее крупные очаги загрязнений выявлены в Московской области, в районах городов Тула, Пермь, Волгоград, Магнитогорск, Кемерово, а также Казанском, Нижнегородском и Уфимском промышленных регионах.
В условиях современной России, переживающей сложный период коренных социально-политических и экономических преобразований, от будущего инженера, работающего в сфере коммунального водопользования, помимо четкой гражданской позиции и экологической культуры требуются профессиональные знания, позволяющие грамотно и оперативно решать неординарные технические задачи. Неординарность задач определяется масштабностью отрасли, а также дефицитом времени и средств для их решения.
При составлении справочника авторы исходили из того, что в книге должны быть приведены основные материалы по расчетам и конструкциям, исключающие необходимость нспользовання дополнительной справочно-нормативной литературы. Данные об объеме и содержании курсовых и дипломных проектов обычно устанавливаются вузами, и поэтому авторы не регламентируют их объем и содержание в своей книге. Вместе с тем данный справочник не заменяет известные учебники и учебные пособия по соответствующим разделам водоснабжения и водоотведения, рассчитанные на систематическое и полное изложение учебных курсов. По характеру излагаемого материала данный справочник рассчитан на студентов как дневной, так н вечерней и заочной форм обучения, включая специалистов широкого профиля, имеющих начальную подготовку в данной области. Из-за ограниченности объема в справочнике не освещены вопросы экономики, автоматизации систем водоснабжения и водоотведения; вопросы эксплуатации систем рассмотрены в самой краткой форме.
Авторы выражают глубокую признательность ТОО «Мосводоканал-Нидунг: ремонт трубопроводов», взявшей на себя расходы по изданию справочника и предоставившей материалы новых разработок по бестраншейному ремонту трубопроводов водоснабжения и водоотведения.
Главы 1, 3, 12-15 написаны канд. техн. наук, доц. С.С. Запороцем, гл 2 канд. техн. наук, доц. В.Н. Ересновым, гл. 4-7, 11 д-ром техн. наук, проф. Б.Н. Репиным, гл. 8 и раздел пятый канд. техн. наук, проф. Н.С. Трегубенко, гл 10 С.С. Запорожцем и инж. С.М. Мялкиным совместно, гл. 9 написана Б.Н. Репиным и С.М. Мялкиным совместно.
Авторы
РАЗДЕЛ ПЕРВЫЙ
СИСТЕМЫ ВОДОСНАБЖЕНИЯ
Глава 1. НОРМЫ И ОБЪЕМЫ ВОДОПОТРЕБЛЕНИЯ. ВЗАИМОСВЯЗЬ В РАБОТЕ ЭЛЕМЕНТОВ СИСТЕМЫ ВОДОСНАБЖЕНИЯ
1.1. Нормы и объемы водопотребления
Основными видами потребления воды являются: хозяйственно-питьевое водопотребление жителей населенных пунктов; водо-потребление промышленных предприятий; водопотребление, связанное с благоустройством территорий (поливка улиц, зеленых насаждений и пр.); использование воды для пожаротушения; собственные нужды системы водоснабжения.
Хозяйственно-питьевое водопотребление. Нормы хозяйственно-питьевого водопотребления в населенных пунктах принимают по СНиП 2.04.02 84 (табл. 1.1).
Для районов застройки зданиями с водопользованием из водоразборных колонок удельное среднесуточное (за год) водопотребление на одного жителя следует принимать 30...50 л/сут.
Удельное водопотребление включает расходы воды на хозяйственно-питьевые и бытовые нужды в общественных зданиях, за исключенем расходов воды для домов отдыха, санаторно-туристических комплексов и оздоровительных лагерей.

Выбор удельного водопотребления в пределах, указанных в табл. 1.1, должен производиться в зависимости от климатических условий, мощности источника водоснабжения и качества воды, степени благоустройства, этажности застройки и местных условий.
Количество воды на нужды промышленности, обеспечивающей население продуктами, и неучтенные расходы при соответствующем обосновании допускается принимать дополнительно в размере 10...20 % суммарного расхода воды на хозяйственно-питьевые нужды населенного пункта.
Удельное водопотребление в населенных пунктах с числом жителей свыше 1 млн. человек допускается увеличивать при обосновании в каждом отдельном случае и согласовании с органами Государственного надзора.
Среднесуточный (за год) объем водопотребления, м3/сут, на хозяйственно-питьевые нужды определяют по формуле
где qЖ1 норма удельного водопотребления, л/(сут·чел), соответствующая i-й степени санитарно-технического благоустройства жилых зданий и принимаемая по табл. 1.1; Ni расчетное число жителей, проживающих в районах жилой застройки с i-й степенью благоустройства, на конец рассматриваемой очереди строительства.
Расчетное число жителей может быть определено по формуле

где рj j-я плотность населения,, чел/га; Fij, площадь района жилой застройки с i-й степенью санитарно-технического благоустройства зданий и j-й плотностью населения, га.
Для правильного расчета систем водоснабжения необходимо знать очередность их развития и соответствующее этим очередностям водопотребление. Рост водопотребления в период развития системы происходит вследствие увеличения численности населения и повышения степени санитарно-технического благоустройства зданий. Учет роста водопотребления осуществляется путем определения расчетного водопотребления на конец соответствующей очереди развития.
Потребление воды на хозяйственно-питьевые нужды населенного пункта неравномерно в течение года. Наблюдаются колебания суточного расхода: сезонные, связанные с изменением температуры и влажности в отдельные времена года, а также недельные и суточные, обусловленные особенностями водопотребления в различные дни недели (будни, выходные, предпраздничные и праздничные дни). Системы водоснабжения должны быть запроектированы на пропуск максимального суточного расхода воды, м3/сут, равного

где Ксут max = 1,1...1,3 максимальный коэффициент суточной неравномерности водопотребления, учитывающий уклад жизни населения, режим работы предприятий, степень благоустройства зданий, изменение водопотребления по сезонам года и дням недели, Qсутm расчетный (средний за год) суточный расход воды, м3/сут, определяемый по формуле (1.1).
В отдельных случаях требуется проверка работы системы водоснабжения при минимальном суточном расходе воды, м3/сут, определяемом по формуле

где Ксутmin = 0,7...0,9 минимальный коэффициент суточной неравномерности водопотребления.
• Водопотребление промышленных предприятий. На промышленных предприятиях (включая предприятия сельскохозяйственного производства) вода расходуется на технологические нужды производства, хозяйственно-питьевые нужды работающих, а также на пользование ими душем.
Нормы водопотребления на технологические нужды зависят от принятого технологического процесса, вида системы водоснабжения, качества воды и др.
Средние объемы водопотребления определяют по видам используемой воды (оборотная, подпиточная) путем умножения соответствующих удельных ее расходов на производительность технологического процесса в принятых единицах величин (1 т, 1000 кВт и т. д.).
В соответствии со СНиП 2.04.0185 нормы водопотребления на хозяйственно-питьевые нужды работников промышленных предприятий принимают равными для работающих в цехах с тепловыделением более 84 кДж на 1 м3/ч (горячие цехи) qr = 45 л в смену на одного человека; для остальных цехов qх = = 25 л.
Объем водопотребления в смену, м3/см, определяют по формуле
Qx/n = qrnr + qxnx, (1.5)
где пr, пх число работающих соответственно в цехах с тепловыделением более 84 кДж на 1 м3/ч и в остальных цехах для рассматриваемой смены.
Расход воды на пользование душем определяют, исходя из часового расхода воды
на одну душевую сетку 500 л при продолжительности пользования душем 45 мин. При этом расход воды на принятие душа после окончания смены, м3/ч, определяют по формуле
где Nдуш число пользующихся душем в данную смену; а количество человек, приходящихся на одну душевую сетку.
Водопотребление, связанное с благоустройством территорий городов и промышленных площадок. Нормы водопотребления на поливку зеленых насаждений, а также мытье улиц населенных пунктов и территорий промышленных предприятий принимают по СНиП 2.04.02-84 в зависимости от Типа покрытия территории, способа ее поливки, вида насаждений, климатических и других местных условий (табл. 1.2).
Суточный объем водопотребления, м3/сут, на поливку улиц и зеленых насаждений определяют по формуле

где Qпол - расход воды на поливку, л/м2, принимаемый по табл. 1.2; F - площадь территории населенного пункта «брутто» (с учетом улиц, площадей и т. д.), га; а - доля поливаемой территории населенного пункта, %.
При отсутствии данных о площадях по видам благоустройства (зеленые насаждения, проезды и т. п.) среднесуточное за поливочный сезон потребление воды на поливку, м3/сут, может быть определено по формуле

где qж п - удельная норма водопотребления на поливку в расчете на одного жителя населенного пункта, принимаемая равной 50.. 90 л/сут на человека в зависимости от климатических условий, мощности, источника водоснабжения, степени благоустройства населенного пункта и других местных условий; N расчетное число жителей в населенном пункте.
Суммарный суточный расход воды определяют по отдельным группам потребителей, снабжаемых водой рассчитываемой системой водоснабжения.
Для единой системы водоснабжения, обслуживающей все перечисленные группы потребителей, определяют: среднесуточный расход воды, м3/сут,

максимальный суточный расход воды, м3сут,

В формулах (1.9) и (1.10) Qтех суточный расход воды на технологические нужды промышленных предприятий.
Системы водоснабжения рассчитывают на максимальный суточный расход воды и проверяют на пропуск расчетного противопожарного расхода.
Использование воды для пожаротушения. В соответствии со СНиП 2.04.02-84 расход воды на наружное пожаротушение (на один пожар) и количество одновременных пожаров в населенном пункте для расчета магистральных (расчетных кольцевых) линий водопроводной сети должны приниматься по табл. 1.3.
При зонном водоснабжении расход воды на наружное пожаротушение и количество одновременных пожаров в каждой зоне следует принимать в зависимости от числа жителей, проживающих в зоне.
Количество одновременных пожаров и расход воды на один пожар в населенных пунктах с числом жителей более 1 млн. человек следует принимать согласно требованиям органов Государственного пожарного надзора.
Для группового водопровода количество одновременных пожаров принимают в зависимости от общего числа жителей в населенных пунктах, подключенных к водопроводу.
Расход воды на наружное пожаротушение жилья и производственных зданий для расчета соединительных и распределенных линии водопроводной сети, а также водопроводной сети внутри микрорайона или квартала следует принимать для здания, требующего наибольшего расхода воды, по табл. 1.4.
Расход воды на один пожар для наружного пожаротушения на промышленных и сельскохозяйственных предприятиях должен приниматься для здания, требующего наибольшего расхода воды, согласно табл. 1.5 и 1.6. Расчетное количество пожаров при этом зависит от занимаемой ими площади: один пожар при площади до 150 га, два пожара более 150 га.



Расчетную продолжительность тушения пожара принимают 3 ч; для зданий I и II степени огнестойкости с несгораемыми несущими конструкциями и утеплителем с производствами категорий Г и Д 2 ч.
Определение общего противопожарного расхода воды в населенном пункте осуществляется в зависимости от месторасположения промышленных или сельскохозяйственных предприятий.
Таблица 1.6 Нормы водопотребления на наружное пожаротушение производственных зданий шириной 60 м и более

Если предприятие находится в черте города, в расчетное количество одновременных пожаров (табл. 1.3) включены и пожары этого предприятия. При этом в расчетный расход воды следует включать соответствующие расходы воды на пожаротушение на этих предприятиях, если они больше указанных в табл. 1.3.
При расположении предприятия вне населенного пункта расчетное количество одновременных пожаров должно приниматься:
при площади территории предприятия до 150 га и числе жителей в населенном пункте до 10 тыс. человек один пожар (на предприятии или в населенном пункте по наибольшему расходу воды); то же, при числе жителей в населенном пункте свыше 10 до 25 тыс. человек два пожара (один на предприятии и один в населенном пункте);
при площади территории свыше 150 га и при числе жителей в населенном пункте до 25 тыс. человек два пожара (два на предприятии или два в населенном пункте по наибольшему расходу).
при числе жителей в населенном пункте более 25 тыс. человек расход воды следует определять как сумму потребного большего расхода (на предприятии или в населенном пункте) и 50 % потребного меньшего расхода (на предприятии или в населенном пункте).
Во всех случаях расход воды на наружное пожаротушение в населенном пункте должен быть не менее расхода воды на пожаротушение жилых и общественных зданий, указанных в табл. 1.4.
Собственные нужды системы водоснабжения. Система водоснабжения должна рассматриваться как промышленное предприятие, потребляющее воду на хозяйственно-бытовые нужды работников, в технологических процессах и для пожаротушения. Наиболее крупным потребителем воды, используемой на собственные нужды в системе водоснабжения, являются очистные сооружения.
В соответствии со СНиП 2.04.0284 ориентировочно среднесуточные (за год) расходы воды на собственные нужды станций осветления и обеззараживания следует принимать: при повторном использовании промывной воды в размере 3...4% количества воды, подаваемой потребителям; без повторного использования - 10...14%, для станций умягчения 20...30%;
Объем водопотребления на собственные нужды системы водоснабжения влияет на расчетную производительность, м3/сут, водозаборных и очистных сооружений (рис. 1.1)

где
максимальный суточный расход воды, м/сут; коэффициент, учитывающий собственные нужды очистных сооружений; для водозаборных сооружений а принимаем равным 1,03…1,04 при повторном использовании воды и 1,1…1,14 без повторного использования на станции осветления и обезжелезивания, на станциях умягчения 1,2…1,3; для очистных сооружений как при повторном использовании воды, так и без него 1,10…1,14 на станциях умягчения и обезжелезивания и 1,2…1,3 на станциях умягчения.

1.2. Схемы и системы водоснабжения
Системы водоснабжения это комплекс взаимосвязанных инженерных сооружений, обеспечивающих прием воды из природного источника (водозаборные сооружения), транспортировку ее (водоводы), доведение до требуемых кондиций (очистные сооружения), подачу (насосные станции) и распределение по объекту (магистральные и распределительные сети), а также бесперебойный отбор требуемого количества воды с заданным напором в нужном режиме.
Системы водоснабжения различают:
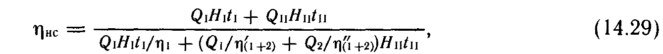
-по видам объектов водоснабжения системы водоснабжения городов (рис. 1.2, а,б,в,г); системы водоснабжения поселков и сельских населенных пунктов (рис. 1.2, д); системы водоснабжения производственных (включая сельскохозяйственные) объектов (рис. 1.2, ж, з);
-по охвату снабжаемых объектов системы водоснабжения групповые (районные), охватывающие группу объектов (рис. 1.2, е); системы водоснабжения одного объекта;
-по природным источникам водоснабжения системы, использующие воду поверхностных источников (рис. 1.2, а, г, е, ж, з); системы, использующие подземные воды (рис. 1.2, б, в, д);
-по кратности использования воды прямоточные системы (рис. 1.2, ж); системы с последовательным использованием воды (рис. 1.2, ж); оборотные системы водоснабжения (рис. 1.2, з);
-по способам подачи воды самотечные системы (гравитационные); с механической подачей воды (нагнетательные);
-по видам потребителей системы хозяйственно-питьевого водоснабжения; производственного водоснабжения, противопожарного водоснабжения; поливочные; многофункциональные, охватывающие несколько видов потребителей.
На рис. 1.3 представлены примеры наиболее распространенных схем систем водоснабжения, где вода на хозяйственно-питьевые нужды, поливку и пожаротушение подается по единой (многофункциональной) системе, а для технологических нужд промышленных предприятий по различным вариантам: а все группы потребителей, в том числе и предприятия, обслуживаются единой системой; б технологические процессы предприятия, не требующие воды питьевого качества, удовлетворяют свой спрос на техническую воду через обособленную систему технического водоснабжения; в техническая вода для предприятия подается единой насосной станцией 1-го подъема; г то же, с установкой на НС-1 отдельной группы насосов для подачи воды на предприятие
В соответствии со СНиП 2.04.0284 выбор системы водоснабжения и ее схемы следует производить на основании сопоставления возможных вариантов ее осуществления с учетом требуемых расходов воды на различных этапах их развития, источников водоснабжения, требований к напорам, качеству воды и обеспеченности ее подачи. Сравнение вариантов должно выполняться по приведенным затратам, руб.:
П = ЕнК + С, (1.12)
где Ен = 0,12...0,15 отраслевой нормативный коэффициент эффективности капитальных вложений; К капитальные вложения, руб.; С годовые эксплуатационные затраты, руб.
Сравниваемые варианты систем водоснабжения должны удовлетворять минимальным требованиям потребителей. Разница в производственном эффекте должна учитываться в приведенных затратах. В приведенные затраты могут не включаться затраты по элементам и сооружениям, одинаковым в сравниваемых вариантах. Выбирают вариант, имеющий минимальные значения приведенных затрат.
Системы водоснабжения по степени обеспеченности подачи воды подразделяют на три категории (СНиП 2.04.0284):
I допускается снижение подачи воды на хозяйственно-питьевые нужды не более 30% расчетного расхода и на производственные нужды до предела, устанавливаемого аварийным графиком работы предприятий; длительность снижения подачи не должна превышать 3 сут. Перерыв в подаче воды или подача ниже указанного предела допускается на время выключения поврежденных и включения резервных элементов системы (оборудования, арматуры, сооружений, трубопроводов и т. д.), но не более чем на 10 мин;
II величина допускаемого снижения подачи воды та же, что и I категории; длительность снижения подачи не должна превышать 10 сут. Перерыв в подаче воды или подача ниже указанного предела допускается на время выключения поврежденных
и включения резервных элементов или проведения ремонта, но не более чем на 6 ч;
III величина допускаемого снижения подачи воды та же, что и при I категории; длительность снижения подачи не должна превышать 15 сут. Перерыв в подаче воды или подача ниже указанного предела допускается на время проведения ремонта, но
не более чем на 24 ч.
Объединенные хозяйственно-питьевые и производственные водопроводы населенных пунктов при числе жителей в них более 50 тыс. человек следует относить к I категории; от 5 до 50 тыс. человек ко II категории; менее 5 тыс. человек к III категории.
Элементы систем водоснабжения II категории, повреждения которых могут нарушить подачу воды на пожаротушение, должны относиться к I категории.



1.3. Режимы водопотребления и работы систем водоснабжения
При расчете систем водоснабжения необходимо учитывать не только изменения расходования воды потребителями по дням в течение года, но и изменения, происходящие в отдельные периоды суток.
Водопотребление жителями населенных пунктов является случайным процессом изменения расходов воды во времени, причем особенностью этого водопотребления является то, что не сама система водоснабжения удовлетворяет случайный спрос потребителей на воду, а потребители сами через эту систему удовлетворяют (или пытаются удовлетворить) свою потребность в воде. Оперативно и с требуемой степенью точности прогнозировать случайный процесс водопотребления в течение суток в настоящее время не представляется возможным. Поэтому распределение расходов воды по часам суток производится на основании расчетных графиков водопотребления, которые могут быть получены путем изучения и анализа действительных графиков водопотребления населенных пунктов. Для вновь проектируемых систем используют аналоги графиков водопотребления тех городов, которые в наибольшей мере близки (по численности населения, санитарно-техническому благоустройству зданий, климатическим условиям, социальной инфраструктуре и другим факторам) проектируемому населенному пункту.
Для наиболее точного отображения реального режима водопотребления желательно иметь возможно большее число графиков водопотребления аналогичных объектов за возможно более длительные сроки. Каждый из графиков, зарегистрированный в ходе наблюдений, является лишь одной из возможных реализаций случайного процесса. На рис. 1.4 дан пример такого графика для города с численностью населения 100 тыс. человек и удельной нормой водопотребления 300 л/сут на человека.
Процесс водопотребления в течение часа также является неравномерным. Однако на практике установлено, что изменение водопотребления в течение часа, как правило, не оказывает заметного влияния на обеспечение водой потребителей. Это позволяет при проведении инженерных расчетов перейти от фактических непрерывных случайных графиков водопотребления (рис. 1.4, линия 1) к расчетным ступенчатым графикам потребления воды, условно приняв равномерным режим водопотребления в течение часа (рис. 1.4, линия 2).

Существуют различные методы описания процессов водопотребления в течение суток. В современной практике проектирования данные о режиме водопотребления представляют в табличной, интегральной, аналитической или графической форме. Во всех случаях для этого используют коэффициенты часовой неравномерности водопотребления:
максимальный, по сути своей являющийся отношением максимального часового расхода воды к среднему часовому в сутки максимального водопотребления,

минимальный отношение минимального часового расхода воды к среднему часовому в сутки минимального водопотребления

Коэффициент учитывает степень санитарно-технического благоустройства зданий, режим работы предприятий и другие местные условия. Его принимают равным max=1,2...1,4; min=0,4...0,6.
Коэффициент учитывает влияние числа жителей в населенном пункте (табл. 1.7).
В табл. 1.8 представлены примеры режимов хозяйственно-питьевого водопотребления населенных пунктов в течение суток в зависимости от максимального часового коэффициента неравномерности водопотребления.

Абсолютное значение расхода воды Qi-j, м3/ч, в час i-j определяют по формуле

где i-j - водопотребление в час i-j, %, при соответствующем значении Кчтах (табл. 1.8); Q сутMAX максимальный суточный расход воды, м3/сут, определяемый по формуле (1.10).

При отсутствии данных о распределении расходов воды по часам суток могут быть определены часовые расходы: максимальный в сутки максимального водопотребления
Qч max = КчmaxQcyT max/24; (1.16)
минимальный в сутки минимального водопотребления
Qч min = КчminQcyT min/24. (1.17)
Режим водопотребления предприятиями складывается из режимов потребления соответствующих групп потребителей на нем.
Режим расходования воды на технологические нужды зависит от технологии производства и, как правило, задается технологами.
Режим потребления воды на хозяйственно-питьевые нужды работающих определяют посменно. Абсолютные значения расходов воды по часам смен могут быть найдены через относительные их значения, представленные в табл. 1.9.

Потребление воды на принятие душа осуществляется в первый час последующей смены.
Режим поливочного водопотребления является неслучайным и управляемым. Принимают, как правило, 12 поливки в сутки общей продолжительностью 6...8 ч. Режим поливочного водопотребления принимают равномерным в течение принятой продолжительности поливки. Часы поливки не должны совпадать с часами максимального водопотребления или образовывать их.
Общий режим отбора воды из системы водоснабжения складывается из режимов водопотребления соответствующих групп потребителей воды.
В табл. 1.10 представлен пример определения режима водопотребления городом, обслуживаемым единой системой водоснабжения. На рис. 1.5 дано графическое изображение этого режима с выделением режимов отбора воды на различные нужды.
Система водоснабжения должна быть рассчитана на максимальный часовой расход воды в сутки максимального водопотребления (в табл. 1.10 час 910).
Так как пожары в городе (расчетное их количество) являются событием неординарным и относительно редко происходящим, в расчетный часовой расход воды не включаются требуемые противопожарные расходы. Однако система водоснабжения должна быть проверена на пропуск расхода воды для тушения пожаров в часы максимального водопотребления (три смежных максимальных часа). При этом допускаются некоторые ограничения в подаче воды другим потребителям и неэкономичная работа системы.


Режим работы системы водоснабжения в целом и отдельных ее элементов и сооружений зависит от режима водопотребления.
В связи с тем, что при очистке воды используются сложные физико-химические процессы, а также из экономических соображений режим работы очистных сооружений и элементов, расположенных в технологической цепочке водоснабжения объекта до них (водозаборные сооружения, включая насосные станции первого подъема), принимают равномерным в течение суток. Расчетным для них является среднечасовой расход воды в сутки максимального водопотребления с учетом расходов воды на собственные нужды.
Режим работы насосных станций второго подъема стремятся максимально приблизить к режиму водопотребления. На практике принимают двух-, реже трехступенчатый режим их работы.
Режим работы резервуаров чистой воды является производным от режимов работы очистных сооружений и насосной станции второго подъема, режим работы водоводов, водопроводной сети и водонапорной башни от режимов работы насосной станции второго подъема и водопотребления объектом.
1.4. Вместимость бака водонапорной башни и резервуаров чистой воды
Режим работы насосной станции второго подъема, как правило, достаточно близок режиму водопотребления. Однако эти режимы полностью не совпадают. Существуют часы (рис. 1.6), когда подача насосной станции второго подъема больше водопотребления городом или, наоборот, водопотребление превышает подачу насосной станции. Для компенсации несоответствия режима работы насосной станции второго подъема и режима водопотребления городом в системе водоснабжения предусматривают водонапорную башню.
Полная вместимость водонапорной башни Wвб, м3, состоит из регулирующего объема Wp и неприкосновенного десятиминутного противопожарного запаса воды Wп для тушения одного наружного и одного внутреннего пожара:
Wвб=Wр+Wп. (1.18)
Регулирующий объем Wp определяют, сопоставляя режимы водопотребления и работы

насосной станции второго подъема. Регулирующий объем водонапорной башни Wp, м3, соответствует максимальному остатку воды max, %, в баке:

В табл. 1.11 показан пример определения регулирующего объема бака водонапорной башни. В графу 2 вносят ранее определенный (см. табл. 1.10) режим водопотребления городом, в графу 3 принятый режим работы насосной станции второго подъема. Сопоставляя значения подачи и расходования воды в каждый час, вычисляют значения расходов воды, поступающей в бак или уходящей из него, и заносят соответственно в 4-ю или 5-ю графу, Остаток воды в баке начинают рассчитывать с последнего часа самого продолжительного и объемного периода расходования воды из бака (час 11 - 12 периода с 8 до 12 ч). Предполагается, что в этот час остаток воды равен нулю. Значения остатка воды в остальные часы определяют путем прибавления значений графы 4 или вычитания значений графы 5. Максимальный остаток воды в рассмотренном примере имеет место в час 3 - 4 и составляет max = 3,09 %.
Если после определения значений остатка воды в баке оказалось, что некоторые их значения имеют знак «», то максимальный остаток воды в баке max определяют как сумму по абсолютной величине максимального значения остатка со знаком «+» и максимального со знаком «».

Десятиминутный противопожарный запас воды Wп, м3, определяют по формуле

где qпн расход воды на тушение одного наружного пожара, л/с, определяемый по табл. 1.3; qпв расход воды на тушение одного внутреннего пожара, л/с, определяемый по СНиП 2.04.01-85; изменяется в пределах от 2,5 до 7,5 л/с для жилых и общественных зданий и от 5 до 20 л/с для производственных.
Вместимость резервуаров чистой воды. В технологической цепочке водоснабжения города имеет место еще одно несоответствие режимов: равномерного режима работы очистных сооружений (линия 1 на рис. 1.7) и ступенчатого режима работы насосной станции второго подъема (линия 2). Для компенсации несоответствия этих режимов необходима регулирующая емкость, каковой и являются резервуары чистой воды. В часы, когда из очистных сооружений поступает воды больше, чем откачивает насосная станция второго подъема (часы 0-5 на рис 1.7), избыток ее аккумулируется в резервуарах. В часы, когда изочистных сооружений поступает прежнее количество воды, а откачка насосной станции

увеличилась (часы 524), недостающие расходы воды поступают из резервуаров чистой воды.
Для примера, изображенного на рис. 1.7, необходимый регулирующий объем резервуаров чистой воды, м3, равен
Wp= (4,17-2,6)·5= 7,85 % от Qсут max. (1.21)
Полный объем резервуаров чистой воды, Wpчe, м3, должен включать кроме регулирующего объема Wp также запас воды на тушение пожаров Wn0ж и запас воды на собственные нужды очистных сооружений Wcн, т. е.

Противопожарный запас Wпож, м3, определяют, исходя из необходимости тушения расчетных пожаров в течение трех (иногда двух, см. § 1.1) часов максимального водопотребления с учетом поступления воды в резервуары чистой воды из очистных сооружений на протяжении всего периода тушения пожаров:

где tпож - расчетная продолжительность тушения пожаров, ч; Qпож расчетный противопожарный расход воды, м3/ч; Qmax максимальная сумма расходов воды в смежные часы принятого периода тушения пожаров, включающая час максимального водопотребления, м3/ч; Qoc расход воды, поступающей в резервуары чистой воды из очистных сооружений в период тушения пожаров, равный среднечасовому расходу воды в сутки максимального водопотребления Qcyт max/24, м3/ч.
Запас воды на собственные нужды очистных сооружений Wсн определяют в зависимости от технологии обработки воды, типа применяемых сооружений и др. При использовании на очистных сооружениях скорых фильтров и контактных осветлителей запас воды в резервуарах должен приниматься на одну дополнительную промывку фильтров или осветлителей. Ориентировочно в этом случае запас воды может быть принят в размере 5...8 % от максимального суточного водопотребления Qсутmax.
Общее количество резервуаров чистой воды должно быть ие меиее двух. При отключении одного резервуара в остальных должно храниться не менее 50 % требуемого пожарного запаса воды.
При отсутствии полных данных о режимах водопотребления и работы насосной станции второго подъема регулирующие объемы WP, м3, водонапорных башен и резервуаров чистой воды могут быть определены по формуле

где Qсутmax расход воды в сутки максимального водопотребления, м3/сут; Кн отношение максимальной часовой подачи воды в регулирующую емкость при станциях водоподготовки, насосных станциях или в сеть водопровода с регулирующей емкостью к среднему часовому расходу в сутки максимального водопотребления; Кч коэффициент часовой неравномерности отбора воды из регулирующей емкости или сети водопровода с регулирующей емкостью, определяемый как отношение максимального часового отбора к среднему часовому расходу в сутки максимального водопотребления.
1.5. Свободные напоры
Минимальный свободный напор Нсв min, м, в сети водопровода населенного пункта при максимальном хозяйственно-питьевом водопотреблении на вводе в здание над поверхностью земли должен приниматься исходя из расчета 10 м для одноэтажной застройки плюс 4 м на каждый последующий этаж:
Hcв min = 10 + 4 (n - 1), (1.25)
где п этажность основной застройки населенного пункта (микрорайона).
Для отдельных многоэтажных зданий или их группы, расположенных в районах с меньшей этажностью застройки или на возвышенных местах, допускается предусматривать местные насосные установки для повышения напора. В часы минимального водопотребления напор на каждый этаж, кроме первого, допускается принимать равным 3 м.
Свободный напор в сети у водоразборных колонок должен быть не менее 10 м. Свободный напор в наружной сети производственного водопровода должен приниматься по технологическим данным. Свободней напор в наружной сети хозяйственно-питьевого водопровода у потребителей не должен превышать 60 м. При напорах в сети более 60 м для отдельных зданий или районов следует предусматривать установку регуляторов давления или зонирование системы водоснабжения.
Давление в наружной сети объединенной хозяйственно-питьевой и противопожарной системы водоснабжения зависит от типа принятой системы пожаротушения.
При системе пожаротушения низкого давления, предусматривающей тушение пожаров с помощью пожарных машин, свободный напор в водопроводной сети должен быть не менее 10 м. Такое давление исключает возможность образования в сети вакуума, а значит, и подсоса нечистот в систему через неплотности в сети при отборе воды пожарными машинами. Системы пожаротушения низкого давления предусматривают в населенных пунктах, имеющих профессиональную пожарную охрану.
В населенных пунктах с численностью до 5 тыс. человек, в которых не предусматривается профессиональная пожарная охрана, противопожарный водопровод должен приниматься высокого давления. Эта система пожаротушения предусматривает подключение пожарных рукавов непосредственно к водопроводной сети. В таком случае свободный напор должен обеспечивать высоту компактной струи не менее 10 м при полном расходе воды на пожаротушение и расположении пожарного ствола на уровне наивысшей точки самого высокого здания. В случае аварии одного из элементов системы подачи и распределения воды (насоса на насосной станции, участка водопроводной сети и пр.) свободный напор в сети должен быть не менее 10 м.
1.6. Характерные случаи работы и расчета систем подачи и распределения воды
В систему подачи и распределения воды входят насосные станции, водоводы, водопроводные сети и напорно-регулирующие емкости.
Характерные режимы работы системы подачи и распределения воды, а значит, и соответствующие расчетные случаи зависят от их структуры, в том числе месторасположения водонапорной башни.
Водонапорную башню в системе хозяйственно-питьевого водопровода с целью уменьшения высоты ее ствола располагают в самой высокой точке естественного рельефа территории населенного пункта или в ближайших его окрестностях. При этом дополнительные затраты, связанные с размещением водонапорной башни в самой высокой точке (удлинение водоводов, строительство дорог и т. д.), не должны превышать экономию средств, связанных с уменьшением высоты ствола водонапорной башни.
Характерные случаи работы сети зависят от месторасположения водонапорной башни в системе водоснабжения.
При расположении водонапорной башни в начале сети (см. рис. 1.2, а, б, д и рис. 1.3, б) система подачи и распределения воды должна быть рассчитана на максимальный часовой расход воды в сутки наибольшего водопотребления (случай максимального водоразбора) и проверена на пропуск дополнительного противопожарного расхода воды в час максимального водоразбора (случай максимального водоразбора при пожаре).
При расположении водонапорной башни в конце сети (система с контррезервом) или в ее середине (см. рис. 1.2, а, в, г и рис. 1.3, а, в, г) к вышеназванным обязательным расчетным случаям добавляется случай максимального транзита воды в башню. Характерным и обязательным расчетным случаем он является потому, что л часы, когда насосная станция второго Подъема подает максимальный расход воды, а отбор воды из сети в этот период минимальный (час 23 24 в табл. 1.11 и на рис. 1.6), избыточное количество воды (1,14% от Qсут max в табл. 1.11) проходит транзитом через всю сеть и поступает в водонапорную башню. При этом расходы воды в конечных участках сети будут больше, чем в час максимального водоразбора, т. е. будут расчетными. Таким образом, при расположении водонапорной башни в конце или в середине сети система подачи и распределения воды должна быть рассчитана на случаи максимального водоразбора и максимального транзита воды в башню и проверена на пропуск противопожарного расхода воды в час максимального водоразбора.
Кроме того, СНиП 2.04.0284 требует расчета системы подачи и распределения воды в сутки минимального водопотребления на минимальный часовой расход.
Иногда возникает необходимость поверочных расчетов на случай аварии одного из элементов системы подачи и распределения воды (насоса, водовода, участка магистральной водопроводной сети и пр.).
Глава 2
ВОДОЗАБОРНЫЕ СООРУЖЕНИЯ ИЗ ПОВЕРХНОСТНЫХ ИСТОЧНИКОВ
2.1. Основные определения и классификация сооружений
Водоразборными сооружениями (сокращенно - водозабором) называют комплекс гидротехнических сооружений, служащих для забора воды из источника водоснабжения, ее предварительной очистки (обычно процеживанием воды через сетки) и подачи под необходимым напором в водоводы (к потребителю или на очистные сооружения системы водоснабжения).
Водоприемником называют сооружение, предназначенное для приема воды и непосредственно взаимодействующее с речным потоком.
Водозаборные сооружения одни из наиболее ответственных и дорогих сооружений системы водоснабжения. Бесперебойное снабжение водой потребителей в значительной степени зависит от бесперебойного функционирования водозаборных сооружений соответствующей производительности, что возможно только при осуществлении водозабора с учетом всех природных условий водоисточника.
Водозаборные сооружения классифицируют: по назначению хозяйственно-питьевого или производственного водоснабжения; по роду водоисточника речные, морские, водохранилищные, водозаборы подземных вод; по месту расположения водоприемника (при заборе воды из поверхностного водоисточника) береговые и русловые; по производительности малой (менее 1 м3/с), средней (от 1 до 6 м3/с) и большой (более 6 м3/с) производительности; по степени обеспеченности подачи воды I, II и III категорий; по компоновке основных сооружений водозабора совмещенные (компонуются в одном сооружении) и раздельные (комплекс сооружений); по степени стационарности стационарные и нестационарные (плавучие, фуникулерные, передвижные); по сроку эксплуатации постоянные и временные.

Водозаборные сооружения на реках различают также по наличию в их составе регуляционных и подпорных сооружений, служащих для регулирования стока реки или увеличения глубин воды у водоприемника бесплотинные, приплотинные и др. Кроме того, применяют водозаборные сооружения с подводящими каналами и с водоприемными ковшами. В данной главе рассматривается проектирование речных водозаборов, как наиболее распространенных.
Водозаборы для хозяйственно-питьевого и промышленного водоснабжения действуют в течение всего года и, как правило, не допускают перерывов в подаче воды.
По характеру водопотребления и требуемой обеспеченности подачи воды водозаборные сооружения разделяют на три категории (табл. 2.1).
2.2. Требования, предъявляемые к водозаборам систем водоснабжения
Водозаборные сооружения должны обеспечивать подачу воды потребителю в необходимом объеме и требуемого качества при всех расходах и уровнях воды в реке, не меньших минимального расчетного.
Бесперебойность подачи воды должна быть обеспечена при самых неблагоприятных возможных при выбранной обеспеченности сочетаниях гидрологических, гидравлических, технологических, шуголедовых и других условий. Водозаборные сооружения должны обеспечивать забор из водоисточника потребного расхода воды и подачу ее потребителю; защищать систему водоснабжения от попадания в нее сора, водорослей, планктона, биологических обрастателей, наносов, льда и т. п., защищать молодь рыб от попадания в водозаборные сооружения.
Водозаборные сооружения должны быть рассчитаны на эксплуатацию в обычных и в редко повторяющихся условиях, в том числе и при мгновенных максимальных и минимальных уровнях воды в водоисточнике с обеспеченностью, указанной в табл. 2.1.
Надежность действия водоприемника в значительной степени определяет надежность функционирования всего водозабора в целом, поэтому водоприемник должен обеспечивать прием воды в условиях, осложненных уменьшением глубин или расходов в русле реки, образованием внутриводного льда и шуги, шугозаполнением русла, транспортированием потоком шуги, Сора, наносов, топляков, карчей и т. п.; судоходством, лесосплавом, регулированием стока на ГЭС, отбором воды для других целей; захватом загрязнений водоема; переформированием русла или побережья водоема; волнением, вдольбереговыми перемещениями наносов, нагоном шуги, сора, льда, развитием или деградацией границы многолетнемерзлых грунтов, наледеобразованием, заторами и навалами льда и др.
Водозаборные сооружения хозяйственно-питьевого назначения должны удовлетворять санитарным требованиям, место их расположения должно обеспечить организацию зон санитарной охраны. Водозаборные сооружения должны быть прочными, долговечными, устойчивыми, простыми в строительстве и удобными в эксплуатации, экономичными. При проектировании водозаборных сооружений и определении их стоимости надо учитывать не только затраты на строительство сооружений, но и возможный ущерб, который может быть вызван непредвиденными нарушениями бесперебойности подачи воды потребителям.
Водозаборные сооружения необходимо проектировать так, чтобы их расположение, форма и размеры обеспечивали плавное обтекание речным потоком (при всех гидрологических фазах), наименьшее стеснение русла и не вызывали его переформирования.
2.3. Природные условия забора воды
Осложнения в работе водозаборных сооружений могут возникнуть: при заносе водоприемников отложениями донных наносов, при отделении мест расположения водоприемников косами наносов; при отходе русла реки от сооружения вследствие переформирования русла; при подмыве и разрушении водоприемника течением воды или под воздействием волн; при разрушении водоприемника под воздействием льда, при зажорах, заторах и навале льда, при закупорке решеток сором, водорослями, скоплениями шуги или при обмерзании решеток. Перемещение наносов речным потоком связано с размывом русла в одних местах и с отложением наносов в других. В структурном механизме речных потоков поперечные циркуляции определяют особенности формируемого потоком русла, движения наносов и плавающих тел, льда и шуги. Русло характеризуется извилистой формой в плане и чередованием вдоль него глубоких участков плесов, а также мелких перекатов. Плесовые участки соответствуют изогнутым участкам русла, а перекаты участкам, соединяющим излучины с противоположными направлениями изогнутости.

При движении воды на поворотах под действием центробежной силы возникает перекос поверхности воды (рис. 2.1). Поверхностные маломутные струи воды, набегая на вогнутый берег, отклоняются к дну и размывают его, формируя углубление дна плесовую ложбину, которую целесообразно использовать для размещения в ней водоприемника Донные струи насыщаются наносами и, выходя к поверхности у выпуклого берега, теряют здесь часть своей скорости, образуя отмель, называемую побочнем (рис. 2.2).

Возникающее винтовое течение называют поперечной циркуляцией (рис. 2.1). В результате размыва вогнутого и наращивания выпуклого берега происходит развитие и перемещение речных излучин.
На перекате происходит затухание поперечной циркуляции и вследствие этого уменьшается транспортирующая способность потока. Наносы при этом оседают на дне, глубина потока уменьшается, а ширина русла увеличивается. Наносы движутся по дну, пересекая русло от верхнего побочия к нижнему. Гряда наносов на перекате располагается по этому же направлению, часто с повышением дна в середине русла, где может образоваться осередок затапливаемое подвижное возвышение дна или даже остров. Меандрическая форма русла в большей степени свойственна малым и средним рекам с небольшими уклонами (около 0,0001), большим рекам слабая извилистость. При проходе по руслу паводковых расходов воды также возникает поперечная циркуляция. Характер циркуляции обусловлен быстрым увеличением глубины и скорости потока в стержневой его части при подъеме уровней; они же быстрее убывают при снижении уровней воды. Вследствие этого перекаты при подъеме уровней воды наращиваются, при спаде размываются.
Образование внутриводного льда, создающего помехи забору воды, начинается с отрицательных среднесуточных температур воздуха, когда температура воды в реке достигает значений, близких 0°С. Дальнейшее охлаждение потока приводит к переохлаждению тонкого поверхностного слоя до t=0,005... 0,02 °С. Образование льда может происходить в толще воды вследствие турбулентного перемешивания и на ее поверхности при наличии центров кристаллизации (песчинок, кристаллов льда), а также на неровностях дна. Толщина донного льда, имеющего пористую структуру, может достигать 0,6 м в галечном русле и 1,5 м на скальном дне. В плесе могут отмечаться редкие и небольшие скопления, на перекате с большими скоростями потока сплошной ковер донного льда.
При мелкопесчаном дне кристаллы льда с примерзшими песчинками всплывают, образуя ледяную взвесь с песчаными включениями. У водоприемных отверстий затопленных водоприемников скопления такого льда уплотняются, образуя ледяные стенки, закупоривающие отверстия, что иногда приводило к разрушению решеток и даже водоприемников.
Скопления донного льда при подтаивании его у дна от притока глубинного тепла всплывают, образуя плавающие скопления внутриводного льда шугу. Сначала она движется небольшими скоплениями, которые, смерзаясь, образуют шуговые ковры. Ледостав начинается со смерзания ковров шуги с берегами. С ледоставом прекращается переохлаждение воды и образование внутриводного льда. На реках с малыми скоростями течения v < к1 = 0,4...0,5 м/с ледостав устанавливается без значительного внутриводного льдообразования. При скорости течения v>vK2 (по А. С. Образовскому, vK2 = 0,7 + 0.67Н, м/с, где Н глубина воды, м) скопления шугольда затягиваются под лед, заполняя живое сечение реки. На перекатах и в сужениях шуга останавливается, образуя зажор, при котором уровень воды повышается. При скоростях >к>3= 1,5 м/с шуголедовая масса перемещается в толще потока в виде ледяной взвеси, в том числе и под массами ранее остановившейся, уплотнившейся и замерзшей с поверхности шуги. Большинство равнинных рек с песчаными руслами в предледоставный период имеют скорости течения на плесах vK, i < v < ук, 2 и на перекатах ик, 2 < v < vKз, где кI, к2 и кз критериальные скорости течения воды. При таких скоростях всплывающая в плесах шуга смерзается, образуя в нижних участках плесов ледяные перемычки, стесняющие живое сечение потока и приводящие к повышению уровней воды и образованию на плесах ледяного покрова. Кромка ледостава с приближением к расположенным выше перекатам перестает двигаться вверх, и здесь некоторое время сохраняется полынья. Если размеры полыньи значительны, то переохлаждение воды увеличивается и полынья генерирует шугу. Образующаяся здесь мелкозернистая шуга поступает в нижерасположенный плес и накапливается в верховой части плеса.
На реках с большими уклонами, песчано-гравелистым руслом и большим объемом шугольда при таком же соотношении скоростей течения кромка ледостава также перемещается в плесе вверх по течению. Затягивание шуги под лед начинается ближе к перекату, и верховая часть плеса оказывается частично заполненной «висячим» шугозажором, который создает подпор, распространяющийся на перекат. Это приводит к уменьшению скорости течения на перекате, в результате чего кромка ледостава передвигается в расположенный выше плес, где процессы повторяются.
Если перекат достаточно высок, то на нем может возникнуть на какое-то время полынья, которая увеличит объем шугозажора. Это вызовет подпор, повышение уровня воды на перекате и продвижение кромки ледостава.
Скорость транзита шуголедяной взвеси под телом шугозажора около 1,5 м/с. Следовательно, глубина h, м, под шугозажором составит минимально q/1,S, где q удельный расход воды на 1 м ширины плеса. Если скорость течения в плесе в открытом потоке составляет 0,5 м/с, то заполнение русла шугой составит около 67 %.
Характер шугозаполнения русла может измениться при потеплениях, ледоходах и повторных ледоставах. В руслах у водозаборов могут возникнуть ситуации, которые необходимо предвидеть. Отмечались случаи, когда при потеплении начались подвижки и разрушение льда, «висячий» шугозажор из плеса может надвинуться на береговую отмель, формируя береговой шугозажор, или на перекат, создавая русловый зажор. Последний может развиваться очень быстро, сопровождаясь накоплением в плесе больших масс шугольда и вызывая безрасходный подъем уровня до 3 м и более и понижение уровня воды ниже зажора. При прорыве зажора в средней части туда устремляется шуголедовый поток, уровень воды в плесе резко снижается, а масса шугольда вдоль берегов оседает на дно, уплотняясь и отрезая водозабор от реки. Поэтому для расположения водозаборов верховые и низовые части плесов на таких реках нежелательны. Описанные схемы формирования ледостава применимы для рек с простейшей морфологической формой русла.
Зачастую приходится учитывать и более сложные условия, которые создаются на реках в нижних бьефах ГЭС, когда неравномерные попуски из водохранилищ изменяют процессы ледостава. При этом происходят размывы русл, и образуется тепловая полынья, длина которой может составлять десятки километров. Лишь в конце полыньи вода охлаждается до 0°С, получает переохлаждение и образуется шуга. Полынья, как правило, не замерзает в течение всей зимы; всю зиму образуется шуга, поступающая под ледяной покров и создающая шугозажоры. Длина полыньи зависит от температуры воздуха и графика регулирования на ГЭС. В пределах части суток попуски на ГЭС могут быть минимальными, но в течение нескольких часов сброс может достичь половодных расходов; колебания уровней при этом могут составить 5 м, а образовавшийся лед будет взломан. Изменение уровня в пределах суток около 1,2 м уже вызывает ломку льда, ледоход, навал льда на берега, шугозажоры и заторы, а после их прорыва шуголедопотоки
Классификация природных условий забора воды приведена в табл. 2.2.


2.4. Выбор места расположения
и технологической схемы водозабора
Выбранное место для водозабора должно располагаться как можно ближе к потребителю; при хозяйственно-питьевом водоснабжении необходим учет санитарных требований, возможности расширения границ объекта водоснабжения в перспективе и организации зон санитарной охраны.
Количество и качество воды в водоисточнике должны соответствовать требованиям потребителя (с учетом возможности обработки воды). Топографические, гидрологические, геологические и гидрогеологические условия площадки строительства должны быть благоприятными или хотя бы приемлемыми для строительства и эксплуатации сооружений.
Водозабор должен располагаться на достаточно устойчивом участке реки, характеризующемся благоприятными гидравлическим и шуголедовым режимами речного потока. Благоприятный гидравлический режим должен обеспечить устойчивое сохранение речного потока у сооружений, необходимые глубины и формы русла, транзитное перемещение мимо сооружений наносов, скоплений льда и шуги. Благоприятный режим речного потока наблюдается у вогнутого берега плесовых участков. Здесь наибольшие глубины воды и динамическая ось потока приближены к вогнутому берегу (что обеспечивает в наибольшей мере транзитное движение шуголедовых масс мимо водозабора и меньшую вероятность шугозаполнения русла). Отложение наносов возможно лишь в верхней части плесовой ложбины при смыве гребня вышерасположенного переката в межень. Водозабор располагают в пределах третьей четверти излучины реки. Нежелательно располагать водозабор в плесе ниже не замерзающего зимой переката либо следует предусматривать покрытие полыньи хворостяным плетнем, соломенными матами и т.д. с целью ее ликвидации.

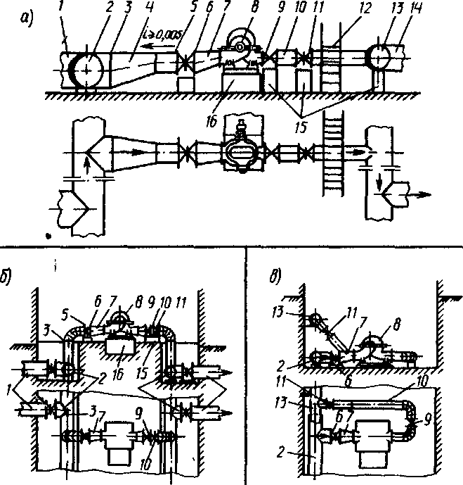
Рис 2 3 Схемы водозаборных сооружений
а раздельного типа с русловым затопленным водоприемником, б то же, с береговым незатопляемым водоприемником, 1 и 2 соответственно минимальный и максимальный уровни воды, 3 русловый затопленный водоприемник, 4 самотечные водоводы, 5 береговой сеточный колодец, 6 всасывающие водоводы, 7 насосная станция, 8 напорные водоводы, 9 камера переключений и предохранительной аппаратуры, 10 и 11водоводы для подачи воды на промыв решеток и водоводов обратным током воды, 12 береговой незатопляемый водоприемник
Не допускается размещать водоприемники в зоне движения судов и плотов, в местах зимовки и нереста рыб, скопления плавника и водорослей, возникновения зажоров и заторов, в зоне отложения и жильного движения донных наносов. Не рекомендуется размещать водоприемники на участках нижних бьефов ГЭС, прилегающих к гидроузлу, в верховьях водохранилищ.
Технологическая схема водозаборных сооружений, обычно включающая водоприемник, водоочистной сеточный колодец и насосную станцию, выбирается соответственно требуемому расходу воды, категории водозабора, гидрологическим характеристикам водоисточника, топографическим и геологическим условиям, требованиям санитарной инспекции, организаций рыбоохраны и водного транспорта. При выборе схемы водозаборных сооружений надо учитывать и возможное увеличение производительности водозабора в перспективе.
На рис. 2.3 - 2.5 представлены основные схемы водозаборных сооружений, отличающиеся местом расположения водоприемника и компоновкой основных сооружений водозабора.
В состав водозаборных сооружений (рис. 2.3, а) входит русловый затопленный водоприемник, находящийся в некотором удалении от берега (где глубина воды достаточна

Рис 2.4. Схема водозаборных сооружений совмещенного типа с русловым затопленным водоприемником:
1 затопленный водоприемник, 2 вихревая камера, 3 и 4соответственно минимальный и максимальный уровни воды, 5 самотечные водоводы, 6 насосиая станция, совмещенная с сеточным зданием, 7 сеточное отделение, 8 водоочистная вращающаяся сетка, 9 подвесной одиобалочиый край, 10 таль, 11 монтажный проем, 12 помещения для электрораспределительных устройств, щитов автоматики, 13 монорельс для тали; 14 насосное отделение
для его расположения). Водоприемные отверстия таких водоприемников в отдельные периоды года практически недоступны для обслуживания. Водоприемные отверстия берегового незатопляемого водоприемника на рис. 2.3, б всегда доступны для обслуживания, что имеет большое значение для обеспечения бесперебойной подачи воды водозаборными сооружениями.
Кроме водоприемников на рисунках показаны самотечные водоводы (для транспортирования воды от водоприемника на берег), береговой сеточный колодец (предназначенный для расположения в ием водоочистных сеток) и насосные станции ' подъема для создания необходимого напора со всасывающими и напорными водоводами, камерами предохранительных устройств и переключений. Водоочистные сетки в водозаборе на рис. 2.3, б располагаются в береговом водоприемнике, что упрощает технологическую схему водозаборных сооружений.
Водозаборные сооружения оборудуют плоскими или вращающимися (ленточными) водоочистными сетками; вращающиеся сетки применяют при QB1 м3/с.
Схема водозаборных сооружений упрощается при совмещении сеточного колодца и насосной станции в одном здании. Такое совмещение необходимо при применении насосов с малой высотой всасывания и амплитуде колебания уровней воды в реке больше 10 м, а 
15
Рис 2 5 Береговое водозаборное сооружение совмещенного типа:
1 и 3 соответственно минимальный и максимальный уровни воды, 2 водоприемные отверстия, 4 пазы для установки сороудерживающих решеток, рыбозащитиых сеток, затворов и для передвижения промывных устройств, 5 водоприемио-сеточное отделение, 6 иаземиый павильон, 7 водоочист ная вращающаяся сетка, 8 подвесной край, 9 помещения электрорас пределительных устройств, щитов управления и сигнализации, вентнляциои ных устройств; 10служебный мост для сообщения с берегом, // мостовой радиальный кран, 12 насосное отделение, 13 берегоукреплеиие, 14 напорные водоводы, 15 канал для сбора профильтровавшейся воды, 16 приямки для сбора осадка
также, как правило, при оборудовании водозаборных сооружений вращающимися сетками (рис. 2.4 и 2.5).
На рис. 2.4 приведена схема водозаборных сооружений совмещенного типа с русловым затопленным водоприемником, на рис. 2.5 схема берегового водозаборного сооружения совмещенного типа; здесь в одном сооружении совмещены водоприемник, сеточный колодец и насосная станция.
Водозаборные сооружения, схемы которых показаны на рис. 2.3, именуют водозаборными сооружениями раздельного типа. Кроме этих основных схем применяют водозаборы комбинированного типа (например, с несколькими водоприемниками различных типов с береговым незатопляемым и русловым затопленным, с двумя ярусами самотечных водоводов и водоприемниками, предназначенными для забора воды в различные гидрологические фазы), с водоприемником с водоприемными отверстиями и подрусловым приемом воды (инфильтрационным), с водоприемником, имеющим секции с водоприемными отверстиями и секции фильтрующего приема воды.
При широкой пойме, заливаемой в половодье, строительство водозаборных сооружений с самотечными водоводами (рис. 2.6, а) будет осложнено необходимостью прокладки водоводов значительной протяженности на большой глубине в сложных гидрогеологических условиях. В этих условиях береговые сооружения водозабора можно расположить на островке, отсыпанном иа пойменной террасе. В этом случае самотечные водоводы будут короткими, а напорные водоводы пересекут пойму на относительно небольшой глубине (рис. 2.6, б). Сообщение с водозабором будет возможно по дороге, проложенной по пойме вдоль водоводов, а при высоких уровнях воды с помощью плавсредств (кроме периода ледохода). Напорные водоводы можно проложить и в теле дамбы, соединяющей островок с коренным берегом. Сооружение дамбы приведет к дополнительным затратам, а необходимость пропуска половодного расхода по пойме (особенно односторонней) может исключить вариант со строительством дамбы.

Водоприемник с береговыми сооружениями, располагаемыми на коренном берегу, можно соединить сифонными водоводами (рис. 2.6, в).
Береговые сооружения водозаборов (рис. 2.6) могут выполняться по схемам водозаборов раздельного или совмещенного типов. По СНиПу сифонные водоводы допускается применять в водозаборах II и III категорий, а применение их в водозаборах I категории должно быть обосновано.
В отдельных случаях строительство водозабора совмещенного типа ведут в котловане на некотором расстоянии от реки, а воду к сооружению подводят по каналу (рис. 2.7, а).

При заборе больших расходов воды из шугоиосных рек применяют водоприемные ковши, поверхность воды в которых покрывается льдом на несколько дней ранее реки (рис. 2.7, б). Переохлаждение воды в ковше и образование виутриводиого льда прекращаются, а шуга, поступающая с водой из реки, всплывает уже в начале ковша и частично расплавляется за счет притока глубинного тепла земли. При заборе водъ из мутных рек применяют ковши (ковши-отстойники) с верховым втеканием воды. В отдельных случаях ковши в составе водозаборных сооружений применяют для увеличения относительного отбора воды из реки. По опыту эксплуатации водозаборных сооружений считают, что при относительном водоотборе из реки = Qв/Qmin 0,25 (где Qв расход воды, подаваемой водозабором, a Qmin минимальный расход воды в реке) из русл равнинных рек возможен забор воды с помощью затопленных водоприемников.
При =0,25...0,75 надежный отбор воды возможен только из незашугованного открытого потока при особо благоприятных форме и состоянии русла. Чаще бывает необходимо строительство русловыправительных и руслорегулирующих сооружений. Значение относительного водоотбора зависит от типа водоприемника, глубины воды при Qmin и ее уменьшения после отбора воды, особенностей русла и шуголедовых условий.
При производительности водозабора, превышающей предельный относительный водоотбор, или при недостаточной глубине воды в реке в состав сооружений включают водоподъемную плотину либо в отдельных случаях водоприемный ковш.
Для обеспечения бесперебойной подачи воды предусматривают секционирование водозаборных сооружений. Минимальное число секций 2. Водозаборы малой и средней производительности (до 1...2 м3/с) обычно устраивают двухсекционными. Водозаборное сооружение совмещенного типа на расход воды 5 м3/с со встроенным трехсекционным водоприемно-сеточным отделением разработано в типовом проекте 901-1-11. В водозаборах большей производительности число секций может быть принято по количеству насосов. Секционирование обязательно для водоприемников, самотечных водоводов, сеточных колодцев и водоприемно-сеточных отделений насосных станций (и желательно для насосных станций при амплитуде колебания уровней воды более 10 м).

В табл. 2.3 приведены рекомендации по применению водозаборных сооружений различных типов.
В табл. 2.4 приведены категории водозаборных сооружений (QB = 1...6 м3/с) в зависимости от характеристики природных условий забора воды, типа водоприемника и принятой схемы водозаборных сооружений. По этой таблице проверяют, соответствует ли заданной категории обеспеченности подачи воды принятая схема водозаборных сооружений.
Повышение категории водозаборов с затопленными водоприемниками на единицу допускается в случаях размещения водоприемника в затопляемом самопромывающемся водоприемном ковше, подвода к водоприемным отверстиям теплой воды (не менее 20 % забираемого расхода воды) и применения специальных наносозащитных устройств, обеспечения надежной системы промыва самотечных водоводов, сороудерживающих решеток и рыбозащитных устройств (РЗУ) водоприемников.

2.5. Технологическое оборудование водозаборных сооружений
Технологическое оборудование водозаборов включает соро-удерживающие решетки, водоочистные сетки, насосы с электродвигателями, подъемно-транспортное оборудование, электрооборудование, оборудование для автоматического, телемеханического или местного управления и контроля за функционированием оборудования водозаборных сооружений, отопительно-вентиля-ционное оборудование, трубопроводную арматуру, а также оборудование для промыва водоприемных отверстий и самотечных водоводов.
• Решетки сороудерживающие предназначены для задержания сора (водорослей, веток, шугольда) и устанавливаются в водоприемных отверстиях водоприемников. Решетка состоит
а) б) в)

Рис 2 8 Схемы втекания воды в водоприемные отверстия, оборудованные решетками:
а при <90°; б при = 90°, в при 135°
из сварной рамы, изготовленной из швеллеров или угловой стали, и стержней из полосовой стали шириной 40...80 мм и толщиной 6... 10 мм, расположенных вертикально с расстоянием между стержнями 50...60 мм (см. табл. П. 1.1).
Решетки часто размещают в вертикальной плоскости в боковых стенках водоприемника. При расположении стержней решетки под некоторым углом к направлению течения воды в реке, например 135°, сор при небольших скоростях втекания воды мало засоряет решетку. На рис. 2.8 изображены схемы втекания воды в водоприемные отверстия. На рис. 2.8, а показано втекание воды между стержнями с небольшим углом поворота струй. Втекание происходит плавно, и именно поэтому наблюдается «прочное» прижатие к решетке сора, имеющего размеры больше ширины просвета между стержнями решетки. При а = 90° (рис. 2,8,6) образуются валец у стержня с верховой стороны и искривление струй у низового. При 135° водоворотная зона становится большей и в большей степени искривляются струи у низового стержня (рис. 2.8, в).Вследствие пульсации скорости водоворотная зона занимает то меньший, то больший объем между стержнями. Можно даже говорить о некотором объеме воды, вытекающей у низового стержня. Именно эта вытекающая вода не дает частицам сора плотно держаться на решетке, и вследствие пульсации скорости сор и скопления шугольда передвигаются по решетке и уносятся течением воды в реке.
Очистку решеток от сора производят вручную после их подъема из воды. Возможна их очистка граблями с плавсредств или со льда. Для промыва решеток следует предусматривать необходимое оборудование.
Решетки с обогреваемыми стержнями применяют для борьбы с их обмерзанием и закупоркой скоплениями шугольда.
При подогреве стержней до +0,05°С шуга не прилипает к стержням. С учетом возможного переохлаждения воды до температур 0,02...0,08°С нагрев поверхности стержней решетки должен осуществляться на 0,07...0,13°С. Редко применяют нагрев воды до положительных температур и плавление шугольда из-за больших расходов энергии. Обмерзание стержней будет меньшим при меньшей скорости втекания воды. Обмерзание значительно снижается при использовании стержней, покрытых резиной, пластмассой или битумом.
Для установки решеток в отверстиях водоприемников наиболее часто используют направляющие из швеллеров. Во избежание перекоса опускаемой решетки и ее заклинивания между направляющими необходимо применять решетки, ширина которых меньше их высоты. Это условие не требуется выполнять при установке решетки в углублениях (в так называемых «четвертях»), сделанных у отверстия в стене затопленного водоприемника.
Промыв сороудерживающих решеток водоприемников может быть осуществлен обратным током воды и вдлновыми импульсами (импульсный промыв). Для промыва обратным током желательно подать увеличенный на 25...50 % (по сравнению с забираемым) расход воды. Для этого в водозаборе по рис. 2.3, а включают резервный насос (к двум работающим) и открывают перепускную задвижку в береговом колодце; затем закрывают задвижку на промываемом самотечном водоводе и открывают задвижку в насосной на водоводе 10. При трех работающих насосах (суммарная подача 1,5 QB) возможно подать на промыв 0,8QB, сократив подачу потребителю до 0,7QB. При расходе воды I,5Qв, во втором водоводе (промыв водоводов прямым током воды) потери напора в нем возрастут в 9 раз и в межень такой режим неосуществим. Кратковременно можно подать на промыв 0.6Qв, а потребителю 0,4Qп(учитывая малую продолжительность промыва решеток).
На рис. 2.3, а приведен вариант с подачей воды на промыв и от камеры переключений по водоводу 11.
Промыв волновыми импульсами, или импульсный промыв, не требует расхода воды из напорных коммуникаций и по действующей секции водозабора по рис. 2.3, а может быть забран расход воды, близкий к Qв.

Рис. 2.9. Оборудование водозаборных сооружений устройст-нами для импульсного промыва-
/ водоприемник; 2 самотечный водовод; 3 вакуум-стояк, 4 подвод воды для промыва обратным током воды; 5 труба к вакуум-насосу; 6 клапан для впуска воздуха в вакуум-стояк
Для импульсного промыва в береговом сооружении водозабора располагают вакуум-стояки диаметром D, присоединенные к самотечным водоводам перед задвижками (рис. 2.9). В верхней части стояков к заглушке присоединяют задвижку диаметром d и клапан для впуска воздуха. Воздух из стояка откачивается вакуум-насосом, и уровень воды в стояке поднимается на высоту Z1=pвак/. Закрывают задвижку на самотечном водоводе и открывают клапан; воздух поступает в стояк, а уровень воды в нем быстро снижается. Скорость течения воды в стояке и водоводе возрастает от нуля до Vmax. Уровень воды останавливается на высоте Z2 ниже нуля, а затем вода течет обратно в стояк и останавливается на высоте Zз, завершая первый период колебательного движения жидкости продолжительностью Т.
Происходит еще несколько затухающих движений жидкости. Вследствие гидравлического трения z3 < z2 < z1.
Наибольшее воздействие вытекающей жидкости на сор происходит в середине первого полупериода колебания жидкости при максимальной скорости ее течения. Волновой импульс воздействует на всю решетку независимо от степени ее засорейия, а оторванный сор уносится течением реки. Импутьсный промыв характеризуется малой продолжительностью подготовительных операций и незначительной стоимостью оборудования.
Диаметр стояка D рекомендуется назначать равным диаметру самотечного водовода или несколько большим, а диаметр клапана для впуска воздуха равным (0,08...0,17) D. К вакуум-стояку может быть присоединен водовод для промыва обратным током воды. Стояк можно расположить и вне сеточного помещения водозабора, например при его реконструкции.
Целесообразно оборудовать водозабор коммуникациями для промыва обратным током воды и устройствами для импульсного промыва. Для автоматической сигнализации о необходимости промыва применяют дифференциальный манометр с передачей импульса о перепаде уровней воды до и после решетки.
Технические мероприятия по защите от обмерзания решеток: забор воды с малыми скоростями втекания, покрытие решеток гидрофобными обмазками, резиной, обогрев решеток (с поступлением шуги в водоприемник и в береговые сооружения, оборудованные вращающимися сетками), козырьки и плавучие запани у водоприемника, воздушно-пузырьковые завесы, фильтрующие водоприемники, сброс теплой воды в реку у водоприемника.
Сетки водоочистные служат для задержания мелкого сора, прошедшего через решетки. Плоские съемные сетки применяют при малой производительности водозаборных сооружений (до 1 м3/с).
Сетка состоит из металлической рамы, изготовленной из уголковой стали, к которой крепится сеточное полотно. Рабочее полотно сетки с ячейками размером от 22 до 55 мм от выпучивания поддерживается полотном сетки с ячейками 2020 мм и более. Рабочее полотно сетки выполняют из тонкой стальной нержавеющей проволоки или другого коррозионностойкого материала (бронза, латунь), а поддерживающее из стальной оцинкованной проволоки d=3 мм.
В табл. П1 2 приведены размеры и масса плоских съемных сеток.
Для промыва сетки поднимают из воды, устанавливают в ванну с экраном и промывают вручную струей воды из брандспойта. Перед подъемом рабочей сетки на промыв должна устанавливаться запасная сетка.
Недостатком плоских сеток является сложность механизации промыва. Для того чтобы в половодье не требовалась частая промывка, целесообразно применить сетку большей высоте,
а при небольших амплитудах колебания уровней в реке - даже иа всю высоту сеточного помещения.
Вращающиеся ленточные сетки применяют для процеживания воды при производительности водозаборных сооружений более 1 м3/с при средних, тяжелых и очень тяжелых природных условиях забора воды из водоисточника.
Вращающиеся сетки состоят из отдельных секций (рамок высотой около 600 мм с сеточным полотном), соединенных шарнирно между собой и закрепленных на двух замкнутых транспортерных роликовтулочных цепях. Во избежание протекания неочищенной воды через зазоры между секциями предусматривают гибкое межсекционное уплотнение или козырек, который обеспечивает зазор с осью секции не более 3 мм. Транспортерные цепи навешены иа две шестерни иа грузовом валу, который приводится во вращение электродвигателем через редуктор (рис. 2.10).
Преимущество вращающихся сеток в том, что подъем сеток и промыв их механизированы, а включение их на промыв легко автоматизировать. Предусматривается сначала подача воды на промыв и лишь затем по сигналу от датчика давления на промывной трубе сетка приводится в движение.
Струями воды из промывного устройства смывают с сеточного полотна сор, который вместе с промывной водой попадает в грязевой желоб. Вращающиеся круглые щетки позволяют повысить эффективность промыва сеточного полотна от сора. Воду для промыва подают под давлением 0,3...0,4 МПа, расход промывной воды 15...20 л/с. Скорость движения сетки принимается в зависимости от засоренности воды и составляет 4...10 см/с.

Качество очистки воды от сора и загрязнений, а также и компоновка сеточного помещения в значительной степени определяются схемой подвода неочищенной воды к сетке и отвода от нее процеженной. По способу подвода к сеткам неочищенной и отвода от них чистой воды различают сетки с лобовым подводом воды (рис. 2.11, а) (подвод воды осуществляется по нормали к поверхности сеток, а процеживание через два сеточных полотна); с внешним подводом (рис. 2.11, б); с внутренним подводом (рис. 2.11, в); с лобово-внешним подводом. Схема сетки с лобово-внешним подводом приведена на рис. 2.11, г. д. К сетке с лобово-внешним подводом вода притекает так же, как к сетке с лобовым подводом, но некоторое количество воды протекает под нижней частью сетки и поступает на процеживание через второе полотнище с внешней стороны. Отвод процеженной воды изнутри сетки.
Сеткам с внутренним подводом воды свойственны такие недостатки: 1) внутри сетки накапливается сор, и его удаление иевозможно без разборки сетки; 2) к засоренной поверхности сеточного полотна нет доступа; 3) затруднен доступ к расположенному внутри сетки желобу, отводящему промывную воду с сором; 4) неудовлетворительная структура течений воды в сеточном помещении; 5) большая площадь сеточного помещения в плане (на 30…40% больше помещения для сеток с лобовым подводом); 6) неравномерность засорения сеточных полотен по ширине. Недостатки, изложенные в п. 3...6, свойственны также сеткам с внешним подводом воды.

Рис. 2 11. Вращающиеся сетки с подводом воды:
а лобовым; б внешним, в внутренним, г лобово-внешним; г разрез;
д план
Недостатки сеток с лобовым подводом воды: 1) задержание сора происходит только на первом по течению воды полотне; 2) при неудовлетворительном промыве возможен перенос сора и загрязнений в процеженную воду. Устранение последнего недостатка обеспечивается установкой двух промывных устройств на восходящем и нисходящем сеточных полотнах. Простота компоновки сеточного помещения, благоприятная гидравлическая структура потока воды и малая площадь в плане сеточного помещения компенсируют первый недостаток сеток с лобовым подводом и обусловливают частое их применение. Часть секций делают ковшеобразной формы для удаления из сеточного помещения скоплений шугольда, прошедших через решетки.
Вращающиеся ленточные сетки разделяют на каркасные и бескаркасные. Каркасные сетки характеризуются большей массой и большей стоимостью. Бескаркасные сетки имеют более простую конструкцию, характеризуются простотой монтажа, меньшей массой (на 30...40 % легче каркасных), меньшей стоимостью, поэтому их применение более предпочтительно. Для передвижения сетки на стенах сеточного помещения закрепляют направляющие из уголков, между которыми передвигаются ролики секций транспортерной цепи. В нижней части направляющие делают изогнутыми (полукруглой формы). В табл. П1.3 приведены характеристики и размеры наиболее употребительных вращающихся сеток.
Насосы для водозаборных сооружений наиболее часто применяют центробежные с приводом от электродвигателей. Для малой производительности (до 0,2 м3/с) применяют насосы марки К, при большей производительности марки Д. При использовании насосов с вертикальным валом удается расположить насосное оборудование более компактно. Такой же эффект достигается при применении насосов для артезианских скважин и пропеллерных насосов. Более подробные сведения приведены в гл. 13.
Подъемно-транспортное оборудование служит для монтажа оборудования, трубопроводов, а также при ремонтных работах.
При массе поднимаемого груза до 5 т предусматривают ручную таль, перемещающуюся с помощью «кошки» по монорельсу, или подвесно-однобалочный кран; при массе груза более 5т- мостовой ручной кран. Электрическое крановое оборудование применяют при подъеме груза на высоту более 6 м или при длине кранового пути более 18 м.
В помещениях с крановым оборудованием предусматривают монтажную площадку. Оборудование на монтажную площадку следует доставлять такелажными средствами или талью на монорельсе.
Грузоподъемность кранового оборудования определяют, исходя из максимальной массы перемещаемого оборудования; при отсутствии требований заводов-изготовителей к транспортированию оборудования только в собранном виде грузоподъемность крана определяют по наибольшей массе части оборудования.
Тали выпускают подвесные с червячным или шестеренным механизмом подъема, передвижные ручные (без механизма и с механизмом передвижения) и электрические (с ручным и электрическим механизмом передвижения). Изготовляют ручные тали грузоподъемностью до 12,5 т при высоте подъема 3...12 м и электрические тали грузоподъемностью до 10 т при высоте подъема 6...36 м.
Из подвесных талей предпочтение следует отдавать червячным талям, так как они имеют более простую и надежную конструкцию, а также дешевле шестеренных.
Электрические тали представляют собой самоходную тележку, передвигающуюся по подвесному монорельсу из двутавра. К тележке снизу крепится канатный барабан с редуктором, электродвигателем и тормозным устройством. Управляют талью с пола подвесным переключателем. Высота подъема талей составляет разность отметок наивысшего положения крюка и пола сооружения. В грузоподъемность тали входят масса груза и масса устройств для стропоаки.
Кошки предназначены для подвешивания тали и перемещения груза по подвесному пути (монорельсу) из двутавра. Кошка грузоподъемностью 1 т движется по двутаврам № 16, 18 и 20 (при радиусе закругления пути не менее 1,5 м); расстояние от низа двутавра до грузовой траверсы составляет 80 мм. Масса подъемного механизма, подвешиваемого к кошке, в ее грузоподъемность не входит.
Краны подвесные однобалочные наиболее употребительны в водопроводных сооружениях, так как для них не требуются подкрановые пути, что упрощает строительную часть сооружений. Кран подвесной однобалочный представляет собой отрезок двутавра, подвешенный к двум кареткам, каждая из которых передвигается по подвесному крановому пути из двутавра (подвешенному к балкам перекрытия). По балке (двутавру), на которой находятся каретки и механизм перемещения крана, движется ручная или электрическая таль для подъема груза.
Краны подвесные ручные выпускают грузоподъемностью 0,5...5 т, длиной 3,6...11,4, высотой подъема груза 3...12 м; электрические грузоподъемностью 1...5 т, длиной 3,6...18 м, высотой подъема груза 6...36 м, при скорости его подъема 0,13 м/с, скорости передвижения тали 0,33 м/с и передвижения крана 0,5 м/с.
Краны мостовые (ручные и электрические) в зависимости от грузоподъемности и пролета изготовляют однобалочные и двухбалочные Подкрановые пути укладывают на консоли колонн или пилястры стен. Краны мостовые ручные изготовляют грузоподъемностью 3,2; 5 и 8 т, пролетом 4,5; 7,5; 10,5; 13,5; 16,5 м (допускается изготовление кранов с увеличенными на 0,5 м пролетами для подъема грузов на высоту до 12 м). Краны электрические выпускают однокрюковые грузоподъемностью 5 и 10 т, пролетом 11...32 м; кроме того, выпускают краны с двумя крюками.
Краны мостовые радиальные (поворачивающиеся вокруг центральной опоры) предназначены для установки их в насосных станциях круглой формы в плане.
Краны мостовые радиальные грузоподъемностью 5 и 8 т с ручным приводом состоят из двутавровой балки, по которой передвигается таль. Балка с одной стороны заканчивается цапфой с радиально-сферическим подшипником, воспринимающим вертикальную нагрузку от груза и крана и передающим ее на центральную опору; с другой несущая балка соединена с торцовой балкой (изогнутой в плане), которая оборудована колесами (приводным и холостым), передвигающимися по круговому рельсу. Торцовая балка с несущей соединена подкосами. На одном подкосе расположен приводной механизм (ручной) передвижения крана. Вращение приводного колеса осуществляется тяговой цепью через звездочку, трансмиссию и'пару шестерен, одна из которых выполнена вместе с ходовым колесом. Кран грузоподъемностью 10 т с электроприводом и талью марки ТЭ-10 имеет аналогичную конструкцию. Радиальные краны изготовляют по индивидуальному заказу, а тали кранов выпускают серийно.
Задвижки подразделяют на параллельные и клицовые, с выдвижным или невыдвижным шпинделем, с ручным или электрическим приводом. В табл. П2.1 приведены характеристики некоторых видов задвижек.
Задвижки параллельные с выдвижным шпинделем и ручным приводом (ЗОч6бр) применяют на трубопроводах для воды и пара t225 °С, ру= 1 МПа; задвижки монтируют на трубопроводе в любом положении, кроме положения «маховиком вниз».
Задвижки параллельные с невыдвижным шпинделем и ручным приводом (30ч15бр без редуктора, 30ч515бр с редуктором) применяют на трубопроводах для воды и пара t100 °С, рь = 1 МПа. Задвижки устанавливают на трубопроводе в любом положении.
Задвижки клиновые с укороченной строительной длиной (с укороченным корпусом) с электроприводом 30ч925бр применяют на трубопроводах для воды t100°С, ру = 1 МПа.
Задвижки устанавливают на горизонтальном трубопроводе электроприводом вверх; допускается установка горизонтально в положениях «иа ребро» и «плашмя».
Затворы дисковые поворотные с ручным и электрическим приводом примеряют на трубопроводах для воды t80°С, ру = 0,25 МПа.
Клапаны обратные поворотные используют для того, чтобы после выключения насоса через него не происходило движение воды в обратном направлении. Обратный клапан устанавливают на напорном водоводе между насосом и запорной арматурой, а также на напорных водоводах около насосных станций для защиты их от затопления при нарушении герметичности коммуникаций в насосной станции.
В настоящее время промышленностью выпускаются клапаны обратные поворотные, так называемые безударные. Монтируют клапан на горизонтальном трубопроводе с горизонтальным расположением оси диска, на вертикальном с подачей воды под диск. Клапаны диаметром 50...600 мм присоединяют к трубе с ответными фланцами, стягиваемыми шпильками. Клапаны диаметром 800...1000 мм фланцевые с противовесом устанавливают только на горизонтальном трубопроводе. Характеристики клапанов Dy=50...1000 мм приведены в табл. П3.2.
Клапаны предохранительные, применяемые на напорных водоводах, включают клапаны пружинные н рычажные (для защиты от повышенного давления), диафрагмы предохранительные, гасители гидравлического удара, клапаны для впуска и защемления воздуха (для предотвращения вакуума и смягчения гидравлического удара), клапаны для впуска и выпуска воздуха.
Клапаны приемные обратные устанавливают на всасывающей трубе насоса для заполнения трубы н насоса водой перед пуском, а также для предохранения насоса от попадания в него крупного сора. Выпускают чугунные обратные приемные клапаны с сеткой для воды t50°С, ру = 0,25 МПа н Dy = 50...400 мм (16ч42р). Недостатки клапанов: большое гидравлическое сопротивление, сложность их очистки прн эксплуатации. Последнее обстоятельство не позволяет применять эти клапаны на водозаборах I и II категорий, а для водозаборов III категории ограничивает их применение диаметром 200 мм.
2.6. Водоприемники
Водоприемник это сооружение, входящее в комплекс водозаборных сооружений и предназначенное для непосредственного приема воды из источника водоснабжения.
Водоприемники классифицируют: по способу приема воды открытые поверхностные, глубинные, донные, фильтрующие, инфильтрационные и комбинированные; по месту расположения береговые и русловые; по конструктивным особенностям ряжевые, свайные, трубчатые, бетонные, железобетонные, бетонные в металлическом кожухе, с вихревыми камерами и т.д.; по расположению водоприемника относительно минимального и максимального уровней воды затопленные, затопляемые и незатопляемые, по расположению водоприемных отверстий и направлению втекания в них воды с горизонтальными, вертикальными или наклонными отверстиями, с лобовым, боковым, низовым, а также с односторонним, двусторонним и круговым втеканием воды.
Русловые затопленные водоприемники (удаленные от берега) характеризуются тем, что их водоприемные отверстия практически недоступны для обслуживания в отдельные периоды года (ледоход, шугоход, шторм и др.) и труднодоступны в остальное время Несмотря на их меньшую надежность, затопленные водоприемники находят широкое применение в практике водоснабжения, а необходимую бесперебойность приема воды обеспечивают за счет применения дополнительных мер.
Водоприемники незатопляемые с водоприемными отверстиями, всегда доступными для обслуживания, в большей степени могут обеспечить бесперебойность водоснабжения, но стоимость их существенно превышает стоимость затопленных. Особенно высокой стоимостью и сложностью строительства характеризуются русловые незатопляемые водоприемники, так как вследствие расположения их в русле реки они должны обладать достаточной прочностью и устойчивостью, чтобы выдержать статическое и динамическое давление льда; этим объясняется достаточно редкое их использование. Гораздо чаще незатопляемые водоприемники применяют в береговых водозаборах раздельной или совмещенной компоновки (см. рис. 2.3, б и рис. 2.5).
Затопляемые водоприемники могут располагаться у берега или в русле реки. Практика эксплуатации таких водоприемников показывает, что по своей надежности они приближаются к незатопляемым, так как лишь в отдельные непродолжительные периоды года (половодье, паводки) их водоприемные отверстия недоступны для обслуживания. Следует также учитывать, что в эти периоды осложнений с забором воды вследствие обмерзания сороудерживающих решеток не бывает. В СНиПе затопляемые водоприемники не рассматриваются, поэтому в табл. 2.4 водозаборные сооружения с такими водоприемниками не упомянуты.
Различно ориентированные отверстия по-разному засоряются водорослями, сором, поверхностной и глубинной шугой, неодинаково непоступление в отверстия донных наносов; по-разному происходит и промыв сороудерживающих решеток в водоприемных отверстиях. Эффективность функционирования водоприемных отверстий зависит от расположения их относительно уровня воды и направления течения воды в водоисточнике, от скорости втекания воды в отверстие.
Горизонтальные отверстия могут располагаться на некоторой высоте над дном с втеканием воды в отверстие сверху вниз или снизу вверх, а при расположении отверстий у дна только сверху вниз. В водоприемниках с горизонтальным расположением отверстий при втекании воды сверху вниз труднее удаляется сор с решеток, возможно образование водоворотов с воронками над отверстием, вследствие чего в водоприемник будет поступать вода с сором из поверхностного слоя. При втекании воды снизу вверх вода поступает в основном из придонного слоя; задержанный на решетках сор легко удаляется при промыве, иногда достаточно для очистки решеток кратковременно приостановить забор воды. Донный прием воды (втекание воды сверху вниз в горизонтальные отверстия, расположенные на одном уровне с дном или с незначительным возвышением над дном) применяют вынужденно при очень малых глубинах воды в водоисточнике.
Водоприемники с отверстиями в вертикальной плоскости различаются по направлению втекания воды относительно направления течения воды в реке: с лобовым, низовым и боковым втеканием (приемом) воды. Лобовой прием воды применяют крайне редко из-за быстрого засорения сором, шугой и трудности промыва таких отверстий. Низовой прием воды с непромываемым порогом нежелателен вследствие отложения донных наносов у водоприемника и последующего их поступления в водоприемник. При низовом приеме воды в отверстия с промываемым порогом обеспечиваются благоприятные условия для транзитного движения по руслу шуги и наносов. Но при заборе сколько-нибудь значительных расходов воды сложнее выполняется условие наименьшего стеснения живого сечения речного потока, поэтому водоприемники с такими отверстиями применяют лишь при заборе относительно небольших расходов воды.
Наиболее часто осуществляют водоприемники с отверстиями в продольных стенках водоприемников, т. е. применяют боковой прием воды. При этом сороудерживающие решетки располагаются параллельно направлению течения воды в реке, а направ- t ление втекания воды в отверстие по нормали к направлению течения воды в водоисточнике.
В этом случае при промыве решеток достаточно добиться отрыва и удаления на незначительное расстояние сора от решетки сор будет подхвачен транзитным течением воды в реке.
При определении размеров водоприемника следует учесть, что водоприемник должен иметь обтекаемую форму и в наименьшей степени стеснять сечение потока реки, чтобы избежать возможного переформирования русла реки у водозаборных сооружений.
Водоприемники русловые затопленные применяют при пологих берегах, т. е. в тех случаях, когда необходимые для расположения водоприемника под уровнем воды глубины находятся на некотором (иногда значительном) расстоянии от уреза воды при минимальном ее уровне. Минимальная глубина воды в реке для размещения водоприемника (рис. 2.12) составит, м:

для летнего периода: Нл = р + h + k + z, (2.1)
где р порог водоприемных отверстий (расстояние от дна реки до низа водоприемных отверстий не менее 0,5 м); с учетом возможного отложения донных наносов у водоприемника и для уменьшения поступления воды из придонных слоев, имеющих большую мутность, обычно назначают р=0,7... 1,5 м; h высота водоприемного отверстия, м; k расстояние от верха водоприемника до водоприемного отверстия; k = 0,2...0,3 м (зависит от конструкции водоприемника); z расстояние от верха водоприемника до уровня воды или до ложбины (подошвы) волны при волнении (не менее 0,3 м) или до нижней поверхности льда (не менее 0,2 м);
для зимнего периода: H3=p+h+k+z+п, (2.2)
где п глубина погружения льда под уровень воды;

толщина льда; л и в плотность льда и воды, равные соответственно 0,9 и 1,0 т/м3.
Заглубление водоприемника под дно реки должно быть не менее глубины возможного размыва дна. При назначении величины заглубления водоприемника следует учитывать, что верх самотечного водовода должен быть заглублен под дно реки не менее чем на 0,5 м или должно быть предусмотрено крепление дна в этом месте.
Конструкция затопленного водоприемника определяется многими факторами, главные из которых расход воды (производительность водозабора), глубина воды (минимальная) в выбранном для расположения водоприемника месте и устойчивость русла; геологические и гидротермические (шуголедовые) условия, наличие в речном потоке сора, хвороста, топляков, карчей и т п.; характеристика водохозяйственного использования реки судоходство, лесосплав и т. д. Конструкцию водоприемника в значительной степени определяет и принятый способ его строительства.
Деревянные ряжевые водоприемники применяют в районах, богатых лесом. Если ряж (сруб) собирают на плаву, отпадает необходимость устройства стапеля для его изготовления и спуска на воду. Зимой упрощаются работы при сборке ряжа на льду непосредственно над местом установки на дно реки на заранее подготовленное в котловане основание. Собранный ряж со встроенными в него уширениями самотечных водоводов опускают в проектное положение путем загрузки клеток ряжа камнем.
На судоходных и лесосплавных реках ряжевые водоприемники часто разрушаются якорями и волокушами. Поэтому на таких реках предпочтение должно быть отдано бетонным водоприемникам в железобетонном или стальном корпусе, используемом как опалубка для подводного бетонирования (рис. 2.12). Корпус изготовляют тонкостенным на берегу на стапеле со встроенными уширениями самотечных водоводов. После спуска его на катках на воду он в плавучем состоянии (с понтонами для увеличения плавучести или без них) транспортируется к месту установки. Затем его опускают на подготовленное основание путем затопления. Понтоны отсоединяют, и они всплывают после продувки их воздухом, а корпус заполняют бетоном методом подводного бетонирования. Патрубки водоприемника присоединяют муфтами к самотечным водоводам.
Засыпку траншей самотечных водоводов и пазух котлована у водоприемника, а также крепление дна, защищающее водоприемник от подмыва речным потоком, выполняют подводными способами.
Водоприемник, показанный на рис. 2.12, двухсекционный, но он может быть и трехсекционным, а для водозаборов с большим числом самотечных водоводов водоприемник делают из двух частей и более, так как иначе он будет больших размеров, сложным для изготовления и опускания. Водоприемник в плане должен быть удобообтекаемой формы, исключающей отрыв струй потока от него, особенно у водоприемных отверстий. В месте отрыва струй образуются вихри и часть водоприемного отверстия выключается из работы.
На рис. 2.13 показан двухсекционный водоприемник с двусторонним втеканием воды, имеющий в плане удобообтекаемую форму, корпус которого выполнен стальным сварным. Самотечные водоводы проходят через водоприемник и заглушены с внешней стороны. Заглушки могут быть сняты для очистки самотечных водоводов. К самотечным водоводам присоединены вертикальные стояки, заглушённые вверху.

Водоприемные отверстия размером 0,81,2 м по четыре в каждой секции расположены с обеих сторон водоприемника и соединены со стояками косыми сужающимися коробами. Втекание воды в отверстия запроектировано под благоприятным углом отвода 135° (аналогично расположение и стержней решетки). Форма коробов за отверстиями обеспечивает плавное движение воды с непрерывным увеличением скоростей течения.
Для водозаборов производительностью более 1...1.5 м3/с применяют водоприемники с вихревыми камерами. Введение вихревой камеры в конструктивную схему водоприемника с несколькими водоприемными отверстиями обеспечивает равномерность втекания воды (и подвода воды к отверстию при его промыве обратным током воды) по всем водоприемным отверстиям.
Водоприемник, изображенный на рис. 2.14, рассчитан на забор 1 м /с воды со скоростями втекания в решетки 0,1 м/с для защиты молоди рыб от попадания в водоприемник и предотвращения закупорки решеток внутриводным льдом. Пять водоприемных отверстий расположены вдоль вихревой камеры, площадь которой увеличивается по направлению течения воды в ней. Втекание воды в камеру тангенциальное через продольную щель,

Рис. 2.14. Затопленный водоприемник с вихревой камерой:
1 водоприемные отверстия, 2 вихревая камера (водосборный коллектор), 3 железобетонный корпус, 4 ответвление на самотечном водоводе на случай его очистки
вследствие чего поток воды в коллекторе, расположенном под водоприемными отверстиями, закручивается, совершая кроме поступательного еще и вращательное движение. Скорость течения в щели должна быть больше скорости течения в камере не менее чем в 1,15 раза. При указанном соотношении скоростей течения поступающие в нее по ее длине расходы воды оказываются практически постоянными. К недостатку водоприемника можно отнести некоторую сложность изготовления из стального листа вихревой камеры пирамидальной формы.

Водоприемник с телескопической формой щелевой вихревой камеры по типовому проекту 901-1-23, рассчитанный на расход воды до 0,75 м3/с (при скорости втекания около 0,1 м/с), показан на рис. 2 15. Водоприемник односекционный; для двухсекционного водозабора вторая секция водоприемника изготовляется зеркально отображенной, а секции в реке располагаются впритык.
Незатопляемый водоприемник (рис. 2.16) для забора 8 м3/с воды из равнинной реки выполнен двухсекционным. С двух сторон водоприемника расположены в два яруса 24 водоприемных отверстия размером 1,61,4 м, оборудованных шиберными затворами. Решетки нижнего яруса с электрообогревом. Двухсекционная самотечная галерея сечением 1,52 м выполнена из железобетона. Размер водоприемника в плане вместе с ледорезом 25,2 м; строительство его осуществлено с применением наплавного кессона.
Затопляемый водоприемник, изображенный на рис. 2.17, затапливается лишь при паводковых и половодных расходах воды в реке, что позволяет большую часть года обслуживать рыбоза-щитные сетки в водоприемных отверстиях. Водоприемник выполнен из железобетона и в готовом виде установлен на подготовленное основание под воду. Водоприемник встроен в шпунтовый ряд из железобетонных свай, ограждающих площадку обслуживания.
Водоприемное отверстие для уменьшения размеров сеток разделено промежуточной стенкой на две части размером 1,21,3 м. Промыв сеток предусмотрен без подъема их из воды обратным током по самотечным водоводам. Возможна замена сеток на решетки для зимнего периода.
Для рыбозащиты можно также использовать фильтры с различной загрузкой (щебень, гравий, керамзит, зерна из пластмасс). Рыбозащитные фильтры, устанавливаемые на период ската рыбной молоди, могут быть навесными, с рамой в пазовых устройствах водоприемника, а также в виде съемных контейнеров с горизонтальным течением воды через фильтры.
Рыбозащитную фильтрующую кассету, имеющую меньшую массу, можно изготовить из деревянных реек различного сечения, расположенных во взаимно перпендикулярных направлениях. Рейки внешнего ряда могут располагаться под углом 120...135° и соединяться в пакет с рейками второго ряда, рейки третьего с половиной реек (через одну) четвертого, оставшиеся рейки четвертого ряда соединяют с рейками пятого. Такая конструкция деревянной пакетно-реечной кассеты позволяет встроить ее в контурную металлическую раму, обеспечить малую засоряемость кассеты и возможность ее промыва обратным током воды на месте ее установки, а также производить легкую ее разборку на пакеты для ремонта или ревизии. Кассета имеет малую толщину, неровную поверхность, исключающую прижатие к ней рыб, не обмерзает в переохлажденном потоке.
Коэффициент фильтрации кассеты, см/с, K=22pa, где р пустотность заполнения кассеты (в долях единицы), а средний условный размер реек, см. Скорости течения воды в пустотах до 0,25 м/с при скорости течения воды на подходе к кассете 0,12 м/с. Такие скорости обеспечивают защиту рыб без прижатия с длиной их тела 25 мм.
На рис. 2.3, б показан береговой незатопляемый водоприемник из железобетона с наземным павильоном из кирпича размером 6Х 6 м. Водоприемные отверстия в каждой из трех секций оборудуются фильтрующими пакетно-реечными рыбозащитными кассетами. Для их обслуживания в павильоне предусмотрен тельфер. Для установки водоочистных сеток были предусмотрены пазовые устройства, хотя по СНиПу можно отказаться от сеток при применении для рыбозащиты фильтрующих устройств или водоприемников фильтрующего типа.

2.7. Самотечные, всасывающие и сифонные водоводы
По самотечным водоводам вода поступает из водоприемника в береговой сеточный колодец или в сеточное отделение насосной станции, совмещенной с береговым колодцем. Называть их самотечными можно лишь условно, так как режим течения воды в них напорный; назвали их так, видимо, в отличие от всасывающих и напорных водоводов в составе водозаборных сооружений.
Всасывающие водоводы соединяют береговой сеточный колодец с насосной станцией, а самотечно-всасывающие водоприемник с насосной станцией.
Сифонные (самотечно-сифонные) водоводы соединяют водоприемник с сеточным отделением насосной станции, совмещенной с береговым колодцем. Строительство самотечных водоводов осуществляется или в открытом котловане, или спуском в траншеи под воду, а на участках примыкания к подземной части береговых колодцев и насосных станций, выполняемых опускным способом, методами бестраншейной прокладки.
Самотечные, всасывающие и сифонные водоводы выполняют, как правило, из стальных труб. СНиП допускает также применение железобетонных и пластмассовых труб.
Самотечные водоводы должны укладываться в плане и в вертикальной плоскости без резких поворотов, вызывающих отложение наносов, сора и шуги и затрудняющих промыв и очистку водоводов. Прокладка водоводов с уклоном или без него практически не влияет на характер движения в водоводе наносов (при промыве или при заборе воды). Поэтому высотное положение водоводов определяется необходимостью их заглубления в пределах русла под дно для защиты от подмыва речным потоком и повреждения якорями судов и плотов на судоходных реках в пределах фарватера не менее чем на 1 м (с учетом возможного размыва и дноуглубления), а на несудоходных на 0,5 м до верха труба (или обсыпкой грунтом с соответствующим укреплением его от размыва), а также целесообразностью уменьшения объемов земляных работ. Достаточно часто самотечные водоводы прокладывают с некоторым подъемом в сторону береговых сооружений водозабора.
Высотное положение самотечных водоводов назначают с таким расчетом, чтобы водовод располагался не менее чем на 0,5 м ниже пьезометрической линии. Высотное положение всасывающих водоводов определяется допускаемой высотой всасывания насосов. Выполняют их из стальных труб со сварными соединениями и прокладывают с подъемом в сторону насосной станции (уклон не менее 0,001). Всасывающие водоводы желательно делать возможно более короткими и обособленными для каждого насоса, как это изображено на рис. 2.3, а. Для сбора и откачки воздуха из сифонного водовода его прокладывают с постоянным подъемом. в сторону насосной станции (уклон не менее 0,001). Высотное положение сифонных водоводов назначают исходя из обеспечения их работы при минимальном расчетном уровне воды в водоисточнике и максимальном расходе в водоводе. Для этого необходимо выполнение условия

где вак вакуумметрическое давление в наивысшем месте водовода; ат атмосферное давление воздуха, зависящее от высоты расположения местности над уровнем моря;

нп давление насыщенных паров воды при расчетной ее температуре приведено ниже:

Приведенную высоту вакуумметрического давления в некотором сечении водовода находят по формуле

где H высота расположения водовода в этом сечеиии над минимальным уровнем воды в реке;
сумма потерь напора в водоводе от начального до расчетного сечения; v скорость течения воды в расчетном сечении, м/с.
При проектировании сифонных водоводов следует также учитывать характеристику вакуум-насосов, предназначенных для откачки воздуха при зарядке и эксплуатации водоводов. Вакуум-насосы типа ВВН создают вакуум до 85...95 % атмосферного давления (в зависимости от марки насоса и его подачи) Глубину заложения труб, считая до низа, берут на 0,5 м больше расчетной глубины проникновения в грунт нулевой температуры. Самотечные и сифонные водоводы из стальных труб устраивают с оклеенной противокоррозионной изоляцией с защитой ее деревянными рейками; весьма желательно покрытие внутренней поверхности труб цементным или иным покрытием (в зависимости от коррозионных свойств воды).
Траншея, в которой уложены самотечные водоводы, сверху должна быть укреплена наброской камня, укладываемого по стальной сетке с щебеночной или гравийной подготовкой, или же железобетонными плитами, связанными в тюфяк по щебеночному обратному фильтру. Самотечные водоводы к патрубкам водоприемника присоединяют под водой монтажными свертными муфтами, состоящими из двух частей. Нижняя часть крепится к патрубку сваркой или временным креплением, а верхняя к нижней болтами после опускания самотечного водовода на выступающий конец нижней части с прокладкой резины.
Самотечные водоводы в береговые колодцы следует вводить через сальники. Самотечные, сифонные и всасывающие водоводы оборудуют задвижками или дисковыми затворами для отключения берегового сеточного колодца или насоса от реки при высоких уровнях воды в ней.
Промыв самотечных и сифонных водоводов от наносов предусматривают независимо от того, что их диаметр рассчитывают с учетом незаиляющей скорости течения воды Промыв водоводов от наносов осуществляют прямым и обратным током воды. При промыве самотечного водовода прямым током воды отключают один водовод (в двухсекционном водозаборе) и по второму пропускают весь требуемый расход воды QB Осадок из водовода при этом поступает с водой в береговой колодец. Такой же режим желателен в паводок при высокой мутности воды в реке.
Возможно применение гидропневматического промыва, осуществляемого подачей сжатого воздуха в поток воды и эффективного при наличии заиления и коррозионных отложений. Для гидропневматического промыва возможно использование передвижного компрессора, шланг от которого присоединяют к патрубку в верхней части вакуум-стояка для импульсного промыва (см. рис. 2.9).
В отдельных случаях можно очищать водоводы протаскиванием через них совков и рыхлителей.
2.8. Береговые сеточные колодцы
Береговые колодцы предназначены для размещения в них водоочистных сеток. Так как сетки располагают ниже минимального уровня воды, то сеточное здание оказывается заглубленным. Строительство его при нескальных грунтах в большинстве случаев осуществляют методом опускного колодца. В связи с этим и само сеточное здание именуют колодцем береговым сеточным колодцем.
Береговые колодцы следует располагать на незатопляемых отметках берега. Для того чтобы сократить протяженность самотечных водоводов на участке с наибольшей глубиной их заложения, береговой колодец можно расположить на пологом берегу в месте, заливаемом в половодье на 1,5...3 м, предусмотрев обсыпку его грунтом до отметки, превышающей высоту наката волны при расчетном максимальном уровне воды не менее чем на 0,5 м.
Водоочистные сетки предохраняют насосы от крупного сора, что значительно повышает надежность подачи воды насосами. Поэтому применение берегового колодца, оборудованного водоочистными сетками, в составе водозаборных сооружений I и II категорий обязательно. Для береговых колодцев наиболее часто применяют водоочистные сетки плоские съемные. Недопустима замена съемных сеток приемными сетками или приемными клапанами на концах всасывающих водоводов, так как из-за сложности их очистки возможны перерывы в подаче воды потребителю.
Для очистки съемных сеток от сора должны быть предусмотрены промывные устройства с подводом воды от напорных водоводов насосной станции, а для подъема сеток подъемно-транспортные механизмы Промыв сеток может производиться струей воды из брандспойта над специальной ванной с экраном. Кроме того, следует предусмотреть устройства для отвода промывной воды и сора из колодца в реку или местную систему водоотведения. Процессы взмучивания и удаления осадка из приямков (в днище колодца) необходимо механизировать.
Размеры берегового колодца зависят от целесообразного размещения перечисленного выше технологического оборудования; кроме того, следует разместить в колодце указатели уровней воды (в реке, перед сетками и после сеток), а также лестницы для спуска, в колодец. Лестницы-стремянки (с ограждением D=0,7 м) располагают перед водоочистными сетками и после них во всех секциях сеточных колодцев.
Представленный на рис. 2.18 двухсекционный железобетонный круглый в плане береговой сеточный колодец имеет наземный павильон прямоугольной в плане формы.
Объем воды в каждой секции при минимальном расчетном ее уровне в колодце должен быть определен из условий запуска насоса и совместной работы самотечных и всасывающих водоводов и берегового колодца и не должен быть менее 30...35-кратного секундного расхода воды забираемого насосом из секции.
Минимальный уровень воды в береговом колодце определяют гидравлическим расчетом: при минимальном уровне воды в водо источнике; выключении одной из секций водоприемника; других возможных неблагоприятных условиях (засорение решеток, обрастание водоводов и др.).
Отметку днища берегового колодца определяют из условия расположения под минимальным расчетным уровнем воды в колодце водоочистных сеток необходимой площади. Вместе с этим высота слоя воды в береговом колодце должна быть достаточной Для расположения под минимальным расчетным уровнем воды приемных воронок всасывающих водоводов. Вертикальные всасывающие водоводы диаметром d с приемными воронками диаметром D=(1,3...2)d и длиной l=(1,3...1,8)(D d) должны иметь заглубление входного отверстия не менее (1,5.. 2)D с расстоянием от отверстия до дна 0,8D (рис 2.19, а, б, в).

Верх водоочистных сеток целесообразно располагать в колодце значительно выше минимального уровня воды, например на уровне высокой межени, для того чтобы большую часть года процеживание воды через сетку происходило с меньшими

Рис 2 19 Заглубление всасывающих водоводов
скоростями течения воды в ячейках сетки. Такое решение позволяет обеспечить не только более высокое качество очистки воды на сетках, но и увеличить надежность действия сеток в случае поступления шуги через водоприемник и водоводы в береговой колодец
2.9. Водозаборные сооружения совмещенного типа
Насосные станции I подъема, входящие в состав водозаборов раздельного типа, рассматриваются в гл 14.
Для водозаборов совмещенного типа предпочтительнее применение артезианских насосов и насосов с вертикальным валом. Ho ввиду ограниченности типоразмеров первых и большой подачи вторых значительно чаще применяют насосы с горизонтальным валом.
Водозаборные сооружения совмещенного типа применяют с плоскими или, что чаще, с вращающимися водоочистными сетками.
Компоновка сооружений определяется типом вращающихся сеток и количеством насосных агрегатов. При числе насосов 3…5 часто принимают круглую в плане форму сооружения в расчете на строительство методом опускного колодца (реже кессона). Много водозаборов, оборудованных вращающимися сетками с лобовым подводом воды, построено по схеме, когда насосное помещение подковообразной формы расположено вокруг сеточного отделения (рис. 2.20). В типовом проекте


901-1-11 водозаборное сооружение запроектировано на производительность 5 м3/с с трехсекционным водоприемно-сеточным отделением (рис. 2.21): Береговые водозаборные сооружения с аналогичной компоновкой водоприемно-сеточных отделений обеспечивают бесперебойный забор воды даже при интенсивном

шугоходе на р. Иртыш при непрерывном промыве вращающихся сеток, часть звеньев которых были ковшеобразными.
Иная компоновка сеточного отделения в водозаборе производительностью 1...6 м3/с по типовому проекту 901-1-22 с вращающимися сетками с лобово-внешним подводом воды (рис. 2.22). Насосное отделение с четырьмя насосами, из которых два или три являются рабочими. Насосное помещение оборудуют мостовым радиальным краном. Для обслуживания сеток предусмотрен подвесной кран, а для опускания оборудования через монтажный проем - тельфер. Наземная часть прямоугольной формы одно- или двухэтажная в зависимости от
глубины подземной части и возможности расположения в ней электрораспределительных устройств. Предусмотрены помещения тля дежурного персонала, ремонтной бригады, санузла; из подъемной части имеются два выхода, а при заглублении более 15 м дополнительно лифт.
Предусмотрены насосы для откачки из насосного помещения профильтровавшейся воды (работа их должна быть автоматизирована), для откачки воды из сеточных отделений (для прове-тения в них ремонтных работ) и для откачки из них осадка.
При небольшом заглублении насосной станции стояки напорных водоводов внутри станции прокладывают открыто. Аналогичное решение водозабора разработано в типовом проекте 901-1-33/85 для строительства способом «стена в грунте».
Водозаборные сооружения большой производительности часто проектируют прямоугольной в плане формы, принимая число секций водоприемно-сеточного отделения равным количеству насосов.
2.10. Гидравлические расчеты водозаборных сооружений
Гидравлические расчеты водозаборных сооружений выполняют применительно к нормальным и аварийным условиям 'эксплуатации. При нормальных условиях одновременно действуют все секции водозабора (кроме резервных). В аварийном режиме одна из секций отключена и весь расчетный расход воды или значительная его часть протекает через остальные секции. Гидравлические расчеты по определению размеров водоприемных отверстий, диаметров трубопроводов и других элементов водозаборов выполняют для нормальных условий, а расчеты потерь напора, уровней воды в сеточном колодце или сеточном отделении совмещенной насосной станции и допускаемой наивысшей отметки оси насосов применительно к аварийным условиям.
• Расчетный расход воды, м3/с, в одной секции водозабора тля нормальных условий эксплуатации Qp и для аварийных условий Q'P определяют по формулам

где п число секций водозабора; р допускаемое уменьшение подачи воды в аварийном режиме, принимаемое согласно табл. 2.1.
Площадь водоприемных отверстий (брутто) одной секции водозабора (оборудованной решетками) определяют по формуле

где Vbt средняя скорость втекания воды в водоприемные отверстия, м/с; ст коэффициент стеснения площади водоприемного отверстия стержнями решетки; 3 коэффициент засорения решетки.
В СНиП 2.04.0284 формула (2.7) приведена к виду бр=1,25QрКст/вт, при этом 1,25=1/3 и КСт = 1 /ст. В формуле (2.7) использованы общеупотребительные в гидравлике понятия коэффициентов стеснения и засорения, имеющие геометрический смысл; например, коэффициент ст показывает в долях единицы площадь отверстия, которая остается свободной для протекания воды после стеснения отверстия стержнями решетки.
Допустимую скорость втекания воды Vвт в водоприемные отверстия без учета требований рыбозащиты для средних и тяжелых условий забора принимают равной: для русловых затопленных водоприемников 0,1...0,3 м/с; для береговых 0,2...0,6 м/с (меньшие значения принимают для тяжелых шуго-ледовых условий); с учетом требований рыбозащиты скорость втекания воды принимают не более 0,25 м/с для рек со скоростями течения не менее 0,4 м/с и не более 0,1 м/с для рек со скоростями течения менее 0,4 м/с. Для очень тяжелых шуголедовых условий скорость втекания воды не более 0,06 м/с.
Коэффициент стеснения отверстия стержнями решетки определяют по формуле

где а = 40...100 мм расстояние между стержнями решетки в свету; d = 6...10 мм толщина стержня.
Среднее значение коэффициента засорения решетки сором или скоплениями шугольда 3 = 0,8; для труднодоступных отверстий и засоренных водоисточников 0,7...0,75; для легкодоступных отверстий или водоисточников с небольшим содержанием сора, 3= 0,85...0,9.
Назначая число и размеры решеток, следует учитывать глубину воды в месте расположения водоприемника и его конструкцию. Целесообразно высоту решетки принимать больше ее ширины (во избежание возможного перекоса решетки в пазах и ее заклинивания), а массу решетки увязать с характеристикой намеченного к использованию грузоподъемного оборудования.
При принятых размерах водоприемного отверстия hub число отверстий (количество решеток) составит п=Fp/(bh). После подбора решеток определяют фактическую скорость втекания воды в отверстие Vвт=QP/(nbhcl3). Потери напора в сороудерживающих решетках принимают по практическим данным: hp =0,03...0,06 м.
При оборудовании отверстий рыбозащитными сетками коэффициент стеснения проволокой сетки определяют по формуле

где а - расстояние между проволоками в свету, d диаметр проволоки.
При расчете площади рыбозащитной фильтрующей кассеты (в том числе и пакетно-реечной) по формуле (2.7) принимают скорость втекания воды в пустоты фильтра Vвт = 0,25 м/с.
Коэффициент ст принимают равным пустотности фильтрующего заполнения кассеты р = 0,4...0,5. Коэффициент 3 можно увеличить до 0,9.
Потери напора в водоприемнике состоят из потерь напора по пути течения воды и местных потерь. Пренебречь этими потерями можно лишь в отдельных случаях.
Площадь водоочистных сеток, располагаемых под минимальным расчетным уровнем воды в береговом колодце или в водоприемно-сеточном отделении водозаборного сооружения совмещенного типа, определяют по следующим формулам:

где Vc допускаемые скорости течения воды в ячейках сеток, которые принимают равными 0,2...0,4 м/с для плоских и 0,6... 1,2 м/с для вращающихся сеток; cn коэффициент стеснения отверстия проволокой сетки, определяемый по формуле (2.9); 0,75 коэффициент уменьшения площади сетки опорными рамками, межрамочными уплотнениями и шарнирами, определяемый по конструктивным особенностям сетки;
3 коэффициент засорения сетки, принимаемый равным 0,7 для плоских съемных сеток и 0,85 для вращающихся.
В приложении 1.2 указаны размеры и масса плоских сеток; характеристики вращающихся сеток приведены в Приложении 1.3. Следует также определить фактическую скорость течения воды в сетке по принятой площади сеток F'cVc=QP/(F'ccn3). Целесообразно принять плоскую сетку большей площади, чем это определено по (2.10). Под минимальным расчетным уровнем воды при этом располагают часть сетки (высотой Fc/B), площадь которой Fc определена расчетом (рис. 2.23, а). Тогда при всех уровнях воды, больших минимального, процеживание воды будет происходить через большую площадь сетки и с меньшей скоростью ее течения. Вследствие этого повышается взвесеизвлекающая способность сеток и обеспечивается лучшая очистка воды. На рис. 2.23, б изображено другое решение, когда процеживание воды происходит через две сетки, расположенные на разных уровнях. За разделительной перегородкой показаны направляющие швеллеры, в которых устанавливают запасные сетки перед подъемом засоренных на промывку. Возможна установка плоских сеток в два ряда по ширине секции сеточного колодца, как это показано на рис. 2.18. Потери напора в сетках (по эксплуатационным данным) составляют 0,01...0,1 м в зависимости от скорости течения воды, плотности плетения сетки и степени ее засорения; при значительной засоренности водоисточника потери напора во вращающихся сетках достигают 0,2...0,3 м Такие потери считают предельно допустимыми, так как возможен прорыв сеточного полотна. Потери напора в плоских сетках Лс принимают 0,1...0,15 м.

Рис 2 23 Схема к определению отметки днища берегового колодца:
1 - приямок для сбора осадка, 2 - самотечный водовод, 3 - вакуум стояк для
импульсного промыва, 4 сетка, 5 поперечная перегородка, 6 направляющие для сеток, 7 всасывающий водовод
Глубину погружения сеточного полотна под расчетный уровень воды (рис. 2.24) до центра закругления нижнего направляющего устройства для вращающихся сеток с лобовым подводом воды определяют по формуле
Hc = Fc/B, (2.12)
для сеток с лобово-внешним, внешним и внутренним подводом по формуле
Hc = 0,5(Fc/B-nR), (2.13)
где В ширина сеточного полотна (промышленность выпускает вращающиеся сетки шириной В=1,5; 2; 2,5 и 3 м); R радиус нижнего закругления направляющих; R0,75 или 1 м.
• Уровень воды перед сеткой и после нее (рис. 2.23) определяют по формулам

где УBmin минимальный расчетный уровень воды в реке;
сумма потерь напора при течении воды от решетки до сетки; соответственно потери напора в решетке, водоприемнике, самотечном водоводе, в местных сопротивлениях водовода, в сетке (hс) при расходе воды Q'p (аварийный режим).

• Отметку днища берегового колодца определяют по формулам

где Нс высота сетки (по расчету) ниже минимального расчетного уровня воды (см. рис. 2.23); hп = 0,5...0,7 глубина приямка для сбора осадка, м; h1 допускаемое заглубление отверстия всасывающего водовода диаметром d, h1 = (1,5...2) D, диаметр отверстия воронки D= (1,3...2)d; h2 расстояние от низа воронки до дна, h20,8 D; hз высота слоя бетона для образования приямка и откосов для сползания осадка к приямку; hз зависит от глубины приямка и принятого уклона откосов; ориентировочно hз=hn + (0,15...0,25).
Из двух полученных расчетом отметок днища принимают меньшую.
Если сеточное отделение насосной станции оборудуют вращающейся водоочистной сеткой (рис. 2.24), отметку днища определяют по формулам

где h4 расстояние от низа сетки до днища сооружения, зависящее от типа и конструкции сетки, ориентировочно h4=0,4...0,8 м; h0 вертикальный размер отверстия всасывающей трубы к насосам. Из двух рассчитанных отметок днища сооружения принимают меньшую
Отметка оси насоса (при его расположении «под заливом»)
ОН = В h е,
где В отметка уровня воды в сеточном (или водоприемно-сеточном) отделении при нормальных условиях эксплуатации (при расходе воды Qp в одной секции водозабора); h = 0,2..0,3 высота слоя воды над верхом корпуса насоса, м; е расстояние от оси насоса до его верхней части, определяемое по справочным данным.
Высоту слоя бетона hб над железобетонным днищем (рис. 2.24) определяют по формуле hб=ОНДн h hфн hф, где h расстояние от оси насоса до лапок (по справочным данным); hфп= 0,2...0,25 м высота фундаментной плиты (по справочным данным) или высота сварной рамы; hф = 0,15...0,2 м высота фундамента.
Высота слоя бетона должна быть достаточной для устройства приямка (глубиной не менее 0,7 м) для сбора профильтровавшейся воды.
Расчет водоводов (самотечных, сифонных, всасывающих и напорных) выполняют применительно к нормальным и аварийным условиям. Скорости течения воды в водоводах при нормальных условиях рекомендуется принимать по табл. 2.5.

Скорость течения воды в напорных коммуникациях внутри насосной станции принимают до 1.5...3 м/с.
Принятый диаметр самотечных водоводов D, м, должен быть проверен на незаиляемость транспортируемыми по водоводу мелкими наносами в количестве , кг/м , имеющими средневзвешенную гидравлическую крупность , м/с, по формуле (2.20) и на подвижность попадающих в водовод влекомых наносов крупностью d, м, по формуле (2 21):

где v - средняя скорость течения воды в водоводе, м/с;
динамическая скорость; С коэффициент в формуле Шези; А = 7,5...10 параметр.
Полностью исключить осаждение взвеси в самотечных водоводах, диаметр которых был подобран с учетом незаиляющих скоростей течения воды, как правило, не удается. Для удаления осадка из самотечных водоводов предусматривают их промыв.
Аналогичное решение приходится принимать и тогда, когда незаиляющая скорость оказывается значительно больше скорости, рекомендуемой в табл. 2 5. В этом случае в двухсекционном водозаборе большую часть года в эксплуатации находятся оба самотечных водовода, а в период половодья или паводка один. Скорость течения воды в нем при этом увеличивается вдвое; тем самым удается обеспечить транспорт наносов по водоводам в береговые сооружения водозабора, откуда их удаляют специальным насосом или гидроэлеватором.
Промывную скорость течения воды можно определить по формуле (2.21), приняв А=10 (А=5 для скорости начала общего движения наносов и А=15 для скорости начала взвешивания наносов со дна).
Потери напора в водоводах (по длине) определяют по следующим формулам:
h = il; h = lOOOiL, h = sQ2 = SolQ2,
где i пьезометрический уклон, определяемый по Приложению 4; l и L длина водовода (м и км соответственно); s0 удельное сопротивление; s сопротивление; Qрасход воды. Потери напора на местные сопротивления

где коэффициент местного сопротивления, принимаемый по Приложению 3 и по справочным данным, v скорость течения воды за местным сопротивлением, м/с; g=9,8l м/с2.
Диаметр труб коммуникаций для промыва самотечных водоводов и решеток водоприемника обратным током воды определяют расчетом. Например, при промыве одного (из двух) самотечных водоводов по второму водоводу надо будет пропустить расход Q„, который двумя насосами (рабочим и резервным)
будет подаваться в напорный коллектор. Из напорного коллектора расход 0,5Q„ будет подан на промыв, а оставшийся 0,5QB будет подан потребителю. Желательна подача на промыв большего (чем 0,5QB) расхода воды, но снижение подачи воды потребителю регламентируется (см. табл. 2.1) и подача на промыв увеличенных расходов воды за счет одновременного снижения подачи потребителю может быть допущена в исключительных случаях и лишь кратковременно, например на промыв сороудерживающих решеток. Поэтому желательно по второму водоводу забрать из источника расход воды 1,5QB (тремя насосами, предусмотрев для этого необходимые переключения); из этого расхода 0,7Q„ подать потребителю, a 0,8Q„ на промыв.
Таким образом, насос, забирая воду из реки при некотором ее уровне, под этот же уровень будет подавать промывной расход, т. е. практически весь напор насоса должен быть равен сумме всех гидравлических сопротивлений по пути движения воды при промыве.
• Наивысшая допустимая отметка оси насоса может быть определена по формуле

где УВmin отметка минимального расчетного уровня воды в реке; Hдопвак допускаемая вакуумметрическая высота всасывания насоса; hп сумма потерь напора прн движении воды в сооружениях от водоприемных отверстий до насоса при аварийных условиях эксплуатации; v2/(2g) скоростной напор во всасывающем патрубке насоса.
По этой формуле выполняют расчеты при расположении насосов выше минимальных уровней воды в водоисточнике, например для водозаборных сооружений, изображенных на рис. 2.3, а.
Расчет импульсного промыва сороудерживающих решеток затопленных водоприемников состоит в определении максимальной скорости течения воды в самотечном водоводе при промыве. По этой скорости можно косвенно судить об эффективности его применения (например, в сопоставлении с возможно достижимой скоростью течения прн промыве обратным током воды). Максимальную скорость течения воды в самотечном водоводе »т«х, м/с, при некоторых принятых значениях z1, L, D и d (см. рис. 2.9) определяют по формуле

где z1 и z2 полуамплитуды колебания уровня жидкости в вакуум-стояке, м; Т1 продолжительность первого полупериода колебания уровня жидкости в вакуум-стояке (см. рис. 2.9):

где F и площади соответственно живого сечения вакуум-стояка и самотечного водовода.
Математическая зависимость z2 от z1 и гидравлических характеристик системы описывается уравнением

где характеристика основного гидравлического сопротивления:

При этом гр находят по формуле

где коэффициент гидравлического трения; L и Dс длина и диаметр самотечного водовода, м; сумма коэффициентов местных сопротивлений при движении воды от водоисточника до вакуум-стояка включительно.

Дополнительное сопротивление в отверстии для впуска воздуха в вакуум-стояк выражается через основное гидравлическое сопротивление hдоп=·hосн. Тогда полное сопротивление составит

где т= 1 + величина, входящая в уравнение (2.25).
Характеристику дополнительного сопротивления находят по формуле

где Dud диаметр соответственно вакуум-стояка и клапана для впуска воздуха:
Уравнение (2.25) прямого решения не имеет. На рис. 2.25 приведены графики зависимости Z2/ = f(zi/;).
Пример расчета импульсного промыва решеток затопленного водоприемника. Исходные данные, производительность двухсекционного водозабора Qв=0,7 м3/с, длина и диаметр самотечных водоводов L = 60 м, Dс=600 мм (см рис 2.9) Диаметр вакуум-стояка D = 600 мм, клапана для впуска воздуха d = 100 мм, начальная высота подъема уровня воды в вакуум-стояке Z1 = 8 м
Расчет продолжительность первого полупериода колебания жидкости найдем по (224),
(F/=1 при F=)
По (2 27) найдем = L/D + + 1 = 0,024 • 60/0,6 + 2,46 + 1 = 5,86.
Для определения следует найти коэффициенты местных сопротивлений в решетке, в сужении и повороте потока воды в водоприемнике и в тройнике на повороте в береговом колодце Коэффициент для решетки найдем по формуле Киршмера. =KзКф(d/а)43Kasin= 1,5 • 2,34(0,01/0,06)"3 • 1 • 1=0,32, где Кз = 1,5 2,0 коэффициент, учитывающий засорение решетки, Кф - коэффициент формы поперечного сечения стержней, для прямоугольных стержней Кф=2,34, d толщина стержня, а просвет между стержнями, Кд коэффициент, учитывающий стеснение отверстия дополнительными стержнями, К1 = (h + A)/h (h высота водоприемного отверстия, А суммарная высота поперечных стержней), при одном поперечном стержне К1 1, угол наклона решетки к горизонту, sin 90° = 1,0
Коэффициент для решетки может быть определен по формуле = h2g/v2= 0,05-19,62/1,642=0,36, где h = 0,05 м потери напора в решетке (по эксплуатационным данным), V = 1,64 м/с скорость течения воды в самотечном водоводе (при расходе воды в нем Q'v = 0,49 м3/с)
Для сужения и поворота потока в водоприемнике =0,6 (ориентировочно) Для тройника на повороте =1,5. Тогда = 0,36 + 0,6+ 1,5= 2,46.
Характеристику основного гидравлического сопротивления найдем по (2 26). =(L/)(/F) = 60/5,86 • 1 = 10,2 и z,/ = 8/10,2 = 0,78
Дополнительное сопротивление в отверстии для впуска воздуха найдем по (2 28) =0,0004 (D/d)4 = 0,0004 (0,6/0,1 )4 = 0,52.
По графику на рис 2 25 найдем z2/ = 0,43 и z2 = 0,43·10,2 = 4,39 м
Максимальную скорость течения воды в самотечном водоводе при импульсном промыве найдем по (2 23). Vmax = 0,5[(z1 + z2)/T1](F/) = 0,5-3,14[(8 + 4,39)/ 9,3-1 = 2,1 м/с
Вывод по результатам расчета, при umax = 2,1 м/с расход воды в промываемой секции водоприемника составит почти 0,6 mj/c. Такой расход воды ие всегда можно будет обеспечить практически при промыве обратным током воды (заметим, что 0,8QB=0,56 м3/с) Поэтому можно с уверенностью утверждать, что в рассматриваемом случае импульсный промыв окажется весьма эффективным способом промыва сороудерживающих решеток водоприемника
• Неразмывающую скорость течения воды, м/с, при проверке иеразмываемости дна и определении крупности камня для крепления определяют по формуле
vi = 4(d0H)°-25, (2.29)
где do средневзвешенный диаметр отложений дна русла или каменного крепления, м; Н глубина потока, м.
• Высоту наката волны, м, по откосу над уровнем спокойной воды определяют по формуле

где Кш коэффициент шероховатости, зависящий от типа покрытия откоса, равный 0,9 для бетонного покрытия и 0,5 для наброски из массивов; т коэффициент откоса, равный отношению заложения к высоте; для откосов земляного полотна с креплением бетонными плитами, мощением или наброской камня m = 2,25...3 и более; hв; в высота и длина волны соответственно (пологость волны hв; в может быть принята равной 1 :8...1 : 10).
2.11. Берегоукрепление
Берегоукрепление в составе водозаборных сооружений предназначено для защиты береговых сооружений от подмыва течением и волнением воды, для закрепления и сохранения благоприятной формы и положения русла рек, обеспечивающих транзитное движение донных наносов, шуголедовых масс и сора, а также необходимую глубину воды в месте расположения водоприемника.
При размещении водозаборных сооружений на вогнутом берегу, сложенном из легко размываемых грунтов, крепление должно быть осуществлено на всем участке вогнутого берега выше водозаборных сооружений до места, где берег из вогнутого переходит в выпуклый, а вниз по течению на участке, обеспечивающем защиту от существенных переформирований берега в пределах расположения водозаборных сооружений протяженностью 50... 100 м (не менее).
Крепление устойчивого берега осуществляют нередко на участке 50...100 м вверх и вниз от оси береговых сооружений, но с учетом места расположения сооружений на речной излучине. Прн этом предусматривают проведение наблюдений за состоянием берегоукрепления и размываемостью берега, в случае необходимости берегоукрепление восстанавливают или расширяют. Возможно возведение берегоукрепления в несколько очередей уже при эксплуатации по мере возникновения необходимости в нем. Разрушение берегоукрепления обычно начинается с верховой по течению реки стороны, в этом месте его следует врезать в берег достаточно глубокой шпорой. Часто устраивают шпору и с низовой стороны. Берегоукреплению придают плавные очертания в плане без выступов и резких переломов, особенно в месте сопряжения с неукрепленным участком берега.
Берегоукрепление бывает: подводное ниже уровня воды в период строительства; надводное выше уровня, осуществляемое насухо; за пределами воздействия водных масс водоисточника. Кроме того, различают основное крепление, подверженное воздействию ударов волн, льдин и ледового покрова при его деформации, и облегченное крепление, расположенное ниже основного и работающее в более легких условиях. Нижняя граница основного крепления должна быть ниже нижней кромки припая ледового покрова к покрытию и должна приниматься на глубине, равной двойной высоте волн 1%-ной обеспеченности при минимальном уровне воды в водоеме.
Крепление состоит из фильтровой подготовки, покрытия и упоров.
Фильтровая подготовка предназначена для защиты основания от выноса (суффозии) из него мелких частиц и устраивается из одного слоя разнозернистого песчано-гравийного грунта толщиной 30 см или по типу обратного фильтра из 2..3 слоев различных по крупности материалов.
Покрытия из каменной наброски выполняют из рваного камня плотных изверженных, осадочных и метаморфических морозоустойчивых пород Размер камня наброски определяют в зависимости от глубины и скорости течения потока, высоты и длины волн.
Покрытие из железобетонных плит рассчитывают на прочность и устойчивость и осуществляют с омоноличиванием уложенных на откосе сборных железобетонных плит в укрупненные карты (размером до 80 м вдоль уреза воды и до 20 м по откосу)
Плиты размером до 88 м следует укладывать по сплошной фильтровой подготовке, а больших размеров на ленточных фильтрах шириной 0,6...1,0 м (по низу) под швами. Отдельные плиты в картах до омоноличивания соединяют между собой сваркой их арматуры. Деформационные швы между картами (с шарнирным соединением арматуры плит) заполняют асфальтобетоном. Допускается крепление из неомоноличенных плит с открытыми швами на сплошной фильтровой подготовке.
Упоры в основании покрытия выполняют из армобетонных массивов (сборных или монолитных). Размеры их назначают в зависимости от заложения и высоты откоса и коэффициента трения покрытия по грунту откоса с учетом взвешивания при волновом воздействии.
Откосы за пределами воздействия водных масс устраивают по типу облегченного крепления из слоя гравия или щебня толщиной 0,2 м или путем укладки дерна, травяных ковров, посевом трав по слою (0,3 м) растительной земли.
При берегоукреплении выше уровня воды в период строительства используют обычные способы строительства Крепление дна и берега под водой осуществляют либо отсыпкой камня с плавсредств, либо с помощью водолазов бетонирование железобетонных плит или их укладка, выравнивание верхнего слоя каменной наброски и т. п. Тип подводного крепления и способ, производства работ выбирают с таким расчетом, чтобы свести к минимуму объем водолазных работ.
Глава 3
МАГИСТРАЛЬНЫЕ ВОДОПРОВОДНЫЕ СЕТИ И ВОДОВОДЫ
3.1. Трассировка водоводов и магистральных водопроводных сетей
Трассировка водоводов и магистральных водопроводных сетей является одним из важнейших и сложных этапов проектирования систем водоснабжения. Именно от того, каким образом выполнена трассировка, зависят надежность и экономичность работы всей системы водоснабжения.
Структура линейной части системы водоснабжения населенного пункта должна быть такой, чтобы отключение (аварийное или плановое) ремонтного участка сети или водоводов не приводило к снижению подачи воды объекту более чем на 30%, а для систем промышленного водоснабжения по аварийному графику. Достигается это путем устройства двух (иногда более) водоводов с перемычками (или без них) и кольцеванием магистральной водопроводной сети.
Прокладка водоводов в одну нитку допускается при условии устройства аварийного запаса воды, обеспечивающего в течение времени ликвидации аварии на водоводах (табл. 3.1) расход воды на хозяйственно-питьевые нужды в размере 70 % расчетного среднечасового водопотребления, на противопожарные нужды в полном объеме и на производственные по аварийному графику.
Тупиковые линии водопроводов допускается применять для подачи воды на хозяйственно-питьевые нужды при диаметре труб менее 100 мм, иа хозяйственно-противопожарные нужды при длине линий до 200 м, на производственные нужды при допустимости перерыва в водоснабжении на время ликвидации аварии.
При трассировке водоводов необходимо стремиться к их минимальной длине с учетом естественных и искусственных препятствий, обеспечения возможности подъезда и применения техники при строительстве и эксплуатации водоводов, к минимальному отчуждению земли и с учетом границ землепользования и севооборотов Подключение водоводов (двух и более) к магистральной водопроводной сети должно производиться к различным ремонтным участкам.

При трассировке магистральной водопроводной сети необходимо придерживаться следующих принципов:
- сеть должна достаточно равномерно располагаться на территории населенного пункта с учетом возможности экономичного (кратчайшего) и надежного (не менее чем от двух ремонтных участков) подключения к ней крупных потребителей воды (предприятий), а также присоединения напорно-регулирующих и запасных емкостей;
- участки сети прокладывают по улицам с обеспечением двустороннего подключения к ним линий распределительной сети ' Протяженность чисто транзитных участков магистралей (участков, проходящих через незастроенную и не подлежащую застройке территорию, а значит, и без попутных отборов воды) и участков с односторонним отбором (застройка только с одной стороны) должна быть минимальна;
- магистральные линии сети намечают вдоль основного направления движения воды по территории населенного пункта. Оптимальный уровень надежности сети (достаточно высокий уровень надежности при относительно небольших затратах) обеспечивается путем устройства двух и более магистралей с перемычками между ними, образующими замкнутые контуры (кольца), вытянутые вдоль основного направления движения воды по объекту и имеющие размеры по длинной стороне 600…1000 м, по короткой 350...800 м.
При трассировке как водоводов, так и линий магистральной водопроводной сети необходимо также учитывать геологические условия прокладки трубопроводов (устойчивость грунтов, отсутствие скальных грунтов и плывунов, уровень грунтовых вод и т. д.). С целью предотвращения электрической коррозии металлических труб не следует прокладывать магистрали параллельно трамвайным путям в непосредственной близости (на одной улице). Пересечение автомобильных и железных дорог водоводами и участками магистральной сети должно осуществляться под прямым углом.
Устройство сопроводительных линий для присоединения попутных потребителей допускается при диаметре магистральных линий и водоводов 800 мм и более и транзитном расходе не менее 80 % суммарного расхода, для меньших расходов
при обосновании.
При ширине проездов более 20 м допускается прокладка дублирующих линий, исключающих пересечение проездов вводами.
При ширине улиц в пределах красных линий 60 м и более
следует рассматривать также вариант прокладки сетей водопровода по обеим сторонам улиц.
На рис. 3.1, а показан пример наиболее часто применяемой схемы трассировки водоводов вдоль автомобильных дорог. Такая схема позволяет без ограничений применять необходимую технику при строительстве и ремонте водоводов.
На том же рисунке представлена схема трассировки кольцевой магистральной водопроводной сети города с явно выраженными магистралями. При нормальной работе сети магистрали 3 служат как для обеспечения водой близлежащих потребителей, так и для транзита воды потребителям, расположенным дальше. Перемычки 4 при нормальной работе выполняют только первую функцию. При аварий магистральных участков сети перемычки участвуют и в транспортировке (переброске) транзитных расходов воды.

На рис. 3.1, б дан пример так называемой обезличенной схемы, в которой нет четкого различия между магистралями и перемычками. Все участки сети выполняют одинаковые функции как при нормальной работе, так и при аварии.
Отличительной особенностью перпендикулярной схемы (рис. 3.1, в) является наличие опорного кольца, к которому присоединяются магистрали 3, соединяемые между собой перемычками 4 и замыкающими участками 5.
К опорному кольцу радиальной схемы (рис. 3.1, г) присоединяются лучи-магистрали 3, которые вместе с перемычками 4 и замыкающими участками 5 образуют кольцевую сеть, применяемую при радиальной планировке населенного пункта.

На схемах рис. 3.1 показаны также рациональные распределения потоков воды X в характерных речениях I...IV сети, которые используются при определении диаметров участков сети
(см. § 3.3).
Узлами сети являются точки пересечения магистралей с перемычками (замыкающими участками). Желательно, чтобы в замкнутом контуре насчитывалось не менее трех и не более пяти-шести узлов.
На рис. 3.2 представлен пример трассировки магистральной водопроводной сети для конкретного населенного пункта. Как видно из рисунка, участки магистральной сети проложены по 90 улицам и достаточно равномерно расположены по территории объекта. Сеть состоит из четырех колец с явно выраженными магистралями 1-2-3-4, 1-9-5, 1-8-7-6, перемычками 3-9 и 7-9 и замыкающими участками 4-5 и 5-6. Кольца вытянуты в направлении основного движения воды по территории города, размеры длинных сторон которых находятся в пределах 680 .830 м, коротких 370...600 м. Подавляющая часть участков сети обеспечивает двусторонний отбор воды, лишь часть участка 5-9 является чисто транзитной, а часть участка 7-8 с односторонним отбором воды (это обстоятельство должно быть учтено при определении удельных и узловых отборов). Водонапорная башня предусмотрена на самой высокой точке территории города (отметка 113,2 м), расположена она в конце сети (система с контррезервуаром) и подключена к узлу 4.
Подача воды в сеть осуществляется по двум водоводам, проложенным кратчайшим путем (/ = 3000 м) от НС-2 до сети (узел /).
3.2. Расчетная схема отбора воды из сети
Для расчета магистральной водопроводной сети необходимо перейти от реальной схемы отбора воды к расчетной.
На рис. 3.3, а показана последовательность такого перехода. Реальный участок АВ имеет фиксированные точки отборов воды 1, 2, 7 с различными значениями расходов q\, q2, qi. Однако на стадии проектирования магистральной водопроводной сети такая информация для каждого участка отсутствует. В связи с этим делают первое допущение считают, что отбор воды из участков сети осуществляется равномерно по длине. Количество отбираемой воды, приходящееся на единицу длины участка, называется удельным отбором qУД, л/с на 1 м, и определяется по формуле

где Q - общий расход воды городом в расчетный час, л/с; Qcocp сумма сосредоточенных отборов воды (расходы воды промышленными предприятиями и на тушение пожаров); l суммарная длина участков сети, через которые осуществляется отбор воды
В сумму длин не включают участки сети (или их часть), проходящие по незастроенной территории, из которых ие отбиоа-ется вода. Не входит также в сумму половина длин участков с односторонним отбором воды (застройка с одной стороны).
Удельные отборы определяют дифференцированно по районам города в зависимости от плотности населения (этажности застройки) и степени санитарно-технического благоустройства зданий.
Зная удельный отбор qуд, л/с на 1 м (для всего города или по районам), можно определить путевые отборы воды qп, л/с, из каждого участка сети:

где li-k длина участка i k, м.
Для окончательного перехода к расчетной схеме делают второе допущениепредполагают, что отбор воды осуществляется из узлов сети. При этом распределение общего путевого отбора воды из участка между узлами должно быть таким, чтобы потери напора оставались такими же, как и при путевом отборе. В зависимости от величины транзитного расхода, проходящего через рассматриваемый участок, распределение отборов меняется от 0,5 до 0,58. В инженерной практике это значение принимают равным 0,5. В этом случае второе допущение (рис. 3.3, а) может быть уточнено предполагается, что отбор воды, соответствующий половине участка, примыкающего к узлу А, фиктивно отбирается из узла А, а вторая половина из узла В.

Для узла кольцевой сети (рис. 3 3, б), к которому примыкают два (и более) участка, фиктивный узловой отбор qуз, л/с, равен полусумме путевых отборов qп, л/с, всех участков, примыкающих к данному узлу:

На рис. 3.3, в показана расчетная схема магистральной водопроводной сети с узловыми отборами Q1, Q2,…, Q9, а также сосредоточенными отборами Qc и Q'c'. Сосредоточенные отборы воды промышленными предприятиями, как правило, привязываются к ближайшему узлу сети (Qc') или фиксируются в фактической точке отбора (Qc). Расчетные противопожарные отборы воды (Q, Q") принимают в самых неблагоприятных с точки зрения подачи воды узлах сети самых удаленных по пути движения воды или самых высоких (имеющих максимальную геодезическую отметку поверхности земли).
Расчетная схема отбора воды из сети идеализирует реальную картину ее работы. В частности, считается, что фиктивные узловые отборы не зависят от давления в сети, т. е. являются фиксированными. Такое допущение базируется на том, что отбор воды из сети потребителями осуществляется, как правило, через водоразборную арматуру, а степень открытия ее фиксирует требуемый отбор воды независимо от давления в сети (в предположении, что максимальная степень открытия арматуры обеспечивает величину требуемого отбора воды). Однако в сети есть точки, в которых отбор воды осуществляется не через водоразборную арматуру. В этом случае отбор является нерегулируемым, а значит, и нефиксированным. Такими отборами являются наполнение различных резервуаров, в том числе и водонапорной башни, подкачивающие насосные станции (установки) и др. В приближенных инженерных расчетах и эти отборы можно принимать фиксированными. Для более детального и точного анализа работы сети необходимо учитывать напорно-расходные характеристики нефиксированных отборов.
Ниже приводится пример перехода от реальной к расчетной схеме отбора воды'0из магистральной сети города, изображенного на рис. 3.2, объемы и режимы водопотребления которого представлены в табл. 1.10 и 1.11.
Так как водонапорная башня расположена в конце сети, расчет должен быть произведен на случаи максимального водоразбора, максимального водоразбора при пожаре и максимального транзита воды в башню.
В период максимального водоразбора (час 9 - 10 в табл. 1.10; город потребляет 2392 м3/ч (664 л/с), из которых 120 + 3 = 123м3/ч (34 л/с) отбирает предприятие № 1 (отбор из узла 5) и 160 + 3 = 163 м3/ч (45 л/с) предприятие № 2 (отбор из узла 8). В этот час НС-2 подает в сеть (табл. 1.11) 4,58 %• 42865/100 = 1963 м3/ч (545 л/с), а недостающие 664 545= 119 л/с поступают из водонапорной башни
Удельный отбор воды в период максимального водоразбора при одинаковой для всего города плотности застройки и степени благоустройства зданий определен по формуле (3.1)


В сумму длин l не вошли транзитная часть (230 м) участка 5-9 и половина части (300/2=150 м) длины участка 7-8 с односторонним отбором воды.
В период максимального транзита воды в башню (час 23-24 в табл. 1.11) город потребляет (см. табл. 1.10) 1469 м3/ч (408 л/с), из которых из которых 120+9=129 м3/ч (36 л/с) отбирает предприятие № 1 и 140 +8= 148 м3/ч (41 л/с) предприятие № 2. В этот час НС-2 подает в сеть 4,58 % 42865/100= 1963 м3/ч (545 л/с). Избыток воды 545408=137 л/с проходит транзитом через всю сеть и поступает в водонапорную башню.
Удельный отбор воды в период максимального транзита воды в башню равен
qуд = (Q Qсоср)/l = [408-(36+41)]/(7430-230-320/2) = 0,047 л/с на 1м.
При пожаре в час максимального водоразбора весь расход воды 664+2·4=744 л/с поступает в узел l от НС-2. Предполагаем, что пожарны происходят в узлах 4 и 5 самых удаленных и самых высоких порельефу местности.
Удельный отборыи сосредоточенные отборы воды предприятиями в данном расчетном случае такие же, как и в случае максимального водоразбора.
Путевые и узловые отборы воды для расчетных случаев определны по формулам (3.2) и (3.3), процедура расчетов и их результаты представлены в табл. 32 и 33.
На рис. 3.4 показаны расчетные схемы отбора воды из магистральной водопроводной сети для характерных случаев ее работы.
3.3. Предварительное потокораспределение и определение диаметров труб участков сети и водоводов.
Предварительное потокораспределение. При известной конфигурации сети, заданных значениях длин ее участков, мест и величин отборов воды из сети может быть намечено неограниченное число вариантов распределения расходов воды по ее участкам. В каждом из таких вариантов необходимо обеспечить заданные величины отборов воды и удовлетворить условия баланса расходов в узлах: сумма расходов, подходящих к узлу, равна сумме расходов, включая узловой отбор, отводимых от него, т.е.

Для уменьшения объема вычислительных работ необходимо выбрать такой вариант предварительного потокораспределения, который бы незначительно отличался от истинного потокораспределеиня, получаемого в результате увязки сети. Для этого желательно, чтобы в участках сети, попадающих в одно характерное сечение (на рис. 3.1 сечение I…IV), расходы были приблизительно равны. При наличии потребителей с большим сосредоточенным отбором воды большая часть этого расхода направляется кратчайшим путем.
Начальное потокораспределние выполняют для каждого характерного случая работы сети и представляют в виде схем (рис.3.5) с указанием на них номеров и колец, значений подач и отборов воды, расходов на участках с обозначением стрелками направления движения воды.
Экономически наивыгоднйшие диаметры. При известном значении расхода воды q диаметр трубопровода, работающего полным сечением, может быть определен из уравнения неразрывности потока, т.е.

При постоянном значении расхода q = const увеличение скорости V приводит к уменьшению диаметра трубопровода и увеличению потерь напора в нем и, наоборот, уменьшение скорости к увеличению диаметра и уменьшению потерь напора. То и другое оказывает влияние на экономичность трубопровода. Очевидно, что должна быть принята скорость, обеспечивающая наиболее экономичный диаметр трубопровода. Критерием экономичности являются приведенные затраты, включающие в себя как капитальные, так и эксплуатационные затраты [см. формулу (1.12)].

На рис. 3.6 показан характер зависимости приведенных затрат и их составляющих от скорости v и диаметра d. С увеличением скорости (уменьшением диаметра) капитальные вложения (ЕнК) уменьшаются. При этом эксплуатационные затраты С возрастают, так как увеличиваются затраты электроэнергии вследствие роста потерь напора в трубопроводе. Экономичная скорость уэ или экономически наивыгоднейший диаметр d» соответствуют минимуму приведенных затрат Пmin.

На рис. 3.7 представлен характер зависимости приведенных затрат П от расхода воды q для стандартных диаметров d1, d2, d3, d4 (d1<d2<d3<d4). Каждому диаметру соответствуют значения E„K1, ЕнК2, Е„Кз, Е„К4, характеризующие затраты на строительство единицы длины трубопровода. Эти значения отложены на оси ординат, так как они не зависят от расхода q. При увеличении расхода воды эксплуатационные затраты растут, причем интенсивность роста (кривизна линий) больше для меньших диаметров, что соответствует характеру изменения потерь напора.
Для конкретного значения расхода q в данном примере наиболее экономичным является диаметр d2, соответствующий минимальному значению приведенных затрат Пmin. Точки пересечения кривых определяют области экономически наивыгоднейших расходов для соответствующих диаметров: О-q1 для d1; q1-q2 для d2; q2-qз для d3. Таким образом, для каждого диаметра существует область значений расходов воды, при которых данный диаметр является экономически наивыгоднейшим.
Положение и форма кривых, представленных на рис. 3.7, зависят не только от диаметра, но и от материала труб, условий строительства и эксплуатации трубопровода, которые характеризуются экономическим фактором Э:

где стоимость электроэнергии, руб/(кВт-ч); коэффициент неравномерности расходования энергии, зависящий от коэффициента неравномерности потребления и подачи воды, ориентировочно может быть принят равным 0,7; ц = 0,65...0,75 КПД насосов, подающих воду; Е„ = 0,12...0,15 отраслевой коэффициент эффективности капиталовложений; R сумма амортизационных отчислений, включая затраты на капитальный ремонт, и отчислений на текущий ремонт, %, принимаемая по табл. 3.4; k, т, a, b величины, принимаемые по табл. 3.4 в зависимости от материала труб.


В практике расчетов пользуются таблицами предельных расходов (табл. 3.5), в которых для труб каждого диаметра указаны нижняя и верхняя границы экономической целесообразности их использования. Эти таблицы составлены для наиболее часто встречающихся значений экономического фактора Эт == 0,5; 0,75; 1,0.
Если фактическое значение экономического фактора Эф, определенного по формуле (3.6), отличается от табличных значений Эт, расчетный расход корректируют по формуле

По спроектированному расходу qкорр в колонке таблицы предельных расходов (табл. 3.5) с принятым значением Э, находят экономически наивыгоднейший диаметр. При корректировке расчетного расхода целесообразно пользоваться значением Эт=1 и соответствующей графой таблицы предельных расходов.
При отсутствии таблицы предельных расходов, а также при проведении расчетов на ЭВМ экономически наивыгоднейший диаметр определяют по формуле

В таблицах Ф.А. Шевелева (см. Приложение 4) жирными линиями выделены значения V и 1000i для экономичесии наивыгоднейших диаметров при значении экономического фактора Э 0,75.


• Определение диаметров труб участков сети и водоводов. Назначение диаметров труб участков сети и водоводов является еще одним ключевым этапом проектирования линейной части системы водоснабжения. Именно от того, какие диаметры будут приняты, зависит фактическое потокораспределение, а значит, и уровень надежности всей сети и водоводов, их экономичность.
Задача состоит в том, чтобы при принятой конфигурации сети достичь максимальной надежности при минимальных затратах.
Максимальная надежность достигается путем назначения равных диаметров в пределах каждого характерного сечения сети (см. на рис. 3.1 сечения I...VI). Это обеспечивает взаимозаменяемость, равнозначимость, равнонадежность транзитных магистралей, а значит, и максимальную надежность сети. Кроме того, равные в сечениях диаметры положительно влияют на экономичность сети, а также на удобство ее строительства и эксплуатации.
Минимум затрат обеспечивают назначением экономически наивыгоднейших диаметров труб участков сети. Осуществляют это следующим образом. По схемам предварительного потокораспре-делеиия для всех расчетных случаев определяют средние в сечениях расходы. По наибольшим средним расходам для случаев максимального водоразбора или транзита воды в башню по таблице предельных экономических расходов с учетом фактического значения экономического фактора определяют экономически наивыгоднейшие диаметры, равные в пределах каждого сечения. При этом оценивают увеличение потерь напора при пропуске через назначенные диаметры средних расходов в сечениях для случая тушения пожара в час максимального водо-потребления. Желательно, чтобы суммарное увеличение потерь напора в сети и водоводах не превышало разницы между требуемыми свободными напорами при нормальной работе и при пожаре. Достигают этого путем корректировки в сторону увеличения диаметров участков с максимальным гидравлическим уклоном. Выполнение этой рекомендации обеспечивает возможность наиболее экономичного способа пропуска противопожарного расхода в часы максимального водопотребления без установки в насосной станции второго подъема специальных пожарных насосов. Если пожарные насосы окажутся все же необходимыми, типоразмер их может быть принят таким же, как и хозяйственных насосов.
Диаметры перемычек, осуществляющих переброску транзитных расходов при авариях на магистралях, назначают конструктивно и принимают равными диаметрам магистральных линий, следующих за данными перемычками.
Диаметры замыкающих участков также принимают конструктивно и назначают на один типоразмер меньше диаметров конечных участков магистралей, но не менее 100 мм.
На схемах с предварительным потокораспределением (см. рис. 3.5) указывают значения окончательно принятых диаметров труб, одинаковые для всех расчетных случаев.
Диаметры водоводов назначают экономически наивыгоднейшие для расчетного расхода:
qр = Q/n,
где п количество водоводов (см. § 3.1); Q расход воды, проходящий по п водоводам.

В случае подключения водонапорной башни к водоводам (рис. 3.8) расход воды Q будет разным для различных их участков. Для водоводов на участке от насосной станции второго подъема до точки подключения водонапорной башни (участок 1-2) расход воды Q равен максимальной подаче насосной станции, на участке от точки подключения водонапорной башни до точки примыкания к сети (участок 2-3) максимальному часовому во-допотреблению. Для трубопроводов (участок 2-4), подключающих водонапорную башню (к сети или к водоводам), расход Q принимают равным максимальному поступлению воды в бак или максимальному расходу из него. Находят его в соответствующих графах таблицы для определения регулирующей вместимости водонапорной башни (для примера, рассмотренного в табл. 1.11, это значение равно 1,14% от Qсутmax).
Водоводы должны быть проверены на пропуск 70 % расчетного расхода воды через п1 нитку в составе принятой системы подачи и распределения воды.
Рассмотрим пример назначения диаметров участков водопроводной сети, предварительное потокораспределение для которой представлено на схемах рис. 3.5. В данном примере диктующим является случай максимального транзита воды в башню, при котором средние расходы воды в характерных сечениях Qср1=169 л/с, Qср2=137,6 л/с, Qср3=88,7 л/с больше, чем в период максимального водоразбора. Приняв чугунные водопроводные трубы и значение экономического фактора Э = 0,75 по табл. 3.5 или по Приложению 4, определяем экономически наивыгоднейшие диаметры. Для расхода 169 л/с (участки 1-2, 1-9, 1-8) экономически наивыгоднейшим диаметром является dэ = 400 мм; для расхода 137,6 л/с (участки 2-3, 1-9, 7-8) dэ = 350 мм; для расхода 88,7 л/с (участки 3-4, 5-9, 6-7) dэ = 300 мм. Участок 1-9 принадлежит первому и второму сечениям, диаметр его принимаем по максимальному значению, т. е. d = 400 мм.
Диаметры перемычек (участки 3-9 и 7-9) принимаем конструктивно d 300 мм, т. е. равными диаметрам последующих магистралей (участков 3-4, 5-9, 6-7), диаметры замыкающих участков 4-5 и 5-6 принимаем также конструктивно d = 250 мм на один типоразмер меньше предыдущих магистралей (участков 3-4, 5-9, 6-7).
Данные диаметры принимаем одинаковыми для всех расчетных случаев и их значения показываем на участках расчетных схем сети.
3.4. Потерн напора в водопроводных трубах
Потери напора при движении воды по трубам пропорциональны их длине и зависят от диаметра труб, расхода воды, характера и степени шероховатости стенок труб (т. е. от типа и материала труб) и от области гидравлического режима их работы.
В практике инженерных расчетов наибольшее распространение получила формула

где h потери напора по длине расчетного участка, м; s0 удельное гидравлическое сопротивление трубопровода; принимают по табл. 3.6...3.9 в зависимости от материала труб и принятой единицы измерения расчетного расхода q; коэффициент, учитывающий область гидравлического режима работы трубопровода; принимают по табл. 3.10 в зависимости от скорости движения воды и, м/с; q расчетный расход воды на участке, л/с.

Для одного и того же участка произведение s0l = s сопротивление участка является постоянным. Тогда формула (3.9) принимает вид


Для металлических труб при скорости движения воды 1,2 м/с коэффициент = 1 (см. табл. 3.8). В этом случае потери напора равны
Эта формула используется для описания гидравлической характеристики водоводов при построении графиков совместной работы насосов и системы трубопроводов.
Еще более часто в практике Инженерных расчетов используют таблицы Ф.А. Шевелева (см. Приложение 4), в которых в зависимости от материала водопроводных труб для фиксированных значений расчетного расхода q, л/с, даны значения гидравлического уклона 1000/ и скорости движения воды с, м/с. В этом случае потери напора на участке h, м, определяют по формуле

где 1000i гидравлический уклон (потери напора, м на 1 км длины трубопровода); l длина участка трубопровода, км.
В Приложении 4 дана выборка из таблиц Ф. А. Шевелева для стальных и чугунных труб.
В табл. 3.11 дан пример расчета водоводов, примыкающих к водопроводной сети, характерные случаи работы которой представлены на рис. 3.5. Трубы приняты стальные, экономический фактор Э = 0,75. Расчет потерь напора выполнен с помощью таблиц Ф. А. Шевелева. Так, для расчетного расхода qv = 272,5 л/с и стальных труб d=500 мм (экономически наивыгоднейший диаметр) в Приложении 4 находим 1000i = 4,28 и V=1,3м/с. В водоводах длиной l = 3 км потери напора составляют h = 1000il = 4,28·3=12,8м.
3.5. Гидравлическая увязка водопроводной сети
Различают внутреннюю и внешнюю увязку водопроводной
сети. Целью внутренней увязки сети является определение истинных расходов воды на участках сети при фиксированных значениях подач воды в сеть и отборов из нее. Целью внешней увязки сети является определение истинных параметров (Q, Н) водопитателей, значений нефиксированных отборов и расходов воды на участках сети. ,
Для инженерных расчетов, обеспечивающих проектирование водопроводной сети, как правило, достаточно внутренней увязки сети. Внешнюю увязку выполняют для более детального анализа работы системы подачи и распределения воды, и ей должна предшествовать внутренняя увязка, по результатам которой подбирают требуемые характеристики водопитателей (насосов).
Для выполнения внутренней увязки необходимо знать конфигурацию сети, места и фиксированные значения подач воды в сеть и отборов из нее, длины, диаметры и материал труб участков. Увязку сети (как внутреннюю, так и внешнюю) выполняют итеративным способом путем последовательной корректировки начального потокораспределения при сохранении баланса расходов воды в узлах. Формальным признаком увязанной сети является равенство нулю алгебраической суммы потерь напора (невязок) во всех элементарных кольцах и по внешнему контуру. При ручном счете невязка в кольцах, как правило, не должна превышать ±0,5 м, по внешнему контуру +1,5 м. При расчете на ЭВМ допустимую невязку в кольцах целесообразно принимать в пределах ±0,1 м.
Существуют различные методы увязки кольцевых водопроводных сетей. Наиболее широкое распространение получил метод ЛобачеваКросса. Этот метод может быть использован как при ручном счете, так и при расчете на ЭВМ. Сущность метода Лобачева Кросса заключается в том, что поправочные расходы одновременно вносятся во все элементарные кольца на каждой ступени итерационного процесса, а их значения определяют в зависимости от величин невязок в кольцах, т. е.
где qi - поправочный расход воды в j-м элементарном кольце, л/с; hi, алгебраическая (с учетом знаков) сумма потерь напора (невязка) в j-м кольце, м; (sq)j сумма произведений сопротивления s на расход q участков, образующих рассматриваемое элементарное кольцо j.
При ручном счете увязку сети выполняют в табличной форме. Порядок проведения расчетов следующий (пример расчета см. в табл. 3.12).
- В таблицу заносят данные, характеризующие структуру сети (№ колец, № участков, длины и диаметры участков) и расходы воды на участках сети, соответствующие начальному потокораспределению.
- Для каждого участка сети определяют скорость движения воды v = 4q/d2, м/с, по табл. 3.6...3.9 значения удельных сопротивлений so, по табл. 3.10 значения поправочных коэффициентов б, определяют сопротивления участков s = sol, произведения sq и потери напора h=sq2. Потерям напора присваивают знаки «+», если для рассматриваемого кольца движение воды на участке осуществляется по часовой стрелке; «» против часовой стрелки.
- Для каждого кольца определяют суммы sq и невязки hi= hi = l(sq2)j.
- Анализируют значения невязок в кольцах. Если все невязки по абсолютному значению меньше или равны 0,5 м, а по внешнему контуру менее 1,5 м, сеть считается увязанной. В противном случае для колец, где |h| >0,5 м, по формуле (3.13) определяют поправочные расходы. Вводят их с учетом знаков («+» по часовой стрелке, «» против часовой стрелки) во все участки кольца, тем самым не нарушая баланса расходов в узлах, и получают новые, скорректированные значения расходов воды на участках. При этом следует помнить, что знак при поправочном расходе указывает направление внесения поправки в замкнутый контур. Если направление поправочного расхода совпадает с направлением движения воды на участке, то их суммируют, если не совпадает, то поправку вычитают. Если значение поправочного расхода больше значения расхода воды на участке и направления их не совпадают, то поток «переворачивается», т. е. направляется в другую сторону, что необходимо отразить на расчетной схеме.
Особое внимание необходимо уделять участкам, одновременно принадлежащим двум кольцам, итоговый поправочный расход которых состоит из поправочных расходов этих колец.
Метод Лобачева Кросса обладает достаточно высокой степенью сходимости. Однако на практике встречаются случаи, когда итерационный процесс не сходится (сеть не увязывается после большого числа исправлений). В таком случае наиболее простым способом преодоления данной ситуации является выполнение нового начального потокораспределения и повторение расчетов.
Для гидравлической увязки сети широко используется также метод М. М. Андрияшева. Применяют его при ручном счете, так как он включает в себя логические операции, трудно формалbзуемые и поэтому затрудняющие применение ЭВМ. Метод очень эффективный при наличии у исполнителя навыков расчета.
Сущность метода М. М. Андрияшева заключается в том, что поправочные расходы могут вводиться как в отдельные элемеи тарные кольца, так и в замкнутые контуры, объединяющие не сколько колец, причем как одновременно в несколько контуро! так и последовательно.
Значение поправочного расхода в контуре, л/с, определяют п формуле

где qсрк средний расход воды на участках, входящих в контур л/с; hк алгебраическая сумма потерь напора на участках контура (невязка контура), м; |hie|к сумма абсолютных значений (без учета знаков) потерь напора на участках контура, м.
Порядок выполнения расчетов следующий (пример расчета см. на рис. 3.9).
1.На расчетной схеме указывают постоянные величины длин и диаметров участков сети, а также подлежащие корректировке расходы воды начального потокораспределения и соответствующие потери напора, определяемые по формуле (3.12).
2.Для каждого элементарного кольца определяют невязки Ahj, по значениям и знакам которых устанавливают «перегруженные» и «недогруженные» участки сети.
3.Выбирают замкнутый контур, по которому необходимо пустить поправочный расход. Это самая сложная логическая операция, требующая определенных навыков. Необходимо попытаться выбрать такой замкнутый контур и направление поправочного расхода, чтобы перегруженные участки (по возможности большее их количество) разгрузились, а недогруженные догрузились. Значение поправочного расхода определяют по формуле (3.14).



4. В соответствии с принятым значением и направлением поправочного расхода вносят корректировку в расходы воды участков, входящих в принятый замкнутый контур. Данную процедуру отражают на расчетной схеме. Для скорректированных значений расходов по таблицам Ф. А. Шевелева определяют соответствующие потери напора и новые значения невязок в кольцах, участки которых вошли в данный контур. Процедуру повторяют до достижения допустимых невязок во всех кольцах и по внешнему контуру.
3.6. Определение пьезометрических отметок и графическое представление результатов гидравлического расчета
Расчет пьезометрических отметок выполняют с целью обеспечения требуемых напоров в системе подачи и распределения воды. По этим отметкам определяют необходимый напор насосов второго подъема и высоту водонапорной башни.
Для расчетных случаев максимального водоразбора, а также пожара в период наибольшего водопотребления начинают определение пьезометрических отметок с диктующих узлов сети, как правило, наиболее удаленных или наиболее высоких по рельефу местности и этажности застройки:

где Пдт пьезометрическая отметка в диктующем узле, м; ZД7 геодезическая отметка поверхности земли в диктующем узле, м; Hсв min минимальный свободный напор для соответствующего расчетного случая, м (см. § 1.5).
Для случая максимального транзита воды в башню пьезометрические отметки начинают определять от отметки максимального уровня воды в водонапорной башне.
Пьезометрические отметки Пi+1 в узлах, лежащих на других концах участков, примыкающих к узлу с известной пьезометрической отметкой Пi вычисляют, прибавляя (если направление движения воды не совпадает с ходом определения пьезометрических отметок) или вычитая (если совпадает) потери напора hi,j+i на соответствующих участках:
Для каждого i-ro узла' определяют фактические свободные напоры, м:
Требуемую высоту ствола водонапорной башни, м, определяют для случая максимального водоразбора:
где Пвб пьезометрическая отметка дна бака водонапорной башни, м; Zвб геодезическая отметка поверхности земли в месте установки водонапорной башни, м.
Свободные напоры в узловых точках сети должны быть не менее требуемых свободных напоров и не превышать 60 м. Если в каком-либо узле свободный напор окажется меньше требуемого, это значит, что первоначально неправильно выбрана диктующая точка. При этом расчет повторяют, приняв за диктующий узел с наименьшим свободным напором.
Если свободный напор в сети превышает 60 м, делается вывод о необходимости устранения этого наиболее экономичным путем (зонирование системы, увеличение диаметров отдельных участков сети, устройства регуляторов давления для отдельных зон).
В табл. 3.13 дан пример определения пьезометрических отметок и свободных напоров для магистральной водопроводной сети, пример гидравлической увязки которой рассмотрен в § 3.5.

По вычисленным пьезометрическим отметкам строят цьезод метрические профили, пьезометрические карты или аксонометрическое изображение пьезометрической поверхности.
Наиболее распространенным способом графического представления результатов гидравлических расчетов водопроводной сети являются пьезометрические профили, пример построения которых показан на рис. 3.10 для водопроводной сети, иеобра-женной на рис. 3.2, и по данным табл. 3.13.
Путь построения пьезометрических линий должен охватывать как можно больше характерных точек: НС-2; начало сети, водонапорная башня, самая высокая и самая низкая точка, самая( удаленная точка схода потоков, диктующий узел, точки подключения крупных потребителей воды (предприятий) и др.
I По характеру пьезометрических линий и их взаимному рас-пбложению выполняют анализ работы системы подачи и распределения воды, а также проверяют правильность принятия многих решений. Например, если пьезометрические линии для» различных расчетных случаев почти параллельны между собой, это значит, что диаметры соответствующих магистральных участков сети завышены. Если пьезометрическая линия у водонапорной башни при пожаре проходит выше дна бака, устанавливаемого на уровне пьезометрической отметки при максимальном водоразборе, делается вывод о необходимости отключения водонапорной башни в период тушения пожаров, если ниже дна отключать башню не обязательно, но желательно во избежание ее полного опорожнения.
По взаимному расположению пьезометрических линий у насосной станции второго подъема устанавливают диктующий случай для определения полной высоты подъема воды насосами и требуемый напор пожарных насосов.
На рис. 3.11 показан пример построения пьезометрической, карты. Соединяя точки сети, имеющие одинаковые пьезометрические напоры, получают линии равных напоров, являющиеся как бы следами сечения пьезометрической поверхности горизонтальными плоскостями. Шаг сечений, как правило, принимают 1 м. Положение точек с конкретными значениями пьезометрических напоров получают путем линейного интерполирования длины рассматриваемого участка относительно потерь напора в нем.
Расположение линий равных пьезометрических напоров позволяет судить о работе сети в различные расчетные периоды, выявить перегруженные участки, установить зоны влияния водо-питателей и водонапорной башни.

3.7. Конструирование магистральных водопроводных сетей и водоводов
Водопроводная сеть и водоводы являются наиболее дорогой и весьма ответственной частью системы водоснабжения объекта. Принятые материал и тип труб, оборудование и монтажная, схема в значительной степени влияют на надежность и экономичность всей системы водоснабжения.
• Выбор материала и типа труб. Линии водопроводных сетей и водоводов монтируют из труб, серийно изготавливаемых в заводских условиях (см. гл. 9). Водопроводные сети и водоводы должны обеспечивать транспортировку требуемых расходов воды, не ухудшая ее качества в течение длительного периода эксплуатации системы водоснабжения.
В соответствии со СНиП 2.04.0284 выбор материала и чласс прочности труб для водоводов и водопроводных сетей надлежит принимать на основании статического расчета, агрессивности грунта и транспортируемой воды, а также условий работы трубопроводов и требовалий к качеству воды.
Для напорных водоводов и сетей, как правило, следует применять неметаллические трубы (железобетонные, пластмассовые и др.). Асбестоцементные трубы для систем хозяйственно-питьевого водоснабжения применять запрещено.
Применение чугунных напорных труб допускается для сетей в пределах населенных пунктов, территорий промышленных и сельскохозяйственных предприятий.
Применение стальных труб допускается:
на участках с расчетным внутренним давлением более 1,5 МПа (15 м вод. ст.);
для перехода под железными и автомобильными дорогами, через водные преграды и овраги;
в местах пересечения хозяйственно-питьевого водопровода с сетями канализации;
при прокладке трубопроводов по автодорожным и городским мостам, по опорам эстакад и в туннелях.
В случае применения стальных труб должна предусматриваться защита их внешней и внутренней поверхности от коррозии.
• Глубина заложения и укладка водопроводных труб. Глубину заложения водопроводных линий назначают из условий незамерзания воды в трубах и арматуре, предохранения их от внешних нагрузок, в частности от транспорта, и нагревания воды в летнее время.
Глубина заложения труб, считая до низа, должна быть на 0,5 м больше расчетной глубины проникания в грунт нулевой температуры. Для защиты от нагревания глубина заложения труб хозяйственно-питьевых водопроводов не должна быть меньше 0,5 м до верха трубы.
Глубину заложения труб принимают равной для всей сети и водоводов, линии которых прокладывают параллельно рельефу местности, не следуя при этом за всеми его мелкими видоизменениями. В случае применения труб с раструбными соединениями для удобства проведения монтажных работ прокладку труб следует проводить вперед раструбом в направлении от пониженного края участка к повышенному.
После укладки и гидравлического испытания хозяйственно-питьевых водопроводных линий перед пуском их в эксплуатацию трубы должны быть промыты и продезинфицированы.
• Оборудование и сооружения на сетях и водоводах. На водоводах и линиях водопроводной сети предусматривают установку: поворотных затворов (задвижек) для выделения ремонтных участков; устройств для выпуска и впуска воздуха в процессе работы трубопроводов, а также при их опорожнении и заполнении; выпуеков для сброса воды при опорожнении трубопроводов; монтажных вставок, обеспечивающих монтаж и демонтаж фланцевых соединений; пожарных гидрантов. Кроме того, при необходимости предусматривают установку обратных или других типов клапанов, обеспечивающих автоматическое выключение ремонтных участков; компенсаторов, регуляторов давления или других аппаратов для предупреждения повышения давления при гидравлических ударах. На трубопроводах диаметром 800 мм и более допускается устройство лазов для осмотра и очистки труб, ремонта запорно-регулирующей арматуры и др.
Поворотные затворы или задвижки на сети должны быть расставлены так, чтобы отключение ремонтного участка приводило к отключению не более пяти пожарных гидрантов. Длин ремонтных участков двух водоводов не должна превышать 5 км. При прокладке одного водовода длина ремонтного участка не должна быть больше 3 км.
Клапаны автоматического действия для впуска и выпуск^ воздуха при опорожнении и заполнении трубопровода устанавливаются в повышенных переломных точках профиля и в верх! них граничных точках ремонтных участков водоводов и cemj
Вантузы необходимо устанавливать в повышенных переломных точках профиля водоводов и участков сети для сброса скапливающегося там воздуха в процессе работы трубопроводов.
Выпуски следует предусматривать в пониженных точках каж дого ремонтного участка, а также в местах выпуска воды при* промывке трубопроводов. Диаметры выпусков и устройств для впуска воздуха должны обеспечивать опорожнение участков водоводов или сети не более чем за 2 ч.
Пожарные гидранты предусматриваются для отбора воды по-, жарными машинами. Расстановка пожарных гидрантов на водопроводной сети должна обеспечивать тушение любого обслуживаемого данной сетью здания или сооружения. Расстояние между гидрантами определяется расчетом, учитывающим суммарный расход воды на пожаротушение и пропускную способность гидрантов. Практически это расстояние не превышает 120...150 м.

Компенсаторы устанавливают на трубопроводах, стыковые соединения которых не компенсируют осевые перемещения, вызванные изменением температуры воды, воздуха и грунта. При обжатнн труб грунтом перед фланцевой арматурой следует применять в качестве компенсаторов подвижные стыковые соединения (удлиненный раструб, муфту н др.).
# Сооружения на сети. Водопроводная арматура и оборудование, устанавливаемые на сети и водоводах, располагаются внутри специально устраиваемых для этого колодцев.
Размеры колодцев определяют, исходя из диаметров трубопроводов и фасонных частей, конструкции водопроводного узла и нормативных расстояний, представленных в табл. 3.14.
Колодцы с максимальным размером в плане до 2,5 м, как правило, устраивают круглыми, свыше 2,5 м прямоугольными Глубина колодца определяется глубиной заложения труб. При этом высота рабочей части колодца (от верха днища до низ; перекрытия) должна быть не менее 1,5 м (табл. 3.14).


В местах установки колен, отводов, тройников и заглуше» необходимо устройство упоров. Вызвано это тем, что силы внутреннего давления воды, действующие вдоль осей труб, передаются на раструбные стыковые соединения указанной фасони ны, которые не рассчитаны на растягивающие усилия.
Упоры выполняются конструктивно в виде бетонных, кирпичных или бутовых массивов, в которые упираются соответствующие фасонные части. Упоры устраивают как в колодцах, так и непосредственно в земле.

• Деталировка узлов сети и водоводов. Процесс проектирования водопроводной сети и водоводов завершается составлением монтажных схем, т. е. деталировкой. Деталировка дается в рабочих чертежах, где условными обозначениями показывают фасонные части (табл. 3.15) и арматуру. Правильное конструирование узлов и рациональное использование существующего сортамента фасонных частей снижают стоимость устройства сети, уменьшают размеры колодцев.
На рис. 3.12 дан пример деталировки кольца магистральной водопроводной сети.
На основании деталировки составляют спецификацию фасонных частей и арматуры, необходимых для устройства сети.
РАЗДЕЛ ВТОРОЙ
ВОДООТВОДЯЩИЕ СИСТЕМЫ ГОРОДОВ И ПРОМЫШЛЕННЫХ ПРЕДПРИЯТИЙ
Глава 4
СИСТЕМЫ И СХЕМЫ ВОДООТВЕДЕНИЯ
4.1. Виды сточных вод
Существуют следующие виды сточных вод: бытовые (хозяйственно-фекальные), производственные и поверхностные (атмосферные).
Бытовые сточные воды поступают в водоотводящую сеть от санитарных приборов (умывальников, раковин, моек, ванн4 унитазов, трапов и др.), установленных в жилых, административных и коммунальных зданиях, а также в бытовых помещениях промышленных предприятий. В бытовых сточных водах при отсутствуют загрязнения минерального и органического происхождения, которые находятся в нерастворенном, коллоидном и растворенном состояниях. Органические загрязнения бытозых сточных вод соответствуют БПКполн = 100...500 мг/л и имеют тенденцию к загниванию. Удельный расход бытовых сточных вод зависит от плотности населения, степени благоустройства и составу ляет 0,3...2 л/с на 1 га территории жилого объекта. Расходы по; часам суток могут изменяться в 2...5 раз. ;
Производственные сточные воды образуются на предприятиях в результате загрязнения используемой воды отходами сырья, промежуточного или товарного продукта, а также ее нагрева (условно чистые воды). Так, сточные воды заводов черной металлургии загрязнены окалиной, маслами и фенолами; сточные воды углеобогатительных и коксохимических заводов - угольной пылью и фенолами; сточные воды нефтепромысловы и нефтеперерабатывающих предприятий - нефтью и нефтепродуктами; сточные воды целлюлозно-бумажных комбинатов - древесным волокном, целлюлозой и сульфитными щелоками; сточные воды кожевенных заводов и шерстомойных фабрик отходами шерсти и жирами; сточные воды текстильных предприятий - красителями и моющими веществами; сточные воды машиностроительных заводов - ионами тяжелых металлов и т.д.
Количество сточных вод на предприятиях различных отраслей промышленности зависит от мощности предприятий, удельных расходов воды на единицу выпускаемой продукции и лежит в пределах от 50... 150 м3/сут (предприятия пищевой и легкой промышленности) до 300...500 тыс. м3/сут (металлургические, химические, нефтехимические и целлюлозно-бумажные комбинаты). Режим притока определяется технологическими процессами отдельных цехов и может быть в течение смены равномерным, неравномерным или в виде разовых (залповых) спусков. При расчете городских водоотводящих сетей расходы сточных вод от небольших промышленных предприятий, расположенных в городах и снабжаемых водой из городских водопроводов, отдельно не учитываются. Сточные воды от крупных и водоемких промышленных предприятий, применяющих системы повторного или оборотного водоснабжения и использующие местные (дополнительные) источники водоснабжения, учитываются отдельно.
По концентрации органических загрязнений производственные сточные воды могут быть слабоконцентрированными (стоки металлургических и машиностроительных заводов, БПКполн = = 30...70 мг/л), концентрированными (стоки мясокомбинатов и молочных комбинатов, БПКполн = 800... 1500 мг/л), высококонцентрированными (стоки фабрик первичной обработки шерсти, БПКполн = 15000...20000 мг/л). Производственные сточные воды, поступающие в городскую водоотводящую сеть, не должны содержать взрывоопасных компонентов или загрязнений, агрессивных по отношению к материалу городской сети, образовывать вредных соединений, а также иметь температуру выше 40 °С. Смесь производственных и бытовых сточных вод города («городские сточные воды») должна иметь БПКполн не более 500 мг/л при наличии на городской очистной станции биофильтров или аэротенков-вытеснителей и не более 1000 мг/л при наличии аэротенков-смесителей, содержание солей не выше 20 г/л и нейтральную реакцию. Если городские сточные воды не отвечают требованиям, производственные сточные воды должны предварительно пройти локальную очистку и, таким образом, будут подготовлены для совместной очистки с бытовыми стоками города.
Поверхностные сточные воды образуются в результате выпадения атмосферных осадков (дождя или снега), а также работы дренажных систем. Расходы дождевых сточных вод подвержены значительным колебаниям, изменяясь от нуля (в сухую погоду) до максимального значения 300 л/с на 1 га городской территории. Неочищенные дождевые воды являются крупным источником загрязнения водоемов, причем наиболее загрязненными являются начальные порции дождевой воды; БПКп дождевых вод с городских территорий достигает 60...80 мг/л концентрации взвешенных веществ 500...1000 мг/л, нефтепр дуктов 12...20 мг/л, ионы тяжелых металлов 1...3 мг/л. Дождевой или дренажный сток с территорий промышленных предприятии обычно содержит специфические загрязнения, связаные с характером и технологией производства.
4.2. Системы водоотведения городов
Комплекс сооружений, предназначенных для отведения, очистки бытовых, производственных и поверхностных (атмосферных) сточных вод, называют системой водоотведения.
• Общесплавная система водоотведения (рис. 4.1, а) предполагает отведение на очистные сооружения всех видов сточных вод по одной подземной сети труб и каналов. Для облегчения условий работы насосных станций и очистных сооружений в периоды сильных дождей, а также для уменьшения размера главных коллекторов на них устанавливают ливнеспуски камеры, через которые в ближайший водоем сбрасывается часть смеси городских и дождевых сточных вод.
К достоинствам общесплавной системы относятся минимальная протяженность водоотводящих сетей и связанное с этим сокрашение количества смотровых колодцев и объемов земляных работ при строительстве.
К недостаткам общесплавиой системы относятся значителные единовременные затраты на строительство сети большого сечения, насосных станций и очистных сооружений, учитывающие одновременное отведение и очистку основного объема бытовых, производственных и дождевых сточных вод. В периоды дождей существует опасность подтопления подвальных помещений зданий. Сброс некоторой части загрязнений общего стока через ливнеспуски непосредственно в водоем также нежелателен по экологическим соображениям.
• Полураздельная система водоотведения (рис. 4.1,6) предусматривает устройство двух сетей производственно-бытовой и дождевой, в местах пересечения которых устраивают так называемые разделительные камеры. При малых расходах дождевой воды весь ее объем смешивается в камерах с производственно бытовыми стоками и поступает в главный коллектор. Таким образом, в начальный период дождя, когда с городской и производственной территорий смывается основная часть загрязнений, а суммарный расход смешанных стоков в сети возрастает не столь значительно, работа полураздельной системы аналогична общесплавной системе водоотведения. При больших расходах дождевой воды ее наиболее значительная, но наименее загрязнениая часть, попадая в разделительные камеры, отводится в водоем без очистки. Принцип действия разделительных кам основан на увеличении дальности полета компактной части потока дождевой воды при увеличении скорости ее движения уличном коллекторе. В результате этого в период интенсивного выпадения дождя работа полураздельной системы аналогична полной раздельной системе водоотведения.

К достоинствам полураздельной системы относятся возможность поэтапного строительства уличных коллекторов производственно-бытовой сети и коллекторов дождевой сети, а также то что во время дождя в водоем поступает минимальное количество загрязнений.
К недостаткам полураздельной системы относятся неустойчивый режим работы главного коллектора с раздельными камерами в период дождя и вызванная этим сложность эксплуатации системы в целом.
Полная раздельная система водоотведения (рис. 4.1,в,г,д) предусматривает две самостоятельные сети трубопроводов: одна для бытовых и загрязненных производственных сточных вод, другая для отведения поверхностного стока и условно чистых производственных сточных вод.
К достоинствам полной раздельной системы водоотведения следует отнести возможность строительства бытовой сети в качестве первой очереди, минимальную стоимость строительства и эксплуатации городских очистных сооружений, а также сравнительно равномерный режим работы бытовой сети.
Недостатком полной раздельной системы (рис. 4.1, в) является сброс всего объема дождевых вод без очистки в водоем.
Недостатком полной раздельной системы с локальной очисткой дождевых вод (рис. 4.1, г) является частичный сброс дождевых вод через разделительные камеры без очистки в водоем, а также дополнительные затраты на строительство'и эксплуатацию локальных очистных сооружений.
Недостатком полной раздельной системы с централизованной очисткой дождевых сточных вод (рис. 4.1, д) является необходимость строительства и эксплуатации главного перехватывающего коллектора и центральных очистных сооружений поверхностного стока.
Неполная раздельная система водоотведения предусматривает сеть трубопроводов для отвода бытовых и загрязненных производственных сточных вод и устройство открытой (поверхностной) дождевой сети в виде уличных лотков, кюветов и канав. В реальных условиях неполная раздельная система существует как начальный этап освоения полной раздельной системы, тесно связанный с развитием благоустройства и улучшением дорожных покрытий городов.
Комбинированная система водоотведения предусматривает наряду с общесплавной системой элементы полной или неполной раздельных систем. Такая система водоотведения складывается в тех случаях, когда бытовые сети новых районов города присоединяют к общесплавным коллекторам существующей части города.
Выбор системы водоотведения наряду с другими факторами зависит от климатических условий, рельефа города и требует экологических и технико-экономических обоснований.
Применение общесплавной системы целесообразно при наличии крупных проточных водоемов в районах, характеризующихся небольшим количеством атмосферных осадков, н в городах с высокой плотностью населения (многоэтажная застройка). Именно в этих условиях экологический ущерб от применения общесплавной системы минимален, так как ливнеспуски почти не используются.
Применение полной раздельной системы без очистки дождевого стока нецелесообразно по экологическим соображениям. Полная раздельная система с локальными очистными сооружениями на 11...15% дороже других систем. Применение полной раздельной системы с центральными очистными сооружениями поверхностного стока целесообразно в климатических районах с интенсивным выпадением дождей (Дальний Восток, некоторые районы Кавказа).
Область применения полураздельной системы водоотведения значительно шире, так как она лишена ряда недостатков и ограничений, присущих общесплавной и полной раздельной системам.
В нашей стране наибольшее распространение получили: в больших городах полные раздельные системы, в малых городах неполные раздельные системы. Полураздельные системы, несмотря на их перспективность, большого распространения не получили нз-за недостаточной практической изученности. В странах Западной Европы и США как в крупных, так и малых городах наибольшее распространение получила общесплавная система.
4.3. Системы водоотведения промышленных предприятий
На промышленных предприятиях образуются производственные, бытовые и атмосферные (дождевые, талые) сточные воды. В соответствии с этим системы водоотведения условно разделяют на общесплавиую и раздельные. Раздельные системы, в свою очередь, могут иметь несколько самостоятельных производственных сетей от различных цехов, а также предусматривать повторное использование, частичный или полный оборот различных видов сточных вод.
Общесплавная система водоотведения (рис. 4.2, а) применяется на предприятиях с небольшими расходами воды, поверхностный сток с территорий которых сопоставим с расход производственных и бытовых сточных вод, а характер произ! Ливенных загрязнений позволяет направлять их на городе очистные сооружения, не прибегая к локальной очистке.

Раздельная система водоотведения с локальными очистными сооружениями целесообразна при высоких концентрациях производственных загрязнений, а также в тех случаях, когда производственные сточные воды содержат ценные отходы. Это относится, например, к сточным водам мясоперерабатывающей промышленности, содержащим пищевые жиры, которые подлежат утилизации.
Раздельная система водоотведения с частичным оборотом производственных вод (рис. 4.2, б) применяется при наличии наряду с загрязненными условно чистых (нагретых) сточных вод, возврат которых в производство возможен после охлаждения и частичной очистки.
Раздельная система водоотведения с полным оборотом производственных вод (рис. 4.2, в) применяется при их значительном расходе, а также при недостаточном дебите источников природной воды. Дождевые воды предприятий данного типа очищаются отдельно или совместно с дождевыми стоками города на локальных очистных сооружениях.
Раздельные системы водоотведения с полным оборотом всех видов сточных вод (бессточные) целесообразны на крупных промышленных предприятиях, использующих водоемкие технологические процессы, а также при нехватке воды в реке для технического водоснабжения.
Основной проблемой при очистке и повторном использовании дождевых вод является необходимость их сбора, накопления и равномерной подачи на очистку, что требует значительных площадей. Очищенные поверхностные стоки и бытовые сточные воды могут удовлетворять более 50 % потребности промышленности в воде, поэтому бессточные системы водопользования с учетом высоких экологических показателей имеют большую перспективу.
Эффективность системы промышленного водоотведения оценивается с помощью коэффициента использования оборотной воды
и коэффициента использования свежей воды
где qоб, qсв, qсб расходы соответственно оборотной, свежей (подпиточной) и сбрасываемой в водоем воды.
Чем ближе значения коэффициентов ko6 и kCB к единице, тем выше эффективность использования воды в системах промышленного водоотведения. В нашей стране коэффициент k0б на предприятиях черной и цветной металлургии, химической и целлюлозно-бумажной промышленности составляет 0,6...0,8 и имеет тенденцию к дальнейшему увеличению.
4.4. Схемы городских водоотводящих сетей
Схема водоотведения определяется главным образом рельефом местности, характером водоема, планировочными решениями городской застройки, а также намечаемым местом для размещения очистных сооружений н выпуска очищенных сточных вод. Общая схема водоотведения состоит из разветвленных самотечных сетей (внутриквартальные, улнчные, районные и главные коллекторы), смотровых колодцев, насосных станций, напорных трубопроводов, дюкеров, переходов, очистных сооружений и выпусков. Схемы канализационных сетей в зависимости от видов сточных вод могут быть незамкнутые н замкнутые (пересеченные).

• Незамкнутые схемы используются для отведения в водоем без очистки или после локальной очистки поверхностных сточных вод города н промышленного предприятия, а также условно чистых производственных сточных вод. В зависимости от топографических и планировочных особенностей города незамкнутые схемы по начертанию в плане подразделяются на перпендикулярные, параллельные, веерные, радиальные, зонные (рис. 4.3). Перпендикулярная схема (рнс. 4.3,а), по которой сточные воды
кратчайшим путем направляются в водоем, предполагает наличие равномерного и умеренного уклона местности. Эта схема получила наибольшее распространение. Параллельная (рис. 4.3,6) и веерная (рис. 4.3, в) схемы применяются при наличии крутого уклона местности к реке и дают возможность уменьшить максимальные скорости в трубопроводах, не прибегая к устройству многочисленных перепадных колодцев. Радиальная схема (рис. 4.3, г) используется при расположении города на возвышенности, охватываемой речной излучиной. Зонная схема (рис. 4.3, д) применяется при наличии прямого и обратного ската местности с водоразделом между ними. Водоотведенн с обратного ската осуществляется с помощью насосных станции дождевой воды, снабженных бассейнами для усреднения расхода дождевых вод.

• Замкнутые (пересеченные) схемы отличаются от незамкнутых наличием главного (перехватывающего) коллектора используются для отведения на городские очистные сооружения бытовых и загрязненных производственных сточных вод. В зависимости от конкретных условий замкнутые схемы подразделяются на перпендикулярные, параллельные, веерные, зонные и радиальные (рис. 4.4). Области применения схем, показанных на рис. 4.4, а, б, в, ж, в целом аналогичны схемам на рис. 4.3, й, б, в, г. Зонные схемы (рис. 4.4, г, д, е) применяются в городах со значительной разницей отметок поверхности земли, когда сточные воды из низко расположенной зоны (террасы) перекачиваются в верхнюю зону или непосредственно на очистные сооружения.
Перекачка сточных вод увеличивает эксплуатационные расходы, и поэтому следует стремиться отводить самотеком воды на очистные сооружения даже с меньшей части городской территории. Схема на рис. 4.4, г применяется при значительном отдалении очистных сооружений от города, а также при небольших расходах сточных вод в нижней зоне. Схема на рис. 4.4, д целесообразна при значительных расходах сточных вод в нижней зоне и небольшом удалении очистных сооружений от города. Преимущества данной схемы возрастают, когда насосная станция оборудована решетками-дробилками, что позволяет значительно уменьшить размер решеток на городской очистной станции. Схема на рис. 4.4, е целесообразна, когда территория городской застройки вытянута вдоль реки, и для того, чтобы уменьшить глубину заложения насосной станции, ее устанавливают в средней части главного коллектора нижней зоны. Подача дополнительного расхода сточных вод в главный коллектор верхней зоны позволяет уменьшить его уклоны и глубину заложения. Радиальная схема (рис. 4.4,з) (децентрализованная) применяется при сложном рельефе местности в больших городах, где исторически сложилась очистка сточных вод на двух (или более) очистных станциях. Их количество может быть уменьшено за счет устройства насосных станций и расширения главных очистных сооружений города.
Глава 5
РАСЧЕТНЫЕ РАСХОДЫ СТОЧНЫХ ВОД
5.1. Расчетная численность населения, нормы водоотведения и коэффициенты неравномерности
В зависимости от характера зданий, их этажности и степени благоустройства жилого фонда в разных микрорайонах или районах города проживает различное число жителей. Обычно jio число, приходящееся на 1 га площади или плотность населения р, определяется по районам. Расчетную численность населения вычисляют по формуле
где F площадь района города, га.
Практикой установлено, что централизованные системы водоотведения целесообразны при плотности населения свыше 40... 50 чел/га.
Среднее суточное количество воды, расходуемое на одного жителя, называемое нормой водоотведения или удельным водо-отведением п, л/сут на 1 чел., установлено на основании опыта работы действующих систем водоотведения (табл. 5.1).

Данные нормы учитывают расходы воды от административных зданий и коммунально-бытовых предприятий, расположенных в городах. Расходы сточных вод от промышленных предприятий данные нормы не учитывают. Выбор нормы водоотведения в пределах, указанных в табл. 5.1, должен производиться в зависимости от климатических и других местных условий. Например, в южных районах норма водоотведения приближается к верхнему пределу для данной степени благоустройства. В отдельных случаях, например для городов-курортов или крупных городов, нормы водоотведения могут быть увеличены при соответствующем обосновании. Генеральной схемой развития г. Москвы до 2000 г. норма водоотведения принята равной не ниже 500 л/сут на одного жителя.
Удельное водоотведение на промышленных предприятиях учитывает расходы бытовых (хозяйственно-фекальных) душевых и производственных стоков. Нормы водоотведения на бытовые нужды составляют 25 л/чел в смену для холодных цехов и 45 л/чел в смену для горячих цехов (с тепловыделением более 80 кДж/ч на 1 м3 помещения), а на душевые нужды 500 л/ч на одну душевую сетку. Продолжительность пользования душем составляет 45 мнн после окончания смены. Удельное водоотведение производственных сточных вод зависит от вида выпускаемой продукции илн исходного сырья и изменяется в широких пределах.
Потребление воды, а следовательно, и поступление всех видов сточных вод существенно колеблется по суткам и по часам суток. С помощью коэффициентов неравномерности можно определять максимальные и минимальные расходы сточных вод, являющиеся расчетными. В проектной практике используются следующие коэффициенты неравномерности: суточный, часовой и общий.
Коэффициентами суточной неравномерности Ксут, Ксут называют отношения максимального Qсутmax или минимального Qсутmin суточного расхода к среднесуточному расходу Qсутср за год:
Коэффициентами часовой неравномерности Кч, Кч называют отношения максимального qmахч или минимального qminч часового расхода в сутки с максимальным или минимальным водоотведением к средним часовым расходам qсрч и q'cp ч в сутки с соответствующим водоотведением.
Общие максимальный Кобщ и минимальный Кобщ коэффициенты неравномерности равны
С учетом вышеприведенных зависимостей общие коэффициенты неравномерности представляют собой отношение максимального часового расхода qmaxч в сутки с максимальным водоотведением или минимального часового расхода qmmn в сутки с минимальным водоотведением к среднечасовому расходу qcрч в сутки со средним водоотведением:
Общие коэффициенты неравномерности зависят от среднего расхода сточных вод: с увеличением среднего расхода qср.с значения Kобщ уменьшаются, а значения Kобщ возрастают (табл. 5.2).

Данные значения коэффициентов неравномерности водоотведения действительны при количестве производственных сточных вод не более 45 % от общего расхода. В остальных случаях, а также в городах с численностью населения 1 млн. и более необходимо руководствоваться данными фактического притока для аналогичных объектов. При промежуточных значениях qср.с общие коэффициенты неравномерности определяют линейной интерполяцией.
Колебания притока бытовых и производственных вод от промышленных предприятий учитывают с помощью коэффициентов часовой неравномерности
где
максимальный и средний часовые расходы бытовых сточных вод от промышленных предприятий, м3/ч;
;
максимальный и средний часовые расходы производственных сточных вод, м3/ч.
Коэффициенты часовой неравномерности бытойых сточных вод на промышленных предприятиях принимают равными для горячих цехов
, для холодных цехов
. Расход душевых сточных вод принимают постоянным в течение 45 мин после окончания каждой смены. Коэффициенты неравномерности притока производственных сточных вод КЧ(пР) зависят от вида выпускаемой продукции и особенностей технологического процесса. При отсутствии натурных данных по определению величины Кч(пр) его значения принимают равными 1,1...1,3.
5.2. Определение расчетных расходов сточных вод
Расчетным расходом сточных вод является максимальный секундный расход, на пропуск которого рассчитывается большинство канализационных сетей и сооружений. В расчетах также используются средние, максимально суточные, часовые и секундные расходы. Обычно суточные QcyT и часовые qч расходы определяют в м3/сут или м^/ч, а секундные расходы qс в л/с. При больших расходах и секундные расходы выражают в м3/с.
• Расчетные расходы бытовых сточных вод от города или района определяют по следующим формулам:

где qcp с среднесуточный расход в час со средним водопотреб-лением, л/с; qmaxc максимальный секундный расход, л/с.
Аналогичным образом могут быть определены минимальный часовой qminч и минимальный секундный qminc расходы:
Максимальный секундный расход от города может быть также определен с помощью модуля стока qa, л/с с 1 га, следующим образом:
где F площадь жилых кварталов, га; плотность населения, чел/га.
Определение средних расходов сточных вод по кварталам города выполняют по расчетной численности населения N (табл. 5.3) либо по модулю стока qa (табл. 5.4).
• Расчетные расходы бытовых сточных вод от промышленных предприятий определяют по формулам:


где N\, N2 число работающих в сутки в холодных и горячих цехах соответственно; N3, N4 то же, в смену; N5, то же, в смену с максимальным числом работающих; Qc расход за смену, м3/см;
коэффициенты часовой неравномерности; Т=8 продолжительность смены, ч.
Расчетные расходы душевых вод определяем по формулам
где qд = 500 л/ч расход воды через одну душевую сетку; m число душевых сеток; Nсм, Nmaxсм число рабочих, пользующихся душем соответственно в рассчитываемую максимальную смену.
Суточный расход сточных вод от душевых равен сумме расходов воды за все рабочие смены.
Расчетные расходы производственных вод определяют по формулам
где М, М1, М2 количество выпускаемой продукции соответственно в сутки, в смену, в максимальную смену; qnp удельное водоотведение производственных сточных вод.
Максимальные расходы бытовых, душевых и производственных вод от промышленного предприятия суммируются и образуют так называемый сосредоточенный расход сточных вод qc, используемый в гидравлическом расчете сети.
Дополнительные расходы сточных вод поступают в сеть в период дождей и снеготаяния. Для сокращения неорганизованного притока атмосферных вод рекомендуется проводить ремонтно-профилактические мероприятия по герметизации основных элементов водоотводящей сети бытовых вод (люки, стенки колодцев, стыки труб и др.). Дополнительный расход проверяют по формуле
где L общая длина водоотводящей сети в зоне затопления атмосферными водами, км; hсут максимальное количество осадков, мм/сут.
Количество сточных вод от малых предприятий города, а также неучтенные расходы принимают в размере 5 % суммарного расхода бытовых вод города.
5.3. Графики колебаний расходов (притока) сточных вод
Практикой эксплуатации водоотводящих систем, а также специальными исследованиями установлено, что неравномерность притока бытовых сточных вод по часам суток особенно велика в городах с малым числом жителей, при отсутствии крупной промышленности и при более низком уровне благоустройства жилого фонда, что в целом соответствует небольшим расходам сточных вод. И, наоборот, в крупных промышленных городах с высокой степенью благоустройства жилого фонда неравномерность притока сточных вод значительно меньше. Это объясняется тем, что наступление максимальных расходов бытовых вод в водоотводящую сеть города по времени не совпадает с поступлением максимальных расходов сточных вод от промышленных предприятий.
Распределение среднесуточного расхода сточных вод по часам суток обычно представляют в виде ступенчатого графика (рис. 5.1) или в табличной форме (табл. 5.5), что делает применяемые методы расчетов более наглядными. При равномерном поступлении сточных вод в течение суток приток за 1 ч составляет 100 % : 24 = 4,17 %. Тогда, например, при qcp с = 50 л/с, Kобщ = 1,7 и Kобщ = 0,55 (см. табл. 5.2) максимальный приток за 1 ч равен 4,17-1,7=7,1%, а минимальный приток 4,17 %-0,55 = 2,3 %, что соответствует данным табл. 5.5. При промежуточных значениях qcp с распределение среднесуточного расхода определяется интерполяцией с помощью табл. 5.5 таким образом, чтобы значения Kобщ и Kобщ соответствовали данным интерполяции по табл. 5.2, а сумма часовых распределений за сутки была равна 100%.
При равномерном поступлении в каждый час смены поступает 100 : 8= 12,5 %. Тогда в первый час поступит 1-12,5=12,5%; в середине смены 1,5-12,5=18,75% (холодные цехи), 1,25-12,5=15,62 % (горячие цехи); в последний час работы смены поступит 3-12,5=37,5% (холодные цехи), 2,5-12,5=31,25% (горячие цехи). Следовательно, за три рассмотренных характерных часа смены от холодных цехов поступит 12,5+18,75+37,5=68,75%, а за каждый из пяти оставшихся часов (100-68,75)/5=6,25 %. Аналогичным образом от горячих цехов за три характерных часа смены поступит 12,5+15,62+31,25=59,37 %, а за каждый из пяти оставшихся часов (100-59,37)/5=8,13%. При семичасовом рабочем дне расчет производится аналогичным образом по среднему притоку 100:7=14.3%.
В табл 5.6 приведено распределние расходов бытовых, душевых и производственных сточных вод от промышленного предприятия в течение одной смены. При расчете водоотводящей сети расчетные расходы в отдельные часы суток определяют путем суммирования максимальны расходов сточных вод и сведения их в табл. 5.7. Графы 10, 11 соотвотствуют ступенчатому, а графы 12, 13 интегральному графикам общего притока городских сточных вод в течение суток.



Глава 6
ГИДРАВЛИЧЕСКИЕ УСЛОВИЯ РАБОТЫ ВОДООТВОДЯЩЕЙ СЕТИ
Гидравлический расчет самотечных сетей заключается в определении диаметров труб, уклонов, скоростей течения и степени наполнения в зависимости от максимальных секундных расходов сточных вод. Транспортирование сточной жидкостью взвешенных веществ (транспортирующая способность потока) и связанные с этим эксплуатационные показатели сетей определяются режимом течения сточных вод и гидравлическими характеристиками самотечных коллекторов.
6.1. Характеры и режимы течения сточных вод
Установившееся движение скорость и давление в любой точке потока жидкости не изменяются с течением времени. Примером установившегося движения является истечение жидкости через трубопровод из бака с постоянным уровнем.
Неустановившееся движение скорость и давление в любой точке потока жидкости изменяются с течением времени. Примером неустановившегося движения является истечение жидкости через трубопровод из бака с переменным уровнем.
Равномерным установившееся движение скорость и давление в любой точке потока жидкости равны и не изменяются с течением времени. Примером равномерного установившегося движения является истечение жидкости через трубопровод из бака с постоянным уровнем (рис. 6.1, а). При этом живые сечения потока по всей длине рассматриваемого участка трубопровода не изменяются, а эпюры скоростей во всех живых сечениях одинаковы.
Равномерное неустановившееся движение скорость и давление в любой точке потока равны, но изменяются с течением времени. Примером равномерного неустановившегося движения является истечение жидкости через трубопровод из бака с переменным уровнем (рис. 6.1,6).
Неравномерное установившееся движение-скорость и давление в различных точках потока различны, но не меняются с течением времени. Примером неравномерного установившегося движения является истечение жикости через трубопровод переменного сечения (например, конический) из бака с постоянным уровнем (рис. 6.1, в).
Неравномерное неустановившееся движение скорость и давление в различных точках потока различны и меняется с течением времени. Примером неравномерного установившегося движения является истечение жидкости через трубопровод переменного сечения из бака с переменным уровнем (рис. 6.1, г)

Рис. 6.1. Примеры напорного движения жидкости:
а равномерное установившееся, б равномерное неустановившееся; в неравномерное установившееся, г неравномерное неустановившееся, т время; z координата длины
Напорным называют движение жидкости без свободной поверхности. Примером напорного движения является движение воды в сплошь заполненной трубе или насадке под избыточным давлением.
Безнапорным или самотечным называют движение жидкости со свободной поверхностью. Примером безнапор
ного движения является движение воды в трубах, работающих неполным сеченнем, а также в каналах и открытых потоках.
Характер течения в водоотводящих сетях определяется наличием целого ряда специфических особенностей: неравномерностью поступления сточных вод по часам суток, увеличением расхода основного потока за счет боковых присоединений, нали чием местных сопротивлений, переменной формой и шероховатостью русла потока. Все это позволяет считать, что движение жидкости в водоотводящей сети не только неравномерное, но и неустановившееся. Такой характер течения, отличающийся наличием кривых подпора и спада свободной поверхности потока, более резко проявляется в трубах малого диаметра (рис. 6.2). В настоящее время гидравлический расчет водоотводящих сетей всех систем проводят по формулам равномерного турбулентного движения.

0,8 0,6
OA
h, см
• Два режима течения жидкости. Критерий Рейнольдса. Установлено, что при определении потерь напора надо различать два режима движения потока жидкости: ламинарный (слоистый), при котором жидкость движется слоями, практически не перемешиваясь, и турбулентный (вихревой), при котором частицы жидкости перемешиваются. В 1883 г. англичанином О. Рей-нольдсом было установлено, что критерий режима течения жидкости (критерий или безразмерное число Рейнольдса Re) определяется из следующего соотношения:
где v характерная (средняя) скорость потока; / характерный поперечный линейный размер потока; v кинематический коэффициент вязкости.

При напорном движении жидкости в круглых трубах за характерный размер обычно принимается внутренний диаметр трубы d, а в остальных случаях гидравлический радиус R или гидравлический диаметр потока dr=4R. Зависимость потерь напора на трение от числа Re характеризуется наличием трех режимов:
ламинарного режима (участок 1-2, рис. 6.3)

турбулентного режима (участок 4-5)

режима перемежающейся, турбулентности (участок 2-4)

Если скорости в напорном трубопроводе возрастают, то ламинарный режим может удерживаться
до точки 3, что соответствует нижнему критическому числу ReKpi« х 1000. При снижении скоростей потока турбулентный режим может удерживаться вплоть до точки 2, что соответствует верхнему критическому числу ReKP2, которое изменяется в довольно широких пределах. В ряде литературных источников отмечается, что границе ламинарного и турбулентного режимов соответствует Re„P=2320. Это упрощает инженерные расчеты, но не вполне соответствует фактической природе процесса. Числа ReKp зависят от шероховатости стенок и формы поперечного сечения потока. Более справедливо соотношение
С учетом этого для круглых труб с относительной гладкостью d/150 (э эквивалентная шероховатость) ReKp = 2000; для гибких трубопроводов (шлангов) ReKp= 1600 для прямоугольных каналов с гладкими стенками ReKp= 1800.
• Линейные потери напора (гидравлический уклон /) или потери напора на трение (см. рис. 6.3) зависят от режима движения жидкости, что выражается уравнением
hтр = bvm,
где b коэффициент, учитывающий влияние размеров трубы, свойств ее стенок и рода жидкости; т показатель степени, учитывающий влияние скорости движения на потери напора; т = tg1 (ламинарный режим, 1 = 45°); т = tg2 (турбулентный режим, 2=60°).
При ламинарном режиме потери напора по длине пропорциональны скорости в первой степени (т = 1), при турбулентном режиме линейные потери напора пропорциональны квадрату скорости (т = 2), в результате перемежающейся турбулентности 1 < m < 2. Для определения удельных потерь на трение или гидравлического уклона / при равномерном движении используют следующие формулы:
где С, , коэффициенты сопротивления трения по длине; R гидравлический радиус.
Идентичность формул (6.2) и (6.3) нетрудно показать, если воспользоваться следующими соотношениями между С и
В турбулентном режиме движения наблюдаются три зоны: гидравлически гладкая, гидравлически шероховатая и переходная (рис. 6.4). Одним из главных параметров является эквивалентная шероховатость стенок русла Аэ высота выступов равномерно-зернистой шероховатости, эквивалентной по потерям на пора данной шероховатости в квадратичной зоне. Наиболее полные исследования по определению коэффициента к впервые были выполнены Никурадзе, который по результатам экспериментальных исследований построил график зависимости lg Re от; lg 100k для труб с различной степенью шероховатости стенок. На графике рис. 6.4 ламинарный режим ограничен справа прямой, в пределах которой к = 64/Re при Re < 2320 (lgRe<3,36). Участок графика 2 при lg Re в границах 3,36...3,60 характеризует быстрый переход от ламинарного режима к турбулентному. Далее начинается прямая 3, характеризующая зависимость к от числа Рейиольдса для гидравлически гладких труб. Вправо от прямой 3 кривые зависимости к от Re расходятся. При этом чем больше шероховатость стенок труб, тем выше они располагаются.

Для очень больших чисел Рейнольдса (Re>100000) имеет место автомодельная область, в которой величина к перестает зависеть от числа Re. В этой области определяется только относительной шероховатостью стенок трубопровода }/d в соответствии с формулой = 0,1 (2,/d)0,25.
• Гидравлически гладкая зона наблюдается в том случае, когда эквивалентная высота выступов шероховатости стенок русла значительно меньше толщины пристеночного (ламинарного) слоя жидкости. Коэффициент сопротивления по длине (коэффициент Дарси) в данной зоне определяют по формуле
Эта формула, предложенная П. К. Конаковым в 1946 г., дает хорошее совпадение с результатами 125 опытов Никурадзе с гладкими трубами. Анализ формулы (6.4) показывает, что в данной зоне шероховатость стенок русла не оказывает влияния на характер движения жидкости.
Для данного случая коэффициент может быть также определен по формуле Блазиуса-Шевелева:
где 1 =0,316 (по Блазиусу), 1 0,021 (по Шевелеву); п = 0,25 (по Блазиусу), п = 0,3 (по Шевелеву).
Гидравлически шероховатая зона наблюдается в том случае, когда эквивалентная высота выступов шероховатости стенок русла заметно превышает толщину пристеночного слоя жидкости. Коэффициент сопротивления по длине в данной зоне определяют по формуле

Эта формула, предложенная А. В. Тепловым, имеет хорошую сходимость с результатами опытов Никурадзе, который исследовал трубы с равномерно-зернистой шероховатостью. Анализ формулы (6,6) показывает, что в гидравлически шероховатой зоне вязкость жидкости не оказывает влияния на характер движения. Эту зону обычно называют квадратичной, поскольку в ней в полном соответствии с формулой Дарси Вейсбаха потери напора по длине прямо пропорциональны квадрату скорости.
Переходная зона наблюдается в том случае, когда эквивалентная высота выступов шероховатости стенок русла близка к толщине пристеночного слоя жидкости. Коэффициент сопротивления по длине в данной зоне с достаточной точностью определяют по формуле А. Д. Альтшуля:

Анализ формулы (6.7) показывает, что в переходной зоне на характер движения влияют шероховатость стенок русла и вязкость жидкости.
Для расчета напорной водоотводящей сети во всех трех зонах турбулентного режима применима формула Н. Ф. Федорова

где a2 безразмерный коэффицент, учитывающий характер шероховатости материала труб.
Формула Н.Ф. Федорова для расчета самотечной водоотводящей сети приводится ниже.
• Местные сопротивления вызывают подпоры в водоотвода^ щей сети, что снижает скорость потока и вызывает быстрое, заиление трубопроводов. Наиболее резкое снижение скорости при безнапорном движении происходит на участках перед поворот-, ными и узловыми колодцами. Поэтому при гидравлическом рас-' чете самотечных коллекторов диаметром более 500 мм на пово-j ротах, при слиянии потоков в тех случаях, когда диаметр npncoef динения не менее 350 мм и имеются перепады на основном кол-' лекторе, рекомендуется учитывать местные сопротивления:

где V1,V2 скорости потока до и после местного сопротивления-соответственно; g коэффициент местного сопротивления.
Практически местные потери напора в поворотных колодцах составляют 1,5. .3 см, а в узловых колодцах или камерах 2...6 см в зависимости от расходов, скорости течения и углов сопряжения потоков. Поэтому в поворотных колодцах целесообразно увеличивать уклон лотка в среднем на 2 см, а в узловых камерах понижать лоток основного коллектора в среднем на 3 см. Исследования местных сопротивлений на самотечных водоотводящих сетях проводились С.К. Колобановым, Н.Ф. Федоровым, И.В. Сахаровым и освещены в специальной литературе.
6.2. Гидравлические характеристики самотечных коллекторов
• Формы поперечных сечений. Свыше 90 % протяженности всех водоотводящих сетей выполняют из труб круглого сечения. Круглые трубы наиболее экономичны по затратам материала, технологичны при изготовлении, удобны при строительстве н эксплуатации, обладают лучшими гидравлическими характеристиками. Различные формы поперечных сечений труб и каналов представлены на рис. 6.5. Трубы и каналы различных форм поперечных сечений можно подразделить на сжатые (рис. 6.5, б, в) и вытянутые (рис. 6.5, д, е,ж,з). Трубы и каналы вытянутых сечений целесообразно применять при больших колебаниях расходов и наполнений, а также при повышенных заглублениях. Эти трубы и каналы удобно прокладывать в стесненных условиях, когда требуется разработка более узких траншей. Каналы сжатых сечений удобно применять при небольших колебаниях расходов сточных вод и наполнений, а также при малых заглублениях трассы. Банкетное сечение каналов целесообразно для отвода стоков с большими колебаниями расходов, например в системе общесплавной канализации. Каналы открытых сечений, прямоугольных или трапецеидальных, обычно применяют для отвода дождевых вод при неполной раздельной системе или на территории очистных сооружений.
• Гидравлический радиус важная характеристика трубопровода или канала, определяемая из соотношения
R=/
где площадь живого сечения; смоченный периметр.

Рис. 6.5. Формы поперечных сечений самотечных труб н каналов:
а круглое, б - полукруглое, в шатровое, г банкетное, д яйцевидное (овондальное), е эллиптическое, ж полукруглое с прямыми вставками; э яйцевидное перевернутое, и лотковое, к пятиугольное, л прямоугольное, м трапецеидальное
В соответствии с формулой Шези

где С коэффициент Шези; J уклон дна трубопровода или канала; при постоянных значениях СиJ чем выше значения R, тем выше скорость потока V. Для круглого сечения справедливы следующие соотношения:
при половинном наполнении (h/d = 0,5)

при полном наполнении {h/d= 1)

Таким образом, гидравлические радиусы круглого сечения при половинном и полном наполнениях равны. Скорость потока достигает максимальных значений при h/d = 0,813, когда R=0,307d. Интересно, что максимальный расход при круглом сечении соответствует наполнению h/d = 0,95.
Гидравлически наивыгоднейшим называют сечение канала, имеющее наименьший смоченный периметр при заданной площади живого сечения. Это также означает, что при заданных значениях площади живого сечения, шероховатости и уклона дна через данный канал пройдет наибольший расход. Из всех сечений с одинаковой площадью наименьший периметр имеют круг и полукруг. Прямоугольное сечение канала является гидравлически наивыгоднейшим при b/h=2, где b - нижняя ширина канала, h - глубина потока.
Трапецеидальное сечение канала является гидравлически наивыгоднейшим при соотношении

где m = ctgaкоэффициент заложения откоса, или котангенс острого угла между линией откоса и горизонтальной линией. Соотношения b/h для различных значений т приведены ниже:
т 0,1 0,25 0,5 0,75 1 1,5 2 2,5 3 4
b/h 1,8 1,56 1,24 1 0,83 0,61 0,47 0,38 0,32 0,25
Параметры четырех гидравлически наивыгоднейших сечений представлены в табл. 6.1.

Степенью наполнения труб и каналов h/d называют максимально допустимое отношение рабочей глубины потока сточных вод А к диаметру поперечного сечения d. Степень наполнения самотечных труб нормируется с целью вентиляции сети и компенсации неучтенных колебаний уровня жидкости. Наполнение, соответствующее пропуску расчетного расхода, является расчетным.
Из экономических и гидравлических соображений ие рекомендуется принимать для любых диаметров труб (кроме начальных участков сети) h/d < 0,5. В соответствии с требованиями СНиП 2.04.0385 максимальную степень наполнения назначают в зависимости от диаметра:
d, мм 150...250 300...400 450...900 1000 и более
h/d 0,6 0,7 0,75 0,8
Возрастание максимального наполнения с увеличением диаметра труб объясняется уменьшением амплитуды колебании в притоке сточных вод.
В общесплавной и дождевой системах водоотведения расчетное наполнение принимают обычно полным (h/d « 1), так как дожди расчетной интенсивности выпадают крайне редко.
• Скорости и уклоны. Расчет водоотводящих сетей всех систем должен производиться с учетом допустимых номинальных

Рис. 6.6. Характер распределения скоростей течения сточной воды в поперечном (а) и продольном {б) сечениях круглого частично заиленного коллектора диаметром 1400 мм
(неэаиливающих) и максимальных (неразрушаюших) скоростей протока сточных вод. В реальном поперечном сечении коллектора скорость течения в отдельных точках (местные скорости) значительно отличается от средней (рис. 6.6), в середине (ядре) и ближе к свободной поверхности они значительно выше, чем у стенок к дна.
Среднюю скорость течения в потоке определяют по формуле

Донной скоростью называют наименьшую местную скорость потока в придонном слое. Значение этой скорости в значительной степени определяет динамику горизонтального перемещения от< ложений в лотках труб.
Поверхностной скоростью называют наибольшую местную скорость потока в его поверхностном слое, близком к горизонт тальной оси трубы.
Максимальной скоростью называют наибольшую усредненнук>; по сечению коллектора скорость, допустимую по соображениям,' сохранения механической прочности труб от истирания. Максим мальные скорости назначают в зависимости от материала труб" и типа системы водоотведения. Их следует принимать, м/с: для металлических труб 8, для неметаллических 4, для дождевой сети соответственно 10 и 7.
Минимальной скоростью (самоочищающей, незаиливающей или критической) называют наименьшую усредненную по сече» нию коллектора скорость, при которой в результате совместного действия поперечных пульсаций и продольного движения жидкости обеспечивается устойчивый транспорт легких и смыв осевших примесей. Аналитическое определение минимальных самоочи1-щающих скоростей является сложной задачей. Для ее практического решения предложен ряд полуэмпирических формул:

где m (3,5...0,5)R ; R гидравлический радиус, м; u0гидравлическая крупность песка (скорость осаждения частиц песка размером 1 мм равна 0,1 м/с); n1 коэффициент шероховатости стенок трубы; у эмпирическая константа.
При небольших диаметрах труб эти формулы дают близкие результаты.
Рекомендации СНиПа по выбору минимальных самоочищай-щих скоростей даны в табл. 6.2. Минимальную скорость движения осветленных, биологически очищенных или условно чистых производственных сточных вод в трубах и каналах принимают равной 0,4 м/с.

Расчетной скоростью называют усредненную по сеченНю коллектора скорость при максимальном (расчетном) расходе сточных вод и расчетном наполнении. Расчетную скорость следует назначать в пределах между максимальными и минимальными скоростями течения. Расчетную скорость движения неосветлен-ных сточных вод в дюкерах необходимо принимать не менее 1 м/с.
Минимальные Jmin и максимальные Jmax уклоны наиболее точно определяются с помощью формулы Дарси для самотечных трубопроводов после подстановки в нее значений минимальной (самоочищающей) скорости Vmin н максимальной (неразрушаю-щей) скорости Vmax:

где R гидравлический радиус трубы при расчетном наполнении.
Коэффициент сопротивления для безнапорного течения находят по формуле Н.Ф. Федорова, учитывающей различную степень турбулентности потока в гладкой, шероховатой и переходной областях движения:
где Аэ коэффициент эквивалентной (абсолютной) шероховатости, в зависимости от материала труб равный 0,012...0,14 см; а2 = 80...Ю0 безразмерный коэффициент, учитывающий характер шероховатости материала труб; Re = 4RV/ число (критерий) Рейнольдса (v кинематическая вязкость сточной жидкости), в диапазоне температур Ю...20°С н при содержании взвеси 100...300 мг/л равное 0,01...0,014 см2/с
Значения гидравлического радиуса R для круглых самотечных труб приведены ниже:
R . . 0,25 0,27 0,28 0,29 0,295 0,3 0,3 0,307 0,3 0,3 0,29 0,25
h/d 0,5 0,55 0,6 0,65 0,7 0,75 0,8 0,813 0,85 0,85 0,95 1
Значения R, найденные по формуле (6.13), для vmm = 0,7 м/с равны 0,031, для ymax = 4 м/с Я « 0,28. С учетом этого по формуле Дарен могут быть определены минимальные и максимальные уклоны. Так, для трубы диаметром 400 мм при наполнении h/d = 0,5 минимальный уклон (самоочищающая скорость vmin = = 0,8 м/с, R = 0,25d = 0,25-0,4 = 0,1 м) равен

К аналогичным результатам приводит и использование распространенного соотношения для определения минимального
уклона /min = \/d, если при этом h/d = 0,5 или 1,0. »
Найденный по данной методике максимальный уклон для трубы диаметром 500 мм при наполнении h/d = 0,75 (vmax = 4 м/с, R = 0,3d = 0,3·0,5 = 0,15 м) равен

Из опыта эксплуатации известно, что при диаметрах самотечных труб свыше 300 мм число засорений сравнительно мало, а при диаметрах свыше 500 мм при различных уклонах засоры большая редкость. По нашему мнению, минимальные скорости и уклоны для диаметров 200, 250, 300 мм надо принимать на 15, 10, 5 % соответственно выше рекомендованных СНиПом, что позволит сократить число их засорений. Вместе с тем некоторое увеличение скоростей и уклонов на начальных участках сети при правильной трассировке обычно не приводит к снижению эффективности проектного решения.
6.3. Формулы и таблицы для гидравлического расчета
Расчет водоотводящих сетей производят из условия равномерного движения жидкости в трубах по двум основным формулам:
где q расход жидкости, м3/с; С коэффициент сопротивления' трения по длине.
Наиболее распространенные таблицы для гидравлического расчета водоотводящих сетей составлены А. А. Лукиных и Н. А. Лукиных по формуле акад. Н. Н. Павловского:
где
; п коэффициент шероховатости самотечных коллекторов, выполняемых из керамики, бетона и железобетона, равный 0,014 (п = 0,0392Уэ).
Объединяя формулы (6.16) ...(6.18), получим зависимости, положенные в основу таблиц:

где Kv скоростная характеристика трубопровода, м/с; Кq то же, расходная, м3/с
В гидравлических расчетах довольно часто используют более простую формулу Маннинга, являющуюся частным случаем фор-мулы Н. Н. Павловского:

С использованием формулы Маннинга зависимости (6.19) и (6.20) упрощаются:

Можно показать, что с изменением уклона самотечной трубы и при сохранении остальных гидравлических параметров ее работы (диаметр, наполнение, гидравлический радиус) имеют место следующие расчетные соотношения для определения изменившихся расходов и скоростей:
Qilq\ = -уДгЛДг. 42 = qvJh/J\ ; (6.24)
ог/oi = лДг/УЯ; V2 = у1Л//2//, . (6.25)
Аналогичным образом при сохранении постоянного уклона самотечной трубы, но при изменении характеристик ее сечения (диаметр, наполнение, гидравлический радиус) указанные соотношения примут другой вид:
где Kq1, Kq2 и Кv1, Kv2 соответственно расходные и Скоростные характеристики сравниваемых сечений.
Иногда при гидравлических расчетах трубопроводов пользуются таблицами Н.Ф. Федорова, в которых учитывается изменение вязкости сточных вод в зависимости от содержания в них взвеси. Кроме таблиц иногда используют графики или номограммы, которые, как правило, сложны и дают приближенные результаты.
Глава 7
ПРОЕКТИРОВАНИЕ СЕТЕЙ ВОДООТВЕДЕНИЯ
7.1. Бассейны водоотведения и трассировка сети
Трассировка является одним из важнейших этапов проектирования водоотводящих сетей населенных мест, который обычно начинается с установления границ бассейнов водоотведения. Бассейны водоотведения определяются в зависимости от рельефа местности с учетом вертикальной планировки таким образом, что границы отдельных бассейнов обычно соответствуют линиям водоразделов. Площадка очистных сооружений и место выпуска очищенных сточных вод располагаются за чертой населенных мест вниз по течению реки. Районные коллекторы обычно трассируются по тальвегам, а главный (перехватывающий) коллектор, отводящий сточные воды на очистные сооружения, вдоль берега водоема. Определяющим условием трассировки водоотводящих сетей является обеспечение в них самотечного движения сточных вод при минимальных объемах земляных работ. Это достигается в тех случаях, когда уклоны самотечных трубопроводов совпадают с уклонами поверхности земли. Варианты трассировки главных коллекторов водоотводящих сетей для городов, расположенных по одному и двум берегам реки, представлены на рис. 7.1.

Варианты трассировки (рис. 7.1, а, г, д, ж) характерны для условий, когда максимальное заглубление главного коллектора сравнительно невелико (до 8 м) и его прокладка осуществляется в сухих или слабообводненных грунтах. Если участок главного коллектора от начальной точки до главной насосной станции называется плечом, то такие главные коллекторы являются одноплечими. Подобные варианты наиболее экономичны в тех случаях, когда город имеет небольшую протяженность вдоль реки, основные расходы сточных вод от уличных коллекторов сосредоточены в начальной части главного коллектора, а уклон местности совпадает с его направлением и способствует минимальным заглублениям. Рассмотренные варианты трассировки могут быть дополнены решением, когда главные насосные станции удается располагать в пределах очистных станций, что упрощает их эксплуатацию. Дополнительным преимуществом данного решения является возможность применения шнековых водоподъемников, что позволяет экономить электроэнергию и избегать трудностей, связанных с эксплуатацией решеток.
Варианты трассировки (рис. 7.1,6, в, е, з) целесообразны в тех случаях, когда город имеет большую протяженность вдоль реки, а сравнительно высокий уровень грунтовых вод затрудняет прокладку коллектора глубокого заложения. Использование при этом трассировки с одноплечими главными коллекторами вызывает необходимость устройства промежуточных станций подкачки, что увеличивает эксплуатационные затраты и снижает надежность работы системы водоотведения в целом. Если часть самотечного главного коллектора трассируется к главной насосной станции в направлении, совпадающем с течением реки, а другая часть в направлении, противоположном течению реки, то такие главные коллекторы являются двуплечими. Экономический анализ показывает, что подобная трассировка позволяет уменьшить заглубление сети, избежать устройства промежуточных насосных станций подкачки, а также уменьшить диаметры главных коллекторов за счет сокращения транзитных расходов сточных вод. Некоторое увеличение протяженности напорных трубопроводов, а также неудобства от расположения главной насосной станции в черте городской застройки с избытком окупаются при использовании данного способа трассировки.
Варианты трассировки (рис. 7.1, в, г, ж, з) характерны для городов, имеющих двускатный рельеф местности относительно речной долины. Районные насосные станции, обслуживающие районы города на обратном скате местности, в свою очередь могут располагаться в конце районного одноплечего коллектора или в промежуточной части двуплечего коллектора. В обоих случаях сточные воды от районной насосной станции по напорным водоводам через камеру гашения напора поступают в самотечный уличный коллектор и по нему к главной насосной станции.
___________________________________________________________________________
Рис 7 1 Варианты трассировки главных коллекторов водоотводящих сетей'
/ граница объекта; 2 главный коллектор левобережной части города, 3 главная насосная станция, 4 напорные трубопроводы, 5 очистные сооружения; 6 выпуск очищенных стоков; 7 самотечный коллектор, 8 водораздел; 9 районный коллектор'левобережной части города, 10 районная насосная станция, // камера гашения напора, 12 главный коллектор правобережной части города, 13 дюкер, 14 районный коллектор правобережной части города

Изложенные выше рекомендации по трассировке главных коллекторов водоотводящих сетей затрагивают наиболее характерные планировочные решения городов и не Являются универсальными. В реальных случаях обычно рассматривается несколько вариантов трассировки, число которых может быть сокращено с помощью данных рекомендаций. Окончательное решение принимается на основании технико-экономического сравнения конкурентных вариантов с учетом расчетных периодов эксплуатации и оценки надежности водоотводящей системы в целом.
Заключительный этап трассировки сети начертание уличных коллекторов с целью отвода воды от каждого квартала (микрорайона) застройки в зависимости от рельефа местности и размеров кварталов, осуществляется по следующим схемам:
-объемлющая (рис. 7.2, а), когда уличные коллекторы охватывают квартал с трех (или более) сторон; эту схему применяют при плоском рельефе или небольшом уклоне местности (до 0,007), когда квартал имеет значительные размеры;
-по пониженной стороне квартала (рис. 7.2,6), когда рельеф местности имеет ярко выраженный уклон (более 0,007) к одной или двум сторонам квартала;
-внутриквартальная (рис. 7.2,в), когда детальная планировка -кварталов выполнена с учетом условий эксплуатации сетей; такая схема позволяет значительно сокращать протяженность самотечных трубопроводов, однако более сложна в эксплуатации.
7.2. Расчетные расходы для участков сети
Определение расчетных расходов сточных вод на отдельных участках водоотводящей сети возможно двумя методами: по прилегающим (тяготеющим) площадям / и по удельному расходу на единицу длины трубопровода 2. Второй метод, широко применяющийся при расчете наружных водопроводных сетей, при расчете водоотводящих сетей используется редко, так как дает заметную погрешность в определении расчетных расходов иа начальных участках сети.
При вычислении расчетного расхода сточных вод для отдельных участков сети используют понятия транзитного, бокового, попутного и сосредоточенного расходов. Кварталы (микрорайоны) городской застройки разбивают на бассейны водоотведения по правилу биссектрисы угла (рис. 7.3). Транзитный расход q1 на данный расчетный участок поступает от вышележащих учаем ков главного коллектора. Попутный расход q2 в расчетные участок поступает рассредоточенно по его длине, однако в целях упрощения расчета и создания некоторого запаса в расчете erg условно считают присоединенным в начале участка. Боковом расход q3 поступает в начало расчетного участка от бокового! присоединения с одной или двух сторон. Общий средний расхож на данном участке qcpс=q1+q2+q3 при умножении на Кобщ превращается в расчетный расход qmaxc = Kобщqсрс Если в начало данного расчетного участка наряду с расходами от жилой: застройки поступает сосредоточенный расход qc от промышлен-J ного предприятия, то расчетный расход равен qmaxc = Kобщqсрс+qc, Сосредоточенный расход qc для всех последующих участков становится транзитным. Результаты определения расчетных расходов на участках главного коллектора с точки 1 до очистных сооружений сводятся в табл. 7.1.


7.3. Определение глубины заложения трубопроводов
При проектировании водоотводящих сетей различают минимальную, максимальную и начальную глубины заложения сети.
Минимальная глубина заложения труб при диаметре труб до 500 мм на 0,3 меньше глубины промерзания грунта в данном районе, а при диаметре труб свыше 500 мм на 0,5 м меньше глубины промерзания.
Глубина промерзания грунта, см, на территории России приведена ниже:


Во всех случаях из условия предохранения труб и разрушения под действием внешних нагрузок заглубление должно быть не менее 0,7 м до верха трубы. При условии проезда тяжелого наземного транспорта это значение должно быть увеличено до 1,5 м.
Максимальная глубина заложения трубопроводов прн открытом способе прокладки сетей зависит от характера грунтов, уровня грунтовых вод и материала труб. В нормальных сухих грунтах ее принимают в пределах 7...8 м, в мокрых и плывунных 5...6 м, в скальных 4...5 м. При закрытом способе производства работ (щитовая проходка) максимальная глубина заложения может достигать 15...30 м, однако стоимость строительства закрытым способом существенно выше стоимости строительства открытым способом и требует дополнительных обоснований.
Начальная глубина заложения уличной сети в диктующей точке главного коллектора (точка /) Н, м (рис. 7.4), определяется по формуле
где h минимальная глубина заложения трубопровода в начальном колодце (дворовой внутриквартальиой сети), м; L длина дворовой сети от начального до контрольного колодца, м; / расстояние от контрольного колодца до начального колодца (точка /) уличного коллектора, м; z\, z2 отметки поверхности земли у колодца уличной сети (точка /) и начального колодца дворовой сети соответственно, м; d разница диаметров труб дворовой и уличной сетей, м; / уклон дворовой или внутри-квартальной сети, принимаем i' = 0,007...0,01 для d=150 мм, / = 0,005...0,007 d = 200 мм.
Если сумму членов формулы (7.1), не зависящую от отметок поверхности земли, обозначить h\, то при уклоне поверхности земли, не превышающем уклон дворовой сети, ее можно представить следующим образом:
В тех случаях, когда z2 > Zt, Н= h1 - z; при z2 < zi H = hi + z; при Z2 = zi H = h1. Если уклон дворовой или внут-риквартальной территории превышает уклон сети, то ее прокладывают параллельно поверхности земли, руководствуясь условием Hh.

Рис. 7 4. К определению начальной глубины заложения уличной сети:
/ внутриквартальная или дворовая сеть; 2 выпуск, 3 стояк внутренней сети; 4 вытяжка; 5 дорожное покрытие, 6 колодец уличной сети; 7 уличный коллектор (начальный участок главного коллектора); 8соединительная линия; 9 контрольный колодец; 10 колодцы дворовой сети
Диктующими точками на трассе главного коллектора помимо начальной также являются точки, требующие проверки на величину минимального заглубления и в ряде случаев обусловливающие дополнительные заглубления. Эти точки обычно находятся в местах присоединения к главному коллектору уличных коллекторов более глубокого заложения или обслуживающих отдаленные участки города.
7.4. Высотная схема (профиль) водоотводящей сети
Высотное проектирование водоотводящих сетей предусматривает обеспечение наилучших гидравлических условий ее работы в сочетании с минимальным объемом приведенных затрат, а также надежности и долговечности.
Важным этапом проектирования сети является определение диктующих точек главных коллекторов начальных и наиболее удаленных точек на схеме сети. При наличии различных вариантов выбора равноудаленных диктующих точек предпочтение следует отдать самой иизко расположенной, так как в этом случае обеспечивается самотечное присоединение всех боковых веток (уличные коллекторы) к главному коллектору.
Гидравлический расчет сети производят, как правило, с помощью таблиц или реже с помощью номограмм. Наибольшее распространение получили таблицы А. А. Лукиных и Н. А. Лукиных. Расчет сетей по этим таблицам сводится к определению диаметров, наполнений и уклонов трубопроводов в зависимости от максимальных (расчетных) расходов сточных вод на данном участке (см. Приложение 8). Назначаемые при этом диаметры должны быть согласованы с сортаментом выпускаемых промышленностью труб, который в свою очередь зависит от материала труб н ГОСТа на их изготовление. Предпочтительные диаметры неметаллических труб, мм, при этом следующие: 200, 250, 300, 350, 400, 500, 600, 800, 1000, 1200, 1400, 1600, 2000, 2400. Расчетные наполнения не должны превышать максимально допустимые для конкретных диаметров труб и не должны быть ниже 0,5 по экономическим соображениям. Уклоны трубопроводов должны обеспечивать режим самоочищающих скоростей иа расчетных участках, при этом уклоны не назначаются ниже минимальных.
При резком снижении скорости происходит выпадение взвешенных частиц из потока сточных вод, поэтому при выборе уклонов сети надо стремиться к плавному возрастанию скорости потока от начала сети к ее концу. Крайне нежелательно уменьшать скорости иа последующих участках на нижнем пределе самоочищающих скоростей это вызывает дополнительные эксплуатационные затраты по очистке сети. Снижение скорости потока без ухудшения условий эксплуатации сети возможно на 15...20% при ее значениях более 1,5 м/с.
Рассмотрим характерные примеры высотного проектирования сети (рис. 7.5).
При уклоне поверхности земли /„, равном или близком к расчетному уклону irp трубопровода (рис. 7.5, а), сеть прокладывают параллельно поверхности земли, в связи с чем заглубление сети остается постоянным.
При уклоне поверхности земли, меньшем расчетного уклона трубопровода (рис. 7.5,6), включая случай (рис. 7.5, в), когда уклон местности отсутствует, а также случай (рис. 7.5, г), когда местность обладает обратным уклоном, заглубление сети возрастает от начала участка к его концу. Поэтому целесообразно расчетный уклон трубопровода назначать возможно ближе к минимальному, обеспечивающему режим самоочищающих скоростей.
При уклоне поверхности земли, превышающим максимальный уклон трубопровода, необходимо устройство перепадного колодца, чтобы заглубление сети было не ниже ftmin (рис. 7.5, д), В ряде случаев целесообразно альтернативное решение (рис. 7.5, е), когда допустимый уклон сети может быть повышен путем использования металлических труб меньшего диаметра.
Наименьшие диаметры труб самотечных сетей следует принимать: для уличной сети 200 мм, для внутриквартальной сети бфтовой и производственной канализации 150 мм.

Рис. 7.5. Варианты высотной прокладки трубопроводов при различных уклонах поверхности земли и начальных заглублениях сети
При малых расходах в начальных участках сети, особенно при плоском или слабовыражениом рельефе местности, обычно не удается обеспечить самоочищающие условия ввиду низких наполнений труб. Такие участки сети, прокладываемые с минимальными уклонами, принято считать безрасчетными.
Условия взаимного высотного расположения сетей водоотведения и водоснабжения представлены на рис. 7.6.
В практике проектирования используют два метода сопряжения труб по высоте в узловых смотровых колодцах: «шелыга в шелыгу» и «по уровням воды» (рис. 7.7). Известными величинами при решении данных задач являются диаметры труб d\, d2, м, наполнения (h/d)\, (h/d)2, отметка лотка подводящего трубопровода z\, м. Определению подлежат отметка лотка отводящего трубопровода Z2, м, отметки сопрягаемых уровней воды X, Х\, Х2, м.
При соединении трубопроводов способом «шелыга в шелыгу» (по верхней части труб) (рис. 7.7, а) искомые величины находят следующим образом:

При этом справедливо следующее соотношение:

В тех случаях, когда х\х2=0 при d2[l(h/d)2] = d\[ 1(h/d)i], способы сопряжения «шелыга в шелыгу» и «по уровням воды» дают одинаковые результаты.
При соединении трубопроводов одинакового диаметра способом «по уровням воды» (рис. 7.7, б) искомые величины находят следующим образом:

При соединении трубопроводов различного диаметра способом «по уровням воды» (рис. 7.7, в) искомые величины находят по формуле

Таким образом, высотное сопряжение труб одинакового диаметра, но разного наполнения способом «по уровню жидкости», во избежание подпора является обязательным. Из двух методов соединения труб разного диаметра предпочтителен способ «по уровням воды», при котором заглубление коллектора получается меньшим.
Результаты гидравлических расчетов и высотного проектирования главного коллектора сводят в табл. 7.2.

Продольный профиль обычно выполняют в двух масштабах: горизонтальном или масштабе генплана, т. е. 1:5000 или 1:10000, и вертикальном, равном 1:100. Отметки земли на профиле фиксируют с точностью до 0,01 м, а лотков труб до 0,001 м. При переходе профиля с меньшего уклона на больший 166 допускается уменьшение диаметра труб, но не менее 250 мм, причем для труб диаметром до 300 мм уменьшение не должно превышать одного интервала по сортаменту, а для труб диаметром более 300 мм двух интервалов. Узловые колодцы минимального заглубления на главном коллекторе должны быть проверены на возможность бокового присоединения к ним уличных сетей. Расчетная скорость бокового присоединения не должна быть выше расчетной скорости основного коллектора. При больших уклонах боковых веток на них перед присоединением к главному коллектору необходимо устраивать перепадные колодцы. На профилях движение сточных вод от начальных участков к конечным принято ориентировать слева направо.
7.S. Пример расчета водоотводящей сети города
Исходные данные. Требуется запроектировать водоотводя-щую сеть города, расположенного в центре европейской части России, на территории которого кроме жилых микрорайонов находится промышленное предприятие. Город (рис. 7.8) расположен в месте впадения в реку ее притока, занимая оба берега реки и территорию образовавшейся стрелки. Рельеф местности по берегам реки односкатный с уклоном к реке, территория стрелки имеет ярко выраженный водораздел с уклоном как в сторону реки, так и ее притока. Площадка очистных сооружений расположена на правом берегу реки на 800 м ниже границы (створа) городской застройки.

По степени благоустройства и плотности населения город делится на три района: I (микрорайоны 1 13), р = 380 чел/га, п = 350 л/чел-сут); II (микрорайоны 1427), р = 400 чел/га, п = 300 л/чел • сут); III (микрорайоны 2840), р = 420 чел/га, п = 300 л/(чел-сут).
В городе находится промышленное предприятие, работающее по двухсменному графику. Число рабочих на предприятии 5000 человек, в том числе 3000 человек, в максимальную смену. В холодных цехах работает 60 % от общего количества рабочих. Количество производственных сточных вод 4000 м3/сут с расходом сточных вод в максимальную смену 2400 м3 при общем коэффициенте неравномерности, равном 1,2. Количество душевых сеток 80.
• Трассировка сети. Принимаем полную раздельную систему водоотведения по пересеченной схеме с двуплечей трассировкой главных коллекторов в каждом из трех районов города. Сточные воды II района города переводятся через реку на территорию стрелки с помощью дюкера (участок 6-7), где они в точке 8 соединяются со сточными водами I района. Далее стоки I и II районов с помощью самотечного перехода (участок 8-9) пересекают русло притока реки, в точке 9 к ним присоединяются сточные воды III района города. Участок 9-ГНС должен быть рассчитан на пропуск суммарного расхода сточных вод города и промышленного предприятия. От главной насосной станции сточные воды по двум напорным водоводам одинакового диаметра поступают на очистные сооружения. Перед дюкером и главной насосной станцией предусматриваются аварийные выпуски.
Водоотводящие уличные коллекторы трассируются по каждой продольной и поперечной улице города с учетом рельефа местности. Сточные воды от промышленного предприятия присоединяются к главному коллектору в точке 3.
Расчетные расходы сточных вод. В табл. 7.3 приводится ведомость площадей стока в соответствии с планировкой города и номерами микрорайонов. В ведомость также заносятся площади микрорайонов, плотность населения и нормы водоотведения (графы 2, 3 и 5 соответственно). Расчетную численность населения /V (графа 4) на примере микрорайона 7 определяют по формуле
N = Fp = 25 • 380 = 9500 человек.

Средние расходы Qcp, <7cp (графы 6, 7) на примере того же микрорайона определяют по формуле

Таким образом, расходы сточных вод, л/с от I, II н III районов города 569,1, 637,3; 437 соответственно, что в целом по городу составляет 1643,4 л/с.
Переходя к определению расхода сточных вод от промышленного предприятия, в соответствии с исходными данными вычислим количество работающих в максимальную смену в холодных цехах: 3000-0,6 = 1800 человек. Тогда в горячих цехах в максимальную смену работает 3000 1800 = 1200 человек.

Для расчетов выбираем плечо главного коллектора, прокладка которого осуществляется с наибольшими заглублениями и, таким образом, является диктующим для других присоединений. Как следует из предварительных расчетов, диктующим является плечо 1-2-3-4-5-6-7-8-9-ГНС (главная насосная станция) - ОС (очистные сооружения) с дюкером на участке 6-7 и переходом на участке 8-9. Цифра, обозначающая начало участка, ставится только в месте присоединения к сети бокового (сосредоточенного) расхода от жилой застройки или от промышленного предприятия и не ставится на простых поворотах трассы главного коллектора.
В тех случаях, когда визуальным путем не удается определить диктующее плечо главного коллектора, необходимо рассчитывать заглубления по всем его плечам и в точках слияния определять значения наибольших заглублеций.

Определяем площади стока, тяготеющие к отдельным участи кам сети и обозначенные индексами а, б, в, г, д. Общий средний! расход для каждого участка складывается из транзитного, попут-j ного и бокового расходов. При этом общий средний расход от данного участка сети является транзитным для соседнего нижележащего участка. В табл. 7.4 приводятся результаты определения расходов сточных вод для участков сети. Каждый участок се-{ ти должен быть рассчитан на пропуск сточных вод, поступающих) по его длине, а также от вышележащих участков. При расчете принимают, что путевой расход поступает в начальной точке каждого участка это создает дополнительный резерв пропускной способности главного коллектора. Коэффициент неравномерности Кобщ (графа 7) определяют методом интерполяции по табл. 5.2 с учетом средних расходов. Проверкой правильности проведенных расчетов является равенство общего среднего расхода на участке ГНС-ОС (графа 6) и суммарного среднего расхода от города по табл. 7.4.
• Профиль главного коллектора. Гидравлический расчет главного коллектора оформляют в виде табл. 7.5, графы 1, 2, 3, 9 н 10 которой заполняют на основании предшествующих расчетов и исходных данных. Минимальный диаметр водоотводящей сети 200 мм. Диаметры неметаллических труб, выпускаемых промышленностью от 200 до 400 мм, идут через 50 мм, от 500 до 600 мм через 100 мм, от 600 мм до 1600 мм через 200 мм, от 2000 до 2400 мм и более через 400 мм, образуя следующий предпочтительный ряд диаметров: 200250300350400 500600800 1000 1200 1400 1600 180020002400 мм. В соответствии с этим выбор труб диаметром, например 550 мм, является ошибкой; не следует также в самотечных сетях использовать диаметры 700, 900 и 1100 мм, так как такие неметаллические трубы отечественная промышленность не выпускает.
Гидравлический расчет главного коллектора выполняют с использованием сокращенных таблиц гидравлического расчета (см. Приложение 8), а при их недостаточности с использованием «Таблиц для гидравлического расчета канализационных сетей и дюкеров по формуле акад. Н. Н. Павловского» А. А. Лукиных и Н. А. Лукиных или таблиц Н. Ф. Федорова. Участки главного коллектора 1-2 и 2-1 являются верховыми" со средним уклоном местности, близким к 0,01. В этом случае уклоны трубопроводов назначают таким образом, чтобы начальное заглубление коллектора 2,5 м изменялось незначительно. На остальных участках коллектора уклоны трубопроводов назначают близкими к минимальным при условии обеспечения в них самоочищающих скоростей и расчетных наполнений в соответствии с данными табл. 6.2. Сопряжение труб на всех расчетных участках коллектора выполняют по уровню жидкости. На примере точки 5 коллектора осуществим вертикальное сопряжение труб в колодце, т. е. при известной абсолютной отметке лотка подводящей трубы г\ определим отметку отводящей трубы:
z2 = zi [(h/d)2d2 - {h/d)1d1] = 71,578 - (0,66 • 0,8 --0,71 -0,6) = 71,476 м.
При этом отметка сопряженного уровня жидкости х в точке 5 равна
х = 71,578 + 0,71 • 0,6 = 71,476 + 0,66 • 0,8 = 72,004 м.
Требуется рассчитать дюкер (участок 67) на пропуск расхода 1039,5 л/с. Принимаем две стальные нитки диаметром каждая 800 мм на пропуск 50 % общего расхода со скоростью не ниже 1 м/с при единичных потерях i = 0,0015. Общие потери напора в дюкере h составят
h = hтр + h„ = il + 0,2hтр = 0,0015 • 180 + 0,2 • 0,27 = = 0,27 + 0,054 = 0,324 м.
С учетом отметки лотка трубы в верхней камере 70,204 и общих потерь напора в дюкере отметка лотка трубы в нижней камере составит: 70,2040,324=69,88 м. При выходе из строя одной нитки дюкера (аварийный режим работы) весь расход воды, равный 1039,5 л/с, будет проходить по трубопроводу диаметром 800 мм со скоростью 2,05 м/с при i = 0,00596. В этом случае общие потери напора в дюкере h составят
h = hтр + hm = il+ 0,2hтр = 0,00596 • 180 + 0,2 • 1,073 = = 1,073 + 0,214 = 1,287 м.

Разница аварийных и рабочих потерь напора в дюкере составит
1,287 0,324 = 0,963 м.
Если рабочая отметка уровня воды в верхней камере дюкера равна 71,004 м, то при аварийном режиме она составит 71,004 + + 0,963 = 71,967 м. С учетом отметок уровня воды в вышележащих по отношению к дюкеру участках станет ясно, что аварийный подпор воды не распространяется выше точки 5.
Профиль главного коллектора представлен на рис. 7.9. Сточные воды от главной насосной станции по двум водоводам диаметром 1200 мм подаются в камеру гашения напора на очистных сооружениях, расположенную в искусственной подсыпке, подошва которой имеет отметку 80,20 м, а верх 82,20 м.
График притока и откачки сточных вод. Распределение среднесуточного расхода сточных вод от микрорайонов города и промышленного предприятия по часам суток с целью совмещения графиков притока и откачки (ступенчатых или часовых и интегральных или суммарных) выполняют по форме табл. 7.6, составленной на основе табл. 5.7. Данные расчеты и построения, выполняемые сначала в табличной, а затем в графической форме, необходимы для определения вместимости приемного резервуара главной насосной станции (графы 18, 19), количества насосных агрегатов, их производительности и режимов работы.
Графы 2 и 3 табл. 7.6 заполняют с учетом значения Кобщ = 1,46 на заключительном участке главного коллектора и данных табл. 5.5, в которой даны типовые распределения среднесуточного расхода сточных вод от жилой части городов. Искомое распределение для К0бщ=1,46 находим интерполяцией между значениями Ковщ=1,47 и 1,44.

Среднесуточный расход сточных вод от города (без промышленного предприятия) равен
Qcp сут = qср е • 86 400/1000 = 1643,4 • 86,4 = 141 990 м3/сут.
Зная Qcp сУт и часовое распределение расхода в процентах (графа 2), найдем значение часового расхода (графа 3), например для часа 910:
141 990 • 61,1/100=8661,4 м3/ч.


С учетом этого часовой приток в процентах (графа 10) в том же интервале 1617 ч равен
7348,8 • 100/146205 = 5,3%.
Графы 11, 13, 17 заполняют последовательным суммированием по вертикали часовых притоков таким образом, что последние строки (интервал 2324 ч) являются суммарным суточным притоком или откачкой.

Основная задача составления табл. 7.6 заключается в построении сглаженных графиков откачки (ступенчатого, графа 14, и интегрального, графа 16) и связанной с ними вместимости приемного резервуара (графы 18, 19), получаемой вычитанием значений граф 16 и 17 из соответствующих значений граф 12 и 13. Построение ступенчатого графика откачки требует определенного опыта и носит итерационный характер. Основные условия для его построения следующие:
- количество часовых зариантов откачки (обычно 46) должно быть существенно ниже количества вариантов часового притока (обычно 1220);
- сумма значений графы 14 по вертикали, так же как и последняя (нижняя) строчка графы 16, должна быть равна 100%;
- минимальное наполнение приемного резервуара должна быть не меньше 0; для взаимного баланса графиков притока щ откачки удобно в интервале 2324 ч в графах 18 и 19 иметь нулевые значения (опорожненный приемный резервуар);
- максимальное наполнение (расчетный объем) приемного резервуара (графы 18, 19, в нашем случае интервал времени 4-5 ч) должно соответствовать размерам типовых насосных станций на данную производительность, т.е. не превышать 0,5% суточного притока;
- экономически целесообразно, чтобы необходимость устройства приемного резервуара данной вместимости была подкреплена рядом других значений строк в графах 18, 19, близких к максимальному (в нашем случае интервалы времени 34, 56, 19 20, 2021 ч).
Интегральные графики притока и откачки (фрагмент) по данному примеру расчета представлены на рис. 7.10. Детальные расчеты насосных станций систем водоотведения приведены в гл. 14,
Глава 8
ДОЖДЕВАЯ И ПОЛУРАЗДЕЛЬНАЯ СЕТИ
Выпадающие атмосферные осадки могут вызвать затопление территорий, что нарушит движение или может нанести материальный ущерб. Для сбора дождевой воды, а также сбора стоков от таяния снега устраивают дождевую (ливневую) сеть таким образом, чтобы сточные воды удалялись от места выпадания кратчайшим путем.
Отличие в составе и свойствах бытовой, производственной и дождевой сточных жидкостей обусловливает различные решения по их водоотведению и очистке. Способы водоотведения (системы), схемы и технологические характеристики детально изложены в предыдущих главах.
8.1. Расчет дождевой водоотводящей сети
Для определения расчетного расхода сточных вод заданного периода однократного превышения расчетной интенсивности стока принимают метод «предельных интенсивностей», согласно которому расчетная продолжительность дождя равна продолжительности протока от наиболее удаленной точки бассейна водосбора до расчетного сечения (рис. 8.1).
Расчет ведут в такой последовательности: устанавливают условный сток дождевых вод q; определяют предварительный расход сточных вод q0 с 1 га территории бассейна стока при условии, что расчетная продолжительность дождя tr = 5 мин; по 180 предварительному расходу qo и заданной скорость, находят расчетный диаметр, уточняют скорость движения воды в трубах для принятого диаметра дождевой сети по сортаменту с учетом материала труб; по уточненной скорости находят расчетную продолжительность дождя tr = tzon + r2tr и коэффициент уменьшения интенсивности дождевого стока р; определяет фактический расход сточных вод, который пропустит труба данного диаметра; находят отметки лотков труб с учетом принятого уклона. Условный расход дождевых стоков, л/(с · га),

где Zmid среднее значение коэффициента, характеризующего поверхность бассейна стока; А, п параметры, зависящие от географического положения района проетктирования и местных условий; tr расчетная продолжительность дождя, с.
Параметр А определяют по формуле

где q20 интенсивность дождя, л/(с • га) (для Данной местности продолжительность дождя 20 мин при Р = 1 год (рис. 8.2); Р период однократного повышения расчетное интенсивности дождя, год; т, среднее количество дождей за год; - показатель степени, зависящий от географического положения данного района проектирования.

Рис 8.1. Расчетная схема дождевой сети (полная Раздел система водоотведения) ,
Ниже приведены вычисленные значения (1 + lgP/lgmr)T для указанных Р:


• Коэффициент стока. При выпадении дождя часть дождевого стока испаряется, часть просачивается в грунт или поглощается растениями. Это учитывается коэффициентом стока. Его значение зависит от многих факторов, в том числе от вида поверхностного покрова (водопроницаемость покрытия), интенсивности и продолжительности выпадения осадков.
Средние значения коэффициента стока Zm<d определяют как средневзвешенную величину зависимости от коэффициентов Z, характеризующих поверхность (табл. 8.1).

Пример. Определить средние значения коэффициента стока Исходные вычисленные значения приведены в табл 8 3
Таблица 83 Средние значения коэффициента стока

Период однократного превышения расчетной интенсивности это время, в течение которого выпадает один дождь интенсивностью, большей расчетной и вызвавшей переполнение сети. Период однократного превышения расчетной интенсивности Р подбирают в зависимости от назначения объекта водоотведения, расположения коллектора в уличном проезде, климатических условий (интенсивности дождя), коэффициента стока и других факторов (табл. 8.4).

Примечания: 1 Благоприятные условия расположения коллекторов: басе* площадью ие более 150 га имеет плоский рельеф при среднем уклоне 0,005 и менее; к лектор проходит по водоразделу или верхней части склона иа расстоянии от водор дела ие менее 400 м 2 Средние условия расположения коллекторов' бассейн площад более 150 га имеет плоский рельеф с уклоном 0,005 и менее; коллектор проходит в т ней части склона по тальвегу с уклоном 0,02 и менее; при этом площадь не превыш 150 га 3 Неблагоприятные условия расположения коллекторов: коллектор проходи нижней части склона, площадь бассейна превышает 150 га; коллектор проходит тальвегу с крутыми склонами при среднем уклоне склонов свыше 0,02. 4. Особо иебла приятные условия расположения коллекторов: коллектор отводит воду из замкнут пониженного места (котловины)
Периоды однократного превышения расчетной интенсивности дождя Р при проектировании дождевых водоотводящих сетей для особых сооружений (метро, вокзалов, подземных переходов 11 др.) промышленных объектов, а также для районов при значениях q20 менее 50 л/(с • га) следует принимать из соответствующих таблиц СНиПа.
Расчетный расход дождевых стоков, м3/с,

где коэффициент интенсивности дождевого стока; коэффициент, учитывающий заполнение свободной емкости сети в момент возникновения напорного режима; F площадь стока, га. Коэффициент интенсивности дождевого стока
Вычисленные значения р приведены в табл. 8 5
Коэффициент определяют в зависимости от показателя степени п:



• Гидравлический расчет дождевой сети. Продолжите протока дождевых вод по поверхности и трубам

где tcon продолжительность протекания дождевых вод до уличного лотка или при наличии дождеприемников в пределах квартала до уличного коллектора (время поверхностной концентрации), с; tсап то же, по уличным лоткам до дождеприемника, с:

здесь /сап длина участка лотков, м; vcan расчетная скорость течения на участке, м/с; tр продолжительность протекания дождевых вод по трубам до рассчитываемого сечения:

здесь / длина участка уличной сети; v предварительная скорость течения воды в трубах, м/с.



Все последующие исходные и вычисленные величины приведены в табл. 8.6.
Для облегчения вычисления строят график зависимости qf от t, для разных значений tp (рис. 8.3). После подсчета времени протока по участку tp и суммарного от начального участка сети (в том числе и /соп) из графика находят q, л/(с-га).
Пример. График (рис 8 3) построен по формуле q = = 198,6/t0 75. По вычисленным значениям найдем tr = tcon + tр = 5 + 1/v. Из графика получаем значение q, л/с. Например, для участка 1-2 I = 300 м, v = 0,8 м/с, t, = 5 -4--f- 300/0,8 • 60 = 11,25 мии Этому значению продолжительности протока соответствует q = 32,5 л/с

Продольный профиль дождевого коллектора показан на рис. 8.4.

8.2. Расчет полураздельной сети
Расходы в сетях производственно-бытовых и дождевых сточных вод определяют аналогично приведенным в § 5.2.
Расход сточной жидкости в главном коллекторе полураздельной системы принимают равным сумме расхода производственно бытовых стоков и расхода дождевой воды от так называемог «предельного» дождя. Под «предельным» дождем понимаю дождь некоторой наибольшей (предельной) интенсивности, при которой еще не происходит сброс дождевых вод в водоем.
Определение расчетных расходов дождевых вод в главно коллекторе может осуществляться двумя способами:
-пересчетом дождевой сети на случай выпадения дожд предельной интенсивности, обычно принимаемой из условия q20,lim= 10 л/(с • га). При выпадении дождя указанной интенсив ности основная масса загрязнений смывается с поверхности во досбора, а в дальнейшем сток поступает через разделительную камеру в бытовой коллектор и на очистку. Этот способ является наиболее точным, но трудоемким;
-с использованием коэффициента разделения.
Ниже приводится расчет расходов в главном коллекторе коэффициентом разделения.
Расход смеси производственно-бытовой и дождевой сточноь жидкости в главном коллекторе, л/с,
где qcit максимальный расчетный расход производственных и бытовых сточных вод с учетом коэффициента неравномерности; qlim максимальный подлежащий очистке расход дождевого стока, равный сумме предельных расходов дождевых вод, qlim, подаваемых в общесплавной коллектор от каждой разделительной камеры, расположенной до рассчитываемого участка, л/с.
Расход стока от предельного дождя qnm определяют при периоде однократного превышения интенсивности дождя Рlim= 0,05...0,1 года. Указанные значения Рцт допускается уточнять по местным условиям.
Предельный расход дождевых стоков qlim, сбрасываемых в главный коллектор от разделительной камеры,
где Kdiv коэффициент, показывающий долю расхода дождевой воды, направляемой на очистную станцию; qr расход дождевой воды, поступающей к разделительной камере, без учета коэффициента
Значение коэффициента разделения принимают по табл. 8.7. при этом требуется определить Kdiv:

где коэффициенты mr, Р, у принимают при расчете дождевой сети до разделительной камеры (по табл. 8.8, 8.9).
По полученному значению К'div из табл. 8.7 находят Кdiv.
Принятые в табл. 8.7 значения Кdiv справедливы для продолжительности протока tr, равной 20 мин, а также разности показателей степени в формуле (8.1) n-n1=0 при любой продолжительности потока. В тех случаях, когда расчетная продолжительность протока до разделительной камеры 20 мин, а разность показателя степени 0, к значению коэффециента разделения вводится поправочный коэффециент (табл. 8.10).


Коэффициент разделения потока можно определить другим способом:

где q20, п, т, и у принимают, как для расчета дождевой сети при полной раздельной системе водоотведения (из условий географического положения объекта, его назначения и др.).
Найдем параметр А\\т:
AUm = q20 20n|im(l + lgP/lgmr)v (8.19)
где nlim показатель степени, соответствующий данному значению принятого периода однократного превышения расчетной интенсивности Рит<1 года; Pi™ принимают 0,051 год. Тогда

где t, продолжительность дождя перед разделительной камерой, мин.




Согласно СНиПу (п. 2 21), предельный расход дождевых вод qwm, подаваемый в общесплавной коллектор полураздельной системы водоотведения, допускается определять путем расчета стока дождевой воды (§2 12) при значении = I
Подсчет расходов дождевой воды до разделительной камеры приведен в табл. 8.11 Расчетная схема приведена на рис. 8.5 По результатам гидравлического расчета (см. табл. 8 13) построен продольный профиль (рис. 8.6).
Расход производственно-бытовых стоков рассчитывают по методике, изложенной в § 5.2. Гидравлический расчет проводят так же по общеизвестной методике. Ниже дан пример расчета главного (перехватывающего) коллектора (табл. 8.13). В примере расход производственно-бытовых стоков принят условно (рис. 8.5)
8.3. Расчет разделительной камеры
Разделительную камеру рассчитывают на отведение расхода воды от предельного дождя в главный коллектор и на сброс всех превышающих эту величину стоков по ливнеотводу в водоем.
Принцип работы разделительной камеры основан на изменении дальности полета струи при неменяющихся расходах. В начале дождя сток незначителен и вся вода поступает в лоток главного коллектора. По мере развития дождя расход увеличивается, сечение трубы заполняется полностью (возможна работа с подпором) и струя перелетает водосливную стенку и попадает в лоток ливнеотвода.
Расчет разделительной камеры при известных расходах, диаметрах труб и глубинах заложения сводится к определению основных размеров камеры


Возможны разные конструктивные решения разделительных камер (рис. 8.7). На рис 8.8 дождевая вода попадает в прямоугольный лоток, ширина которого принимается равной диаметру дождевой сети, примыкающей к камере. В конце прямоугольного лотка перед перепадом устанавливается критическая глубина, которая при расчетном расходе qr, м,

а при расходе от предельного дождя qnm, м,

Высота перепада,
,
где
Высота водосливной стенки , где di диаметр ливнеотвода, м; Авх потеря напора при входе в трубу, м:

где коэффициент гидравлического сопротивления при входе в трубу: = 0,5. При расчете возможно использовать hax = 0,025у2; v скорость течения воды в ливнеотводе, м/с.
Диаметр ливнеотвода d2 принимают равным диаметру d1.
Ширина донного отверстия а, м,
а = 1,41hК „(0,3 + hо/hкп)05 + qlim/8,87b[(h0 + 1,5hК n)sin,]0'5,
(8.26)
где 1 угол наклона струи к горизонту при расходе qum:

Для удобства работы в разделительной камере высота рабочей части должна быть не менее 1,8 м. Над рабочей частью устраивают горловину D = 0,7 м, как в обычном колодце.

Глубина воды в ливнеотводе подбирается (см. Приложение 8) при известных q, di и i.
Для hлh„6 сопряжение производят по уровню воды, тогда
отметки дна ливнеотвода в месте примыкания к камере, м, ;

Для предупреждения затопляемости разделительной камеры отметка для ливнеотвода должна быть выше горизонта высоких вод в водоеме Zrbb
где lл длина ливнеотвода, м.
Отметки шелыги главного коллектора после разделительной камеры, м,
Zmn = Z h0 у. (8.36)
Значение у можно принимать 0,1 м.
Пример. Расчетный расход ц,, расход от предельного дождя qlim приня-
ты по табл 8.13; диаметр трубы дождевого коллектора d1 = 600 мм Отметка
дна трубы дождевого коллектора при входе в камеру Z = 28,87 м Ширина лотка
в разделительной камере принята b = d1 = 0,6 м. ;
Критическую глубину при расчетном расходе находим по формуле (8.21):'

Диаметр ливнеотвода, как и последнего участка перед разделительной камерой, d2 = 600 мм. Тогда при расходе q = 310 л/с уклон трубы i = 0,0025, v = = 1,12 м/с, наполнение полное. Потеря напора при входе в трубу по формуле (8 25) равна hBJl = 0,5 • 1,122/2 • 9,81 = 0,032 м, высота водосливной стенки по формуле (8.24) равна hс = 0,6 0,032 = 0,568 м, ширина донного отверстия по формуле (8 26) равна а= 1,41 • 0,0970,3 + 0,532/0,09 + 0,05/8,87 • 0,6 X ±[0,532 + 1,5-0,09)0,893]°5 = 0,33 м, где sin i = [0,532/(0,532 + 1,5-0,09]05 = = 0,893 м.
Длина лотка в нижнем бьефе после водосливной стенки по формулам (8 27), (8.28) равна
Принято в = 0,3 и = 0,1.
Общая длина разделительной камеры по формуле (8 29) равна
L = 1,2 + 0,33 + 0,1 + 0,98 = 2,5 м,
где s = 4hк д = 4 • 0,301 = 1,2 м. 200
Ширину камеры найдем по формуле (8 30).
Во = b+ 2b1 = 0,6 + 2 • 0,3 = 1,2 м,
где b1 = 0,3 м
Отметка лотка в конце нижнего бьефа по формуле (8.31) равна
Zнб = 28,87 0,532 - 0,568 - 0,01 • 0,84 = 27,686 м.
Глубина воды в нижнем бьефе по формуле (8.32) равна
h„ 6= 0,31/[0,6 • 4,43(0,532 + 0,568 + 1,5 • 0,301)1= 0,197 м.
Так как hл = d2 = 0,6 м, что больше h„ 6, то сопряжение лотка и трубы производят по поверхности воды Тогда отметка дна ливнеспуска
Zл = 27,686 + 0,197 0,6 - 0,032 = 26,856 м.
При длине ливнеотвода, равной 60 м, и отметке горизонта высоких вод, равной 24,0 м, Zл > 24 + 0,003 • 60 = 24,18 м, т. е. условие (8.33) выполнено.
Отметка шелыги после разделительной камеры по формуле (8.36) равна
Zшкг = 28,87 0,532 0,1 = 28,238 м.
Расчет главного перехватывающего коллектора приведен в табл. 8.13.
РАЗДЕЛ ТРЕТИЙ
ИНЖЕНЕРНОЕ ОБОРУДОВАНИЕ НАРУЖНЫХ СЕТЕЙ ВОДОСНАБЖЕНИЯ И ВОДООТВЕДЕНИЯ
Глава 9
ТРУБЫ, КОЛЛЕКТОРЫ И КОНСТРУКЦИИ СТЫКОВЫХ СОЕДИНЕНИЯ
9.1. Условия выборе мвтериала и проклвдки трубопроводов
Трубопроводы и коллекторы наружных сетей, прокладываемые в различных гидрогеологических условиях, на различных глубинах и работающие в самотечном и напорном режимах, должны иметь достаточно большой срок службы, быть надежными в эксплуатации, экономичными и индустриальными в строительстве. Это достигается правильным выбором материала труб, конструкций их стыковых соединений, эффективной изоляцией и устройством надежных оснований.
К конструкциям наружных сетей предъявляются следующие требования:
прочность трубы и стыковые соединения без деформаций должны воспринимать давление насыпного грунта, нагрузку от движущегося транспорта, а также внутреннее давление воды;
водонепроницаемость (герметичность) через стенкн труб и стыковые соединения не должны поступать в сеть грунтовые воды (инфильтрация) и просачиваться из сети вода (эксфиль-трация) сверх установленных нормативов;
гладкая внутренняя поверхность необходима для уменьшения сопротивлений при движении воды.
В дополнение к этому материал трубопроводов сетей водоснабжения не должен ухудшать качество воды, а трубопроводы и стыки сетей водоотведения должны обладать стойкостью к механическому истиранию, химическому и температурному воздействию.
При проектировании и строительстве водопроводных сетей обычно применяют чугунные или железобетонные напорные трубы, причем последние используют при диаметрах 500 мм и выше. Стальное трубы применяют в тех случаях, когда давление в сети 10 МПа и выше. Трубопроводы из стальных труб необходимо покрывать снаружи антикоррозионной изоляцией.
При проектировании и строительстве самотечных водоотводящих сетей диаметром до 350 мм обычно применяют керамические канализационные и асбестоцементные безнапорные трубы. При диаметрах 400 мм и выше используют железобетонные и бетонные трубы.
При проектировании и строительстве напорных водоотводящих линий диаметром до 500 мм включительно и рабочим давлением не более 1,5 МПа применяют асбестоцементные трубы, при диаметрах свыше 500 мм железобетонные напорные трубы. При рабочем давлении до 3 МПа и выше используют чугунные напорные трубы.
Траншейная прокладка бетонных или железобетонных круглых труб нормальной прочности допускается на глубину до 3...6 м, а усиленных до 5...6 м; труб с плоской подошвой нормальной прочности до 4...6 м, а усиленных до 6...8 м с учетом степени уплотнения грунта, размеров временной нагрузки на поверхность землн н типа основания.
При проектировании наружных сетей диаметры труб из различных материалов должны назначаться в строгом соответствии с утвержденными стандартами или сортаментами их промышленного освоения.
Основания под трубами могут быть искусственно созданными и естественными. Тип основания зависит от несущей способности местных грунтов, в которых прокладываются трубы, а также от материала труб и стыковых соединений. При производстве работ по механической отрывке траншей необходимо, чтобы нижний слой грунта на дне траншеи оставался ненарушенным, поэтому его недобирают на 0,2...0,3 м до проектных отметок и удаляют вручную перед укладкой труб. В тех случаях, когда под трубопроводами залегает твердое скальное основание или встречаются отдельные каменные включения (валуны, скальные выходы), 4 необходима песчаная подушка толщиной не менее 0,2 м, а укладка труб должна производиться в профилированном ложе, глубина которого не менее 0,15 диаметра трубы.
Искусственные основания устраивают в слабых грунтах, к которым относятся просадочные, а также разжиженные глинистые, торфяные и илистые грунты. Тип искусственного основания выбирают на основе технико-экономических расчетов с учетом опыта строительства аналогичных объектов. Так, в водонасыщен-ных, хорошо отдающих воду грунтах при прокладке керамических, бетонных или железобетонных труб их укладку производят на щебеночное или бетонное основание, толщина которого в зависимости от диаметра труб и состояния грунта изменяется в пределах 0,1 ...0,2 м. Самотечные пластмассовые трубы даже при прокладке в сухих грунтах нуждаются в устройстве жестких, искусственных оснований. В свеженасыпных грунтах с ожидае-i мой неравномерной осадкой для предупреждения нарушения! стыковых соединений основание следует устраивать из монолит! ного железобетона.
В городах проезжую часть улиц, особенно при напряженном* движении транспорта, устраивают на бетонном основании, ПО' этому сети водоснабжения и водоотведения следует выносить в зеленую или техническую полосу улиц, а прокладку вести совместно с другими инженерными сетями в общей траншее (рис. 9.1). Это позволяет сократить объем земляных работ. По условиям строительства и экусплуатации водоотводящие сети, включая водостоки, целесообразно размещать

Рис 9 1 Совмещенная укладка инженерных сетей в открытой траншее.
/ теплосеть; 2 водопровод, 3 газопровод среднего давления, 4 то же, низкого давления, 5 водосток, 6 канализация
ближе к проезжей части улицы. При большом числе подземных коммуникаций под пересечениями крупных уличных магистралей возможна совмещенная прокладка трубопроводов различного назначения в проходных или полупроходных галереях или тоннелях (коллекторная прокладка). Указанные сооружения выполняют из сборных железобетонных элементов прямоугольного или круглого сечения (рис. 9.2), что увеличивает срок службы трубопроводов и позволяет вести ремонтные работы без вскрытия проезжей части улиц.
9.2. Трубы керамические и асбестоцементные
Керамические канализационные трубы, применяемые при устройстве безнапорных водоотводящих сетей, изготовляют по ГОСТ 28682 (рис. 9.3, табл. 9.1).
Керамические трубы должны соответствовать следующим основным требованиям:


- иметь на наружной стороне конца ствола и внутренней стороне раструба не менее пяти нарезок-канавок глубиной не менее 2 мм;
- быть водонепроницаемыми и при испытании выдерживать внутреннее гидравлическое давление не менее 0,15 МПа;
- иметь водопоглощение не выше 7...8 %; иметь на наружной и внутренней поверхностях равномерное, без пропусков, покрытие Из химически стойкой глазури.
Керамические трубы являются наиболее долговечными при устройстве водоотводящих сетей, особенно в тех случаях, когда грунтовые воды агрессивны. Однако недостатками этих труб являются большое количество стыковых соединений и хрупкость материала. Во избежание механических повреждений, в первую очередь при перевозке автомобильным транспортом, трубы устанавливают вертикально в специальных кассетах (контейнерах) предприятия-изготовителя или потребителя.

Асбестоцементные безнапорные трубы и муфты к ним, применяемые при прокладке самотечных водоотводящих сетей, изготовляют по ГОСТ 183980* (рис. 9.4, табл. 9.2 и 9.3). Трубы имеют гладкую поверхность, практически водонепроницаемы, легко подвергаются обработке (распиловке, фальцовке, сверлению), их масса в 3,5 раза меньше чугунных труб. Значительная длина труб сокращает количество стыковых соединений при прокладке сетей, однако они имеют большую хрупкость и истираемость. Применение данного вида труб нецелесообразно на быстротоках, несущих большое количество крупной минеральной взвеси (песок, шлак, стеклянный бой). Асбестоцементные трубы поставляются в комплекте с соединительными муфтами и уплотнительны-ми кольцами. При испытании трубы и муфты должны выдерживать гидравлическое давление не менее 0,4 МПа, а трубы и муфты высшей категории качества не менее 0,6 МПа.
Асбестоцементные напорные трубы, применяемые при устройстве наружных напорных сетей (рис. 9.4), изготовляют по ГОСТ 53980* четырех классов: ВТ6, ВТ9, ВТ12 и ВТ15 на максимальное рабочее давление соответственно 0,6; 0,9; 1,2 и 1,5 МПа (табл. 9.4). Трубы каждого класса в зависимости от пропускной способности (внутреннего диаметра) и длины подразделяют на три типа. Выбор

класса труб определяется проектным решением, которое учитывает условия эксплуатации. Для эластичного соединения труб применяют асбестоцементные муфты типа САМ по ГОСТ 53980* или чугунные муфты по ГОСТ 1758472*, а для уплотнения муфтовых соединений резиновые кольца по ГОСТ 522889*. Завод-изготовитель должен поставлять асбестоцементные напорные трубы

комплектно с муфтами и резиновыми кольцами. Применение напорных асбестоцементных труб для водопроводных сетей нецелесообразно Но санитарно-гигиеническим соображениям.
9.3. Трубы железобетонные и бетонные
Железобетонные безнапорные трубы получили широкое распространение при сооружении самотечных водоотводящих сетей и хорошо себя зарекомендовали в тех случаях, когда сточные и грунтовые воды не агрессивны по отношению к бетону труб и к уплотняющим материалам стыковых соединений. Изготовляют эти трубы из бетона класса не ниже В22,5(М300) по ГОСТ 648288.
Трубы подразделяют на следующие типы: РТ раструбные цилиндрические со стыковыми соединениями, уплотняемыми герметиками или другими материалами с образованием жестких или пластичных стыковых соединений (рис. 9.5, табл. 9.5);

РТПБ раструбные с подошвой и с упорным бортиком на стыковой поверхности втулочного конца трубы (рис. 9.10, табл. 9.10); эластичные стыковые соединения этих труб уплотняют с помощью резиновых колец;

РТС раструбные цилиндрические со ступенчатой стыковой поверхностью втулочного конца трубы, эластичные стыковые соединения которых уплотняются с помощью резиновых колец (рис. 9.7, табл. 9.7);

ФТ фальцевые цилиндрические со стыковыми соединениями, уплотняемыми герметиками или другими материалами (рис 9.8, табл. 9.8);

РТП раструбные с подошвой и стыковыми соединениями, уплотняемыми герметиками нли другими материалами с образованием жестких или пластичных стыков (рис. 9.9, табл. 9.9);

РТПБ раструбные с подошвой и упорным бортиком на стыковой поверхности втулочного конца трубы (рис. 9.10, табл. 9.10); эластичные стыковые соединения этих труб уплотняют с помощью резиновых колец;

РТПС раструбные с подошвой со ступенчатой стыковой поверхностью втулочного конца трубы и стыковыми соединение ями, уплотняемыми с помощью резиновых колец (рис. 9.11," табл. 9.11);

ФТП фальцевые с подошвой и стыковыми соединениями, уплотняемыми герметиками или другими материалами (рис. 9.12, табл. 9.12).


Трубы высшей категории качества должны быть типов РТС, РТБ, РТПС и РТПБ. Трубы в зависимости от их прочности подразделяют по несущей способности на две группы: первую трубы нормальной прочности; вторую трубы повышенной прочности. Армируют трубу цилиндрическими сварными каркасами: спиральная арматура класса А-III, арматурная проволока периодического профиля класса Вр-I и гладкая класса B-I; продольная арматура стержневая класса A-I. Фальцевые стыки труб диаметром более 1000 мм дополнительно армируют с внешней стороны и усиливают цементным поясом.
Расход материала (бетон, металл) для труб с подошвой в среднем на 10... 12 % выше, чем для обычных труб; при этом трубы с подошвой обладают повышенной несущей способностью на давление грунта и могут прокладываться в более глубоких траншеях.
Железобетонные напорные трубы изготовляют методами виб-рогидропрессования по ГОСТ 1258683* и центрифугирования (табл. 9.13), с раструбными соединениями на резиновых уплотнениях. Трубы, изготовляемые методом виброгидропрессования, в зависимости от расчетного внутреннего давления в трубопроводе разделяют на четыре класса, а трубы, изготовляемые методом центрифугирования, на три класса: I на давление 1,0 МПа; II на давление 1,0 МПа; III на давление 0,5 МПа. Испытание труб на водонепроницаемость проводят при давлении, в 1,3 раза превышающем номинальное.

Отдельные предприятия методом вибрации изготовляют напорные железобетонные трубы со стальным цилиндром-сердечником (рис. 9.13, табл. 9.14) и полимержелезобетонные напор* ные трубы, в тело которых замоноличена полимерная пленка, повышающая пропускную способность и коррозионную стойкость трубы.

Примечание Трубы изготовляют по чертежам Мосинжпроекта иа давление до 1,0 МПа
Трубы бетонные безнапорные, предназначенные для самотечного отвода бытовых (городских) и дождевых сточных вод, изготовляют по ГОСТ 2005482. Бетонные трубы в зависимости от вида их соединения подразделяют на следующие типы (табл. 9.15):

- ТБ раструбные цилиндрические со стыковыми соединениями, уплотняемые герметиками или другими материалами;
- ТБС - раструбные цилиндрические со ступенчатой стыковой поверхностью втулочного конца трубы, стыковые соединения которых уплотняются резиновыми кольцами;
- ТБПС - то же, с подошвой;
- ТБФ - фальцевые цилиндрические со стыковыми соединениями, уплотняемыми герметиками или другими материалами;
- ТБПФ - то же, с подошвой.
Бетонные трубы с подошвой и без нее по конструкции в целом аналогичны железобетонным безнапорным трубам, но отличаются от них более низким классом бетона и более легкой (в основном проволочной) арматурой. При применении бетонных труб необходимо учитывать, что хотя они и дешевле железобетонных безнапорных труб в изготовлении, но их практическая долговечность существенно ниже.
9.4. Трубы чугунные и стальные
9 Трубы чугунные напорные изготовляют из серого чугуна методом центробежного и полунепрерывного литья по ГОСТ 958375* в зависимости от толщины стеиок классов ЛА, А и Б с раструбными соединениями (табл. 9.16) на различные испытательные Давления. Трубы чугунные данного типа выпускают раструбным диаметром от 65 до 1000 мм (табл. 9.17). Трубы чугунные напорные со стыковыми соединениями на резиновых уплотнениях изготовляют диаметрами от 65 до 300 мм двух модификаций: раструбные с резиновой самоуплотняющей манжетой (рис. 9.14, табл. 9.18, 9.19) и раструбно-винтовые с чугунной или пластмассовой запорной муфтой и резиновым уплотнитель-ным кольцом. Внутренняя и внешняя антикоррозионная изоляция (асфальтовая мастика) наносится на чугунные трубы непосредственно на заводе. Резиновые манжеты для уплотнения раструбного стыкового соединения чугунных напорных труб изготовляют из резины ИРП-1131 и ИРП-1109А, сохраняющей эластичность в интервале температур от 20 до -4-50 °С. Манжеты изготовляют двух типоразмеров: Б-1 и Б-2. Манжетой Б-1 комплектуют трубы с отклонениями по наружному диаметру цилиндрической части в сторону допустимого превышения, манжетой Б-2 трубы с допустимым уменьшением наружного диаметра относительно номинального. К достоинствам чугунных труб следует отнести их высокую механическую прочность и долговечность, к недостаткам хрупкость и большой расход металла.


Трубы стальные электросвариые для напорных трубопроводов различного назначения диаметром свыше 150 мм выпускают двух типов: прямошовные и со спиральным швом. Стальные электросварные прямошовные трубы для напорных сетей различного назначения изготовляют по ГОСТ 1070476*. Технические требования к стальным электросварным прямошовиым трубам наружным диаметром до 530 мм с толщиной стенки до 10 мм из углеродистой стали определяют по ГОСТ 1070580*, а технические требования к прямошовным электросварным трубам общего назначения наружным диаметром 426...1420 мм по ГОСТ 1070676*. По длине трубы изготовляют от 5 до 18 м. Стальные трубы имеют гладкие концы с фаской и соединяются с помощью электродуговой сварки.

Стальные электросварные трубы общего назначения со спиральным швом по ГОСТ 869674* (табл. 9.20) разделяют по качеству на три группы: Б, В, Д. Высококачественные трубы должны иметь группу В. Трубы изготовляют длиной от 10 до 12 м (по специальному заказу до 18 м). Трубы со спиральным швом выдерживают значительно большее внутреннее давление, чем прямошовные. Изоляцию стальных труб осуществляют на трубозаготовительных базах строительных организаций или в полевых условиях, так как заводы-изготовители антикоррозионных покрытий не наносят.
В системах водоснабжения и водоотведения стальные трубы применяют в основном для водоводов, в которых внутреннее давление может превышать 10 МПа, а также при укладке труб в макропористых грунтах, в сейсмических районах, при устройстве переходов под железными и автомобильными магистралями, при устройстве дюкеров, т. е. в тех условиях, где требуется хорошая сопротивляемость труб динамическим нагрузкам и изгибающим усилиям. Стальные трубы имеют существенные преимущества по сравнению с чугунными: они выдерживают большее внутреннее давление, большая длина стальных труб уменьшает количество стыков, что упрощает работы по монтажу сетей. К недостаткам стальных труб следует отнести то, что они в значительной степени подвержены коррозии и нуждаются в эффективной антикоррозионной защите как от грунтовых вод, так и

блуждающих токов. Несмотря на то что удельный расход металла в стальных трубах ниже, чем в чугунных, сталь является более дорогим и дефицитным материалом.
9.5. Трубы полиэтиленовые и винипластовые
Напорные полиэтиленовые трубы изготовляют по ГОСТ 1859983* из полиэтилена высокого (ПВД) и низкого (НПД) давления из поливинилхлорида (винипласта); они рассчитаны на транспорт воды температурой до 30 °С. Полиэтиленовые трубы выпускают диаметром до 1200 мм. Толщина стенки трубы при увеличении ее диаметра от 150 до 1200 мм возрастает от 10 до 25 мм. Полиэтиленовые трубы выпускают четырех типов в зависимости от максимально допустимого давления транспортируемой воды при температуре 20 °С (срок службы до 50 лет): Л легкий, 0,25 МПа; СЛ среднелегкий, 0,4 МПа; С средний, 0,6 МПа; Т тяжелый, 1,0 МПа.
Срок службы полиэтиленовых труб в значительной степени зависит от условий эксплуатации и в первую очередь от давления и температуры Так, при увеличении номинальной температуры и давления в 1,5 раза срок службы полиэтиленовых труб сокращается в 5 раз. Трубы выпускают длиной 6, 8, 10 и 12 м с отклонениями по длине не более 50 мм. Возможно и-энливление труб длиной 5,5 и 11,5 м. Трубы при транспортировке должны быть связаны в пакеты массой до 1 т. Цвет труб черный. Трубы следует хранить в горизонтальном положении на стеллажах высотой не более 2 м. Условия хранения должны исключать возможность механического повреждения труб и действия на них прямых солнечных лучей.
Достоинствами полиэтиленовых труб являются коррозионная стойкость, гидравлическая гладкость в^тренних стенок, простота механической обработки и сварного соединения. Основными недостатками этих труб помимо указанных являются большой коэффициент линейного расширения и малая сопротивляемость раздавливанию.
Глава 10
РЕКОНСТРУКЦИЯ ТРУБОПРОВОДОВ ВОДОСНАБЖЕНИЯ И ВОДООТВЕДЕНИЯ
10.1. Повреждения трубопроводов, их причины и последствия
В процессе эксплуатации трубопроводы систем водоснабжения и водоотведения подвержены различного рода повреждениям, приводящим к необходимости их ремонта или замены.
Основными видами повреждения стальных трубопроводов являются образование сквозных отверстий (свищей), вследствие коррозии (химической, электрохимической, под действием блуждающих токов и пр.) и расстройство сварных швов. Оба вида повреждений приводят к нарушению герметичности трубопроводов и, как следствие, к утечкам воды, причем в случае транспортировки воды с отрицательным индексом насыщения подвергаются коррозии и внутренние поверхности труб. Если же транспортируемая среда имеет положительный индекс насыщения, то на внутренней поверхности трубопровода происходят карбонатные отложения. Кроме того, в водоводах первого подъема, в трубопроводах систем технического водоснабжения и в напорных канализационных коллекторах имеют место биологические обрастания.
Все виды отложений (коррозионные, минеральные, биологические) приводят к уменьшению площади живого сечения труб, увеличению шероховатости и, как следствие, к перерасходу электроэнергии на подъем воды и значительному уменьшению пропускной способности трубопровода. Из практики известны случаи, когда за несколько лет эксплуатации пропускная способность водоводов уменьшалась в 2...3 раза.
Уменьшение площади живого сечения трубопровода приводит к еще одному отрицательному явлению ухудшению качества воды. Объясняется это тем, что при увеличении скорости движения воды происходит вымывание из отложений мелких частиц, которые могут доходить до потребителя.
Основными видами повреждений чугунных трубопроводов являются разгерметизация раструбных соединений, а также переломы и разрушения труб вследствие подвижек (просадка, вспучивание, оползни и пр.) основания и больших внешних статических и динамических нагрузок. Кроме того, для чугунных трубопроводов в такой же степени, как и для стальных, характерны минеральные отложения и биологические обрастания с соответствующими последствиями.
Причины повреждений напорных железобетонных труб аналогичны чугунным. Кроме того, свою герметичность они могут терять вследствие развития микротрещин, образовавшихся в процессе транспортировки и монтажа.
Основными видами повреждений канализационных труб (керамических, асбестоцементных, бетонных) являются расстройство стыковых соединений, переломы, разрушения и образование трещин вследствие подвижек основания, а также внешних воздействий (растительность, статические и динамические нагрузки, земляные работы). Бетонные и асбестоцементные трубы подвержены газовой коррозии.
Через неплотности в соединительных стыках через трещины и проломы сточные воды уходят из трубопровода, размывая вокруг грунт, что может привести к крупным провалам поверхности земли, сопровождающихся разрушением строений и инженерных коммуникаций. Уходящая неочищенная сточная жидкойь, попадая в подземные воды, загрязняет их и поднимает уровень грунтовых вод, что может привести к подтоплению подземных частей строений.
При расположении уровня грунтовых вод выше поврежденного трубопровода происходит инфильтрация, т. е. попадание грунтовых вод в канализационный коллектор. При этом расходы сточных вод в значительной степени увеличиваются, соответственно возрастают затраты на их перекачку и очистку.
Повреждение, приводящее к необходимости отключения трубопровода (или его участка) для проведения ремонта или замены, называют отказом. В качестве количественной меры для оценки надежности трубопроводов принята интенсивность отказов трубопровода , 1/(км-год), т.е. частота отказов 1 км трубопровода в течение года. Значения интенсивности отказов трубопроводов получают путем статистической обработки данных по отказам действующих трубопроводных систем. В специальной литературе часто интенсивность отказов отождествляют с параметром потока отказов , 1/(км-год). Действительно, статистические данные не противоречат гипотезе о том, что поток отказов стальных и чугунных трубопроводов является простейшим (пуассоновским). В этом случае =.
На рис. 10.1 показаны статистические зависимости интенсивности отказов стальных трубопроводов от их диаметров для Москвы, Тбилиси, Душанбе и Полтавы. Следует отметить, что для более точной оценки надежности функционирования трубопроводов статистические данные должны постоянно пополняться и уточняться.
Зная числовое значение интенсивности отказов К, 1/(км • год), можно определить другие показатели надежности трубопроводов длиной п километров:
средняя наработка на отказ, ч,
Т= 1/(п); (10.1)

вероятность отказа в течение времени t

вероятность безотказной работы в течение времени t

10.2. Методы прочистки трубопроводов
Как было отмечено в § 10.1, одной из причин нарушения работоспособности трубопроводов являются коррозионные и минеральные (карбонатные) отложения и биологические обрастания внутренних поверхностей труб. Прочистка трубопровода имеет как самостоятельное значение (восстановление пропускной способности), так и является обязательным предварительным этапом в технологическом процессе облицовки внутренних поверхностей труб.
Существует множество различных методов и способов прочистки трубопроводов, которые можно подразделить на механические, гидравлические, гидромеханические и реагентные.
Механический метод прочистки трубопроводов заключается в протаскивании через трубу посредством троса и лебедки механического прочистного устройства (скребкового или манжетного снаряда, ерша и пр.).
На рис. 10.2 показана технологическая схема механической прочистки стального трубопровода. Заведение тросов и прочист-ных устройств в трубопровод осуществляется через вырезы в трубах, доходящих до половины диаметра и длиной около 1,5 м. Вскрывают (вырезают) трубопровод на концах технологической захватки в существующем колодце (предложение и разработка ММП «Мосводоканал») или в специально открытом котловане, как показано на рисунке.

Скребковый снаряд 6 при помощи тяговой лебедки / посредством рабочего троса 3 и с использованием роликов 2 и 4 протаскивается внутри трубопровода 5, очищая при этом внутреннюю поверхность трубопровода. Прочистку трубопровода производят до полного снятия отложений (до сплошного металлического блеска). Количество протаскиваний скребкового снаряда зависит от прочности и толщины отложений и может достигать 5...6 раз.
Взрыхленные и опавшие на дно трубы отложения удаляют с помощью манжетного снаряда 10. Вспомогательные трос 8 и лебедка 9 служат для возвращения рабочего троса в исходное рабочее положение, а также продергивания скребкового или манжетного снарядов в случае застревания (заклинивания) при их рабочем ходе.
На рис. 10.3, а показан внешний вид скребкового снаряда. Он состоит из корпуса (каркаса) 4, к которому прикреплены петли / и 5 для запасовки соответственно рабочего и вспомогательного тросов, а также гребенчатые 2 и радиальные 3 скребки. Гребенчатые скребки разрушают и взрыхляют отложения, а радиальные счищают их с поверхности трубопровода.
На рис. 10.3, б изображен внешний вид манжетного снаряда. Манжеты 7, диаметр которых должен быть равен внутреннему диаметру прочищаемого трубопровода, выполняют из транспортерной ленты толщиной 6... 10 мм и закрепляют на корпусе (каркасе) 4 с помощью дисков 6.
После прочистки трубопровода и удаления из него взрыхленных отложений, через трубу протаскивается поролоновый поршень, который полностью удаляет из трубопровода остатки воды и отложений, а также смачивает поверхность трубы, что является необходимым при нанесении цементно-песчаного покрытия
Механический метод обеспечивает высокое качество очистки внутренних поверхностей трубопроводов. Он является наиболее доступным, безопасным и экономичным.
Недостатком механического метода прочистки трубопроводов является то, что обрабатываемый участок должен быть относительно прямолинейным. Не допускаются вертикальные подъемы и опуски трубопровода, максимальный угол поворота трассы трубопровода в плане и по вертикали не должен превышать 11°. Наличие таковых уменьшает длины технологических захваток и соответственно увеличивает их количество. Это приводит к некоторому увеличению затрат и удлинению сроков производства работ.

Наличие задвижек (полностью открытых) на технологической захватке не является препятствием для механической очистки трубопроводов.
Гидравлический метод очистки трубопроводов заключается в том, что разрушение и снятие отложений осуществляется водяной струей под высоким (до 600 атм) давлением. Удаление из трубы снятых с ее стенок отложений осуществляется водным потоком, имеющим скорость, достаточную для транспортировки образовавшегося шлама.
Метод применяют для прочистки безнапорных канализационных трубопроводов.
Гидромеханический метод снятия отложений с внутренних поверхностей трубопроводов отличается от механического лишь тем, что движение скребкового снаряда или других очистительных устройств осуществляется за счет создания необходимого давления воды сзади прочистного приспособления относительно его движения. Удаление из трубопровода снятых отложений происходит с помощью водного потока.
К гидромеханическому методу можно отнести также прочистку трубопроводов с помощью саморазмывающегося поршня, разработанного НПК «Техногаз-89» (г. Киев). Поршень изготовлен из эластичных композиционных полимерных материалов, сохраняющих механическую прочность в водной среде в течение нескольких часов. Данный промежуток времени достаточен для прочистки участков сети и водоводов большой длины.
Саморазрушающийся поршень представляет собой цилиндрическое тело с округленной носовой частью, в котором имеются продольный канал и сопла. Диаметр цилиндрической части поршня несколько превышает внутренний диаметр прочищаемой трубы.
Для ввода поршня в трубопровод могут использоваться как фасонные части, так и специальные камеры запуска. Прочистка трубопровода ведется на открытый конец, через который сбрасываются снятые отложения и улавливается поршень.
Достоинством данного способа прочистки является то, что в случае наличия в трубопроводе монтажного дефекта непроходимого препятствия поршень, находясь в водной среде в течение 10. .12 ч, разрушается, его материал размывается водным потоком и удаляется из полости трубопровода. Данная технология обеспечивает проведение прочистки без закупорки полости трубопровода и исключает дополнительные затраты на поиски и освобождение застрявшего устройства.
Достоинством гидродинамического метода является то, что прочистке доступны практически все внутренние поверхности трубопроводов. Прочистные устройства способны проходить обычные и сегментные колена, дюкеры и задвижки. При этом эффект очистки не уступает механическому методу. Гидромеханический способ применяют для прочистки напорных трубопроводов.
Очистка внутренних поверхностей труб перед их облицовкой обязательна не только для действующих трубопроводов, но и для новых труб и вновь уложенных трубопроводов. В данном случае при прочистке удаляют окалину, образованную от сварки, а также мусор и грязь, попавшие в трубопровод при строительно-монтажных работах.
Следует также отметить, что прочистка металлических трубопроводов без их последующей облицовки дает кратковременный эффект, так как процесс коррозии очищенной металлической (стальной) поверхности ускоряется, интенсифицируются также процессы карбонатных отложений и биологических обрастаний.
10.3. Бестраншейные методы ремонта трубопроводов
В условиях плотной городской застройки с большим насыщением инженерных коммуникаций ремонт и замена трубопроводов традиционными методами с выполнением земляных работ являются весьма проблематичными, очень дорогостоящими, отрицательно влияющими на городскую экологическую среду, а иногда и просто невозможными. В таком случае применяют бестраншейные методы ремонта и восстановления трубопроводов.
В мировой практике реконструкции трубопроводных систем известны многие методы и технологии бестраншейного ремонта, наиболее распространенными и эффективными из которых являются следующие.
Облицовка внутренних поверхностей трубопроводов це-ментно-песчаным покрытием. Сущность метода заключается в нанесении на внутренние поверхности трубопроводов цементно-песчаного раствора. Осуществляется это центробежным способом с помощью пневматической или электрической метательной головки облицовочного агрегата, протаскиваемого внутри трубопровода посредством троса и лебедки.

Толщина наносимого слоя покрытия зависит от диаметра труб. За один проход можно нанести слой толщиной от 3 до 12 мм, что обеспечивается скоростью продольного движения облицовочного агрегата.
Основными элементами облицовочного агрегата (рис. 10.4) являются метательная головка 5 с центрирующим устройством 4 и заглаживающее устройство 7, обеспечивающее выравнивание наносимого слоя, а также заглаживание и железнение его поверхности. К металлической головке цементно-песчаный раствор
и сжатый воздух подводятся соответствующими рукавами 3 и 2.
Места ввода облицовочного агрегата в трубопровод, а также технология его протаскивания такие же, как и при прочистке труб механическим способом (см. рис. 10.2).
Набравший марочную прочность отвердевший цементно-пес-чаный раствор обладает необходимой прочностью за счет применения высоких марок цемента, а также характеризуется высокой плотностью прилегания к стенкам трубопровода Достигается это за счет низкого водоцементного отношения (0,32... 0,37) и большой скорости центробежного нанесения раствора, обеспечивающей высокую степень уплотнения и прилегания к защищаемой поверхности при ударе о внутренние поверхности трубы.
Уникальное свойство цементно-песчаного покрытия заключается в том, что оно обладает как пассивным, так и активным защитным эффектом от коррозии металла. Пассивный защитный эффект достигается за счет чисто механической изоляции металлической стенки трубы слоем раствора. Активный защитный эффект заключается в том, что при гидратации цемента в порах возникает насыщенный раствор гидроксида кальция, рН которого составляет около 12,6. При этих условиях железо пассивируется за счет образования субмикроскопического покровного слоя из оксидов железа. Этот чрезвычайно тонкий пассивный слой механически изолирован цементным покрытием от протекающей воды, удерживается на месте и предотвращает дальнейшее окисление металла, т. е. коррозию.
Образовавшиеся в процессе схватывания цемента сквозные и несквозные трещины закупориваются выделяющимся из воды карбонатом кальция. Этот активный защитный процесс называют «самолечением» цементного покрытия.
Наряду с1 антикоррозионным защитным эффектом цементно-песчаное покрытие улучшает также гидравлические характеристики трубопровода. Причиной этого является отсутствие коррозии и отложений в трубе, а также возникновение на поверхности покрытия скользкого гидрофильного (гелевого) слоя, образованного мельчайшими частичками глины и железомарганцевыми соединениями. В практике отмечались случаи, когда стальной трубопровод с внутренним цементно-песчаным покрытием после длительной (несколько десятков лет) эксплуатации имел коэффициент шероховатости значительно ниже, чем новые необлицованные трубы.
К числу достоинств рассматриваемого метода ремонта трубопроводов необходимо также отнести высокую экологическую безопасность и надежность цементно-песчаного защитного слоя, что весьма важно для систем хозяйственно-питьевого водоснабжения.
Затвердевшее цементно-песчаное покрытие надежно герметизирует небольшие локальные повреждения в теле трубы, а также нарушенные стыковые соединения.
Нанесение цементно-песчаного покрытия на внутренние поверхности новых металлических труб широко практикуется как: профилактическая мера против коррозии и обрастания трубопроводов.
Для нанесения цементно-песчаного раствора не являются препятствием боковые подключения (ответвления) трубопровод дов, а также задвижки на обрабатываемом участке трубопровода. Наличие таковых не требует никаких дополнительных операций и мероприятий, кроме того, что верхняя часть корпуса задвижки должна быть демонтирована.
Данный метод применяют для бестраншейного ремонта напорных и безнапорных водопроводных и канализационных труб диаметром от 100 мм н выше без ограничений. Наибольшее распространение он получил для восстановления напорных металлических (стальных) трубопроводов.
Из всех известных бестраншейных методов ремонта трубопроводов нанесение цементно-песчаного покрытия является наиболее доступным и экономичным.
Недостатком метода является то, что колена и отводы, а также вертикальные опуски и подъемы трубопроводов малых диаметров остаются практически недоступными для нанесения цементно-песчаного покрытия, хотя они и составляют малую долю длины обрабатываемых труб. Пожарные гидранты, хотя и вре^ менно, должны быть демонтированы. Работы могут выполняться только при положительных (более -f-5 °С) температурах окружающей среды.
Разработчиками и изготовителями технологического оборудования для нанесения цементно-песчаного покрытия на внутренние поверхности трубопроводов являются многие европейские и американские фирмы. В России, в частности в Москве, на протяжении нескольких последних лет успешно применяют технологии и оборудование немецкой фирмы «Нидунг» и американской «Амерон». В настоящее время Научно-исследовательский институт коммунального водоснабжения и очистки воды (НИИ КВОВ), а также некоторые конверсионные предприятия осуществляют разработку отечественного технологического оборудования для нанесения цементно-песчаного покрытия на внутренние поверхности трубопроводов.
Облицовка внутренних поверхностей трубопроводов гибкими рукавами. Сущность данного метода заключается в том, что на внутреннюю поверхность ремонтируемого трубопровода наклеивается гибкий полимерный или стеклопластиковый рукав. В данном случае тонкая ткань рукава является всего лишь пассивной защитой внутренней поверхности трубы от воздействия на нее транспортируемой среды. В безнапорных каналйзационных трубах она также герметизирует небольшие трещины в теле трубы и нарушенные стыковые соединения.
Схема заведения облицовочного рукава в ремонтируемый трубопровод показана на рис. 10.5. На наружную поверхность свободного конца трубопровода 2 натягивается облицовочный рукав 3, внутренняя поверхность которого по всей длине предварительно обработана специальным клеящим составом. Затем вручную на длину вытянутой руки облицовочный рукав выворачивают внутрь трубопровода и приклеивают к его внутренней поверхности. Очевидно, для плотного прилегания и прочного приклеивания рукава к внутренней поверхности трубопровода

необходимо, чтобы размеры их диаметров были одинаковы. В процессе выворачивания рукава его внутренняя поверхность становится внешней, а внешняя внутренней. Дальнейшее продвижение рукава по трубопроводу осуществляется за счет подачи в образовавшиеся пазухи 4 через трубопровод 1 сжатого воздуха или воды под давлением. Давление воздуха или воды обеспечивает дальнейшее выворачивание рукава и продвижение его вдоль всей длины трубопровода, а также равномерность и плотность прилегания к внутренним поверхностям труб.
После полного протаскивания рукава и удаления воды (в случае ее использования) облицованная поверхность трубопровода подвергается специальной обработке в зависимости от применяемого материала рукава и вида клеящего состава.
В случае применения полимерных рукавов обработку их осуществляют ультрафиолетовым или инфракрасным излучением. При этом материал рукава затвердевает прочно и плотно закрепляется на стенках труб. Для быстрого и качественного отвердения клеящего состава как за рубежом, так и в отечественной практике широко используется подача в трубопровод пара под давлением.
Перед вводом облицованного трубопровода в эксплуатацию имеющиеся ответвления открываются изнутри трубопровода при помощи робототехнической установки с дистанционным управлением.
Достоинством метода является высокая степень проходимости гибких рукавов по трубам, т. е. практически все внутренние; поверхности трубопровода доступны для облицовки данным методом.
Облицовка внутренних поверхностей трубопроводов гибкими рукавами широко применяется для канализационных труб дна метром от 100 до 800 мм. В случае использования рукавов, материал которых отвечает соответствующим санитарно-гигиеническим требованиям, этот метод может применяться и для облицовки трубопроводов систем хозяйственно-питьевого водоснабжения.
В России, в частности в Москве, на протяжении ряда лет успешно применяется данный метод для облицовки канализационных трубопроводов. При этом используются в основном технологии, оборудование и материалы иностранных фирм. Успешно применяется и отечественная технология облицовки канализационных труб стеклопластиковыми рукавами, разработанная НПО «Стеклопластик» совместно с ММП «Мосводоканал».
Введение труб, изготовленных из высокопрочного полиэтилена, способного сохранять память формы. Идея метода заключается в том, что внутрь ремонтируемого трубопровода вводятся полиэтиленовые трубы предварительно уменьшенного диаметра или измененной формы поперечного сечения.
Предварительное уменьшение диаметра полиэтиленовой трубы производится путем нагрева ее до 70°С и протягиванием через калибровочное устройство. Таким образом диаметр уменьшается на 10...15 %. После этого полиэтиленовую трубу вводят, внутрь существующего трубопровода, предварительно тщательно очищенного. Остывая, полиэтиленовая труба достигает своего первоначального диаметра и плотно прилегает к внутренней поверхности ремонтируемого участка трубопровода. Ускорить процесс восстановления размера диаметра полиэтиленовых труб можно путем подачи в ее внутреннюю полость сжатого воздуха.
В другом случае возможность введения полиэтиленового трубопровода обеспечивают путем изменения формы его поперечного сечения. Для этого трубопровод большой длины из высокопрочного полиэтилена с изначально круглой в сечении формой и наружным диаметром, равным внутреннему диаметру ремонтируемого трубопровода, в заводских условиях термомеханическим способом деформируют таким образом, что его поперечное сечение приобретает U-образную форму, значительно уменьшаясь в размерах (рис. 10.6, а). При этом деформированный трубопровод имеет достаточную гибкость для сматывания его на барабан, что важно для транспортировки, а также введения его с помощью лебедки в дефектный трубопровод.
После введения полиэтиленового трубопровода в старую трубу концы его обрезаются и перекрываются специальными запорными крышками. При подаче в этот трубопровод пара под давлением труба восстанавливает свою первоначальную круглую форму (эффект памяти формы) и плотно прилегает к старой трубе-оболочке (рис. 10.6,6).
Как в первом, так и во втором случае введенный полиэтиленовый трубопровод имеет самостоятельное значение. Он не зависит от старого и сам способен воспринимать все внутренние и внешние воздействия.
Вскрытие отверстий для существующих подключений осуществляется робототехнической системой с дистанционным управлением.
В зарубежной практике ремонта трубопроводов данный метод чаще применяется для восстановления канализационных труб небольших (до 400 мм) диаметров и реже для трубопроводов водоснабжения. В отечественной практике данный метод применялся пока только в виде экспериментов.

Прокладка нового трубопровода по трассе с разрушением старого. Принцип этого метода заключается в том, что специальным дробящим снарядом производится разрушение (дробление) старого трубопровода. Остатки разрушенной трубы этим же снарядом с большим усилием вдавливаются в грунт, в результате чего образуется горизонтальная выработка круглой формы с уплотненными стенками, диаметр которой больше диаметра разрушенного трубопровода. В данном методе старый трубопровод с протянутым внутри тросом является направляющим каналом, предотвращающим уход снаряда в сторону.
Конструкции дробящих снарядов позволяют с одинаковым успехом разрушать старые чугунные, стальные, асбестоцементные, керамические и пластмассовые трубы.
В горизонтальную выработку одновременно с рабочим ходом дробящего снаряда или последовательно вводится защитная стальная или поливинилхлоридная труба (кожух), через которую протягивают новую рабочую трубу (стальную или полиэтиленовую). Устройство кожуха необходимо для защиты внешних поверхностей рабочих труб при их протаскивании.
Достаточно широко этот метод применяется для бестраншейной замены водопроводных и канализационных трубопроводов небольшого диаметра.
Введение полимерных труб меньшего диаметра. Сущность метода заключается в том, что в изношенный трубопровод вводятся новые полимерные трубы меньшего диаметра. Образовавшийся кольцевой зазор между новой и старой трубами заделывается различными составами
Введение новых труб в старый трубопровод осуществляется через открытые в начале и в конце участка котлованы путем протаскивания сваренной плети лебедкой либо проталкиванием трубопровода отвальной частью ножа бульдозера. Зачастую применяют оба способа протаскивания одновременно.
Применяется этот метод достаточно широко как за рубежом, так и в отечественной практике реконструкции самотечных канализационных сетей.
Пропускная способность нового трубопровода может уменьшиться. Однако данный метод восстановления трубопроводов почти никогда не производится для отдельного участка. Он, как правило, является лишь отдельным фрагментом в комплексе реконструктивных мероприятий всей или достаточно крупной части сети, которые предусматривают перераспределение потоков сточных вод в канализуемом районе.
Данный метод является, пожалуй, единственно возможным для обновления водоотводящих каналов некруглой формы (ово-идальных, прямоугольных и пр.).
10.4. Технологические процессы и параметры облицовки внутренних поверхностей стальных трубопроводов цементно-песчаным покрытием
Московское муниципальное предприятие «Мосводоканал» имеет достаточно большой опыт производства работ по нанесе-, нию цементно-песчаного покрытия на внутренние поверхности трубопроводов. К настоящему времени таким способом облицовано до 100 км в основном стальных трубопроводов системы подачи и распределения воды Москвы. При этом были испробо-, ваны как отечественные, так и многие зарубежные технологии н оборудование. Одной из технологий облицовки, получившей высокую оценку специалистов и, следовательно, довольно широ-< кое применение, оказалась технология немецкой фирмы «Ни-дунг». Технологическое оборудование этой фирмы посредством некоторых усовершенствований было успешно адаптировано к условиям московского водопровода и для применения отечественных материалов.
В Москве производителем работ по облицовке внутренних поверхностей стальных трубопроводов по технологии и с использованием оборудования фирмы «Нидунг» является ТОО «Мос-водоканал Нидунг: ремонт трубопроводов».
Полный технологический процесс нанесения цементно-песчаного покрытия имеет пять этапов.
На первом этапе производится изучение и анализ условий прохождения трассы ремонтируемого трубопровода. На этом этапе составляется проект производства работ, в котором определяются места вскрытия трубопроводов, количество и длины технологических захваток. Как уже отмечалось, усовершенствования ММП «Мосводоканал» Позволили максимально использовать для этого существующие колодцы и камеры и свести к минимуму раскопки трубопроводов.
Вскрытия (вырезание) трубопроводов производятся с двух сторон непреодолимых для прохождения прочистных снарядов и облицовочного агрегата препятствий (вертикальные подъемы и опуски, местные углы поворота трассы в плане и по вертикали более 11°).
Максимальная длина технологической захватки 230 м в рассматриваемом опыте производства работ диктуется длинами имеющихся в наличии рабочего троса и рукавов подачи раствора и воздуха.

Вторым этапом является прочистка трубопровода. Осуществляется она механическим способом (см. § 10.2).
Непосредственному протаскиванию скребкового снаряда предшествуют следующие операции:
заведение в трубопровод рабочего троса с помощью жесткого полиэтиленового и гибкого вспомогательного тросов и вспомогательной лебедки;
предварительное протаскивание манжетного снаряда диаметром, равным диаметру ремонтируемого трубопровода или немно-
го меньшим. Эту операцию производят в случае отсутствия телевизионной системы обследования внутренней полости труба-провода с целью установить, нет ли непреодолимого препятствия для скребкового снаряда. В случае обнаружения такового (застревание манжетного снаряда) производят дополнительную paCf копку и вскрытие трубопровода.
Процесс прочистки завершается протаскиванием через трубопровод поролонового поршня, который окончательно удаляет остатки взрыхленных отложений и воды, а т*кже смачивает поверхности труб перед нанесением на них цементно-песчаного раствора.
Третьим этапом является собственно нанесение цементно-песчаного покрытия. Осуществляют это центробежным способом посредством пневматической метательной головки.
На рис. 10.7 представлена метательная головка конструкции фирмы «Нидунг» для облицовки трубопроводов диаметром 300 и 400 мм. В пневморотационный двигатель головки воздух от компрессора подается по рукаву через штуцер 9. Воздействуя на лопатки 6, он вращает втулку 4, опирающуюся на передний и задний подшипники. В это же время от растворонасоса по рукаву через патрубок 8 подается цементно-песчаный раствор в полый вал 3 и вытекает через его наклонные прорези 10. Выте-каемый раствор попадает на гребенчатые радиальные пластины лопастного колеса, прикрепленного к втулке и вращающегося вместе с ней, и равномерно с большой радиальной скоростью разбрызгивается по периферии.

Толщина наносимого слоя раствора зависит от диаметра трубы и скорости движения метательной головки внутри трубопровода (рис. 10.8). Так, для обеспечения толщины покрытия 5 мм в трубе диаметром 500 мм метательная головка с подачей 40 кг/мин должна двигаться со скоростью 1,88 м/с.
Выравнивание и заглаживание нанесенного слоя раствора осуществляется легким металлическим конусом, который крепится на штанге, надеваемой на хвостовик пробки /.
Требуемая толщина покрытия в зависимости от материала труб и их диаметров представлена в табл. 10.1

Протаскивание облицовочного агрегата внутри трубы осуществляется точно так же, как и скребкового снаряда при механической очистке трубопровода. При этом рукава подачи раствора и сжатого воздуха в едином пучке с рабочим тросом вне трубы движутся сначала по роликам, а на определенном расстоянии от колодца или котлована отделяются от него. Рукав подачи раствора укладывается на поверхности земли змееобразно, а подачи воздуха кольцами (рис. 10.9).
После нанесения покрытия и удаления из трубопровода всех приспособлений вырезы или торцы труб должны быть плотно закрыты полиэтиленовой пленкой или другими заглушками. Это обеспечивает равномерное схватывание цемента по всей длине трубопровода. Для более быстрого набора марочной прочности цементно-песчаного покрытия трубопровод желательно заполнить водой, но не ранее чем через 12 ч после нанесения раствора.

Для приготовления раствора применяют предварительно просеянный портландцемент марки 500, фракционированный кварцевый песок и воду питьевого качества. Максимальный размер зерен песка не должен превышать 1 мм, фракций размером менее 0,14 мм должно быть не более 3 %. Весовое соотношение цемента и песка принимается 1:1, водоцементное отношение 0,32...0,37.
На четвертом этапе технологического процесса облицовки внутренних поверхностей трубопроводов цементно-пес-чаным покрытием выполняют контроль качества производства работ.
Визуальный контроль осуществляют с помощью телевизионной системы. Покрытие должно быть сплошным и равномерным. На поверхности покрытия допускаются продольные борозды (гребни) глубиной (высотой) не более 1 мм, образованные заглаживающим устройством.
Проверку прочности покрытия и плотность его прилегания проводят путем постукивания молотком по доступной внешней поверхности трубы. Делают это не ранее чем через 72 ч после нанесения раствора при температуре окружающей среды (воды, воздуха) не менее 10 °С. Образцы раствора (кубики) периодически испытывают на прочность. Прочность кубика на сжатие должна быть не менее 22,5 МПа.
На пятом этапе производят заварку вырезов в трубопроводах, монтаж снятого оборудования, промывку и дезинфекцию трубопровода.
На рис. 10.9 показан примерный план расположения технологического оборудования и механизмов при облицовке внутренних поверхностей трубопровода цементно-песчаным покрытием. Несмотря на большое количество применяемого оборудования и механизмов, располагаются они на строительной площадке довольно компактно, занимая при этом небольшую площадь, что весьма важно для городских условий производства работ.
Как показал опыт облицовки внутренних поверхностей трубопроводов песчано-цементным покрытием по технологии фирмы «Нидунг», сроки производства работ в 10...12 раз короче сроков нового строительства. Надежность работы облицованных стальных трубопроводов примерно на порядок выше необлицованных, увеличиваются также в 2...3 раза сроки службы труб. Стоимость производства облицовочных работ при этом составляет 15...40 % стоимости строительства нового трубопровода (меньшие цифры соответствуют большим диаметрам).
Глава 11
СООРУЖЕНИЯ НА ВОДООТВОДЯЩИХ СЕТЯХ
11.1. Смотровые колодцы, соединительные камеры и дождеприемники
Смотровым колодцем или камерой называют располагаемую над трубопроводами шахту круглой или прямоугольной в плане формы, внутри которой труба или коллектор заменены открытым лотком. В зависимости от назначения смотровые колодцы подразделяют на линейные, поворотные, узловые и специальные. К специальным относятся контрольные, промывные, колодцы с гидрозатвором, колодцы-дождеприемники. Отдельную группу смотровых колодцев составляют перепадные колодцы.
Линейные смотровые колодцы устраивают на прямолинейных участках сетей. В зависимости от диаметра труб d, мм, расстояния между линейными колодцами /, м, принимают равными: / = 35 при d = 150, /=50 при rf= 200...450, / = 75 при d = 500...600, /=100 при d = 700...900, /= 150 при d=1000...1400, /=200 при d= 1500...2000, / = 250...300 при d > 2000. При обосновании допускается увеличение расстояний между колодцами на 15...20%. На глубоких загородных коллекторах большого диаметра при скоростях движения не менее 1,5 м/с можно увеличить расстояния между колодцами до 500 м.
Диаметры D рабочей части круглых линейных колодцев, м, зависят от диаметров d труб, мм, следующим образом: 1 150...200; 1,25 500...600; 1,5 800; 21000. При диаметрах трубопроводов свыше 1000 мм линейные колодцы, как правило, выполняют прямоугольными в плане.

Рис 11 1. Узловой колодец для уличиой сети диаметром до 400 мм-
/ чугунный люк с крышкой, 2,3 кольца регу лировочиое и опорное, 4,6 железобетонные кольца диаметром соответственно 700 и 1000 мм, 5 плита, 7регулировочные блоки или кирпичные камни, 8 основание, 9 подготовка; 10 скобы
Поворотные смотровые колодцы устанавливают в местах поворота трассы коллектора. Лоток поворотного колодца в отличие от лотка линейного колодца имеет в плане криволинейное очертание с минимальным радиусом искривления, равным 1,5 диаметра труб. Угол поворота должен быть не более 90°.
Внешняя кромка лотка поворотного колодца в зависимости от скорости течения сточных вод должна быть на 5... 15 см выше его внутренней кромки. Разновидностью поворотного колодца является ложноповоротный колодец, который служит для обозначения мест поворота на напорных линиях, в связи с чем его глубина 0,6...0,8 м не зависну от глубины заложения труб.
Узловые колодцы (рис. 11.1) устанавливают в местах бокового присоединения к основной сети одной или двух дополнительных линий. Узел лотков с целью сокращения гидравлических потерь выполняют в виде плавных сопряженных кривых. Узловые колодцы на крупных коллекторах называют соединительными камерами. Типовые решения узловых колодцев разработаны для боковых присоединений диаметром до 500 мм при диаметре основной линии до 1000 мм (табл. 11.1). При высотном сопряжении трубопроводов в узловом колодце по уровню жидкости нижний по течению край лотка должен быть дополнительно опущен на 1.5...3 см во избежание подпора, вызываемого боковыми присоединениями. При сопряжении трубопроводов по шелыгам дополнительного уклона не требуется.

Колодцы с гидрозатвором (рис. 11.2) применяют на производственных водоотводящих сетях, когда сточные воды содержат легковоспламеняющиеся или взрывоопасные компоненты. Устройство такого колодца локализует возможное воспламенение или взрыв легковоспламеняющихся веществ, защищая соседние участки. В ряде случаев колодцы данного типа целесообразно снабжать вентиляционным устройством, а тсжже дополнительными приспособлениями для удаления плавающих загрязнений и осадка.

Дождеприемники (рис. 11.3) служат для приема дождевых (талых) вод стекающих по лоткам, кюветам или мостовым, и отведения их в закрытую водоотводящую сеть. Дождеприемник колодец, состоящий из съемной решетки, круглой или прямоугольной шахты и днища с лотком (иногда с осадочным приямком). Длина присоединения (ветки) от дождеприемника до коллектора не более 25 м, минимальный диаметр трубы 200 мм. При диаметре коллектора более 600 мм дождеприемные решетки (на одной ветке не более четырех решеток) можно присоединять без колодца при длине ветки не более 15 м и уклоне труб не менее 0,01.

Различают две основные схемы (рис. 11.4) расположения дождеприемников:
- в пониженных местах, где дождеприемная решетка принимает весь поверхностный поток;
- на транзитных уклонах, где дождеприемная решетка принимает часть поверхностного потока, а часть «проскакивает» мимо нее.
Эффект работы дождеприемной решетки значительно повышается, если она установлена на 3...5 см ниже примыкающей к ней поверхности мостовой. Рекомендуются следующие расстояния между дождеприемниками в зависимости от продольных уклонов улиц: до 0,004 50 м, 0,004...0,006 60 м; 0,006... ...0,0170 м; более 0,0180 м. Глубина слоя воды ho, см, перед решеткой дождеприемника размером в плане 0,8X0,4 м и соответствующая ей пропускная способность qy л/с, следующие:

Следует, однако, учитывать что при q>100 л/с с учетом частичного засорения решетки возможен нестабильный режим ее работы (режим «захлебывания»), чего следует избегать.
11.2. Перепадные кододцы
Перепадные колодцы на водоотводящих сетях устраивают в следующих случаях:
- в местах бокового присоединения сетей к более глубоко заложенным коллекторам (рис. 11.5, а),
- на коллекторах, расположенных по крутым склонам местности, когда скорости движения сточных вод близки к максимально допустимым (рис 115,6),
- при пересечении коллектора неглубокого заложения с подземными сооружениями и коммуникациями (рис. 11.5, в),
- при затопленных .выпусках в последнем перед водоемом колодце (рис. 11 5, г)
Типы перепадных колодцев в зависимости от их конструктивных особенностей и условий применения:
- линейно-перепадные на трубопроводах диаметром до 600 мм с высотой перепада до 0,5 и до 1,0 м на сетях дождевой канализации (основной сопрягающий элемент прямолинейный лоток повышенного уклона),
- поворотно-перепадные в аналогичных условиях (основной сопрягающий элемент поворотный, лоток повышенного уклона);
- со стояком из металлических труб и с коленом в нижней части (без водобойного приямка) в зависимости от диаметра трубопровода; допустимы следующие значения перепадов:

- со стояком из асбестоцементных и железобетонных труб (при наличии водобойного приямка с металлической плитой в основании);
- для трубопроводов диаметром 300 ..500 мм при перепаде до 6 м; диаметр стояка принимают не менее диаметра подводящего трубопровода, в колодцах над стояком необходимо предусматривать приемную воронку;
- с водобойной стенкой-отражателем и водобойным приямком (колодец шахтного типа малой высоты) для трубопроводов диаметром 150...500 мм; высота перепада не должна превышать 6 м при диаметре трубопровода 150. .200 мм, 4 м при диаметре 250...300 мм и 2 м при диаметре трубопровода 400...500 мм;
- с водобойными решетками с одной решеткой из водобойных балок (плит) при перепаде 1.. 3 м, с двумя водобойными решетками при перепаде 3...4 м на сетях дождевой канализации;
- с водосливом практического профиля и сопряженным экранированием лотком для трубопроводов диаметром 500...1600 мм при величине перепада до 3 м;
- со ступенчатыми перепадами для трубопроводов и каналов диаметром свыше 1600 мм при перепаде свыше 3 м;
- шахтного типа с ярусными перегородками-гасителями, спиральными водосливами и т. п. при перепаде свыше 6 м и стесненных условиях строительства.
Типовые проекты перепадных колодцев рассмотренных модификаций рассчитаны на перепад до 4 м при яак.:иьальном заглублении колодца 7 м. Во всех остальных случаях инструкции перепадных колодцев подлежат расчету и принимаются по индивидуальным проектам.
Колодцы с трубчатыми перепадами устраивают без водоносных приямков (рис. 11.6) и с водобойными приямками (рис. J.7.). В колодце над стояком обычно устраивают приемную воронку. Диаметр стояка должен быть не менее диаметра подходящего трубопровода, так как стояки часто засоряются. Поскольку с увеличением расхода обычно больше и диаметр стояка, для гашения кинетической энергии падающей струи при устройстве перепадов с водобойными приямками глубина последних; в зависимости от высоты перепада может быть принята от 0,75 до 2 диаметров стояка.
Перепадные колодцы данного типа обычно выполняют из сборного или монолитного железобетона, реже нз бетона и кирпича, круглыми илн прямоугольными в плане. Основные размеры типовых колодцев данного типа (рис. 11.7) представлены в табл. 11.2. ;
• Колодцы с водобойной стенкой-отражателем наиболее про- <
сты по конструкции и при наличии водобойной подушки обеспе- '
чивают эффективное гашение избыточной энергии при диаметрах 4
подводящего коллектора не менее 500 мм в широком диапазоне
перепадов. Колодцы данного типа обычно прямоугольные в плане. Водобойная стенка-отражатель делит объем шахты колодца на две части: водопропускную (мокрую) и эксплуатационную (сухую). Эксплуатационная часть оборудуется подвесными скобами, лестницами; в ней при необходимости могут быть установлены щитовые затворы (шиберы) для проводящего и отводящего трубопроводов.
Водобойную стенку-отражатель следует располагать в плане таким образом, чтобы ширина водопропускной шахты (расстояние от выходного сечения

подводящего трубопровода) в среднем в 1,5 раза превышала глубину потока в подводящем коллекторе. При этих условиях исключается подпор в трубопроводе и обеспечивается равномерное растекание жидкости по всей ширине водобойной стенки-отражателя, что облегчает условия работы водобойного колодца. При
большой высоте перепада (свыше 4 м) и скорости потока в подводящем коллекторе свыше 1,5 м/с ширина потока жидкости, ударяющей в водобойную стенку-отражатель, обычно превышает ширину стенки и равномерность распределения расхода по ширине стекающего потока нарушается. В этом случае часть жидкости в нижней части водобойной стенки будет вытеснена на боковые поверхности шахты и падающий поток вместо плоской подковообразной формы примет пространственную П-образную форму.

Учитывая наличие в составе сточных вод механических и химических компонентов, а также гидродинамическое воздействие потока, водобойную стенку-отражатель в мокрой части колодца и водобойный колодец целесообразно облицовывать металлом*' Если перепадной колодец данного типа применять с учетом изложенных выше рекомендаций, то глубина водобойного колодца из условия создания затопленного (надвинутого) гидравлического прыжка не превышает 0,3 м.
Колодцы с водобойными решетками (рис. 11.8) обычно устраивают прямоугольной, реже круглой формы в плане. Водобойные решетки располагают ярусами на некотором расстоянии друг от друга. При высоте перепада до 3 м устраивают один ярус решеток, при высоте перепада свыше 3 м два яруса одинаковой высоты. При падении потока и раздроблении его на решетках происходят интенсивное гашение кинетической энергии, гашение остаточной энергии и сопряжение бьефов происходит в водобойном приямке.
Типовые проекты перепадных колодцев данного типа из сборного железобетона разработаны для труб диаметром 500...1600 мм при высоте перепада до 4 м. Плиту основания водобойного колодца усиленно армируют. Перепадные колодцы данного типа следует применять в основном на дождевых сетях, когда в сточной воде отсутствуют крупные включения, способные засорять решетки.
Колодцы с водосливом практического профиля состоят из параболического водослива и водобойного колодца в его основании Основная энергия потока гасится в результате затопления гидравлического прыжка. Криволинейный водослив и водобойный колодец следует выполнять из монолитного железобетона. Применение колодца данного типа практически не ограничено по диаметру сети, но не рекомендуется при перепаде свыше 3 м. При значительных перепадах следует устанавливать два или большее число перепадных колодцев данного типа. Перепадные колодцы с водосливом практического профиля получили широкое распространение. В ряде случаев такой колодец проектируют состоящим из двух параллельных рабочих секций. При выходе на ремонт каждая секция выключается из работы с помощью щитовых затворов, установленных в конце подводящих и начале отводящих трубопроводов.
Пример расчета перепадного колодца с водосливом практического профиля (рис 11.9) На пропуск расчетного расхода сточной воды qmax = 850 л/с (0,85 м3/с) принят перепад с водосливом практического профиля. Диаметры и уклоны подводящего и отводящего коллекторов равны d=1000 мм, i=0.0015 а абсолютные отметки их лотка у перепада соответственно 101,10 м и 98,10 м. Высота перепада Н= 3 м.
Требуется определить глубину водобойного колодца h, длину водобойной части lв, общую длину L, а также очертания параболической поверхности водослива.
По расчетным таблицам (см Приложение 8) находим наполнение, глубину h

и скорость потока в коллекторе на подходе к перепаду и на выходе из него, h/d = 0,8; h = 0,8 м, v = 1,26 м/с
Определяем удельную энергию потока иа подходе к перепаду, отнесенную к отметке дна водобойного колодца, задавшись первоначальной глубиной колодца hк = 0,4 м.
T0 = Н + h + hn = v2/(2g) = 3 + 0,8 + 0,4 + 1,262/(2-9,8) = 4,28м (11 1)
Находим скорость потока в сжатом сечении водобойного колодца
При высотах перепада до 3 м и выходе потока из круглой трубы в водосливной канал прямоугольного поперечного сечения = 0,9
Определяем глубину потока hс в сжатом сечении и вторую сопряженную с ней глубину h" при надвинутом (затопленном) гидравлическом прыжке (принимая ширину В водосливного канала и ширину водобойного колодца равными диаметру d коллектора)

где = 1,05 коэффициент надвинутой струи
Поскольку первоначально принятая глубина водобойного колодца h практически не отличается от вычисленной hk расчет можно не повторять Предельное значение удельной энергии Tо, соответствующее критической форме сопряжения, при которой образуется затопленный прыжок, определяем по формуле

где qo q/d относительный расход, равный 0,85 м3/(с • м).
Так как T0>T0, то прыжок будет затоплен, что способствует лучшим условиям работы колодца Длину водобойного колодца определяют следующим образом.


Слнвную поверхность водослива строят по координатам хну (рис. 119), при этом задаются величиной у, а по табл 11.3 определяют х с учетом l0 = 3,29 м по формуле


Колодцы шахтного типа большой высоты устраивают при значительных перепадах (свыше 6 м) и расходах сточной жидкости в стесненных условиях строительства. Конструкция колодца включает следующие основные элементы: приемную часть, стояк (шахта) с многоступенчатыми перепадами и водобойный колодец в основании. Ступени в шахте располагают по высоте в шахматном порядке. Жидкость в шахте может двигаться как в самотечном, так и в напорном режимах На условия движения жидкости и режим работы колодца существенное влияние оказывает воздух, скапливающийся под ступенями. При самотечном режиме движения жидкости под ступенями давление воздуха меньше атмосферного, а при напорном режиме значительно больше атмосферного. Повышение давления воздуха и его пульсации нарушают режим течения жидкости и являются нежелательными для устойчивой работы всего сооружения. Расстояние между ступенями по высоте Z рекомендуется принимать равным (1...1,25) В при прямоугольном или (1...1,25)D при круглом сечении шахты (В-ширина прямоугольной шахты, D-диаметр круглой шахты), а площадь ступени - равной половине площади поперечного сечения шахты.
Колодцы данного типа, хотя и конструктивно сложны, обеспечивают высокую степень гашения энергии падающей жидкости. Перепадной колодец выполняют из сборного или монолитного железобетона. Так как ступени колодца воспринимают основное силовое и кавитационное воздействие потока воды, к их устройству должны предъявляться повышенные требования. Колодец данного типа проектируют обычно состоящим из трех отделений: эксплуатационного (сухого) и двух водопропускных (мокрых). Гидравлический расчет колодцев данного типа ввиду сложности целесообразно корректировать с учетом результатов экспериментальных исследований на масштабных моделях этих сооружений
11.3. Дюкеры, переходы, эстакады
Дюкер представляет собой водопропускное сооружение на самотечной водоотводящей сети, устраиваемое при переходе через различного рода препятствия (реки, овраги, строения, автомобильные и железные дороги), имеющие U-образный профиль и работающее полным сечением (наполнение h/d = 1; рис. 11.10). Дюкеры через водоемы выполняют не менее чем в две рабочие линии. Диаметр труб дюкера принимают не менее 150 мм. Если невозможно обеспечить скорость движения воды не ниже 1 м/с по каждой из линий, одна линия принимается рабочей, а другая остается резервной. Трубы применяют стальные с усиленной антикоррозионной изоляцией. При устройстве дюкера под транспортными магистралями его линии заключают в стальной или железобетонный кожух для защиты от динамического воздействия при движении транспорта.
Дюкер укладывают по дну русла реки в траншее, разработка которой обычно ведется методом гидроразмыва. Угол наклона восходящей и нисходящей ветвей дюкера к горизонту а должен быть не более 20°. Глубина hi до верха трубы не менее 0,5 м, а в пределах фарватера на судоходных реках не менее 1 м, желательна также защита от механических повреждений в виде каменной наброски. Устройство аварийного выпуска из верхней камеры дюкера должно быть согласовано с органами санитарно-экологического контроля и охраны водоема. Верхняя камера дюкера состоит из двух отделений: мокрого и сухого, разделенных водонепроницаемой перегородкой. В пределах мокрого отделения самотечный трубопровод переходит в открытые лотки, в сухом отделении на линиях дюкера устанавливают задвижки. Нижнюю камеру устраивают в виде одного отделения, где трубопроводы переходят в открытые лотки, в начале которых устанавливают щитовые затворы.

Гидравлический расчет дюкера заключается в определении потерь напора на трение по длине hтр при пропуске расчетного расхода с учетом местных потерь напора hм на разделение и слияние потоков во входной (верхней) и выходной (нижней) камерах, а также на повороты Сумму указанных потерь напора h, определяющую разность отметок лотков труб во входной Z\ и выходной Z2 камерах, определяют по формуле

где i потеря напора в трубах на 1 м длины, м, определяемая с помощью таблиц для гидравлического расчета напорных трубопроводов (см. Приложение 5); / длина дюкера, м; M = i + 2 + 3 коэффициент местных сопротивлений, равный сумме местных потерь на входе в трубу 1, выход из нее 2 и повороты з; v скорость течения сточных вод в дюкере, м/с.
Коэффициент сл зависит от формы входа. Для трубы с острой входной кромкой i = 0,5, при закругленной кромке i = 0,2, при кромке со снятой фаской , = 0,3...0,35. Применяя эти значения i, находим потери напора на входе:

Значения потерь напора на входе h1, мм, в зависимости от скорости потока v берут из табл. 11.4, при других скоростях и значениях сл находят путем интерполяции.

Значение сопротивлений на выходе из дюкера hi может быть определено по формуле

где V1 скорость движения воды в отводящем коллекторе, м/с.

Значения потерь напора на выход Аг, мм, в зависимости от разности скоростей v v\ даны в табл. 11.5.
Для поворотов трассы, выполняемых с помощью типовых фасонных частей, в частности для отводов и колен, потери напора могут быть определены по формуле

где угол поворота трубы, град.; з = 0,131 + 1,847(г/R)0,5 коэффициент местного сопротивления на поворот потока; r радиус трубы; R радиус закругления.
Значения сопротивления h3, мм, для различных диаметров труб даны в табл. 11.6.

Особые режимы работы. К особым режимам работы дюкера относятся аварийный (одна линия полностью отключена) и режим профилактической промывки, когда одна линия пропускает только часть расчетного расхода (при частично закрытой задвижке), а в другую поступает увеличенный промывочный расход Гидравлический проверочный расчет дюкера на особые режимы работы в целом аналогичен расчету в нормальном режиме. Для того чтобы определить величину h в режиме промывки, вычисляют ее значения для трубопровода с большим расходом и для трубопровода с частично закрытой задвижкой; в расчет принимается максимальное значение h. Потери напора в задвижках определяют по формуле

где g4 коэффициент сопротивления задвижки, который может быть вычислен с помощью табл. 11.7

Переходы под железными и автомобильными дорогами применяют: для дорог, проходящих в глубоких выемках, дю-керные, а в остальных случаях самотечные. Переходы дюкер-ного типа под дорогами укладывают с теми же условиями расчета, строительства и эксплуатации; что н дюкеры под реками. Переходы самотечного типа выполняют из стальных, чугунных или напорных железобетонных труб того же диаметра, что и подводящий коллектор. Переходы под путями имеют следующие конструкции: стальная труба без футляра (кожуха); труба в монолитном бетонном или железобетонном стуле; труба в футляре-кожухе; открытый лоток в галерее или тоннеле. Трубы в монолитном стуле под дорогами укладывают при мелком заложении и открытом способе производства работ. Переход в виде трубы в футляре прокладывают способом продавливания с помощью гидравлических домкратов или горизонтальным бурением. В местах перехода трасса трубопровода должна быть прямолинейной и пересекать дороги под углом, близким к прямому.
Переходы трубопроводов через железные и автомобильные дороги I и II категории, а также через городские магистрали следует предусматривать в футлярах (коробках) или тоннелях. Заглубление трубопровода от подошвы рельса или покрытия автомобильной дороги зависит от способа производства работ. Так при открытом способе это расстояние не менее 1 м до верха трубы или футляра, тогда как при закрытом способе (продавлива-ния, прокол, горизонтальное бурение, щитовая проходка) не менее 1,5 м до верха футляра. При устройстве переходов целесообразно предусматривать в верхнем и нижнем ближайших колодцах запорную арматуру, позволяющую отключать переход на профилактику или ремонт.
• Эстакады устраивают при пересечении глубоких оврагов или суходолов самотечными трубопроводами, отметки лотка которых значительно превышают отметки дна пересекаемого препятствия. Конструктивно эстакада представляет собой мост на высоких опорах, по которому проложен самотечный трубопровод из длинномерных металлических и железобетонных труб в утепленном коробе футляре. Короб утепляют шлаком, керамзитом, минеральной ватой. Эстакада по конструкции более проста, чем дюкер, и может одновременно использоваться как пешеходный мост. На трубопроводе вместо смотровых колодцев устраивают ревизии для прочистки труб, а перед эстакадой аварийный выпуск, устройство которого согласовывают с санитарно-эпидемиологической службой. Напорные водоотводящие трубопроводы, прокладываемые, как правило, в две линии, при пересечении рек и оврагов подвешивают в утепленных коробах к пролетам существующих мостов.
РАЗДЕЛ ЧЕТВЕРТЫЙ
НАСОСЫ И НАСОСНЫЕ СТАНЦИИ
Глава 12
РАБОЧИЙ ПРОЦЕСС ЦЕНТРОБЕЖНЫХ НАСОСОВ
12.1. Схема устройства и принцип действия центробежных насосов
Насосы являются одним из видов гидравлических машин, преобразующих механическую энергию привода (электрического, дизельного, парового или др.) в механическую энергию движущейся жидкости. Насосы поднимают жидкость на определенную высоту, перемещают ее под напором на необходимое расстояние в горизонтальной плоскости, принуждают циркулировать ее в замкнутой гидравлической системе или создают и поддерживают в ней определенное давление.
Выполняя одну или несколько указанных функций, насосы входят в состав основного оборудования насосных станций или установок

Наибольшее распространение в системах водоснабжения и водоотведения получили центробежные насосы, которые в соответствии с классификацией по ГОСТ 1739872 (рис. 12.1) относятся к динамическим лопастным.
На рис 12.2 показана схема устройства центробежного насоса, основным органом которого является свободно вращающееся внутри корпуса рабочее колесо 4, насаженное на вал 3. Рабочее колесо состоит из двух дисков: переднего 10 и заднего 2, между которыми, соединяя в единую конструкцию, расположены лопасти 5, плавно изогнутые в сторону, противоположную направлению вращения колеса. Внутренние поверхности дисков и поверхности лопастей образуют межлопастные каналы 13, которые при работе насоса заполнены перекачиваемой жидкостью.
При вращении рабочего колеса на каждую частицу жидкости, находящуюся в межлопастном канале, действует центробежная сила, в результате чего перекачиваемая среда выбрасывается из рабочего колеса. При этом в центре колеса создается разрежение, а в периферийной его части повышенное давление. Непрерывный подвод воды в межлопастные каналы осуществляется, через всасывающий патрубок 7 и центральное отверстие 6 в переднем диске рабочего колеса. Движение жидкости во всасывающем трубопроводе 8 происходит вследствие разности давлений над свободной поверхностью жидкости в нижнем бассейне (атмосферное) и в центральной части рабочего колеса (разрежение), Отвод жидкости осуществляется через расширяющуюся спиральную камеру (улитку), образованную корпусом насоса. Спиральная камера переходит в короткий диффузор, образующий напорный патрубок //, присоединяемый к напорному трубопроводу 12.
В настоящее время существуют разнообразные конструкции центробежных насосов, применяемые в зависимости от требуемых параметров, назначения и условий работы.
t

На рис. 12.3 показана схема устройства многоступенчатое (в данном случае трехступенчатого) центробежного насоса, котором перекачиваемая жидкость проходит последовательно через три рабочих колеса, насаженных на общий вал. Создаваемый таким насосом напор равен сумме напоров, развиваемых каждым колесом.
На рис. 12.4 представлена схема устройства центробежного насоса с двусторонним подводом воды на рабочее колесо, каждая из половин которого симметрична друг другу относительно плоскости, совпадающей с задним диском. Подача такого насоса примерно в два раза больше подачи насоса с односторонним подводом воды (см. рис. 12.2) при равных диаметрах рабочего колеса.
12.2. Параметры и характеристики центробежных насосов. Коэффициент быстроходности
Основными параметрами насосов, определяющими область их применения, являются напор, подача, мощность, коэффициент полезного действия, допустимая вакуумметрическая высота всасывания (допустимый кавитационный запас).
Подача объем жидкости, подаваемый насосом в единицу времени, выражается в м3/с, м3/ч, л/с.
Напор приращение удельной энергии жидкости на участке от входа в насос до выхода из него, выражается в МПа.
Различают требуемый напор насоса и напор, развиваемый работающим насосом.
Требуемый напор, значение которого необходимо для подбора насоса, определяют (рис. 12.5) по формуле

где Hг геометрическая высота подъема разность геодезических отметок уровней жидкости в верхнем и нижнем бассейнах, м; hв - потери напора (местные и по длине) во всасывающем трубопроводе, м; hн - то же, в напорном трубопроводе, м. Напор, развиваемый работающим насосом, определяют по показаниям манометра на напорном трубопроводе и манометр, или вакуумметра на всасывающем трубопроводе.
При расположении оси насоса выше уровня жидкости в ннж нем бассейне (рис. 12.6, а, б) напор H, м работающего насос определяют по формуле

где М0 показание манометра, приведенное к оси насоса, i V0 показание вакуумметра, приведенное к оси насоса, м; V1 - скорость движения воды на входе в насос, м/с; V2 - то же, на выходе из насоса, м/с; g = 9,81 м/с2 ускорение свободно, падения.
При расположении оси насоса ниже уровня воды в нижнем бассейне (установка насоса «под залив», (рис. 12.6, в, г) напор, м, определяют по формуле

где М01, М02 показания манометров, приведенные к оси насоса соответственно на напорном и всасывающем трубопроводах, м.
Значения М0, М01, М02 определяют с учетом столба жидкости в подводящей к манометру трубке, т. е.
M0=M±ZM, (12.4)
где М фактическое (замеренное) показание манометра, переведенное в м; Zм-расстояние по вертикали от уровня установки манометра до оси насоса, м; «+» при расположении манометра выше оси насоса (рис. 12.6, а, в); «» то же, ниже оси насоса (рис. 12.6, б, г).
Подводящая трубка вакуумметра заполнена воздухом, поэтому при определении V0 учитывают расстояние по высоте от точки подключения вакуумметра к трубе до оси насоса Zv, м, т. е.
Vo=V±Zv, (12.5)
где V фактическое (замеренное) показание вакуумметра, переведенное в м; «+» при подключении вакуумметра ниже оси насоса (рис. 12.6, б); «» то же, выше оси насоса (рис. 12.6, а).
Мощность насоса. Для подачи расхода жидкости Q, м3/с, под напором Н, м, требуется мощность Nn, кВт:
Nn=pgQH, (12.6)
где р плотность жидкости, кг/м3. Эту мощность называют полезной.
Мощность насоса с учетом потерь энергии в нем определяют по формуле
N=pgQH/, (12.7)
где - КПД насоса.
Коэффициент полезного действия насоса учитывает все потери энергии в насосе гидравлические г, объемные 0б и механические мех:

Коэффициент полезного действия работающего насоса определяют как отношение полезной мощности Nn к потребляемой N:
= Nn/N. (12.9)
Коэффициент полезного действия насосного агрегата а определяют по формуле

где , дИ, пр КПД соответственно насоса, двигателя и привода; при жестком соединении вала насоса и ротора двигателя пр = 1.
Допустимая вакуумметрическая высота всасывания. Hвдоп предельное значение вакуума на входе в насос, с увеличением которого нарушается сплошность потока жидкости, т.е. возникает кавитация. Область бескавитационной работы насоса может быть определена также с помощью допустимого кавитационного запаса hдоп представляющего собой необходимое превышение удельной энер гии потока на входе а насос над энергией, соответствующее давлению насыщенного пара перекачиваемой жидкости,
В паспортах и каталогах насосов даются значения НВдоп, N или hдоп, м, для холодной воды (t35°С). При расположения насоса на уровне Балтийского моря. При этом связаны они между собой следующим образом:

Характеристиками иасоса являются графически выражен ные зависимости в координатах Q-H, Q-N, Q-ц, Q-haon Соответственно напора H, мощности N, коэффициента полезного действия и допустимого кавитационного запаса hдоп от подачн Q
На рис. 12.7 показаны характеристики насоса Д500-65 Сплошные линии соответствуют максимальному диаметру рабо чего колеса, пунктирные обточенному до минимальных разме ров.
Максимальному значению коэффициента полезного действие rima* соответствуют номинальные подача Qho1, 500 мэ/ч и напо| Я„ом = 65 м, значения которых входят в обозначение типоразмеру насоса. Область кривой Q'H, соответствующая высоким значени ям КПД, называется рабочей частью характеристики. Стремятся чтобы насос работал во всех режимах в области рабочей част! характеристики, т. е, с высоким КПД.
В Приложениях 6 и 7 даны характеристики насосов типов Д СД и СДВ.
Графические характеристики насоса дают наглядное пред ставление об изменении основных его параметров, однако т позволяют использовать электронно-вычислительную технику дл! анализа работы насосов. Для этого необходимо аналитически описание характеристик насоса.
Существует несколько способов аппроксимации кривых Q'H Q-jV, Q'l], Q-АЛд, получаемых путем заводских испытаний паса* сов, а именно: с помощью сплайи-фуикций, уравнений полно! или неполной квадратичной параболы. Выбирают тот или и hoi способ в зависимости от формы кривой и требуемой точности ait проксимации,
При проведении инженерных расчетов для аналитическое описания рабочей части характеристики Q-H с заметной кривизной (в большинстве случаев это характерно для водопроводных насосов) используют уравнение неполной квадратичной параболы

Для канализационных насосов напорные характеристики в пределах их рабочей части по форме близки к прямой. Тогда указанный участок характеристики может быть описан уравнением прямой

В табл. 12.1 даны коэффициенты для аналитического описания напорных характеристик водопроводных (тип Д) и канализационных (СД, СДВ) насосов с помощью соответствующих уравнений (12.12) и (12.13).
Коэффициентом быстроходности насоса называют частоту вращения модельного рабочего колеса другого (условного) насоса, геометрически подобного рассматриваемому, который при полезной мощности 735,6 Вт (1 л. с) н подаче 0,075 м3/с развивает напор 1 м.
Определяют коэффициент быстроходности п, по формуле

где Q подача, м3/с; для насосов с двусторонним подводом воды на рабочее колесо вместо Q принимают Q/2; п частота вращения, мин-1; Н напор, м; для многоступенчатых насосов вместо Н принимают H/i, i количество ступеней.
В табл. 12.2 показана взаимосвязь между значением коэффициента быстроходности с конструкцией рабочего колеса, параметрами и характеристиками центробежных насосов.

1
12.3. Влияние частоты вращения, диаметра рабочего колеса
и потерь напора во всасывающем трубопроводе
на параметры и характеристики центробежных насосов
Формулы пересчета. По законам подобия для однотипных насосов параметры Qo, Но, N0 изменяются на Q, Я, N при изменении частоты вращения от п0 до п и уменьшении диаметра рабочего колеса от Do до D в соответствии с выражениями

Для одного и того же насоса (Do = D) зависимость параметров насоса от частоты вращения рабочего колеса выражается формулами

При постоянной частоте вращения п0=п=const и ширине лопасти biconst пересчет параметров насоса в зависимости от диаметра рабочего колеса выполняют по формулам

Влияние частоты вращения рабочего колеса. На практике возникает необходимость пересчета паспортных характеристик насоса, установленных при частоте вращения рабочего колеса п0, для другой частоты вращения п.
Из формул (12.18) и (12.19) следует, что
(Qo/Q)2 - Но/Н,
или
H = (Ho/Ql)Q2.
Очевидно, что для каждой конкретной точки i характеристики Q-H (рис. 12.8) отношение Hoi/Qli является постоянной величиной, т. е. Hoi/Qoi = ki const. Это значит, что при изменении частоты вращения от п0 до п каждая i-я точка характеристики Q-H перемещается в свое новое положение i' по параболе Я = = k,Q2, проходящей через начало координат. Эти параболы называют кривыми пропорциональности или параболами подобных режимов.

Параболы подобных режимов являются линиями постоянного КПД. В действительности иасос не сохраняет постоянства КПД, так как с увеличением п возрастают скорости потока и пропорционально квадратам скоростей гидравлические потери в проточной части насоса. С другой стороны, при малых значениях п больше влияют механические потери энергии Максимальные значения КПД соответствуют «паспортному значению частоты вращения рабочего колеса п0. При других п, больших или меньших, КПД уменьшается по мере увеличения отклонения п от п0.
Необходимо отметить, что режим работы насоса с пониженной частотой вращения допускается, но повышение частоты вращения больше чем на 10...15% должно быть согласовано с заводом - изготовителем.
Рассмотрев аналогичным образом формулы (12.18) и (12.20) можно установить, что точки, лежащие на линии Q-N, перемещаются в зависимости от частоты вращения по кубическим параболам N = m,Q3, где m, = Noi/Q30i
На рис. 12.8 показан характер перемещения кривых Q-H, Q-N и Q- при уменьшении частоты вращения рабочего колеса от по до п.
Влияние величины диаметра рабочего колеса. Для увеличения области применения насоса в практике проектирования и эксплуатации насосных станций применяют срезку (обточку) рабочего колеса от D до Оср. При этом изменяются характеристики насоса.
Подачу Qcp и напор Hср насоса со срезанным рабочим колесом диаметром Ьср можно определить с помощью формул подобия (12.21) и (12.22), зная подачу Q и напор Н насоса до обточки рабочего колеса, имеющего диаметр D. Из этих формул следует, что Qcp/Q = DCp/D. Учитывая тот факт, что для каждой i-й точки, лежащей на напорной характеристике насоса с обточенным рабочим колесом, отношение напора к подаче является величиной постоянной, т.е.
HCp,/QCp, = kt = const, имеем
H=kiQ. (12.24)
Это значит, что после обточки рабочего колеса каждая i-я точка напорной характеристики насоса переместится в свое новое положение i по прямой, проходящей через начало координат (рис. 12.8).
Для рабочих колес с ns<150 при пересчете характеристики Q-H более точный результат дают формулы
Qcp/Q = Dcp/D; Hср/H = (Dcp/D)2. (12.25)
В этом случае при уменьшении диаметра рабочего колеса точки напорной характеристики перемещаются по параболам с вершинами в начале координат (рис. 12.9):
H=miQ2. (12.26)
Рабочие колеса насосов с коэффициентом быстроходности ns>300 обтачивать не допускается.
При срезке рабочего колеса КПД насоса изменяется незначительно. С достаточной точностью можно принимать, что КПД уменьшается на 1 % на каждые 10 % срезки колеса с коэффициентом быстроходности rts = 60...200 и на 1 % на каждые 4 % срезки при ns = 200...300.
В зависимости от коэффициента быстроходности рекомендуются следующие пределы срезки колес:


В технических паспортах и каталогах насосов даются характеристики Q-H, Q-N, Q- для трех значений диаметра рабочего колеса: максимального (номинального), минимального и промежуточного. Выбирают тот или иной диаметр из условий наиболее точного обеспечения требуемых Q и H насоса при работе его в конкретную гидравлическую систему.

Если в системе коорди нат Q Н нанести рабочие части напорных характеристик, определяемые областью допустимых (высоких) КПД, для номинального и минимального диаметров рабочего колеса и их границы соединить линиями, образуется поле насоса рекомендуемая область его применения.
В каталогах насосов приводятся сводные поля насосов. По этим графикам подбирают типоразмер насоса на заданный режим работы (см. Приложения 6, 7 и 8).
Влияние потерь напора во всасывающем трубопроводе на напорную характеристику насоса учитывают путем вычитания из ординат кривой Q Н потерь напора hв=sвQ2 (s приведеное сопротивление всасывающего трубопровода).
При графическом представлении характеристики Q Н расчет достаточно провести для 56 точек (рис. 12.10).
Аналитические характеристики (12.12) и (12.13) с учетом потерь напора во всасывающем трубопроводе соответственно принимают вид
В формулах (12.27) и (12.28) значения a, b и s„ должны приниматься для единой размерности расхода жидкости.
12.4. Совместная работа насосов и водоводов
Совместная работа одного насоса и водовода. Подача насоса может изменяться от нуля до максимального значения, зависящего от его конструкции (типоразмера). При этом остальные параметры напор, мощность, КПД и допустимый кавитацион-ный запас также изменяются в определенных пределах. Фактические же значения параметров зависят от того, в какой гидравлической системе работает насос.

Гидравлическую характеристику водовода описываем уравнением
H = Hг + sQ2 (12.29)
где Hг геометрическая высота подъема жидкости насосом, м; s приведенное сопротивление напорного трубопровода.
Для определения параметров необходимо в единой системе координат нанести характеристику Q-H насоса (при определенных значениях частоты вращения и диаметра рабочего колеса и с уче» том потерь напора во всасывающем трубопроводе, если они значительны) и построенную по 56 точкам гидравлическую характеристику водовода H= Hг + sQ2 (рис. 12.11). Точку пересечения кривых А называют рабочей (режимной) точкой, определяющей фактические значения параметров насоса; Qф, Нф, Nф, ф, hдф,
Данный способ определения рабочей точки насоса называют графоаналитическим.
Определить фактические значения подачи и напора можно и аналитическим способом, приравняв правые части уравнений (12.12) или (12.13) с правой частью уравнения (12.29). Тогда для водопроводных насосов

Коэффициенты a и b берут из табл. 12.11 для сответствующих насосов и размерности расхода жидкости.
Формулы (12.30)…(12.33) справедливы лишь в том случае, если уравнение напорной характеристики насоса и уравнение гидравлической характеристики трубопровода имеют общее решение в пределах рабочей части характеристики Q-H.
Параллельная работа насосов это одновременная подача перекачиваемой жидкости несколькими насосами в общий напорный коллектор. Применяется она для обеспечения требуемого режима работы наеосной станции как одна из мер повышения надежности системы подачи и распределения воды, а также в случае невозможности подачи нужного расхода жидкости одним насосом,
Обязательным условием параллельного подключения нескольких насосов является приблизительное равенство их напоров в области рабочих частей характеристик Q-Я,
Суммарную графическую характеристику Q-Я нескольких одинаковых или разнотипных параллельно работающих насосов получают путем сложения подач каждого насоса при произвольно фиксированных равных напорах (рис. 12,12).

Для получения аналитического выражения суммарной напорной характеристики Qz - H параллельно работающих насосов необходимо их аналитические характеристики Q-H формулы (12.12) и (12.13) решить относительно подач Q, путем сложения правых частей получить выражение общей подачи Qs и решить его относительно напора H. Для п одинаковых параллельно работающих насосов аналитическое выражение суммарной напорной характеристики Q-H имеет вид
H = a-bQi/n2. (12.34)
На рис. 12.13 дан пример часто встречающейся на практике совместной работы четырех одинаковых иасосов (два из которых рабочие, а два резервные) на два водовода.
Точка А режимная точка при параллельной работе двух насосов на два водовода. Лежит она на пересечении линий (Q-H)1-2 и Н=Нг+S1+2Q2. При этом насосы подают расход жидкости Q1+2 с напором H1+2. Для определения других параметров иасосов необходимо из точки А провести горизонтальную линию до пересечения с напорной характеристикой одного насоса линия (Q-H)i,2,3. Из этой точки восставляют перпендикуляр, пересечения которого с характеристиками Q-, Q-N, Q-hд определяют соответственно коэффициент полезного действия х\а, мощность Na и допустимый кавитационный запас hM.

Точка В режимная точка при работе одного насоса на два водовода. При этом насос имеет параметры Qi,2.3; H1,2,3; в, Nв, hдв. Таким образом, данная насосная станция может обеспечить двухступенчатый режим работы с фактической подачей на меньшей ступени Qi,2,3, на большей Q1+2.
Точка С режимная точка при работе двух насосов на один водовод. Такая ситуация может сложиться при отключении (аварийном или плановом) одного водовода. При этом подача Qi+2 в соответствии с требованиями СНиП 2.04.0284 должна составлять не менее 70 % от общего расхода воды. Если это условие не выполняется, между водоводами должна быть установлена перемычка, обеспечивающая с помощью задвижек отключение части водовода. При этом характеристика водоводов с отключенной частью линия #1,1+2 = Нт -f- s1j+2Q2 должна занять такое промежуточное положение, чтобы подача насосов Q1+2 (режимная точка Лав) была больше или равна 70 % общего расхода воды.
При отключении одной нитки напорного канализационного коллектора в соответствии с требованиями СНиП 2.04.0385 вторая нитка должна пропустить все 100% расхода сточных вод. При этом допускается использовать резервные насосы. В данном примере (рис. 12.13) пропуск 100% общего расхода не обеспечивается через один водовод без перемычек с использованием дополнительно одного резервного насоса (режимная точка F). Два водовода с Одной перемычкой также не пропустят 100% расхода жидкости (точка F'} требуется устройство двух перемычек.
Точка Е режимная точйа при работе трех насосов (двух рабочих и одного резервного) на два водовода. Такой режим работы насосной станции возможен при использовании резервного насоса в качестве пожарного. Если подача Q1+2+3 оказывается меньше суммы максимального часового и противопожарного расходов, в насосной станции устанавливают специальные пожарные насосы.
Система «насосы водоводы» должна быть запроектирована таким образом, чтобы при всех предполагаемых режимах работы, кроме аварийных и пожарных, насосы работали в области высоких КПД.
Из рис. 12.13 видно, что во всех случаях параллельной работы происходит снижение подачи жидкости по сравнению с суммарной подачей этих насосов, работающих обособленно в ту же гидравлическую систему. Так, при параллельной работе двух насосов снижение подачи равно AQi+2 = 2Qi,2 Q1+2, при работе трех насосов AQi+2+з = 3Q 1,2,3 Q1+2+3, причем чем больше в группе параллельно работающих насосов, тем больше снижение их подачи, т. е. AQi+2+3>AQi+2. Поэтому чрезмерное увеличение числа насосов при их одновременной параллельной работе неэффективно.
Снижение подачи параллельно работающими насосами зависит от формы напорных характеристик насосов и водоводов. При пологих кривых снижение подачи меньше, при крутых больше.
271
Для ориентировочных расчетов снижение подачи в среднем при-' нимают 10% при параллельной работе двух насосов, 15 %~ трех насосов и т. д.
• Последовательная работа насосоь. Последовательной называют работу, при которой один насос подает перекачиваемую жидкость во всасывающий патрубок (трубопровод) другого насоса, а последний подает ее в напорный водовод. Применяют ее в тех случаях, когда жидкость подается по трубам на очень большие .расстояния или на большую высоту, а один насос развить соответствующий напор не может.
Обязательным условием последовательного включения насосов является приблизительное равенство подач в рабочих частях характеристик Q-H. Кроме того, не все насосы разрешено подключать последовательно это специально оговаривается в их технических паспортах.
Суммарную графическую характеристику Q-H последовательно работающих насосов получают путем сложения напоров каждого насоса при произвольно фиксированных одинаковых подачах (рис. 12.14).

Глава 13
НАСОСЫ ДЛЯ ВОДОСНАБЖЕНИЯ И ВОДООТВЕДЕНИЯ
13.1. Водопроводные насосы
• Центробежные консольные насосы. Консольные насосы типа К предназначены для перекачивания воды с рН = 6,5...8, температурой до 85 °С и содержанием твердых включений размерами до 0,2 мм, не превышающих 0,1 % по массе, а также других неагрессивных жидкостей, подобных воде по плотности и химической активности.
/3 76 77 18

Насосы изготовляют с подачей 5...360 м3/ч, напором 10...90 м. Их КПД находится в пределах 50...84 %, допустимый кавитаци-онный запас 4...5,5 м, коэффициент быстроходности п5 =60...250
Рис 13 1 Разрез насоса типа К
/ всасывающий патрубок, 2 уплотняющее кольцо, 3 защитное кольцо; 4 рабочее колесо, 5 штуцер для подключения вакуум-насоса, 6 напорный патрубок, 7 спиральный корпус, 8 кронштейн, 9 защитная втулка, 10 сальни ковая набивка, // крышка сальника, 12 вал, 13 шарикоподшипники, 14 распорная втулка, 15 опорная стойка с масляной ванной, 16 распорная втулка, 17, 18 полумуфты, 19 кольцо гидравлического уплотнения, 20 корпус сальни ка, 21 гайка
Насосы горизонтальные консольные с осевым односторонним подводом воды к рабочему колесу, изготовляют двух типов: К с валом на отдельной опорной станине (рис. 13.1); КМ и ЕКМ с удлиненным валом электродвигателя, на который насажено рабочее колесо (рис.- 13.2).
Корпус насоса представляет собой чугунную фигурную отливку,, внутренняя полость которой выполнена в виде спирали с диф. фузорным каналом, переходящим в напорный патрубок. В нормальном исполнении напорный патрубок направлен вертикально вверх. В зависимости от компоновочных решений всасывающих и напорных трубопроводов он может быть повернут вокруг оси насоса на 90, 180 и 270°.
По конструкции проточной части и рабочего колеса насосы К, КМ, ЕКМ идентичны, поэтому их энергетические параметры одинаковы.

Рис. 13.2. Разрез насоса типа КМ:
/ всасывающий патрубок; 2 уплотняющее кольцо; 3 защитное кольцо; 4 рабочее колесо; 5 штуцер для подключения вакуум-насоса, 6 напорный патрубок, 7 спиральный корпус, 8 кольцо; 9 защитная втулка; 10 фонарь, // фланцевый щит электродвигателя, 12 электродвигатель, 13 удлиненный вал электродвигателя, 14 гайка
Консольные насосы широко применяют в коммунальном и промышленном водоснабжении для подачи относительно небольших расходов воды (табл. 13.1).
Пример обозначения типоразмера: К8/18, КМ8/18 (К консольный, М моноблочный, 8 номинальная подача, м3/ч, 18 номинальный напор, м).
В приложении5 дано сводное поле Q-H насосов типа К.
• Центробежные насосы двустороннего входа. Насосы с двусторонним подводом воды на рабочее колесо типа Д предназначены для перекачивания воды и чистых жидкостей, сходных с водой по вязкости и химической активности, с температурой до 85 °С и содержанием твердых включений размерами до 0,2 мм, не превышающих 0,05 % по массе.
Насосы изготовляют с подачей 100...1250 м3/4. Напором 14...125 м. Их КПД находится в пределах 73...88%, допустимый кавитационный запас 3...7.5 м, коэффициент быстроходности ns = 60...90 при восьми цилиндрических лопатках рабочего колеса и ns = 130...190 при 6...8 пространственных лопатках.
Центробежные насосы типа Д (рис. 13.3) горизонтальные с осевым горизонтальным разъемом корпуса и полуспиральным подводом жидкости к рабочему колесу с двух сторон. Рабочее колесо состоит из трех дисков: среднего (опорного) и боковых, соединенных пространственными или цилиндрическими лопатками, загнутыми в сторону, противоположную вращению вала.

Корпус насоса представляет собой сложную чугунную отливку с входным патрубком и спиральным диффузорным отводящим каналом, переходящим в напорный патрубок. Входной и выходной патрубки насоса расположены в нижней части корпуса и направлены в противоположные стороны под углом 90° к оси насоса. Такое расположение патрубков, а также разъем корпуса по оси насоса обеспечивают возможность вскрытия для осмотра, ремонта и замены различных деталей без демонтажа насосов и трубопроводов.
В некоторых модификациях насосов необходим подвод воды от постороннего источники для охлаждения подшипников и гид» роуплотнеиия сальников в местах выхода вала из корпуса насосе.
Привод насосов типа Д осуществляется электродвигателями с помощью упругой муфты. В нормальном исполнении он расположен справа от насоса, если смотреть со стороны всасывающего патрубка. По особому заказу насосы типа Д поставляются с расположением электродвигателя слева, сохраняя при этом направление крещения рабочего колеса, Такая конструктивная особенность насосов типа Д положительно используется при компоновке насосных агрегатов и коммуникаций в машинном зале насосной станции.

Рис, 13,3. Рвзрез и внешний вид насоса типа Д:
/ радиально-осевой шариковый подшипник; 2, I5 радиальные подшипники; 3 корпус сальника; 4 гайка; 5 грунд-букса; 6 защитно-упорные втулки; 7 трубки гидравлического уплотнении; 8 крышка корпуса; 9 - спиральный подвод воды; 10 защитно-уплотняюшее кольцо; 11 рабочее колесо; 12 втулка рабочего колеса; 13 отверстия для подключения вакуум-насоса; 14 вал; 16 уплотнение: 17 резиновая втулка, 18 корпус иасоса; 19 кронштейн; 20 камера; 21 разъем корпуса; 32 всасывающий патрубок; 23 опорная лапа: 94 напорный патрубок
Насосы типа Д применяются на насосных станциях первого и второго подъемов, в циркуляционных системах промышленного водоснабжения,
Пример обозначения типоразмера Д800-57 (Д двустороннего входа; 800 номинальная подача, м3/ч; 57 номинальный напор, м).
В Приложении 6 даны сводное поле Q-H насосов типа Д, графические характеристики Q-H, Q-N, Q- и Q-hд, комплектация их электродвигателями, габаритные и установочные размеры насосных агрегатов.
Центробежные вертикальные насосы. Центробежные вертикальные насосы типа В предназначены для перекачивания воды с рН «в 6..,8, температурой до 45 °С и массовой концентрацией взвешенных частиц не более 0,3% размером до 0,1 мм, из которых абразивных частиц не более 2 %, а также других жидкостей, аналогичных воде по вязкости и химической активности.
Насосы изготовляют с подачей от 1,0 до 35,0 м3/с и напором от 22 до 110 м. Их КПД находится в пределах 87.,.89%, допустимый кавитационный запас 11,5..,14 м.
Эти насосы изготовляют с осевым односторонним подводом воды к рабочему колесу (рис. 13.4). Подвод воды к входному патрубку осуществляется через плавно изогнутое расширяющееся стальное колено или такой же формы канал, выполненный в бетоне. В первом случае (рис, 13.4) насос опирается на фундаментные плиты, а его подводящее колено находится в сухой камере. Во втором случае после крепления насоса на опорных конструкциях бетонирование осуществляется до осевой горизонтальной линии насоса. •
Вал насоса кованый стальной с фланцами иа концах для крепления рабочего колеса и соединения с трансмиссионным валом. Не рекомендуется применять центробежные вертикальные насосы с длинным валом, так как это требует установки нескольких валов-проставок и дополнительных направляющих подшипников, что в свою очередь осложняет монтаж и эксплуатацию насосного агрегата.
К подшипникам вала с лигнофолевым вкладышем подводится чистая вода под напором на 7.,, 10 м выше рабочего и с расходом 0,5..Л л/с. Сальниковое уплотнение вала также требует подачи чистой воды для защиты уплотнения от нагревания н износа абразивными частицами.
Рабочее колесо стальное (у насосов 600В, 800В и 1000В чугунное), с осевым входом жидкости, крепится к фланцу вала.
Привод насосов типа В осушествляется вертикальными электродвигателями. Осевые усилия и масса ротора агрегата воспринимаются пятой электродвигателя.
Применение вертикальных насосов в значительной степени уменьшает площадь машинного зала. Насосы типа В применяют для перекачивания больших расходов воды, а именно на крупных насосных станциях систем водоснабжения и орошения, в насосных станциях на судоходных каналах,

Пример обозначения типоразмера 1000В-16/63 (1000диаметр напорного патрубка, мм, 16номинальная подача, м3/с; 63 номинальный напор, м).
В Приложении 5 дано сводное поле Q-H насосов типа В.
Скважинныё насосы предназначены для подъема подземных вод. Их устанавливают в трубчатых колодцах и буровых скважинах, что определяет особенности их конструкций. Скважинныё насосы выпускают двух типов: насосы с трансмиссионным валом и погружные насосы.
К насосам с трансмиссионным валом относятся НА, А, АТН (Н насос; Аартезианский; Т турбинный) и ЦТВ (Ц центробежный; Т с трансмиссионным валом; Вдля воды). Они состоят из трех основных узлов: насосного узла, напорного трубопровода с трансмиссионным валом и приводной головки.
Насосный узел (рис. 13.5) представляет собой группу соединенных шпильками секций корпусов, внутри которых находится вал с насаженными на нем центробежными рабочими колесами закрытого типа или диагональными
Вода поступает в нижний направляющий корпус насосного узла через приемную сетку и всасывающую трубу. Фланец верхнего корпуса насосного узла крепится к нижнему концу колонны напорных труб, внутри которых находится трансмиссионный вал, соединяющий насосный узел с электродвигателем и длина которого зависит от глубины скважины.
Приводная головка расположена над устьем скважины и со-
стоит из вертикального электродвигателя и фонаря для его
установки. •
Основным недостатком насосных агрегатов типов НА, А, АТН, ЦТВ является наличие в них трансмиссионного вала, длина которого лимитирована, а значит, и ограничена высота подъема воды из скважин. Кроме того, трансмиссионные валы очень сложны в монтаже и эксплуатации.
Указанных выше недостатков полностью лишены погружные насосы, наиболее распространенными из которых являются насосы типа ЭЦВ. Эти насосы предназначены для подъема воды с общей минерализацией (сухой остаток) не более 1500 мг/л с водородным показателем рН = 6,5...9,5 и температурой до 25 °С, с массовой долей твердых механических примесей не более 0,01 %, с содержанием хлоридов не более 350 мг/л, сульфатов не более 500 мг/л, сероводорода не более 1,5 мг/л.
Насосы типа ЭЦВ имеют подачу от 0,63 до 1200 м3/ч и напор от 12 до 680 м, КПД от 35 до 78%, необходимый подпор от 1 до 12 м.
Насос типа ЭЦВ, как и другие погружные насосы, представляет собой (рис. 13.6) агрегат, состоящий из центробежного многоступенчатого насоса и погружного электродвигателя с жестким соединением их валов.

Насосный агрегат подвешивают в скважине на колонне водоподъемных труб и опускают под динамический уровень, обеспечивая необходимый паспортный подпор воды. Днище электродвигателя должно находиться выше фильтра скважины не менее чем на 1 м.
Пример обозначения типоразмера ЭЦВ6-25-100 (Э электроприводный; Ц центробежный; В для воды; 6 внутренний диаметр обсадной колонны, уменьшенный в 25 раз; 25 номинальная подача, м3/ч; 100 номинальный напор, м).
Для подъема воды из артезиански скважин также применяют погружные насосы типов ВЭЦВ, АПТ, АП, АПВ, АПВМ, АЭНП, ЭНП, ГНОМ.
В Приложении 5 дано сводное поле Q-H насосов типа ЭЦВ.
13.2. Насосы для перекачивания сточных жидкостей
Динамические насосы для сточных жидкостей. Динамические центробежные насосы типов СД и СДВ предназначены для перекачивания бытовых и производственных сточных вод и других неагрессивных жидкостей плотностью 1050 кг/м3 с рН = 6...8,5, температурой до 80°С и содержанием абразивных частиц размером до 5 ми не более 1 % по массе. Эти насосы выпускаются на подачу 1,9...3000 л/с при напоре 5,5...110 м и КПД 45...83%.

Насосы типа СД горизонтальные (рис. 13.7), СДВ вертикальные (рис. 13.8). Их корпуса имеют спиральный отвод упрощенной формы без выступающих частей. Проточные каналы выполняют более широкими по сравнению с каналами водопроводных насосов. Рабочее колесо одностороннего входа закрытого

типа имеет от двух до пяти лопаток обтекаемой формы. Благодаря уширению колеса и малому количеству лопаток образуются межлопастные каналы значительных размеров, через которые свободно проходят крупные механические примеси.
Вход в насос осевой, для вертикальных насосов через плавно изогнутое расширяющееся колено. Напорный патрубок у горизонтальных насосов, как правило, устанавливают вертикально вверх; при необходимости он может быть повернут вокруг оси насоса на 90, 180 и 270°. Напорный патрубок насосов типа СДВ расположен горизонтально.
К подшипникам скольжения крупногабаритных насосов подводится от системы технического водоснабжения чистая вода для их охлаждения и смазки. Техническая вода подводится также к сальниковому уплотнению для охлаждения и создания гидравлического затвора.
Насосы типа СД применяют на малых и средних, а типа СДВ на крупных канализационных насосных станциях.
Пример обозначения типоразмера СДВ7200-29 (СДВ динамический для сточных жидкостей, вертикальный; 7200 номинальная подача, м3/ч; 29 номинальный напор, м).
В Приложении 7 даны сводное поле Q-H, графические характеристики Q-H, Q-N, Q-tj и Q-ААд, комплектация их электродвигателями, габаритные и установочные размеры насосных агрегатов типов СД и СДВ.
Грунтовые и песковме насосы. Грунтовые насосы (тип Гр) предназначены для перекачивания гравийных, песчано-гравийных, шлаковых, золошлаковых и других абразивных гидросмесей с рН = 6...8, плотностью до 1300 кг/м3 и температурой до 70с°С. Песковые насосы (тип П) предназначены для перекачивания продуктов обогащения руд и глиноземного производства, песчаных и других гидросмесей с твердыми включениями с рН = 6...8, плотностью до 1300 кг/м3 и температурой до 60 °С. Эти насосы применяют также для перекачивания бытовых сточных вод.
Грунтовые и песковые насосы центробежные горизонтальные с осевым подводом воды. По конструкции эти насосы во многом схожи с насосами типа СД.
Пример обозначения типоразмеров Гр50/16; П 100/t*» (Гр грунтовый; П песковый; 50 и 100 подача, м/ч; 16 напор, м).
Погружные насосы для перекачивания загрязненных жидкостей. Погружные насосы ЭЦК16/6, ЭЦК50/10 и ЭЦК100/10 (Э электроприводной; Ц центробежный; К канализационный; числитель подача, м3/ч; знаменатель напор, м) предназначены для перекачивания бытовых и производственных сточных вод плотностью 1050 кг/м3, температурой до 40 °С, содержанием абразивных частиц размером до 5 мм не более 1 % по массе и неабразивных включений, не склонных к налипанию, размером не более 0.8D (где D диаметр всасывающего патруб* ка) в количестве не более 0,01 % по объему. Насос представляет собой вертикальный моноблок «насос электродвигатель» в герметичном исполнении. Рабочее колесо иасоса одноканальное, имеет одну лопатку в виде спирали, поэтому насосы этого типа мало засоряются.
Для перекачивания сточных жидких сред влажностью не менее 60% из животноводческих помещений применяют погружные вертикальные электронасосы ЦМФ (Ц центробежный; М моноблочный; Ф фекальный). Характерной конструктивной особенностью его является плоское открытое рабочее колесо, размещенное в свободной камере, благодаря чему насос может перекачивать жидкую среду, содержащую довольно крупные твердые включения (типа соломы, навоза) размером 10060 мм.

Выпускаемые промышленностью переносные погружные электронасосы ГНОМ 10-10, ГНОМ 16-15, ГНОМ 25-20 и ГНОМ 100-2S (Г для грязной воды; Н насос; О одноступенчатый; М моноблочный; первое число подача, м3/ч, второе напор, м) предназначены для перекачивания вод плотностью 1250 кг/ма, температурой до 35еС, рН=5...10 и содержанием механических примесей (песка, цемента, глииы) размерами до 5 мм, не превышающими 10 % по массе. Электронасосы во взрывоэащитном исполнении (В) допускают перекачивание жидкости на взрывоопасных производствах,
Корпус насоса ГНОМ (рис. 13.9) цилиндрический, с кольцевым каналом,
разъемный. В нижней части боковой поверхности корпуса рабочего колеса и гумированного отвода, по которому поток перекачиваемой жидкости отводится в кольцевой канал между корпусом насоса и статором электродвигателя, Рабочее колесо насажено на удлиненный вал электродвигателя, Узлы электродвигателя входят в конструкцию насоса, К напорному патрубку насоса присоединяется резинотканевый рукав,
Насосы типа ГНОМ широко применяют для откачивания воды из котлованов и траншей при строительстве, из колодцев при ремонтных работах на водопроводных и канализационных сетях, для опорожнения различных емкостей.
Шнековые насосы, Эти насосы представляют собой вращающийся многозаходный винт, установленный наклонно (под углом от 30 до 55° в открытом лотке), Шнековый насос (рис, 13,10) состоит из следующих основных элементов: шнека, кожуха, нижней и верхней опор, понижающей передачи (редуктора) и двигателя.

Рис. 13.10. Шнековый насос:
/ шнек; 2 лоток, 3 вал, 4 передача; 3 электродвигатель; в отводящий лоток, 7 верхний подшипник; 8 Нижний подшипник
Шнек является рабочим органом, перемещающим жидкость, и представляет собой ротор с приваренными к нему лопастями, изготовленными, как правило, в виде геликоидальных поверхностей. Ротор состоит из ступицы и опорных цапф. Ступицу изготовляют из толстостенной трубы, а опорные цапфы, предназначенные для установки шнека в подшипниках, выполняют съемными на болтовых соединениях, Количество лопастей, определяющих заходность шнека, изменяется от 1 до б; чем больше число заходов шнека, тем больше его жесткость и равномернее подача насоса. Однако с увеличением числа заходов уменьшается расстояние между смежными лопастями, а следовательно, и проходное сечение, что увеличивает вероятность заклинивания крупных механических взвешенных частиц. Оптимальным и наиболее распространенным является трехзаходный шнек. Защищают шнек от коррозии цинкованием с последующим нанесением многослойного покрытия из эпоксидных смол или с помощью алюминиевой пленки, которую наносят газопламенным способом.
Кожух выполняет функцию корпуса насоса и обеспечивает перемещение жидкости в осевом направлении. Кожух шнека устраивается в виде открытого лотка с цилиндрическим днищем и съемным отражателем вместо одной вертикальной стенки. Отражатель устанавливается со стороны подъема уровня жидкости под действием сил вращения и предотвращает обратное ее перетекание вниз по кожуху и переливание через край лотка. Кожух выполняется сборным из металла или железобетона. Внутренние размеры кожуха должны строго соответствовать наружному диаметру шнека с целью обеспечения минимальных зазоров и, следовательно, минимальных объемных потерь.
Нижняя опора воспринимает радиальную составляющую, а верхняя радиальную и осевую составляющие шнека и транспортируемой жидкости. Нижняя опора находится в перекачиваемой жидкости, поэтому во избежание прилипания к ней отбросов, содержащихся в сточной воде, а также попадания жидкости в подшипник ей придают обтекаемую форму и сальниковое уплотнение. Смазка нижнего подшипника принудительная с применением масляного насоса; смазка нижнего подшипника консистентная.


Поскольку шнековые насосы работают с небольшой частотой вращения (25...115 мин-1), им нужна понижающая передача, в качестве которой используют редукторы. Целесообразно при этом применять мотор-редукторы.
Основные достоинства шнековых насосов следующие:
-большое проходное сечение, что обеспечивает перекачивание жидкости с крупными включениями (100 мм и более);
- возможность исключения решеток для задержания механических примесей, что исключает необходимость устройства приемного резервуара, помещения решеток, дробилок и транспортеров;
- меньшая энергоемкость, более высокий КПД и меньший абразивный износ рабочих органов по сравнению с насосными установками СД соответствующих подачи и напора.
Институтом хГипрокоммунводоканал» разработаны типоразмеры шнековых насосов, основные технические параметры которых приведены в табл. 13.2.
а) . г 3 В)

Рис 13 11 Насос-дробилка типа НДГ
а внешний вид, б рабочее колесо, / люк для установки резцов, 2 кор пус, 3 электродвигатель, 4 лопасть, 5 передний диск, 6 шпилька для крепления втулки к рабочему колесу, 7 окно, 8 втулка
В табл. 13.3 приведены основные показатели шнековых насосов серии УВА, изготовляемых предприятием «Интерсигма» (Чехия).
Шнековые насосы находят широкое применение для подъема сточных вод и их осадков на небольшую высоту. При необходимости применяют двухступенчатую установку насосов.
• Другие типы насосов. Для перекачивания бытовых и близких им по составу производственных сточных вод применяют насосы массные ФСД, ФМ, БМ и ФМД (Ф фекальный; С смесительный; Д двусторонний; М массный; Б бумажный), предназначенные для перекачивания бумажно-целлюлозной массы, водной суспензии, волокон целлюлозы.
Промышленность выпускает насосы-дробилки горизонтальные
НДГ45/7, НДГ190/9, НДГ320/17. Данные агрегаты представляют собой (рис. 13.11) динамические насосы для сточной жидкости со встроенным дробящим устройством, которое состоит из вращающейся втулки с окнами шириной 16 мм на боковой поверхности и неподвижного резца. Дробление крупных включений происходит между острыми кромками окон втулки и резца. Наблюдение за работой дробящего устройства, регулирование его и замена резцов осуществляются через люк-отверстие на всасывающем патрубке насоса.
13.3. Вспомогательные насосы
• Водокольцевые насосы. Водокольцевые вакуум-насосы применяют для создания вакуума при заливке основных центробежных насосов на водопроводных и канализационных насосных станциях. Они также могут быть использованы как воздуходувки для создания невысокого напора (3...22 м) при использовании сжатого воздуха в технологических процессах водоснабжения и канализации.
Корпус водокольцевого насоса имеет цилиндрическую форму (рис. 13.12). Рабочее колесо установлено эксцентрично в корпусе
/-/ 2-2

Рис. 13.12. Водокольцевой вакуум-насос:
/ корпус, 2 крышка, 3 ротор, 4 камера гндрозатвора; 5 вал, 6 подвод воды; 7 слив воды, 8 всасывающий патрубок, 9 нагнетательный патрубок; 10 лопатка; // нагнетательное окно, 12 всасывающее окно
насоса так, что при вращении его лопасти соприкасаются с внутренней образующей цилиндра. Перед пуском корпус насоса заполняется водой до оси вала. При вращении лопасти рабочего колеса захватывают воду, и под действием центробежных сил она отбрасывается к стенкам корпуса насоса, образуя концеитрическое водяное кольцо. При этом верхняя часть внутренней окружности кольца соприкасается со ступицей рабочего колеса, а диаметрально противоположная находится выше концов нижних лопастей (нижние лопасти лишь частично погружены в воду). Образовавшееся серповидное пространство между втулкой рабочего класса и внутренней окружностью водяного кольца является рабочей полостью. Лопатки рабочего колеса делят эту полость на отдельные ячейки.
При вращении рабочего колеса (на рис. 13.12 против часовой стрелки) объем ячеек во всасывающей (левой) части серповидной полости увеличивается и создается вакуум. Под действием вакуума воздух из входного патрубка через всасывающее окно поступает в рабочую полость насоса. При перемещении ячеек в-правой (нагнетательной) части серповидной полости их объем уменьшается и воздух в ннх сжимается. Через нагнетательное окно по выходному патрубку воздух подается в воздухосборник или выбрасывается в атмосферу.
Для поддержания постоянного объема водяного кольца и для отвода тепла, образующегося при сжатии воздуха и трении уплотнителей, через корпус насоса должна непрерывно циркулировать вода.
Водокольцевые машины выпускаются двух типов (В простого действия; ДВ двойного действия) и в двух исполнениях (ВН для работы в качестве вакуум-насоса; К для работы в качестве компрессора).
Типоразмеры водокольцевых вакуум-насосов и их основные параметры представлены в табл. 13.4.

Вихревые насосы. Вихревые насосы по классификации of носятся к насосам трения. Принцип их работы заключается в том, что каждая частица жидкости, попадая на вращающееся рабочее колесо (рис. 13.13,6), получает от него приращение энергии и выбрасывается в кольцевой канал, откуда снова попадает в пазы рабочего колеса, где дополнительно получает приращение энергии за один оборот рабочего колеса. Указанный цикл повторяется многократно, в результате чего напор вихревого насоса в 1,5...2 раза больше, чем центробежного, при равных диаметрах рабочего колеса и частоте вращения.

Ввиду того что всасывающий и напорный патрубки вихревого насоса размещены в верхней его части, рабочая полость насоса всегда залита водой и заливка перед пуском не требуется.
Наличие буквы С в обозначении типа насоса указывает на то, что данный насос является самовсасывающим.
В табл. 13.5 даны технические характеристики вихревых само
всасывающих насосов, применяемых для откачки дренажных вод из шахтных колодцев водопроводных и канализационных насосных станций.

Водоструйные насосы. Принцип работы водоструйных насосов заключается в передаче кинетической энергии от рабочего потока жидкости (воды) к потоку перекачиваемой среды (жидкости или газу). Если рабочим потоком и перекачиваемой средой является жидкость, водоструйный насос называют гидроэлеватором.

Рис. 13 14. Схемы сварного (а) и чугунного (б) гидроэлеваторов
.Водоструйные насосы применяют на насосных станциях для заливки основных насосов перед пуском их в работу, для повышения высоты всасывания насосов. Используют также водоструйные насосы (в частности, гидроэлеваторы) для откачивания осадка из технологических сооружений (песколовок, отстойников и др.) станций очистки сточных и природных вод.
На рис. 13.14 показаны схемы сварного гидроэлеватора с подачей 15...30 л/с при высоте подъема от 4 до 20 м и чугунного цельнолитого гидроэлеватора типа ВСН-50 с подачей 14... 17 л/с.
Глава 14
ПРОЕКТИРОВАНИЕ НАСОСНЫХ СТАНЦИЙ
14.1. Назначение, классификация и схемы насосных станций
По назначению и месту расположения в общей схеме системы водоснабжения насосные станции различают: первого подъема, второго подъема; повысительные; циркуляционные.
• Насосные станции первого подъема забирают воду из сеточных отделений (колодцев) водозаборных сооружений и подают ее наЪчистные сооружения (см. рис. 1.2, а, в, г, е), а если очистка воды не требуется в регулирующие емкости (см. рис. 1.2,б,(3,з) или непосредственно в сеть потребителя (см. рис. 1.2, ж). Насосные станции первого подъема являются составной частью комплекса водозаборных сооружений из поверхностных или подземных источников.
На рис. 14.1 показаны принципиальные схемы насосных станций первого подъема комплекса водозаборных сооружений из поверхностных источников. В зависимости от взаимного расположения сеточного отделения (колодца) водозабора и машинного зала насосные станции бывают совмещенного (бе) и раздельного (о) типов. По виду используемого оборудования различают насосные станции с горизонтальными (а, б, г, д) и вертикальными (в) насосами. Они бывают заглубленными (бг, е) и полузаглубленными (а, д).
Насосные станции второго подъема подают воду из резервуаров чистой воды в водопроводную сеть населенного пункта (см. рис. 1.2, а г, е и рис. 1.3). Располагаются они, как правило, на территории очистной станции в отдельно стоящих зданиях (рис. 14.2, а) или совмещаются в одном здании со станцией очистки (рис. 14.2, б).
Повысительные насосные станции и установки предназначены для повышения напора при значительной длине водоводов, большой разности отметок территории объекта водоснабжения и этажности застройки населенного пункта. Применяют их как для группы водопользователей (см. рис. 1.2, в, г, е), так и для отдельного потребителя (например, высотного здания). Подключают их как с разрывом струи через резервуары со свободной поверхностью воды (рис. 14.3, а), так и непосредственно в напорную систему (рис. 14.3,6). Располагают повысительные насосные станции и установки в отдельно стоящих зданиях, центральных тепловых пунктах или в подвалах зданий.



Циркуляционные насосные станции обеспечивают движение воды в оборотных системах водоснабжения промышленных предприятий (см. рис. 1.2, ж,з). Располагаются они на территориях предприятий или вблизи них рядом с очистными или охлаждающими сооружениями. На рис. 14.4 показаны принципиальные схемы циркуляционных насосных станций оборотной системы водоснабжения конденсаторов турбин ГРЭС.
В соответствии со СНиП 2.04.0284 все водопроводные насосные станции подразделяют на три категории в соответствии с категориями централизованных систем водоснабжения по степени обеспеченности подачи воды (см. § 1.2).
• Районные канализационные насосные станции (см. рис. 7.1) служат для подачи бытовых сточных вод от отдельных районов канализуемой территории города на очистные сооружения или из нижележащих коллекторов в лежащие выше. Места расположения и число насосных станций в сети водоотведения выбирают на основании технико-экономических расчетов в зави» симости от рельефа и характера застройки канализируемой территории, принятой системы и схемы канализации, от санитарных, гидрологических и других условий.

Водохранилище
Рис. 14.4. Схемы циркуляционных насосных станций оборотной системы водоснабжения ГРЭС:
а централизованная, б блочная, / здание насосной станцнн, 2 камера переключения, 3 напорные трубопроводы, 4 открытый отводящий канал, 5 закрытые отводящие самотечные каналы, 6 конденсаторы паровых турбин
• Главные канализационные насосные станции предназначь ны для подачи сточных вод от всей территории канализируемого объекта на очистные сооружения. Располагают главные канализационные насосные станции у канализируемого объекта иЛЯ непосредственно на очистных сооружениях. Выбирают место рае положения насосной станции на основании технико-экономиче ского сравнения вариантов.
На рис. 14.5 показаны схемы совмещенного (а) и раздельной! (б) типа, предназначенные для районных и главных каиализа ционных насосных станций. На практике по экономическим cootf ражениям в большинстве случаев насосные станции для перекз чивания бытовых сточных вод выполняют совмещенного типа Применение станций раздельного типа должно быть специальна обосновано с учетом санитарных, местных геологических и других условий.
На рис. 14.5, в показана схема районной (сетевой) канализв ционной станции, оборудованной шнековыми насосами, посрей ством которых сточные воды из нижнего коллектора поднимают ся в верхний. Применение такой станции эффективно к&к в план капитальных и эксплуатационных затрат, так и с точки зрения удобства эксплуатации. Шнековые насосы применяют также на главных насосных станциях, расположенных на территории очистных сооружений.
Канализационные насосные станции размещают в отдельно стоящих зданиях не ближе 20...30 м от жилых и общественных зданий. Это расстояние может быть уменьшено с разрешения Государственного санитарного надзора. Вокруг территории насосной станции устраивают защитную зеленую зону шириной не менее 10 м.

Канализационные насосные станции для перекачивания осадка (ила) предусматривает в составе сооружений очистки сточных вод и обработки осадка. В случае невозможности обеспечения самотечного режима движения они перекачивают осадок из первичных отстойников в метантенки, сброженный осадок из метантенков на сооружения по обработке осадка, уплотненный активный нл в метантенки, активный нл нз вторичных отстойников в регенераторы активного нла нлн в аэротенки, песок из песколовок на песковые площадки. Насосные станцнн для перекачивания нла нлн осадка часто совмещают в одном здании с воздуходувными станциями илн другими сооружениями. На рнс. 14.5, г дана схема отдельно стоящей станции.
Насосные станции для перекачивания атмосферных вод (рис. 14.5, д) предусматривают в тех случаях, когда невозможно обеспечить транспортировку н выпуск дождевых и талых вод в водоемы самотеком. Ливневые канализационные насосные станции оборудуют осевыми или крупными центробежными насосами типа Д, так как поступление атмосферных сточных вод носит залповый характер, н, чтобы обеспечить их откачку, необходимы насосы с относительно большой подачей; высокого напора при этом не требуется.
В соответствии со СНиП 2.04.0385 канализационные насосные станции по надежности действия подразделяют на трн категории: первая не допускающие перерыва илн снижения подачи сточных вод; вторая допускающие перерыв подачи сточных вод не более 6 ч; третья допускающие перерыв подачи сточных вод не более суток.
14.2. Режим работы насосных станций
• Насосные станции первого подъема, подающие воду на очистные сооружения, работают равномерно в течение суток, Прн этом расчетную часовую подачу насосной станции в сутки наибольшего водопотребления определяют по формуле
Qn = Qcyrmax/Т, (14.1)
где QcyT max максимальное суточное водопотребление, м3/сут; коэффициент, учитывающий расход воды на собственный нужды очистной станции (а= 1,03... 1,04 прн повторном использовании промывной воды; = 1,1...1,14 без повторного использования); Т число часов работы насосной станции в течение суток (как правило Т = 24 ч).
Количество рабочих насосов должно быть не менее двух. В насосных станциях II и III категорий прн обосновании допускается установка одного рабочего насосного агрегата.
Для насосных станций с обособленными (отдельными для каждого насоса) всасывающими водоводами наиболее благоприятна схема, в которой количество рабочих насосных агрегатов (как правило, одинаковых) равно или кратно числу секций водозабора. При этом значительно упрощаются всасывающие коммуникации, что позволяет уменьшить заглубление насосной станции и обеспечить лучшие технические и экономические условия эксплуатации.
При использовании п параллельно работающих насосов требуемую подачу каждого Qi определяют по формуле
Qi = (1 + 0,05n)QHC/n. (14.2)
На насосной станции кроме рабочих насосных агрегатов предусматривают установку и резервных (табл. 14.1).

В насосных станциях II категории при количестве рабочих насосных агрегатов десять и более один резервный агрегат допускается хранить на складе.
• Насосные станции второго подъема. Ввиду того что насосная станция 2-го подъема подает воду непосредственно в сеть потребителя, режим работы ее стараются максимально приблизить к режиму водопотребления. При этом сочетают различные способы регулирования работы насосной станции изменение числа работающих насосных агрегатов и регулирование работы одного или нескольких насосов. Выбранному режиму работы насосной станции доложен соответствовать минимум затрат на строительство и эксплуатацию устройств, связанных с регулированием.
На практике указанным требованиям, как правило, отвечает двух-, реже трехступенчатый режим работы насосной станции с водонапорной башней в системе водоснабжения. В таком случае задача сводится к определению такого двухступенчатого (трехступенчатого) режима, при котором вместимость бака водонапорной башни минимальна, а значит, минимальны и затраты на ее строительство.
Обеспечить нужный режим работы можно путем установки в насосной станции различного количества одинаковых или разных рабочих насосных агрегатов. Принципы подбора количества рабочих насосов следующие:
- необходимо стремиться к установке одинаковых насосов. Это обеспечивает благоприятные условия эксплуатации, минимальную номенклатуру запасных частей и, что очень важно, возможность устройства скользящего резервирования насосов Если это невозможно, принимают насосы одного типа, но разньц размеров и с приблизительно одинаковыми напорами. В исключительных случаях принимают разнотипные насосы с приблизй тельно равными напорами;
- стремятся к минимальному количеству рабочих и резервных насосов, обеспечивая при этом требуемые режимы работь на различных очередях строительства;
- подобранные насосы должны работать в области максимальных КПД.
В табл. 14 2 приведены примеры вариантов обеспечение двухступенчатого режима работы насосной станции при различных соотношениях подач на первой (Qi) и второй (Qn) ступенях.
Значения подачи Qi на первой ступени принимают по графику при ориентировочно намеченном режиме работы насосной станции. Значение подачи Qn на второй ступени определяют по формуле, обеспечивающей равенство между количеством воды, поданной в сеть насосной станцией, и воды, отобранной из нее:

где ti продолжительность первой ступени, ч; Qi подача насосами на первой ступени, % от QcyTmax.
Требуемую подачу одного (каждого) насоса определяют с учетом снижения ее при параллельной работе насосов. Для одинаковых насосов используют формулу (14.2). При использовании разнотипных насосов предполагаемую подачу каждого, умножают на коэффициент (1+0,05n), где п количество параллельно работающих насосов.
В объединенных хозяйственно-противопожарных водопроводах насосные станции 2-го подъема подают воду как на хозяйственно-питьевые, так и противопожарные нужды. Подача расчетного противопожарного расхода должна быть обеспечена в час максимального водоразбора. Учитывая то, что при тушении пожара водонапорную башню отключают, насосная станция 2-го подъема должна подать в город расход воды, равный сумме максимального часового водоразбора и расчетного противопожарного расхода (Q4max +Qпож), т. е. значительно больше, чем подача насосной станции на самой большой ступени.

В том случае, когда требуемый напор насосной станции в период тушения пожара меньше или равен напору без пожара, подачу указанного суммарного расхода могут обеспечить рабочие насосы вместе с резервными.
В другом случае, когда необходимый напор для пожаротушения больше напора, развиваемого хозяйственными насосами, в насосных станциях дополнительно устанавливают противопожарные насосы, обеспечивающие подачу суммарного хозяйственно-питьевого и пожарного расхода воды.
На насосной станции может быть установлен один рабочий противопожарный насос. Однако в практике проектирования применяют большее количество рабочих противопожарных насосов, если это не приводит к увеличению площади машинного зала или сильному его стеснению.
При п одинаковых рабочих противопожарных насосах подача каждого из них
Qi (1 + 0,05n)(Qчmax + Qпож)/n, (14.4)
где С?™* расчетный расход воды на пожаротушение; Q4max расход воды в час максимального водопотребления.
Независимо от количества рабочих противопожарных насосов предусматривают один резервный противопожарный агрегат.
Общее количество резервных насосов, устанавливаемых в насосных станциях, определяют по табл. 14.1. При этом необходимо иметь в виду, что в одну группу насосов включают все насосы, подающие воду в одну и ту же систему. Таким образом, хозяйственно-питьевые и противопожарные насосы относятся к одной группе насосов независимо от их типоразмеров. Рабочие противопожарные насосные агрегаты входят в общее число рабочих, а резервный противопожарный в общее число резервных насосов.
При установке в одной группе насосов с разными характеристиками в качестве резервных агрегатов принимают насосы большей подачи, а резервный насос меньшей подачи хранят на складе.
Как уже отмечалось, в общее число резервных насосных агрегатов входит один резервный противопожарный агрегат. Это значит, что в период отказа (планового отключения) рабочего хозяйственно-питьевого насоса воду в систему водоснабжения подает резервный противопожарный насос. При этом желательно, чтобы его подача немного превышала подачу заменяемого хозяйственно-питьевого насоса и при этом был достаточно высокий КПД. Для достижения этого, как уже отмечалось, применяют не один рабочий противопожарный насос, а несколько.
• Канализационные насосные станции. Режим работы канализационной насосной станции назначают в зависимости от режима притока сточных вод в течение суток. Режим притока сточных вод характеризуется и определяется общим коэффициентом неравномерности водоотведения /(общ. Для каждого значения Кобщ существуют (см. табл. 5.7) типовые распределения притока сточных вод по часам суток. Умножая среднесуточный объем водоотведения на соответствующие значения (в долях единицы) притока по часам суток для определенного Кобщ, получают абсолютные значения (как правило, в м3) притока сточных вод на насосную станцию в течение суток. По этим данным строят ступенчатый график притока сточных вод, согласно которому назначают режим работы насосной станции.
Максимальную подачу насосной станции принимают равной наибольшему часовому притоку сточных вод или несколько превышающей его. В остальные часы суток, когда приток меньше максимального, расчетное значение откачки должно быть близким (равно или чуть больше) значению притока стоков в эти часы.
График режима откачки стремятся приблизить к графику притока сточных вод, с тем чтобы получить минимальную вместимость приемного резервуара и тем самым уменьшить стоимость насосной станции. Однако максимальное приближение режима откачки к режиму притока сточной жидкости может быть обеспечено путем установки большого количества рабочих насосов, что в свою очередь, увеличивает стоимость насосной станции. Поэтому необходимо найти такое решение, чтобы суммарные затраты на строительство и эксплуатацию насосной станции с учетом ее расширения по очередям строительства были минимальны. Таким образом, выбор режима откачки сточных вод и количества рабочих насосов единая задача.
Принципы выбора числа рабочих насосов в канализационных насосных-станциях такие же, как и для водопроводных насосных станций. Количество резервных насосных агрегатов принимают в зависимости от вида сточных вод, категории надежности насосной станции и количества рабочих насосов (табл. 14.3).

В насосных станциях дождевой канализации резервных насосов, как правило, не устраивают, за исключением случаев, когда аварийный сброс дождевых вод в водоемы невозможен.
На рис. 14.6 дан пример выбора режима работы канализационной насосной станции при заданном режиме притока сточных вод на первой (а) и второй (б) очередях строительства.
Выбор работы насосной станции в данном случае был начат с рассмотрения способа откачки максимального притока сточных вод (874 м3/ч) на первой очереди строительства. Целесообразно для этого применить два насоса. Требуемая подача каждого насоса определена по формуле (14.2):
Q, 2 = 1,1·874/2 = 481 м3/ч.
Откачку сточных вод в часы 05 и 2124 осуществляет один насос. Его откачка больше притока в эти часы, поэтому он периодически выключается (пунктирная линия).
Таким образом, для первой очереди строительства выбран двухступенчатый режим работы насосной станции с использованием двух рабочих и двух резервных (в предположении, что это насосная станция I категории надежности) насосов.

Далее была проверена возможность обеспечения откачки сточных вод на второй очереди при дополнительной установке в насосной станции таких же насосов. Такой вариант наиболее рациональный с точки зрения расширения и эксплуатации насосной станции.
Предположим, что откачку в часы максимального притока сточных вод (1562 м3/ч) на второй очереди будут осуществлять четыре (я = 4) насоса с подачей Q, = 481 м3/ч каждый. Тогда общая их подача составит

что вполне приемлемо, так как она ненамного больше максимального притока (1562 м3/ч).
На второй очереди строительства насосной станции в ней будут установлены четыре рабочих насоса, что позволит обеспечить четырехступенчатый режим откачки сточных вод. На насосной станции должны быть установлены два резервных насоса.
Принятый режим откачки сточных вод обеспечивает применение одинаковых насосов, причем как на первой, так и на второй очереди строительства небольшое количество насосов и хорошие условия для расширения насосной станции.
14.3. Расчет всасывающих и напорных водоводов
• Расчет водоводов. Количество всасывающих водоводов зависит от типа и принципиальной схемы насосной станции, ее категории надежности, количества рабочих и резервных насосов. Выполняют их, как правило, из стальных труб.
В насосных станциях 1-го подъема, совмещенных с водозаборными сооружениями, и в канализационных насосных станциях (совмещенных и раздельных) устраивают всасывающие водоводы для каждого насоса. При этом расчетный расход воды для каждого водовода принимают равным подаче соответствующего насоса.
Обособленные всасывающие водоводы устраивают в насосных станциях 1-го подъема раздельного типа и в насосных станциях 2-го подъема при малых их длинах, а также при небольшом количестве насосов. В противном случае устраивают общие всасывающие водоводы:
- для насосных станций I и II категорий (независимо от числа и групп установленных насосов, включая противопожарные) не менее двух линий;
- для насосных станций III категории допускается устройство одного всасывающего водовода.
Расчетный расход для одного всасывающего водовода определяют по формуле

где коэффициент, учитывающий категорию насосной станции; a= 1 для I категории; = 0,7 для II категории; QHC общая подача насосной станции; п количество всасывающих линий (как правило, п = 2).
Диаметры труб всасывающих линий, арматуры и фасонных частей, устанавливаемых на них, определяют, исходя из допустимых скоростей течения воды, м/с; при диаметре до 250 мм 0,7... 1; от 300 до 800 мм 1...1.5; свыше 800 мм 1,2...2.
Количество линий напорных водоводов принимают с учетом категории водопользователей, а также очередности строительства и дальнейших перспектив и возможностей расширения.
Для водопроводных насосных станций I и II категорий, а также канализационных насосных станций I категории надежности устраивают не менее двух напорных водоводов. Для водопроводных насосных станций III категории и канализационных II и III категорий допускается прокладка одного напорного водовода.
Рассчитывают напорные водоводы на расход Q = QHC/n (я количество водоводов) и проверяют на пропуск 70 % общего расхода через п 1 водовод для водопроводных насосных станций и на пропуск всего расхода через п 1 водоводов для канализационных насосных станций с использованием резервных насосов.
Диаметр труб напорных водоводов, фасонных частей и арматуры, устанавливаемой на них, рассчитывают, исходя из скоростей движения воды, принимаемых с учетом значений экономического фактора в следующих пределах, м/с: при диаметре до 250 мм 0.8...2; от 250 до 800 мм 1 ...3; свыше 800 мм 1,5...4.
Потери напора во всасывающих и напорных водоводах определяют как сумму потерь напора по длине hi и местных сопротивлений hм:
h = h, + h„. (14.6)
Потери напора по длине могут быть определены по любой из формул гидравлики. В инженерных расчетах удобно пользоваться таблицами Ф. А. Шевелева. По этим таблицам можно определять диаметры труб всасывающих и напорных водоводов, соблюдая нормируемые скорости движения воды при заданных значениях экономического фактора и вычисленных значениях расхода воды.
Расчет потерь напора на всасывающей и напорной сторонах насосной станции до подбора конкретных насосов, определения схемы обвязки их трубопроводами и расстановки запорно-регу-лирующей арматуры всегда ориентировочный. Поэтому предварительно значения местных сопротивлений в наружных всасывающих и напорных водоводах можно принять в размере 5...10% от потерь напора по длине.
Потери напора в коммуникациях внутри насосной станции ориентировочно могут быть приняты: на всасывающей стороне l...t,5 м, на напорной 2...2,5 м. Эти значения при обосновании могут изменяться.
После подбора типоразмеров насосов и определения структуры технологической части насосной станции уточняют расчет всасывающих и напорных коммуникаций. Еще одно уточнение (при необходимости) может быть сделано после определения действительных подач насосов, т. е. после построения графиков совместной работы насосов и водоводов.
14.4. Определение требуемого напора насосных станций и подбор насосов
• Насосные станции 1-го подъема. Напор, который должны развивать насосы 1-го подъема, рассчитывают для конкретной схемы размещения насосной станции в системе водоснабжения. Если насосная станция 1-го подъема подает воду на очистные сооружения (рис. 14.7), то требуемый напор, м, определяют по формуле
Н= Нг + hв + h„ + 1,
(14.7)
где Нг = Zoc ZB3 геометическая высота подъема воды насосами Zoc максимальный уровень воды в смесителе (бара банных сетках, микрофильтрах) очистной станции, м; ZB3 минимальный уровень воды в береговом колодце водозабора, м]; К потери напора во всасывающих водоводах и коммуникациях насосной станции, м; hH потери напора в наружных напорных водоводах и напорных коммуникациях внутри насосной станции, м; 1 "запас напора на излив воды из трубопроводов, м.

Рис 14 7 Расчетная схема определения напора насосной станции 1-го подъема
/ береговой колодец, 2 насос, 3 смеситель очистной станции
• Насосные станции 2-го подъема. Полный напор, который должны развивать насосы 2-го подъема, зависит от положения водонапорной- башни в системе водоснабжения.
На рис. 14.8 показана расчетная схема для определения напора насосной станции 2-го подъема при расположении водонапорной башни в начале сети.
Полный напор насосов, м, для этого случая определяют по формуле
Н = Нг +hв + hн = (Zb6 - ZP4B) + Hб + H6 + hB + hн, (14.18)
где Нг геометрическая высота подъема воды, м; Zb6 отметка поверхности земли у водонапорной башни, м; Zp4B отметка минимального уровня воды в резервуарах чистой воды при сохранении неприкосновенного противопожарного запаса воды, м, Hвб высота ствола водонапорной башни, м; Hб максимальная высота слоя воды в баке водонапорной башни, м; hв потери напора во всасывающих водоводах и коммуникациях насосной станции при расходах, соответствующих подаче насосной станции в период максимального водоразбора, м; hн потери напора в водоводах от насосной станции до водонапорной
башни и в напорных коммуникациях внутри насосной станции при расходах, соответствующих подаче насоса в период максимального водоразбора, м.
В соответствии со СНиП 2 04.0284 работа насосной станции 2-го подъема должна быть проверена на подачу воды при тушении пожара.
При возникновении пожаров насосы 2-го подъема должны подавать в город расход воды, равный сумме расчетного противопожарного и максимального часового расходов.

Требуемый напор насосов в период тушения пожаров, м,

где Нг п геометрическая высота подъема воды при пожаротушении, т. е. разность отметок земли в расчетной (диктующей) точке пожара и минимального уровня воды в/резервуарах чистой воды (отметка дна); hB п потери напора во всасывающих водоводах и коммуникациях насосной станции/при пожаротушении; hн,п потери напора в напорных коммуникациях внутри насосной станции и на пути от насосной станции до расчетной точки (в водоводах и сетях) при пожаротушении; Hсвп=10м минимальный свободный напор, допускаемый в период тушения пожара в системах пожаротушения низкого давления.
При проверке системы на пропуск противопожарного расхода в часы максимального водопотребления возможны следующие случаи:
- необходимый напор для пожаротушения меньше или равен набору насосов без пожара (пунктирная линия IV и напор Hвiv на рис. 14.8), т е. Hпiv Н- В данном случае насосы подбирают на напор Н
- необходимый напор для пожаротушения больше напора, развиваемого насосами до возникновения пожара (линия III и напор HпIII на рис. 14.8), т. е. Н„ш>Н.
В данном случае обеспечить пропуск дополнительного противопожарного расхода можно двумя вариантами: 1) увеличить пропускную способность системы «водоводы сеть» (увеличить диаметры участков сети с максимальными потерями напора), с тем чтобы положение пьезометрической линии III на рис. 14.8 пеоеместилось в положение линии IV, и тем самым избежать необходимости установки обособленной группы противопожарных насосов; 2) на насосной станции устанавливают кроме хозяйственных насосов, которые подбирают на напор Н, еще и противопожарные с подачей, определяемой по формуле (14.4), и напором Н„щ. Из этих двух вариантов выбирают более экономичный.
При расположении водонапорной башни в конце водопроводной сети (рис. 14.9) диктующим для определения требуемого напора насосов 2-го подъема обычно является период максимального транзита воды в башню. Этот период характеризуется тем, что в период максимальной подачи води в сеть насосной станцией и одновременного минимального водопотребления значительные расходы воды транзитом через всю сеть поступают в водонапорную башню. При этом расходы воды на участках сети, а следовательно, и потери напора возрастают. Кроме того, значительно увеличивается геометрическая высота подъема, так как диктующей точкой становится, как правило, водонапорная башня при максимальном уровне воды в баке. Все это приводит к увеличению требуемого напора насосной станции 2-го подъема.
Требуемый напор насосной станции 2-го подъема, м, при рас» положении водонапорной башни в конце сети

где ZB6 отметка земли у водонапорной башни, м; Zp4B отметка минимального уровня воды в резервуарах чистой воды при сохранении в них неприкосновенного противопожарного запаса воды, м; Нвбвысота ствола водонапорной башни, м; Нб , максимальная высота слоя воды в баке водонапорной башни, м; пв потери напора во всасывающих водоводах и коммуникациях насосной станции при расходах, соответствующих максимальной подаче насосной станции (максимальная ступень), м;

Рис 14 9 Расчетная схема определения напора насосной станции второго подъема при расположении водонапорной башни в конце сети
/ резервуар чистой воды, 2 иасосы второго подъема, 3 водонапорная башня, /, //, /// пьезометрические линии соответственно при максимальном транзите воды в башню, максимальном водопотребленнн, прн пожаре в час максимального водопотребления
hH потери напора в напорных коммуникациях насосной станции, в напорных водоводах и в участках сети на пути (любом) от места подключения водоводов к водонапорной башне при расходах, соответствующих максимальному транзиту воды в башню в период максимальной подачи воды насосной станцией, м.
Проверку системы с контррезервуаром на пропуск противопожарного расхода воды выполняют так же, как и в случае расположения водонапорной башни в начале сети.
Требуемый напор хозяйственных насосов станции 2-го подъема при расположении водонапорной башни как в начале, так и в
конце сети может быть определен через требуемую пьезометрическую отметку в точке примыкания напорных водоводов к сети, т. е.

где ППс требуемая пьезометрическая отметка/ в точке примыкания напорных водоводов к сети, м; ZP4B «минимальный уровень воды в резервуарах чистой воды, м;/Нся,пс требуемый свободный напор в точке примыкания водоводов к сети, м; пв потери напора во всасывающих водоводах и коммуникациях насосной станции, м; Л„ потери наггора в напорных коммуникациях внутри насосной станции -я в напорных водоводах от насосной станции до точки примыкания к сети, м; Z„c отметка земли в точке примыкания водоводов к сети, м.

• Канализационные насосные станции. Напор, м, насосов (рис. 14.10) определяют по формуле

где Hг - геометрическая высота подъема воды, равная разности отметок максимального уровня воды в приемной камере очистных сооружений Zoc (верхнем коллекторе) и минимального уровня воды в приемном резервуаре ZP, м. Ориентировочно принимают Zoc на 1,5. .2 м выше естественной отметки площадки очистных сооружений, Zp на 1,5...2 м ниже отметки лотка подводящего самотечного коллектора; hB потери напора во всасывающих водоводах при расходах, соответствующих максимальной подаче насосной станции, м, /г„ потери напора в напорных коммуникациях насосной станции и в напорных водоводах при расходах, соответствующих максимальной поДаче насосной станции, м; 1 запас напора на истечение воды из трубы, м.
• Выбор типоразмеров насосов. По вычисленным значениям Q и Н насосов с помощью сводных полей Q-H для соответствующих типов насосов (см. приложения 5, 6, 7) подбирают их типоразмеры.
На водопроводных насосных станциях применяют центробежные (типы К, КМ, Д, ЦНС, В) диагональные и осевые насосы.
На насосных станциях 1-го подъема, как правило, заглубленных, рекомендуется применять вертикальные центробежные или осевые насосы, для которых требуется меньшая площадь здания станции. Однако, учитывая, что вертикальные центробежные и осевые насосы изготовляют на весьма большую подачу, используют их на крупных насосных станциях. На станциях малой и средней производительности в основном используют горизонтальные центробежные насосы, но иногда и скважинные насосы с трансмиссионным валом, что позволяет значительно уменьшить строительные объемы станций.
На насосных станциях 2-го подъема в основном применяют центробежные (иногда диагональные) горизонтальные насосы.
На канализационных насосных станциях устанавливают насосы типов СД и СДВ, а также грунтовые (Гр), песковые и шламовые (П). Используют и другие насосы, предназначенные для перекачки жидкостей с посторонними включениями: массные (ФСД, ФМ, БМ, ФМД); погружные (ЦМФ, ЦМК, ГНОМ) и др.
Для перекачки атмосферных вод используют осевые или крупные водопроводные (тип Д) насосы.
Типоразмеры резервных насосных агрегатов назначают в соответствии с принципами, изложенными в § 14.2.
14.5. Компоновка насосных агрегатов м внутристанционных коммуникаций
При компоновке насосных агрегатов, запорно-регулирующей арматуры и трубопроводов внутри насосной станции учитывают следующие требования:
- удобство эксплуатации насосных агрегатов и запорио-ре-гулирующей арматуры и безопасность их обслуживания;
- простоту ремонта, монтажа и демонтажа агрегатов, арматуры и вспомогательного оборудования;
- минимальные площадь и глубину машинного зала и насосной станции в целом;
- максимальную простоту всасывающих коммуникаций с целью уменьшения потерь напора в них;
- возможность расширения насосной станции в перспективе.
Схема расположения насосных агрегатов в плане определяется спецификой конструкций выбранных насосов, в частности взаимным расположением всасывающего и напорного патрубков относительно друг друга и относительно оси вращения вала. На компоновку насосных агрегатов оказывают влияние также форма насосной станции в плане и расположение пола машинного зала относительно поверхности земли (насосная станция заглубленная или незаглубленная).
В насосных станциях прямоугольных в плане и незаглублен-ных или полузаглубленных (насосные станции 1-го подъема раздельного типа и насосные станции 2-го подъема) применяют (рис. 14.11) однорядную (ае) и двухрядную (ж, э) схемы компоновок насосных агрегатов.
Схемы а, б, в, ж, з применяют для насосов типа Д, причем в схемах ж и з с целью уменьшения площади машинного зала используется такая конструктивная особенность насосов типа Д, как возможность присоединения электродвигателя как с одной, так и с другой стороны (см. § 13.1).
Схемы г и д характерны при использовании горизонтальных
насосов с осевым подводом воды (насосы типов К, КМ, СД, Гр,
П). По схеме д улитка насоса установлена таким образом, что
напорный патрубок направлен вертикально вверх, а по схеме
г горизонтально. \
Схему е применяют при установке в насосной станции вертикальных (тип В) или осевых насосов.
На рис. 14.12 представлены схемы компоновок насосов в насосных станциях круглых в плане и, как правило, заглубленных [насосные станции 1-го подъема совмещенного типа (аг) и канализационные схема д, е].
По схемам а, в, г, д в насосных станциях устанавливают горизонтальные насосы типа Д, по схеме б вертикальные типа В.

На канализационных насосных станциях как с горизонтальными (рис. 14.12, <?), так и с вертикальными (рис. 14.12, е) насосами преимущественное распространение получила однорядная схема. При использовании горизонтальных насосов их располагают таким образом, чтобы ось вращения вала была расположена перпендикулярно стенке, отделяющей приемный резервуар от машинного зала. Такая схема расположения насосов позволяет прокладывать прямолинейно всасывающие трубопроводы, что уменьшает число фасонных частей, а следовательно, уменьшает гидравлическое сопротивление всасывающих водоводов.
Кроме того, однорядное расположение насосных агрегатов обеспечивает более равномерные гидравлические условия работы насосов, а также упрощает применение подъемно-транспортного оборудования.
Всасывающие и напорные коллекторы-перемычки с запорной арматурой следует располагать в здании насосной станции (рис. 14.11, ад, ж), если это не вызывает увеличения пролета машинного зала. В противном случае коллекторы и задвижки на всасывающих и напорных водоводах устанавливают в камерах переключений (рис. 14.11, б,з), расположенных рядом с насосными станциями.

В машинных залах предусматривают монтажную площадку для насосных агрегатов Она должна быть расположена таким образом, чтобы с помощью подъемно-транспортных механизмов любой насосный агрегат мог быть демонтирован и перемещен на данную площадку.
14.6. Конструирование внутристанционных коммуникаций
На напорном трубопроводе каждого насоса устанавливают, как правило, обратный клапан и задвижку. Обратный клапан, предотвращает обратный ток жидкости через насос при его внезапном (аварийном) отключении. Задвижка необходима для обеспечения запуска насоса (центробежный насос запускают на закрытую задвижку). Кроме того, на коллекторах, соединяющих напорные (всасывающие) трубопроводы между собой, устанавливают ряд задвижек для обеспечения возможности вывода насосов в ремонт, причем эти задвижки должны быть расставлены таким образом, чтобы при отказе насосов, обратных клапанов и самих задвижек снижение подачи насосной станции соответствовало ее категории надежности (см § 14 1)
На рис. 14.13, о...е, даны примеры возможных схем обвязок насосов. На приведенных схемах каждый насос имеет свой (обособленный) всасывающий трубопровод. В случае общих (например, двух) всасывающих трубопроводов структура всасывающих коммуникаций симметрична напорным. При расположении оси насоса выше максимального уровня воды в нижнем бассейне на обособленных всасывающих трубопроводах задвижки не устанавливают.

Всасывающие и напорные трубопроводы выполняют, как правило, из стальных труб При монтаже всасывающих и напорных водоводов стальные трубы соединяют на сварке, обеспечивающей высокую степень герметичности и надежности стыков. Фланцевые соединения применяют в местах установки задвижек, обратных клапанов, монтажных вставок и для подключения к насосам.
Для уменьшения потерь напора при входе потока во всасывающую трубу диаметр входного отверстия DBX принимают больше диаметра трубы d.t Размеры входных воронок принимают следующими: DBX = (l,25...1,5)d; длина /к = (1,3 ..1,7)DBX.
Заглубление входа в воронку под минимальный уровень воды принимают (0,6... 1,2)DBX, горизонтальная плоскость входа в воронку должна быть выше дна приямка на 0,8DBX> расстояние от края воронки до стен камера принимают не менее 0,8DBX, а до соседней всасывающей воронки не менее (1,5...2)DBX.
Если приемная воронка расположена в стене, разделяющей машинный Зал и приемный резервуар, то расстояние от нижней кромки воронки до дна приямка принимают не менее 0,4DBx, а верхняя часть воронки должна быть заглублена под уровень воды не менее 1,2DBX. При этом целесообразно, чтобы выступ трубопровода в резервуар был минимальным или вообще отсутствовал. В этом случае трубы удерживаются в стене без дополнительных креплений, а в канализационных насосных станциях такое расположение позволяет довольно просто перекрыть отверстие шиберным щитом или шандором при ремонте задвижки на всасывающем трубопроводе.
В канализационных насосных станциях для спуска сточной жидкости (при ремонте или осмотре) из корпуса насоса и участков трубопроводов от задвижки на всасывающей линии до обратного клапана (задвижки) на напорной линии в нижней части всасывающего трубопровода (возле задвижки со стороны насоса) приваривают выпускной патрубок диаметром 50100 мм, который перекрывают задвижкой, заглушкой или глухим фланцем.
На всасывающих водоводах насосов, расположенных выше максимального уровня воды в нижнем бассейне (береговом колодце водозабора, резервуарах чистой воды, приемном резервуаре), задвижки (затворы) не устанавливают.
Во избежание образования воздушных или газовых мешков
всасывающие трубы укладывают с непрерывным подъемом к на-
сосу с уклоном не менее 0,005. Для канализационных насосных
станций принимают уклон всасывающих трубопроводов 0,03...
...0,05. 317
Присоединение трубопровода к всасывающим патрубкам на* сосов выполняют с помощью эксцентричных (косых) переходов е| горизонтальной образующей в верхней их части.
На напорных водоводах каждого насоса, как правило, устанавливают следующие фасонные части и арматуру (в порядке установки по ходу движения воды): переход концентрический от напорного патрубка насоса до напорного трубопровода; монтажную вставку с подвижным фланцем; обратный клапан; задвижку (затвор); колено или тройник для подключения к коллектору.
На канализационных насосных станциях установка многодисковых обратных клапанов не допускается.
Трубопроводы внутри насосных станций укладывают, как правило, над поверхностью пола (на опорах или кронштейнах) с устройством мостиков над трубопроводами и обеспечением подхода и обслуживания оборудования и арматуры.
Допускается укладка трубопроводов (кроме трубопроводов, транспортирующих агрессивные жидкости) в каналах, перекрываемых съемными плитами.

Размещение труб в каналах требует, как правило, некоторого углубления здания, но при этом не загромождается машинный зал. Расположение труб над полом загромождает машинный зал, однако значительно упрощает монтаж и обслуживание трубопроводов, уменьшает потери напора в них.
При укладке труб над полом машинного зала под них устраивают опоры высотой 150...200 мм, а при необходимости и большей высоты. Расстояния между опорами на прямых участках од* ределяют расчетом и принимают не более 3 м. Если трубопроводы проходят по стенам здания, их укладывают на консолях, на которых устраивают также ходовой мостик для обслуживания. При высоте до мест обслуживания оборудования, электроприводов и маховиков задвижек (затворов) более 1,4 м от пола преду-сматривают площадки или мостики, при этом высота мест обслуживания и управления с площадки или мостика не должна превышать 1 м.

Рис. 14.15. Конструктивные схемы всасывающих и напорных трубопроводов насосных станций второго подъема:
/ всасывающая труба, 2 всасывающий коллектор, 3 сварное соедиие иие, 4,7 косой переход, 5 фланцевые соединения; 6, II задвижки, 8 иасос, 9 обратный клапан; 10 монтажная вставка с подвижным фланцем; 12 переходный мостик, 13 напорный коллектор; 14 напорный трубопро вод, 15 опоры, 16 фундамент
При расположении в канализационных насосных станциях на* порного коллектора над насосами, что встречается при применении горизонтаьных насосов, стояки от каждого насоса присоединяют сбоку по оси трубопровода или по верхней образующей. При подключении к коллектору снизу в напорном стояке неработающего насоса выпадает осадок, в результате может образоваться пробка, пробить которую при включении насоса в работу очень трудно и порой невозможно.
На рис. 14.14, а...д и 14.15, а...в даны примеры конструктивных решений всасывающих и напорных трубопроводов насосных станций с насосами типа Д.
Наружную поверхность труб внутри насосной станции окрашивают. Цвет краски для напорных и всасывающих водоводов должен быть различным.
Задвижки или затворы на трубопроводах любого диаметра при дистанционном или автоматическом управлении должны быть с электроприводом. При местном (ручном) управлении запорную арматуру диаметром 400 мм и менее предусматривают С ручным приводом, диаметром более 400 мм с электрическим,
14.7. Определение отметки расположения оси горизонтальных насосов
В водопроводных насосных станциях I категории и во всех канализационных насосных станциях насосьГ, как правило, устанавливают «под залив», т. е. ниже уровня воды в нижнем бассейне. В водопроводных насосных станциях II и III категорий допускается установка насосов выше максимального уровня воды в нижнем бассейне. При этом должна быть предусмотрена система для залнвки насосов перед их пуском.
В насосных станциях 1-го подъема I категории (рис. 14.16, а, в) отметку оси насоса ZOH определяют из условия установки корпуса насоса под минимальным уровнем воды в береговом колодце после сеток:
Zон= ZMyB а (14.13)
где ZMyB отметка минимального уровня воды в береговом колодце или сеточном отделении насосной станции 1-го подъема после сеток; а расстояние от оси до верха корпуса насоса.
В совмещенных насосных станциях 1-го подъема I категории часто пол машинного зала и днище сеточного отделения насосной станции по конструктивным соображениям располагают на одном уровне (рис. 14.16, в). В таком случае отметка оси насоса определяется отметкой пола машинного зала Zдн высотой фундамента а1 и расстоянием от низа лап насоса до его оси а2.


• В насосных станциях 2-го подъема I категории насосы устанавливают ниже уровня противопожарного запаса воды в резервуарах чистой воды в зависимости от расчетного количества пожаров:
при одном пожарепод максимальный уровень (рис. 14.16, г);
где Zp4в отметка минимального уровня воды в резервуарах чистой воды (дна резервуара), ориентировочно принимаемая на 2,5 м ниже отметки поверхности земли в месте расположения резервуаров; SПОж высота слоя воды, соответствующая полному объему противопожарного запаса, хранящегося в резервуарах чистой воды; а расстояние от оси до верха корпуса насоса;
при двух (и более) пожарах под средний уровень (рис. 14.16, д):

• В канализационных насосных станциях отметку оси насоса определяют из условия размещения корпуса насоса под средним уровнем воды в приемном резервуаре (рис. 14.16, е):

где Znp отметка дна приемного резервуара; Hпр рабочая глубина приемного резервуара, измеряемая от дна резервуара до лотка подводящего коллектора.
Вычисленные отметки оси насосов должны быть проверены на обеспечение допустимой вакуумметрической высоты всасываний Hв доп или допустимого кавитациониого запаса hД, приведенных в каталогах или паспортах насосов.
Для этого сравнивают максимальную геометрическую высоту всасывания насоса при минимальном расчетном уровне воды в нижнем бассейне (береговом колодце, резервуарах чистой воды, приемном резервуаре) с максимально допустимой геометрической высотой всасывания.
Максимальную геометрическую высоту всасывания определяют как разницу отметок оси насоса (Z0H) и минимального уровня воды в нижнем бассейне (ZMye):
Для насосных станций 1-го подъема Z„yB соответствует минимальному уровню воды в береговом колодце после сеток. Для водопроводных насосных станций 2-го подъема ZMy„ принимают равной отметке дна резервуаров чистой воды Zp4B. Для канализационных насосных станций минимальная отметка уровня сточных вод совпадает с отметкой дна приемного резервуара: ZMye = Zпр
Значения Hsmax могут быть как положительными, так и отрицательными. Если Hsmax>0, то ось насоса расположена выше минимального уровня воды. Если Hs max < 0, то ось насоса все время будет находиться под уровнем воды.
Максимально допустимую геометрическую высоту всасывания определяют через допустимую вакуумметрическую высоту всасывания Hвдоп или допустимый кавитационный запас hд, имея в виду их связь между собой:
Максимальная допустимая геометрическая высота всасывания через допустимую вакуумметрическую высоту всасывания
где hв потери напора во всасывающих линиях и коммуникациях насосной станции; v2/(2g) скоростной напор на входе в насос.
Значения Hв Доп или hд в каталогах и паспортах насосов даны для нормального атмосферного давления Par = 10 м, т. е. для местностей, расположенных на уровне моря, и для температуры холодной воды /<;35°С. При отличии условий вводятся поправки и формула (14.20) принимает вид
где Рат отличие атмосферного давления, может быть как положительным, так и отрицательным; Рнп давление насыщенных паров жидкости.
Значения поправочных слагаемых Pm/(pg) и Par/(pg) в зависимости от температуры жидкости приведены в § 2.7. Слагаемое Par/(pg), м, может быть также определено по приближенной формуле
где ZM абсолютная отметка местности относительно уровня моря, м.
Расчет максимально допустимой геометрической высоты всасывания проводят для всех насосов (если они разнотипные) при всех значениях подач и HВДОп (или Алд), определенных в результате построения совместных графиков работы насосов и системы. К дальнейшему анализу и расчетам принимают меньшее значение Hs max.
Если HsmaxHдопmax, принимают отметку оси насоса, вычисленную по одной из формул (14.13)...(14.16).
ЕСЛИ H5тах>Hдоптах, то при расположении насосов на вычисленных отметках может возникнуть кавитация, что приводит к резкому ухудшению технических и экономических характеристик, а также износу рабочего колеса и рабочей камеры насоса. Для предотвращения этого отметку оси насоса соответственно уменьшают до достижения неравенства HsmaxHдопmax
• Для водопроводных насосных станций II и III категорий, где допускается установка насосов выше уровня воды в нижнем бассейне (рис. 14.16, е), отметку расположения оси насоса определяют непосредственно из условий обеспечения допустимой геометрической высоты всасывания при минимальном уровне воды в нижнем бассейне:

14.8. Приемные резервуары канализационных насосных станций и нх оборудование
В соответствии со СНиП 2.04.0385 вместимость приемного резервуара определяют в зависимости от режима притока и откачки сточных вод, подачи насосов и допустимого количества включения электрооборудования в течение 1 ч.
Ограничение по частоте включений насосных агрегатов обусловливается тем, что большое число включений неблагоприятно сказывается на работе электроаппаратуры управления насосами и на системе энергоснабжения, а также значительно усложняет эксплуатацию насосной станции. Количество включений насосных агрегатов в течение 1 ч не должно превышать трех прЛ ручном управлении и пяти при автоматическом. Опыт эксплуатации насосных станций с автоматическим управлением показывает, что при мощности электродвигателя более 50' кВт следует принимать не более трех включений в час.
С учетом этого СНиП требует, чтобы вместимость приемного резервуара, м3, была не менее объема, равного пятиминутной максимальной подаче одного из насосов Qmax, ма/ч:
Малая вместимость приемного резервуара уменьшает строительные объемы насосной станции, предотвращает выпадение осадка и его загнивание. Однако уменьшение вместимости приемного резервуара ухудшает не только технические, но и экономические условия эксплуатации. Таким образом, существует понятие оптимальной вместимости приемных резервуаров.
Оптимальную вместимость определяют на основании технико-экономических расчетов для каждого конкретного случая, где могут быть самые разнообразные сочетания технических и эконо*-мических факторов и условий.
При принятой вместимости приемного резервуара, а также известных режимах притока и откачки сточных вод количество включений насосных агрегатов (в течение 1 ч) определяют путем сопоставления интегральных графиков притока и откачки в определенный час.
Математически доказано, что для станций с однотипными насосами наибольшее число включений насосов бывает в период, когда приток равен (или близок) половине подачи насоса.
На рис. 14.17 дан пример расчета количества включений насосов в течение 1 ч для режимов притока и откачки, изображенных на рис. 14 6, а, и вместимости приемного резервуара Wm\n = 481/12 = = 40 м3.

Для расчета выбран диктующий случай, когда насос имеет максимальную подачу, а приток приблизительно равен половине подачи насоса: часы 05 и 2224, когда подача насоса составляет 481, а приток 223 м3/ч.
Расчет выполнен следующим образом. На графике построена точка А, соответствующая часовой (t = 60 мин) подаче насоса Q ±= 481 м3. Соединив точку А с началом координат, получим линию / интегральный график максимально возможной откачки насоса. Соединив точку Б, соответствующую выбранному расчетному часовому притоку 223 м3, получим линию 2 интегральный график расчетного притока сточных вод.
Если считать, что в начале часа приемный резервуар вместимостью 40 м3 был пуст и насос не работал, то точка а пересечение горизонтальной линии Q = 40 м3 с линией 2 определяет момент полного наполнения резервуара. В этот момент (из точки а опущен перпендикуляр и получена точка б) включается насос, который откачивает как скопившуюся в резервуаре жидкость, так и прибывающую в этот период времени. График работы насоса в этот период получают путем проведения из точки б линии, параллельной линии /, до пересечения с линией 2 (точка в). В этот момент резервуар становится опять полностью опорожненным и насос отключается. Следующее полное наполнение резервуара соответствует точке д, где разность между горизонтальной линией, проведенной из точки в, и линией 2 (точка г) соответствует вместимости резервуара 40 м3. В этот момент насос опять включается (линия де, параллельная линии /). Момент включения (точка з) и интегральный график откачки стоков в третье включение насоса (линия зк) простроены аналогично.
Таким образом, установлено, что в данном случае насос будет включаться три раза в час, причем третий период работы заканчивается уже вне пределов рассматриваемого часа.
Легко проверить аналогичным образом, что в любой другой час количество включений насоса будет равно трем или меньше^ т. е. выполнено ограничение по количеству включений насосных агрегатов в течение 1 ч.
Вместимость приемного резервуара при необходимости может быть уточнена после определения точных значений подач насосов (одного, двух, трех, четырех), т.е. после построения графика совместной работы насосов и системы, в которую онн подают воду.

Рис 14 18. Приемный резервуар:
/ подводящий коллектор, 2 опускной колодец, 3 распределительный канал, 4 шибер, 5 механизированная решетка, 6 транспортер, 7 дробилка, 8 трубопровод для взмучивания осадка, 9 всасывающая труба насоса, 10 смотровые люкн
Приемные резервуары насосных станций конструируют, исходя из вычисленной и принятой их, вместимости. Рабочая вместимость резервуаров отсчитывается от лотка подводящего коллектора. Размеры рабочей части приемного резервуара должны обеспечивать требуемую регулирующую вместимость с учетом стеснения ее конструкциями резервуаров, всасывающими линиями и другим оборудованием, расположенным в резервуаре (рис. 14.18).
Глубину рабочей части приемного резервуара следует принимать не менее 1,5...2 м для малых и средних станций и 2,5 м и более для крупных.
На крупных насосных станциях приемным резервуарам придают форму распределительного канала, имеющего достаточную регулирующую вместимость и обеспечивающего благоприятные гидравлические условия всасывания насосами.
В приемных резервуарах насосных станций с "подачей 100 тыс. м3/сут и более необходимо предусматривать два отделения без увеличения общего объема. Это обеспечивает возможность выполнять осмотр, очистку и ремонт приемного резервуара и его оборудования на ходу, т. е. без полного отключения насосной станции.
В отдельных случаях в резервуарах для приема сточных вод, смешение которых может вызвать образование вредных газов, осаждающихся веществ, или при необходимости сохранения потоков сточных вод с различными загрязнениями предусматривают самостоятельные секции для каждого потока сточных вод.
Дно приемных резервуаров выполняют с уклоном не менее 0,01 в сторону приямка.
Перекрытие резервуаров устраивают на 0,5 м выше максимально допустимого уровня воды в канале. Максимальный уровень воды в резервуаре принимается равным отметке лотка подводящего коллектора.
*В перекрытии устраивают два смотровых люка для спуска внутрь резервуара. Располагают их у стен резервуара в местах крепления ходовых скоб (лестниц).
Приемные резервуары канализационных насосных станций оборудуют решетками, дробилками (решетками-дробилками), устройствами Для взмучивания и смыва осадка, шиберными (щитовыми) затворами, аварийными выпусками.
• Решетки используют для предохранения насосов от попадания в них отбросов и их засорения. Выполняют их из профилированной стали с шириной прозоров на 10...20 мм меньше размеров проходных сечений в устанавливаемых насосах (табл. 14.4).
При установке насосной станции на территории очистных сооружений ширину прозоров решетки принимают 16 мм независимо от типоразмера применяемых насосов.

Решетки могут быть как с ручной очисткой (при количества отбросов до 0,1 м3/сут), так и с механизированными граблями. В отечественной практике получили распространение решетки механические поворотные типа МГТ конструкции Гипрокоммун» водоканала (рис. 14.19 и табл. 14.5) и механизированная многогабаритная вертикальная РМВ 600/800 конструкции МосводоканалНИИпроекта, имеющая следующие технические характеристики:

Типоразмеры решеток подбирают по требуемой площади живого сечения рабочей части решеток EFp, м2:
где Qmax максимальный приток сточных вод, м3/с; v скоростъ движения жидкости в прозорах решетки, м/с; для механизированных решеток принимают 0,8...1,0 м/с.
Требуемую площадь одной решетки F9, м2, определяют с учетом принятого количества рабочих решеток п:


По значению F9 подбирают типоразмер (марку) решетки.
Количество резервных решеток принимают в зависимости от типа и числа рабочих решеток (табл. 14.6).
Решетки устанавливают в специальных каналах у устья подводящего коллектора на расстоянии не менее 0,5 м от него. Размеры канала принимают в зависимости от типа и размера выбранной решетки (см. табл. 14.5).

Для обеспечения удобного и безопасного обслуживания вокруг решеток должен быть обеспечен проход шириной 1,2 м, а перед фронтом - 1,5 м при механизированной очистке, 0,7 м при ручной.
• Дробилки предназначены для измельчения отбросов, снятых с решеток. Измельченные отбросы возвращают в подводящий канал.
Для измельчения отбросов сточных вод применяют дробилки молотковые и комбинированные решетки-дробилки.
Принцип действия молотковой дробилки следующий. Отбросы, загружаемые в бункер, поступают на вращающийся ротор и попадают между молотком и гребенкой. Измельченные отбросы вымываются через отверстия решетки водой, поступающей через верхний штуцер.
Технические характеристики дробилок молоткового типа представлены в табл. 14.7.

В помещениях, где расположены решетки, устанавливают, как правило, одну рабочую дробилку. При количестве отбросов более 1 т/сут (крупные станции) кроме рабочей предусматривают резервную дробилку. В малых и средних насосных станциях резервная дробилка в собранном виде хранится на складе.
На малых и средних насосных станциях отбросы от решеток к дробилкам попадают посредством сортировочных столов и площадок, а также дырчатых корыт-накопителей. На крупных насосных станциях с несколькими решетками, устанавливаемыми в ряд, для транспортирования отбросов применяют ленточные конвейеры.
• Решетки-дробилки одновременно выполняют две функции: задерживают отбросы и дробят их.
Принцип действия решетки дробилки типа РД (рис. 14.20) заключается в следующем. Сточная вода по подводящему каналу поступает во вращающийся барабан. Задержанные на решетке отбросы при взаимодействии режущих пластин и резцов измельчаются и поступают на выход из решетки-дробилки. При применении решеток-дробилок полностью механизируется процесс задержания и измельчения крупных загрязнений. Эти процессы происходят под водой, что обеспечивает высокую степень санитарных условий эксплуатации. Кроме того, решетки-дробилки менее материало- и энергоемкие по сравнению с дробилками молоткового типа.

Решетки-дробилки типа РД диаметром 100 и 200 мм устанавливают непосредственно на подводящем ^трубопроводе, диаметрам 400, 600 и 900 мм в открытом подводящем канале с изливом сточной воды в приемный резервуар насосной станции.

В табл. 14.8 и 14.9 даны технические характеристики решеток дробилок типов РД и КРД, в табл. 14.10 условия применения решеток-дробилок.

• Взмучивание осадка, выпадающего в приемном резервуаре, производят с помощью перфорированных труб или системой открытых выпусков труб.
Перфорированные трубы укладывают по периметру резервуара, а открытые выпуски труб у входных воронок всасывающих трубопроводов.
Воду в систему взмучивания осадка подают из напорного трубопровода сточной жидкости. Диаметр трубопроводов взмучивания принимают не менее 50 мм,
Из-за того, что отверстия перфорированных труб часто засоряются, более эффективна система открытых выпусков труб.
Осадок из участков резервуаров, не попадающих в зону взмучивания, смывают с помощью брандспойтов в периоды профилактических осмотров и ремонтов резервуаров или в часы минимального притока, полностью откачав сточную жидкость из резервуара.
Шиберные затворы устанавливают на каналах, подводящих сточную жидкость к решеткам (решеткам-дробилкам), обеспечивая тем самым их ремонт или замену.
Шиберные затворы выполняют с ручным и электрическим приводами. Серийно выпускают шиберные затворы конструкций Союзводоканалпроекта и Гипрокоммунводоканала. Эти затворы предназначены для установки на открытых прямоугольных каналах шириной от 200 до 1400 мм и высотой от 300 до 2000 мм.
• Аварийный затвор (шибер, задвижка) устанавливаются на подводящем коллекторе для защиты помещения решеток от затопления при аварийном отключении насосных агрегатов. Затвор выполняют с механическим приводом, управляемым с поверхности земли и имеющим дистанционное управление с диспетчерского пункта. Аварийный затвор устанавливают в отдельной или пристроенной к помещению решеток камере.
14.9. Коэффициент полезного действия насосной станции
КПД насосной станции т|Нс определяют как отношение полезной энергии Эп, передаваемой перекачиваемой жидкости, к энергии Э, потребляемой электродвигателями всех агрегатов:

Формулы для определения КПД насосной станции в конкретных условиях работы имеют следующий вид:
при равномерной в течение суток работе насосной станции с одинаковыми насосами ее КПД равен КПД одного насосного агрегата [см. формулу (12.10)] при совместной его работе с другими насосами;
при равномерной в течение суток подаче насосной станции с разнотипными насосами

где Qhc общая подача насосной станции; Qi подача i-го насосного агрегата при его совместной работе с другими насосами (Qi=Qнc); п количество рабочих насосных агрегатов; т),i КПД i-ro насосного агрегата при его совместной работе с другими насосами;
при двухступенчатом в течение суток (t1 + t2 = 24 ч) режиме работы насосной станции с двумя одинаковыми рабочими насосами, когда на I ступени работает один насос, а на II два насоса совместно:

где Qi, Hi, h соответственно подача, напор и продолжительность на I ступени работы; Qn, Ни, hi то же, на II ступени; i КПД одного отдельно работающего насосного агрегата; r|(i+2) КПД одного насосного агрегата при его совместной работе с другим агрегатом;
fj при двухступенчатом в течение суток режиме работы насосной станции с двумя разнотипными насосами, когда на I ступени работает один (1-й) насос, а на II ступени два (1-й и 2-й) насоса совместно:

где Q1, Q2 подача соответственно 1-го и 2-го насосов при их совместной работе (Q1+ Q2 = Qн); (1+2) КПД 1-го агрегата при совместной работе со 2-м; ”(1+2) КПД 2-го агрегата при совместной работе с 1-м.
При большем числе ступеней работы насосной станции и при большем количестве насосных агрегатов (одинаковых или разных) в формулы (14.28) и (14.29) добавляют соответствующие члены.
Глава I5
ПРИМЕРЫ ПРОЕКТНЫХ РЕШЕНИЙ НАСОСНЫХ СТАНЦИИ
15.1. Объемно-планировочные решения зданий насосных станций
• Машинный зал. Размеры машинных залов насосных станций определяют исходя из размеров устанавливаемого оборудования и его компоновки, а также обеспечения минимально допустимых, расстояний между оборудованием и строительными конструкциями помещения.
Ширину и длину фундаментов под насосные агрегаты принимают на 10... 15 см больше ширины и длины плиты или рамы, на которых будут они смонтированы.
Исходя из удобства монтажа всасывающих и напорных трубопроводов высоту фундамента над уровнем чистого пола принимают не менее 150...200 мм. Глубина заложения фундамента должна быть не менее 500...700 мм и не менее глубины заложе-ниягфундаментов соседних агрегатов.
Минимальная ширина проходов в машинном зале насосной станции, м: между насосами или электродвигателями 1; между насосами или электродвигателями и стеной в заглубленных помещениях 0,7, в прочих 1, при этом ширина прохода со стороны электродвигателя должна быть достаточной для демонтажа ротора; между неподвижными выступающими частями оборудования 0.7.
Для агрегатов с диаметром нагнетательного патрубка до 100 мм включительно допускается: установка агрегатов у стены или на кронштейнах; установка двух агрегатов на одном фундаменте при расстоянии между выступающими частями агрегатов не менее 0,25 м с обеспечением вокруг сдвоенной установки проходов шириной не менее 0,7 м.
Минимальное расстояние до конструкций зданий (стен, колонн, балок и т.д.), м; от стенок труб при диаметре труб до 400 мм 0,3; от 500 до 600 мм 0,5; >600 мм 0,7; от плоскости фланца при диаметре труб до 400 мм 0,3; >400 мм 0,5.
Габаритные размеры машинного зала в плане принимают с учетом возможности расширения насосной станции, особенно заглубленного типа. При этом необходимо резервировать места для установки дополнительных насосов в будущем или фундаменты для насосов первой очереди выполнять таких размеров и с такими закладными частями, чтобы при расширении насосной станции была возможность снять один насос (меньший) и установить на его место другой (больший). Необходимо резервировать места для развития внутристанционных коммуникаций и дополнительной установки запорно-регулирующей арматуры.
Высоту помещений, оборудованных стационарными грузоподъемными механизмами, определяют исходя из обеспечения минимальной высоты 0,5 м при транспортировке крупногабаритных грузов над оборудованием. Виды грузоподъемных механизмов, используемых в насосных станциях, и условия их применения изложены в § 2.5.
• Бытовые и вспомогательные помещения. К ним относятся:
бытовые комнаты гардероб, санузел, душевая;
служебно-технические помещения диспетчерская, камеры трансформаторной подстанции, помещение для распределительных устройств;
подсобные помещения мастерская для ремонта основного оборудования и запорно-регулирующей арматуры, мастерская" для текущего ремонта электрической, измерительной и электронной аппаратуры, кладовая, вентиляционная камера.
Площадь бытовых и подсобных помещений принимают в зависимости от суточной подачи насосной станции (табл. 15.1).

Состав бытовых и вспомогательных помещений в насосных станциях, располагаемых на площадках предприятий и очистных сооружений, определяют в зависимости от наличия аналогичных помещений в близлежащих зданиях. Санитарный узел надлежит предусматривать в случае расположения насосной станции на расстоянии свыше 50 м от производственных зданий, имеющих санитарно-бытовые помещения.
В насосных станциях с управлением без постоянного обслуживающего персонала служебные помещения можно не предусматривать.
Диспетчерскую располагают таким образом, чтобы остекленная сторона выходила в сторону машинного зала, либо в сторону грузового люка, если бытовые и служебные помещения находятся над подземной частью насосной станции шахтного типа.
Гардероб, санузел и душевую обычно располагают напротив диспетчерской, через коридор. В диспетчерской вдоль стен прислонным способом размещают щиты управления. У торца наземной части здания насосной станции размещают камеры трансформаторной подстанции, к которым примыкает помещение распределительных устройств.
• Конструктивные решения зданий насосных станций. Характерной особенностью зданий насосных станций является наличие развитой подземной части (круглой, прямоугольной), которую возводят, как правило, в сложных геологических и гидрогеологических условиях с применением специальных способов строительно-монтажных работ. Выбор способа строительства и соответствующих конструктивных решений производится в каждом конкретном случае на основании технико-экономических расчетов.
Здания заглубленных насосных станций строят следующими способами: в открытых котлованах, опускным способом и способом «стена в грунте».
При строительстве насосных станций в открытом котловане конструктивная схема подземной части здания может быть консольной, балочной или контрфорсной.
Консольная схема насосных станций выполняется при глубине подземной части до 5...6, контрфорсная до 10...12, балочная до 18...22 м. Целесообразность применения той или иной схемы Зависит от типа грунтов, наличия грунтовых вод и размеров насосной станции в плане. При небольших глубинах в маловлажных грунтах целесообразно применять консольную схему. При малых и средних размерах насосных станций (до 12X18 м в плане) в водонасыщенных грунтах эффективна балочная система. Контрфорсную схему целесообразно применять при больших размерах насосных станций в маловлажных грунтах и при глубинах более 10 м.
При монолитном исполнении подземной части применяют погружные железобетонные стены толщиной от 0,4 до 1,5 м, а при сборном от 0,24 до 0,8 м.
Унифицированные здания насосных станций принимают однопролетными с размерами пролетов 6, 9, 12 и 18 м. Редко используют пролеты 24 и 30 м. Высота наземной части (от уровня земли до низа покрытия) в зданиях, оборудованных кран-балками, изменяется от 3,6 до 9,6 м (с интервалом 1,2 м), а в зданиях с мостовым краном высота составляет 12,6 м. Глубина подземной части насосной станции должна быть кратной 1,2 м.
Наземную часть насосных станций обычно выполняют по типу одноэтажных промышленных зданий с использованием типовых конструкций.
Строительство сооружений опускном способом целесообразно в сухих песчаных грунтах, начиная с глубины 10 м, а в обводненных песчаных грунтах 7...8 м; в сухих суглинистых грунтах 14...15 м.
Опускные колодцы как подземные части насосных станций должны иметь внутренние размеры в плане (диаметр или сторону прямоугольника), как правило, кратные 3 м, а высоту 0,6 м.
Строительство сооружений способом «стена в грунте» для грунтов, насыщенных водой, эффективно с глубины 6...8 м и более, а для сухих грунтов с глубины 11 м. Этот способ преимущественно применяют для возведения подземных частей насосных станций, прямоугольных в плане, в сборном варианте при стесненных условиях строительства.
Ширину оконных проемов принимают не менее 1500 мм при высоте 1200 и 1800 мм. При ленточном остекленении принимают секции высотой 1200 и 1500 мм при длине не менее 3000 мм.
Высота типовых дверей 2400 мм при ширине 1000, 1500 и 2000 мм. Перед дверью в наружных стенах при разности отметок пола и прилегающей территории 150...200 мм устраивают ступеньку шириной 200 мм, при большей разности отметок предусматривают крыльцо шириной 1,2 м.
Размеры ворот (ширина и высота): 30003000; 30003600; 36003600; 40003000; 40004200; 47005600 мм. Перед воротами делают пандус.
Лестницы в машинном зале открытые, без лестничных клеток. Изготовляют их в виде стальных маршей шириной 750, 1000 и 1200 мм при ширине ступени 250 и высоте 200...280 мм.
15.2. Вспомогательные системы насосных станций
• Система заливки насосов. Перед пуском центробежных насосов их корпус и всасывающие трубопроводы должны быть заполнены жидкостью. Если насосы установлены «под залив», процесс заливки максимально прост необходимо открыть задвижку на всасывающем трубопроводе и обеспечить выпуск воздуха в верхней части корпуса насоса.
Если насосы установлены выше уровня воды в нижнем бассейне (водопроводные насосные станции II и III категорий), заливка их перед пуском может быть осуществлена по одной из схем, представленных на рис. 15.1, а...д. Наиболее часто используют схему с применением вакуум-насосов (рис. 15.1, д).
Подбирают вакуум-насос по требуемой подаче:

где QB подача вакуум-насоса, м3/мин; WTp объем воздуха во всасывающем трубопроводе основного насоса, м3; WH объем воздуха в корпусе насоса, м3; Hат напор, соответствующий атмосферному давлению, принимаемый равным 10 м; Hs-геометрическая высота всасывания насоса, считая от оси насоса до наинизшего уровня воды в резервуаре, м; t время, требуемое для создания расчетного разрежения, принимаемое не более 2 мин для противопожарных насосов и 3...5 мин для насосов другого назначения; К 1,05...1,1 коэффициент запаса.
Технические характеристики вакуум-насосов даны в табл. 13 4.
• Дренажная система и система удаления осадка. В насосных станциях шахтного типа, где уровень грунтовых вод выше пола машинного зала, через стенки и днище подземной части здания, особенно в местах устройства строительных швов, просачиваются фильтрационные воды. Случается утечка воды через сальниковые уплотнения насосов и фланцевые соединения.
Для откачки накапливающихся дренажных вод на станциях предусматриваются дренажные установки.

Рис 15 1. Схемы заливки центробежных насосов:
/ обратный клапан, 2 основной насос, 3 трубопровод для залнвки, 4 бачок с поплавковым клапаном, 5 насос для заливкн, 6 струйный насос, 7 циркуляционный бачок, 8 вакуум насос
Подачу дренажных насосов принимают предварительно на основании опытных данных, л/с: для насосных станций малой мощности 1, средней мощности 3,5...5, а для насосных станций большой мощности 8... 10.
Для сбора фильтрационных вод предусматривают сборный дренажный приямок или колодец, объем которого принимают равным 10...15-минутной подаче дренажного насоса. Жидкость к колодцу поступает по дренажным лоткам, а пол помещений выполняют с уклоном 0,002...0,005 в сторону этих лотков.
Фильтрационную воду откачивают из приямков или колодцев в приемные резервуары, если это канализационная насосная станция, и в канализацию или на отмостку в водопроводных насосных станциях. Для этого устраивают, как правило, два наcoca: самовсасывающие вихревые или центробежно-вихревые, которые включаются и выключаются автоматически с помощью поплавковых реле. В табл. 13.4 даиы технические характеристики самовсасывающих вихревых насосов.
Систему удаления осадка из водоприемных камер оборудуют водоструйными или центробежными фекальными насосами. При значительных глубинах камер и колебаниях уровней воды фекальные насосы устанавливают в насосном помещении здания станции. Если позволяет высота всасывания, насосы располагают на перекрытии приемных камер.
Для удаления осадка широкое применение получили гидроэлеваторы (см. § 13.3).
Пол в приемных камерах выполняют с уклономt в сторону приямка, в котором размещают всасывающую трубу фекального насоса или гидроэлеватор. Подачу насоса или гидроэлеватора для удаления осадка определяют исходя из консистенции осадка (в среднем 1:10...1:12 и меньше). Практически расход осадка
принимают равным 3...8 л/с.
• Система технического водоснабжения. Для охлаждения подшипников и гидроуплотнения сальников основных насосов, питания водой дробилок и других целей на насосных станциях предусматривают систему технического водоснабжения.
Для технических нужд вода поступает из городской водопроводной сети через бак «разрыва струи», который устанавливают в высокорасположенном помещении станции. Делают это с целью максимального использования напора питающей сети. Вместимость бака для малых насосных станций принимают 0,5 м3, для средних 1...1,5, для крупных станций 4...6 м3.
Из бака воду подают в сеть технического водоснабжения непрерывно работающими насосами, напор которых определяют с учетом высоты расположения бака и обеспечения напора на 2...8 м больше напора, создаваемого основными насосами.
В системе технического водоснабжения устанавливают 1...2 рабочих и один резервный насос. В качестве насосов системы технического водоснабжения используют самовсасывающие вихревые, центробежно-вихревые, а также центробежные консольные насосы.
• Система электроснабжения. Электроэнергия используется для обеспечения работы основного и вспомогательного оборудования, а также освещения насосных станций.
Питание насосных станций электроэнергией обычно осуществляется от линий электропередачи 6…10 кВ. Для повышения надежности работы насосной станции ее необходимо подключать к двум независимым источникам электроэнергии.
Для пуска, регулирования и остановки приводных электродвигателей насосов, а также для управления электрифицированным, вспомогательным оборудованием насосные станции имеют электрическое хозяйство, основные элементы которого силовые трансформаторы, распределительные устройства и щиты управления.
Трансформаторы могут быть установлены в здании насосной станции, в отдельном здании, на открытой площадке (под навесом), а также на столбах. На столбовых подстанциях допускается устанавливать один трансформатор мощностью до 400 кВ • А.
При расположении трансформаторов в здании насосной станции устанавливают их в камерах, имеющих отдельный наружный вход и несгораемые стены без окон. Двери в камеры подбирают .таких размеров, чтобы через них можно было свободно вкатить трансформатор в собранном виде. В камере силовой трансформатор устанавливают так, чтобы вокруг него сохранялся проход шириной не менее 0,8 м.
Промышленность выпускает трехфазные трансформаторы следующих унифицированных мощностей, кВ - А: 10, 16, 25, 40, 63, 100, 250, 400, 630, 1000, 1600 и др.
При выборе количества трансформаторов учитывают категорию насосной станции н степень ответственности нагрузок, подразделяемых на категории в соответствии с Правилами устройства электроустановок. Если на станции установлено несколько трансформаторов, то при выходе из работы одного из них допускается аварийная перегрузка до 20...40%.
Прием и распределение электроэнергии на насосной станции осуществляются распределительными устройствами (РУ), которые размещают, как правило, в закрытых помещениях. В зависимости от подводящего напряжения различают РУ высокого напряжения свыше 1000 В, низкого напряжения 380, 220 В.
Количество ячеек РУ определяется схемой электрических соединений в зависимости от количества насосных агрегатов. Сюда входят резервные ячейки, а также ячейки, обеспечивающие наружное и внутреннее освещение и управление электродвигателями вспомогательных устройств.
Прн небольшом количестве ячеек помещение РУ располагают в торцевой части здания непосредственно за камерами трансформаторов. Прн большом количестве ячеек помещение РУ размещают вдоль фронта здания. Количество выходов из помещений РУ зависит от длины коридора обслуживания. При длине более 5 м должно быть два выхода. Выходы из помещений РУ выполняют внутри здания. Допускается устройство входа в помещение РУ из машинного зала. Помещение РУ может быть без окон с искусственным освещением.
Размеры помещения РУ определяются размерами, количеством и схемой компоновки ячеек распределительных устройств. Различают две схемы компоновки РУ: с отдельно стоящими конструкциями и двумя коридорами обслуживания; с конструкциями прислонного типа и одним коридором обслуживания. Размеры одной ячейки РУ при высоком напряжении следующие, мм, ширина 1000; глубина 1500; высота 2100.
При низком напряжении (220 и 380 В) применяют простей шие закрытые распределительные устройства распределительные щиты, имеющие следующие размеры, мм: ширина 900; глубина 500; высота 2100.
В насосных станциях для управления насосными агрегатами устанавливают щиты управления (ЩУ), состоящие из командно! аппаратуры (кнопки, ключи управления), реле, ламп сигнализации, измерительных приборов и пр. Основные размеры щита управления, мм: ширина 800; глубина 550; высота 2360; ЩУ устанавливают в диспетчерской по прислонной схеме. Обычно количество их назначается из расчета один щит на три насосных агрегата с электродвигателями низкого напряжения и один щит на каждый насосный агрегат при высоковольтных электродвигателях (в том числе и на резервные агрегаты).
15.3. Водопроводные насосные станции
Применение того или иного проектного решения зависит от многих факторов, в том числе от назначения насосной станции» величины ее заглубления, условий строительства и эксплуатации.
На рис. 2.20 показана насосная станция 1-го подъема совмещенного типа. Подземная часть круглой в плане формы выполнена в монолитном железобетоне методом опускного колодца.
В машинном зале подковообразной формы предусмотрена установка пяти насосов (трех рабочих и двух резервных для I категории водопользователей или четырех рабочих и одного резервного для II категории) типа Д. Ввиду некратности количества насосов числу секций водозабора один (средний) насос имеет раздвоенный всасывающий трубопровод. Насосный агрегат, место установки которого изображено пунктирными линиями, устанавливается на второй очереди строительства. Принятая схема размещения насосных агрегатов обеспечивает возможность устройства обособленных всасывающих трубопроводов короткой длины.
Насосы установлены под минимальный уровень воды в водоприемно-сеточном отделении, т. е. «под залив». Заливка насосов перед пуском осуществляется путем открытия задвижки на всасывающем трубопроводе.
Напорный коллектор вынесен из машинного зала на другой (верхний) уровень насосной станции. Такое решение позволило максимально уменьшить площадь машинного зала, а следовательно, и диаметр опускного колодца.
В машинном зале предусмотрены каналы и колодец для сбора дренажных вод. В этот же колодец посредством гидростатического давления подается осадок из водоприемно-сеточного отделения водозабора. Дренажные воды и осадок из дренажного колодца откачиваются самовсасывающими вихревыми или центробежно-вихревыми насосами.
Электротехническое оборудование размещено на двух этажах в подземной части сооружения над машинным залом.
На рис. 2.22 показана совмещенная насосная станция 1-го подъема с четырьмя насосами (два рабочих и два резервных. Для насосной станции I категории или три рабочих и один резервный для II категории) типа Д.
В данном случае применено двухрядное расположение насосных агрегатов. При этом использована конструктивная особенность насосов типа Д, благодаря которой электродвигатели присоединены к насосам как с одной, так и с другой стороны. В результате как всасывающие, так и напорные коммуникации имеют достаточно простую конструкцию и удачно расположены в машинном зале, не сильно стесняя его.
В насосной станции предусмотрена откачка дренажных вод, а также осадка из водоприемных камер.
Подземная часть насосной станции имеет круглую в плане форму и выполнена методом опускного колодца, наземная часть квадратная из кирпича. В наземной части (одно- или двухэтажной) размещены бытовые и вспомогательные помещения.
Размещение насосных агрегатов в совмещенной насосной станции 1-го подъема, изображенной на рис. 2.21, продиктовано конструкцией водозаборной части сооружения, имеющей три независимые секции. При таком размещении насосных агрегатов в сочетании с использованием конструктивной особенности присоединения электродвигателя к насосу типа Д конструкция всасывающих трубопроводов достаточно проста. Однако такая компоновка насосов не позволила разместить напорный коллектор и задвижки на водоводах в машинном зале. В данном случае они вынесены из здания насосной станции в отдельно стоящую камеру переключений.
На рис. 15.2 представлена прямоугольная в плане насосная станция 1-го подъема раздельного типа с тремя насосами (один рабочий и два резервных для насосиых станций I категории водопользователей или два рабочих и один резервный для II категории) типа Д с обособленными всасывающими трубопроводами. Вследствие того что водозаборные сооружения имеют как минимум две секции, к одному из насосов подходят два всасывающих трубопровода. Обратные клапаны и задвижки на трех напорных трубопроводах, коллектор с рассекающими задвижками и задвижки на двух напорных водоводах размещены в отдельно стоящей камере переключений.
Отметка оси насоса должна быть рассчитана с учетом треб©* ваний, изложенных в § 14.7. В рассматриваемой насосной став* ции ось насоса расположена выше минимального уровня воды.в береговом сеточном колодце (насосная станция II категории}* Поэтому в машинном зале установлены вакуум-насосы для заливки основных насосов перед пуском. Предусмотрены также насосы для откачки дренажных вод.

На рис. 15.3 показана насосная станция 2-го подъема с полузаглубленным машинным залом. В насосной станции установлены четыре насоса Д1250-65 (два рабочих и два резервных для насосных станций I категории водопользования или три рабочих и одни резервный для II категории).
Машинный зал имеет прямоугольную форму, насосные агрегаты размещены двухрядно в шахматном порядке. Каждый насос имеет свой обособленный всасывающий трубопровод. Напорные трубопроводы объединены в сборный коллектор, переходящий в два напорных водовода, подающих воду в магистральную водопроводную сеть города. Расходомеры типа сопла Веитури установлены иа напорных трубопроводах в колодцах, расположенных иа расстоянии 10 м от станции.

Рис. 15.3 Водопроводная насосная станция второго подъема.
/ машинный зал; 2 помещение обслуживающего персонала, 3 то же, выпрямителей, 4 то же, статических конденсаторов, 5 санузел, 6 мастерская, 7 помещение распределительных устройств, 8 щитовая, 9 камеры трансформаторов
В незаглубленной части насосной станции размещаются помещения силовых трансформаторов, распределительных устройств электрощитового хозяйства, бытовые и подсобные помещения.
15.4. Насосные станции систем водоотведения
•
Канализационная насосная станция совмещенного типа с горизонтальными насосами, представленная на рис. 15.4, прейнаа» начена для перекачивания бытовых и близких к ним по составу производственных сточных вод. Подача насосной станции колеблется в пределах 30...80 тыс. м3/сут, напор 30...40 м. Станция оборудована пятью насосами СД800/32, три из которых рабочие и два резервные. Насосы установлены «под залив», каждый из них имеет обособленный всасывающий трубопровод.
Применена однорядная схема компоновки насосных агрегатов, продольная ось которых перпендикулярна стене, разделяющей приемный резервуар и машинный зал. Такая схема компоновки максимально упрощает конструкцию и уменьшает длину всасывающих трубопроводов. Напорные трубопроводы объединены в сборный коллектор, который поднят выше уровня насосов и проложен по кронштейнам, прикрепленным к стене между приемным резервуаром и машинным залом. Присоединение напорных трубопроводов к коллектору выполнено сбоку коллектора по осям. Это предотвращает засорение стояков неработающих насосов взвешенными частицами, выпадающими в осадок из сточной жидкости, протекающей по коллектору.
В машинном зале кроме основных установлены два насоса К45/55 (один рабочий и один резервный) технического водоснабжения, обеспечивающие требуемый напор для уплотнения сальников основных насосов. Для откачки дренажных вод предусмотрен самовсасывающий вихревой насос ВКС-1/16.
Приемный резервуар станции оборудован тремя решетками-дробилками РД-600, одна из которых резервная. Глубина заложения подводящего коллектора составляет 5,5...7 м. Проектом предусматривается строительство насосной станции во влажных грунтах опускным способом.
Наземная часть здания прямоугольная в плане размером 1812 м, стены кирпичные. В ней предусмотрены помещения для трансформаторной подстанции, распределительных устройств, вентиляционных камер, мастерской, монтажной площадки и других комнат бытового и производственного назначения.
На рис. 15.5 представлен типовой проект крупной канализационной насосной станции, оборудованной пятью вертикальными насосами СДВ 2700/26,5 (три рабочих и два резервных). Станция предназначена для перекачивания бытовых и близких им по составу производственных сточных вод. Подача насосной станции 100... 160 тыс. м3/сут при напоре 19,5...32,7 м.
Насосная станция шахтного типа круглой в плане формы с внутренним диаметром железобетонного стакана 24 м; наземная часть прямоугольной формы в плане размером 1824 м, выполняется из сборных железобетонных панелей или, кирпича.


Вместимость приемного резервуара составляет 450 м3. Резервуар разделен на две части с устройством переточного отверстия, перекрываемого при ремонте или очистке одной секции щитовым затвором. Взмучивание осадка производится с помощью открытых выпусков труб у всасывающих воронок.
В трех каналах (14001200 мм) приемного резервуара установлены три решетки с механизированными граблями (две рабочие и одна резервная) и щитовые затворы. Отбросы, задержанные на решетках, измельчаются в дробилках, разбавляются технической водой и сбрасываются обратно в приемный резервуар.
Для откачивания дренажных вод применяют два автоматизированных насоса СДВ80/18 (один рабочий и один резервный).
Подачу технической воды на дробилки, охлаждение масляных ванн электродвигателей, для смазки лигнофолевых вкладышей подшипников основных насосов, а также уплотнения и охлаждения сальников и смазки подшипников решеток осуществляют два насоса К90/55 (один рабочий и один резервный).
В наземной части насосной станции расположены все необходимые бытовые и производственные помещения и оборудование.
На рис. 15.6 показана насосная станция со шнековыми подъемниками с подачей 50... 100 тыс. м3/сут.
На насосной станции установлены три шнековых насоса фирмы «Интерсигма» (Чехия) типоразмера YBA 15501030, подачей 630 л/с при высоте подъема 4 м и мощности 55 кВт.
В подземной части станции расположены приемный канал, водоподъемные желоба со шнеками, фундаменты нижних подшипников шнеков, щитовые затворы, погружные клапаны и первичные приборы КИП.
У слива жидкости из подводящего коллектора в приемный канал установлен полупогружной клапан, ограничивающий поступление воздуха из коллектора в помещение шнеков. По условиям безопасности обслуживания и предотвращения разбрызгивания жидкости верхняя часть водоподъемных желобов перекрыта съемными деревянными щитами.
В наземной части насосной станции размещены приводы (электродвигатели), редукторы, щиты управления, грузоподъемный механизм, смазочные прессы, оборудование для вентиляции помещений и санузел. Бытовые помещения на станции не запроектированы, так как постоянное присутствие обслуживающего персонала не предусматривается.





































Водоснабжение и водоотведение. Наружные сети и сооружения