Усовершенствование технологических процессов диагностирования и восстановления форсунок впрыскивания бензина
Министерство образования и науки Украины
ХАРКОВСКИЙ НАЦИОНАЛЬНЫЙ АВТОМОБИЛЬНО-ДОРОЖНЫЙ УНИВЕРСИТЕТ
(ХНАДУ)
АВТОМОБИЛЬНЫЙ ФАКУЛЬТЕТ
Кафедра технической эксплуатации и сервиса автомобилей
Дипломная работа
Усовершенствование технологических процессов диагностирования и восстановления форсунок впрыскивания бензина.
Заведующий кафедрой,
доктор технических наук, профессор В. Волков
Нормоконтроль
(метрологическая экспертиза)
кандидат технических наук, доцент Э. Рабинович
Руководитель
доктор технических наук, профессор А. Пойда
Студент группы А-52
2011
РЕФЕРАТ
Дипломная робота состоит из 100 страниц текста, 11 рисунков, 7 таблиц, 7 разделов, ...слайдов
Цель исследования повышение эффективности технологических процессов диагностирования и восстановления форсунок.
Объект исследования форсунки систем распределенного впрыскиванием бензина во впускной коллектор и процессы в них, зависящие от их технического состояния.
Предмет исследования параметры процессов в элементах форсунок, которые составляют информационную основу для их диагностирования и очистки.
В результате восстановления трех комплектов форсунок определили, что статическая и динамическая пропускная способность отличаются друг от друга. Проведенный эксперимент подтвердил, что динамическая продуктивность в большинстве случаев меньше статической. А также доступность предложенной установки для очистки форсунок.
ОЧИСТКА, ПРОМИВКА, ФОРСУНКИ, ДИАГНОСТИКА, СТЕНД, ПРОПУСКНАЯ СПОСОБНОСТЬ, УЛЬТРАЗВУК, ИМПУЛЬС, СИСТЕМА ТОПЛИВОПОДАЧИ, ВПРЫСК.
СОДЕРЖАНИЕ стр
ВВЕДЕНИЕ…………………………………………………………….9
1 СХЕМЫ РАСПРЕДЕЛЕННОГО ВПРЫСКА БЕНЗИНА АВТОМОБИЛЬНЫХ ДВИГАТЕЛЕЙ………………………………16
1.1 Схема системы распределенного впрыска бензина автомобильных двигателей (на примере ВАЗ-2111, -2112)……………………………………16
1.2 Анализ факторов, влияющих на стабильность работы автомобильного двигателя……………………………………………………..20
2 КОНСТРУКЦИИ И ХАРАКТЕРИСТИКИ ФОРСУНОК СИСТЕМЫ РАСПРЕДЕЛЕННОГО ВПРЫСКА БЕНЗИНА………24
2.1 Конструкции дозирующих элементов электромагнитных форсунок………………………………………………………………………….24
2.2 Структурные параметры электромагнитных форсунок……………26
2.3 Характеристики неисправностей форсунок системы впрыскивания бензина……………………………………………………………………………31
3 АНАЛИЗ МЕТОДОВ ПРОВЕРКИ ТЕХНИЧЕСКОГО СОСТОЯНИЯ ФОРСУНОК………………………………………….34
- Проверка работоспособности форсунок…………………………...34
3.2 Описание процесса диагностирования форсунок автомобилей ВАЗ……………………………………………………………………………….36
3.3 Диагностирование форсунок без демонтажа методом подключения
датчика пульсации…………………………………………………….................44
4. СУТЬ МЕТОДОВ И СПОСОБОВ УЛУЧШЕНИЯ
ТЕХНИЧКСКОГО СОСТОЯНИЯ И ВОССТАНОВЛЕНИЯ ФОРСУНОК ВПРЫСКИВАНИЯ БЕНЗИНА………………………49
4.1 Обзор технологий восстановления пропускной способности форсунок………………………………………………………………………..49
4.2 Технология без демонтажа элементов топливной системы………50
4.3 Технология с демонтажем элементов топливной системы………53
4.4 Ультразвуковая чистка с демонтажем форсунок…………………..55
4.4.1 Физическая сущность ультразвуковой очистки………….57
4.4.2 Влияние избыточного давления в промывочной
жидкости…………………………………………………………………..64
4.4.3 Влияние резонансной частоты преобразователя…………..66
4.4.4 Влияние химических свойств промывочной жидкости…67
4.4.5 Влияние температуры жидкости…………………………..68
4.5 Механизм разрушения загрязнений при помощи ультразвука……69
4.6 очистка с демонтажем путем «проливки» форсунок очищающей жидкостью, и обеспечение условий кавитации……………………………….71
- ЭКСПЕРИМЕНТАЛЬНАЯ ПРОВЕРКА ПРЕДЛОЖЕННЫХ
МЕТОДОВ……………………………………………………………74
- ИНСТРУКЦИЯ ПО ОХРАНЕ ТРУДА И ТЕХНИКЕ БЕЗОРАСНОСТИ СЛЕСАРЯ ПО РЕМОНТУ АВТОМОБИЛЕЙ………………………………………………85
6.1 Общее положение……………………………………………85
6.2. Требования к безопасности перед началом работы……..90
6.3 Требования безопасности во время выполнения работ…..92
6.4 Требования безопасности по окончанию работы …………96
6.5. Требования безопасности в аварийных ситуациях……….97
6.6 Требования техники безопасности при работе с прибором “Launch 602A”………………………………………………………97
7. ТЕХНИКО ЭКОНОМИЧЕСКАЯ ОЦЕНКА ПРОЕКТА……..100
7.1 Расчет окупаемости затрат по предложенному методу…………102
7.2 Расчет целесообразности своевременной очистки форсунок……103
ВЫВОДЫ ПО ПРОДЕЛАННОЙ РАБОТЕ………………………..104
ПЕРЕЧЕНЬ ССЫЛОК………………………………………………106
ПРИЛОЖЕНИЕ А ДЕМОНСТРАЦИОННЫЕ МАТЕРИАЛЫ
ВВЕДЕНИЕ
Электромагнитные форсунки являются исполнительными механизмами аппаратуры впрыскивания, дозирующими и распределяющими топливо по цилиндрам двигателя.
Форсунка представляет собой гидравлический клапан с приводом от быстродействующего электромагнита. Клапан работает в импульсном режиме и имеет два устойчивых состояния полностью закрытое и полностью открытое. Проходное сечение клапана в процессе дозирования можно считать постоянным, так как время перелета клапана из одного положения в другое значительно меньше времени открытого состояния. Поэтому при заданном перепаде давления топлива на клапане форсунки управление цикловой подачей может производиться путем изменения времени открытого состояния клапана. Продолжительность открытого состояния клапана находится в непосредственной связи с длительностью управляющего электрического импульса, подаваемого на обмотку электромагнита форсунки.
Применяемые в современных системах впрыска с электронным управлением электромагнитные форсунки выполнены по единой принципиальной схеме, но отличаются значительным разнообразием конструктивного оформления основных элементов.
Наиболее употребительны два типа форсунок. Электромагнитная система первого типа выполнена по соленоидной системе, в которой якорь втягивается магнитодвижущей силой во внутрь катушки. Для второго типа характерно применение системы с плоским якорем, который притягивается к поверхности магнитопровода. В первом случае уплотняющая поверхность клапана обычно коническая, а распыляющее отверстие представляет собой кольцевую щель, образованную цапфой клапана и его седлом. Во втором случае типично использование плоского клапана с распылителем пластиной с одним или несколькими калиброванными отверстиями.
Большинство электромагнитных форсунок имеют примерно одинаковую конструктивную схему. В общий корпус форсунки вмонтированы гидравлический клапан и электромагнит. В обесточенном состоянии электромагнита клапан прижат пружиной к седлу клапана. Концы обмотки электромагнита выведены наружу через изолированные от корпуса электрические контакты. Топливо подводится к корпусу по шлангу через фильтр, предохраняющий внутреннюю полость форсунки от загрязнения.
К первому типу относится электромагнитные форсунки аппаратуры впрыскивания бензина фирмы «Bosch». В них использована электромагнитная система броневого типа с втяжным якорем и плунжерный клапан с коническими запорными элементами, образующими кольцевую дозирующую щель. Такое решение обеспечивает хорошее распыливание топлива, но изготовление этого прецизионного узла довольно сложно в производстве.
Таблица 1.1 - Характеристики электромагнитных форсунок
|
1 |
2 |
3 |
4 |
5 |
6 |
|
№ |
Наименование параметра |
Фирма- производитель, тип форсунки, марка автомобиля |
|||
|
Bosch, 0 280 150 BMW 320 |
Bosch 0 280 150 ВАЗ 2112, Sens |
Denso, Lanos |
Siemes ВАЗ 2112 |
||
|
1 |
Наружный диаметр, мм |
24 |
24 |
25 |
15 |
Продолжение таблицы 1.1 Характеристики электромагнитных форсунок
|
1 |
2 |
3 |
4 |
5 |
6 |
|
2 |
Высота, мм |
77 |
77 |
75 |
73 |
|
3 |
Номинальное давление топлива, кПа |
300 |
300 |
300 |
300 |
|
4 |
Статическая производительность, |
4.0 |
|||
|
5 |
Диаметр якоря, мм |
6,7 |
- |
||
|
6 |
Ход якоря, мм |
0.15 |
- |
||
|
7 |
Наружный диаметр обмотки, мм |
18,67 |
19 |
19 |
- |
|
8 |
Внутренний диаметр обмотки, мм |
10 |
10 |
10 |
- |
|
9 |
Длина обмотки, мм |
11 |
11 |
11 |
- |
|
10 |
Число витков обмотки |
417 |
400 |
418 |
- |
|
11 |
Диаметр провода обмотки, мм |
0.27 |
0,31 |
0,27 |
- |
|
12 |
Материал провода |
латунь |
латунь |
латунь |
латунь |
|
13 |
Активное сопротивление обмотки, Ом |
16,3 |
12,2 |
16,3 |
12,4 |
|
14 |
Индуктивность обмотки в отпущенном состоянии якоря, мГн |
16,05 |
11,59 |
15,77 |
16,92 |
|
15 |
Индуктивность обмотки при втянутом положении якоря, мГн |
- |
- |
- |
На рисунке 1.1 приведены образцы форсунок, широко распространенных в автомобилестроении, а на рисунке 1.2 показан продольный разрез форсунки фирмы «Бош».

Рисунок 1.1 Конструкции форсунок ведущих фирм

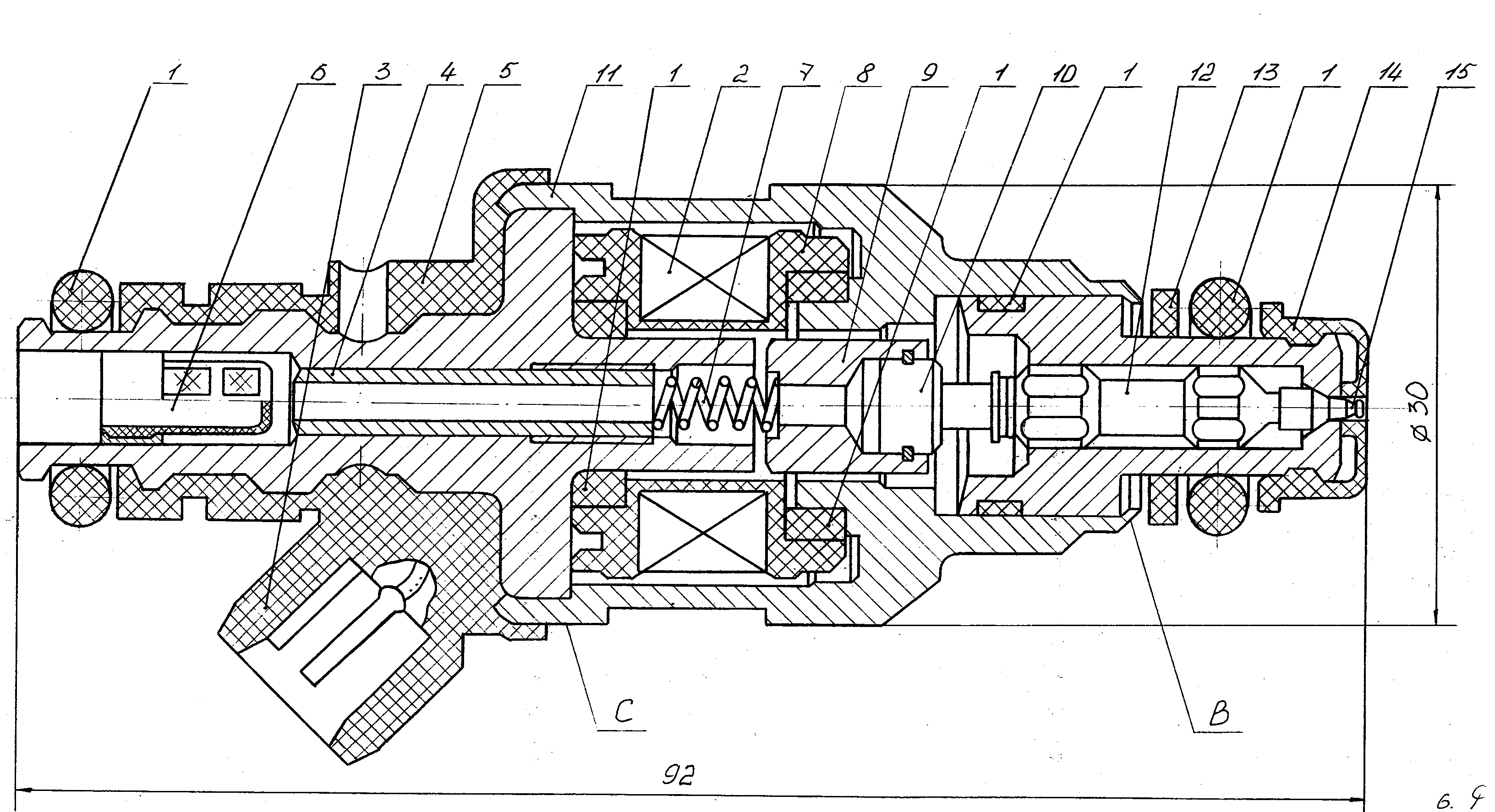
Рисунок 1.2 Конструкция форсунки фирмы «Бош»
1 уплотнительное кольцо, 2 обмотка электромагнита, 3 электрический разъём, 4 регулировочный винт, 5 пластмассовая часть корпуса, 6 защитный фильтр, 7 возвратная пружина, 8 каркас катушки, 9 якорь электромагнита, 10 соединитель, 11 корпус-магнитопровод, 12 игла распылителя, 13 пластмассовая упорная шайба, 14 пластмассовый колпачок, 15 штифт распылителя, 16 корпус распылителя.
В корпусе форсунки 11 смонтированы: распылитель 16 с запорной иглой 12; электромагнит, состоящий из корпуса-магнитопровода 11 и обмотки электромагнита 2, втягивающий якорь 9, соединенный с иглой 12 распылителя. Обратное движение якоря осуществляется усилием пружины 7. Топливо поступает в корпус форсунки через штуцер, в котором расположен фильтрующий элемент 6. При включении обмотки электромагнита 2 в цепь (выводы обмотки соединены с контактами штепсельного разъема 3) якорь 9 поднимает иглу, открывая топливу выход из распылителя. Ход иглы, равный 0.15 мм, ограничен упором бурта в шайбу из твердосплавного материала. Такая конструкция гарантирует сохранение зазора между якорем и сердечником электромагнита, что предотвращает износ деталей, выполненных из мягкого железа, а также улучшает временные характеристики форсунки.
Дозирующее отверстие распылителя представляет собой кольцевую щель шириной 0.085 мм, образованную зазором между распылителем 16 и штифтом 15 иглы 12. Объем пространства за клапаном незначителен и составляет около 0.6 0.8 мм3. Для подстройки форсунок на идентичность цикловых подач предусмотрен винт 4, изменяющий усилие возвратной пружины 7. Особенностью конструкции форсунки является ее неразборность. По данным фирмы, форсунки ремонту не подлежат.
Форсунки являются конечными узлами в системах впрыскивания бензина автомобильных двигателей, обеспечивающие его точное дозирование и мелкое распыление. В процессе эксплуатации ухудшаются гидравлические характеристики этих узлов в результате образования отложений в проточной части и распыляющих отверстиях. Отложения являются результатом воздействия высокой температуры на топливо. Наиболее интенсивно они накапливаются сразу после остановки двигателя. Температура корпуса форсунки возрастает за счет нагрева от горячего двигателя, а охлаждающее действие потока бензина отсутствует. В рабочей зоне форсунки происходит испарение легких фракций бензина. Постепенно накапливаются тяжелые фракции, образуя лаковые отложения, которые превращаются в нерастворимую в бензине пленку, уменьшающую сечение распыляющих отверстий форсунки. Этот необратимый процесс получил название карбонизации.
Входной фильтр и проточная часть форсунки загрязняются также мелкими механическими включениями, содержащимися в топливе.
Отрицательно влияют на эксплуатационные характеристики форсунок также примеси воды, появляющиеся в бензине в результате конденсации паров, содержащихся в воздухе, а также при транспортировке, хранении бензина и неблагоприятных погодных условиях. В этом случае внутренние полости системы подвергаются коррозии и детали дозирующего узла форсунки становятся неподвижными. Эта неисправность приводит к отказу форсунки. Очистка в этом случае положительных результатов не дает.
Мировое сообщество разработало и успешно применяет различные установки и моющие жидкости для очистки форсунок. В устройствах рекомендуется применять различные виды моющих жидкостей, состоящих из растворителей типа сольвент с добавками поверхностно активных веществ (ПАВ). Широко известны моющие жидкости “Injection system purge”, “Wynns”, “Liqui Moly”, “TUV”, сольвент с добавками пластинчатого порошка EF 65 P.
Однако, существует проблема повышения эффективности технологических процессов очистки форсунок без демонтажа их с двигателя и разработки надёжных методов контроля качества результатов очистки.
1 СХЕМЫ РАСПРЕДЕЛЕННОГО ВПРЫСКА БЕНЗИНА АВТОМОБИЛЬНЫХ ДВИГАТЕЛЕЙ
1.1 Схема системы распределенного впрыска бензина автомобильных двигателей (на примере ВАЗ-2111, -2112)

Рисунок 1.3 Схема подачи топлива двигателя с системой впрыска
топлива
1 форсунки, 2 пробка штуцера для контроля давления топлива, 3 рампа форсунок, 4 кронштейн крепления топливных трубок, 5 регулятор давления топлива, 6 адсорбер с электромагнитным клапаном, 7 шланг для отсоса паров бензина из адсорбера, 8 дроссельный узел, 9 двухходовой клапан, 10 гравитационный клапан, 11 предохранительный клапан, 12 сепаратор, 13 шланг сепаратора, 14 пробка топливного бака, 15 наливная труба, 16 шланг наливной трубы, 17 топливный фильтр, 18 топливный бак, 19 электробензонасос, 20 сливной топливопровод,21 подающий топливопровод.
Топливо подается из бака, установленного под днищем в районе задних сидений. Топливный бак стальной, состоит из двух сваренных между собой штампованных половин. Заливная горловина соединена с баком резиновым бензостойким шлангом, закрепленным хомутами. Пробка герметична. Бензонасос электрический, погружной, роторный, двухступенчатый, установлен в топливном баке. Развиваемое давление - не менее 3 бар (3 атм).
Бензонасос включается по команде контроллера системы впрыска (при включенном зажигании) через реле. Для доступа к насосу под задним сиденьем в днище автомобиля имеется лючок. От насоса по гибкому шлангу топливо под давлением подается к фильтру тонкой очистки и далее через стальные топливопроводы и резиновые шланги к топливной рампе.
Фильтр тонкой очистки топлива неразборный, в стальном корпусе, с бумажным фильтрующим элементом. На корпусе фильтра нанесена стрелка, которая должна совпадать с направлением движения топлива.
Топливная рампа служит для подачи топлива к форсункам и закреплена на впускном коллекторе. С одной стороны на ней находится штуцер для контроля давления топлива, с другой регулятор давления. Последний изменяет давление в топливной рампе от 2,8 до 3,2 бар (2,8-3,2 атм) в зависимости от разрежения в ресивере, поддерживая постоянный перепад между ними. Это необходимо для точного дозирования топлива форсунками.
Регулятор давления топлива представляет собой топливный клапан, соединенный с подпружиненной диафрагмой. Под действием пружины клапан закрыт. Диафрагма делит полость регулятора на две изолированные камеры "топливную" и "воздушную". "Воздушная" соединена вакуумным шлангом с ресивером, а "топливная" непосредственно с полостью рампы. При работе двигателя разрежение, преодолевая сопротивление пружины, стремится втянуть диафрагму, открывая клапан. С другой стороны на диафрагму давит топливо, также сжимая пружину. В результате клапан открывается, и часть топлива стравливается через сливной трубопровод обратно в бак. При нажатии на педаль "газа" разрежение за дроссельной заслонкой уменьшается, диафрагма под действием пружины прикрывает клапан давление топлива возрастает. Если же дроссельная заслонка закрыта, разрежение за ней максимально, диафрагма сильнее оттягивает клапан давление топлива снижается. Перепад давлений задается жесткостью пружины и размерами отверстия клапана, регулировке не подлежит. Регулятор давления неразборный, при выходе из строя его заменяют.
Форсунки крепятся к рампе через уплотнительные резиновые кольца. Форсунка представляет собой электромагнитный клапан, пропускающий топливо при подаче на него напряжения, и запирающийся под действием возвратной пружины при обесточивании. На выходе форсунки имеется распылитель, через который топливо впрыскивается во впускной коллектор. Управляет форсунками контроллер системы впрыска. При обрыве или замыкании в обмотке форсунки ее следует заменить. При засорении форсунок их можно промыть без демонтажа на специальном стенде СТО.
В системе впрыска с обратной связью применяется система улавливания паров топлива. Она состоит из адсорбера, установленного в моторном отсеке, сепаратора, клапанов и соединительных шлангов. Пары топлива из бака частично конденсируются в сепараторе, конденсат сливается обратно в бак. Оставшиеся пары проходят через гравитационный и двухходовой клапаны. Гравитационный клапан предотвращает вытекание топлива из бака при опрокидывании автомобиля, а двухходовой препятствует чрезмерному повышению или понижению давления в топливном баке.
Затем пары топлива попадают в адсорбер, где поглощаются активированным углем. Второй штуцер адсорбера соединен шлангом с дроссельным узлом, а третий с атмосферой. Однако на выключенном двигателе третий штуцер перекрыт электромагнитным клапаном, так что в этом случае адсорбер не сообщается с атмосферой. При запуске двигателя контроллер системы впрыска начинает подавать управляющие импульсы на клапан с частотой 16 Гц. Клапан сообщает полость адсорбера с атмосферой и происходит продувка сорбента: пары бензина отсасываются через шланг в ресивер. Чем больше расход воздуха двигателем, тем больше длительность управляющих импульсов и тем интенсивнее продувка.
В системе впрыска без обратной связи система улавливания паров топлива состоит из сепаратора с двухходовым обратным клапаном. Воздушный фильтр установлен в передней левой части моторного отсека на трех резиновых держателях (опорах). Фильтрующий элемент бумажный, при установке его гофры должны располагаться параллельно оси автомобиля. После фильтра воздух проходит через датчик массового расхода воздуха и попадает во впускной шланг, ведущий к дроссельному узлу. Дроссельный узел закреплен на ресивере. Нажимая на педаль "газа", водитель приоткрывает дроссельную заслонку, изменяя количество поступающего в двигатель воздуха, а значит, и горючей смеси ведь подача топлива рассчитывается контроллером в зависимости от расхода воздуха. Когда двигатель работает на холостом ходу и дроссельная заслонка закрыта, воздух поступает через регулятор холостого хода клапан, управляемый контроллером. Последний, изменяя количество подаваемого воздуха, поддерживает заданные (в программе компьютера) обороты холостого хода. Регулятор холостого хода неразборный, при выходе из строя его заменяют.
1.2 Анализ факторов, влияющих на стабильность работы автомобильного двигателя
Электромагнитные форсунки являются исполнительными элементами системы впрыскивания бензина, которые распределяют и дозируют топливо по цилиндрам двигателя. Форсунка представляет собой гидравлический клапан с приводом от высокоскоростного электромагнита. Клапан работает в импульсном режиме и имеет два положения полностью открытое и полностью закрытое. Время движения клапана в процессе дозировке можно считать постоянным, так как время движения клапана из одного положения в другое гораздо меньше, чем время открытого состояния. Поэтому при заданном перепаде давления на клапане форсунки, управление цикловой подачей может регулироваться путем изменения времени открытого состояния клапана. Длительность открытого состояния клапана напрямую зависит от длительности управляющего импульса, подающегося на концы обмотки электромагнита форсунки.
В процессе эксплуатации на седлах форсунок и на концах запорных элементов появляются твердые смолистые отложения. Они причина ухудшения эксплуатационных характеристик форсунок. Процесс образования отложений очень прост. После остановки горячего двигателя из пленки топлива, оставшегося на штифтах и внутренних поверхностях распылителя, испаряется легкая фракция. Тяжелая же остается на деталях, так как смывать их уже нечем новая порция топлива топлива не поступает и запорные клапана форсунки закрыты. К тому же отсутствует дополнительное охлаждение топливом. Корпус форсунки дополнительно нагревается от впускного коллектора двигателя. С тяжелых фракций, которые остались, и образуются отложения. Накапливаясь, они мешают запорному конусу плотно сесть в седло, в следствии чего нарушается герметичность форсунки. Остаточное давление бензина в рейке после остановки двигателя остается. Оно постепенно проталкивает топливо через негерметичные клапана и процесс закоксовывания идёт ещё интенсивнее. Потеря герметичности ведет к усложнению пуска двигателя, из-за потери давления в рейке и возможности образования паровых пробок. Кроме того ухудшается впрыск топлива. Вместо того чтобы резко оборвать факел и отправить всю порцию во впускной канал, впрыскивание происходит плавно. Последние капли топлива не влетают во впускной тракт, а беспомощно остаются на конце распылителя.
Проходное сечение клапана кольцевидная щель, образуемая корпусом распылителя и запорным клапаном. С появлением отложений походное сечение уменьшается. Соответственно уменьшается и количество топлива, дозируемое форсункой за каждый рабочий такт. Если система управления без обратной связи, это приведет к обеднению рабочей смеси. Последствия этого проявляются в потере мощности, появлении детонации и т.д. Если на автомобиле установлена система с обратной связью по сигналу лямбда зонда, при небольшом отклонении компенсировать это изменение путем увеличения времени открытого состояния клапана, однако у такого увеличения есть граница, называемая границей адаптации.
Даже если средняя продуктивность комплекта форсунок снизится незначительно, но разница между отдельными форсунками будет значительной, то это приведет к нестабильной работе системы. В современных системах нет достаточно быстрой обратной связи, которая позволяет регулировать время впрыскивания для каждой форсунки отдельно. К тому же много систем применяют по - парный или одновременный впрыск, при котором несколько форсунок управляются ЕСU одним выходным ключом. Нарушается и форма факела выходит, порция топлива поступит не в просвет впускного канала, а, например, на стенки впускного коллектора. В таком случае топливо попадет в цилиндр не в виде однородной смеси, а в виде топливной пленки. Также отложения ухудшают качество распыла, с форсунок полетят более крупные капли, которые не успевают испарится, перемешаться с воздухом и сгореть в цилиндрах.
Подведем итог загрязнение форсунок приводит к :
нарушению герметичности;
понижению продуктивности;
ухудшению качества распыла;
значительной разбежности в производительности каждой форсунки.
Всё это приводит к нестабильной работе двигателя.
В основном это происходит из-за таких факторов как, плохое качество топлива, несвоевременное техническое обслуживание. Загрязнение топливной системы является основной проблемой в роботе двигателя.
Основными показателями есть:
повышенный расход топлива;
тяжелый пуск двигателя;
плохая приёмистость, наличие провалов и рывков при увеличении нагрузки на двигатель, недостаточная мощность развиваемая двигателем;
завышенные показатели токсичности отработавших газов (СО, СН);
неустойчивая работа двигателя на малых оборотах, в том числе и на холостом ходу;
быстрый выход из строя датчика кислорода (лямбда зонд) и каталитического нейтрализатора.
Эти все проблемы могут быть вызваны не только загрязнением топливной системы, но и десятком других неисправностей системы зажигания и др. Поэтому перед тем как перейти к дорогостоящему процессу очистки, необходимо произвести объем работ по диагностированию, чтобы убедиться что очистка - это то, что необходимо.
Механизм появления этой проблемы очень прост загрязнения внутри форсунки приводят не только к тому, что в камеру сгорания не попадает нужное количество топлива, которое должно было попасть (нарушается состав топливовоздушной смеси), но и к тому, что топливо недостаточно хорошо распыляется и испаряется, что приводит к нарушению равномерности топливовоздушной смеси. В сумме эти факторы приводят к увеличенному расходу топлива, потере мощности двигателя и другим негативным факторам.
2 КОНСТРУКЦИИ И ХАРАКТЕРИСТИКИ ФОРСУНОК СИСТЕМЫ РАСПРЕДЕЛЕННОГО ВПРЫСКА БЕНЗИНА
2.1 Конструкции дозирующих элементов электромагнитных форсунок
Дозировка топлива электромагнитной форсункой основывается на изменении продолжительности открытого состояния управляемого электромагнитного клапана. Поданное форсункой топливо определяется интервалом времени вытекания топлива через открытый клапан и перепадом давления на клапане, которое зависит от давления топлива в системе и давлении во впускном коллекторе двигателя. В большинстве современных систем впрыска с электронным управлением топливоподачи ведется по давлению во впускном коллекторе, поэтому его изменения высчитываются автоматически. Необходимое давление в топливной системе поддерживается редукционным клапаном, который перепускает избыток топлива назад в бак. Чтобы не усложнять регулировку подачи бензина и обеспечить точность дозировки, принимают постоянным давление топлива в системе, или перепад давления на клапанах форсунок. Во втором случае редукционный клапан соединяют не с атмосферой а с разряжением во впускном коллекторе двигателя за дроссельной заслонкой.
Применяемые в современных системах впрыска с электронным управлением электромагнитные форсунки выполнены по единой принципиальной схеме, но отличаются большим разнообразием конструктивных элементов.
Наиболее распространены два вида форсунок.
Первая вид выполнен по солиноидной системе, поверхность клапана коническая, а распылительное отверстие является конечную щель, созданную цапфой клапана и его седлом.
Второй вид типичное исполнение плоского клапана с распылителем- пластиной с одним или несколькими калиброванными отверстиями.
Таблица 2.1 - Основные параметры форсунок
|
1 |
2 |
3 |
4 |
5 |
|
Производитель |
Каталожный номер |
Производительность |
Сопротивление Ом |
Рабочее давление |
|
Bosch |
0 280 150 237 |
149 |
2.5 |
3.0 |
|
Bosch |
0 280 150 238 |
192 |
2.5 |
3.0 |
|
Bosch |
0 280 150 239 |
223 |
2.3 |
3.5 |
|
Bosch |
0 280 150 255 |
235 |
2.5 |
3.0 |
|
Bosch |
0 280 150 334 |
184 |
2.4 |
3.0 |
|
Bosch |
0 280 150 335 |
300 |
2.5 |
3.5 |
|
Bosch |
0 280 150 351 |
735 |
2.7 |
2.8 |
|
Bosch |
0 280 150 352 |
238 |
2.4 |
3.0 |
|
Bosch |
0 280 150 353 |
142 |
2.3 |
3.2 |
|
Bosch |
0 280 150 354 |
142 |
2.3 |
2.8 |
|
Bosch |
0 280 150 355 |
300 |
2.4 |
3.5 |
|
Bosch |
0 280 150 357 |
300 |
2.4 |
3.0 |
|
Bosch |
0 280 150 360 |
240 |
2.6 |
3.2 |
|
Bosch |
0 280 150 361 |
260 |
2.4 |
3.0 |
|
Bosch |
0 280 150 362 |
238 |
2.4 |
2.8 |
|
Bosch |
0 280 150 363 |
614 |
2.7 |
3.0 |
|
Bosch |
0 280 150 364 |
251 |
2.4 |
3.2 |
|
Bosch |
0 280 150 365 |
251 |
2.4 |
3.2 |
|
Bosch |
0 280 150 400 |
437 |
2.4 |
3.0 |
|
Bosch |
0 280 150 401 |
437 |
2.3 |
3.5 |
|
Bosch |
0 280 150 402 |
338 |
2.4 |
3.5 |
|
Bosch |
0 280 150 403 |
503 |
2.3 |
3.5 |
|
Bosch |
0 280 150 413 |
196 |
2.5 |
2.8 |
|
Bosch |
0 280 150 414 |
154 |
2.5 |
3.0 |
|
Bosch |
0 280 150 415 |
154 |
2.5 |
2.8 |
|
Bosch |
0 280 150 416 |
150 |
2.5 |
3.0 |
|
Bosch |
0 280 150 417 |
150 |
2.5 |
3.0 |
|
Bosch |
0 280 150 418 |
263 |
2.5 |
3.0 |
|
Bosch |
0 280 150 419 |
199 |
2.4 |
3.0 |
|
Bosch |
0 280 150 420 |
304 |
2.4 |
3.0 |
|
Bosch |
0 280 150 421 |
192 |
2.5 |
3.2 |
|
Bosch |
0 280 150 422 |
260 |
2.5 |
3.9 |
|
Bosch |
0 280 150 423 |
196 |
2.5 |
3.0 |
|
Bosch |
0 280 150 424 |
173 |
2.5 |
2.8 |
|
Bosch |
0 280 150 425 |
173 |
2.5 |
3.0 |
|
Bosch |
0 280 150 427 |
241 |
2.5 |
3.2 |
|
Bosch |
0 280 150 428 |
196 |
2.5 |
3.0 |
Продолжение таблицы 2.1
|
1 |
2 |
3 |
4 |
5 |
|
Bosch |
0 280 150 440 |
208 |
2.4 |
3.2 |
|
Bosch |
0 280 150 441 |
203 |
2.5 |
3.2 |
|
Bosch |
0 280 150 442 |
203 |
2.5 |
3.2 |
|
Bosch |
0 280 150 443 |
192 |
2.4 |
3.0 |
|
Bosch |
0 280 150 444 |
150 |
2.3 |
3.0 |
|
Bosch |
0 280 150 445 |
150 |
2.3 |
3.0 |
|
Bosch |
0 280 150 446 |
176 |
2.4 |
3.0 |
|
Bosch |
0 280 150 447 |
241 |
2.3 |
3.0 |
|
Bosch |
0 280 150 448 |
241 |
2.3 |
3.0 |
|
Bosch |
0 280 150 449 |
241 |
2.5 |
2.8 |
|
Bosch |
0 280 150 450 |
335 |
2.5 |
3.0 |
|
Bosch |
0 280 150 452 |
240 |
2.4 |
2.8 |
|
Bosch |
0 280 150 453 |
273 |
2.4 |
3.0 |
|
Bosch |
0 280 150 454 |
191 |
2.5 |
3.0 |
|
Bosch |
0 280 150 455 |
221 |
2.3 |
3.0 |
|
Bosch |
0 280 150 456 |
191 |
2.5 |
3.0 |
|
Bosch |
0 280 150 457 |
150 |
2.3 |
3.0 |
|
Bosch |
0 280 150 458 |
150 |
2.3 |
3.2 |
|
Bosch |
0 280 150 459 |
195 |
2.3 |
3.2 |
|
Bosch |
0 280 150 460 |
164 |
2.3 |
3.2 |
2.2 Структурные параметры электромагнитных форсунок
Продольный разрез форсунки показан на рис. 2.1. В корпусе форсунки 6 вмонтирован распылитель 14 с запорной иглой 17 и электромагнит, который втягивает якорь 11, который соединен с иголкой. Обратный ход якоря совершается пружиной 9. Топливо попадает в корпус форсунки через штуцер 2, в котором расположен фильтрующий элемент. При включении обмотки электромагнита 8 в цепь (концы обмотки соединены с разъемом) якорь 11 поднимает иглу, открывая путь топливу к распылителю. Ход иглы равный 0.15 мм, ограничен упором бурта в шайбу 13.такая конструкция гарантирует сохранение зазора между якорем 11 и сердечником электромагнита, что предотвращает износу деталей, изготовленных из мягких металлов, а также улучшает временные характеристики форсунок. Для увеличения быстродействия сердечник имеет продольные прорези, которые уменьшают вихревые токи. Дозирующее отверстие распылителя представляет собой кольцевидную щель, шириной 0.085мм, созданную зазором между распылителем 14 и штифтом иглы 17. Объем заклапанного пространства небольшой и составляет примерно 0.6-0.8мм3. Для настройки форсунок на идентичность цикловых подач предусмотрен регулировочный винт 14, который изменяет усилие поворотной пружины 9. Особенностью форсунок есть их неразборность. По данным фирм изготовителей форсунки ремонту не подлежат. В них используется система бронированного типа с втяжным якорем и плунжерный клапан с коническими запорными элементами. Такое решение обеспечивает хорошее распыление топлива, но изготовление этого узла очень сложно в производстве.
Большинство форсунок имеют такую упрощенную схему. В корпусе форсунки размещен клапан и электромагнит. В обесточенном состоянии клапан прижат пружиной к седлу клапана. Концы обмотки электромагнита выведены наружу через изолированные от корпуса электрические контакты. Топливо поступает в корпус по рейке через фильтр, который защищает внутреннюю полость форсунки от загрязнений.
В идеальном, с точки зрения регулировки, случае время открытого состояния клапана должен быть равным продолжительности электрического импульса, подающемуся на концы обмотки. Однако в реальной форсунке клапан открывается и закрывается не одновременно с подачей импульса. Это обусловлено тем, что магнитный поток достигает своего максимума не мгновенно, а через промежуток времени, примерно равный (4-5)L/r, где L индуктивность обмотки, r активное сопротивление обмотки. С возрастанием магнитного потока увеличивается сила, с которой якорь клапана притягивается к сердечнику магнитопровода. С течением некоторого времени, усилие достигает величины, достаточной для трогания якоря с места и клапан открывается. Таким образом время срабатывания состоит из времени трогания и времени движения якоря. После окончания действия управляемого импульса магнитный поток не исчезает мгновенно. Таким образом, усилие, с которым якорь притягивается к сердечнику уменьшается постепенно. Через промежуток времени, который называют временем «залипания», усилие падает до значения отпускания и клапан закрывается. Время «залипания» и время обратного хода якоря в сумме составляют время опускания клапана. Как время срабатывания, так и время опускания не зависят от времени управляющего импульса, значит для данной конструкции неуправляемыми есть временные параметры характеристики время движения клапана.
Рисунок 2.1 - Продольный разрез электромагнитной форсунки
При сравнении значений продолжительности управляемых импульсов и неуправляемых временных параметров, неуправляемые параметры необходимо отнести к нежелательным явлениям, которые негативно сказываются на точности дозировки. Так, например, минимальное управляемое время открытого состояния клапана определяется временем его отпускания. Также этим временем определяется минимальная цикловая подача, при которой возможно управление дозировкой. Соответственно, чем меньше время срабатывания и время опускания, тем выше быстродействие срабатывания электромагнитной системы, тем меньше вноситься погрешностей при дозировке топлива и тем шире диапазон используемых продолжительности управляемых импульсов.
На величину неуправляемых временных параметров влияют конструкция и материалы магнитопроводов, масса подвижных деталей форсунки, наличие трения между этими деталями, амплитуда импульса тока, что управляет работой форсунки, противодействующее усилие, а также отношение между индуктивным и активными сопротивлениями цепи форсунки. Одной из основных причин повышения значений неуправляемых временных параметров электромагнита, являются вихревые токи в материале магнитопровода, которые мешают наростанию магнитного потока при включении и поддерживают магнитный поток при выключении тока. Неуправляемые временные параметры также зависят и от ряда побочных факторов, таких как точность обработки деталей, качество обработки их поверхностей, состояния магитопровода после механической обработки и тд.
2.3 Характеристики неисправностей форсунок системы впрыскивания бензина
На современном этапе развития автомобильной промышленности техническое обслуживание и ремонт систем впрыскивания бензина с микропроцессорным управлением организованно своеобразно. Большинство узлов являются неразборными и ремонту не подлежат. При выявлении дефекта, его устраняют путем замены узла.
Элементами системы, что допускают техническое обслуживание, есть форсунки. Для этих узлов характерно нарушение стабильности работы в результате загрязнения проточной части и карбонизация распылительных отверстий. Поэтому, одним из методов восстановления работоспособности форсунок является очистка.
В технической литературе относительно форсунок применяют такие термины: пропускная способность, продуктивность, но наиболее точно к работе форсунки можно применить термин «пропускная способность», поэтому в дальнейшем будем использовать его.
Входной фильтр и проточная часть загрязняются в основном мелкими механическими частицами, которые содержатся в топливе.
Вопрос лако- и нагарообразования уже достаточно хорошо изучено. Это результат воздействия на топливо высокой температуры. Наиболее интенсивно отложения накапливаются сразу после остановки двигателя. За счет нагревания корпуса форсунки от горячего двигателя, а охлаждающее действие бензина отсутствует. В рабочей зоне форсунки происходит испарение легких фракций бензина и осаждение тяжелых в виде лаковых отложений, которые уменьшают сечение распылительного отверстия форсунки. Этот процесс является необратимым и получил название карбонизации.
Вода, которая попадает в форсунку приводит к коррозии внутренних элементов, в результате этого образуется ржавчина, которая обсыпаясь загрязняет входной фильтр и проточную часть. В некоторых случаях ржавчина, которая попала к деталям распылителя, приводит к зависанию иглы.
Негативно на параметры топливоподачи влияют примеси воды, которые появляются в бензине в результате конденсации пара, который содержится в воздухе, а также при транспортировке, хранении бензина и неблагоприятной сырой погоде. Неисправности в таком случае могут быть такими, что узлы элементов «прикипают» друг к другу и это приводит к неподвижности этих элементов. Это приводит сразу к отказу узла и очистка в этом случае никаких результатов не даст.
В форсунках основной неисправностью является загрязнение, которое может быть устранено, поэтому в настоящее время существует множество фирм производящих установки и жидкости для очистки форсунок.
Все эти процессы можно классифицировать по следующим признакам:
способ очистки (химический или химико-механический);
тип установки (стационарная или переносная);
с демонтажем или без демонтажа форсунок;
с проверкой или без проверки качества форсунок;
время процесса;
тип жидкости;
стоимость оборудования;
стоимость услуги очистки.
3 АНАЛИЗ МЕТОДОВ ПРОВЕРКИ ТЕХНИЧЕСКОГО СОСТОЯНИЯ ФОРСУНОК
3.1 Проверка работоспособности форсунок
Перед тем как проводить очистку форсунок необходимо проверить их работоспособность. Это можно проверить пальцем на ощупь, или подать на форсунку питание от внешнего источника, или через электронный блок управления с помощь сканера.
При диагностировании форсунок можно воспользоваться методом проливки, который рекомендуется многими заводами - изготовителями. Для этого измеряются два параметра: давление топлива в рейке Рт и время п, за которое осуществляется проливка. Суть метода заключается в следующем.
При отключенных форсунках, с помощью насоса доводят давление топлива до максимального значения Рт. На время п включается одна из форсунок и через распылительное отверстие топливо впрыскивается во впускной коллектор, в котором давление топлива равно атмосферному - Р0.
Количество бензина dQm в объемных долях за время d выйдет из рейки во впускной коллектор.
. (3.1)
Так как бензин имеет коэффициент сжатия сж, то весь объем топлива Vт, который находился в рейке, форсунках и стабилизаторе давления предварительно был сжат до Рт, в процессе вытекания расширяется и давление бензина падает на величину dp. Пользуясь уравнением баланса можно записать.
, (3.2)
где dQрас величина расширения бензина в рейке.
, (3.3)
из этого следует
. (3.4)
Переходя из бесконечно малых величин dp и dt, к конечным т и р , а также с учетом 3.2 и 3.3, можно записать
, (3.5)
где Qт количество топлива впрыскнутого одной форсункой за фиксированное время т;
Рт изменение давления в рамке при проливке.
постоянная величина.
Таким образом, метод проливки базируется на физических основах и изменение давления Рт является диагностическим параметром, чем меньше впрыскнутого топлива, тем меньше µф.
µф пропускная способность форсунки.
На этом принципе построена методика диагностирования форсунок автомобилей ВАЗ.
Оборудование, используемое на нашем сервисном центре для тестирования форсунок:
- Сканер VAG - 502A.
- Манометр для измерения давления топлива.
- Тестеры для контроля форсунок ТДФ-1, ТДФРХ-1( используется для проверки форсунок автомобилей ВАЗ).
При проверке для всех форсунок должны быть созданы одинаковые условия (использование одного сканера, одного манометра для измерения давления топлива, питание от одной аккумуляторной батареи, тестирование при одинаковой температуре топлива и т.д.).
Тестер форсунок может быть использован для включения форсунки определенное число раз, на протяжении определенного времени, то есть для впрыскивания известной порции топлива во впускной коллектор.
Результаты падения давления топлива регистрируются и могут быть использованы для сравнения форсунок.
Все форсунки должны показывать одинаковое падение давления (допустимое отклонение ±20% от среднего значения).
- Описание процесса диагностирования форсунок автомобилей ВАЗ
1. Для исключения неверных показаний, вызванных кипением топлива при высокой температуре, необходимо дать двигателю остыть на протяжении 10 минут. При выключенном зажигании присоединить манометр к штуцеру для контроля давления топлива.
2. Присоединить тестер для контроля форсунок ТДФ-1, ТДФРХ-1, согласно инструкции по эксплуатации, выбрать форсунку №1. Включить зажигание на 10 секунд. Поместить прозрачную трубку, присоединенную к клапану для спуска воздуха в емкость. Открыть клапан и подавать питание на бензонасос до тех пор, пока в прозрачной трубке не будет пузырьков воздуха. Закрыть клапан для спуска воздуха.
3. Подаем питание 12 В на электробензонасос до установления максимального давления в рампе. Зарегистрировать установившееся давление в рампе после остановки бензонасоса.
Если давление в рампе после остановки насоса не сохраняется на одном уровне необходимо остановить следующие действия.
Включить тестер один раз и зарегистрировать нижнюю точку падения давления (незначительное увеличение давления после падения до нижней точки игнорировать). Отнять полученное значение давления топлива от первоначально зафиксированного для расчета фактического падения давления топлива в результате срабатывания форсунки, которая проверяется.
4. Повторить пункт 3 для всех оставшихся форсунок. При этом начальное давление топлива в рампе должно быть одинаковым для всех форсунок.
Сравнить значения падения давления топлива. Исправные форсунки имеют примерно одинаковые значения падения давления. Форсунки с отклонением падения более или менее 20% от среднего значения проверить повторно и при подтверждении результатов заменить весь комплект форсунок.
Если прибор не показывает падение давления для какой либо форсунки, необходимо проверить провод от переключателя на форсунку или на обрыв замыкания.
Если падение давления на всех форсунках не превышает ±20% от среднего значения, форсунки работают нормально. Перед повторной проверкой необходимо дать двигателю поработать, чтобы он не был залитым, это также касается и повторных проверок отдельных форсунок.
Порядок проверки.
1. Если двигатель имеет рабочую температуру, дать ему остыть в течении 10 минут. Зажигание должно быть выключено. Подсоединить манометр для контроля давления топлива и тестер форсунок. Включить бензонасос и выпустить полностью воздух из манометра.
2. Включить зажигание. Включить бензонасос для получения максимального давления в рампе. После остановки бензонасоса зафиксировать давление топлива. Давление должно оставаться на одном уровне. Включить форсунку и зафиксировать давление в момент остановки стрелки манометра на минимальном уровне.
3. Повторить второй пункт для каждой из форсунок и зафиксировать падение давление на всех форсунках. При отклонении давления более чем на 20% в какую либо сторону, повторить измерения.
При проверке форсунок необходимо помнить, что проверка баланса форсунок это сравнение форсунок друг с другом, поэтому абсолютные значения величин падения давления топлива не имеют значения.
На величину падения давления топлива влияют следующие факторы:
начальное давление;
напряжение АКБ;
объем топливной магистрали и рампы;
материал резиновых трубок;
точность манометра;
температура топлива.
Поэтому для разных автомобилей величина падения давления топлива будет разной. Электромагнитные форсунки устанавливаются на двигателе обычно в количестве, равному числу цилиндров, и каждый цилиндр получает топливо от своей форсунки. Поскольку подача топлива осуществляется во впускной коллектор, возможны несколько вариантов включения форсунок. Команду от электронного блока управления форсунки могут получать, либо все одновременно, либо разделены на равные группы, которые включаются по очереди, либо каждая форсунка отдельно получает сигнал в такт работы цилиндров. Во втором и третьем случае управляемые импульсы могут подаваться один за другим с перекрытием и без перекрытия по времени, кроме этого возможна одно или многоразовая подача топлива за цикл работы двигателя.
Границы продолжительности открытого состояния клапана форсунки, при котором возможно управлять дозировкой топлива, зависят от варианта включения и кратности работы форсунок.
Если управляемые импульсы подаются без перекрытия во времени, то максимально возможное время открытого состояния клапана на мощносных режимах работы двигателя ограничивается периодом прохождения подач при максимальной частоте вращения коленчатого вала. В этом случае период цикловых подач может быть определен по формуле:
, (3.1)
где Т период прохождения циклових подач, мс;
- коэффициент тактности двигателя (для четырехтактного двигателя =2);
n частота вращения коленчатого вала двигателя, мин-1;
i число групп форсунок;
j кратность впрыскивания.
При групповом впрыскивании, когда импульсы подаются с перекрытием во времени, тогда число Т не зависит от числа групп форсунок.
(3.2)
в этом случае j=1.
Эти формулы показывают, что период прохождения цикловых подач зависит от варианта порядка работы форсунок и будет минимальным при использовании фазного впрыска без перекрытия на многоцилиндровом двигателе. Так например для восьмицилиндрового двигателя на мощностных режимах работы с частотой вращения коленчатого вала 5000 мин-1, максимально возможное время открытого состояния клапана форсунки ограничивается 3 мс.
Цикловая подача топлива на режимах холостого хода и глубоких дросселей приблизительно в 4-5 раз меньше максимальной, и принимая линейную зависимость между величиной цикловой подачи и продолжительности открытого состояния клапана форсунки , получим, что в этом случае минимальное время открытого состояния клапана должен быть примерно равен 0,6 мс. Такие короткие временные интервалы требуют большого быстродействия клапана, что является труднодостигаемо. Существующие конструкции форсунок могут обеспечить минимальный интервал открытого состояния клапана не меньше 2 мс. Это и является основной причиной того, что фазное впрыскивание в настоящее время практически не применяется.
Для определения границ продолжительности электрических импульсов необходимо брать во внимание следующее. Чтоб форсунки не утратили управляемости при максимальных цикловых подачах и максимальных оборотах двигателя, между управляющими импульсами одной и той же форсунки должна быть пауза не меньше времени опускания клапана. Реально продолжительность паузы не может быть меньше 2 мс. Из этого следует, что максимальная продолжительность управляемых импульсов определяется из уравнения:
. (3.3)
Чтоб форсунки не утратили управляемость при минимальных цикловых подачах, минимальная продолжительность управляемых импульсов min должна ранятся или больше времени срабатывания клапана
. (3.4)
Для восьмицилиндрового двигателя с верхней границей частоты оборотов 5000 мин-1, если есть две группы с 4 форсунок , которые срабатывают одновременно, или если все восемь срабатывают одновременно два раза за цикл работы двигателя (кратность j = 2), границы продолжительности управляющих импульсов составляют от 2 до 10 мс. Соответственно для системы, в которой форсунки работают с перекрытием по времени или в которой все восемь форсунок срабатывают одновременно один раз за цикл работы двигателя (i = 1и j = 1), эти границы смещаются еще дальше и составляют от 4,4 до 22 мс.
В настоящее время применение имеют системы с двумя по порядку работающими группами и системы с одновременным двухразовым впрыскиванием, что обеспечивают, с одной стороны, нормы, предложенные для системы питания современных двигателей, и, с другой стороны, сравнительно невысокую сложность изготовления. К перспективным системам можно отнести фазное впрыскивание с перекрытием во времени.
Необходимая статическая продуктивность форсунки в первом приближении может быть определенна по формуле
, (3.5)
где q0 статическая продуктивность форсунки;
Qц цикловая подача;
tц время открытого состояния клапана.
Естественно продуктивность форсунки для данного типа двигателя определяю по максимальной цикловой подаче этого двигателя и по максимальной продолжительности управляющих импульсов max, принимая max tц max, q0 = Qц max. / max.
Подставляя значения max с уравнения (3.3), получим:
. (3.6)
Выражение (3.6) показывает, что для данного типа двигателя продуктивность форсунки может быть уменьшена в случае применения фазного или группового впрыскивания с перекрытием во времени. Уменьшенная продуктивность благополучно влияет на повышение быстродействия клапана.
Как указано выше, в современных системах впрыскивания с электронным управлением давление топлива принимается равным 162 -196 кПа. Это давление обеспечивает полностью удовлетворительное смесеобразование. Практически такие же эффективные показатели могут быть получены и при давлении 98 147 кПа. Дальнейшее понижение давления топлива не гарантирует отсутствие парообразования в трубопроводах системы при высоких температурах окружающей среды.
Проведенные испытания показали, что повышение давления в системе до 294 490 кПа не улучшает экономических показателей двигателя, но увеличивает нагрузку на бензонасос и намного понижает быстродействие форсунок.
Зная статическую продуктивность форсунки и перепад довления на клапане, можно определить площадь эффективного перекрытия клапана с выражения
, (3.7)
где фfф - площадь эффективного перекрытия клапана форсунки;
- плотность топлива;
р перепад давления топлива на клапане.
3.3 Диагностирование форсунок без демонтажа методом подключения датчика пульсации
Как проверить состояние форсунок на текущий момент по месту установки, без демонтажа? Достоверно степень засорения можно выяснить только после их снятия с двигателя и проверки на специальном стенде. Но, если подсоединить датчик пульсаций FirstLook (или его аналог) к вакуумному штуцеру регулятора давления топлива в системе, и подключить его к осциллографу, то на мониторе можно будет видеть график перемещений мембраны регулятора давления топлива. По полученному графику и можно оценить состояние форсунок без их снятия с двигателя.
Датчик представляет собой пьезокерамическую мембрану, помещённую в корпус так, что она разделяет внутренний объём корпуса на две половины.
Подсоединение датчика пульсаций к регулятору давления топлива.

Рисунок 3.1 Подключение датчика пульсации к к регулятору
давления топлива
Одна половина корпуса имеет открытое отверстие для обеспечения с этой стороны мембраны атмосферного давления, другая снабжена штуцером для подключения к регулятору давления топлива. При изменениях давления пьезокера-мическая мембрана начинает деформироваться и генерировать переменное напряжение. Если это напряжение подать на вход осциллографа, то на мониторе можно будет наблюдать график изменения давления внутри подсоединённого к штуцеру датчика.

Рисунок 3.2 График перемещения мембраны регулятора давления
топлива автомобиля Mercedes Е 200. Форсунки
загрязнены.(Осциллограмма напряжения на управляющем
выводе форсунки первого цилиндра)
В системах впрыска топлива инжекторных двигателей давление в топливной рейке поддерживается на заданном уровне с помощью регулятора давления топлива, который обеспечивает его путём сброса избытка топлива, подаваемого бензонасосом, обратно в топливный бак. Этот регулятор тоже работает посредством мембраны, на которую, с одной стороны, давит тарированная пружина, а с другой топливо. Как только давление топлива возрастает и оно превышает усилие пружины, мембрана смещается и открывает клапан слива топлива в бак, что приводит к снижению давления топлива в системе до установленной нормы.

Рисунок 3.3 График перемещения мембраны регулятора давления
топлива автомобиля Mazda. Форсунки
загрязнены.(Осциллограмма напряжения на управляющем
выводе форсунки первого цилиндра)
При открытии форсунки часть топлива начинает протекать через неё, что приводит к снижению давления в рейке. Мембрана регулятора давления под действием пружины смещается в другую сторону, частично перекрывая клапан слива топлива, препятствуя, таким образом, снижению давления. Величина смещения мембраны напрямую зависит от количества топлива, протекающего через форсунку, то есть от её производительности и от времени открытия. При закрытии форсунки происходит обратный процесс, мембрана регулятора давления смещается в сторону большего открытия клапана слива топлива.
Подсоединяем датчик пульсаций FirstLook (или его аналог) к вакуумному штуцеру регулятора давления топлива, и на мониторе осциллографа видите график перемещений мембраны регулятора давления топлива в процессе открытия и закрытия форсунки. По этому графику можно сравнить амплитуды перемещений мембраны при срабатывании разных форсунок. Ввиду того, что на установившемся режиме работы двигателя длительность импульсов открытия для всех форсунок относительно одинакова и стабильна, амплитуда перемещений мембраны в этом случае зависит только от производительности форсунок. Если же, вследствие их загрязнения, производительность изменилась и для разных форсунок различна, то и амплитуда перемещений мембраны регулятора давления топлива будет различной. Таким образом, по полученной осциллограмме можно оценить состояние форсунок без их снятия с двигателя.
- СУТЬ МЕТОДОВ И СПОСОБОВ УЛУЧШЕНИЯ ТЕХНИЧКСКОГО СОСТОЯНИЯ И ВОССТАНОВЛЕНИЯ ФОРСУНОК ВПРЫСКИВАНИЯ БЕНЗИНА
4.1 Обзор технологий восстановления пропускной способности форсунок
Можно выделить следующие наиболее распространенные методы восстановления продуктивности форсунок:
1. Путем пропускания аэрозольной промывочной жидкости через рампу форсунок на работающем двигателе;
2. Очистка путем погружения форсунок в технологическую жидкость при воздействии ультразвука;
3. Промывка путем взбалтывания технологической жидкости за счет влияния импульсных токов на электромагнитные провода форсунок.
Можно также выделить следующие недостатки существующих методов:
- продолжительное время вспомогательных операций;
- большой расход промывочной жидкости;
- повышенное нагревание технологической жидкости.
Повысить продуктивность очистки форсунок и уменьшить расход технологической жидкости можно соединив три процесса: кавитацию, взбалтывание и движение жидкости.
4.2 Технология без демонтажа элементов топливной системы
Технология во многом напоминает «аматорскую» с использование различного рода присадок, но лишена её основных недостатков. Она состоит в том, что промывочная жидкость, (бензин + сольвент присадка) подается непосредственно на вход топливной рампы, то есть топливный бак, топливопровод, и бензонасос в очистке (работе двигателя при очистке) участия не принимают. С одной стороны, это плюс, так как грязь в этих компонентов топливной системы не смывается и не загрязняет форсунки, с другой стороны минус отложения в баке, топливопроводе, бензонасосе чем то все же придется удалять. Дополнительное преимущество данной технологии нет необходимости демонтажа форсунок, что делает возможным очистку в ситуации, когда демонтаж форсунок усложнен (например, на некоторых моделях автомобилей демонтаж форсунок невозможен без снятия впускного коллектора).
Наиболее простая конструкция установки для такой очистки реализована в отечественной установке ОВ-1 (которая, является аналогичной американской). Установка представляет собой бачок для промывочной жидкости. С одной стороны через кран он подключается к входу топливной рампы. С другой стороны через регулятор давления с манометром подключается подача сжатого воздуха, который и обеспечивает подачу топлива под нужным давлением. Очистка происходит непосредственно в процессе работы двигателя.
Собрать такую установку можно и самостоятельно (что многие и делают). Однако, крайне не рекомендуется такой способ экономии во первых, работа связанна с крайне легковоспламеняющимися жидкостями под давлением, во вторых, в комплекте с прибором ОВ-1 идет достаточно большой набор переходников для безопасного подключения к топливной системе, в третьих стоимость такой установки даже для небольшого СТО сравнительно невелика порядка 2500 грн., а ее практичность позволяет окупить затраты уже после 15-20 процедур очистки.
После применения такой технологии очистки рекомендуется замена или чистка свечей. Расход рабочей жидкости (бензин + промывочная жидкость присадка) на двигатель объемом до 2,5 л. примерно 1 - 1,5 л.
Эту технологию рекомендуется применять при среднем уровне загрязнения форсунок и топливной системы ориентировочно каждые 10 15 тыс. км пробега (с учетом качества нашего бензина, для сравнения в Европе такой интервал, который рекомендуется составляет примерно 40 60 тыс. км пробега).
Также необходимо отметить, что применять этот способ рекомендуется только для автомобилей с электромагнитными форсунками. Не рекомендуется чистить инжекторные системы с механическим впрыском топлива (Ке-Jetronіk) дозаторы таких систем имеют малые рабочие зазоры, поэтому очень чувствительны к загрязнениям и при промывке быстро забиваются, что может привести к необходимости демонтажа, разборке и ремонту, а может и замене. Форсунки механических систем не разбираются и очищаются только с помощью продувки сжатым воздухом. При сильном загрязнении они подлежат замене.
Также минусом данного метода является то, что оценить качество очистки придется по субъективным показателям стабилизировались обороты двигателя, улучшилась приемистость, уменьшился расход топлива. Однако, на 100% утверждать, что все параметры форсунок и других элементов топливной системы пришли в норму без демонтажа форсунок и проверки их на специальном стенде невозможно.
Методы оценки качества работы форсунок непосредственно на двигателе существуют, но их точность невысока. Первый метод состоит в том, что при заглушенном двигателе контролируется падение топлива в топливной рампе таким способом можно оценить герметичность форсунок в закрытом состоянии (при этом нужно либо заглушить обратный клапан регулятора давления топлива, либо учитывать что потери могут идти и через него). Также можно подавать на форсунки управляющие импульсы и снова по падению давления определить продуктивность каждой форсунки. То есть такими способами можно проверить только два из четырех параметров работы форсунок герметичность клапана в закрытом состоянии и продуктивность.
Второй метод заключается в контроле времени продолжительности впрыскивания. Измерять продолжительность впрыскивания можно специальным прибором, либо с помощью мультиметра или мотор тестера, имеющего такую функцию. Технология состоит в том, что при загрязненных форсунках электронный блок управления фиксирует недостаток поступления топлива в цилиндры (например, с помощью механизма обратной связи через лямбда зонд) и увеличивает продолжительность одного импульса впрыска. Как правило, это время превышает нормативные показатели (это ещё один показатель для очистки форсунок). После проведения очистки продолжительность импульса (при одинаковых режимах работы двигателя) должна уменьшится (прийти в норму).
Ясно, что ни одним из этих методов такие важные параметры как абсолютная продуктивность и факел распыла прямо проконтролировать невозможно.
4.3 Технология с демонтажем элементов топливной системы
Следующие два метода связанны со снятием форсунок с двигателя. Хоть эти методы и требуют демонтажа форсунок зато это дает возможность (при наличии необходимого оборудования) полностью объективно и визуально оценить работу форсунок. Рекомендуется оценивать параметры работы форсунок как до, так и после очистки, что позволяет оценить качество самой очистки.
Проверка снятых с двигателя форсунок начинается с визуального осмотра (необходимо обратить внимание на наличие/отсутствие каких либо повреждений, степень загрязненности и т.д.), далее проверить электрические параметры соленоида клапана форсунки (для электромагнитных форсунок) отсутствие короткого замыкания между витками и т.д. В случае выявления таких неисправностей форсунка подлежит замене без очистки.
Непосредственно для проверки работы форсунки используется специальные стенды (это может быть как отдельная установка, так и интегрированный с ультразвуковой ванной стенд), что представляет собой мерные цилиндры (по количеству проверяемых одновременно форсунок), бак для тестовой жидкости, насос, блок управления форсунками. Работа стенда имитирует работу форсунок на двигателе, при этом контролируются такие параметры работы форсунок как:
- герметичность клапана в закрытом состоянии на форсунки подается тестовая жидкость под давлением, управляющее напряжение не подается. Давление, как правило устанавливается на 10% больше, чем максимальной рабочее давление топлива для данного двигателя. Герметичность контролируется визуально. Как правило, допускается появление не более одной капли тестовой жидкости в минуту.Герметичность механических форсунок проверяется при давлении, равном избыточному конкретной системы. Величины давлений можно уточнить в специальной литературе и информационно справочных базах данных;
- форму факела распыла контролируется визуально через прозрачные стенки мерных цилиндров. Дополнительно для лучшего наблюдения можно использовать стробоскоп;
- абсолютную продуктивность форсунок;
-относительную продуктивность форсунок. Считается, что для стабильной работы двигателя количество топлива, впрыскнутого разными форсунками за одинаковое количество рабочих циклов, не должно отличаться больше, чем на 5% от среднего значения.
Первоначальную проверку форсунок (до очистки) лучше проводить без снятия внутреннего капронового фильтра тонкой очистки. После первичной проверки и перед очисткой форсунок, в том случае, если фильтр будет заменятся на новый, его лучше снять. После проведения очистки и финальной проверки, перед установкой форсунки на двигатель необходимо установить новый фильтр ( при его наличии). Также в случае необходимости заменяется уплотнительное кольцо (или кольца) на форсунке.
4.4 Ультразвуковая чистка с демонтажем форсунок
В первую очередь этот способ применяется к форсункам и ключевым моментом тут служит применение ультразвуковой технологии. После первичной проверки форсунок на стенде и перед процедурой ультразвуковой чистки рекомендуется продуть каждую форсунку фильтрованным сжатым воздухом под давлением 1-1,5 бар для удаления остатков жидкости и грязи, что отслоилось, с форсунки перед началом следующей процедуры.
Детали , которые очищаются, (это могут быть не только форсунки, а и карбюраторы, топливные насосы и т.д.) помещаются в ванну в специальную жидкость, где находятся при включенном ультразвуковом генераторе на протяжении 15-30 минут (в зависимости от степени загрязнения, характеристик ультразвуковых ванн, применяемой жидкости). Однако, у форсунок, в отличии от других деталей, есть некоторая особенность желательно ,чтобы в процессе очистки они «работали» - то есть открывался и закрывался клапан. Для этого в стендах для очистки форсунок предусмотрены очистки блоки управления форсунками, что подают сигнал на форсунки с заданной частотой и продолжительностью (которые имитируют соответственно нужные обороты двигателя во время впрыскивания).
Эффективность очистки повышается, если промывочную жидкость нагреть. Для качественной очистки достаточно небольшой мощности ультразвукового излучателя 50-100 Вт при объеме ванны до 2 л. Наиболее распространенные ванны, расчитаны на частоту частоту амплитудной модуляции ультразвуковых колебаний 20-44кГц.
Ультразвуковая очистка эффективна при любых степенях загрязнения (при большой степени загрязнения этот способ вообще является незаменимым). В большинстве случаев в результате ультразвуковой очистки можно достигнуть заводских параметров работы форсунок.
Применение ультразвука в процессах очистки
Одним из наиболее перспективных направлений ультразвука в машиностроении является очистка поверхностей деталей и узлов от жировых и механических загрязнений. Качество очистки поверхностей деталей и узлов механизмов во многом определяют сроки их службы и надежность работы. Особенно тщательная очистка требуется для деталей которые быстро вращаются, подшипников, электрических контактов, реле, топливной аппаратуры, а также деталей электронной вычислительной техники, часовых механизмов, оптических приборов и т.д. механическая ручная очистка даже с применением различных растворов не всегда отвечает требованиям современного промышленного производства. Если же детали имеют сложную форму с труднодоступными отверстиями и полостями, то их хорошо очистить практически невозможно. Высококачественная очистка деталей от жировых отложений занимает важное место в современной технологии массового производства. Долгое время на машиностроительных заводах для очистки деталей от жировых загрязнений применяли моющие машины, которые не всегда обеспечивали достаточную чистоту деталей. Кроме этого применяли и другие методы очистки: пескоструйный дробеметный, гидравлический, химический и электрохимический, промывка органическими растворителями, выпаливанием нагара и т.д. Однако все эти методы не отвечают современным требованиям технологических процессов.
Внедрение на многих промышленных предприятиях ультразвукового технологического оборудования позволяет сэкономить большие средства. Особенно это характерно для предприятий, где ультразвуковые установки для очистки могут быть включены в автоматическую или полуавтоматическую линию технологического процесса.
Одним из основных преимуществ ультразвуковой очистки перед другими способами удаления загрязнений его высокое качество. При полоскании например, на поверхности деталей остается до 80% загрязнений, при вибрационной очистке порядка 55%, при ручной около 20%, апри ультразвуковом не более 0,5%. Кроме этого, детали которые имеют сложную форму, труднодоступные места, узкие щели, маленькие отверстия и полости или не разборные детали хорошо очищаются только с помощью ультразвука. Ёще одним преимуществом ультразвуковой очистки заключается в том, что при достаточно высоком качестве очистки нет необходимости больших физических затрат труда, возможность замены огнеопасных или дорогих органических растворителей более безопасными и дешевыми водяными щелочными растворами, жидким фреоном и т.д.
4.4.1 Физическая сущность ультразвуковой очистки
Кавитация это сложный комплекс явлений, связанных с возникновением, развитием и захлопыванием в жидкости мелких воздушных пузырьков разного происхождения. В технике можно найти немало примеров, где кавитация приводит к разрушению поверхностей деталей. Это явление может возникать при высоких скоростях движения жидкости, которая находится под высоким давлением, например в системах топливоподачи дизелей, что приводит к эрозионному разрушению внутренних поверхностей трубопроводов высокого давления. Кавитационному износу подвержены внешние поверхности цилиндров ДВС, омываемые охлаждающей жидкостью, в которых при повышении температуры возникают колебания стенок цилиндров, обусловленные сгоранием.
Кавитацию можно вызвать и искусственным способом, влияя на жидкость звуковыми или ультразвуковыми колебаниями, механическими, гидравлическими или электрическими генераторами. Ультразвуковые волны, которые образуются в жидкости, создают чередующиеся, области повышенного и, пониженного давления, которые образуют зоны высоких давлений и зоны разряжений. В разряженной зоне гидростатическое давление понижается до такой степени, что силы, действующие на молекулы жидкости, становятся больше сил молекулярных связей. В результате резкого изменения гидростатического равновесия жидкость разрывается, образуя при это большое количество мелких пузырьков газа и пара, который находился до этого в жидкости в растворенном состоянии. В следующий момент, когда в жидкости наступает период высокого давления, пузырьки которые образовались раньше, захлопываются. Процесс захлопывания пузырьков сопровождается образованием ударных волн с очень большим мгновенным местным давлением, которое достирает нескольких сотен бар. Напряжение растягивания , необходимое для разрыва жидкости, зависит от количества растворенных в ней газов. В жидкости имеются определенные места неоднородности (зародыши), которые содержат под высоким давлением, где и образуется разрыв жидкости. Условия равновесия газового пузырька определяется отношением
(4.1)
где Р давление газа в пузырьке;
Р0 гидростатическое давление;
а коэффициент поверхностного натяжения жидкости;
r радиус пузырька.
Ультразвуковая очистка сложный процесс, который совмещает местную кавитацию с действием больших ускорений в очищающей жидкости, что приводит к разрушению загрязнений и благоприятствует эмульгированию жировых примесей. Если загрязненную деталь поместить в жидкость и облучить её ультразвуком, то под действие ударной волны кавитационных пузырьков поверхность детали очищается от грязи. Кроме этого, в жидкости возникает много пузырьков, не связанных с кавитациооными явлениями. Эти пузырьки проникают в поры, щели и зазоры между загрязнениями и поверхностью детали. Под действием ультразвуковых волн пузырьки интенсивно колеблются, также вызываю разрушение верхнего загрязненного слоя. Но колеблющиеся пузырьки являются второстепенным явлением при очистке, решающее значение имеет ультразвуковая кавитация.
Звуковые (ультразвуковые) волны являются носителями звуковой энергии. Общее количество энергии, как источник звука излучаемый в окружающую среду за единицу времени, характеризует звуковую мощность источника, выражаемую в Ваттах.
Следует заметить, что для электроакустического преобразователя акустическая мощность меньше подведённой электрической мощности. Коэффициент полезного действия громкоговорителя динамического типа невелик и составляет всего несколько процентов.
В большинстве случаев, для потребителя практический интерес представляет не общая акустическая мощность, излучаемая во все стороны, а только та, которая доходит до приёмщика звука. Часть общей мощности, которая приходится на единицу площади, называется интенсивностью звука. В каждой точке пространства, отдаленной от источника звука, который излучает энергию от источника звука на радиус r, интенсивность звука одинакова. Таким образом можно записать:
, (4.2)
где I интенсивность звука;
Р общая мощность излучающего источника,
, (4.3)
S площадь шарообразной поверхности с радиусом r.
В меру отдаления от источника, с увеличением радиуса r увеличивается площадь сферы S, а интенсивность звука уменьшается.
Непосредственно измерение интенсивности звука связано с большими техническими трудностями, и на данный момент не существует приборов, которые позволяют непосредственно измерить этот параметр.
С помощью акустических приборов можно сравнительно просто измерить эффективное звуковое давление и колебательную скорость частиц среды, величин которые на прямую зависят от интенсивности звука. Звуковое давление р представляет собой избыточное колебательное давление в среде относительно давления, которое существует там до появления звуковых волн (единица измерения Н/м2). Колебательной скоростью v называют мгновенную скорость колебательного движения частиц среды относительно положения равновесия (единица измерения м\с). Эта скорость зависит от частоты колебаний и величины звукового давления. Колебательная скорость частиц и распространение звука с имеют одинаковую размерность, но представляют разные понятия.
Примером приемников звукового типа может служить большинство типов современных микрофонов, которые преобразуют это давление в пропорциональные электрические сигналы. Конструкция некоторых микрофонов позволяет получать напряжения, пропорциональные колебательной скорости.
Интенсивность звука I связанна со звуковым давлением и колебательной скоростью простой зависимостью
(4.4)
Если звуковая волна распространяется в свободном пространстве, где нет отражения звука, тогда
(4.5)
где плотность среды, кг/м3,
c скорость звука в среде,м/с.
Знаменатель c (Н/м2с) характеризует среду, в которой происходит распространение звуковой энергии, и называется её акустическим сопротивлением. Для воздуха при нормальном давлении и температуре 20оС c=420 Н/м2с.
Если из формулы (4.5) в формулу (4.4) подставить значения колебательной скорости, то после преобразования получим
. (4.6)
Существует некоторая аналогия между отдельными понятиями которые характеризуют электрические и акустические явления, и уравнения, которые описывают количественные зависимости между ними.
Интенсивность звука является аналогом электрической мощности, звуковое давление аналогом напряжения, колебательная скорость току, а акустическое сопротивление соответствует электрическому сопротивлению. По аналогии с законом Ома для электрической цепи можно говорить про акустический закон Ома.
Наличие пузырьков в жидкости приводит к возникновению кавитации даже при незначительной интенсивности ультразвуковых колебаний. Максимальную интенсивность ультразвука, необходимую для возникновения кавитации можно определить из выражения
, (4.7)
где Ра переменное звуковое давление,
плотность жидкости,
с скорость распространения звука в жидкости.
Поэтому очень важно управлять кавитациноным процессом.
Влияние различных факторов на процесс очистки
Ультразвуковая кавитация в жидкости зависит от её плотности, вязкости, температуры, молекулярной массы, состава газов, наличия посторонних микроскопических соединений, частоты и интенсивности ультразвуковых колебаний, статического давления и других факторов. Целенаправленным изменением нескольких этих факторов можно влиять на активность кавитационного процесса в нужном направлении. Например, в воде кавитация сильнее, чем в растворителях. Наличие газа в жидкости повышает эффективность кавитационных явлений. С увеличением температуры жидкости интенсивность кавитации возрастает, до определенного максимума, пройдя который начинает падать. Эффективность кавитации находится в прямой зависимости от интенсивности ультразвуковых колебаний и в обратной зависимости от их частоты. При очень высоких ультразвуковых частотах кавитацию вообще невозможно получить. Большое значение в интенсивности процесса ультразвуковой кавитации имеет подбор определенных отношений между интенсивностью ультразвуковых колебаний и избыточным статическим давлением в жидкости. Анализирую в целом влияние на интенсивность кавитации всех параметров, которые находятся в уравнении кавитационной динамики, предлагается следующий ряд эрозионной активности (), где параметры расположены с лева на право в меру возрастания их роли в увеличении :
, R0, f, , , Рп, Ар, Р0, (4.8)
где поверхностное натяжение;
R0 начальный радиус пузырька;
р плотность жидкости;
f частота колебаний;
вязкость;
Рп давление насыщенных паров;
Ар амплитуда звуковых волн;
Р0 статическое давление.
4.4.2 Влияние избыточного давления в промывочной жидкоси
Уровень кавитационной эрозии в жидкости можно существенно повысить, подбирая определенные соотношения между звуковым и статическим давлениями.
Опыты показали, что интенсивность кавитации в основном зависит от частоты ультразвука, а также звукового и статического давления. Если повышать одновременно звуковое и статическое давление, интенсивность ультразвуковой кавитации, а из этого и интенсивность эрозии (очистки) возрастает. При повышении статического давления до 0,4 1,0 МПа интенсивность ультразвуковой кавитации резко возрастает.
Установлено, что при повышении давления до 0,5 МПа, а потом и до 1,0 МПа область кавитации сужается в объеме и сохраняется только над центром излучателя, где ультразвуковое давление максимальное. При этом полностью пропадают пульсирующие пузырьки, возрастает эрозионная активность жидкости и резко возрастает скорость акустических волн. Повышение статического давления обеспечивает более равномерное распределение областей кавитации в объеме жидкости.
Теоретические и экспериментальные исследования показывают, что разработанный новый метод является универсальным. Он позволяет повысить интенсивность ультразвуковой кавитации и обеспечивает значительное ускорение кавитационного разрушения твердых твердых тел и поверхностей пленок в любых жидкостях. Необходимо отметить, что повышение эрозионной активности жидкости происходит без увеличения затрат энергии. Интенсивность процесса кавитационного разрушения при повышенном статическом давлении значительно расширила область применения ультразвука в технике. Создано ряд принципиально новых технологических процессов, которые получили промышленное применение: удаление заусениц с мелких точных деталей, выборочное дробление синтетических и природных алмазов, получение порошков сверх тонкой дисперсности, ультразвуковая очистка и т.д.
Опыты показали, что при движении маленьких пузырьков между ними возникают то силы притяжения, то силы отталкивания. Притягиваясь, пузырьки сливаются, создавая пузырьки большего размера. В свою очередь, они притягивают следующие, более мелкие пузырьки, в результате чего происходит их непрерывный рост. В определенный момент пузырек изменяет свою форму. Эти явления обусловлены действием переменного давления, что возникает в жидкости под действием ультразвуковых колебаний. Процесс роста и сокращения пузырьков в жидкости происходит с частотой, равной частоте изменения давления, то есть с частотой ультразвуковых колебаний. При сокращении пузырька из его центра распространяется сферическая ударная волна, а максимальное давление, которое возникает в жидкости на расстоянии 1,587 радиуса от центра пузырька:
, (4.9)
где Р0 гидростатическое давление;
r0 начальное значение радиуса пузырька;
r значение радиуса пузырька в рассматриваемый.
Полное замыкание пузырька при гидростатическом давлении происходит за время
. (4.10)
Отсюда видно, что для смыкания кавитационных пузырьков необходимо полностью определенное время. Например, при нормальном давлении время смыкания газового пузырька радиусом 0,05мм в воде равно 5 мкс.
4.4.3 Влияние резонансной частоты преобразователя
Одним из важных факторов в повышении интенсивности ультразвуковой кавитации является выбор резонансной частоты преобразователя. Испытания показали, что эффективный диапазон частот находится в пределах 18 44 кГц. Сильное повышение частоты ультразвуковых колебаний нежелательно, потому что большой частоте кавитационный пузырек не успевает вырасти до определенных размеров и его энергия при смыкании значительно снижается. Кроме этого, при большой частоте остается парогазовое давление, которое препятствует быстрому смыканию пузырьков. Уменьшать частоту так же неуместно. Во-первых, возникает диффузия парогазовой смеси в кавитационных пузырьках, во-вторых, радиус пузырька увеличивается до такой степени, что при его смыкании снижается эффективность кавитации. Немаловажно и то, что при низких частотах образовываются громкие звуки. Так, наиболее целесообразными и одновременно эффективными являются частоты 18 44 кГц. Некоторые специалисты предлагают использовать одновременно низкие и высокие частоты ультразвукового диапазона. По их мнению, это выгодно тем, что кавитационные пузырьки, которые образуются на низких частотах, получают большое ускорение под действием гидродинамических потоков, образованных высокими частотами.
4.4.4 Влияние химических свойств промывочной жидкости
Качество ультразвуковой очистки во многом зависит и от химических свойств растворителей. При ультразвуковой очистке применяют разные виды промывочной жидкости, которые могут быть агрессивными или неагрессивными к обрабатываемым деталям. Важным фактором, влияющим на качество и время ультразвуковой очистки является правильный выбор моющей среды. Моющая среда должна иметь как можно большей химической активностью по отношению к загрязнениям. Чистую воду, несмотря на её большую кавитационную способность, применять для ультразвуковой очистки нецелесообразно. Более эффективны водные растворы щелочей, солей, кислот с добавлением разных поверхностно активных веществ. Наиболее высокая растворяющая способность у органических растворителей. Например, минеральные масла хорошо растворяются в углеводных растворах; растительные масла, канифоль в спирте. Достоинством органических растворителей является их химическая инертность к металлическим поверхностям, что имеет огромное значение при заключительных операциях очистки. Органические растворители хорошо проникают в зазоры, щели, отверстия, растворяя в них загрязнения. Недостатком органических растворителей является необходимости их частой регенерации, потому что загрязнение самого растворителя в значительной мере отображается на качестве очистки. Кроме этого, органические растворители не желательно использовать, так как их пары негативно влияют на организм человека. Наиболее перспективными из органических растворителей является фреоны, а именно хлористый метилен, и трифтортрихлорэтан, который хорошо растворяет загрязнения. Низкий уровень поверхностного натяжения фреонов позволяет очищать детали сложных форм.
4.4.5 Влияние температуры жидкости
Эффективность очистки и кавитационная эрозия зависят от температуры жидкости, в которой происходит очистка. При повышении температуры растет давление паров и газов в кавитационных пузырьках и уменьшается сила удара при их смыкании. При этом растворенность газов в жидкости уменьшается и увеличивается количество кавитационных пузырьков и соответственно число ударов в единицу времени.
Эти противоположно действующие факторы и обуславливают оптимальный температурный интервал влияния кавитации на процесс очистки. Для каждой среды существует определенная температура, при которой эрозия достигает максимума. Наибольшее влияние на очистку в органических растворителях кавитация делает при температуре 15 20оС. При низких температурах загрязнения растворяются хуже. Наиболее благоприятной для эффективного действия ультразвуковой кавитации является температура рабочей жидкости 15 25 оС. Нужно отметить, что при снижении температуры ниже 15 оС нежелательно, так как на поверхности деталей может конденсироваться влага, что может привести к коррозии. Оптимальной температурой раствора при очистке стальных шлифованных деталей от жидкого машинного масла является 40 50 оС. Это подтверждается и тем, что при этих температурах возникает максимальная кавитация. А при очистке, например, деталей от полировочной пасты необходимо повысить температуру растворителя до 60 оС, потому что при этой температуре вязкость пасты уменьшается и облегчается её удаление.
С повышением температуры жидкости растворенность газов, которые находятся в жидкости и давление воздуха Р, в полости падает. При повышении температуры снижается порог кавитации, что приводит к увеличению числа кавитационных пузырьков и интенсивности процесса очистки. Вместе с этим в связи с повышением количества воздуха в пузырьках повышается их сжатие, что приводит к повышению интенсивности ударных волн и тем самым к повышению эрозии. При дальнейшем повышении температуры повышается количество воздуха в следствии значительного повышения давления насыщенного пара, давление в средине пузырька при максимальном радиусе увеличивается и ударная сила, у вместе с ней и эрозия. Опыты, проведенные при различных условиях, показали, что как эрозия, так и качество очистки сильно зависят от температуры рабочей жидкости, при этом существует определенный максимум при температуре 49 54оС.
4.5 Механизм разрушения загрязнений при помощи ультразвука
Разрушение загрязнений и пленок с помощью ультразвука можно условно разделить на 5 разновидностей: отслаивание, эмульгирование, эрозия, гидроабразивное отслаивание и растворение. Факторы, из которых состоит механизм разрушения, так же несколько: кавитация, радиационное давление, акустические эффекты. Разрушение, отделение и растворение плёнки загрязнения при ультразвуковой очистке происходит в результате совместного действия химически активной среды и факторов, которые возникают в среде, под действием ультразвуковых колебаний.
Технология ультразвуковой очистки распространена в различных областях промышленности. При помощи ультразвука сегодня очищают различные металлические, стеклянные, керамические, и другие детали. Разнообразие факторов, влияющих на специфические эффекты, которые обеспечивают очистку, указывает на сложность самого процесса.
Все действия, по очистке форсунок происходят по следующей схеме:
1) Проверка форсунок на двигателе методом отключения цилиндров.
2) Контрольная проверка на установке:
- в статическом режиме;
- в динамическом режиме;
3) Восстановление форсунок на установке.
4) Контрольная проверка после очистки на установке:
- в статическом режиме;
- в динамическом режиме.
Звуковые волны являются носителями энергии. Общее количество энергии, которое источник звука излучает в окружающее пространство за единицу времени, характеризует звуковую мощность источника. Звуковую мощность измеряют в Ватах.
Следует отметить, что для электроакустического преобразователя акустическая мощность меньше подводимой электрической мощности. Коэффициент полезного действия громкоговорителя динамического типа небольшой и составляет несколько процентов.
Использование децибел в акустике создает ряд неудобств. Интенсивность звуков, с которыми приходится иметь дело в современных условиях, могут отличаться в сотни миллионов раз от тихого шепота до рева ракетных двигателей. Такой диапазон изменения акустических величин создает большие трудности при сопоставлении абсолютных значений. Использование логарифмических единиц существенно облегчает эту задачу, поскольку существенно сужается диапазон численных значений. Вторым, не менее важным обстоятельством, которое благоприятствовало широкому использованию децибел в акустике, объясняется способностью нашего уха воспринимать звуки, интенсивность которых различается в миллионы раз. Громкость звука при оценке его на слух возрастает приблизительно пропорционально логарифму интенсивности или звуковому давлению. Таким образом, уровень этих величин, выраженный в децибелах, достаточно близко отвечают громкости, воспринимаемой ухом.
4.6 очистка с демонтажем путем «проливки» форсунок очищающей жидкостью, и обеспечение условий кавитации
Такая очистка проводится на специальном стенде, что, как правило, совмещен со стендом проверки форсунок. Система управления стенда имитирует работу инжекторов на двигателе с той лишь разницей, что вместо топлива через форсунки протекает промывочная жидкость. Оператор, управляя частотой электрических колебаний клапана инжектора, помогает возникновению в канале подачи топлива кавитации. В результате происходит эффективное разрушение загрязнений каналов форсунки и промывки её сетчатого фильтра. Момент возникновения кавитации определяется визуально выходящий из форсунки факел из за шлаков преобретает коричневый оттенок.
Следует отметить, что данный метод по качеству очистки уступает ультразвуку и может использоваться как дополнительный.
Также некоторые стенды имеют функцию так называемой обратной промывки форсунок. Форсунки устанавливаются на стенд «вверх ногами» и из них вымываются остатки отложений, которые остались после применения других способов (например, ультразвуковой очистки). Как правило, функция обратной промывки применяется только для форсунок с верхней подачей топлива.
При приобретении стендов проверки/очистки форсунок обязательно уточнить, какие адаптеры входят в комплект. Так, например, некоторые стенды имеют адаптеры только для форсунок с вертикальной подачей топлива и не могут быть использоваться для форсунок, которые имеют боковую подачу.
После применения каждого из двух методов (связанных с демонтажем форсунок) рекомендуется ещё раз продуть каждую форсунку, а потом снова проверить все гидравлические параметры работы форсунок по схеме описанной выше. Форсунки, которые не достигли после очистки необходимых параметров проходят повторную очистку (с обязательной проверкой), или подлежат замене.
Отмечу, что одна технология очистки может заменить другую. Задача серьёзной станции иметь все необходимое оборудование и знать, в какой ситуации, какая технология наиболее эффективная. Также необходимо добавить, что уже появилось оборудование, в котором совмещаются несколько способов очистки и проверки.
- ЭКСПЕРИМЕНТАЛЬНАЯ ПРОВЕРКА ПРЕДЛОЖЕННЫХ МЕТОДОВ
Для повышения продуктивности предложенного метода на были протестированы 3 комплекта форсунок. Форсунки восстанавливались двумя способами. Первый способ очистки под давлением. Второй способ безнасосный. При восстановлении форсунок применяли два режима: статический и динамический, описанные выше. При проведении эксперимента использовались различные типы жидкости, как отечественного, так и зарубежного производства. Все восстанавливающие воздействия на форсунки проходили по следующей схеме:
1) Проверка ДВС методом отключения цилиндров.
2) Контрольная проверка на установке в статическом режиме.
3) Восстановление форсунок на установке.
4) Заключительная контрольная проверка на установке в статическом режиме.
Схема восстановительного процесса, для всех комплектов форсунок одинаковая. С начала на автомобиле проводилась проверка методом отключения цилиндров двигателя. Затем рампа с форсунками снималась и устанавливалась на установку, выполнялась контрольная проверка. В этом режиме работает насос и форсунки находятся в постоянно открытом состоянии путем подачи на обмотку постоянного напряжения. Восстановление форсунок происходит в динамическом режиме когда форсунки работают в реальном режим, то есть в импульсном режиме, когда на их обмотки импульсами подается напряжение, которое приводит в движение электромагнит.
Метод представляет собой следующую последовательность операций:
1) снятие рампы с автомобиля для того, чтобы уменьшить число операций
2) установка форсунок на установку, при этом фильтры с форсунок не вынимают.
3) включение насоса для контрольной статической проверки на 30 секунд и для восстановления форсунок в динамическом режиме. Включение установки с работающим насосом. После очистки производим контрольную проливку, которая покажет, улучшилась ли пропускная способность каждой форсунки или нет. Подставляем мерные колбы под форсунки для учета объема налитого каждой форсункой.
Схема восстановления форсунок безнасосным методом похожа с восстановлением при помощи насоса. 1,2 пункты идентичные. Фильтры с форсунок не вынимают.
3) произвести контрольную проверку форсунок в статическом режиме при помощи насоса
4) отключить насос, так как он используется только для статической проверки форсунок. Сбросить давление путем включения форсунок. Через открытые форсунки топливо с рампы сольется, давление уменьшится и достигнет уровня атмосферного, при этом рампа будет наполнена технологической жидкостью.
5) устанавливаем колбы и включаем режим очистки и подбираем частоту.
6) подставляем мерные ёмкости, включаем насос, чтобы произвести контрольную статическую проливку на параметр продуктивности форсунок.
Бажано вибрати два режими динамічної проливки:
1) мінімальна частота і мінімальна подача;
3) середня частота і середня подача.
Режим максимальной мощности отвечает продолжительности впрыскивания 6 8 мс при частоте прохождения импульсов 100 Гц. Режиму максимальной частоты отвечает продолжительность 2 мс при частоте 270 300 Гц. Минимальная частота и минимальная подача соответствует продолжительности 2 мс и частоте 15 Гц.
Очистка форсунок производилась различными составами жидкостей. Виды технологических жидкостей:
1) сольвент каменноугольный;
2) сольвент нефтенной;
3) моющая жидкость Wynn's
Предлагается метод профилактического воздействия на форсунки, который подтвержден экспериментально, расчетным путем, приедложенная методика и установка, основана на этом принципе.
Форсунки, как и другие элементы системы топливоподачи, часто загрязняются и выходят из строя. Форсунки являются узлом, который подлежит восстановлению, поэтому ниже описана установка для восстановления форсунок.
Составными частями установки являются: рампа с форсунками, мерные ёмкости, специальные адаптеры, электронный блок управления для подачи управляющих импульсов на форсунку и максимальную частоту открытия клапана. Такие узлы должна иметь установка для реализации на ней следующих режимов:
1) статический режим, при котором проверяют статическую продуктивность форсунки, при постоянно действующем напряжении на форсунках одновременно проливают их все в мерные сосуды за 30 секунд и определяют, какое количество жидкости вылилось в ёмкость. Этот режим необходим как способ контроля.
2) динамический режим, при котором проливают форсунки, регулируя при этом продолжительность управляющих импульсов и частоту. Это режим восстановления.
В динамическом режиме на форсунку подают импульсы дискретно. Определить продуктивность в дискретном режиме не удается, зато можно проследить за равномерностью подачи форсунками в динамическом режиме, это не динамическая продуктивность это проверка на равномерность подачи при динамическом режиме.
Статическую продуктивность форсунок проверяют в режиме статической контрольной проливки. Приспособления, необходимые для этого описаны ниже.
В результате экспериментального исследования было выявлено, что равномерность подачи форсунок в статическом и динамическом режиме могут отличатся. Причем, равномерность подачи в динамическом режиме может быть, как больше, так и меньше статической.
Для безнасосного метода экспериментально частота определяется по максимальной подаче жидкости. На установке устанавливают частоту и смотрят за скоростью вытекания жидкости в емкости. Если установили маленькую частоту, то жидкость вытекает медленнее. Если подобрать частоту и продолжительность, когда жидкость начинает достаточно интенсивно двигаться оптимальный режим восстановления форсунок. Этот режим проходит с частотой близкой к ультразвуковой.
Остается вопрос о том, в каких пределах необходимо измерять частоту в динамическом режиме. Первая необходимость, возможность воплотить все эксплуатационные режимы. Известно, что в условиях эксплуатации продолжительность управляющего импульса изменяется от 2 мс до 20 мс. Установка должна позволять в этих пределах изменять продолжительность управляющего импульса. Частота вращения коленчатого вала в эксплуатационных режимах изменяется от 900 об/мин до 6000 об/мин. В перерасчете на Гц это составляет от 15 до 100 Гц. В режиме очистки частоты значительно выше и составляют 200 300 Гц.
Расчетное и экспериментальное исследование было проведено для того, чтобы определить эти границы частоты. Расчетным путем пожно подсчитать, какие частоты в установке можно задать, а подтвердить в процессе восстановления по скорости вытекания жидкости. Изменяя частоту и продолжительность управляющих импульсов. Для данного класса форсунок, частота будет одинакова для всех форсунок. Таким образом, в процессе восстановления не нужно рассчитывать и определять частоту, установка должна обеспечивать эту функцию автоматически.
Так установка должна удовлетворять следующим требованиям: Частота должна изменяться от 15 до 300 Гц, продолжительность от 2 до 20 мс, мерные колбы должны иметь объём не менее 100 мл.
Восстановление комплекта №1 (автомобиля Skoda Octavia 1.6)
После проверки форсунок на установке выяснилось, что все форсунки имеют разную пропускную способность и разбег составляет около 25%. Произвели проливку форсунок сольвентом на протяжении 4-ч часов. Практически ничего не изменилось. Пропускная способность улучшилась, но разбег остался в недопустимых пределах. После этого данный комплект форсунок прошел очистку на ультразвуковом стенде “LAUNCH 602A”. Для очистки применили метод ультразвуковой очистки. Для этого применили моющую жидкость “Wynns”. Производства Германии и последующий процесс очистки проводили с помощью этой жидкости. Объём жидкости составил 300 мл. Перед очисткой провели процесс проливки форсунок, в течении 15 секунд, для того, чтобы определить продуктивность каждой из них. Результат приведен в таблице 5.1
В процессе диагностирования важным показателем является равномерность подачи форсунок потому что, что другими способа регулировки можно добиться большей или меньшей цикловой подачи, но если форсунки впрыскивают неодинаковое количество топлива, то выровнять это никак не удастся. Производим процесс очистки. После чего проводим контрольную проверку производительность форсунок. Результаты очистки приведены в таблице 5.1.
Таблица 5.1 Результаты очистки комплекта форсунок № 1
|
№ форсунки |
1 |
2 |
3 |
4 |
|
Результат производительности до очистки, мл |
56 |
42 |
39 |
58 |
|
Результат производительности после очистки, мл |
76 |
74 |
75 |
75 |

Рисунок 5.1 Производительность форсунок до и после очистки
Восстановление комплекта форсунок №2 (Автомобиля MAZDA 626)
По приведенной выше схеме восстанавливали комплект №2. Технологическая жидкость применяемая для этого комплекта та же.
Оценив пропускную способность каждой можно сделать вывод о том, что расхождение результатов присутсвует. Так, наприемр пропускная способность форсунки №4 составляет 20%, а на форсунке №3 почти на 50% от потенциально возможного. Пропускная способность других форсунок также отличаются. Результаты приведены в таблице 5.2.
Потом провели очистку форсунок ультразвуковым методом. Заключительным этапом провели контрольное измерение продуктивности форсунок. Общее время восстановления составило 46 минут. Результаты приведены в таблице 5.2. Очистка не принесла желаемых результатов. Комплект восстановлению не подлежит.
Таблица 5.2 Результат восстановления комплекта форсунок №2
|
№ форсунки |
1 |
2 |
3 |
4 |
|
Результат производительности до очистки, мл |
46 |
57 |
34 |
65 |
|
Результат производительности после очистки, мл |
72 |
78 |
45 |
74 |

Рисунок 5.2 Производительность форсунок до и после очистки
Восстановление комплекта форсунок №3(автомобиля Mercedes Benz E 200)
По приведенной выше схеме восстанавливали комплект №3. Технологическая жидкость применяемая для этого комплекта та же.
Оценив пропускную способность каждой можно сделать вывод о том, что расхождение результатов присутсвует. Потом провели очистку форсунок ультразвуковым методом. Заключительным этапом провели контрольное измерение продуктивности форсунок. Общее время восстановления составило 52 минуты. Результаты приведены в таблице 5.3.
Таблица 5.3 Результат восстановления комплекта форсунок №3
|
№ форсунки |
1 |
2 |
3 |
4 |
|
Результат производительности до очистки, мл |
68 |
65 |
73 |
70 |
|
Результат производительности после очистки, мл |
72 |
76 |
75 |
78 |

Рисунок 5.3 Производительность форсунок до и после очистки
Все процедуры по восстановлению производились без снятия входных фильтров, это означает что загрязнения, которые находятся внутри форсунки перемещаются, при обратном движении жидкости ближе к фильтру, при прямом направлении от фильтра к распылителю и не удаляются с форсунки. Общее состояние форсунок улучшается, но загрязнения, которые там были, могут не удалится. Эти загрязнения, находясь между иголкой и корпусом распылителя, влияют на коэффициент трения и на скорость перемещения иглы форсунки.
6. ИНСТРУКЦИЯ ПО ОХРАНЕ ТРУДА И ТЕХНИКЕ БЕЗОРАСНОСТИ СЛЕСАРЯ ПО РЕМОНТУ АВТОМОБИЛЕЙ.
6.1 Общее положение
Действие этой инструкции распространяется на все предприятия, выполняющие техническое обслуживание и ремонт автомобилей.Требования этих Правил обязательны для исполнения всеми работниками при организации и выполнении работ, связанных с ТО и ремонтом автомобилей.
6.1.1 Настоящая инструкция составлена на основании нормативно правовых актов действующих в Украине, «Закона об охране труда» и устанавливает требования по охране труда при выполнении ремонтных работ слесарем по ремонту автомобилей.
6.1.2 Работники предприятия обязаны знать и выполнять требования инструкции по охране труда, правила поведения с транспортными средствами, машинами, механизмами, оборудованием и другими средствами производства, уметь пользоваться средствами коллективной и индивидуальной защиты.
6.1.3 К работе допускаются лица, изучившие технологическую документацию по данному виду ремонта, инструкции по правилам работы на применяемом оборудовании и прошедшие инструктаж по охране труда.
6.1.4 Лица, не выполняющие требования настоящей инструкции, привлекаются к ответственности в соответствии с действующим законодательством.
6.1.5 Слесарь по ремонту автомобилей выполняет работы, связанные с разборкой, ремонтом, сборкой и диагностикой узлов и агрегатов автомобиля.
6.1.6 Рабочее место слесаря по ремонту автомобилей включает в себя:
- специализированное оборудование,
- подъёмные механизмы;
- набор слесарного инструмента;
- набор специнструмента и приспособлений;
- стол слесарный с тисками;
- гайковерт;
- емкости для слива ГСМ, тормозной и охлаждающей жидкости;
- эксплуатационные материалы, необходимые при выполнении работ;
- технологическую документацию на виды выполняемых работ.
6.1.7 При выполнении работ должны соблюдаться требования соответствующих инструкций по охране труда:
- ДНАОП 0.00-5.24-01 инструкция по охране труда во время выполнения работ инструментами и приспособлениями;
- инструкция по охране труда № 206 для слесаря механосборочных работ моторного производства;
- инструкция по охране труда №267 при эксплуатации, ремонте и обслуживании пневматических и ручных электрических машин.
6.1.8 К работе, связанной с ремонтом автомобилей допускаются лица, достигшие 16 лет, прошедшие медицинский осмотр, имеющие специальное образование, прошедшие первичный инструктаж по охране труда, освоившие безопасные методы и приемы работы на рабочем месте. Допуск к работе лиц, не прошедших обучение, инструктаж, стажировку и проверку знаний по охране труда, запрещается. К самостоятельной работе допускаются лица прошедшие проверку знаний по охране труда распоряжением по подразделению.
6.1.9 Слесарям по ремонту автомобилей, не достигшим 18 лет запрещается выполнять работы, связанные с:
- применением грузоподъемных механизмов;
- работой на прессах;
- пневматическим инструментом;
- работой на высоте.
Слесарям по ремонту автомобилей:
6.1.10 Разрешается выполнять только ту работу, которая поручена бригадиром, мастером или лицом их замещающим.
6.1.11 При получении новой работы (незнакомой), требовать от бригадира, мастера или лица их замещающего проведения инструктажа по охране труда.
6.1.12 На территории, предназначенной для ремонта автомобилей, быть внимательными к сигналам, подаваемым водителями движущихся транспортных средств.
6.1.13 Не переходить дорогу перед движущимся транспортом.
6.1.14 Не находиться под поднятым грузом.
6.1.15 Курить разрешается только в специально отведенных для этого местах.
6.1.16 Находясь около кислородных баллонов, доли масла с кислородом взрывоопасно.
6.1.17 Запрещается прикасаться к токоведущим частям электрооборудования, клеммам и электроприводам. Не открывать дверцы электрошкафов. При необходимости обращаться к лицу имеющему допуск по работе с електроустановками.
6.1.18 При работе с другими рабочими точно выполнять распоряжения руководителя, назначенного на период совместной работы.
6.1.19 Помещения где предусмотрена работа двигателя автомобиля, должны быть укомплектованы системой вытяжки газов с гибким трубопроводом.
6.1.20 Установка и снятие деталей и узлов с транспортного средства, а также приспособлений весом более 20 кг должны производить при помощи грузоподъемных механизмов, оборудованных специальными захватами.
6.1.21 Узлы и агрегаты, снятые с автомобиля должны быть надежно уложены на подставки и стеллажи, исключающие возможности их падения.
6.1.22 Содержать в чистоте рабочее место на протяжении всего рабочего времени, не загромождать его деталями, узлами, агрегатами и посторонними предметами.
6.1.23 На территории ремонтной зоны выполнять следующие правила:
- выполнять требования предупредительных плакатов и таблиц;
- не включать и не останавливать оборудование, работа на котором Вам не поручена;
- не прикасаться к находящимся в движении механизмам;
- обходить переносные электрические провода, лежащие на полу.
6.1.24 Слесарь по ремонту автомобилей обеспечивается спецодеждой и другими средствами индивидуальной защиты, согласно типовым отраслевым нормам бесплатной выдачи спецодежды и нормативно-правовым актам по охране труда, технологической документации на выполнение работ.
6.1.25 При получении травмы обратиться в медицинский пункт и сообщить о травме вышестоящему руководителю.
6.1.26 Соблюдать правила личной гигиены:
- содержать в чистоте рабочую одежду и обувь;
- хранить и принимать пищу в специально оборудованных для этого местах.
6.1.27 Техническое обслуживание и ремонт автомобилей выполнять в соответствии с Положением о ТО и ремонте автомобилей и согласно технологической документации.
6.2. Требования к безопасности перед началом работы.
6.2.1 Привести в порядок спецодежду: застегнуть обшлаги рукавов, заправить одежду так, чтобы не было свисающих концов, убрать волосы под плотно облегающий головной убор.
6.2.2 Проверить наличие, исправность слесарного инструмента, приспособлений и средств индивидуальной защиты, а именно:
- гаечные ключи должны соответствовать размерам гаек и головок болтов, не иметь трещин и забоин. Плоскости зева должны быть параллельны и не иметь выработки;
- лезвие отвертки по толщине должно соответствовать ширине шлица у головки винта;
- слесарные тиски должны быть в полной исправности, крепко захватывать зажимаемое изделие и иметь на губках несработанную насечку;
- слесарные молотки и кувалды должны иметь слегка выпуклую не косую и не сбитую, без трещин поверхность бойка, надежно закреплены на рукоятках путем расклинивания и не иметь наклепа. Ручки молотков и кувалд должны иметь гладкую поверхность овального сечения с незначительным утолщением к ее свободному концу и быть изготовленными из древесины твердых и вязких пород сухого дерева (кизила, бука, молодого дуба). Длина
ручек слесарных молотков должна быть в пределах 300…400мм в зависимости от веса;
- ударные инструменты (зубила, бородки, просечки и т.д.) не должны иметь трещин, заусенец и наклепа. Длина зубила должна быть не меньше 150 мм.
6.2.3 Убедиться в том, что рабочее место достаточно освещено, проверить есть ли на лампе защитная сетка, исправен ли шнур и изоляционная резиновая трубка. Напряжение переносных электроламп должно быть не выше 42 В.
6.2.4 Проверить, чтобы пол был не скользкий, в противном случае потребовать его уборки
6.2.5 Проверить исправность оборудования и приспособлений:
- гидравлические и пневматические подъемники и домкраты должны иметь плотные соединения, исключающие вытекание жидкости или воздуха из рабочих цилиндров и трубопроводов во время перемещения груза, а также должны обеспечивать постепенное и плавное опускание штока под нагрузкой;
- неисправное оборудование должно быть отключено и на нем должна быть вывешена табличка, что работать на данном оборудовании не разрешается.
6.2.6 Проверить целостность видимой части контура заземления
6.2.7 Слить воду из отстойников воздушной сети, проверить наличие фильтров и наличие смазки в системе воздухопритока для работы с пневмоинструментом
6.2.8 Убедиться в наличии поверки и исправности оборудования.
6.2.9 Обо всех обнаруженных неисправностях сообщить мастеру и не приступать к работе до их устранения.
6.3 Требования безопасности во время выполнения работ
6.3.1 Работы по проведению ремонта автомобилей производить только на эстакаде или подъемнике.
6.3.2 Перед установкой на пост технического обслуживания (ТО) и технического ремонта (ТР), автомобиль следует очистить от грязи, снега и вымыть.
6.3.3 Автомобиль, установленный на напольный пост для проведения ТО и ТР, необходимо надежно закрепить, колеса затормозить стояночным тормозом.
6.3.4 При обслуживании автомобиля с помощью подъемника на механизм управления подъемником необходимо навесить табличку с надписью «Не трогать работают люди».
6.3.5 Во время работы быть внимательным, не отвлекаться и не отвлекать других.
6.3.6 Не допускать на свое рабочее место лиц, не имеющих отношения к выполняемой работе.
6.3.7 Подъем и транспортировку подъемно-транспортными средствами необходимо осуществлять с помощью специальных приспособлений, при этом строповка грузов, должна производиться согласно схемы, предусмотренной для каждого вида работ.
6.3.8 Снятие с автомобиля деталей и агрегатов, заполненных жидкостями, следует производить только после удаления этих жидкостей.
6.3.9 Мойку и чистку двигателя, деталей и агрегатов автомобиля следует производить в специальных моечных устройствах.
6.3.10 Не допускается отвертывание гаек ударами молотка по ключу, либо с применением зубила.
6.3.11 Очищать и промывать детали только в резиновых или поливиниловых перчатках, которые перед снятием с рук следует вымыть водой с мылом.
6.3.12 При испытании двигателя или обкатке на стенде, запрещается касаться вращающихся частей двигателя.
3.13 Пуск двигателя автомобиля следует производить при условии обеспечения безопасности работающих с данным автомобилем, а также лиц, находящихся вблизи него.
6.3.14 ТО и ТР автомобиля следует осуществлять при неработающем двигателе, за исключением ТО и ТР оговоренного технологическим процессом.
6.3.15 Испытание тормозов автомобиля необходимо осуществлять на стенде. Допускается проведение испытания на специальной площадке. При этом она должна быть ограждена, чтобы обеспечить безопасность людей и автомобилей.
6.3.16 Аккумуляторные батареи следует снимать и устанавливать с помощью специальных устройств, исключающих падение аккумуляторных батарей.
6.3.17 Все работы, связанные с ремонтом и обслуживанием аккумуляторных батарей, необходимо проводить в специальных помещениях.
6.3.18 При работе на подъемнике:
- не поднимать автомобиль, масса которого превышает допустимую грузоподъемность подъемника;
- не находиться в автомобиле, под ним или в зоне возможного падения во время подъема или опускания;
- подъемник использовать по назначению;
- не производить какие-либо работы с подъемником и его механизмами управления при поднятом автомобиле;
- в случае возникновения какой-либо опасности при подъеме или опускании автомобиля, немедленно остановить подъемник;
- не производить подъем автомобиля с работающим двигателем;
- при появлении течи в соединениях гидросистемы гидравлических подъемников немедленно прекратить эксплуатацию подъемника до устранения течи.
6.3.19 Слив ГСМ из агрегатов автомобиля производить только в специальную тару. Случайно пролитое масло на пол немедленно засыпать опилками или сухим песком и убрать в специально отведенную закрытую емкость.
6.3.20 Антифриз и тормозную жидкость следует хранить, наливать, сливать и перевозить только в специальных герметичных емкостях, на которых имеется несмываемая надпись написанная большими буквами «ЯД»
6.3.21 Слитый из системы охлаждения двигателя антифриз должен быть сдан по акту на склад для хранения.
6.3.22 Перед заправкой системы охлаждения двигателя антифризом необходимо:
- убедиться в отсутствии течи в системе, а при ее наличии необходимо ликвидировать ее;
- промыть систему охлаждения чистой горячей водой.
6.3.23 После каждой операции с тормозной жидкостью и антифризом необходимо тщательно вымыть руки водой с мылом.
6.3.24 Использованный обтирочный материал собирать в специально установленные металлические ящики с крышками.
6.3.25 Если руки или спецодежда смочены бензином, не подходить к открытому огню, не курить и не зажигать спички.
6.3.26 К работе с электротельфером, кран-балкой допускаются лица прошедшие специальное обучение и имеющие удостоверение. При работе выполнять все требования инструкции по охране труда для лиц работающих на механизмах, управляемых с пола.
6.3.27 При работе с переносной электродрелью, гайковертом соблюдать инструкцию по охране труда для работающих с электроинструментом.
6.3.28 Работая у верстака, следить за тем, чтобы поверхность его была гладкой, не имела заусениц.
6.3.29 При работе с пневматическим инструментом подавать воздух разрешается только после установки инструмента в рабочее положение.
6.3.30 Запрещается направлять струю воздуха на себя или на других.
6.4 Требования безопасности по окончанию работы
6.4.1 Привести в порядок рабочее место, сложить инструменты и приспособления.
6.4.2 Если автомобиль остается на подставках, проверить надежность его установки.
6.4.3 Если автомобиль, узлы и агрегаты в поднятом положении на грузоподъемных механизмах их необходимо опусть.
6.4.4 Отключить оборудование от источников энергии.
6.4.5 Отключить освещение, перекрыть трубопровод сжатого воздуха.
6.4.6 Доложить мастеру о всех неисправностях, возникших во время работы.
6.4.7 Вымыть руки теплой водой с мылом, принять душ после окончания рабочей смены.
6.5. Требования безопасности в аварийных ситуациях
6.5.1 При возникновении аварийной ситуации (взрыв, пожар, наводнение, землетрясение и т.д.) персонал подразделения действует в строгом соответствии с утвержденным планом эвакуации. 5.2 Поставить в известность мастера, руководителя предприятия о характере и месте аварии.
6.5.3 Включить аварийную сигнализацию, средства противоаварийной защиты.
6.5.4 Принять меры по ликвидации очага аварии, используя первичные средства пожаротушения и штатный инвентарь.
6.5.5 Выключить работающее оборудование.
6.5.6 Удалить автомобили за пределы опасной зоны.
6.5.7 В случае необходимости оказать первую медицинскую помощь пострадавшим во время аварии.
6.6 Требования техники безопасности при работе с прибором “Launch 602A”
6.6.1 Требования по безопасности перед началом работы.
1. Провести осмотр рабочего места, убрать предметы которые не имеют отношения к технологическом процессу.
2. Проверить исправность оборудования.
3. Площадка стенда должна быть чистой.
4. Проверить наличие диэлектрических ковриков около электрического стенда.
5. Подключить стенд к действующей системе питания.
6. Проверить наличие приспособлений для пожаротушения и работоспособность вентиляции на рабочем месте.
7. Проверить исправность выключателей и других приборов управления стендом.
8. Проверить работоспособность вытяжной вентиляции участка.
9. Обо всех выявленных неисправностях и отклонениях от нормальной работы оборудования, приборов и инструментов сообщить главному мастеру.
6.6.2 Требования безопасности во время выполнения работ.
1. Обеспечить использование стенда только по назначению.
2. В зоне опасности около стенда во время его работы никто не должен находится.
3. Не допускать наличие открытого огня в зоне работы стенда.
4. Не проводить никаких регулировочных или профилактических работ на работающем стенде или около него.
5. Не оставлять стенд без присмотра во время работы.
6. Не допускать попадания влаги и мусора на роботающий стенд.
6.6.3 Требования безопасности после окончания работ.
1. Отключить оборудование от электрической сети.
2. Навести порядок на рабочем месте.
3. Вымыть руки и лицо теплой водой с мылом.
4. сообщить главному мастеру обо всех неполадках, выявленных во время работы.
6.6.4 Требования безопасности в аварийных ситуациях.
1. При поражении электрическим током необходимо:
-отстранить организм потерпевшего от действия электрического тока;
-немедленно сообщить главному мастеру или другому руководителю;
-оказать потерпевшему первую медицинскую помощь.
2. При возникновении пожара необходимо:
-закончить все работы, приступить к гашению пожара имеющимися средствами пожаротушения, которые есть на рабочем месте (огнетушитель, пожарный кран);
-немедленно сообщить главному мастеру или др. руководителю;
-при необходимости, отключить электроэнергию;
-вывести людей из помещения;
-при необходимости вызвать городскую пожарную охрану.
7. ТЕХНИКО ЭКОНОМИЧЕСКАЯ ОЦЕНКА ПРОЕКТА
В этом разделе я привожу экономическое обоснование использования нашей установки. В первую очередь нашу установку возможно использовать как диагностическую, так и в качестве учебного пособия для младших курсов. На установке можно произвести не только диагностику самих форсунок, а и такие элементы двигателя как: электронный блок управления, топливный насос, регулятор давления топлива, расходомер топлива, датчик частоты вращения коленчатого вала. Я имею опыт работ на СТО «Мотор Сан».
На вышеуказанной СТО используется стенд для очистки форсунок “Launch 602A”, производства Китая.
Рисунок 7.1 Стенд для очистки форсунок “Launch 602A”
7.1 Расчет окупаемости затрат по предложенному методу
Материальные затраты на проведение очистки форсунок:
Моющая жидкость расфасованная в ёмкость объёмом 1л стоимостью 120 грн
Расход жидкости за 1 промывочный цикл (четырех цилиндрового двигателя объёмом до 2,5 л) составляет 300 мл
Потраченное количество нормо-часов 1.2 часа
Стоимость нормо- часа на СТО «МОТОР САН» 100 грн/ч
Установка для промывки бензиновых форсунок стоимостью 8500 грн.
Стоимость очистки форсунок на стенде, на СТО составляет: (стоимость операции + стоимость использованной жидкости * 20% НДС)
Р=(120грн + 40грн)*20% =200 (7.1)
Что приблизительно равно средней стоимости операции по Украине.
V=200 30 40 = 130 (7.2)
V - прибыль от операции.
Окупаемость данного стенда составляет:
8500/130 = 65
Приблизительно 65 70 циклов промывки 4 х цилиндрового двигателя необходимо, для того чтобы стенд окупился.
7.2 Расчет целесообразности своевременной очистки форсунок
Если учесть, что новая форсунка автомобиля “Seat”, с двигателем объемом 1,6 л. стоит 860 грн., комплект форсунок будет стоить 3440 грн. Стоимость работ по очистке форсунок варьируется в пределах 200 250 грн. (для четырех цилиндрового двигателя). Стоимость работ зависит от трудоемкости работ по демонтажу/монтажу топливной рампы.
Сервисной книжкой автомобиля “Seat” рекомендуется производить чистку форсунок при прохождении четвертого ТО, что соответствует 60000 км пробега. Мы же рекомендуем это проводить при 3 ТО (45000), в связи с плохим качеством нашего бензина.
ВЫВОДЫ ПО ПРОДЕЛАННОЙ РАБОТЕ
В результате восстановления трех комплектов форсунок обнаружено, что статическая и динамическая продуктивность не отвечают один одному. Логично, что в динамическом режиме пропускная способность меньше, чем в статическом. Если в выходном состоянии комплект форсунок был с одинаковым поправочным коэффициентом, то в процессе эксплуатации изменяется и равняется >1или < 1. Проанализировав таблицы восстановления форсунок, можно увидеть описанное явление. Отсюда можно сделать вывод, что при диагностировании и очистке нужно проверять пропускную способность, как в статическом, так и в динамическом режиме. По этим причинам некоторые фирмы изготовители выпускают установки, в которых предусмотрены различные режимы работы двигателя, то есть прибор имитирует режим работы двигателя на холостом ходу, при частичной нагрузке, при полной нагрузке и следить за тем, как ведут себя форсунки в этих режимах. На установке в режиме восстановления была установлена повышенная частота. В режиме динамической проверки установили промежуточный режим, которые отвечают реальным режимам работы двигателя и именно на этих режимах выяснилось, что при удовлетворительной пропускной способности форсунок в статическом режиме и в динамическом режиме дают большое разброс значений. Поэтому необходимо проверять пропускную способность форсунок в статическом и в динамическом режиме.
Как было отмечено ранее комплект форсунок №2 восстановить не удалось, а комплекты №1 и №3 восстановили с применением комбинированного метода. Это свидельствует о том, что эти комплекты были сравнительно чистыми. Ультразвуковой метод очистки обеспечивает достаточно высокое качество, хотя и не самый дешевый. Но это все равно дешевле, чем покупать новый комплект форсунок. Если говорить про ультразвуковую установку, то она позитивна во всех отношениях, но дорогая. Данный метод обеспечивает достаточно высокое качество очистки форсунок от карбонизации. Но не всякий метод обеспечивает быструю и эффективную очистку от загрязнений проточной части, поэтому полную очистку проточной части от загрязнения без удаления фильтра невозможно. Для экспериментов брались реальные эксплуатируемые автомобили. Снять фильтр, означало бы заменить его на новый, у нас на это возможности не было. Рекомендуется очистка форсунок с удалением фильтров. Также рекомендуется установить ультразвуковой излучатель прямо на рампе. Сделать стенд для очистки форсунок универсульным Это позволит производить не только диагностику форсунок, а и очистку комбинированным методом. Это в свою очередь позволит сократить время на промежуточные операции по перестановке форсунок с одного стенда на другой.
ПЕРЕЧЕНЬ ССЫЛОК
- Пойда А.Н., Аверьянова Н.В. Метод выключения цилиндров в диагностировании форсунок систем впрыскивания бензина. // Вестник НТУ”ХПИ”. Харьков: НТУ”ХПИ”. 2001. №1. C. 124130.
- Фартушняк І. Ніщо не вічне під капотом // Сигнал. 1999. №9. С.34 35.
- Автомобильный справочник Bosch. М.: Изд-во «За рулем», 1999.- 896 с.
- Autodata. Системы управления двигателем. Системы впрыска и зажигания бензиновых двигателей. Том 6. Диагностика и проверка узлов автомобилей выпуска 1992 96 гг. М.: «Легион», 1998. 832 с. Autodata Limited, England.
- Гост 2041775. Виды систем диагностирования. М.: Изд-во стандартов, 1975. 20 с.
- Гост 2091189. Техническая диагностика. Термины и определения.М.: Изд-во стандартов, 1989. 20 с.
- Двигатель ВАЗ 2111 с системой распределенного впрыска топлива: Руководство по техническому обслуживанию и ремонту.- М.: Изд-во За рулем, 2000.- 104 с.
- Покровский Г. П. Электроника в системах подачи топлива автомобильных двигателей. М.: Машиностроение, 1990. 176 с.
- Дьяченко В. Г. Перспективы развития бензиновых двигателей с системами впрыскивания // Двигателестроение. 1990.- № 3. С. 19 21.
- Диагностическое и гаражное оборудование для станций технического обслуживания автомобилей. Информационные листы и каталоги представительства концерна Роберт Бош Лтд в Украине. Киев, 2000.
- Каталог оборудования Bosch/ Автомобильное и гаражное оборудование. Киев: “Роберт Бош, Лтд.”. 2004. 60 с.
- Пинский Ф. И., Давтян Р. И., Черняк Б. Я. Микропроцессорные системы управления автомобильными двигателями внутреннего сгорания.
- Пинский Ф. И., Кузин В. Е. Электроимпульсный метод управления законом подачи топлива // Двигателестроение. 1984. № 8. С. 21 22
- Руководство по эксплуатации стенда для очистки форсунок “Launch 602A”
PAGE \* MERGEFORMAT 6