Дослідження розсіяння поляризованого випромінювання тонкими плівками прополісу та нітрид титану
РЕФЕРАТ
В роботі наведені результати експериментального дослідження розсіяння поляризованого випромінювання тонкими плівками прополісу та нітрид титану. При цьому проведений аналітичний огляд науково-технічної літератури стосовно вказаних обєктів, які на даний час являються досить актуальними для реалізації окремих елементів гетероконтакту у фотодетекторах. Розглянуті питання оцінки залежності характеристик розсіяного тонкими плівками випромінювання від форми поляризації падаючого та оцінки «стійкості» світлових потоків різних форм поляризації.
Кількість: сторінок - 63, рисунків - 43, таблиць -1, джерел літератури 19.
Ключові слова: лінійна поляризація, прополіс, гетероструктура, фотодетектори, кутовий розподіл, нітрид титану, еліптичність.
ЗМІСТ
ВСТУП
СПИСОК УМОВНИХ ПОЗНАЧЕНЬ, ТЕРМІНІВ ТА СКОРОЧЕНЬ
1. АНАЛІТИЧНО-ОГЛЯДОВА ЧАСТИНА
1. 1 Поляризація оптичного випромінювання
1. 1. 1. Поняття поляризованого випромінювання
1. 1. 2. Опис поляризаційних параметрів випромінювання
1. 1. 3. Поляризацiйнi властивостi когерентного випромiнювання при багаторазовому розсiюваннi
1. 2. Тонкі плівки
1. 2. 1. Структурна модель тонких плівок
1. 2. 2. Дифузне розсіювання носіїв заряду. Залишкова рухливість. Мозаїчні плівки
1. 2. 3. Полікристалічні плівки
1. 2. 4. Розсіювання на дислокаціях невідповідності. Гетероструктури
1. 3. Властивості тонких плівок нітриду титану (TiN) та їх використання
1. 3. 1. Оптичні властивості тонких плівок ТіN
1. 3. 2. Дослідження поверхневої морфології тонких плівок ТіN
1. 3. 3. Оптичні константи та коефіцієнти тонких плівок ТіN
1. 3. 4. Механічні властивості нанокерамікі на основі TiN
1. 4. Прополіс
1. 4. 1. Хімічний склад прополіса
1. 4. 2. Електрофізичні та сорбційні характеристики
2. ПРАКТИЧНА ЧАСТИНА
2. 1. Опис експериментальної установки
2. 2. Методика вимірювання параметрів Стокса
2. 3. Умови проведення досліджень
2. 4. Графіки по результатам проведених досліджень
2. 5. Аналіз отриманих результатів експерименту
3. ТЕХНІКА БЕЗПЕКИ ПРИ РОБОТІ З ЛАЗЕРАМИ
3. 1. Основні правила техніки безпеки
ВИСНОВОК
СПИСОК ЛІТЕРАТУРИ
ВСТУП
В останні роки проводиться інтенсивний пошук і дослідження різних перспективних матеріалів і структур на їх основі, для застосування у фотоелектричних пристроях. Використання гетероструктур для виготовлення фотоелектричних перетворювачів розширює їх функціональні можливості і підвищує експлуатаційні характеристики в порівнянні з фотоелектричними приладами на основі гомопереходів [1-4].При цьому, в якості матеріалу окремих елементів гетероструктури досить широко використовують як органічні матеріали (наприклад, прополіс), так і напівпровідникові плівки різного типу. Серед них, в останні роки широко застосовується нітрид титану.
Нітрид титану (TiN) - це перспективний широкозонний матеріал, який володіє вдалою сукупністю фізико-хімічних параметрів: низький питомий опір, досить високий коефіцієнт пропускання у видимій частині спектру, високий коефіцієнт відбивання в інфрачервоній частині спектра, висока твердість, висока зносостійкість, хороша хімічна інертність і стійкість до корозії [5-8].
Якщо говорити про прополіс, то на даний час у науковій літературі все більше уваги приділяється питанням можливості використання органічних речовин при створенні нового класу гібридних пристроїв “органічна речовина-напівпровідник” для перетворення електромагнітного випромінювання.
В даній магістерській роботі наведений аналітичний огляд науково-технічної літератури стосовно використання органічної речовини природного походження прополісу,а також нітрида титану (TiN), як перспективних для фотоелектроніки матеріалів та представлені результати експериментального дослідження розсіювання поляризованого випромінювання вказаними обєктами, шо і являється метою цієї магістерської роботи. Актуальність подібних досліджень пояснюється практично відсутністю науково обґрунтованої інформації стосовно залежності інтегральної та спектральної чутливості фотоприймачів від типу і форми падаючого на них світлового потоку.
Для досягнення вказаної мети були поставлені наступні задачі:
1. Провести аналітичний огляд науково-технічної літератури стосовно тематики магістерської роботи;
2. Освоїти методику експериментального дослідження поляризаційних характеристик випромінювання розсіяного тонкими плівками;
3. Провести юстування експериментальної установки та окремі виміри на контрольних об`єктах
4. Провести комплекс запланованих експериментальних вимірювань використовуючи тонкі плівки прополіса та TiN при різних формах поляризації падаючого випромінювання;
5. Провести аналіз отриманих результатів і сформулювати відповідні висновки.
СПИСОК УМОВНИХ ПОЗНАЧЕНЬ, ТЕРМІНІВ ТА СКОРОЧЕНЬ
ГК гетеро контакт
Р прополіс
СРР спиртовий розчин прополісу
eV електрон вольт
ПВ плівковий варіант
ВАХ вольтамперна характеристика
ВФХ вольт-фарадна характеристика
довжина хвилі
електропровідність
1. АНАЛІТИЧНО-ОГЛЯДОВА ЧАСТИНА
1. 1. Поляризація оптичного випромінювання
1. 1. 1. Поняття поляризованого випромінювання
При проходженні випромінювання крізь оптичні середовища воно поляризується внаслідок специфіки процесів дисперсії, відбивання, заломлення, розсіювання. У той же час випромінювання з різним станом поляризації буде по-різному взаємодіяти з самим середовищем. Тому питання поляризації займають важливе місце в теорії поширення світла, кристалооптиці, розсіянні світла, являють собою фундаментальні основи, на яких базуються еліпсометричні дослідження.
Розглянемо можливі стани поляризації плоскої гармонічної хвилі у ізотропному однорідному середовищі , яка задовольняє рівнянням Максвела; - комплексна амплітуда, = - хвильовий вектор, i - нормаль до площини рівних фаз, - радіус вектор, w=2 - кругова частота. Якщо хвиля поширюється в напрямку осі z (), то електричний () і магнітний () вектори, складові електромагнітної хвилі, розміщуються в площині, перпендикулярній напрямку розповсюдження (вісь z) і звязані між собою рівнянням :
= =. (1.1)
де і µ відповідно діелектричні і магнітні проникності середовища.
Внаслідок попередності поля, складові рівні нулю і зміни декартових компонент векторів і описуються функціями типу
Re=a, а, де ==t-z, (1.2)
початкова фаза хвилі.
Для спрощення нехай z = 0, тоді
=, = (1.3)
і початкові фази для x і y складових.
Поляризацію хвилі буде визначати певна зміна в просторі її складових електричних і магнітних векторів. Знайдемо геометричне місце точок, що описує кінець електричного вектора в просторі за час 1/. Для цього виключимо із рівняння (1.3) часову складову t, зробивши ряд перетворень:
/=-, (1.4)
/=-;
Після множення на або , або і віднімання
-= - ,
-= - . (1.5)
Підносячи до квадрату кожну із рівностей (1.5) і склавши їх, отримаємо:
- , (1.6)
Рівняння (1.6) є рівнянням канонічного перерізу. Оскільки його детермінант
То це буде рівняння еліпса, вписаного в прямокутник із сторонами 22
Таку хвилю називають еліптично поляризованою. Якщо дивитись вздовж променя, то обертання проти годинникової стрілки називають лівоциркулярним, а за годинниковою стрілкою правоциркулярним. Очевидно, що кінець магнітного вектора також описує еліпс, так як у відповідності з (1.1)
= - = (1.7)
Еліпс поляризації можна описати двома способами: у системі координат x, y або у системі звязаній з еліпсом, яка задається напрямками його великої і малої на півосей Х та Х+/2. Площина, що проходить через вісь х (орт q) і вісь z , називається площиною референції або площиною відліку. У першій системі (лабораторна x, y) еліпс поляризації характеризується кутами і (=arctg/), у другій кутами Х , ( =). Ці системи рівноправні і між їх кутовими параметрами існує певний зв'язок. Кут Х називається азимутом, кут еліптичністю. Знак «плюс» береться для право циркулярного світла, «мінус» - для лівоциркулярного. Зв'язок між введеними еліпсометричними параметрами встановлюється на основі вимог ідентичності рівняння коливань електричного вектора, представлених у системі х, у (вираз1.2) і Х, Х+/2.
=a=cos , (1.8)
=b=
або
+ =1; (1.9)
a, b - велика і мала півосі еліпса. Зміст амплітуди легко зрозуміти із визначення повної інтенсивності:
І=+=+=+, тобто . У відповідності з рисунком (1.1) маємо:
cos += -+. (1.10)
Підставляючи значення , у (1.9) і порівнюючи одержаний результат з виразом (1.6) отримуємо зв'язок між параметрами еліпса і ряд характерних співвідношень(1.1115):
=- , (1.11)
, (1.12)
(1.13)
, (1.14)
=(), = ab,
2 , (1.15)
Знак величини вибирається таким, щоб добуток був додатним, тому що ab > 0. Для лівоциркулярного світла - відємне, для правоциркулярного - додатнє. Експериментально легше визначаються параметри . Перехід до параметрів відбувається згідно з формулами (1.11), (1.12). Границі зміни параметрів еліпса поляризації слідуючі:
(
)- довільне, 0/2 , (1.16)
0, /4/4.
Введені параметри еліпса поляризації одержані при розгляді ідеального пучка плоскої монохроматичної хвилі з нескінченним хвильовим цугом.
В кожному із цугів хвиль, що проходять різниця фаз коливань у двох ортогональних напрямках і відношення амплітуд будуть постійними, тобто кути еліпса поляризації для них залишаться незмінними. На практиці такі пучки одержують при пропусканні квазімонозроматичного випромінювання скрізь поляризаційні пристрої.
1. 1. 2. Опис поляризаційних параметрів випромінювання
При описанні взаємодії оптичного випромінювання з дисперсним середовищем з врахуванням його поляризації широко застосовується формалізм, який базується на стоксових векторах [9, 10], елементи яких можна записати у вигляді:
(1.17)
де і - комплексні осцілюючі функції електричного вектора перпендикулярно напрямку розповсюдження хвилі, а скобки означають усереднення по часу.
Чотири параметри Стокса можна розглядати як компоненти єдиного вектор-параметру в чотирьохмірному функціональному просторі з записом у вигляді:
(1.18)
Перший параметр дорівнює сумі інтенсивностей горизонтальної та вертикальної поляризації і являє собою загальну інтенсивність, тобто . Параметр називається параметром переважної горизонтальної поляризації і дорівнює . Третій параметр Стокса характеризує надмір інтенсивності з поляризацією під кутом 45° над інтенсивністю під кутом 135°: . , характеризує надмір правоциркулярної поляризації над лівоциркулярною: . Якщо світло повністю поляризоване, то виконується співвідношення , у випадку неполяризованого світла . Нерівність виразу приводить до визначення ступеня поляризації , ступеня лінійної поляризації і ступеня циркулярної поляризації .
1. 1. 3. Поляризацiйнi властивостi когерентного випромiнювання при багаторазовому розсiюваннi
Дослiдження процесiв розсiювання електромагнiтного випромiнювання випадково неоднорiдним середовищем проводилися, як правило, у межах окремих модельних уявлень про процеси свiтлорозсiяння, моделi опису яких розроблялися лише для конкретних типiв оп- тично-неоднорiдних обєктiв (шорсткi поверхнi, обємно розсiюючi шари рiзної товщини) [11, 12]. Проведення порiвняльного аналiзу експериментальних даних було утрудненим через необхiднiсть проведення усереднення великої кiлькостi стохастичних випадкових величин i, крiм того, самi результати часто мали емпiричний характер. Пiзнiше традицiйнi методи оптики розсiюючих середовищ були доповненi та розвиненi сукупнiстю методiв, якi були повязанi з наслiдками когерентностi свiтла, а саме, зi спостереженням випадкових змiн iнтенсивностi поля пiсля проходження когерентної хвилi крiзь випадково-неоднорiдне середовище (так званих спекл-структур).
Напрямок дослiджень, який має назву “оптика спеклiв”, заснований на аналiзi параметрiв модуля амплiтуди i фази випадкових полiв з подальшим пошуком взаємозвязку кореляцiйних статистичних моментiв поля з вiдповiдними статистичними характеристиками фазово-неоднорiдного шару. Зазначенi методи оптики спеклiв були застосованi для розвязання великого кола прикладних задач: для визначення параметрiв мiкрорельєфу; форми дифузних поверхонь; вимiрювання вiдстанi до дифузора; усунення спекл-шуму хвилi, що пройшла крiзь розсiювач; визначення дисперсiї висот нерiвностей шорсткихповерхонь.
Рис. 1. 1. Схема проведення поляризацiйних дослiджень: in, out - кути падiння, дзеркальне вiдбиття, вiдповiдно; - кут розсiяння (напрямок спостереження)
Оптика спеклiв переважно використовує аналiз структури поля, що базується на одержаннi iнформацiї про його амплiтудно-фазовi характеристики, не враховуючи векторної структури поля. Доповнення її поляризацiйними вимiрюваннями виявилося дуже корисним для розвязання ряду задач тестування поверхонь при одноразовому розсiюваннi. Але при багаторазовому розсiюваннi складнiсть вiдповiдних фiзичних механiзмiв стохастичного розсiювання приводить до вiдсутностi однозначних розвязкiв для задач такого типу. В звязку з цим викликає iнтерес побудова простих моделей розсiюючих середовищ, для яких можна знайти аналiтичний розвязок задачi, або звести її до чисельних розрахункiв.
В роботі [11] отриманий розвязок прямої задачi багаторазового розсiювання в рамках запропонованої моделi одноразового розсiювання i дослiджено експериментальні залежності ступеня поляризацiї вiд кратностi актiв розсiяння та кута розсiювання, залежно вiд характеристик набору калiброваних дифузних поверхонь. Такi дослiдження дають можливiсть порiвнювати поляризацiйнi залежностi на кожному етапi збiльшення кратностi розсiювання, що дає додаткову iнформацiю при застосуваннях запропонованої моделi.
Розглянемо основну iдею, що використовувалася при моделюваннi процесу розсiювання оптичного випромiнювання статистично неоднорiдним середовищем. Нехай оптична хвиля пiд деяким, ненульовим, кутом in падає на дифузну гомогенну поверхню RS з заданим показником заломлення n (див. рис. 1. 1.). Якщо поверхня iдеально рiвна, то виникає лише одна хвиля, що поширюється в середовищi зi швидкiстю, яка визначається показником заломлення, i одна вiдбита хвиля, яка йде у зворотному напрямку до джерела випромiнювання. У випадку, коли поверхня є шорсткою, вiдбивання i заломлення матиме стохастичний характер i виникнуть компоненти, якi розповсюджуються у недзеркальному напрямку.
В теоретичних розрахунках метод кореляцiйної матрицi є найбiльш доцiльним при дослiдженнi поляризацiйних властивостей розсiяного випромiнювання. В цьому випадку розгляд поширення електромагнiтних хвиль проводиться як лiнiйне iнтегральне перетворення з ядром, параметри якого визначаються статистичними параметрами середовища. Головною перевагою цього метода є те, що для нього не iснує суттєвої рiзницi при описi процесiв в каналi поширення, де випадковими параметрами будуть виступати неоднорiдностi, викликанi флуктуацiями рельєфу або флуктуацiями показника заломлення.
Для експериментального вивчення залежностi кратностi розсiяння i посилення ефекту деполяризацiї було використано багатошарове середовище, кiлькiсть шарiв якого можна було змiнювати. Тим самим забезпечувалася можливiсть здiйснення плавного переходу вiд одноразового до багаторазового розсiювання експериментально з використанням одного i того ж модельного пiдходу для кожного наступного шару. Зауважимо, що всi зразки були виготовленi в одному технологiчному процесi та мали iдентичнi розмiри дисперсiї висот та радiусу кореляцiї, що свiдчить також про iдентичнiсть шарiв за статистикою (гауссiвською для матового скла). Це дозволило ранiше говорити про кратнiсть розсiяння для середовища з однаковими статистичними характеристиками. Термiн “кратнiсть розсiювання” повязаний саме з кiлькiстю границь середовища.

Рис. 1. 2. Кутовi залежностi ступеня поляризацiї:
а - вiдбитої хвилi залежно вiд кiлькостi розсiюючих шарiв (крапки - експериментальнi значення; лiнiї - теоретично розрахованi залежностi); б - заломленої хвилi (1 - один розсiючий шар; 2 - три розсiючих шари; 3 - пять розсiючих шарiв; 4 - сiм розсiючих шарiв; 5 - вiсiм розсiючих шарiв)
Кутовi залежностi ступеня поляризацiї вiдбитої компоненти зображено на рис. 1.2., а. Видно, що, починаючи з деякої кiлькостi шарiв, рiвень поляризацiї вже не є функцiєю кiлькості розсiюючих поверхонь (для 7 та 8 розсiюючих шарiв залежностi збiгаються). Спостерiгається ефект насичення деполяризацiї вiдбитої компоненти при деякiй кiлькостi шарiв, що визначається показником заломлення розсiюючого середовища. Це можна пояснити присутнiстю майже поляризованої компоненти, зумовленої вiдбиттям вiд декiлькох перших границь багатошарової структури. Iнтенсивностi цих компонент складають значну частку падаючого променя [11]. В результатi, рiвень поляризацiї сумарного вiдбитого випромiнювання залишається досить великим навiть при великому числi границь подiлу. Це свiдчить про те, що при розрахунках або експериментальних тестуваннях поверхонь досить враховувати тiльки 8 границь подiлу (для вказаного показника заломлення) i подальше врахування не дасть iстотної змiни результатiв. При збiльшеннi показника заломлення можна очiкувати, що ефект насичення вiдбувається при меншiй кiлькостi шарiв.
На рис. 1.2., б показано кутовi залежностi ступеня поляризацiї заломленої хвилi.
Заломлена компонента спочатку (для деякої кiлькостi шарiв) залишається майже повнiстю поляризованою, а при збiльшеннi кiлькостi шарiв вiдбувається повна деполяризацiя оптичного випромiнювання. На вiдмiну вiд вiдбитої хвилi, в даному випадку не спостерiгається ефекту “насичення” деполяризацiї розсiяного випромiнювання.
Як для заломленої, так i для вiдбитої хвиль при кутах > 35 спостерiгається подальше зменшення ступеня поляризацiї до повної деполяризацiї розсiяних хвиль. Збiльшення кiлькостi шарiв у випадку заломленої хвилi знижує ступiнь поляризацiї i, вiдповiдно, понижує кут, при якому спостерiгається повна деполяризацiя розсiяного випромiнювання.
Проведенi експериментальнi дослiдження i теоретичнi розрахунки показали адекватнiсть запропонованої моделi при переходi вiд одноразового до багаторазового розсiювання. Отриманi кутовi залежностi виявили ефект насичення поляризацiї вiдбитої компоненти при кiлькостi шарiв, що визначається спiввiдношеннями мiж показниками заломлення, кутами падiння та розсiяння i залежить вiд довжини хвилi зондуючого випромiнювання. Саме виявлення цiєї особливостi дозволяє побудувати теоретичну модель ока людини i визначити методику вимiрювання аберацiй в цiй оптичнiй системi.
1. 2. Тонкі плівки
1. 2. 1. Структурна модель тонких плівок
У загальному випадку тонку плівку, осаджену на підкладку різними методами [2], можна уявити як складну багатофазну систему до якої входять міжфазні межі ("плівка-підкладка" або "плівка- вакуум (повітря, газ)") та міжзеренні межі (рис. 1.3.)[13]. Зауважимо, що важливими технологічними факторами при вирощуванні плівок методом осадження із парової фази, що знайшов широке використання для халькогенідів свинцю, є температура випаровування наважки і осадження (підкладки), вид самої підкладки (монокристал, полікристал, аморфна), стан її поверхні, склад залишкових газів у вакуумній системі при осадженні, а також товщина (d) плівки та багато інших [13].
Якщо для міжфазних меж важливим параметром плівок є їх товщина, то для міжзеренних меж розмір кристалітів D. Так, зокрема, якщо D>>d, тоді вплив міжзеренних меж незначний, а при D>>d суттєвої ролі не відіграє поверхня плівок.

Рис. 1. 3. Схема міжфазних і міжзеренних меж в тонкоплівковій структурі [4].
1. 2. 2. Дифузне розсіювання носіїв заряду. Залишкова рухливість. Мозаїчні плівки
Якщо дзеркальне розсіювання зводиться тільки до зміни знаку нормальної до поверхні компоненти швидкості носіїв заряду, то у випадку повністю дифузного розсіювання змінюється і тангенціальна компонента швидкості [30]. При цьому сама швидкість набуває будь-якого напрямку у межах півкулі, описаної на поверхні напівпровідника. Стає зрозумілим, що за умови відсутності захоплення носіїв заряду на поверхні, повністю дифузне розсіювання описує максимально можливий вплив поверхні на їх рухливість.
У мозаїчних плівках (рис. 1. 3.) слід враховувати розсіювання носіїв як на міжфазних, так і на міжзеренних межах, а такж різних структурних дефектах. Всі відзначені фактори, по відношенню до масивних монокристалів (µµ), визначають так звану залишкову провідність (µз).

Рис. 1. 4. Мікроструктура плівок PbSe на сколах (100) KCl [2].
На рис. 1. 5. представлено розділені поверхнева і залишкова рухливості для мозаїчних плівок PbTe від товщини [14]. Зауважимо, що для d < 0,1 мкм розрахована поверхнева рухливість µп добре співпадає із експериментом (рис. 1. 5. - крива 1). За умови реалізації розсіювання носіїв заряду на міжзеоенних межах при товщина плівок більших за 0,1 мкм (рис. 1. 5. - крива 2) розраховано залежність середніх лінійних розмірів зерен D у плівках від товщини d (рис. 1. 6.). Встановлено, що їх значення зростають із товщиною плівок за законом D = 3,8-10-5 d1/3, що знаходиться у погодженні з експериментом.

Рис. 1. 5. Залежність рухливості носіїв струму (µ) плівок РЬТе від товщини (d): о - експеримент; 1, 2 - розраховані значення поверхневої (µП - 1) і міжзеренної (µз - 2) рухливостей [15].

Рис. 1. 6. Залежність лінійних розмірів кристалітів (D) плівок РЬТе від їх товщини (d) [15].
Беручи до уваги, що µv - Т-5/2 (домінує розсіювання на довгохвильових акустичних фононах із врахуванням температурної залежності ефективної маси [15]) для мозаїчних плівок РЬТе отримаємо постійне значення µз. Вважаючи, що основну роль у розсіюванні носіїв струму для мозаїчних плівок відіграють міжзеренні межі, підставивши у вираз знайдене значення µс. µз, і концентрацію носіїв п, отримаємо, що розмір зерен Б складає -250 А. Ця величина узгоджується із середніми відстанями між пустотами у плівці (рис. 1. 3).
1. 2. 3. Полікристалічні плівки
Електротехнічна модель. Тонку полікристалічну плівку можна представити як систему кристалітів у вигляді паралелепіпедів висотою l і основою l1 х l1 які мають міжзеренні межі товщиною h (рис. 10,а) [16,17]. Тоді лінійний розмір самого моноблочного зерна буде дорівнювати di = l1 - 2h, а його опір R0 =0 di -1, де 0 питомий опір кристалітів. Крім того, така електротехнічна комірка буде мати ще чотири опори Rg|| міжзеренних меж, що включені паралельно і два опори Rg послідовних до R0:
(1. 19)
Тут g - питомий опір області міжзеренних меж.
Враховуючи еквівалентну схему, загальний опір кристаліта з міжзеренними межами Re буде визначатися співвідношенням:
(1. 20)

Рис. 1. 7. Модель полікристалічної структури плівок
1. 2. 4. Розсіювання на дислокаціях невідповідності. Гетероструктури.
У епітаксійних гетероструктурах одним із важливих механізмів є розсіювання носіїв заряду на дислокаціях невідповідності (ДН). Як відомо [17], дислокації невідповідності утворюються на міжфазній межі “плівка-плівка” чи “плівка-підкладка” за рахунок різних значень параметра граток. Експериментальне підтвердження дислокацій невідповідності, які виникають на гетеромежі двошарової структури РbТе/РbSе показано на рис. 1. 8. а, б.

Рис. 1. 8. Дислокації невідповідності, отримані за допомогою скануючого тунельного мікроскопа для гетероструктури РbТе/РbSе з орієнтацією кристалографічних площин у напрямку (100):
а - дислокації невідповідності на гетеромежі плівок; б - опис дислокації невідповідності за допомогою вектора Бюргерса рівного = а / 2 < 0 1 1 >, дислокації сформовані в напрямку < 0 1 > [25].
Межі у двофазних епітаксійних структурах можна розглядати як заряджені включення - деякі мікрообласті електростатичного поля, які призводять до зменшення рухливості носіїв заряду. Так, зосереджена дислокація у кристалі n-типу є не що інше як лінійний негативний заряд, навколо якого скупчений позитивний і вже відємний заряд. Носій заряду - електрон, який рухається у електростатичному полі дислокації зазнає розсіювання [34]. Якщо носії заряду рухаються паралельно до дислокацій, то вони будуть захоплюватися акцепторними рівнями і провідність цих носіїв здійснюється через обєм дислокацій. У випадку руху носіїв перпендикулярно до лінійних дефектів, вони будуть розсіюватись циліндрами просторового заряду. Тому необхідно врахувати їхній вплив на транспорт носіїв. За умови, що дислокації невідповідності формують двовимірну сітку циліндрів (рис. 1. 9., а, б) а також, що провідність носіїв заряду вздовж ліній дислокацій рівна провідності, яка перпендикулярна до циліндра просторового заряду і присутній випадковий розподіл дислокацій невідповідності, рухливість носіїв буде визначатись густиною дислокацій, відношенням концентрації носіїв в обємі структури до концентрації всередині циліндра просторового заряду. За умови, що кількісну характеристику густини дислокацій описує величина
(1.21)
то відношення площі поверхні дислокацій до площі поверхні гетерограниці буде визначатися (рис. 1. 9.).

Рис. 1. 9. Геометрична модель дислокацій невідповідності: а - для малої площі зарядженого просторового циліндра дислокацій; б - площа дислокацій є великою. lt - ширина області просторового заряду дислокацій, 10 - міждислокаційна відстань [34].
1. 3. Властивості тонких плівок нітриду титану (TiN) та їх використання
Нітрид титану - бінарна хімічна сполука титану з азотом. Являє собою фазу впровадження з широкою областю гомогенності, яка становить від 10 до 22,6% азоту (за масовою часткою), що можна позначити формулами від TiN0, 60 до TIN1, 0 відповідно [18].
1. 3. 1. Оптичні властивості тонких плівок ТіN
Оптичні спектри пропускання плівок, отриманих при концентрації N2 0,5%, показані на рис. 1.10, на якому спостерігають смугу пропускання у області довжин хвиль (300-1000 нм) і низьке пропускання в області більш високих довжин хвилі [18]. Відсоток пропускання і ширина смуги пропускання збільшується, і пік пропускання зміщується в бік вищих довжин хвилі (376-475 нм) із зменшенням товщини плівок .

Рис. 1. 10. Спектри пропускання плівок, отриманих при концентрації N2
0,5%. На вставці показано зсув довжини хвилі положення піку пропускання від
товщини плівок.
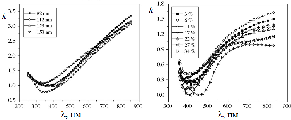
Спектральні залежності оптичних постійних, таких як показник заломлення (n) і показник поглинання (k) плівок TiN, показані на рис. 1.11, 1.12. Показник заломлення n плівок різної товщини отриманих при концентрації N2 0,5 % показує схожу спектральну поведінку і володіє максимумом n при довжині хвилі ~ 300 нм і мінімумом в діапазоні довжин хвиль 500-600 нм.

Рис. 1. 11. Спектральні залежності показник заломлення (n) тонких плівок ТіN.
Показник поглинання k для цих плівок володіє мінімумом в діапазоні довжин хвиль 300-400 нм з різким збільшенням з довжиною хвилі. Також, плівки товщиною 60 нм, які отримувалися при різних концентраціях N2 (3-34%) показали аналогічну спектральну поведінку n з мінімумом і максимумом в діапазонах довжин хвиль 500-530 нм і 372-450 нм відповідно.

Рис. 1.12. Спектральні залежності показник поглинання (k) тонких плівок ТіN.
Приведений літературний огляд свідчить про значну зацікавленість учених з усього світу у дослідженні тонких плівок ТіN з метою використання останніх для виготовлення захисних і декоративних покриттів, електричного контакту в ортопедичних протезах, суперконденсаторів, приладів електроніки і фотовольтаїки. Серед основних висновків до першого розділу слід виділити наступні:
Нітрид титану - це бінарна хімічна сполука титану з азотом, яка являє собою фазу впровадження з широкою областю гомогенності, яка становить від 10 до 22,6% азоту (за масовою часткою), що можна позначити формулами від TiN0, 60 до TIN1, 0 відповідно.
Аналіз фізичних властивостей тонких плівок нітриду титану показав, що тонкі плівки TiN можуть володіти як металевою так і напівпровідниковою провідністю, і які володіють вдалою сукупністю фізико-хімічних параметрів: низький питомий опір, досить високий коефіцієнт пропускання у видимій частині спектру, високий коефіцієнт відбивання в інфрачервоній частині спектра, висока твердість та зносостійкість.
Проаналізовано можливості застосування плівок нітриду титану, та встановлено, що ці плівки в останні роки застосовуються в різноманітних приладах електроніки та фотовольтаїки.
1. 3. 2. Дослідження поверхневої морфології тонких плівок ТіN
Дослідження морфології поверхні тонких плівок ТiN і їх сколу проводилися на електронному скануючому мікроскопі Hitachi S-4l00.
Мікрофотографії поверхні і поперечного перерізу тонких плівок ТiN, нанесених методом реактивного магнетронного розпилення на скляні підкладки показані на рис. 1. 13.

Рис. 1.13. Мікрофотографії тонких плівок ТiN: а) поверхні, б) поперечного перерізу.
Мікрофотографія поверхні рис. 1.13, а) показує досить високу однорідність досліджуваних плівок (відсутні проколи). З мікрофотографії поперечного перерізу (рис. 1.13 б) випливає, що товщина плівки складає ~ 100нм, це значення добре узгоджується з товщиною плівки ~ 100нм, отриманої за допомогою інтерферометра МИИ-4. Ступінчате наростання тонких плівок TiN (рис. 1.13 б) (ступінчастий режим наростання добре узгоджується з [19]) обумовлено тим, що температура підкладки в процесі осадження плівок складає ~ 570 К і є набагато нижчою, ніж температура плавлення TiN ( 3200 К) .
З аналізу рентгенівських дифрактограм для досліджуваних плівок TiN визначені: період гратки а = 0,42 нм, розмір зерен D ~15 нм, значення мікродеформацій - 2,4 • 10-3 і густини дислокацій - 5,8 • 1011 см-2 .
1. 3. 3. Оптичні константи та коефіцієнти тонких плівок ТіN
Оптичні властивості тонких плівок (показник заломлення n(), коефіцієнт поглинання (), коефіцієнт екстинкції k()) можуть бути визначені з незалежних вимірювань коефіцієнтів відбивання і пропускання.
При виконанні умови n2 » k2 коефіцієнт пропускання, для кожного досліджуваного зразка з відповідною товщиною d (за відсутності інтерференції), можна виразити формулою [65]:
(1.22)
Оскільки n2 » k2, тобто ( / 4n) <1, то в області зміни прозорості від (1-R) / (1 + R) до 10% коефіцієнт поглинання можна обчислювати за формулою:
(1.23)
при цьому
(1.24)
Формула (1.24) справедлива в разі нехтування інтерференційними явищами на межі розділу плівка-підкладка, таке нехтування обумовлено відсутністю чітко вираженої інтерференційної картини в спектрах пропускання.
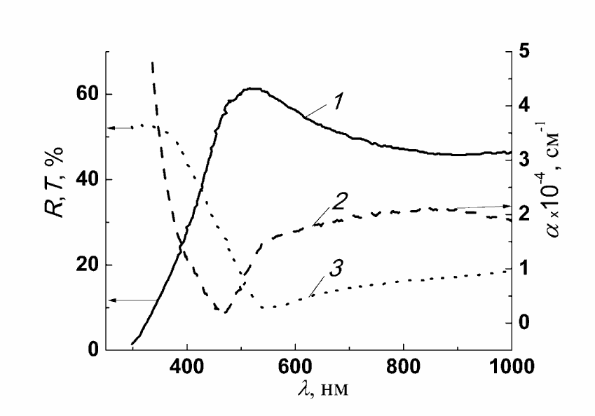
На рис. 1.14 наведені спектри пропускання, відбивання і поглинання тонкої плівки ТіN.

Рис. 1.14. Спектри пропускання - 1, поглинання - 2, відбивання - 3 тонких плівок TiN
З рисунку видно різке збільшення коефіцієнта поглинання поблизу області краю власного поглинання, а також збільшення значення коефіцієнта поглинання при збільшенні довжини хвилі > 500 нм, що обумовлено поглинанням світла вільними носіями заряду.
Вимірявши коефіцієнт відбивання для тонких плівок TiN, можна визначити спектральну залежність показника заломлення n() для досліджуваних тонких плівок, використавши рівняння:
, (1.25)
з якого отримуємо [65]:
(1.26)

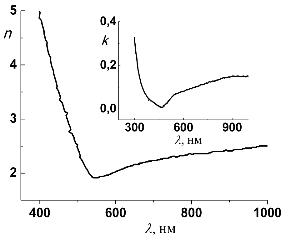
Рис. 1.15. Залежність показника заломлення від довжини хвилі для тонких плівок TiN. На вставці наведено залежність коефіцієнта екстинкції від довжини хвилі для цих же плівок.
Як видно з рис. 1.15 значення показника заломлення n() плівок TiN, розраховані з рівняння (1.26), в області > 500 нм по мірі збільшення довжини хвилі зростають, що обумовлено збільшенням коефіцієнта відбивання в інфрачервоній області спектру. Різке зростання значень показника заломлення при довжинах хвиль < 500 нм обумовлено збільшенням відбивання біля краю власного поглинання тонких плівок нітриду титану.
Коефіцієнт екстинкції можна легко визначити, використовуючи рівняння k() = () / 4[19]. Коефіцієнт екстинкції також різко зростає поблизу області краю власного поглинання досліджуваних плівок (вставка рис. 1.15). Але в області прозорості ( > 500 нм) спостерігається незначне зростання значення показника екстинкції, що обумовлено збільшенням коефіцієнта поглинання.
Встановлено, що коефіцієнт поглинання тонкої плівки ТіN в області власного поглинання добре описується такою залежністю (рис. 1.16):
, (1.27)
де А - деякий коефіцієнт, значення якого залежить від ефективних мас носіїв заряду. Така залежність (h) свідчить про те, що матеріал тонкої плівки ТiN, напиленої методом реактивного магнетронного розпилення при постійній напрузі, є прямозонним напівпровідником. Визначено оптичну ширину забороненої зони тонкої плівки ТіN (Egop = 3,4 еВ) шляхом екстраполяції лінійної ділянки кривої (h)2 = f (hv) до перетину з віссю енергії hv (рис. 1.16).

Рис. 1.16. Графік залежності (h)2 = f (h) для тонких плівок TiN
Мікрофотографії поверхні і поперечного перерізу досліджуваних анізотипних n-TiN/p-CdTe гетеропереходів показані на рис. 1.17.

Рис. 1.17. Мікрофотографії анізотипного гетеропереходу n-TiN/p-CdTe: а) поверхні, б) поперечного перерізу.
Мікрофотографія поверхні (рис. 1.17, а) показує досить високу однорідність плівки (відсутні проколи, а плівка рівномірно повторює поверхню підкладки). На вставці рис. 1.17 а представлено елементний аналіз поверхні гетероперехода n-TiN / p-CdTe, який добре відповідає хімічному складу компонент гетеропереходу, а кисень є фоновою домішкою в плівці ТiN. З мікрофотографії поперечного перерізу (рис. 1.17 б) випливає, що товщина плівки складає ~ 100нм , це значення добре узгоджується з товщиною плівки ~ 100нм, отриманою за допомогою інтерферометра МИИ -4.
1. 3. 4. Механічні властивості нанокерамікі на основі TiN
Існують загально-прийняті методи характеризації нанокристалічних матеріалів, які дозволяють виявити взаємозв'язок між структурою і властивостями матеріалу. Один з найбільш доступних структурно-чутливих методів вимірювання твердості. У нашому випадку отримані матеріали характеризували як на мікрорівні (нано- та мікротвердість), так і на макрорівні (макротвердість і тріщиностійкість, а також гаряча твердість). Об'єктами дослідження були нанокристалічні порошки нітрида титану з питомою поверхнею 33 м2/г (TiN33), а також зразки із захисним покриттям 33 м2/г (TiN33A) і 26 м2/г (TiN26A). В якості захисного покриття використовували алкенілсукцінімід (АСИ). Характеристики досліджених зразків представлені в табл. 1.
Таблиця 1. Характеристики нано-порошків нітрида титана
|
Порошок
|
Розмір кристалітів, нм |
Питома поверхня, м2/г |
Параметр решітки, А |
Вміст кислорода, % |
Вміст азота, % |
|
TiN33 |
15 |
33 |
4,233± 0,001 |
3,8 |
20,3 |
|
TiN33A |
15 |
33 |
4,241 ±0,001 |
1,8 |
19,8 |
|
TiN26A |
45 |
26 |
4,244 ±0,001 |
1,8 |
19,2 |
Наномеханічні випробування для найбільш точної кореляції між розміром зерен і властивостями матеріалу були проведені на приладі «Nanoindentor-І» з індентором Берковича при навантаженні 50 мН. Швидкість навантаження 3 мН/с, час витримки під навантаженням 10 с. Мікротвердість, макротвердість і тріщиностійкість визначали за допомогою приладів ПМТ-3 і «Micromet-2103».
Розробка нових підходів на основі відомого співвідношення Холла-Петч до оцінки твердості наноматеріалів дозволяє зробити прогноз досягнення максимальної твердості в матеріалі залежно від розміру зерен . З переходом матеріалу в нанокристалічні стани істотно зростає обсяг кордонів зерен. У такому випадку загальна твердість буде оприділятися правилом сумішей з урахуванням внеску зерен і їх меж (рівняння 1.28), в той час як розрахунок твердості зерен (рівняння 1.29) і меж зерен (рівняння 1.30) проводиться у відповідності з традиційним співвідношенням Холла-Петч :
Н= Н3 (1 - f)+ Нгзf (1.28)
Н3 = Н0с + k3d-1/2 (1.29)
Нгз= Н0гз + kгзd-1/2 (1.30)
Допускаючи, що зерна мають тетракаідекаедрічну конфігурацію, і вводячи логарифмічну кореляцію між коефіцієнтами kз і kгз, загальну твердість матеріалу можна розрахувати за рівнянням (1.31):
(1.31)
де - товщина кордонів зерен, - числовий фактор (< 1), dc - критичний розмір зерен, що допускає існування зосередження дислокацій, r0 - радіус ядра дислокації.
Величини, які використовувалися в розрахунках твердості нітриду титану в залежності від розміру зерен, були наступними: числовий фактор = 0,02 [13]; товщина межі зерен > 0,8 нм розрахована за допомогою мікрофотографій кордонів зерен нітриду титану (рис. 1.18); критичний розмір зерен, що допускає існування зосередження дислокацій і відповідає максимальному значенню твердості, dc = 10 нм (визначений із рівняння 1.32); радіус ядра дислокації r0 = 0,27 нм.
(1.32)
де - модуль зсуву, b - вектор Бюргерса, - коефіцієнт Пуассона, Н - твердість [16-18].
Максимум твердості нітриду титану, згідно з розрахунком, досягається при значеннях розміру зерен ~ 10 нм, що збігається з критичним розміром, що допускає існування зосередження дислокацій в нітриді титану (рис. 1.19). Розрахунок добре збігається з експериментальними даними для кераміки з нітриду титану (розмір зерен від 20-30 нм до декількох мікрометрів). Але при переході через максимум твердості (dc = 10 нм) і при подальшому зменшенні зерен твердість знижується, що може бути проявом механізму «запирання» дислокацій на межах зерен. Ця гіпотеза поки не підтверджена, оскільки немає доказів існування дислокацій в зернах нітриду титану розміром менше 30 нм. Також, враховуючи зростання обсягу кордонів зерен при переході через критичний розмір зерен,слід звернути увагу на проблему «чистоти» кордонів зерен. Той факт, що відомі експериментальні дані для тонких плівок нітриду титану з розміром зерен менше 10 нм виявилися навіть нижчепрогнозованих, можна пояснити утворення моксидів титану на кордоні зерен.

Рис. 1. 18. Межі зерен в спеченомунітриді титану (середнійрозмір зерна ~ 50 нм)

Рис. 1. 19. Залежністьтвердостінітриду титану відрозміру зерен: (+) - теоретичнізначення (розрахунок за формулою 4); () - експериментальнізначення [1,7,9]
1. 4. Прополіс
1. 4. 1. Хімічний склад прополіса
Науковою основою практичного використання прополісу є вивчення його хімічного складу, біологічної активності окремих сполук і фракцій і розв'язок проблеми стандартизації цього продукту. В Інституті хімії природних сполук АН СРСР в останні роки проведені інтенсивні дослідження в цих напрямках, основні результати яких викладаються в справжній доповіді.
Протягом останніх років досягнутий значний прогрес у наших знаннях про хімічний склад прополісу. До теперішнього часу виявлена хімічна будова 18 індивідуальних сполук із прополісу. На рис. 1.20. представлені основні сполуки, виявлені в прополісі, на частку яких доводиться не менш 1/3 розчинної в спирті частини цієї речовини.

Рис. 1.20. Сполука, ідентифіковане в прополісі. Флавони
Визначено що істотну частину сполук, які утворюють прополіс, становлять сполуки флавонорідной природи, у тому числі флакони (1-4), флавоноли (5-10) і (флавонони (М-13).
1. 4. 2. Електрофізичні та сорбційні характеристики
Створення й дослідження гетеропереходів на основі неорганічних напівпровідників і матеріалів біологічного походження відносяться до актуальних напрямків сучасного матеріалознавства. Деякі природні композиційні матеріали (прополіс, муміє, камедь, терпентин) можуть становити інтерес для оптоелектронних обладнань [20] і біосенсорів.
Вивчення сорбції пар води полімерами природнього й штучного походження має фундаментальний і прикладний аспекти [20]. Тому що для гетерогенних систем найчастіше характерний змішаний електронно-іонний механізм провідності, важливе значення набуває аналіз активної й реактивної складових провідності в широкому діапазоні частот змінного електричного поля. У дослідженні сенсорних гетероструктур методика високочастотних вольт - фарадних характеристик (ВЧ ВФХ) зарекомендувала себе як зручний і інформативний інструмент [21]. Метою роботи було вивчення електрофізичних і сорбційних характеристик гетероструктури прополіс/кремній.
Плівки прополісу товщиною 20-30 m, сформовані з 20%-го спиртового розчину на полірованих пластинах монокристалічного кремнію п-типу провідності з питомим опором 0,3 Ohm-См, мали гарну адгезію до поверхні подложки. Незважаючи на складний хімічний склад (більш трьохсот компонентів), плівки прополісу проявляють властивості напівпровідникового матеріалу з оптичною шириною забороненої зони ~ 3 еV і за рентгеноструктурним даними роботи [21] можуть мати кристалічну структуру.
Природній оксидний шар з підложки не віддалявся, що сприяло досить високій якості гетерограниці напівпровідник/діелектрик у формованій структурі. Растрова мікрофотографія (електронний мікроскоп JEOL-6380LV)поверхні плівки показана на рис. 1. 21.

Рис. 1.21. Растрова мікрофотографія поверхні плівки прополісу на кремнії (ліворуч) і частотна залежність опору структури прополіс/кремній при різних значеннях відносної вологості повітря (праворуч)
У якості затворного й базового електродів використовували In-Ga эвтектику. Частотну залежність електрофізичних характеристик структури Inga/прополіс/Si вивчали в діапазоні 12 Hz - 100 khz за допомогою Lcr-Метра Goodwill, модель 819. ВЧ ВФХ вимірювали на частоті 1 Mhz за допомогою вимірника імпульсів Е7-12. Досліджуваний зразок містився в герметичне вимірювальне гніздо, для видалення пар води з якої використовували осушувач із силікагелем марки ШСМ. Залишковий тиск пар води вважали відповідним до умовного значення нульової відносної вологості. Необхідні значення відносної вологості повітря p/ps задавали з використанням сольових гігростатів. Час установлення стаціонарних станів при сорбціонно-десорбціонних процесах становило порядку однієї години. Усі виміри проведено при температурі 295 K°.
Молекули води можуть проникнути в плівку прополісу й при невисоких значеннях вологості завдяки малим розмірам і великому дипольному моменту. Вони розташовуються поблизу найбільш доступних полярних груп і екранують пов'язані з ними електричні поля, сприяючи пластифікації біополімеру. З ростом поглинання води в прополісі виникають нові абсорбційні центри й збільшується їхня доступність.
На відміну від ароматичних поліамідів, що містять сульфонатонні іоногені групи [22], для плівок прополісу не виявлене різкого впливу частоти вимірювального сигналу на величину й час установлення стаціонарних значень ємності при зміні вологості.
Оцінка величини ефективної діелектричної проникності плівок прополісу за результатами вимірів ємності дає значно завищені значення у зв'язку з тим, що реальна товщина властиво діелектричного шару в конденсаторній структурі може бути суттєво менше загальної товщини плівки. Аналогічне припущення про розшарування плівок терпентину на високоомну й низькоомну області в процесі їх полімеризації на поверхні напівпровідників було висловлено авторами роботи [17] для пояснення спостережуваних електрофізичних характеристик твердо тільних структур з біоорганічними матеріалами.
В роботі [22] наведені результати дослідження основних оптичних і електричних властивостей плівок біологічно активного органічного з'єднання природного походження-прополісу.
Використання різного типу органічних напівпровідникових матеріалів в електроніці безперервно розширюється.
До складу прополісу входять органічні кислоти, антибіотики, ряд вітамінів і мікроелементів (Al, V, Fe, Ca, Si, Mn, Sr), а також ряд природних ферментів (наприклад, каротин)[9]. У літературі знаходиться велика кількість робіт, втаємничених в основному дослідженню можливості лікування тих або інших захворювань за допомогою Р, а також його хімічного складу. При цьому кожне нове дослідження хімічного складу приводить до виявлення усе нових і нових складових елементів цього з'єднання. Дослідження фізичних властивостей Р зводяться в основному до визначення його питомої ваги, температурних інтервалів, при яких ця речовина знаходиться в тому або іншому агрегатному стані, і тому подібне
У роботі уперше визначені основні електричні і оптичні параметри плівок цієї біологічно активної органічної сполуки природного походження : виміряний спектр пропускання в діапазоні довжин хвиль = 350-600 nm, спектр фотолюмінесценції, визначена електропровідність при кімнатній температурі і її температурна залежність.
Для отримання рівномірних по товщині плівок крапля 10% -го спиртового розчину Р наносилася на сапфірову підкладку, закріплену на центрифузі. Обертання тривало до повного випару спирту (не більше 1 min). Товщина плівок Р для дослідження складала 15-30µm. Як розчинник використовувався 96% - ний етиловий спирт. Питома провідність плівок вимірювалася звичайним двохзонним методом. Як струмопровідні контакти використовувалося срібло.
Результати дослідження оптичних властивостей плівок Р представлені на рис. 1. 22. Як видно, плівки Р є прозорими в діапазоні довжин хвиль від 410 до 600 nm (крива 1); довгохвильова частина краю оптичного поглинання в Р сильно розмита; зміна коефіцієнта поглинання (а) на порядок від 103 до 102cm_1 відбувається приблизно в області довжин хвиль від 380 до 410 nm (крива 2), що відповідає енергії фотонів від 3.26 до 3.02 eV.

Рис. 1.22. Спектри пропускання (1), коефіцієнта оптичного поглинання (2) і фотолюмінесценції (3) плівок прополісу. T = 288 K.
Люмінесценція Р спостерігалася при збудженні світлом з довжиною хвилі 337 nm. Спектр фотолюмінесценції приведений на рис. 1. 22 (крива 3). Максимум спектральної залежності відповідає 434 nm (2.857 eV). Наявність помітних зламів по обидві сторони від максимуму свідчить про присутність декількох сортів центрів люмінесценції в Р, що характерно як для напівпровідників, що містять різні домішки, так і для складних молекулярних сумішей.
Таким чином, результати досліджень провідності і оптичних властивостей прополісу свідчать про те, що це біологічно активна речовина природного походження є напівпровідником з оптичною шириною забороненої зони ~ 3 eV і може бути використана при розробці різних типів оптоелектронних пристроїв. Слід також підкреслити перевагу плівок Р в порівнянні з іншими штучно синтезованими органічними речовинами, пропонованими або навіть вже освоєними промисловістю, для використання як складні компоненти різних типів електронних пристроїв [15], яка полягає в значно меншому питомому опорі цієї речовини (на 4-5 порядків) при більшому значенні оптичної ширини забороненої зони.
2. практична частина
2. 1. опис експериментальної установки
Вимірювання проводились на лабораторному Стокс-поляриметрі, принципова схема якого приведена на рис. 2.1. В якості джерела монохроматичного світла було застосовано оптичний квантовий генератор неперервної дії ЛГН-215 з довжиною хвилі випромінювання =632,8 нм. За допомогою освітлювача коліматора 2 вихідний пучок ЛГН-215 діаметром d~2 мм перетворюється в паралельний світловий пучок діаметром D~10 мм і апертурою 2 =10. Поворотні дзеркала 3 з зовнішнім напиленням дозволяють зменшити повздовжні габарити Стокс-гоніометра. Для контрольованого ослаблення застосовано блок нейтральних фільтрів 4 з відомими коефіцієнтами ослаблення. Система поляроїда і чверть хвильової пластинки 5 перетворює лінійно-поляризоване світло ЛГН-215 (1) в циркулярно поляризоване, що забезпечує в ході експерименту світлові пучки з різною формою і азимутом поляризації. Поляризаційний пристрій 6 складається з лінійного поляроїда, який обертається в оправі і забезпечує лінійно-поляризований пучок з необхідним азимутом поляризації, а в комбінації з /4 - циркулярно поляризоване випромінювання. Досліджуваний зразок 8 розміщується в круговій оправі на предметному столику в геометричному центрі обертання гоніометричного вузла 7. На поворотному плечі гоніометра розташована приймальна система, яка складається з аналізатора 9 (пластинка /4 і поляроїд) і приймача-коліматора 10, який забезпечує прийом оптичного випромінювання в апертурному куті 2=10 Для прийому слабких потоків розсіяного зразками світла використовується фотоелектронний помножувач ФЭУ-38 (11), який живився від високовольтного блока живлення 14, а вимірювання фотоструму проводилось за допомогою цифрового ампервольтметра В7-21А.
Рис. 2.1. Принципова схема лабораторного Стокс-гоніометра.

Рис. 2.2. Схема розташування зразка.
Весь приймальний пристрій обертається навкруги геометричного центру гоніометричного вузла 7 в горизонтальній площині на 170° з фіксацією через кожні 5°, а в області кутів від 0° до 10° - через кожен 1°. Юстування досліджуваних зразків відносно геометричного центру обертання гоніометра проводилось за допомогою лінійних переміщень предметного столика в трьох взаємо-перпендикулярних площинах, включаючи і вертикальні переміщення. Крім того, на предметному столику для дослідження плоских ізотропно і анізотропно розсіюючих обєктів, можна розташувати оправу, яка дозволяє міняти просторову орієнтацію обєкта.
2. 2. Методика вимірювання параметрів Стокса
Для опису процесу розсіювання досліджуваним середовищем світлових пучків з врахуванням виникаючих при цьому поляризаційних ефектів було застосовано вектор-параметричне представлення даних пучків з використанням рівняння переносу в матричному вигляді [23].
Для визначення вектор-параметра Стокса розсіяних світлових пучків проводяться слідуючі шість вимірів:
1. Береться показ цифрового амперметра , пропорційний яскравості світлового пучка, який пройшов крізь лінійний поляроїд, площина пропускання якого паралельна площині розсіювання (горизонтальна площина).
2. Поляроїд обертаємо на 90° (площина пропускання перпендикулярна площині розсіювання) і беремо відлік пропорційний яскравості світлового пучка, що пройшов крізь поляроїд.
Так як відрахунки і величини пропорційні квадратам амплітуд горизонтального і вертикального світлового пучка, то згідно визначення першого і другого параметрів Стокса [8] знаходимо:
, , (2.1)
3. Вихідний пучок пропускаємо крізь поляроїд, площина пропускання якого орієнтована під кутом 45° до площини розсіювання. Відлік
пропорційний яскравості, яка визначається добутком вектор-параметра Стокса лінійного поляроїда з азимутом осі пропускання 45° [10]:
(2.2)
тобто в цьому випадку маємо:
(2.3)
4. Беремо відлік , пропорційний яскравості пучка, який пройшов крізь поляроїд, орієнтований під кутом 135° до площини розсіювання. Яскравість пучка в даному випадку визначається:
(2.4)
Таким чином . Після знаходження різниці між і маємо:
, (2.5)
5. Пропускаємо пучок послідовно крізь чверть хвильову пластинку (головна площина орієнтована в площині розсіювання) і поляроїд орієнтований як і в третьому вимірюванні, тоді вектор-параметр Стокса променя що пройшов визначається:
(2.6),
а відлік .
6. Пучок після чверть хвильової пластинки пропускаємо крізь поляроїд, розташований як в четвертому вимірюванні, тоді для пучка що пройшов отримуємо:
(2.7),
і відлік . Різниця
.
Таким чином, виконуючи вказані шість вимірювань величин, пропорційних яскравості світлового пучка, який пройшов крізь систему поляроїд-чвертьхвильової пластинки з певним азимутом їх головних площин, знаходимо значення його чотирьох параметрів Стокса.
Проведений аналіз похибок експерименту показує, що керуючись шириною смуги похибок ±3s маємо для компонент, які визначають перетворення між лінійними формами поляризації розсіяного і опромінюючого пучків з ймовірністю 99,7% відхилення від дійсних величин не буде перевищувати 0,06, а для взаємоперетворень світлових потоків циркулярної (еліптичної) форм поляризації компонент - 0,09 їх приведених значень.
2. 3. Умови проведення досліджень
Комплекс проведених досліджень включав наступні експериментальні ситуації:
- Геометрія досліду а) опромінення тонких плівок прополісу і
TiN по нормалі; б) опромінювання поверхні плівки прополісу під кутом 40 градусі; в) вимірювання інтенсивності розсіюванного випромінювання в області кутів від 10 до 50 (70) градусів.
2. Використання при опроміненні зразків лінійно поляризованого випромінювання з азимутами 0 і 45 градусів і лівоциркульрного поляризованого випромінювання.
2. 4. Графіки по результатам проведених досліджень

Рис. 2.3. Кутовий розподіл параметру (І0-І90) / (І0+І90) розсіяного плівкою ТіN
(джерело 45о)

Рис. 2.4. Кутовий розподіл параметру (І0-І90) / (І0+І90) розсіяного плівкою ТіN
(джерело Л)

Рис. 2.5. Кутовий розподіл параметру (Іп-Іл) / (Іп+Іл) розсіяного плівкою ТіN
(джерело 0о)

Рис. 2.6. Кутовий розподіл параметру (Іп-Іл) / (Іп+Іл) розсіяного плівкою ТіN
(джерело 45о)

Рис. 2.7. Кутовий розподіл параметру (Іп-Іл) / (Іп+Іл) розсіяного плівкою ТіN
(джерело Л)

Рис. 2.8. Кутовий розподіл параметру Іл / Іп розсіяного плівкою ТіN
(джерело 0о)

Рис. 2.9. Кутовий розподіл параметру Іл / Іп розсіяного плівкою ТіN
(джерело 45о)

Рис. 2.10. Кутовий розподіл параметру І0 / І90 розсіяного плівкою ТіN
(джерело Л)

Рис. 2.11. Кутовий розподіл параметру (І0-І90) / (І0+І90) розсіяного плівкою прополюса
(джерело 45о)

Рис. 2.12. Кутовий розподіл параметру (І0-І90) / (І0+І90) розсіяного плівкою прополюса
(джерело Л)

Рис. 2.13. Кутовий розподіл параметру (Іп-Іл) / (Іп+Іл) розсіяного плівкою прополюса
(джерело 45о)

Рис. 2.14. Кутовий розподіл параметру (Іп-Іл) / (І0+І90) розсіяного плівкою прополюса
(джерело 45о)

Рис. 2.15. Кутовий розподіл параметру (Іп-Іл) / (І0+І90) розсіяного плівкою прополюса
(джерело Л)

Рис. 2.16. Кутовий розподіл параметру Іл / Іп розсіяного плівкою прополюса
(джерело 0о)

Рис. 2.17. Кутовий розподіл параметру Іл / Іп розсіяного плівкою прополюса
(джерело 45о)

Рис. 2.18. Кутовий розподіл параметру І0 / І90 розсіяного плівкою прополюса
(джерело Л)

Рис. 2.19. Кутовий розподіл параметру (І0-І90) / (І0+І90) розсіяного плівкою про полюса під кутом 40о (джерело Л)

Рис. 2.20. Кутовий розподіл параметру (Іп-Іл) / (Іп+Іл) розсіяного плівкою про полюса під кутом 40о (джерело Л)

Рис. 2.21. Кутовий розподіл параметру (Іп-Іл) / (І0+І90) розсіяного плівкою про полюса під кутом 40о (джерело Л)
2.5. Аналіз отриманих результатів експерименту
Спочатку проведемо аналіз отриманих результатів дослідження розсіювання поляризованого випромінюванн різного виду і азимуту поляризації плівками TiN.
Для параметру (І0-І90) / (І0+І90) розсіяного плівкою випромінювання, що відповідає значенню його другого параметра Стокса, при опроміненні лінійно (азимут 45) і циркулярно (ліве) поляризованими світловими потоками (рис.2.3 і рис.2.4) слід відзначити практично однакову закономірність їх залежності в області кутів розсіювання вперед. Величина вказаного відношення (другого параметрк Стокса) послідовно зменшується зі збільшенням кута розсіювання. Таку закономірність можна пояснити зростаючою долею у розсіяному плівкою TiN випромінюванні вертикально поляризованої компоненти І90 по відношенню до значення у ньому горизонтально компоненти І0.
Але, при цьому слід відмітити , що, хоча і незначним чином, при циркулярній формі поляризації опромінюючого світлового потоку фіксується більш динамічне зменшення вказаного вище параметру розсіяного плівкою випромінювання (0,35-рис.2.3 і 0,45- рис.2.4)
На рис. 2.5 - 2.6 на ведені результати дослідження кутового розподілу параметру розсіяного випромінювання повязанного з його циркулярно поляризованими складовими (Іп-Іл) / (Іп+Іл) при азимуті поляризації опромінюючого світлового потоку 0 і 45 (рис. 2.5 і рис. 2.6 відповідно), а також ліво циркулярно поляризованому (рис. 2.7). Слід зазначити, що при малократному розсіюванні плівкою падаючого випромінювання вказаний параметр відповідає четвертому параметру Стокса осіянного потоку.Згідно наведених графіків спостерігається суттєва залежність закономірностей кутового розподілу вказаного параметру від стану поляризації падаючого світлового потоку. Зміна азимута лінійної поляризації опромінення плівки нітрид титану (рис. 2.5 - 0 і рис. 2.6 - 45) приводить практично до протилежних закономірностей (при горизонтальному азимуті маємо збільшення значення досліджємого параметру зі збільшенням кута розсіювання, а при вертикальному зменшення). Цікаво, що подібна закономірність кутової залежності (зменшення параметру (Іп-Іл) / (Іп+Іл) зі збільшенням кута розсіювання) спостерігається і при ліво циркулярно поляризованному опроміненні плівки (рис. 2.7).
Окремий цикл досліджень був проведений стосовно виявлення закономірностей кутового розподілу співвідношення чисто циркулярних форм поляризації розсіяного плівкою нітрид титану (лівої правої) при різних азимутах лінійної поляризації опромінюючого плівку світлового потоку (рис. 2.8, рис. 2.9). Згідно отриманих результатів маємо практично дзеркал-
льність кривих , що характеризують вказаний розподіл параметру розсіяного випромінювання, коли при нульовому азимуті поляризації (Іл / Іп ) падаючого на плівку потоку у області малих кутів розсіювання (від 5 до20 градусів) відмічається зростання значенн я (Іл / Іп ) , потім його стабілізація
( область від 20 до 50-ти градусів) і, далі (область 50-75 градусів)- зменшення, а при опроміненні лінійно поляризованим потоком з азимутом 45 градусів (рис. 2.9) спостерігається протилежна закономірність у області кутів розсіювання від 5 до 20 - ти градусів і у області від 50 - ти до 75 - ти градусів.
На рис. 2.10 маємо експериментальну ситуацію опромінення тонкої плівки нітрид прополюсу ліво циркулярно поляризованим випромінюванням а в області кутів розсіювання вперед фіксуємо кутовий розподіл відношення лінійно поляризованих компонент І0 / І90. При цьому відмічається суттєва перевага зі збільшенням кута розсіювання інтенсивності горизонтально лінійно поляризованої компоненти розсіяного випромінювання над інтенсивністю вертикально лінійно поляризованого випромінювання. Таку суттєву перевагу І0 над І90 можна пояснити наявністю ефекту повороту площини поляризації падаючого випромінювання у матеріалі тонкої плівки нітрид титану.
Подальші дослідження відносяться до тонких плівок прополюса. На рис. 2.11 і рис. 2.12 наведені закономірності кутового розподілу параметру (І0-І90) / (І0+І90) розсіяного тонкою плівкою прополюса при її опроміненні лінійно поляризованим випромінювання з азимутом 45 градусів (рис. 2.11) і ліво циркулярно поляризованим (рис. 2.12). Зазначимо подібність вказаних закономірностей, відмітивши, що аналогічно плівкам нітрид титану, динаміка зменшення параметру (І0-І90) / (І0+І90) зі збільшенням величини кута розсіювання переважна при ліво циркулярно поляризованому опроміненні плівки прополюсу.
Для циркулярно поляризованих компонент розсіяного випромінювання у вигляді відношення (Іп-Іл) / (Іп+Іл) при лінійно поляризованому опроміненні плівки з азимутом 45 градусів (рис. 2.13) відмічаємо незначні величини вказаного параметру разом із незначними його змінами (середнє значення цього параметру знаходиться на рівні 0,1 - аналогічний параметр у подібній експериментальній ситуації мав значення на рівні 0,65 (рис. 2.6)). Практича подібність закономірностей кутового розподілу параметрів (Іп-Іл) / (Іп+Іл) і (Іп-Іл) / (І0+І90) відповідно рис. 2.13 і рис. 2.14 разом із практичо однаковими їх середніми значеннями вказує на відсутність у даній експериментальній ситуації ефектів багаторазового розсіювання.
Значно більші значення параметру (Іп-Іл) / (І0+І90) розсіяного тонкою плівкою прополюса спостерігаються при її опроміненні ліво циркулярно поляризованим світловим потоком (рис. 2.15).
Для відношення ліво-і правоциркулярних компонент розсіяного тонкою плівкою про полюса випромінювання (Іл / Іп ) при її опроміненні лінійно поляризованими світловими потоками азимутами поляризації 0 і 45 градусів (рис. 2.16 і рис. 2.17) спостерігаються подібні закономірності їх кутового розподілу. Значення величин вказаного розподілу, навіть при кутах розсіювання, які відповідають їх максимуму, не перевищують одиниці.Оцінка кутового розподілу подібного відношення але для горизонтально і вертикально лінійно поляризованих компонент розсіяного плівкою випромінювання (І0/ І90 ) при її опроміненні ліво циркулярно поляризованим світловим потоком дає максимальне його значення на рівні 2,45 у області кутів розсіювання порядку 55 градусів (рис. 2.18).
На рис. 2.19 - 2.21 наведені результати започаткованих нами досліджень кутового розподілу відповідних параметрів розсіяного тонкою плівкою прополюсу при її опроміненні під кутом до нормалі при різних станах поляризації падаючого світлового потоку.
Підсумовуючи отримані нами результати експериментального дослідження закономірностей розсіювання тонкими плівками нітрид титану і прополюсу світлових потоків з різним станом їх поляризації слід зауважити наявність досить суттєвих відмінностей між кутовими розподілами досліджуваних параметрів розсіяних світлових потоків різних типів і станів поляризації.
Цілком можливо, що відмінності у механізмах розсіювання світлових потоків різних станів поляризації тонкими плівками елементів гетероструктурних фотодетекторів буде супроводжуватися різним значенням величини їх інтегральної та спектральної фото чутливості.
3. ТЕХНІКА БЕЗПЕКИ ПРИ РОБОТІ З ЛАЗЕРАМИ
Фізіологічні ефекти впливу лазерного випромінювання. Знання харак-теру фізіологічних змін та їх зв'язку з енергетичними, спектральними, тимчасовими і просторовими характеристиками випромінювання, а також з оптичними, теплофізичними і фотохімічними властивостями опромінюваних тканин і органів дають основу для вироблення певних норм для допустимих інтенсивностей і доз опромінення, які не завдають шкоди здоров'ю людини . Очевидно, що в міру отримання нових знань у цій області та накопичення досвіду клінічних досліджень ці норми можуть істотно змінюватися як у бік менших, так і великих рівнів інтенсивності та доз опромінення, можуть зміщуватися і спектральні кордони шкідливого для людини випромінювання.
Нормування лазерного випромінювання. При нормуванні лазерного випромінювання, що представляє небезпеку для людини, існують два основні підходи. Один з них викладений у стандарті ANSI-Z-136-1 (США), інший - в санітарних нормах і правилах пристрою і експлуатації лазерів N 2392-81 (СРСР) [П. 19, П. 35, 6]. Стандарт США представляє гранично допустимі рівні (ПДУ) випромінювання у вигляді таблиць і графіків, що охоплюють спектральний діапазон випромінювання лазерів 200 нм - 103 мкм, діапазон тривалостей впливу від 10 "8 до 10е с при опроміненні очей і шкіри. ПДУ визначаються, виходячи з спостережуваних ушкоджень в 50% випадків опромінення, з коефіцієнтом запасу до 10 щодо цього рівня. ПДУ опромінення в УФ і ІЧ областях спектрускладають 10_3-1 Дж/см2 залежно від тривалості опромінення. У видимій області спектра стандарт нормує опромінення рогівки коллімірованним пучком світла, відповідну поразці сітківки. При імпульсному опроміненні граничні норми становлять 5-10-7-1,0 Дж/см2, а при безперервному-10 "4-10 ~ в Вт/см2. Норми для опромінення шкіри знаходяться в межах 10" 3-1 Дж/см2 г для інтегральної енергетичної яскравості у видимій області спектра - в межах 10-3-103 Дж / (см2 * ср).
Санітарні норми СРСР передбачають в УФ області ПДУ сумарною енергетичною експозиції рогівки ока, одержуваної персоналом за загальний час опромінювання протягом робочого дня, в межах 10-8-2 -10-3 Дж/см2. Для видимого та ІЧ випромінювання ПДУ енергетичної експозиції рогівки ока при діаметрі зіниці 7 мм для одиночних імпульсів випромінювання тривалістю від 10-9 до 1,0 з лежать в межах 2,2 '10-6-1 ,2-10-2 Дж/см2 . Для сітківки санітарні норми передбачають сумарну енергетичну експозицію в діапазоні довжин хвиль 400-750 нм, - отримувану персоналом за робочий день, не вище 4-10-5 - 3 • 104 Дж при фонової освітленості рогівки в межах 10-2-105 лк. Згідно [П. 351, перерахунок на рогівку ока дає відповідний мінімальний ПДУ 2,7 -10 "11 Вт/см2,, що істотно нижче значення, що дається стандартом США. Для шкіри при опроміненні протягом часу 3-104 з-в УФ і видимій областях спектру ПДУ змінюється в межах 2-10-3-8-103 Дж/см2.
3. 1. Основні правила техніки безпеки.
При роботі з лазерами необхідно забезпечити такі умови роботи, при яких не перевищуються гранично допустимі рівні опромінення очей і шкіри. Заходи безпеки полягають у створенні захисних екранів, каналізації лазерного випромінювання по світловода, використанні захисних окулярів та ін. Захисні окуляри повинні бути ретельно підібрані залежно від робочої довжини хвилі лазерного світла та їх спектр пропускання перевірений. Окуляри повинні ефективно пригнічувати випромінювання на лазерній довжині хвилі, проте по можливості не бути занадто темними.
Велику небезпеку становить відбите і розсіяне випромінювання, особливо невидиме (УФ та ІЧ), оскільки напрямок відбитого випромінювання (наприклад, від металевих деталей установки) може бути зовсім довільним і змінюватися в процесі вимірювань неконтрольованим чином. Дифузне відображення (наприклад, від стін приміщення) і розсіювання світла самим досліджуваним тілом, що характерно для Введите текст или адрес веб-сайта либо переведите документ.Отменаbiologicheskikh ob"yektov dayet izlucheniye po vsem napravleniyam, i v printsipe v pomeshchenii mogut otsutstvovat' bezopasnyye zony. Dlya diffuznogo otrazheniya i rasseyaniya kharakterno, chto na rasstoyaniyakh poryadka razmerov laboratornoy komnaty plotnost' moshchnosti na setchatke ne zavisit ot rasstoyaniya do ob"yekta rasseyaniya. Eto svyazano s tem, chto plotnost' moshchnosti na setchatke umen'shayetsya s uvelicheniyem rasstoyaniya ot ob"yekta, odnako fokal'noye pyatno na setchatke pri etom takzhe umen'shayetsya. Dlya ustraneniya rassmotrennykh effektov neobkhodimo chernit' detali eksperimental'nykh ustanovok, po vozmozhnosti ograzhdat' ikh neprozrachnymi ekranami, delat' spetsial'nuyu pokrasku ili obrabotku sten laboratorii. Pri ispol'zovanii lazerov vidimogo diapazona maloy moshchnosti trebuyutsya predupreditel'nyye svetovyye tablo ili nadpisi o rabote s lazerami. Dlya nepreryvnykh lazerov moshchnost'yu 15 mVt zhelatel'no vypolneniye ryada mer, sredi kotorykh zashchita glaz, rabota v spetsial'nom pomeshchenii, ogranicheniye puti lucha, predupreditel'nyye nadpisi, obucheniye operatorov i pr. Dlya lazerov sredney moshchnosti eti mery uzhe obyazatel'ny. Pri primenenii moshchnykh lazerov, krome perechislennykh vyshe mer, neobkhodimo kontrolirovat' pomeshcheniye i sistemu preduprezhdeniya, obespechivat' distantsionnoye vklyucheniye, upravleniye rabotoy i blokirovku pitaniya. Rekomenduyetsya obucheniye pravilam tekhniki bezopasnosti i periodicheskoye meditsinskoye obsledovaniye personala, obsluzhivayushchego lazernyye ustanovki.Пример использования словавтоматически переведено системой Google
Біологічних об'єктів дає випромінювання з усіх напрямків, і в принципі в приміщенні можуть бути відсутні безпечні зони. Для дифузного віддзеркалення і розсіювання характерно, що на відстанях порядку розмірів лабораторної кімнати щільність потужності на сітківці не залежить від відстані до об'єкта розсіювання. Це пов'язано з тим, що щільність потужності на сітківці зменшується з збільшенням відстані від об'єкта , також фокальна пляма на сітківці при цьому також зменшується. Для усунення розглянутих ефектів необхідно чорнити деталі експериментальних установок, по можливості захищати їх непрозорими екранами, робити спеціальне фарбування або обробку стін лабораторії.
При використанні лазерів видимого діапазону малої потужності потрібні попереджувальні світлові табло або написи про роботу з лазерами. Для безперервних лазерів потужністю 1-5 мВт бажано виконання ряду заходів, серед яких захист очей, робота в спеціальному приміщенні, обмеження шляху променя, попереджувальні написи, навчання операторів і пр. Для лазерів середньої потужності ці заходи вже обов'язкові. При застосуванні потужних лазерів, крім перерахованих вище заходів, необхідно контролювати приміщення і систему попередження, забезпечувати дистанційне включення, управління роботою і блокування харчування.
Рекомендується навчання правилам техніки безпеки і періодичне медичне обстеження персоналу, що обслуговує лазерні установки.
ВИСНОВОК
На основі проведеного аналітичного огляду науково-технічної літератури і експериментальних досліджень можна зробити наступні висновки:
1. Прополюс , як біологічно і оптично активна речовина являється актуальним матеріалом реалізаціїї елементів гетероконтакту фотодетекторів.
2. Матриця розсіювання світла 10% спиртового розчину прополюсу в основному характерна для оптично ізотропного середовища з незначними проявами лінійного дихроїзму.
3. Закономірності кутового розподілу компоненти f33 дозволяють стверджувати, що ефективний розмір оптичних неоднорідностей розчину прополюсу знаходиться в межах 1,5 - 2мкм
4. Мінімальне значення компоненти f22 на рівні 0,6 вказує на досить суттєве відхилення форми розсіюючих часток розчину прополюса від сферичної
СПИСОК ЛІТЕРАТУРИ
1. Solovan M.N. Electrical and Optical Properties of TiO2 and TiO2:Fe Thin Films / M.N. Solovan, P.D. Maryanchuk, V.V. Brus, O.A. Parfenyuk // Inorganic Materials., 2012. Vol. 48. №10. P. 10261032.
2. Brus V.V. Electrical and photoelectrical properties of photosensitive heterojunctions n-TiO2/p-CdTe / V.V. Brus, M.I. Ilashchuk, Z.D. Kovalyuk, P.D. Maryanchuk, K.S. Ulyanytskiy // Semiconductor Science and Technology. 2011. Vol. 26. 125006.
3. Brus V.V. Open-circuit analysis of thin film heterojunction solar cells / V.V. Brus // Solar Energy, 2012. Vol. 86. P. 1600-1604.
4. Brus V. V. Propolis films for hybrid biomaterial-inorganic electronics and optoelectronics V. V. Brus, L. J. Pidkamin, M. I. Ilashchuk, P. D. Maryanchuk, Applied Optics 2014. Vol. 53. P. 121127.
5. Солован М.Н. Кинетические свойства тонких пленок ТiN полученных методом реактивного магнетронного распыления / М.Н. Солован, В.В. Брус, П.Д. Марьянчук, Т.Т.Ковалюк, J. Rappich, M. Gluba // ФТT. 2013. Том 55, Вып. 11. С. 2123 - 2127.
6. Солован М.Н. Электрические и фотоэлектрические свойства анизотипных гетеропереходов n-TiN/p-Si / М.Н. Солован, В.В. Брус, П.Д. Марьянчук // ФТП. 2013. Том 27, Вып. 9. С. 1185 - 1190.
7. Солован М.Н. Електрические свойства анизотипных гетеропереходов n-ТіN/p-Hg3In2Te6/ М.Н. Солован, Э.В. Майструк, В.В. Брус, П.Д. Марьянчук // Письма в ЖТФ. 2014. Том 40, Вып. 6. С. 1 - 6.
8. Солован М.М. Вплив товщини тонкої плівки ТіN на її електричні властивості / М.М. Солован, В.В. Брус, П.Д. Марянчук, А.М. Кафанов // Тези доповідей Шістнадцятої відкритої науково-технічної конференції Інституту телекомунікацій, радіоелектроніки та електронної техніки Національного університету «Львівська політехніка» з проблем електроніки, м.Львів, Україна, 2-4 квітня, 2013, с. 70.
9. Підкамінь Л.Й. “Модельний експеримент з дослідження поляризаційних характеристик атмосферних утворень.”/ Підкамінь Л.Й., Архелюк О.Д., Земленов Є.С., Науковий вісник “Фізика. Електроніка”, випуск 268, с. 76-80, Чернівці 2005.
10. Arkhelyuk A. Characteristics investigations of surface and volumetrical scattering of the polarised radiation by a layer of oriented particls./ А. Arkhelyuk, L. Podkamen, V.Glibka. SPIE Proc., 2004, v.5477, P171-176.
11. Исимару А. Распространение и рассеяние волн в случайно-неоднородных средах. Москва: Мир, 1981. T. 1. 280 с.
12. Angelsky O. V., Buchkovsky I. A., Magun I. I., Maksimyak P. P., Perun T. O. Optical correlation diagnosti- cs of rough surfaces // Proc. SPIE. 1992. 1723. P. 413418.
13. Солован М.М. Структурные и кинетические свойства тонких пленок ТiN / М.М. Солован, В.В.Брус, П.Д. Марянчук, J. Rappich, M. Gluba // Тези доповідей на VI міжнародній науковій конференції «Актуальные проблемы Физики Твердого Тела» ФТТ2013 м. Мінськ, Білорусь, 1518 жовтня, 2013, С. 191193.
14. Солован М.Н., Брус В.В., Марьянчук П.Д. Електричні й фотоелектричні властивості анизотипных гетеропереходів n-Tin/p-si // ФТП. 2013. Тому 47. №9. C. 1185- 1190.
15. Brus V.V. Electrical and photoelectrical properties of photosensitive heterojunctions n-Tio2/p-Cdte // Semiconductor Science and Technology. 2011. V. 26. Р. 125006.
16. Brus V.V. Open-circuit analysis of thin film heterojunction solar cells // Solar Energy. 2012. V. 86. P. 1600-1604.
17. Solovan M.N. Maryanchuk P.D., Brus V.V., Parfenyuk O.A. Electrical and Optical Properties of Tio2 and Tio2:Fe Thin Films // Inorganic Materials. 2012. V. 48. №10. Р. 1026-1032
18. Солован М.М. Електричні та оптичні властивості тонких плівок ТiN / М.М.Солован, В.В. Брус, П.Д. Марянчук // Тези доповідей Конференції молодих вчених з фізики напівпровідників «Лашкарьовські читання 2013», м.Київ, Україна, 2-4 квітня, 2013, С. 153-154.
19. Andrievskia R. A., Dashevskyb Z. M., Kalinnikova G. V. Conductivity and the Hall Coefficient of Nanostructured Titanium Nitride Films // Technical Physics Letters. 2004.V. 30. № 11, Р. 930-932.
Дослідження розсіяння поляризованого випромінювання тонкими плівками прополісу та нітрид титану