Определение эффективной организационной структуры управления предприятием
Определение эффективной организационной структуры управления предприятием
Введение
Любая организационная система подразделяется на две подсистемы: материально обеспечивающая подсистема, занимающаяся переработкой поступающих в её распоряжение ресурсов в товары и услуги и подсистема управления, в задачу которой входит руководство, контроль за деятельностью организационной системой. Последнюю называют управляющая система, которая имеет свою структуру, обеспечивающую условия для рационального разделения труда и взаимной кооперации. В рамках данной структуры работники-менеджеры имеют свои задачи, зоны ответственности. При этом, они вступают в отношения руководства-подчинения, контроля, сотрудничества. Эти структуры отражают и обеспечивают разделение труда в рамках которого осуществляется процесс управления предприятием.
В то время, как задача претворения в жизнь разработанной и принятой к исполнению стратегии стоит перед всеми подразделениями предприятия, действующему как единое целое, менеджменту предприятия предстоит тщательно продумать организационный аспект управления как правильно и эффективно скоординировать работу всех элементов сложного механизма бизнеса.
Объектом исследования данной работы является филиал ОАО «Ростелеком» ТЦМС-15.
Предмет исследования организационная структура управления филиалом.
Проблема предприятия отсутствие роста прибыли.
В данной работе целью является определение эффективной организационной структуры управления предприятием. При этом структуру автор рассматривает как способ распределения полномочий и обязанностей и то, каким образом передаются полномочия и ответственность в рамках организации.
На основе цели исследования в работе ставятся следующие задачи:
-изучение и анализ мировой и отечественной практики проектирования и совершенствования организационной структуры управления предприятием;
-проведение анализ хозяйственной деятельности предприятия;
-рассмотрение и анализ существующей организационной структуры управления предприятием;
-выдвижение предложений по совершенствованию организационной структуры;
-расчет экономической эффективности предлагаемых мероприятий.
В широком смысле задача менеджера состоит в том, чтобы выбрать структуру, которая лучше всего отвечает целям и задачам организации, а так же воздействующим на неё внутренним и внешним факторам. «Наилучшая» структура та, которая позволяет эффективно взаимодействовать с внешней средой, продуктивно и целесообразно распределять и направлять усилия сотрудников и удовлетворять потребности клиентов и достигать целей организации.
Научно обоснованное формирование организационных структур управления предприятием - актуальная задача современного этапа адаптации хозяйствующих субъектов к рыночной экономике. В новых условиях необходимо широко использовать принципы и методы проектирования организации управления на основе системного подхода.
Без развития методов проектирования структур управления затруднено дальнейшее совершенствование управления и повышение эффективности производства, так как:
- во-первых, в новых условиях в целом ряде случаев нельзя оперировать старыми организационными формами, которые не удовлетворяют требованиям рыночных отношений, создают опасность деформации самих задач управления;
- во-вторых, в сферу хозяйственного управления невозможно переносить закономерности управления техническими системами. Комплексный подход к совершенствованию организационного механизма ранее во многом был подменен работой по внедрению и использованию автоматизированных систем управления (АСУ) - работой исключительно важной, но не единственной в развитии управления на всех уровнях. Сама же работа по созданию АСУ нередко ведется в отрыве от улучшения структуры управления, недостаточно связана с организационными факторами;
- в-третьих, создание структуры должно опираться не только на опыт, аналогию, привычные схемы и, наконец, интуицию, но и на научные методы организационного проектирования.
1 Мировая и отечественная теория и практика проектирования и совершенствования организационных структур управления предприятием
1.1 Организационная структура управления предприятием. Понятие и виды
Организационная структура это целостная система, специально разработанная таким образом, чтобы работающие в её рамках люди могли наиболее эффективно добиться поставленной цели [23, с. 56].
Организационная структура определяет соотношение (взаимоподчиненность) между функциями, выполняемыми сотрудниками организации. Она проявляется в таких формах как разделение труда, создание специализированных подразделений, иерархия должностей, внутриорганизационные процедуры и является необходимым элементом эффективной организации, поскольку придает ей внутреннюю стабильность и позволяет добиться определенного порядка в использовании ресурсов.
Организации можно классифицировать по трем основным типам построения организационной структуры управления:
- линейно-функциональная;
- дивизиональная;
- матричная.
Линейно-функциональные схемы организационных структур исторически возникли в рамках фабрично-заводского производства и явились соответствующей «организационной» реакцией на усложнившееся производство и необходимость взаимодействия при изменившихся условиях с большим количеством институтов внешней среды (массовый потребитель, финансовые организации, международная конкуренция, законодательство, правительство и т.п.). Основой этой схемы (рисунок 1.1) являются линейные подразделения, осуществляющие в организации основную работу и обслуживающие их специализированные функциональные подразделения, создаваемые на «ресурсной» основе: кадры, финансы, производство и т.д.
Рисунок 1.1 - Линейно-функциональная организационная структура

Анализ данной структуры в показывает следующие преимущества:
-высокий уровень компетентности специалистов и их квалификацию,
-данная форма эффективна для выполнения отработанных планов и действует при стабильной деятельности предприятия,
-позволяет легко управлять подчиненными.
К числу слабостей автор относит:
-не эффективность в сложной ситуации на рынке, ибо затруднена инициатива и эффективная передача снизу вверх,
-решения принимаются на верхнем уровне, вследствие чего теряется оперативность,
-слабая координация действий функциональных подразделений,
-система продвижения и вознаграждения базируется на способности специалиста выполнять задачи внутри функционального подразделения, а не вкладом в конечный результат.
В поисках выхода из ситуации неэффективности деятельности линейно-функциональных структур ряд американских компаний в 20-е годы осуществили децентрализацию управления путем создания так называемых дивизиональных структур (Дюпон, Дженерал моторс). В 60-70 годы для крупных фирм США это стал доминирующий подход. Сущность такого подхода в выделении в аппарат управления в качестве основного структурного элемента не функциональной службы, а полностью автономного в хозяйственном отношении производственного отделения крупного завода или группы предприятий выпускающих определенный вид изделия. На эти отделения возлагалась вся ответственность за разработку, производство и сбыт более или менее однородной продукции.
Рисунок 1.2 - Принципиальная схема дивизиональной организации

В целом, дивизиональная схема в построении организации позволяет последней продолжать свой рост и эффективно осуществлять управление разными видами деятельности на разных рынках. Руководители производственных подразделений в рамках закрепленного за ними продукта или территории координируют деятельность не только по линии, но и по функциям и развивают тем самым в себе требуемы качества и развивают тем самым в себе требуемые качества общего руководства. Таким образом, создается хороший кадровый резерв для стратегического уровня организации. Разделение решений по уровням разделяет их принятие и повышает их качество.
Вместе с тем необходимо помнить, что внутри производственных отделений наблюдается тенденция к «укорачиванию» целей. Из-за роста управленческого аппарата за счет создания отделений увеличиваются накладные расходы. Централизованное распределение ключевых ресурсов в случае их недостатка может привести к развитию межотделенческих конфликтов. В больших дивизиональных организациях затруднена межотделенческая карьера, а при механистическом подходе человек вообще оказывается потерянным и его ресурс не используется эффективным образом.
В известной мере недостатки дивизиональной системы удалось на практике разрешить с переходом к организациям, построенным с включением элементов матричной схемы: управление по проекту, временные целевые группы, постоянные комплексные группы. Матричная схема просто неосуществима в рамках механистического подхода. Она требует перехода к органическому подходу, обеспечивающему большие возможности при проектировании горизонтальных, неформальных и косвенных связей, являющихся в значительной степени атрибутами матричной организации.
Матричная структура всегда является комбинацией двух организационных альтернатив функциональной и продуктовой (проектной). Таким образом, появляются две формальные схемы структур в матричной организации. Основной задачей руководства является поддержание баланса между двумя структурами.
Сотрудники матричной структуры имеют двойное подчинение как руководителю проектной группы, так и своим функциональным руководителям.
Такой подход обеспечивает разработку инновационных технологий, оперативность, инициативу и т.д. Недостатки такой структуры алчность, расходы, борьба за власть.
1.2 Причины изменения организационной структуры управления предприятием
Приведение структуры в соответствие с изменившимися условиями является одной из важнейших задач управления. В большинстве случаев решения о корректировке структур принимаются высшими руководителями организации как часть их основных обязанностей. Значительные по масштабам организационные преобразования не осуществляются до тех пор, пока не появится твердая уверенность в том, что для этого существуют серьезные причины, вызывающие их необходимость. Можно назвать некоторые ситуации в отдельности или в комбинации, когда оправданы затраты на корректировку структуры или разработку нового проекта.
Неудовлетворительное функционирование предприятия. Наиболее распространенной причиной необходимости разработки нового проекта организации являются неудачи в попытке применения каких-либо других методов снижения роста издержек, повышения производительности, расширения все сужающихся внутренних и внешних рынков или в привлечении новых финансовых ресурсов. Обычно, прежде всего, предпринимаются такие меры, как изменения в составе и уровне квалификации работающих, применение более совершенных методов управления, разработка специальных программ. Но, в конце концов, руководители на высшем уровне приходят к выводу, что причина неудовлетворительной деятельности предприятия заключается в определенных недостатках организационной структуры управления.
Перегрузка высшего руководства. Некоторым предприятиям удается функционировать удовлетворительно только ценою чрезмерной изнурительной нагрузки на нескольких высших руководителей. Если очевидные меры по изменению методов и процедур управления не позволяют уменьшить нагрузку, не приводят к сколь-нибудь продолжительному облегчению, то весьма эффективным средством решения этой задачи становится перераспределение прав и функций, корректировки и уточнения в формах организации.
Отсутствие ориентации на перспективу. Будущее развитие предприятия требует со стороны высших руководителей все большего внимания стратегическим задачам, независимо от характера предприятия и рода его деятельности. И в то же время до сих пор многие руководители высшего ранга продолжают основное время уделять оперативным вопросам, а их решения, которые будут иметь влияние и в далекой перспективе, основываются на простой экстраполяции текущих тенденций на будущее. Высший руководитель (или их группа) должен осознавать, что его важнейшая обязанность заключается в том, чтобы сделать предприятие способным разработать и реализовать стратегическую программу с той полнотой, которую позволяет юридическая и экономическая самостоятельность предприятия. Обеспечение такой способности почти всегда связано с преобразованиями организационных форм, а также с введением новых или измененных коренным образом процессов принятия решений.
Разногласия по организационным вопросам. Каждый опытный руководитель высшего ранга знает, что стабильность в организационной структуре предприятия, как правило, свидетельствует не столько о внутренней гармонии, сколько об успешном решении конфликтных ситуаций. Существующая структура, какова бы она ни была, создает препятствия для эффективной работы, затрудняет достижение целей некоторых отделов или подразделений, недостаточно четко отражает значение некоторых функциональных ролей, допускает несправедливое распределение власти, положений и полномочий и т.д. Когда возникают глубокие и устойчивые разногласия по поводу организационной структуры и особенно, когда высшее руководство сомневается относительно оптимальной формы, единственным выходом является тщательное изучение структуры. Смена руководства часто вызывает решение о реорганизации. Одна группа руководителей может эффективно действовать в рамках конкретной структуры. Группа, которая придет им на смену, может найти такую форму совершенно не соответствующей ее подходу к проблемам предприятия.
Эти обстоятельства, которые, как показал опыт, обычно предшествуют масштабному изучению организации, являются симптомом ряда причин, одни из которых действуют внутри предприятия, а другие полностью выходят из сферы его влияния.
Рост масштаба деятельности. Даже в условиях устойчивого ассортимента продукции, стабильных производственных процессов и сбыте при продолжительном увеличении размера предприятия появляется необходимость в значительном структурном преобразовании. К росту масштаба деятельности можно приспособиться и посредством небольших изменений в структуре. Тем не менее, если основная структура остается без изменений, от этого затруднится координация, руководители будут перегружены, ухудшится функционирование предприятия.
Увеличение разнообразия. Расширение номенклатуры выпускаемой продукции или услуг, выход на разнообразные рынки, дополнительное освоение новых производственных процессов вносят совершенно новые моменты в организацию. До тех пор пока эти разнородные элементы сравнительно невелики, их можно приспособить к какой-либо части существующей структуры. Но когда они принимают огромные размеры по используемым ресурсам, потребностям, риску, будущим возможностям, то структурные изменения становятся неизбежными.
Объединение хозяйствующих субъектов. Слияние двух или нескольких предприятий, даже одинаковых по характеру, обязательно вносит некоторые изменения в организационную структуру. Проблемы совпадения функций, излишнего персонала, путаница в распределении прав и ответственности требуют немедленного решения. Соединение с небольшими по размеру единицами обычно в меньшей степени затрагивает структуру, но если такое слияние происходит в течение достаточно длительного времени, изменения основной структуры становятся неизбежными. Если же объединяются два или несколько больших предприятий, то следует ожидать крупных структурных перемен.
Изменение технологии управления. Научные достижения в области управления начинают оказывать все большее влияние на организационные структуры и процессы (прогрессивные методы обработки информации, исследования операций и планирования, проектные и матричные формы построения и т.п.). Появляются новые должности и функциональные подразделения, изменяются процессы принятия решений. Некоторые отрасли производство массовой продукции, обрабатывающие отрасли, транспортные и распределительные системы, некоторые финансовые учреждения в действительности изменялись коренным образом благодаря успехам в области технологии управления. В этих отраслях предприятия, отстававшие в применении современных методов управления, оказывались в неблагоприятных условиях при жесткой и все более растущей конкуренции.
Влияние технологии производственных процессов. Влияние научных и технических изменений на организационную структуру было в последние годы в наибольшей степени исследованным и распространенным аспектом организационных изменений. Быстрое развитие отраслевых исследований, рост научных учреждений, повсеместное распространение управления проектами, растущая популярность матричных организаций все это свидетельствует о распространении влияния точных наук на промышленные организации.
Внешняя экономическая обстановка. Большинство промышленных предприятий находится в постоянно изменяющемся экономическом окружении. Некоторые изменения совершаются резко, из-за чего нормальное прежде функционирование предприятия внезапно становится неудовлетворительным. Другие изменения, которые происходят медленнее и имеют более фундаментальный характер, вынуждают предприятия переключаться на другие сферы деятельности или же переходить к новым средствам и методам руководства деятельностью в их прежней области. В любом случае наиболее вероятным результатом будет изменение главных задач управления, а значит, и новая организационная структура.
1.3 Анализ и проектирование организационной структуры управления предприятием
Каждое из отмеченных выше обстоятельств приводит к изменениям структуры и может в такой же степени указывать на необходимость пересмотра главной стратегии предприятия. Ни стратегия, ни структура не могут быть установлены независимо друг от друга. Тем не менее, приоритет отдается задачам, целям, распределению ресурсов и основным программам, составляющим стратегию предприятия. Связано это с тем, что большинство серьезных проблем на крупных предприятиях имеет скорее стратегический, чем организационный характер.
Неспособность выжить и функционировать эффективно чаще всего является результатом того, что:
-принимаются необоснованные стратегические решения;
-предприятия пытаются продолжать деятельность в объеме, который уже не является экономичным;
-не удается наладить выпуск новой продукции или выпускается не находящая сбыта продукция и не там, где надо;
-фирмы, имеющие один рынок сбыта, не способны диверсифицировать производство.
Перераспределение задач, прав и ответственности, информационных потоков повышает эффективность организации путем роста производительности и по крайней мере временно сдерживает рост издержек, повышает прибыльность. Улучшение организационных форм нередко способствует выработке новых и более совершенных стратегических решений.
Если структура не может существовать без стратегии, то стратегия также не может быть успешной без соответствующей ей структуры. Почти на любом крупном предприятии можно найти примеры, когда осуществлению хорошо задуманных стратегических планов мешала организационная структура, которая задерживала их выполнение или отдавала предпочтение решению второстепенных вопросов.
Таким образом, структура неразрывно связана со стратегией. Одно время практиковался статический подход к разработке проекта организации и корректирующих изменений. Определялись задачи текущей деятельности предприятия, которые затем агрегировали по восходящим уровням в форме традиционной пирамиды. Теперь же ни одна организационная схема большого предприятия не может основываться только на текущей деятельности. Она обязательно должна отражать любые возможные изменения главной задачи предприятия, цели и стратегические программы высшего руководства.
Эта взаимосвязь стратегии и структуры лежит в основе всех рекомендаций по корректировке и изменению организации управления предприятием. Аналитический процесс по изучению стратегии предприятия является неотъемлемым элементом корректировок в структуре независимо от того, является ли производство многопрофильным или однородным, частным или государственным. Используемые методы анализа, как правило, состоят из пяти этапов.
Первый этап состоит в выяснении задачи предприятия, областей неопределенности и наиболее вероятных альтернатив развития. Точный и определенный ответ на вопрос о задачах предприятия в большой степени определяет общую структуру. Почти всегда можно дать ясный и недвусмысленный ответ на подобный вопрос для многих организаций или их частей. В случае образования совершенно новых предприятий определение задачи может быть ограничено установлением проектных параметров.
Второй этап анализа организационной структуры заключается в определении переменных, которые значительно влияют на выполнение задачи. На этом этапе необходим глубокий анализ экономической и производственной структуры предприятия и ее основных компонентов. Здесь необходим также анализ окружающей среды, в которой функционирует предприятие или планируется его деятельность. Исследование этих двух тесно связанных областей (внешней и внутренней) приводит к ключевым решениям, которые могут определить успех предприятия.
На третьем этапе изучаются цели и программы развития предприятия. Важно убедиться, что текущие цели соответствуют главной задаче предприятия, а программы согласованы с ключевыми факторами успешного функционирования. Это является существенным моментом, поскольку цели и планы оказывают непосредственное воздействие на организационную структуру путем определения приоритетов и значения ранее принятых решений. Любой организационный проект включает неизбежные изменения. Можно иметь различное соотношение между эффективностью производства и нововведениями, между объемом рынка сбыта и техническим качеством, между краткосрочным и долгосрочным планированием. Программы предприятия, его стратегия являются принципиальной основой для принятия таких решений при проектировании организации.
На четвертом этапе оценивают, насколько структура организации отвечает задачам, целям и факторам, от которых зависит успешность ее функционирования. Для этого необходимо тщательно изучить существующую формальную структуру, определить все ее сильные и слабые стороны, выяснить, какие недостатки в формальной структуре компенсируют неформальные элементы и насколько эффективно.
Трудным, но неизбежным моментом в анализе организации является оценка человеческих ресурсов предприятия. Иногда серьезную нехватку работников определенных специальностей невозможно восполнить достаточно быстрой подготовкой работников внутри предприятия или набором со стороны, чего нельзя не учесть в распределении функций в рамках имеющейся структуры. Исследователь изучает также основные процессы управления планирование, распределение ресурсов, оперативный контроль для того, чтобы установить, насколько они способствуют выполнению задачи, цели и стратегических программ. Рассматривается вероятность и обоснованность изменения самих процессов. Анализ организации и окружающей среды предоставляет колоссальный объем информации, который необходимо оценить так, чтобы можно было принять решение о структуре, что является конечным этапом аналитического процесса.
Выработка такого решения является очень трудным, почти полностью эмпирическим процессом. Структура больших организаций стала необычайно запутанной из-за многочисленных изменений. Сделать выбор среди них бывает сложно, но еще труднее преодолеть сопротивление этим изменениям. Скорость изменений настолько увеличивается, что ищут не столько специфическую, постоянную структуру, сколько временную, которая отражает определенный этап развития организации. И, наконец, структура, зафиксированная в схемах и уставах, занимает все меньше места в проектах организации. Потоки информации, процессы принятия решений, проектные графики или временные предписания становятся все более существенными источниками информации о ролях и распределении прав и ответственности. Структуру можно выбрать и понять только при широком, комплексном подходе к изменениям предприятия и его окружающей среды.
Как показывает опыт, процесс внесения коррективов в организационную структуру управления должен предусматривать:
-систематический анализ функционирования организации и ее среды с целью выявления проблемных зон. Анализ может базироваться на сравнении конкурирующих или родственных организаций, представляющих иные сферы экономической деятельности;
-разработку генерального плана совершенствования организационной структуры;
-гарантию того, что программа нововведений содержит максимально простые и конкретные предложения по изменению;
-последовательную реализацию планируемых перемен. Введение незначительных изменений имеет большие шансы на успех, чем изменения крупного характера;
-поощрение повышения уровня информированности сотрудников, что позволит им лучше оценить свою причастность и, следовательно, усилит их ответственность за намеченные перемены.
При разработке принципов и методики проектирования структур управления важно отойти от представления структуры как застывшего набора органов, соответствующих каждой специализированной функции управления. Организационная структура управления понятие многостороннее. Оно, прежде всего, включает систему целей и их распределение между различными звеньями, поскольку механизм управления должен быть ориентирован на достижение целей. Сюда же относятся: состав подразделений, которые находятся в определенных связях и отношениях между собой; распределение задач и функций по всем звеньям; распределение ответственности, полномочий и прав внутри организации, отражающее соотношение централизации и децентрализации. Важными элементами структуры управления являются коммуникации, потоки информации и документооборот в организации. Наконец, организационная структура это поведенческая система, это люди и их группы, постоянно вступающие в различные взаимоотношения для решения общих задач.
Такая многосторонность организационного механизма несовместима с использованием каких-либо однозначных методов либо формальных, либо неформальных. Именно поэтому необходимо исходить из сочетания научных методов и принципов формирования структур (системного подхода, программно-целевого управления, организационного моделирования) с большой экспертно-аналитической работой, изучением отечественного и зарубежного опыта, тесным взаимодействием разработчиков и тех, кто практически будет внедрять и использовать проектируемый организационный механизм. В основу всей методологии проектирования структур должно быть положено четкое формулирование целей организации. Сначала цели, а затем механизм их достижения. При этом организация рассматривается как многоцелевая система, поскольку ориентация на одну цель не отражает ее многообразную роль в развитии экономики.
М. Мескон определяет следующий подход (последовательность действий) при проектировании структуры управления:
-осуществить деление организации по горизонтам на блоки, соответствующие направленности деятельности по реализации стратегии. Определить, какие виды деятельности линейные, какие штатные;
-установить соотношение полномочий должностей. Определить уровни иерархии;
-определить должностные обязанности.
Кроме того, при проектировании организационной структуры имеет место определение следующих вопросов:
-формализация управления, то есть насколько необходимо формальное взаимодействие.
-уровень принятия решений: где, кто, когда.
-системность организационной структуры [15, с. 359]
А. Файоль так сформулировал принципы хорошей организации:
-единство управления независимо от структуры ответственность несёт за всё один человек;
-скалярный метод передачи полномочий. Полная ответственность предполагает право не только управлять но и делегировать полномочия;
-единство подчинения у каждого только один начальник;
-принцип соответствия: делегированные полномочия соответствующей условно ответственности;
-масштабы управления, число подчинённых лимитировано; Эффективность и надёжность коммуникативных связей;
-принцип ориентированности организации строятся на основе задач и не зависят от субъективных факторов;
-избирательность руководитель получает информацию, относящуюся к исключительному типу, то есть выходящую за рамки плана и требующую корректирования действий;
-дифференциация труда: линейный, штабной принцип; квалифицированный и мало квалифицированный труд;
-сегментация и специализация разбивка структуры на простые и специализированные составляющие (специалист по налогам, специалист по учёту движения материальных средств и т. д.);
-контроль за операциями должен быть орган, следящий за ходом дел и выполнением распоряжений;
-планирование предшествует делу;
-гибкость структура отвечает ситуации;
-доступность уровней управления сотрудник имеет возможность обратиться к любому руководителю по вопросам работы [37, с. 124].
Особое значение имеет характер влияния внешней среды на построение организации и всю систему связей элементов структуры с элементами внешних воздействий. Системность самого подхода к формированию структуры проявляется в следующем: а) не упускать из виду ни одну из управленческих задач, без решения которых реализация целей окажется неполной; б) выявить и взаимоувязать применительно к этим задачам всю систему функций, прав и ответственности по вертикали управления от генерального директора предприятия до мастера участка; в) исследовать и организационно оформить все связи и отношения по горизонтали управления, т.е. по координации деятельности разных звеньев и органов в связи с выполнением общих текущих задач и реализацией перспективных межфункциональных программ; г) обеспечить органическое сочетание вертикали и горизонтали управления, имея в виду нахождение оптимального для данных условии соотношения централизации и децентрализации в управлении.
Все это требует тщательно разработанной поэтапной процедуры проектирования структур, детального анализа и определения системы целей, продуманного выделения организационных подразделений и форм их координации.
Применявшиеся до последнего времени методы построения организационных структур управления характеризовались чрезмерно нормативным характером, недостаточным разнообразием, гипертрофированным использованием типовых решений, что приводило к механическому переносу применявшихся в прошлом организационных форм в новые условия. Нередко аппарат управления на самых разных уровнях повторял одни и те же схемы, наборы функций и состав подразделений, отличающихся только по численности. С научной точки зрения слишком узкую трактовку получали сами исходные факторы формирования структур: численность персонала вместо целей организации; постоянный набор органов вместо изменения их состава и комбинации в разных условиях; упор на исполнение неизменных функций в отрыве от менявшихся задач; устаревшие схемы и штаты как усредненные показатели существующих организаций без анализа их недостатков и пригодности.
Одним из главных недостатков применявшихся методик являлась их функциональная ориентация, строгая регламентация процессов управления, а не их результатов. Однако в условиях рыночных отношений состав и содержание функций управления становятся неустойчивыми. Поэтому цели и взаимосвязи различных звеньев системы управления приобретают зачастую более важное значение, чем строгое установление их функциональной специализации.
Системный подход, придавая важное значение научно обоснованному определению функций управления и нормативов численности как части общего процесса формирования организационно-управленческой структуры, ориентирует исследователей и разработчиков на более общие принципы проектирования организаций. Прежде всего, он предполагает исходное определение системы целей организации, которые обусловливают структуру задач и содержание функций аппарата управления.
Многообразие целей как на высшем, так и на среднем и низших уровнях организации обычно не может быть сведено к одному измерителю. Основное назначение большинства производственных организаций с точки зрения общества определяется целями удовлетворения рыночной потребности в производимой продукции и услугах, в любом случае каждая цель отражает одну из объективно необходимых сторон функционирования и развития организационной системы. Вместе с тем соответствие между системой целей и организационной структурой управления не может быть однозначным.
На рисунке 1.3 показана общая последовательность перехода от целей организации к ее структуре.
Применительно к реализации системных принципов формирования внутренней структуры аппарата управления следует учитывать, что организационная структура является сложной характеристикой системы управления.
В единой системе должны рассматриваться и различные методы формирования организационных структур управления, многие из которых появились лишь в последние годы. Эти методы имеют различную природу, каждый из них в отдельности не позволяет решить все практически важные проблемы построения организационной структуры аппарата управления и должен применяться в органическом сочетании с другими.
Содержание процесса формирования организационной структуры в значительной мере универсально. Оно включает в себя формулировку целей и задач, определение состава и места подразделений, их ресурсное обеспечение (включая численность работающих), разработку регламентирующих процедур, документов, положений, закрепляющих и регулирующих формы, методы, процессы, которые осуществляются в организационной системе управления.
Рисунок 1.3 - Переход от целей организации к ее структуре

Весь этот процесс можно организовать по трем крупным стадиям:
1) формирование общей структурной схемы аппарата управления;
2) разработка состава основных подразделений и связей между ними;
3) регламентация организационной структуры.
Формирование общей структурной схемы во всех случаях имеет принципиальное значение, поскольку при этом определяются главные характеристики организации, а также направления, по которым должно быть осуществлено более углубленное проектирование как организационной структуры, так и других важнейших аспектов системы (внутриорганизационного экономического механизма, способов переработки информации, кадрового обеспечения).
К принципиальным характеристикам организационной структуры, которые определяются на этой стадии, можно отнести цели производственно-хозяйственной системы и проблемы, подлежащие решению; общую спецификацию функциональных и программно-целевых подсистем, обеспечивающих их достижение; число уровней в системе управления; степень централизации и децентрализации полномочий и ответственности на разных уровнях; основные формы взаимоотношений данной организации с окружающей средой; требования к экономическому механизму, формам обработки информации, кадровому обеспечению организационной системы.
Основная особенность второй стадии процесса проектирования организационной структуры управления разработка состава основных подразделений и связей между ними заключается в том, что предусматривается реализация организационных решений не только в целом по крупным линейно-функциональным и программно-целевым блокам, но и вплоть до самостоятельных (базовых) подразделений аппарата управления, распределения конкретных задач между ними и построения внутриорганизационных связей. Под базовыми подразделениями понимаются при этом самостоятельные структурные единицы (отделы, управления, бюро, сектора, лаборатории), на которые организационно разделяются линейно-функциональные и программно-целевые подсистемы. Базовые подразделения могут иметь свою внутреннюю структуру.
Третья стадия регламентация организационной структуры предусматривает разработку количественных характеристик аппарата управления и процедур управленческой деятельности. Она включает: определение состава внутренних элементов базовых подразделений (бюро, групп и должностей); определение проектной численности подразделений, трудоемкости основных видов работ и квалификационного состава исполнителей; распределение задач и работ между конкретными исполнителями; установление ответственности за их выполнение; разработку процедур выполнения управленческих работ в подразделениях, в том числе на основе автоматизированной обработки информации; разработку порядка взаимодействия подразделений при выполнении взаимосвязанных комплексов работ; расчеты затрат на управление и показателей эффективности аппарата управления в условиях проектируемой организационной структуры.
Структура управления производственно-хозяйственной организацией как объект проектирования сложная система.
Она сочетает в себе как технологические, экономические, информационные, административно-организационные взаимодействия, которые поддаются непосредственному анализу и рациональному проектированию, так и социально-психологические характеристики и связи. Последние определяются уровнем квалификации и способностей работников, их отношением к труду, стилем руководства.
Специфика проблемы проектирования организационной структуры управления состоит в том, что она не может быть адекватно представлена в виде задачи формального выбора наилучшего варианта организационной структуры по четко сформулированному, однозначному, математически выраженному критерию оптимальности. Это количественно-качественная, многокритериальная проблема, решаемая на основе сочетания научных, в том числе формализованных, методов анализа, оценки, моделирования организационных систем с субъективной деятельностью ответственных руководителей, специалистов и экспертов по выбору и оценке наилучших вариантов организационных решений.
Процесс организационного проектирования состоит в последовательности приближения к модели рациональной структуры управления, в котором методы проектирования играют вспомогательную роль при рассмотрении, оценке и принятии к практической реализации наиболее эффективных вариантов организационных решений.
Проектирование организационных структур управления осуществляется на основе следующих основных взаимодополняющих методов:
а) аналогий;
б) экспертно-аналитического;
в) структуризации целей;
г) организационного моделирования.
Метод аналогий состоит в применении организационных форм и механизмов управления, которые оправдали себя в организациях со сходными организационными характеристиками (целями, типом технологии, спецификой организационного окружения, размером и т.п.) по отношению к проектируемой организации. К методу аналогий относится выработка типовых структур управления производственно-хозяйственных организаций и определение границ и условий их применения.
Использование метода аналогий основано на двух взаимодополняющих подходах. Первый из них заключается в выявлении для каждого типа производственно-хозяйственных организаций и для различных отраслей значений и тенденций изменения главных организационных характеристик и соответствующих им организационных форм и механизмов управления, которые исходя из конкретного опыта или научных обоснований доказывают свою эффективность для определенного набора исходных условий. Второй подход представляет, по сути, типизацию наиболее общих принципиальных решений о характере и взаимоотношениях звеньев аппарата управления и отдельных должностей в четко определенных условиях работы организаций данного типа в конкретных отраслях, а также разработку отдельных нормативных характеристик аппарата управления для этих организаций и отраслей.
Типизация решений является средством повышения общего уровня организации управления производством, направленным на стандартизацию и унификацию организационных форм управления, ускорение внедрения наиболее рациональных, прогрессивных форм. Типовые организационные решения должны быть, во-первых, вариантными, а не однозначными, во-вторых, пересматриваемыми и корректируемыми с регулярной периодичностью и, наконец, допускающими отклонения в случаях, когда условия работы организации отличаются от четко формулированных условий, для которых рекомендуется соответствующая типовая форма организационной структуры управления.
Экспертно-аналитический метод состоит в обследовании и аналитическом изучении организации силами квалифицированных специалистов с привлечением ее руководителей и других работников для того, чтобы выявить специфические особенности, проблемы, "узкие места" в работе аппарата управления, а также выработать рациональные рекомендации по его формированию или перестройке исходя из количественных оценок эффективности организационной структуры, рациональных принципов управления, заключений экспертов, а также обобщения и анализа наиболее передовых тенденций в области организации управления. Данный метод, являющийся наиболее гибким и всеохватывающим, применяется в тесном сочетании с другими (в особенности методами аналогий и структуризации целей) и имеет многообразные формы реализации. В первую очередь, к ним относится осуществление диагностического анализа особенностей, проблем, "узких мест" в системе управления действующей производственно-хозяйственной организации или в организациях, аналогичных вновь создаваемой, с тем чтобы предусмотреть организационное решение выявленных проблем в разрабатываемой структуре управления. Сюда же относится и проведение экспертных опросов руководителей и членов организации для выявления и анализа отдельных характеристик построения и функционирования аппарата управления, обработка полученных экспертных оценок статистико-математическими методами (ранговой корреляции, факторного анализа обработки списков и т.п.).
К экспертным методам следует отнести также разработку и применение научных принципов формирования организационных структур управления. Под ними понимаются выведенные из передового опыта управления и научных обобщений руководящие правила, выполнение которых направляет деятельность специалистов при выработке рекомендаций по рациональному проектированию и совершенствованию организационных систем управления. Принципы формирования организационных структур управления являются конкретизацией более общих принципов управления (например, единоначалия или коллективного руководства, специализации и т.п.). Примерами современных принципов формирования организационных структур могут служить такие, как "построение организационной структуры исходя из системы целей", "отделение стратегических и координационных функций от оперативного управления", "сочетание функционального и программно-целевого управления" и целый ряд других.
Особое место среди экспертных методов занимает разработка графических и табличных описаний организационных структур и процессов управления, отражающих рекомендации по их наилучшей организации. К такого рода описаниям относятся, в частности, маршрутная технология выполнения управленческих функций или их этапов, основанная на принципах научной организации труда, а также на прогрессивных методах и технических средствах осуществления управленческих работ, и регламентирующая порядок их выполнения. Этому предшествует разработка вариантов организационных решений, направленных на устранение выявленных организационных проблем, отвечающих научным принципам и передовому опыту организации управления, а также требуемому уровню количественно-качественных критериев оценки эффективности организационных структур. Как правило, при этом осуществляется табличное представление преимуществ и недостатков каждого из вариантов с целью их последующего обсуждения и анализа.
Метод структуризации целей предусматривает выработку системы целей организации, включая их количественную и качественную формулировки, и последующий анализ организационных структур с точки зрения их соответствия системе целей. При его использовании чаще всего выполняются следующие этапы:
а) разработка системы ("дерева") целей, представляющей собой структурную основу для увязки всех видов организационной деятельности исходя из конечных результатов, независимо от распределения этих видов деятельности по организационным подразделениям и программно-целевым подсистемам в организации;
б) экспертный анализ предлагаемых вариантов организационной структуры с точки зрения организационной обеспеченности достижения каждой из целей, соблюдения принципа однородности целей, устанавливаемых каждому подразделению, определения отношений руководства, подчинения, кооперации подразделений исходя из взаимосвязей их целей и т.п.;
в) составление карт прав и ответственности за достижение целей как для отдельных подразделений, так и по комплексным межфункциональным видам деятельности, где регламентируется сфера ответственности (продукция, ресурсы, рабочая сила, производственные и управленческие процессы, информация); конкретные результаты, за достижение которых устанавливается ответственность; права, которыми наделяется подразделение для достижения результатов (утверждать и представлять на утверждение, согласовывать, подтверждать, контролировать).
Метод организационного моделирования представляет собой разработку формализованных математических, графических, машинных и других отображений распределения полномочий и ответственности в организации, являющихся базой для построения, анализа и оценки различных вариантов организационных структур по взаимосвязи их переменных. Можно назвать несколько основных типов организационных моделей:
-математико-кибернетические модели иерархических управленческих структур, описывающие организационные связи и отношения в виде систем математических уравнений и неравенств или же с помощью машинных имитационных языков (примерами могут служить модели многоступенчатой оптимизации, модели системной, индустриальной динамики и др.);
-графоаналитические модели организационных систем, представляющие собой сетевые, матричные и другие табличные и графические отображения распределения функций, полномочий, ответственности, организационных связей. Они дают возможность анализировать их направленность, характер, причины возникновения, оценивать различные варианты группировки взаимосвязанных видов деятельности в однородные подразделения, "проигрывать" варианты распределения прав и ответственности между разными уровнями руководства и т.п. Примерами могут служить "метасхемные" описания материальных, информационных, денежных потоков совместно с управленческими действиями; матрицы распределения полномочий и ответственности; таблицы коэффициентов связей между функциями производства и управления и др.;
-натурные модели организационных структур и процессов, заключающиеся в оценке их функционирования в реальных организационных условиях. К ним относятся организационные эксперименты заранее спланированные и контролируемые перестройки структур и процессов в реальных организациях; лабораторные эксперименты искусственно созданные ситуации принятия решений и организационного поведения, сходные с реальными организационными условиями; управленческие игры действия практических работников (участников игры), основанные на заранее установленных правилах с оценкой их текущих и долгосрочных последствий (в том числе с помощью ЭВМ);
-математико-статистические модели зависимостей между исходными факторами организационных систем и характеристиками организационных структур. Они построены на основе сбора, анализа и обработки эмпирических данных об организациях, функционирующих в сопоставимых условиях. Примерами могут служить регрессивные модели зависимости численности ИТР и служащих от производственно-технологических характеристик организации; зависимости показателей специализации, централизации, стандартизации управленческих работ от типа организационных задач и других характеристик и т.п.
Процесс проектирования организационной структуры управления должен быть основан на совместном использовании охарактеризованных выше методов. На стадиях композиции и структуризации наибольшее значение имеют метод структуризации целей, экспертно-аналитический метод, а также выявление и анализ организационных прототипов. Более формализованные методы должны быть использованы для углубленной проработки организационных форм и механизмов отдельных подсистем на стадии регламентации. Для проектирования организационных структур новых организаций выше роль формально-аналитических методов и моделей, для совершенствования действующих диагностических обследований и экспертного изучения организационной системы.
Выбор метода решения той или иной организационной проблемы зависит от ее характера, а также от возможностей для проведения соответствующего исследования (наличия методики, необходимой информации, а также квалификации разработчиков системы и сроков представления рекомендаций).
1.4 Оценка эффективности организационных решений
Оценка эффективности является важным элементом разработки проектных и плановых решений, позволяющим определить уровень прогрессивности действующей структуры, разрабатываемых проектов или плановых мероприятий, и проводится с целью выбора наиболее рационального варианта структуры или способа ее совершенствования. Эффективность организационной структуры должна оцениваться на стадии проектирования, при анализе структур управления действующих организаций для планирования и осуществления мероприятий по совершенствованию управления.
Подход к оценке эффективности различных вариантов организационной структуры определяется ее ролью как характеристики системы управления. Комплексный набор критериев эффективности системы управления формируется с учетом двух направлений оценки ее функционирования:
-по степени соответствия достигаемых результатов установленным целям производственно-хозяйственной организации (начиная с уровня выполнения плановых заданий);
-по степени соответствия процесса функционирования системы объективным требованиям к его содержанию, организации и результатам.
Критерием эффективности при сравнении различных вариантов организационной структуры служит возможность наиболее полного и устойчивого достижения конечных целей системы управления при относительно меньших затратах на ее функционирование. Критерием же эффективности мероприятий по совершенствованию организационной структуры служит возможность более полного и стабильного достижения установленных целей или сокращения затрат на управление, эффект от реализации которых должен за нормативный срок превысить производственные затраты.
Принципиальное значение для оценок эффективности системы управления имеет выбор базы для сравнения или определение уровня эффективности, который принимается за нормативный. Здесь можно указать несколько подходов, которые могут дифференцированно использоваться применительно к конкретным случаям. Один из них сводится к сравнению с показателями, характеризующими эффективность организационной структуры эталонного варианта системы управления. Эталонный вариант может быть разработан и спроектирован с использованием всех имеющихся методов и средств проектирования систем управления, на основе передового опыта и применения прогрессивных организационных решений. Характеристики такого варианта принимаются в качестве нормативных, при этом сравнительная эффективность анализируемой или проектируемой системы определяется на основе сопоставления нормативных и фактических (проектных) параметров системы с использованием преимущественно количественных методов сравнения. Может применяться также сравнение с показателями эффективности и характеристиками системы управления, выбранной в качестве эталона, определяющего допустимый или достаточный уровень эффективности организационной структуры.
Однако возникают некоторые трудности применения указанных подходов, которые обусловлены необходимостью обеспечения сопоставимости сравниваемых вариантов. Поэтому часто вместо них используется экспертная оценка организационно-технического уровня анализируемой и проектируемой системы, а также отдельных ее подсистем и принимаемых проектных и плановых решений, или комплексная оценка системы управления, основанная на использовании количественно-качественного подхода, позволяющего оценивать эффективность управления по значительной совокупности факторов Экспертная оценка может являться составным элементом комплексной оценки эффективности системы управления, включающей все перечисленные подходы как к отдельным подсистемам, так и ко всей системе в целом
Показатели, используемые при оценках эффективности аппарата управления и его организационной структуры, могут быть разбиты на следующие три взаимосвязанные группы
Группа показателей, характеризующих эффективность системы управления, выражающихся через конечные результаты деятельности организации и затраты на управление При оценках эффективности на основе показателей, характеризующих конечные результаты деятельности организации, в качестве эффекта, обусловленного функционированием или развитием системы управления, могут рассматриваться объем (увеличение объема выпуска продукции), прибыль (увеличение прибыли), себестоимость (снижение себестоимости), объем капитальных вложений (экономия на капитальных вложениях), качество продукции, сроки внедрения новой техники и т.п.
Группа показателей, характеризующих содержание и организацию процесса управления, в том числе непосредственные результаты и затраты управленческого труда В качестве затрат на управление учитываются текущие расходы на содержание аппарата управления, эксплуатацию технических средств, содержание зданий и помещений, подготовку и переподготовку кадров управления, а также единовременные расходы на исследовательские и проектные работы в области создания и совершенствования систем управления, на приобретение вычислительной техники и других технических средств, используемых в управлении, затраты на строительство.
При оценке эффективности процесса управления используются показатели, которые могут оцениваться как количественно, так и качественно Эти показатели приобретают нормативный характер и могут использоваться в качестве критерия эффективности и ограничений, когда организационная структура изменяется в направлении улучшения одного или группы показателей эффективности без изменения (ухудшения) остальных К нормативным характеристикам аппарата управления могут быть отнесены следующие производительность, экономичность, адаптивность, гибкость, оперативность, надежность.
Производительность аппарата управления может определяться, в частности, как количество произведенной организацией конечной Продукции или объемы выработанной в процессе управления информации, приходящиеся на одного работника, занятого в аппарате управления
Под экономичностью аппарата управления понимаются относительные затраты на его функционирование, соизмеряемые с объемами или результатами производственной деятельности. Для оценки экономичности могут использоваться такие показатели, как удельный вес затрат на содержание аппарата управления в стоимости реализованной продукции, удельный вес управленческих работников в численности промышленно-производственного персонала, стоимость выполнения единицы объема отдельных видов работ.
Адаптивность системы управления определяется ее способностью эффективно выполнять заданные функции в определенном диапазоне изменяющихся условий. Чем относительно шире этот диапазон, тем более адаптивной считается система.
Гибкость характеризует свойство органов аппарата управления - изменять в соответствии с возникающими задачами свои роли в процессе принятия решений и налаживать новые связи, не нарушая присущей данной структуре упорядоченности отношений. В принципе гибкость структуры управления может оцениваться по многообразию форм взаимодействия управленческих органов, по номенклатуре решаемых подразделениями задач, по уровню централизации ответственности и другим признакам.
Оперативность принятия управленческих решений характеризует своевременность выявления управленческих проблем и такую скорость их решения, которая обеспечивает максимальное достижение поставленных целей при сохранении устойчивости налаженных производственных и обеспечивающих процессов.
Надежность аппарата управления в целом характеризуется его безотказным (соответствующим поставленным целям) функционированием. Если считать качество определения целей и постановки проблем достаточным, то надежность аппарата управления может относительно полно характеризоваться его исполнительностью, то есть способностью обеспечивать выполнение заданий в рамках установленных сроков и выделенных ресурсов. Для оценки исполнительности аппарата управления и его подсистем могут использоваться такие показатели, как уровень выполнения плановых заданий и соблюдение утвержденных нормативов, отсутствие отклонений при исполнении указаний, нарушений административно-правового и технологического регламента и т.п.
Третья группа показателей, характеризующих рациональность организационной структуры и ее технико-организационный уровень, которые могут использоваться в качестве нормативных при анализе эффективности проектируемых вариантов организационных структур. К ним относятся звенность системы управления, уровень централизации функций управления, принятые нормы управляемости, сбалансированность распределения прав и ответственности, уровень специализации и функциональной замкнутости подсистем и т.п.
Для оценки эффективности управления важное значение имеет определение соответствия системы управления и ее организационной структуры объекту управления. Это находит выражение в сбалансированности состава функций и целей управления, содержательной полноте и целостности процессов управления, соответствии численности и состава работников объему и сложности работ, полноте обеспечения производственно-технологических процессов требуемой информацией, обеспеченности процессов управления технологическими средствами с учетом их номенклатуры, мощностей и быстродействия. Важными требованиями, которые должны быть реализованы при формировании системы показателей для оценки эффективности организационной структуры, являются обеспечение структурно-иерархического соответствия показателей системе целей организации, способность адекватного отражения динамичности управляемых процессов, сбалансированность и непротиворечивость показателей. При оценке эффективности отдельных мероприятий по совершенствованию системы управления и ее организационной структуры допускается использование не связанных в единую систему частных показателей. Основное требование к их выбору максимальное соответствие каждого показателя целевой ориентации проводимого мероприятия и полнота отражения достигаемого эффекта.
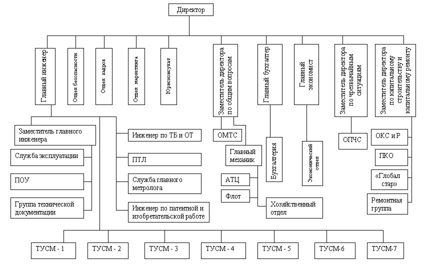
2 Анализ хозяйственной деятельности и существующей организационной структуры управления филиала ОАО «Ростелеком» ТЦМС-15
2.1 Общая характеристика компании ОАО «Ростелеком» и его Хабаровского филиала ТЦМС-15
Акционерное общество открытого типа междугородной и международной электрической связи «Ростелеком» учреждено в соответствии с Законом Российской Федерации «О приватизации государственных и муниципальных предприятий в Российской Федерации» от 3 июля 1991 г. с изменениями и дополнениями, внесенными Законом Российской Федерации от 5 июня 1992 г. и с Государственной программой приватизации государственных и муниципальных предприятий Российской Федерации на 1992г., утвержденной постановлением Верховного Совета Российской Федерации от 11 июля 1992 г. N 2980 -1.
Основной целью Общества является обеспечение потребностей населения, народного хозяйства, обороны Российской Федерации и других потребителей в передаче информации по каналам междугородной и международной электрической связи, радиовещания и телевидения, а также получение прибыли.
Общество предоставляет услуги междугородной и международной электрической связи, на договорных началах обеспечивает передачу информации по магистральным и внутризоновым сетям связи, сдает в аренду (на правах услуги) линии передачи, линейные, групповые и сетевые тракты, каналы тональной частоты, каналы и средства звуковой и телевизионного вещания, радиосвязи, каналы и средства вторичных телефонной и телеграфной сетей, каналы передачи данных, организует новые международные каналы связи.
Общество эксплуатирует, приобретает, арендует, строит новые линии связи, телефонные станции, средства телевидения, радиосвязи и радиовещания и другие объекты связи на территории Российской Федерации и за ее пределами для удовлетворения потребителей в различных услугах междугородной и международной электрической связи, телевидения, радиосвязи и радиовещания.
Общество обеспечивает равный доступ потребителям к принадлежащим ему средствам и каналам связи и в приоритетном порядке предоставляет каналы и тракты связи в интересах обороны, государственного управления, безопасности и правопорядка страны, в том числе в чрезвычайных ситуациях.
Общество принимает на себя обязательства по выполнению соответствующих мобилизационных и других специальных заданий, определяемых отдельными документами и договорами с государственными органами управления, при невыполнении которых по вине Общества лицензии, выданные ему, могут быть аннулированы.
Генеральный директор осуществляет оперативное руководство деятельностью Общества и наделяется в соответствии с законодательством Российской Федерации всеми необходимыми полномочиями для выполнения этой задачи. Генеральный директор несет ответственность за соблюдение режима секретности проводимых работ, разработку и осуществление необходимых мероприятий по защите государственных секретов Российской Федерации. Генеральный директор осуществляет свою деятельность в строгом соответствии с действующим законодательством и уставом.
ОАО "Ростелеком" осуществляет свою деятельность через ряд филиалов, оказывающих услуги связи на всей территории России. Филиалы оказывают услуги связи от имени ОАО "Ростелеком" и проводят взаиморасчеты по установленным таксам с региональными операторами связи. Филиалы также участвуют в подключении региональных сетей связи к магистральной сети ОАО "Ростелеком". В структуру филиалов может входить одно или несколько расположенных в разных местах подразделений, оказывающих соответствующие телекоммуникационные услуги на конкретной территории.
По российскому законодательству филиал не является юридическим лицом, независимым от основного общества. Тем не менее, филиал может иметь имущество, нести ответственность и вступать в договорные отношения от имени основного общества. Филиал не может самостоятельно выступать истцом и ответчиком в суде. Филиалы ОАО "Ростелеком" осуществляют деятельность на основании положений, утверждаемых Генеральным директором ОАО «Ростелеком»
ОАО «Ростелеком» имеет 17 региональных филиалов, разбросанных по всей стране и является монополистом в области своей деятельности.
Все филиалы работают в совершенно разных условиях. Например, тюменский филиал, это в основном зоновые связи и районы с малой плотностью населения, и совсем другое дело ростовский филиал, где совершено иная ситуация. Без жесткой централизации и планирования финансовых ресурсов якутский или хабаровский филиалы оказались бы в значительно более тяжелом положении, чем московский, петербургский или тот же ростовский.
ОАО «Ростелеком» проводит определенное перераспределение ресурсов ради комплексного развития связи, одни направления приносят деньги, другие их распределяют, а третьи тратят. Важно, чтобы все эти три направления работали, как единый механизм.
ОАО «Ростелеком» в основном взаимодействует с операторами, а не с конкретными потребителями и тем сейчас предпринимаются попытки выйти на рынок самых современных услуг. Во-первых, начинает создаваться сеть мультимедиа связи для органов государственного управления. Самым серьезным образом компания развивает услуги Internet, собирается работать на рынке сотовой спутниковой связи, скоро должен пройти запуск первых спутников “Глобал стар”. В общем, ОАО «Ростелеком» старается занимать все коммуникационные ниши, потому что считает, что большой компании не следует зацикливаться на каком-то одном направлении, она должна иметь возможность маневра. Хотя одно из главнейших направлений транспортная телекоммуникационная сеть.
Основной источник доходов это междугородная и международная связь, передача данных, телевидение и радиовещание.
Основная стратегическая цель «Ростелекома» это создание, развитие и совершенствование единой транспортной телекоммуникационной среды как внутри России, так и за ее пределами для обеспечения передачи информационных потоков региональных операторов связи, центральных и региональных телерадиовещательных компаний, органов государственного управления.
“Ростелеком” обладает мощной транспортной телекоммуникационной сетью, базирующейся на кабельных, радиорелейных, спутниковых каналах связи, обеспечивающих основную долю передачи междугородного и международного трафика России, это мощная наземная сеть телевизионных и радиовещательных каналов. Главная задача, ОАО «Ростелеком» вывод телекоммуникационной отрасли России на уровень высокоразвитых стран мира.
2.2 Анализ хозяйственной деятельности филиала ОАО «Ростелеком» ТЦМС-15
Проведем анализ источников средств предприятия.
Источниками формирования имущества любого предприятия, вне зависимости от организационно правовых видов и форм собственности, служат собственные и заемные средства. Для их предварительной оценки по данным пассива баланса составим таблицу 2.1.
Данные таблицы 2.1 показывают, что общий прирост источников в 1998 году составил 1,09 %. Этот прирост получен за счет роста собственного капитала на 4,08%, при уменьшении заемных источников на 14,07%. В структуре источников значительных изменений за год не наблюдалось.
Таблица 2.1 Анализ источников средств ТЦМС-15
|
Источники средств |
Сумма, тыс.р. |
Структура, % |
Темп роста, % |
Изменение структуры, % |
||
|
на начало года |
на конец года |
на начало года |
на конец года |
|||
|
Собственные |
117723,00 |
122531,00 |
83,52 |
85,99 |
+4,08 |
- 2,47 |
|
Заемные |
23235,00 |
19966,00 |
16,48 |
14,01 |
-14,07 |
+2,47 |
|
Всего источников |
140958,00 |
142497,00 |
100,00 |
100,00 |
+1,09 |
0,00 |
К числу основных показателей, характеризующих структуру источников средств, относятся коэффициент независимости, коэффициент финансовой устойчивости, коэффициент финансирования.
Коэффициент независимости рассчитывается по формуле
собственные средства
К независимости = (2.1)
валюта баланса
Этот коэффициент важен как для инвесторов, так и для кредиторов предприятия, поскольку характеризует долю средств, вложенных собственниками в общую стоимость имущества предприятия.
На ТЦМС-15 коэффициент независимости равен:
-на начало1998 года: 83,52%;
-на конец 1998 года: 85,99%.
Данные бухгалтерского баланса анализируемого предприятия свидетельствуют о высоком значении коэффициента независимости (более 60%) и тенденции к его увеличению. Увеличение коэффициента означает, что предприятие является экономически самостоятельным и не зависимым от своих кредиторов. Долги предприятия обеспечены собственными средствами.
Коэффициент финансовой устойчивости (стабильности) рассчитывается по формуле
Собственные средства + Долгосрочные заемные
К финансовой устойчивости = (2.2)
Валюта баланса
Значение этого коэффициента показывает удельный вес тех источников финансирования, которые предприятие может использовать в своей деятельности длительное время.
Поскольку по данным бухгалтерского баланса анализируемое предприятие не имело долгосрочных кредитов, значение коэффициента финансовой устойчивости будет совпадать с рассчитанным ранее коэффициентом независимости.
Коэффициент финансирования рассчитывается по следующей формуле
Собственные средства
К финансирования = (2.3)
Заемные средства
Этот коэффициент показывает, какая часть деятельности предприятия финансируется из собственных средств, а какая из заемных. Чем выше этот коэффициент, тем надежнее для банков и кредиторов финансирование. В нашем случае на начало 1998 года 5,07; на конец 1998 года 6,14.
Проведем анализ собственных источников средств.
К собственным средствам в первую очередь относятся:
- уставный капитал стоимостное отражение совокупного вклада учредителей в имущество предприятия при его создании;
- резервный капитал источник собственных средств, создаваемый предприятием в соответствии с законодательством путем отчислений от прибыли;
- добавочный капитал, возникает в результате прироста стоимости по переоценке, от безвозмездно полученных ценностей, эмиссионного дохода;
- фонды накопления и фонд социальной сферы образуются за счет отчислений от прибыли, остающейся в распоряжении предприятия;
- нераспределенная прибыль часть чистой прибыли, которая осталась в распоряжении предприятия и не была распределена на дату составления баланса.
Для анализа собственных источников предприятия по данным бухгалтерского баланса составим таблицу 2.2.
Таблица 2.2 Анализ собственных источников
|
Собственные источники |
Сумма, тыс.р. |
Структура, % |
Темп роста, % |
Изменение структуры, % |
||
|
на начало года |
на конец года |
на начало года |
на конец года |
|||
|
Добавочный капитал |
7989,00 |
8032,00 |
4,49 |
6,55 |
+0,53 |
+2,07 |
|
Фонд социальной сферы |
81227,00 |
75041,00 |
68,99 |
61,24 |
- 7,62 |
- 7,74 |
|
Целевые финансирования и поступления |
15103,00 |
26487,00 |
12,82 |
21,61 |
+75,38 |
+8,79 |
|
Нераспределен ная прибыль прошлых лет |
13404,00 |
0,00 |
13,70 |
0,00 |
-100,00 |
- 13,70 |
|
Нераспределен-ная прибыль отчетного года |
0,00 |
12971,00 |
0,00 |
10,60 |
100,00 |
+10,60 |
|
Всего источников |
117723,00 |
122531,00 |
100,00 |
100,00 |
+4,08 |
0,00 |
По данным таблицы 2.2 можно сказать, что в 1998 году произошло значительное изменение структуры собственных источников предприятия в сторону увеличения удельного веса целевого финансирования (на 8,79%), а также нераспределенной прибыли отчетного года. При этом произошло уменьшение фонда социальной сферы (на 7,62%) вследствие передачи ее части на баланс города.
Особое внимание при оценке структуры источников имущества предприятия должно быть уделено способу их размещения в активе. Считается оптимальным, если за счет собственных источников (собственного капитала) сформированы основные средства и часть оборотных.
С этой целью рассчитывается показатель инвестирования отношение собственного капитала к основному. В нашем случае на начало 1998 года показатель инвестирования равен 1,22 (117723:96345); на конец 1998 года 1,15 (122531:106156). Такое положение считается идеальным, так как собственные средства покрывают весь основной капитал и небольшую часть оборотных средств.
Коэффициент обеспеченности собственными средствами характеризует наличие собственных оборотных средств у предприятия, необходимых для его финансовой устойчивости. Этот коэффициент определяется как отношение разности между источниками собственных средств, т. е. собственным капиталом (итог раздела IV пассива баланса), и фактической стоимостью внеоборотных активов (итог раздела I актива баланса) к фактической стоимости находящихся в наличии у предприятия оборотных средств в виде производственных запасов, незавершенного производства, готовой продукции, денежных средств, дебиторской задолженности и прочих оборотных активов (итог раздела II актива баланса).
По данному показателю (0,67 на начало 1998 года; 0,64 на конец 1998 года) предприятие вполне укладывается в установленный норматив, равный 0,1.
Проведем анализ заемных источников.
К заемным источникам относятся:
- долгосрочные кредиты банков ссуды банков, полученные на срок более одного года;
- долгосрочные займы ссуды заимодавцев, полученные на срок более года;
- краткосрочные кредиты банков ссуды банков, находящихся как внутри страны, так и за рубежом, полученные на срок не более одного года;
- краткосрочные займы ссуды заимодавцев (кроме банков), полученные на срок не более одного года;
- кредиторская задолженность предприятия поставщикам и подрядчикам, образовавшаяся в результате разрыва между временем получения товарно-материальных ценностей или потреблением услуг и датой фактической оплаты;
- задолженность по расчетам с бюджетом, возникающая вследствие разрыва между временем начисления и датой платежа;
- долговые обязательства предприятия перед своими работниками по оплате их труда;
- задолженность органам социального страхования и обеспечения, образовавшаяся между временем возникновения обязательства и датой платежа;
- задолженность предприятия прочим хозяйственным контрагентам.
Для анализа целесообразно объединить заемные средства в родственные группы, приведенные в таблицу 2.3.
Данные таблицы 2.3 свидетельствуют, что в 1998 году у филиала произошло увеличение кредиторской задолженности на 78,85 % , которое наблюдалось по всем группам, кроме задолженности по социальному страхованию.
Наибольший удельный вес в кредиторской задолженности предприятия занимает задолженность перед другими предприятиями. Ее рост оценивается положительно, так как сопровождается ростом запасов и ростом объема оказываемых услуг. Отрицательно оценивается рост задолженности перед бюджетом, так как этот вид задолженности является платным с первого дня просрочки. Рост задолженности по оплате труда нежелателен, но этот источник является бесплатным, поэтому незначительное его увеличение можно расценить положительно.
Таблица 2.3 Анализ заемных источников
|
Заемные источники |
Сумма, тыс.р. |
Структура, % |
Темп роста, % |
Изменение структуры, % |
||
|
на начало года |
на конец года |
на начало года |
на конец года |
|||
|
Кредиторская задолженность всего |
6133,00 |
10969,00 |
100,00 |
100,00 |
+78,85 |
0,00 |
|
Задолженность перед другими предприятиями |
2094,00 |
5730,00 |
34,14 |
52,24 |
+173,63 |
+18,1 |
|
Задолженность по оплате труда |
2029,00 |
3191,00 |
33,08 |
29,09 |
+57,27 |
-3,99 |
|
Задолженность по социальному страхованию |
1059,00 |
1052,00 |
17,27 |
9,59 |
- 0,66 |
- 7,68 |
|
Задолженность перед бюджетом |
951,00 |
996,00 |
15,51 |
9,08 |
+4,73 |
- 6,43 |
Проведем анализ размещения средств предприятия
Источники средств сами по себе, их рациональная структура не гарантируют успешных результатов деятельности предприятия. Это зависит от того, насколько эффективно будут использованы эти источники.
От эффективности размещения источников зависит платежеспособность предприятия, а так же объем выпускаемой продукции и получаемой прибыли.
На первом этапе анализа рассмотрим укрупненные формы активов. Существует несколько группировок.
По направлениям использования средства предприятия подразделяются на средства, используемые внутри предприятия и за его пределами.
Анализ активов по данной группировке проведем в таблице 2.4.
Таблица 2.4 Анализ активов по направлениям использования
|
Активы предприятия |
Сумма, тыс.р. |
Структура, % |
Темп роста, % |
Изменение структуры, % |
||
|
на начало года |
на конец года |
на начало года |
на конец года |
|||
|
Средства, используемые внутри предприятия |
119084,00 |
123583,00 |
93,01 |
93,71 |
+3,77 |
+0,70 |
|
Средства, используемые за пределами предприятия |
8947,00 |
8297,00 |
6,99 |
6,29 |
- 7,27 |
- 0,70 |
|
Всего активов |
128031,00 |
131880,00 |
100,00 |
100,00 |
+3,00 |
0,00 |
Анализируя данные таблицы 2.4 можно отметить следующее: общая сумма средств предприятия увеличилась на 3,00%, наибольшее влияние на этот рост оказала группа средств, используемых внутри предприятия. Следует отметить, что отвлечение средств не приносит предприятию прибыли, так как наибольший удельный вес в данной группе средств принадлежит дебиторской задолженности.
Проведем анализ о степени ликвидности активов.
В зависимости от степени ликвидности, то есть скорости превращения в денежные средства, активы предприятия подразделяются на следующие группы:
А1 наиболее ликвидные активы денежные средства предприятия и краткосрочные финансовые вложения;
А2 быстрореализуемые активы дебиторская задолженность и прочие активы;
А3 медленно реализуемые активы запасы и затраты, а также долгосрочные финансовые вложения (из первого раздела актива баланса);
А4 труднореализуемые активы статьи первого раздела актива баланса, за исключением статьи этого раздела, включенной в предыдущую группу, а также незавершенное строительное производство.
Анализ активов по степени ликвидности сведем в таблицу 2.5.
Таблица 2.5 Анализ активов по степени ликвидности
|
Активы предприятия |
Сумма, тыс.р. |
Структура, % |
Темп роста, % |
Изменение структуры, % |
||
|
на начало года |
на конец года |
на начало года |
на конец года |
|||
|
А1 наиболее ликвидные активы |
8528,00 |
2665,00 |
6,66 |
2,02 |
- 68,75 |
- 4,64 |
|
А2 быстрореализуемые активы |
9031,00 |
8320,00 |
7,05 |
6,31 |
- 7,87 |
- 0,74 |
|
А3 медленно реализуемые активы |
14130,00 |
14739,00 |
11,04 |
11,18 |
+4,31 |
+0,14 |
|
А4 трудно Реализуемые |
96342,00 |
106156,00 |
75,25 |
80,49 |
+10,19 |
+5,24 |
|
Всего активов |
128031,00 |
131880,00 |
100,00 |
100,00 |
+3,00 |
0,00 |
Данные таблицы 2.5 показывают, что наибольший удельный вес в структуре активов занимает группа А4 труднореализуемые активы (75,25% на начало года и 80,49% на конец года), наименьший А1 наиболее ликвидные активы (6,66% и 2,02%), то есть большинство средств предприятия невозможно превратить в денежные средства за короткий период времени.
По длительности оборота активы бывают: долгосрочные и текущие. Их анализ произведем в таблице 2.6.
Таблица 2.6 Анализ структуры активов по длительности оборота
|
Активы предприятия |
Сумма, тыс.р. |
Структура, % |
Темп роста, % |
Изменение структуры, % |
||
|
на начало года |
на конец года |
на начало года |
на конец года |
|||
|
Долгосрочные |
96345,00 |
106156,00 |
75,25 |
80,49 |
+10,18 |
+5,24 |
|
Текущие |
31686,00 |
25724,00 |
24,75 |
19,51 |
- 18,81 |
- 5,24 |
|
Всего активов |
128031,00 |
131880,00 |
100,00 |
100,00 |
+3,00 |
0,00 |
Данные таблицы 2.6 показывают, что распределение средств между долгосрочными и текущими активами на начало года составило 75,25 и 24,75% соответственно. На конец года существенных изменений не произошло. Прирост долгосрочных активов составил 10,18%, а текущие активы уменьшились на 18,81%. Уменьшение удельного веса текущих активов расценивается отрицательно, так как уменьшается мобильность активов, замедляется оборачиваемость, то есть снижается их отдача, а, следовательно, и прибыль.
Проведем анализ ликвидности и платежеспособности.
Анализ ликвидности проводят с целью определения степени кредитоспособности фирмы, то есть ее способность своевременно и полностью рассчитаться по своим обязательствам.
Анализ ликвидности баланса заключается в сравнении средств по активу сгруппированных по степени ликвидности с обязательствами, по пассиву сгруппированными по срокам погашения, то есть:
-П1 наиболее срочные обязательства кредиторская задолженность;
-П2 краткосрочные пассивы краткосрочные кредиты и заемные средства;
-П3 долгосрочные пассивы;
-П4 устойчивые пассивы (статьи четвертого раздела баланса).
Для определения ликвидности баланса следует сопоставить итоги групп по активу и пассиву баланса. Анализ ликвидности баланса сведем в таблицу 2.7.
Таблица 2.7 Анализ ликвидности баланса
|
Сумма, тыс.р. |
Сумма, тыс.р. |
Платежный излишек (недостаток) |
|||||
|
на начало года |
на конец года |
на начало года |
на конец года |
на начало года |
на конец года |
||
|
А1 |
8528,00 |
2665,00 |
П1 |
6133,00 |
10969,00 |
+2395,00 |
- 8304,00 |
|
А2 |
9031,00 |
8320,00 |
П2 |
17102,00 |
8997,00 |
- 8071,00 |
- 677,00 |
|
А3 |
14130,00 |
14739,00 |
П3 |
0,00 |
0,00 |
+14130,00 |
+14739,00 |
|
А4 |
96342,00 |
106156,00 |
П4 |
117723,00 |
122531,00 |
- 21381,00 |
-16375,00 |
Сопоставление наиболее ликвидных средств и быстрореализуемых активов с наиболее срочными обязательствами и краткосрочными пассивами позволяет выявить текущую ликвидность. Текущая ликвидность свидетельствует о платежеспособности (или неплатежеспособности, как в нашем случае) предприятия на ближайший к рассматриваемому моменту промежуток времени. Сравнение медленно реализуемых активов с долгосрочными пассивами отражает перспективную ликвидность. Перспективная ликвидность представляет собой прогноз платежеспособности на основе сравнения будущих поступлений и платежей. Из данных таблицы 2.7 можно видеть, что в перспективе предприятие вполне платежеспособно.
Платежеспособность предприятия можно определить и методике, использующей финансовые коэффициенты, отражающие соотношение различных статей актива и пассива баланса. Критерии для оценки платежеспособности предприятий приведены в таблице 2.8.
Таблица 2.8 Критерии для оценки платежеспособности предприятий
|
Коэффициенты |
Первый класс |
Второй класс |
Третий класс |
|
Кал |
0,20 и выше |
0,15 0,20 |
Менее 0,15 |
|
Кпл |
0,80 |
0,50 0,80 |
Менее 0,50 |
|
Кп |
2,00 |
1,00 2,00 |
Менее 1,00 |
|
Кнез, % |
Более 60,00 |
40,00 60,00 |
Менее 40,00 |
Кал, Кпл, Кп относятся к группе коэффициентов покрытия. Их экономический смысл заключается в том, что они показывают кратность покрытия краткосрочных пассивов предприятия разными группами его активов (денежными средствами, средствами в расчетах, всеми оборотными активами). Чем выше коэффициенты покрытия, тем в большей степени долги предприятия могут быть покрыты его активами.
Кал - коэффициент абсолютной ликвидности рассчитывается по формуле
Денежные средства
Кал = (2.4)
Краткосрочные обязательства
Кпл - коэффициент промежуточной ликвидности рассчитывается по формуле
Денежные средства + Дебиторская задолженность
Кпл = (2.5)
Краткосрочные обязательства
Кп коэффициент покрытия рассчитывается по формуле
Текущие активы
Кп = (2.6)
Краткосрочные обязательства
Коэффициенты рассчитываются на начало и конец года.
На начало года Кал =0,36 ; на конец года Кал =0,13.
Предприятие к концу году сможет покрыть денежными средствами 13% своих краткосрочных обязательств.
На начало года Кпл = 0,75; на конец года Кпл = 0,54.
Коэффициент показывает, какую часть краткосрочных обязательств фирма может погасить при условии, что дебиторы вовремя рассчитаются с ними.
На начало года Кп = 1,36; на конец года Кп = 1,28.
Согласно рассчитанным коэффициентам на конец года предприятие принадлежит ко второму классу, и является не вполне платежеспособным.
Проведем анализ доходности предприятия.
Устойчивое функционирование предприятия зависит от его способности приносить достаточный объем дохода (прибыли). Эта способность оказывает влияние на платежеспособность предприятия.
Для оценки результативности деятельности предприятия воспользуемся данными приложения А, свидетельствующими, что в отчетном периоде по сравнению с прошлым годом произошло увеличение выручки от реализации на 0,28%. Наряду с этим возросла и себестоимость продукции на 1,59%. Прибыль от реализации продукции уменьшилась на 4,39%, что вызвало изменение структуры в сторону уменьшения удельного веса прибыли от реализации с 14,53% в 1997 году до 13,85% в 1998 году.
Результативность деятельности предприятия можно оценить и с помощью относительных показателей, которые практически не подвержены влиянию инфляции, поскольку представляют собой различные соотношения прибыли и вложенного капитала (собственного, инвестированного, заемного и т.д.). Экономический смысл значений указанных показателей (их принято называть показателями рентабельности) состоит в том, что они характеризуют прибыль, получаемую с каждого рубля средств (собственных или заемных), вложенных в предприятие.
Используется и система показателей эффективности деятельности, среди них остановимся на следующих:
Прибыль в распоряжении предприятия
Рентабельность активов (имущества)= (2.7)
Средняя величина активов
Рентабельность активов (имущества) на анализируемом предприятии в 1998 году составила 9,09%. Этот коэффициент показывает, что предприятие получает 9 копеек прибыли с каждого рубля, вложенного в активы.
Прибыль в распоряжении предприятия
Рентабельность оборотных активов = (2.8)
Средняя величина оборотных активов
Рентабельность оборотных активов = 44,89%.
Рентабельность инвестиций. Если предприятие ориентирует свою деятельность на перспективу, ему необходимо разработать инвестиционную политику (при этом под инвестированием понимается постоянное и долгосрочное финансирование). Информация о средствах, инвестированных в предприятие, может быть получена по данным баланса как сумма собственного капитала и долгосрочных обязательств, или как разность общей суммы активов и краткосрочных обязательств.
Прибыль до уплаты налогов
Рентабельность инвестиций = (2.9)
Валюта баланса краткосрочные обязательства
Показатель рентабельности инвестиций рассматривается в зарубежной практике финансового анализа как способ оценки «мастерства» управления инвестициями. При этом, поскольку руководство компанией не может влиять на величину уплачиваемого налога на прибыль, для более точного расчета показателя в числителе используется величина прибыли до уплаты налога.
Рентабельность инвестиций = 14,21%.
Рентабельность собственного капитала. Акционеры вкладывают в предприятие свои средства в целях получения прибыли от этих инвестиций, поэтому, с их точки зрения, наилучшей оценкой результатов хозяйственной деятельности является наличие прибыли на вложенный капитал.
Прибыль в распоряжении предприятия
Рентабельность собственного = (2.10)
капитала Источники собственных средств
Рентабельность собственного капитала = 10,51%.
Прибыль в распоряжении предприятия
Рентабельность реализованной = (2.11)
продукции Выручка от реализации
Этот коэффициент показывает, какую прибыль имеет предприятие с каждого рубля реализованной продукции. Этот показатель может быть ориентиром в оценке конкурентоспособности продукции, так как снижение рентабельности реализованной продукции может означать и падение спроса на нее.
Рентабельность реализованной продукции = 9,55%.
2.3 Анализ организационной структуры управления филиала ОАО «Ростелеком» ТЦМС-15
Применяемая автором методика анализа состоит из пяти этапов.
Первый этап состоит в выяснении миссии предприятия, областей неопределенности и наиболее вероятных альтернатив развития.
Согласно уставу основной целью деятельности ОАО «Ростелеком» является обеспечение потребностей населения, народного хозяйства, обороны Российской Федерации и других потребителей в передаче информации по каналам междугородной и международной электрической связи, радиовещания и телевидения, а также получение прибыли.
Перспективы развития:
- Во-первых, начинает создаваться сеть мультимедиа связи для органов государственного управления.
- Во-вторых, развитие услуги Internet.
- В-третьих, работа на рынке сотовой спутниковой связи (программа “Глобал стар”)
В общем, ОАО «Ростелеком» старается занимать все коммуникационные ниши, потому что менеджмент считает, что большой компании не следует останавливаться на каком-то одном направлении, она должна иметь возможность маневра.
Основная стратегическая цель «Ростелекома» это создание, развитие и совершенствование единой телекоммуникационной среды как внутри России, так и за ее пределами для обеспечения передачи информационных потоков региональных операторов связи, центральных и региональных телерадиовещательных компаний, органов государственного управления.
Второй этап анализа организационной структуры заключается в определении переменных, которые значительно влияют на осуществление миссии организации. На этом этапе необходим анализ предприятия и его основных компонентов. Здесь необходим также анализ окружающей среды, в которой функционирует предприятие или планируется его деятельность. Исследование этих двух тесно связанных областей (внешней и внутренней) приводит к ключевым решениям, которые могут определить успех предприятия.
Переменные, значительно влияющие на осуществление миссии организации можно определить на основе SWOT-анализа в таблице 2.9.
Таблица 2.9 Матрица SWOT-анализа компании ОАО «Ростелеком»
|
Внешняя среда |
Внутренняя среда |
|
Возможности |
Преимущества |
|
Мировая тенденция к увеличению потребности в услугах связи Более глубокое проникновение на международный рынок Предоставление различных услуг связи на внутреннем рынке |
Монополист на рынке телекоммуникационных услуг Разветвленная инфраструктура |
|
Угрозы |
Недостатки |
|
Низкая покупательная способность населения РФ Экономический кризис в стране Политическая нестабильность |
Отсутствие единой информационной системы Неэффективная эксплуатация некоторых линий Неэффективная работа маркетинговых служб в регионах |
На третьем этапе изучаются цели и программы развития предприятия. Текущие цели должны соответствовать главной задаче предприятия, а программы должны быть согласованы с ключевыми факторами успешного функционирования предприятия.
На основе первого и второго этапа анализа можно сделать вывод о том, что тактические цели ОАО «Ростелеком» соответствуют миссии. Программы развития увязаны с переменными, от которых зависит успех организации.
На четвертом этапе оценивают, насколько структура организации отвечает задачам, целям и факторам, от которых зависит успешность ее функционирования. Для этого необходимо тщательно изучить существующую формальную структуру, определить все ее сильные и слабые стороны, выяснить, какие недостатки в формальной структуре компенсируют неформальные элементы и насколько эффективно.
Организационную структуру управления филиала ОАО «Ростелеком» ТЦМС-15 можно классифицировать как построенную по линейно-функциональной схеме с использованием элементов матричной структуры. Это показано на рисунке 2.1.
Для анализа эффективности организационной структуры управления филиала необходимо дать краткую характеристику всем составляющим ее подразделениям.
Директор филиала: организует всю работу предприятия и несет полную ответственность за его состояние и деятельность перед государством и ОАО «Ростелеком». Директор представляет предприятие во всех учреждениях и организациях, распоряжается имуществом предприятия, заключает договора, издает приказы по предприятию, в соответствии с трудовым законодательством принимает и увольняет работников, применяет меры поощрения и налагает взыскания на работников предприятия, открывает в банках счета предприятия ведет работу по оперативному руководству филиалом, занимается планированием, координацией работы всех отделов и служб филиала, принимает решения по текущей деятельности филиала.
Главный инженер (он же является первым заместителем директора филиала) курирует следующие вопросы: эксплуатация линий, работа ТУСМ (технических узлов союзных магистралей), охрана труда и техника безопасности на предприятии, петентно-изобретательскую работу, вопросы метрологии (соблюдения стандартов).
Заместитель директора по общим вопросам. Ему подчиняется: отдел материально-технического снабжения и служба главного механика, включающая в себя: автотранспортный цех, базу флота, хозяйственный отдел.
Главный бухгалтер: решает вопросы бухгалтерского учета, несет ответственность совместно с директором за правильность данных, предоставленных в налоговую инспекцию и бухгалтерию ОАО «Ростелеком». Ему подчиняется бухгалтерия, которая осуществляет учет средств предприятия и хозяйственных операций с материальными и денежными ресурсами, устанавливает результаты финансово-хозяйственной деятельности предприятия и др.
Главный экономист руководит работой по планированию и экономическому стимулированию на предприятии, повышению производительности труда, выявлению и использованию производственных резервов улучшению организации производства, труда и заработной платы, и др. Ему подчиняется экономический отдел, который разрабатывает годовые, квартальные планы филиала и отдельных ТУСМ, контролирует их выполнение, определяет пути устранения недостатков, организует и совершенствует внутризаводское и внутрицеховое планирование, разрабатывает нормативы для образования фондов экономического стимулирования, ведет оперативный статистический учет, анализ показателей работы основных агрегатов, цехов, разрабатывает и представляет на утверждение проекты, изучает и внедряет передовой опыт в организации планово-экономической работы и др. В задачи этого отдела входит также получение кредитов в банке, своевременный возврат ссуд. Также он проводит всесторонний анализ результатов деятельности предприятия, разрабатывает мероприятия по снижению себестоимости и повышению рентабельности предприятия, улучшению использования производственных фондов, выявлению и использованию резервов на предприятии, осуществляет методическое руководство вопросами научной организации труда, участвует в разработке технико-экономических нормативов и конкретных показателей по экономическому стимулированию и др.
Заместитель директора по чрезвычайным ситуациям проводит работу по подготовке и реализации программ для предоставления каналов связи в интересах обороны, государственного управления, безопасности и правопорядка страны в чрезвычайных ситуациях.
Заместитель директора по капитальному строительству и ремонту. Ему подчинены: отдел капитального строительства, проектно-конструкторский отдел, строительный участок «Глобал стар» (элемент матричной структуры), ремонтная группа.
Также напрямую директору подчинены: отдел безопасности, отдел кадров, служба маркетинга.
Служба маркетинга проводит работу с заказчиками по заключению, продлению и изменению договоров.
На основе изучения организационной структуры филиала ОАО «Ростелеком» ТЦМС-15 можно сделать следующий вывод: организационная структура спроектирована неэффективно, так как не полностью отвечает задачам, целям и факторам, от которых зависит успешная деятельность предприятия.
Во-первых, в филиале ОАО «Ростелеком» ТЦМС 15 отдел маркетинга не наделен достаточными полномочиями и ресурсами для выполнения программ, запланированных головным предприятием, его иерархическая значимость невелика, численность отдела 3 человека. Со своими функциями он не справляется, это видно из следующего соотношения: выручка от реализации услуг связи за 1997 г. 134626 т.р., за 1998 г. 135005 т.р., в абсолютном выражении произошло увеличение выручки на 379 т.р., что для масштабов филиала и такой динамично развивающейся отрасли как связь крайне мало. В реальном же выражении доходы филиала резко уменьшились (в связи с инфляцией).
Во-вторых, согласно существующей организационной структуре не соблюдается правило «нормы управляемости», так как, например, директор филиала, как видно из приложения, имеет в своем непосредственном подчинении 10 человек, главный инженер (второй человек в организации) 12, что совершенно недопустимо на таком высоком уровне управления, где норма управляемости равна максимум 7 человек.
В-третьих, хозяйственный отдел дублирует функции отдела материально технического снабжения.
Пятым этапом анализа существующей организационной структуры организации является оценка человеческих ресурсов предприятия. Иногда серьезную нехватку работников определенных специальностей невозможно восполнить достаточно быстрой подготовкой работников внутри предприятия или набором со стороны, чего нельзя не учесть в распределении функций в рамках имеющейся структуры.
Оценивая кадровый состав филиала необходимо отметить следующие моменты: по мнению автора, организация не могла бы функционировать на таком уровне без личных качеств следующих работников: директора филиала и главного инженера.
Этим нарушается принцип «незаменимых людей не бывает», то есть в случае разрыва трудовых отношений с этими сотрудниками филиал будет испытывать значительные трудности.
На основе анализ организационной структуры филиала ОАО «Ростелеком» можно сделать следующие выводы:
Во-первых, организационная структура управления не полностью соответствует миссии, целям и задачам компании, так как не реализуется одно из главных стратегических направлений деятельности «занятие компанией всех коммуникационных ниш», отсутствует целенаправленное изучение потребителя, что приводит к недополучению доходов филиалом.
Во-вторых, некоторые службы дублируют выполняемые функции (отдел материально-технического снабжения и хозяйственный отдел).
В-третьих, успешная деятельность филиала зависит от работы двух сотрудников: директора и главного инженера. Это связано с тем, что правило «нормы управляемости» не соблюдено, а так как директор непосредственно руководит десятью людьми, а главный инженер двенадцатью, то нормальное функционирование организации связано с личными качествами этих должностных лиц.
Также в организационной структуре управления филиалом ТЦМС-15 необходимо отметить и положительные моменты.
Во-первых, это успешная деятельность следующих важных функциональных подразделений: отдела по капитальному строительству и капитальному ремонту, отдела по подготовке к чрезвычайным ситуациям.
Во-вторых, особенно эффективно, реализуя одну из стратегически важных целей ОАО «Ростелеком» работает строительный участок «Глобал стар», созданный как элемент матричной структуры.
3 Предложения по проектированию и совершенствованию организационной структуры управления филиала ОАО «Ростелеком» ТЦМС 15
3.1 Мероприятия по проектированию и совершенствованию организационной структуры управления филиала
В аналитической части были выявлены следующие причины проектирования и совершенствования организационной структуры управления филиала:
-неудовлетворительное функционирование предприятия. В 1998 году прибыли филиала составила 12971 т.р., в 1997 13404 т.р., то есть в 1998 году произошло снижение прибыли на 433 т.р. в абсолютном выражении, а с учетом инфляции прибыль уменьшилась в несколько раз;
-перегрузка высшего руководства. Филиалу ОАО «Ростелеком» удается функционировать удовлетворительно только ценою чрезмерной изнурительной нагрузки на нескольких высших руководителей. Директор филиала имеет в своем непосредственном подчинении 10 человек, главный инженер 12;
-разногласия по организационным вопросам. Существующая структура создает препятствия для эффективной работы, затрудняет достижение целей некоторых отделов или подразделений, недостаточно четко отражает значение некоторых функциональных ролей, допускает несправедливое распределение власти, положений, полномочий, дублирование функций и т.д.;
-увеличение разнообразия предлагаемых услуг. ОАО «Ростелеком» планирует вести работу на нескольких новых для себя рынках: создание сети мультимедиа связи, развитие услуги Internet и сотовой спутниковой связи (программа «Глобал стар»).
Весь процесс по проектированию и совершенствованию организационной структуры состоит их трех крупных стадий:
1) формирование общей структурной схемы аппарата управления;
2) разработка состава основных подразделений и связей между ними;
3) регламентация организационной структуры.
Формирование общей структурной схемы во всех случаях имеет принципиальное значение, поскольку при этом определяются главные характеристики организации, а также направления, по которым должно быть осуществлено более углубленное проектирование организационной структуры.
К принципиальным характеристикам организационной структуры, которые определяются на этой стадии, можно отнести цели производственно-хозяйственной системы и проблемы, подлежащие решению; общую спецификацию функциональных и программно-целевых подсистем, обеспечивающих их достижение; число уровней в системе управления; степень централизации и децентрализации полномочий и ответственности на разных уровнях; основные формы взаимоотношений данной организации с окружающей средой; требования к экономическому механизму, формам обработки информации, кадровому обеспечению организационной системы.
Согласно уставу основной целью деятельности ОАО «Ростелеком» является обеспечение потребностей населения, народного хозяйства, обороны Российской Федерации и других потребителей в передаче информации по каналам междугородной и международной электрической связи, радиовещания и телевидения, а также получение прибыли.
ОАО "Ростелеком" осуществляет свою деятельность через ряд филиалов, оказывающих услуги связи на всей территории России. Филиал ТЦМС-15 оказывает услуги связи от имени ОАО "Ростелеком" и проводит взаиморасчеты по установленным таксам с региональными операторами связи, участвует в подключении региональных сетей связи к магистральной сети ОАО "Ростелеком". Также одной из главных целей филиала является поддержание и увеличение числа клиентов на существующих рынках, региональное планирование освоения новых рынков услуг связи.
Автор считает, что поставленных перед филиалом целей можно добиться в рамках линейно-функциональной организационной структуры управления с использованием элементов матричной структуры. Для полноценной их реализации требуется выделение следующих основных функциональных блоков: отдел маркетинга, отдел эксплуатации, финансовый отдел, отдел по капитальному ремонту и капитальному строительству, отдел кадров, отдел по чрезвычайным ситуациям; и программно-целевой подсистемы в рамках отдела по капитальному строительству и ремонту строительного участка «Глобал стар».
Проектируемая организационная структура управления представлена на рисунке 3.1.
Подробнее рассмотрим структуру отдела маркетинга, как главного элемента в проектируемой организационной структуре управления.
ОАО "Ростелеком" намеревается продолжать расширять спектр предоставляемых им услуг для удовлетворения растущих потребностей конечных пользователей, в частности - крупных коммерческих организаций, на долю которых приходится существенная часть доходов и в борьбе за которых ОАО "Ростелеком" сталкивается с наиболее жесткой конкуренцией. В частности, ОАО "Ростелеком" планирует расширить объем предоставляемых услуг добавленной стоимости, в том числе, факсимильной передачи данных, пейджинга, электронной почты, мультимедийных услуг, доступа к сети "Интернет", IP-телефонии.
Маркетинговая стратегия ОАО "Ростелеком" нацелена на сохранение и укрепление его положения ведущего оператора международной и междугородной связи в России, в том числе на:
-поддержание и увеличение числа абонентов на существующих рынках;
-разработку более гибкой ценовой политики для максимизации доходов и стимулирования роста трафика;
-более полную информированность клиентов о предоставляемых им услугах.
Для достижения поставленных ОАО «Ростелеком» задач филиал должен работать по следующим направлениям:
-проведение анализа рынка с целью выявления и сегментирования базы коммерческих клиентов;
-осуществление программы контроля за качеством обслуживания;
-в бюджете филиала должны выделяться дополнительные средства на проведение рекламной кампании в целях стимулирования услуг международной и междугородной связи.
Таким образом, отдел маркетинга должен обладать более высоким статусом и полномочиями, должен быть самостоятельным структурным подразделением филиала и подчиняться заместителю директора филиала по маркетингу (начальнику отдела маркетинга).
Деятельность отдела по маркетингу должна быть направлена на решение следующих задач:
-разработка краткосрочной и среднесрочной стратегии маркетинга (долгосрочная стратегия определяется ОАО «Ростелеком»);
-исследование факторов, определяющих структуру и динамику потребительского спроса на услуги ОАО, конъюнктуру рынка;
-изучение спроса на услуги АО и разработка долгосрочных, среднесрочных и краткосрочных прогнозов потребности в выпускаемой продукции;
-исследование потребительских свойств предоставляемых услуг предъявляемых к ним потребителями требований;
-своевременная подготовка и заключение договоров на оказание услуг АО;
-обеспечение выполнения планов оказания услуг в соответствии с заключенными договорами;
-ориентация разработчиков и производства на выполнение требований потребителей к предлагаемым услугам;
-разработка программы маркетинга, организация рекламы и стимулирование сбыта;
-контроль за оказанием услуг связи структурными единицами.
Для реализации этих задач отдел должен выполнять следующие функции:
-анализ и прогнозирование основных конъюнктурообразующих факторов потенциальных рынков сбыта услуг АО: коммерческо-экономических, включая экономическую ситуацию в стране и финансовое состояние потенциальных покупателей, реальный платежеспособный спрос на услуги связи и соотношение спроса и предложения на конкретные виды услуг; наличия новых рынков сбыта и новых потребителей оказываемых предприятием услуг;
-исследование потребительских свойств оказываемых услуг и сбор информации об удовлетворенности ими покупателей. Анализ соответствия объема оказываемых услуг АО потребностям потребителей в планируемом периоде (один год, пять лет);
-подготовка предложений по привлечению сторонних специализированных организаций по решению проблем маркетинга, изучения спроса на услуги, рекламы;
-изучение спроса на услуги связи на основе сбора заявок о потребности в разрабатываемых и предлагаемых услугах;
-выявление системы взаимосвязей между различными факторами, влияющими на состояние рынка и объем продаж;
-разработка на основе изучения конъюнктуры и емкости рынка прогнозов по платежеспособному спросу на новые и уже предлагаемые услуги связи;
-разработка краткосрочной (12 года), среднесрочной (до 5 лет) и долгосрочной (до 1015 лет) региональной стратегии маркетинга с учетом потребностей эксплуатации линий, емкости рынка, меняющегося платежеспособного спроса, проникновения на новые рынки сбыта, конкуренции;
-расчет емкости рынка услуг связи АО в регионе;
-координация и согласование действий всех функциональных отделов в выработке единой коммерческой политики, общей стратегии и концепции развития филиала;
-сбор, систематизация и анализ всей коммерческо-экономической и маркетинговой информации по конъюнктуре потенциальных рынков сбыта услуг АО. Создание информационно-статистического банка данных по маркетингу;
-исследование структуры, состава и организации работы сбытовой сети, обслуживающей данный рынок;
-организация обратной связи с потребителями. Изучение мнения потребителей и их предложений по улучшению оказываемых услуг, привлечение для этого внештатных сотрудников. Разработка по результатам изучения мнения потребителей и анализа рекламаций, предложений по повышению технического уровня и качества услуг;
-участие в рассмотрении и удовлетворении претензий и рекламаций, поступивших от потребителей, на предоставленные услуги и осуществление контроля за их полным удовлетворением в установленные сроки;
-посещения работниками службы маркетинга потребителей. Осуществление непосредственных контактов с потребителями услуг. Прием представителей по вопросам предоставления услуг и расчетов с ними;
-анализ мотивов определенного отношения потребителей к предлагаемой им услугам;
-разработка стратегии рекламы по каждому виду услуг и плана проведения рекламных мероприятий;
-определение возможностей региональных рекламных агентств и разработка предложений по привлечению их к рекламе услуг филиала;
-организация участия филиала в региональных отраслевых конференциях;
-оценка эффективности работы операторов связи;
-анализ состояния реализации услуг АО, выявление видов услуг, не имеющих достаточного сбыта, определение причин этого;
-формирование новых потребителей в целях расширения рынка;
-разработка предложений по созданию принципиально новых видов услуг;
-участие совместно с финансовым отделом, службой эксплуатации в определении себестоимости услуг и разработке мероприятий по снижению себестоимости, выявление возможного экономического эффекта у потребителей и суммы прибыли предприятия от продажи новых и уже оказываемых услуг;
-разработка предложений по организации программы маркетинга на один-два года в целях обеспечения потребителей услугами связи в необходимые сроки и в достаточном количестве;
-обеспечение успешной коммерческой деятельности АО по сбыту услуг связи;
-подготовка и заключение договоров с потребителям на оказание услуг связи;
-составление годовых, квартальных и месячных планов предоставления услуг в соответствии с заключенными договорами;
-проведение мероприятий по ликвидации необоснованных расходов по сбыту услуг;
-составление заявок на необходимые материалы для осуществления функций сбыта;
-подготовка материалов для заявления претензий и исков к другим предприятиям и организациям, физическим лицам по вопросам сбыта;
-подготовка справок об оказанных услугах.
Для эффективной работы отдела маркетинга требуется определение места отдела в общей организационной структуре и разработка взаимосвязей отдела с другими отделами филиала. Это показано в таблице 3.1.
Таблица 3.1 Взаимосвязи отдела маркетинга с другими отделами филиала
|
Получает |
Выдает |
|
Отдел главного инженера |
|
|
Технические условия и вновь разрабатываемые виды услуг связи на согласование Утвержденные технические задания Сведения о снятии с обслуживания линий связи Технические характеристики описания преимуществ, результаты испытаний, другие данные о новых линиях, необходимые для организации их рекламы Комплекты технической документации (по мере необходимости) Изменения, вносимые в план оказания услуг |
Согласованные технические условия на вновь разрабатываемые виды услуг Предложения и рекомендации по созданию и производству новых видов услуг, улучшению характеристик оказываемых услуг |
|
Инженер по охране труда и технике безопасности |
|
|
Предписания и указания по устранению нарушений норм и правил по охране труда, техники безопасности и производственной санитарии Требования о проведении в случае необходимости технической экспертизы и заключений о состоянии оборудования, оснастки, транспортных средств, их степени безопасности и безвредности технологических процессов Графики комплексных обследований состояния охраны труда подразделений объектов повышенной опасности Нормативную литературу по вопросам охраны труда |
Отчеты о выполнении предписаний и указаний, приказов и распоряжений вышестоящих органов и других контролирующих органов по вопросам охраны труда и техники безопасности и устранению нарушений правил и норм охраны труда Отчеты о выполнении комплексного плана по улучшению условий охраны труда и санитарно-оздоровительных мероприятий |
|
Получает |
Выдает |
|
Экономический отдел |
|
|
Планируемый объем предоставляемых услуг связи для заключения договоров с заказчиками Плановые хозрасчетные показатели отдела Утвержденные цены на оказываемые услуги Проект цен на новые виды услуг Утвержденные нормы выработки (времени обслуживания), расценки, штатное расписание, положения о премировании |
Отчеты по основным хозрасчетным показателям Сведения об оказанных потребителям услугах Сумма не предоставленных услуг по договорам за отчетный месяц и нарастающим итогом с начала квартала (года) Предложения по изменению цен исходя из конъюнктуры рынка и состояния спроса на данный вид услуг Предложения по совершенствованию организации о нормирования труда, систем оплаты труда и материального стимулирования Предложения по проектам штатных расписаний |
|
Отдел материально-технического снабжения |
|
|
Лимитно-заборные карты на получение материалов График завоза материалов на предприятие |
Заявки на все необходимые материалы с указанием срока их завоза |
|
Отдел кадров |
|
|
Годовые и перспективные потребности в кадрах Рекомендации по подбору, расстановке и воспитанию кадров Планы подготовки и повышения квалификации рабочих, специалистов и служащих |
Отчетность по вопросам движения, подбора, расстановки и воспитания кадров Резерв на выдвижение на руководящие должности Заявки на потребность в кадрах Табели времени и другие документы учета рабочего времени Заявки на повышение квалификации рабочих, специалистов и служащих |
|
Получает |
Выдает |
|
Бухгалтерия |
|
|
Фактические расходы на рекламу |
Сметы расходов на работы по тематике отдела, рекламу и стимулирование сбыта продукции Акты на списание израсходованных рекламных материалов Справки о проведенных рекламных акциях |
|
Юрист |
|
|
Завизированные проекты приказов, распоряжений и других документов правового характера или проекты указанных актов без визы, но с заключениями о несоответствии законодательству отдельных положений и законном порядке разрешения рассматриваемых вопросов Завизированные проекты хозяйственных договоров Заключения или ответы на заявленные контрагентами претензии и иски по поводу ненадлежащего исполнения договоров и обязательств Подготовленные претензии и иски к другим предприятиям, организациям, физическим лицам |
Проекты приказов, распоряжений и других документов правового характера для проверки их соответствия требованиям законодательства и визирования Проекты хозяйственных договоров для проверки их соответствия требованиям законодательства и визирования Претензии и иски контрагентов по поводу ненадлежащего исполнения договорных обязательств предприятием для заключения или подготовки ответа Материалы для заявления претензий к другим предприятиям и организациям, физическим лицам |
Более подробно рассмотрим статус начальника отдела начальника отдела маркетинга.
Начальник отдела маркетинга имеет право:
-требовать от подразделений филиала представления материалов, необходимых для осуществления работы, входящей в компетенцию отдела маркетинга;
-вносить предложения, учитывающие требования потребителей, по разработке и организации предоставляемых услуг;
-давать обязательные для цехов и отделов указания по устранению недостатков в конкуренции и технологии оказания услуг, выявившихся в процессе их потребления;
-по результатам маркетинговых исследований давать предложения руководству филиала о применении санкций и о поощрениях по отношению к отдельным работникам и подразделениям филиала;
-представительствовать в вышестоящих организациях по поручению руководства филиала по вопросам, относящимся к компетенции отдела;
-привлекать в установленном порядке специалистов научно-исследовательских учреждений и учебных заведений, а также работников филиала для проведения исследований по изучению конъюнктуры рынка, сбыта, потребности и платежеспособного спроса;
-давать представления руководству филиала о назначении и освобождении в установленном порядке, работников отдела и о применении к ним мер поощрения и взыскания;
-разрабатывать и представлять на утверждение должностные инструкции для работников отдела;
-созывать с ведома руководства филиала совещания по вопросам маркетинга;
-требовать от подчиненных работников соблюдения трудовой дисциплины, правил техники безопасности, промсанитарии и противопожарной защиты.
Начальник отдела маркетинга несет ответственность за:
-разработку и осуществление эффективной политики и программы маркетинга;
-своевременное и качественное выполнение порученной ему работы;
-выполнение соответствующего законодательства Российской Федерации, постановлений Правительства Российской Федерации, указов и распоряжений Президента Российской Федерации, приказов и распоряжений руководства филиала по вопросам, относящимся к компетенции отдела;
-достоверность представляемых руководству прогнозов по конъюнктуре рынка, платежеспособному спросу и сбыту;
-обоснованность рекомендаций по ожидаемому спросу на новые и уже оказываемые виды услуг;
-организацию рекламы и ее действенность;
-организацию работы по сбыту продукции;
-соблюдение договорной дисциплины, оказание услуг связи с заключенными договорами;
-соблюдение трудовой и производственной дисциплины работниками отдела;
-соблюдение смет затрат по маркетингу, рекламе и сбыту услуг;
-соблюдение трудового законодательства в отделе
С помощью данной организационной структуры можно решить проблемы, выявленные в аналитической главе работы (табл. 3.2):
Таблица 3.2 Проблемы организационной структуры предприятия и пути их решения
|
Проблема |
Решение |
|
Неудовлетворительное функционирование предприятия Несоответствие структуры увеличению разнообразия предлагаемых услуг |
Создание полноценного отдела маркетинга |
|
Перегрузка высшего руководства |
Общая перестройка организационной структуры управления филиалом |
|
Разногласия по организационным вопросам (дублирование функций) |
Расформирование хозяйственного отдела |
3.2 Оценка эффективности мероприятий по проектированию и совершенствованию организационной структуры управления филиала
Оценка эффективности является важным элементом разработки проектных и плановых решений, позволяющим определить уровень прогрессивности разрабатываемых проектов, и проводится с целью выбора наиболее рационального варианта структуры или способа ее совершенствования. Эффективность организационной структуры должна оцениваться на стадии проектирования для планирования и осуществления мероприятий по совершенствованию управления.
Подход к оценке эффективности различных вариантов организационной структуры определяется ее ролью как характеристики системы управления. Комплексный набор критериев эффективности системы управления формируется с учетом двух направлений оценки ее функционирования:
-по степени соответствия достигаемых результатов установленным целям производственно-хозяйственной организации (начиная с уровня выполнения плановых заданий);
-по степени соответствия процесса функционирования системы объективным требованиям к его содержанию, организации и результатам.
Критерием эффективности при сравнении различных вариантов организационной структуры служит возможность наиболее полного и устойчивого достижения конечных целей системы управления при относительно меньших затратах на ее функционирование. Критерием же эффективности мероприятий по совершенствованию организационной структуры служит возможность более полного и стабильного достижения установленных целей или сокращения затрат на управление, эффект от реализации которых должен за нормативный срок превысить производственные затраты.
На основе выявленных в процессе анализа проблем, автором были предложены следующие мероприятия по совершенствованию организационной структуры управления филиала ОАО «Ростелеком» ТЦМС-15:
-расформирование хозяйственного отдела;
-общая перестройка организационной структуры;
-реорганизация отдела маркетинга.
Как было сказано выше, критерий эффективности мероприятий по совершенствованию структуры возможность более полного и стабильного достижения целей организации, функционирование предприятия при сокращении затрат на управление или эффект от затрат на предлагаемые мероприятия должен за нормативный срок их превысить.
Расформирование хозяйственного отдела.
Затраты, связанные с работой хозяйственного отдела рассмотрим в таблице 3.3.
Таблица 3.3 Затраты, связанные с деятельностью хозяйственного отдела за 1998 год
|
Наименование затрат |
Сумма, т.р. в год |
|
Заработная плата в том числе: - начальник отдела - агент по закупкам - грузчики (3 чел) |
120,00 30,00 24,00 66,00 |
|
Отчисления на социальные нужды |
46,20 |
|
Прочие затраты |
15,26 |
|
Итого |
181,46 |
Следовательно, ежегодная экономия от внедрения этого предложения составляет 181,46 т.р., причем филиал, по мнению автора, будет функционировать при всех равных условиях на таком же уровне.
Реорганизация отдела маркетинга. Первым шагом на пути создания новой структуры отдела маркетинга, должно быть привлечение компетентных, грамотных сотрудников в области маркетинга. Предлагаемая маркетинговая группа будет состоять из пятнадцати человек. Для ее функционирования необходимо приобретение семи компьютеров. Амортизационные отчисления составят 25% от первоначальной стоимости ПЭВМ.
Внедрение данного предложение влечет за собой следующие затраты таблицы 3.4, 3.5.
Таблица 3.4 Единовременные затраты, связанные с реорганизацией отдела маркетинга
|
Наименование затрат |
Сумма, тыс. р. |
|
Покупка компьютерной техники |
456 |
|
Расходы, связанные с подбором персонала |
60 |
|
Итого |
516 |
Таблица 3.5 Увеличение текущих затрат, связанных с деятельностью реорганизованного отдела маркетинга
|
Наименование затрат |
Сумма, тыс. р. в год |
|
Заработная плата (12 человек) |
300,0 |
|
Отчисления на социальные нужды |
115,5 |
|
Амортизация |
104,0 |
|
Затраты на маркетинговую деятельность |
347,0 |
|
Итого затрат |
866,5 |
Соответственно текущие затраты производимые отделом маркетинга в месяц теперь будут составлять 102,2 тыс.р.
Доход от деятельности отдела маркетинга рассчитаем методом корреляционно-регрессионного анализа.
Применение корреляционного анализа позволяет решить следующие задачи:
-определить изменение результативного показателя под воздействием одного или нескольких факторов (в абсолютном измерении), это значит, определить, на сколько единиц изменяется величина результативного показателя при изменении факторного на единицу;
-установить относительную степень зависимости результативного показателя от каждого фактора.
Экономическое явление и процессы хозяйственной деятельности предприятия зависят от большого количества факторов. Как правило, каждый фактор в отдельности не определяет изученное явление во всей полноте.
Только комплекс факторов в их взаимосвязи, может дать более или менее полное представление о характере изучаемого явления.
Различные стороны хозяйственной деятельности, получают законченную денежную оценку в системе показателей финансовых результатов, важнейшим из которых является прибыль от реализации продукции, связанная с факторами производства и реализации продукции. Прибыль денежный показатель эффективности работы предприятия, источник его жизнедеятельности. Поэтому основное внимание при анализе должно быть сконцентрировано на исследовании причин и факторов изменений по данному показателю. Исходя из этого, построим корреляционно- регрессионную модель зависимости прибыли от реализации и затрат на маркетинговую деятельность .
Поскольку корреляционная связь с достаточной выразительностью и полнотой проявляется только в массе наблюдений, объем выборки данных должен быть достаточно большим, так как только в массе наблюдений сглаживается влияние других факторов. Учитывая это требование, влияние затрат на маркетинговую на прибыль исследуется на примере показателей за два года помесячно (1997 1998 гг.).
После отбора факторов и оценки исходной информации, важной задачей в корреляционном анализе является моделирование связи между факторными и результативными показателями, то есть подбор соответствующего уравнения, которое наилучшим образом описывает соотношение прибыли, уровня затрат и выработки. Связь всех факторных показателей с результативным носит промежуточный характер, для записи зависимости можно использовать линейную функцию:
У (х) = а + в1х1 + в2х2 + … + вn х n (3.1)
Решение задачи корреляционного анализа проводится на ЭВМ по типовым программам. Сначала формируется матрица исходных данных в таблице 3.6. В первой колонке записывается период времени, за который проводится анализ, а во второй колонке результативный показатель - прибыль (Y) в последней: факторный показатель (Х).
Таблица 3.6 Исходные данные для анализа
|
Период |
Прибыль от реализации Y, тыс.р. в мес месяц |
Затраты на маркетинг Х, тыс. р. в мес месяц |
|
Январь 97 |
1389 |
25 |
|
Февраль 97 |
1573 |
51 |
|
Март 97 |
1714 |
63 |
|
Апрель 97 |
1547 |
53 |
|
Май 97 |
1463 |
39 |
|
Июнь 97 |
1544 |
50 |
|
Июль 97 |
1771 |
68 |
|
Август 97 |
1689 |
58 |
|
Сентябрь 97 |
1573 |
79 |
|
Октябрь 97 |
1864 |
80 |
|
Период |
Прибыль от реализации Y, тыс.р. в мес месяц |
Затраты на маркетинг Х, тыс. р. в мес месяц |
|
Ноябрь 97 |
1887 |
76 |
|
Декабрь 97 |
1546 |
56 |
|
Январь 98 |
1456 |
27 |
|
Февраль 98 |
1562 |
48 |
|
Март 98 |
1694 |
61 |
|
Апрель 98 |
1373 |
35 |
|
Май 98 |
1533 |
44 |
|
Июнь 98 |
1445 |
39 |
|
Июль 98 |
1532 |
74 |
|
Август 98 |
1675 |
57 |
|
Сентябрь 98 |
1507 |
54 |
|
Октябрь 98 |
1522 |
53 |
|
Ноябрь 98 |
1656 |
33 |
|
Декабрь 98 |
1745 |
67 |
На основании этих сведений и рассчитываются матрицы парных коэффициентов, уравнения регрессии, а так же показатели, с помощью которых оценивается надежность коэффициента корреляции и уравнение связи: критерий Стъюдента, Фишера, средняя ошибка, множественные коэффициенты корреляции и детерминации.
Изучая матрицу парных коэффициентов корреляции в таблице 3.7 можно сделать вывод о тесноте связи между изучаемым явлением. Коэффициенты парной корреляции характеризует тесноту связи между показателем в общем виде, это значит с учетом взаимосвязей факторов, которые оказывают воздействие на результатный показатель.
Таблица 3.7 Матрица парных коэффициентов корреляции
|
Прибыль от реализации |
Затраты на маркетинг |
|
|
Прибыль от реализации |
1 |
|
|
Затраты на маркетинг |
0,865392 |
1 |
Данные таблицы 3.7 свидетельствуют о том, что фактор Х (уровень затрат на маркетинговую деятельность) оказывает ощутимое воздействие на величину прибыли.
Исследование матрицы коэффициентов корреляции позволяет сделать вывод, что в данную модель включены факторы, в определенной степени связанные между собой, так как значения коэффициентов находятся в пределах 0,85.
Проследим влияние на прибыль фактора затрат на маркетинговую деятельность.
В таблице 3.8 представлены оценки качества уравнения регрессии.
Таблица 3.8 Оценка качества уравнения регрессии
|
Множественный R |
0,84906 |
|
R-квадрат |
0,720902 |
|
Нормированный R-квадрат |
0,707612 |
|
Стандартная ошибка |
72,11406 |
|
Наблюдения |
24 |
Коэффициент множественной корреляции (R) определяет влияние фактора на изменение прибыли.
Квадрат коэффициента множественной корреляции (коэффициент множественной детерминации) R квадрат, выражает долю вариации моделируемого показателя (Y), обусловленную влиянием фактора Х; то есть данные таблицы 3.8 показывают, что вариация прибыли на 72,1% вызвана изменением уровня затрат на маркетинговую деятельность, остальные 27,9% - вызваны действием других факторов.
Чем теснее фактические данные примыкают к расчетным, тем выше значения показателя коэффициента.
Таким образом, значение коэффициента множественной корреляции близко к единице (±), следовательно, регрессия подобрана верно.
В таблице 3.9 проведен дисперсионный анализ факторов, который оценивает параметры распределения. Дисперсия, статистический критерий Фишера (F).
Таблица 3.9 Дисперсионный анализ
|
df |
SS |
MS |
F |
Значимость F |
|
|
Регрессия |
1 |
282084,6 |
282084,6 |
54,24249 |
3,02E-07 |
|
Остаток |
22 |
109209,2 |
5200,437 |
||
|
Итого |
23 |
391293,8 |
Значимость уравнения регрессии проверяется по критерию Фишера. Сравнение расчетного значения F статистики с табличным (Fтабл. = 1, 8) показало, что во всех случаях расчетное значение критерия Фишера больше табличного, следовательно, уравнения регрессии значимы.
Следующий этап корреляционного анализа расчет уравнения связи (регрессии). Данные сведены в таблице 3.10.
Таблица 3.10 Расчет уравнения регрессионной связи
|
Коэффициенты |
Стандартная ошибка |
t-статистика |
P-Значение |
|
|
Y- |
1173,4637751 |
116,336217 |
6,476605436 |
2,03649E-06 |
|
Переменная X |
7,83634601 |
3,806725907 |
7,364950013 |
3,02074E-07 |
В результате уравнение связи имеет вид:
Y (х) = 1173,46 +7,836х (3.2)
Коэффициенты уравнения показывают количественное воздействие фактора на результативный показатель при неизменности других. В данном случае можно дать следующую интерпретацию полученному уравнению регрессии: прибыль повышается на 7,836 тыс. рублей при увеличении уровня затрат на маркетинговую деятельность на 1 тыс.р.
О полноте связи можно судить по величине множественных коэффициентов корреляции (R = 0,85) (R = 72,1 %).
Следовательно, данное уравнение (3.2) можно использовать для практических целей:
- расчета влияния фактора на прирост результативного показателя;
- подсчета резервов повышения уровня исследуемого показателя;
- планирования и прогнозирования его величины.
Для планирования и прогнозирования величины результативного показателя необходимо в полученное уравнение связи подставить плановые значения факторных показателей. Предполагаемый уровень затрат составляет 102,2 тыс.р. в месяц. Следовательно, величина прибыли за месяц составит:
Y (х) =1173,46 +7,836х102,2 = 1974,206 тыс. руб.
Годовой экономический эффект рассчитаем в таблице 3. 11.
Таблица 3.11 - Расчет экономического эффекта от реорганизации отдела маркетинга
|
Показатель |
Прогноз, тыс.р. |
|
1. Единовременные затраты, связанные с реорганизацией отдела маркетинга |
516,0 |
|
2. Текущие затраты, связанные с функционированием отдела маркетинга за год |
1466,5 |
|
3. Прирост прибыли, связанный с реорганизацией маркетинговой деятельности филиала за год |
4990,5 |
|
Экономический эффект за год (стр. 3 стр. 2 стр. 1) |
3008,0 |
Таким образом, прогнозируемый годовой эффект от реорганизации отдела маркетинга составляет 3008 тыс. руб. или увеличение прибыли от реализации на 13 %. Этот прогноз подтверждается данными полученными из ростовского филиала ОАО «Ростелеком» ТЦМС-7, согласно которым внедрение аналогичной структуры отдела маркетинга привело к увеличению прибыли от реализации услуг филиала на 15,6%.
Общая перестройка организационной структуры управления филиалом.
Эффективность данного предложения автор оценивает путем опроса высших руководителей филиала экспертов, которым предлагалось оценить существующую и проектируемую автором организационные структуры управления филиалом по предложенным критериям по пятибалльной системе.
Результаты опроса сведены в таблицы 3.12, 3.13.
Таким образом, на основании полученных данных можно сделать вывод о том, что проектируемая структура управления предприятием превосходит существующую по следующим критериям:
-соответствия организационной структуры целям организации;
-скорости принятия решений;
-адаптивности организационной структуры.
Уступает по критерию надежности функционирования.
Заключение
Целью данной работы являлось определение эффективной организационной структуры управления филиалом ОАО «Ростелеком» ТЦМС-15.
В работе были решены следующие задачи:
-изучена и проанализирована мировая и отечественная практика проектирования и совершенствования организационной структуры управления предприятием;
-проведен анализ хозяйственной деятельности предприятия;
-проанализирована существующей организационной структуры управления предприятием и выявлены следующие причины ее совершенствования: неудовлетворительное функционирование предприятия (снижение прибыли), перегрузка высшего руководства филиала, разногласия по организационным вопросам, увеличение разнообразия предлагаемых услуг;
-на основе анализа организационной структуры были выдвинуты предложения по ее совершенствованию, такие как: расформирование хозяйственного отдела; общая перестройка организационной структуры; реорганизация отдела маркетинга.
-была проведена оценка эффективности предлагаемых мероприятий (с использованием экономико-математических методов), на основе которой можно сделать вывод о том, что прогнозируемый годовой экономический эффект от реализации предложенных мероприятий должен принести филиалу 3189,46 тыс.р.;
-рассмотрены вопросы техники безопасности труда работников филиала.
Автор считает, что цель работы достигнута, задачи отработаны и подкреплены практическими рекомендациями и расчетами.
Библиографический список
- Ансофф И. Стратегическое управление. М.: Высшая школа, 1989. 256 с.
- Веснин В.Р. Основы менеджмента. М.: Финансы и статистика, 1996. 374 с.
- Виханский О.С., Наумов А.И. Менеджмент. М.: Гардарика, 1998. 528 с.
- Галькович Р.С., Набоков В.И. Основы менеджмента. М.: ИНФРА-М, 1998. 189 с.
- Герчикова И.Н. Менеджмент. М.: Финансы и статистика, 1997. 763 с.
- Грачев М.В. Капиталистическое управление. М.: Экономика, 1991. 264 с.
- Грачев М.В. Суперкадры. М.: Финансы и статистика, 1993. 378 с.
- Как добиться успеха / Под. ред. И.П. Хруцкого. М.: Республика, 1992. 480 с.
- Козлова О.В. Основы научного управления производством. М.: Высшая школа, 1980. 522 с.
- Комаров М.А. Менеджмент. М.: ИНФРА-М, 1998. 351 с.
- Котлер Ф. Управление маркетингом М.: Финансы и статистика, 1990. 745 с.
- Кричевский Р.Л. Если Вы руководитель. М.: Дело ЛТД, 1993. 375 с.
- Курс для высшего управленческого персонала / Под ред. Терещенко А.В. М.: Высшая школа, 1970. 673 с.
- Мильнер Б.З. Теория организаций. М.: ИНФРА-М, 1999. 336 с.
- Семь нот менеджмента. М.: ЗАО «Журнал Эксперт», 1998. 424 с.
- Тейлор Ф. Принципы научного менеджмента. М.: Высшая школа, 1991. 253 с.
Приложение 1

Приложение 2
Оценка структуры и динамики прибыли филиала ОАО «Ростелеком» ТЦМС-15 за 1997-98 гг.
В тысячах рублей
|
Показатель |
За отчетный период |
За аналогичный период прошлого года |
Изменения в динамике |
Структура формирования прибыли, % |
||
|
абсолютное |
относительное |
Отчет |
База |
|||
|
Выручка от реализации продукции |
135005,00 |
134626,00 |
379,00 |
+0,28 |
100,00 |
100,00 |
|
Себестоимость реализации продукции |
86203,00 |
84851,00 |
1352,00 |
+1,59 |
63,85 |
63,03 |
|
Управленческие расходы |
30102,00 |
30215,00 |
- 113,00 |
- 0,37 |
22,30 |
22,44 |
|
Прибыль (убыток) от реализации |
18700,00 |
19560,00 |
- 860,00 |
- 4,39 |
13,85 |
14,53 |
|
Проценты к получению |
111,00 |
153,00 |
- 42,00 |
- 27,45 |
0,08 |
0,11 |
|
Прочие операционные доходы |
845,00 |
358,00 |
487,00 |
+136,03 |
0,63 |
0,27 |
|
Прочие операционные расходы |
813,00 |
908,00 |
- 95,00 |
- 10,46 |
0,60 |
0,67 |
|
Прибыль (убыток) от финансово-хозяйственной деятельности |
18843,00 |
19163,00 |
- 320,00 |
- 1,67 |
13,95 |
14,23 |
|
Прочие внереализационные доходы |
577,00 |
337,00 |
240,00 |
71,21 |
0,43 |
0,25 |
|
Прочие внереализационные расходы |
65,00 |
110,00 |
- 45,00 |
- 40,91 |
0,01 |
0,01 |
|
Прибыль (убыток) отчетного периода |
19355,00 |
19390,00 |
- 35,00 |
- 0,18 |
14,34 |
14,40 |
|
Налог на прибыль |
5813,00 |
5426,00 |
387,00 |
+7,13 |
4,31 |
4,03 |
|
Отвлеченные средства |
571,00 |
560,00 |
11,00 |
+1,96 |
0,42 |
0,41 |
|
Нераспределенная прибыль (убыток) отчетного года |
12971,00 |
13404,00 |
- 433,00 |
- 3,23 |
9,61 |
9,96 |
Приложение 3
Проблемы организационной структуры предприятия и пути их решения
|
Проблема |
Описание проблемы |
Пути решения проблемы |
|
Неудовлетворительное функционирование предприятия |
В 1998 году прибыли филиала составила 12971 т.р., в 1997 13404 т.р., то есть в 1998 году произошло снижение прибыли на 433 т.р. в абсолютном выражении, а с учетом инфляции прибыль уменьшилась в несколько раз |
Реорганизация отдела маркетинга |
|
Несоответствие организационной структуры управления структуры увеличению разнообразия предлагаемых услуг |
ОАО «Ростелеком» планирует вести работу на нескольких новых для себя рынках: создание сети мультимедиа связи, развитие услуги Internet и сотовой спутниковой связи (программа «Глобал стар») |
|
|
Перегрузка высшего руководства |
Филиалу ОАО «Ростелеком» удается функционировать удовлетворительно только ценою чрезмерной изнурительной нагрузки на нескольких высших руководителей. Директор филиала имеет в своем непосредственном подчинении 10 человек, главный инженер 12 |
Общая перестройка организационной структуры управления филиалом |
|
Разногласия по организационным вопросам |
Существующая структура создает препятствия для эффективной работы, затрудняет достижение целей некоторых отделов или подразделений, допускает дублирование функций |
Расформирование хозяйственного отдела |
Приложение 4
Проектируемая организационная структура управления филиала ОАО «Ростелеком» ТЦМС-15

Приложение 5
Существующая организационная структура управления филиала ОАО «Ростелеком» ТЦМС-15

Приложение 6
Оценка руководителями филиала ОАО «Ростелеком» ТЦМС-15 существующей организационной структуры управления предприятием
|
Должность |
Оцениваемые параметры |
|||
|
Соответствие структуры целям организации |
Скорость принятия решений |
Надежность функциони-рования |
Адаптивность организационной структуры |
|
|
Директор |
4 |
3 |
5 |
4 |
|
Главный инженер |
5 |
4 |
5 |
4 |
|
Главный экономист |
3 |
2 |
4 |
2 |
|
Главный бухгалтер |
4 |
4 |
5 |
3 |
|
Заместитель директора по общим вопросам |
4 |
3 |
5 |
4 |
|
Заместитель директора по капитальному строительству и капитальному ремонту |
5 |
4 |
5 |
4 |
|
Заместитель директора по чрезвычайным ситуациям |
4 |
4 |
5 |
4 |
|
Средний балл по параметру |
3,86 |
3,14 |
4,86 |
3,57 |
Приложение 7
Оценка руководителями филиала ОАО «Ростелеком» ТЦМС-15 проектируемой организационной структуры управления предприятием
|
Должность |
Оцениваемые параметры |
|||
|
Соответствие структуры целям организации |
Скорость принятия решений |
Надежность функциони-рования |
Адаптивность организационной структуры |
|
|
Директор |
5 |
4 |
4 |
5 |
|
Главный инженер |
5 |
4 |
4 |
4 |
|
Главный экономист |
5 |
4 |
4 |
5 |
|
Главный бухгалтер |
4 |
4 |
5 |
3 |
|
Заместитель директора по общим вопросам |
3 |
3 |
3 |
3 |
|
Заместитель директора по капитальному строительству и капитальному ремонту |
5 |
4 |
5 |
4 |
|
Заместитель директора по чрезвычайным ситуациям |
5 |
4 |
5 |
4 |
|
Средний балл по параметру |
4,57 |
3,86 |
4,29 |
4 |