Анализ проблемы загрязнения и очистки сточных вод промышленными предприятиями
PAGE \* MERGEFORMAT 71
СОДЕРЖАНИЕ
ВВЕДЕНИЕ…………………………………………………………………….7
ГЛАВА 1. Анализ проблемы загрязнения и очистки сточных вод промышленными предприятиями…………………………9
- Виды сточных вод…………………………………………………………..9
- Показатели качества сточных вод…………………………………………13
- Требования к сточным водам промышленных предприятий……………20
- Основные методы очистки сточных вод…………………………………..22
- Механические методы очистки………………………………………22
- Химические методы очистки…………………………………………23
- Физико-химические методы очистки………………………………..24
- Биологические методы очистки…………………………………...…24
- Биохимические основы методов биологической очистки сточных вод ……………………………………………………….25
ГЛАВА 2. СТАДИИ ОЧИСТКИ СТОЧНЫХ ВОД…………………………..29
2.1 Механическая очистка……………………………………………………..29
2.1.1 Усреднитель ……………………………………………………………...29
2.1.2 Песколовка ………………………………………………………………..32
2.1.3 Песковые площадки………………………………………………………34
2.2 Биологическая очистка……………………………………………………..36
2.2.1 Биореактор ………………………………………………………………..36
2.2.2 Вторичный отстойник…………………………………………………….39
2.3 Доочистка сточных вод……………………………………………………..42
2.3.1 Биофильтры………………………………………………………………..42
2.3.2 Сорбционный фильтр……………………………………………………..44
2.3.3. УФ-обеззараживание……………………………………………………..46
2.4. Обеззараживание сточных вод…………………………………………….48
2.4.1 Центрифуги……………………………………………………………….49
2.4.2 Сепаратор…………………………………………………………………..50
2.5 Обработка осадка……………………………………………………………51
2.5.1 Стабилизация ила………………………………………………………….52
2.5.2 Обезвоживание ила………………………………………………………..53
ГЛАВА 3. РАЗРАБОТКА ПРОЕКТА СТАНЦИИ БИОЛОГИЧЕСКОЙ ОЧИСТКИ ХОЗЯЙСТВЕННО-БЫТОВЫХ СТОЧНЫХ ВОД ……………………55
3.1. Общие сведения…………………………………………………………….55
- Технология очистки…………………………………………………………60
- Описание технологической схемы…………………………………………61
- Архитектурно-строительные решения……………………………………68
- Водопровод и канализация………………………………………………….69
ЗАКЛЮЧЕНИЕ………………………………………………………………….70
СПИСОК ИСПОЛЬЗУЕМОЙ ЛИТЕРАТУРЫ………………………………...……72
ВВЕДЕНИЕ
В начале этого столетия более половины населения мира будет проживать в городских районах. К 2025 году эта доля возрастет до 60 процентов, что составит около 5 млрд. человек. Поэтому общей целью человечества становится адекватное обеспечение водой хорошего качества всего населения нашей планеты, при этом сохраняя гидрологические, биологические и химические функции экосистем.
Значительная часть крупных городских агломераций расположена в устьях рек и в прибрежных зонах. Стремительный рост городского населения и индустриализация создают серьезные препятствия на пути реализации возможностей по охране водных ресурсов и окружающей среды во многих городах. Это приводит к загрязнению природных водотоков, вызываемому сбросом городских и промышленных отходов, а также чрезмерной эксплуатации имеющихся водных ресурсов, что ставит под угрозу водную среду и водоснабжение. Для обеспечения полного использования ограниченных водных ресурсов и охраны этих ресурсов от загрязнения необходимы новые технологии.
В данной дипломной работе представлен проект станции биологической очистки хозяйственно-бытовых сточных вод, разработанный для города Сковородино (Амурской области). Решение о строительстве этого объекта было принято руководством области в связи с серьезным ухудшением экологической обстановки в районе, а также значительным ухудшением качества вод в реке Амур. В очистных сооружениях предусмотрен полный цикл очистки сточных вод вплоть до бактериологического обеззараживания, что позволило обеспечить благоприятные экологические условия для проживания населения, а также снизило негативные воздействия города на окружающую среду до нормативных.
Целью дипломной работы является изучение технологии очистки хозяйственно-бытовых сточных вод г.Сковородино Амурской области. Исходя из проведенного нами анализа литературы, в дипломной работе, были поставлены следующие задачи:
- проанализировать проблемы загрязнения и очистки сточных вод;
- изучить методы очистки сточных вод;
- произвести обзор оборудования для механической и биологической очистки, доочистки, процесса обеззараживания сточных вод, обработки осадка;
- внедрение выбранных установок в технологических схемах проекта.
ГЛАВА 1. Анализ проблемы загрязнения и очистки сточных вод промышленными предприятиями
1.1. Виды сточных вод
Загрязнение воды представляет на сегодняшний день серьезную опасность для здоровья населения и водной среды. Загрязненные стоки попадают напрямую в водоемы или просачиваются в грунтовые воды, представляя огромный риск для здоровья людей, состояния животных и растений. Поэтому решение проблемы загрязнения воды и обеспечение населения и производственной сферы чистой водой приобретает все более важное значение. В связи с этим необходимо представлять особенности и характер загрязнения сточных вод промышленными предприятиями, в частности автотранспортными, и основные методы их очистки.
Сточные воды это воды, удаляемые после их использования. Более полно сточной водой (или сточной жидкостью) называется использованная на бытовые или производственные нужды вода, получившая при этом загрязнения, изменившие ее первоначальный химический состав или физические свойства (или одновременно и то и другое), и подлежащая удалению с территории населенного пункта или промышленного предприятия.
Сточные воды, отводимые с территории промышленных предприятий, в зависимости от происхождения, вида и качественной характеристики примесей могут быть разделены на три основные категории:
- бытовые (иначе хозяйственно-фекальные),
- производственные,
- атмосферные (ливневые).
К бытовым относятся воды от кухонь и туалетных комнат, бань и прачечных, предприятий общественного питания и лечебных учреждений, воды от мытья помещений. Они поступают от жилых и общественных зданий и от бытовых помещений промышленных предприятий. По природе загрязнений они могут быть фекальные, загрязненные, в основном физиологическими выделениями людей, и хозяйственные, загрязненные всякого рода хозяйственными отбросами. Основную часть органических загрязнений бытовых сточных вод составляют белковые вещества, жиры, углеводы и продукты их разложения. Неорганическую часть загрязнений составляют соли, присущие питьевой воде и образующиеся в процессе обменных реакций в организме человека. В частности, к продуктам обмена веществ относятся фосфаты и аммонийные соли продукт гидролиза мочевины. К неорганическим примесям сточных вод относятся также песок и глинистые частицы, попадающие в бытовые воды от мытья овощей и фруктов, уборки помещений и т.д. Загрязнения органической природы составляют 4558 % общей массы загрязнений бытовых сточных вод. [1]
Особую категорию составляют биологические загрязнения: разнообразные микроорганизмы, в том числе и патогенные, и яйца гельминтов. Эти загрязнения попадают в систему водоотведения с физиологическими выделениями людей, с водой от ванн и кухонь.
Отличительная особенность бытовых сточных вод относительное постоянство их состава, так как от каждого жителя в систему водоотведения поступает в среднем постоянное количество определенных загрязнений (г/сут).
В совокупности загрязнения бытовых сточных вод представляют собой полноценный субстрат для гетеротрофных бактерий, поэтому для их очистки, как правило, применяют биологические методы.
К производственным сточным водам относят воды, образовавшиеся при проведении различных технологических процессов, добыче полезных ископаемых, а также вода, прошедшая через загрязненную территорию промышленных предприятий и не пригодная для вторичного использования. Вода, используемая в технологических процессах, загрязняется в результате протекания различных химических реакций, при промывке сырья, продуктов и оборудования, а также при охлаждении последнего (охлаждающая вода). Кроме того, источниками сточных вод являются маточные водные растворы, водные экстракты, реэкстакты и адсорбенты, выделяющиеся из сырья при проведении технологических процессов свободная и связанная влага, вода, загрязненная в процессе эксплуатации различного оборудования (вакуум-насосов, систем гидрозолоудаления, конденсаторов смешения и др.)
Производственные сточные воды можно разделить на две основные категории: загрязненные и незагрязненные (условно чистые).
Загрязненные сточные воды обычно делят на три группы:
- загрязненные преимущественно органическими примесями,
- загрязненные преимущественно минеральными примесями
- загрязненные смесью этих примесей.
Количество и состав производственных сточных вод зависит от ряда факторов: технологического процесса, режимов его поведения, состава сырья, промежуточных изделий и продуктов, выпускаемой продукции, состава исходной свежей воды и др.
При классификации химических загрязнителей воды различают следующие пять групп:
- биологические нестойкие органические соединения;
- малотоксичные неорганические соли;
- нефтепродукты;
- биогенные соединения;
- вещества со специфическими токсичными свойствами, в том числе тяжелые металлы, биологически жесткие не разлагающиеся органические синтетические соединения.
Следует указать, что производственные сточные воды содержат минеральные и органические соединения в самых различных сочетаниях.
Сточные воды представляют собой сложные системы, в которых органические и минеральные загрязнения находятся в растворенном, коллоидном и нерастворимом состояниях.
Разнообразие состава и характера загрязнений производственных сточных вод обусловливает применение для их очистки различных методов, как химических и физико-химических, так и биологических.
Ливневые воды образуются в результате выпадения атмосферных осадков. К ним относятся также талые воды, образующиеся при таянии льда и снега. Отличительной чертой ливневого стока является его эпизодичность и резкая неравномерность по расходу и качеству воды. Воды от поливки улиц, от фонтанов и дренажей по качественной характеристике загрязнений близки к ливневым и удаляются вместе с ними.
В составе ливневых сточных вод много песка, глины, мусора, нефтепродуктов, смываемых с улиц города. Ливневые воды с территории промышленных предприятий могут содержать специфические примеси, характерные для того или иного производства. [3]
В специальной литературе часто фигурирует термин «городские сточные воды». Под городскими сточными водами понимают смесь всех трех видов вод при общесплавной системе канализации или бытовых и производственных при раздельной системе. На городских очистных станциях вода последовательно проходит сооружения механической, биологической очистки и дезинфицируется. Для обеспечения нормальной работы этих сооружений к городским сточным водам предъявляются ряд требований, выполнение которых обеспечивается постоянным контролем за сточными водами промышленных предприятий, подключенных к водоотводящей сети города.
1.2. Показатели качества сточных вод
Качество сточных вод в целом характеризуются разнообразными показателями, важнейшие из которых рассматриваются ниже.
Температура. Физический показатель качества воды. Температура влияет на вязкость среды и, следовательно, на скорость осаждения взвешенных частиц. Кроме влияния на процессы осаждения температура является также важным технологическим параметром биологических процессов очистки, так как от нее зависят скорость биохимических реакций и растворимость в воде кислорода, необходимого для жизнедеятельности микроорганизмов.
Окраска. Бытовые сточные воды, как правило, окрашены слабо. Интенсивная окраска показывает наличие производственных сточных вод, особенно от предприятий легкой промышленности, где в большом количестве используются разнообразные красители.
Запах. Запах органолептический показатель качества воды, их вызывают летучие пахнущие вещества. Запах бытовых стоков довольно характерен и представляет собой смесь запахов фекалий и разложений органических веществ. Запах производственных стоков весьма разнообразен и зависит от вида производства.
Прозрачность показатель степени общей загрязненности воды. Прозрачность городских сточных вод обычно не превышает 35 см. Сточные воды после биологической очистки имеют прозрачность более 15 см.
Водородный показатель. Величина рН мера активной реакции среды, или активной кислотности, обусловленной присутствием в растворе свободных ионов водорода. Сточные воды, сбрасываемые в систему водоотведения города, должны иметь значение рН в пределах 6,58,5. Требование обусловлено тем, что кислые и щелочные сточные воды разрушающе действуют на материал коллекторов и могут нарушать биохимические процессы очистки сточных вод.
Сухой и плотный остатки. В отличие от анализа природных вод сухой остаток сточных вод определяют из натуральной (не фильтрованной) пробы, поэтому он является показателем суммарного содержания загрязнений во всех агрегатных состояниях.
Плотный остаток определяется из фильтрованной пробы и показывает содержание веществ в коллоидном и истинно растворенном состоянии. В сточных водах, поступающих на сооружение биологической очистки, плотный остаток не должен превышать 10 г/л, так как жизнедеятельность микроорганизмов в более минерализованной среде нарушается. Определения проводят, как и в анализе природных вод.
Жесткость. Общая жесткость воды Жо показывает концентрацию катионов двухвалентных щелочноземельных металлов, главным образом кальция и магния.
Различают жесткость карбонатную и некарбонатную. Количество Са и Мg, эквивалентное содержанию гидрокарбонатов НСОз, называется карбонатной жесткостью Жк..
Разность между общей и карбонатной жесткостью называется некарбонатной жесткостью. Следовательно, Жнк это содержание Са и Mg, эквивалентное концентрации всех остальных анионов.
Результаты определения жесткости выражают в мг экв/л. В табл. 1.1. приведена классификация сточных вод по величине их жесткости.
Таблица 1.2
Степень жесткости сточных вод
|
Характеристика воды |
Жесткость мг-экв/л |
Характеристика воды |
Жесткость мг-экв/л |
|
Мягкая |
< 4 |
Жесткая |
8 -12 |
|
Средней жесткости |
4 8 |
Очень жесткая |
> 12 |
Содержание взвешенных веществ одна из важнейших характеристик состава сточных вод. Этот показатель используется для расчета первичных отстойников и для определения количества образующихся осадков.
Концентрация взвешенных веществ в городских сточных водах составляет 100-500 мг/л. С достаточной степенью точности этот показатель может быть определен как разность сухого и плотного остатков.
Содержание оседающих веществ часть взвешенных веществ, которые оседают на дно отстойного цилиндра за 2 ч отстаивания в покое. Длительность отстаивания, равная 2 ч, определена на основании экспериментальных наблюдений, которые показали, что дальнейшее увеличение продолжительности процесса практически не изменяет результата, достигнутого за это время. В городских сточных водах оседающие вещества составляют 6575% взвешенных веществ по массе.
Концентрацию оседающих веществ выражают по объему (мл/л) и по массе (мг/л).
Потери при прокаливании, зольность твердых примесей. Для многих технологических целей нужно знать содержание органической и минеральной частей твердой фазы воды. В этом случае высушенная твердая фаза любого определения (взвешенных веществ, оседающих веществ, сухого или плотного остатка) подвергается прокаливанию. Прокаливание проводят при температуре «красного» каления (500600°С). Выгорают, т.е. улетучиваются в виде оксидов, углерод, водород, азот, сера и другие примеси. Остаток, называемый золой, после охлаждения взвешивают. Результаты выражают либо в абсолютных цифрах, либо в процентах. Потери при прокаливании это абсолютное количество улетучившихся примесей; показатель выражается в мг/л. Зольность отношение массы остатка после прокаливания к массе первоначально взятого твердого образца, выражается в процентах. Зольность взвеси городских сточных вод обычно находится в пределах 2535%.
Химическая окисляемость определяет общее содержание в воде восстановителей органических и неорганических, реагирующих с окислителями. В сточных водах преобладают органические восстановители, поэтому, как правило, всю величину окисляемости относят к органическим примесям воды. [4]
Химическую окисляемость определяют с использованием в качестве окислителей бихромата калия К2Сг207 (бихроматная окисляемость) или йодата калия КIOз (йодатная окисляемость). Бихроматную и йодатную окисляемость иначе называют химической потребностью в кислороде или ХПК. Это название точно отражает сущность определения окисляемости, так как оценивается количество кислорода, необходимое для окисления примесей воды, т.е. для перевода С в С02, Н в Н20, N в NНз и т.д.
Биохимическая окисляемость определяет содержание в воде органических примесей, которые могут быть окислены биохимическим путем. Окисление осуществляют аэробные гетеротрофные бактерии. По аналогии с ХПК окисляемость с использованием окислительной способности бактерий называют биохимической потребностью в кислороде, или БПК.
Значительное число бактерий облигатных аэробов и факультативных анаэробов способно существовать за счет использования загрязнений (примесей) воды в качестве источника питания. При этом часть использованных органических веществ расходуется на энергетические нужды, а другая часть на синтез тела клетки. Часть вещества, расходуемая на энергетические потребности, окисляется клеткой до конца, т.е. до С02, Н20, NH3. Продукты окисления метаболита выводятся из клетки во внешнюю среду. Реакции синтеза клеточного вещества идут также с участием кислорода. Количество кислорода, требуемого микроорганизмам на весь цикл реакции синтеза и получения энергии, и есть БПК.
В результате жизнедеятельности бактерий сточная вода очищается от исходных органических примесей, однако в ней остаются некоторые органические вещества, малодоступные или совсем недоступные бактериям для усвоения, и, кроме того, вода получает новые загрязнения органические и неорганические метаболиты.
Содержание соединений азота и фосфора. Азот в воде может находится в органических соединениях белковых и небелковых и неорганических в виде аммонийного , нитритного и нитратного. При анализе сточных вод определяют азот общий, аммонийный, нитритный, нитратный. Показатель «азот общий» определяет содержание в воде органического и неорганического азота. Окисленные формы азота в неочищенных городских водах отсутствуют и появляются только в случае глубокой биологической очистки сточных вод.
Содержание сульфатов и хлоридов. Концентрация сульфатов в городских сточных водах обычно находится на уровне 100-150 мг/л, хлоридов 150300 мг/л. В сооружениях аэробной очистки эти показатели не претерпевают каких-либо изменений и их количество не имеет существенного значения, если общее солесодержание не превышает установленного предела. Концентрацию хлоридов важно знать при определении ХПК, так как хлориды окисляются бихроматом калия до молекулярного хлора. Поэтому при концентрации хлоридов более 200 мг/л требуется их предварительное осаждение или введение поправки к результату анализа ХПК.
Содержание синтетических поверхностно-активных веществ. СПАВ группа химических соединений, присутствие которых в сточных водах особенно угрожает санитарному состоянию водоема (водоприемника) и резко отрицательно сказывается на работе очистных сооружений. Появляются СПАВ в сточных водах в результате широкого применения их в быту и промышленности в качестве моющих средств, а также смачивающих, эмульгирующих, выравнивающих, дезинфицирующих препаратов. [2]
Наибольшее применение СПАВ находят в нефтяной, текстильной и кожевенной промышленности. В бытовых моющих средствах содержание активного агента достигает 2030%.
Большинство СПАВ органические вещества, состоящие из двух частей: гидрофобной и гидрофильной. Гидрофобная часть СПАВ соединена обычно с одной гидрофильной группой. В зависимости от физико-химических свойств гидрофильной части СПАВ делятся на три основных типа: анионоактивные, катионоактивные, неионогенные. Каждый тип в свою очередь делится на классы в зависимости от химического состава гидрофобной части.
Присутствие СПАВ в сточных водах снижает способность взвешенных веществ к оседанию, тормозит биохимические процессы, способствует возникновению пены в сооружениях и водоемах. Наличие СПАВ в водоемах ухудшает процессы их самоочищения от остаточных загрязнений, вносимых с очищенными водами. Содержание анионных СПАВ в природной воде допускается не более 0,5 мг/л.
Вне зависимости от типа СПАВ рассматривают в трех категориях по отношению к степени биохимической окисляемости этих веществ: «мягких» СПАВ с удалением и окислением в биологических сооружениях 7585%, «промежуточных» 60% и «жестких» менее 60%. Нормами предусматривается, что на сооружения биологической очистки может поступать вода с содержанием «мягких» и «промежуточных» СПАВ не более 1020 мг/л; сброс в канализацию «жестких» СПАВ не допускается.
Содержание растворенного кислорода. В загрязненных сточных водах либо растворенного кислорода не бывает совсем, либо его концентрация не превышает 0,51 мг/л. Минимальное содержание кислорода для нормальной жизнедеятельности микроорганизмов составляет 2 мг/л.
Максимально возможное растворение кислорода в воде определяется в основном температурой. При температуре 20оС в дистиллированной воде растворяется 9,17 мг 02/л. Присутствие относительно небольшого количества различных примесей в инкубируемой смеси практически не снижает этого предела.
Очищенные сточные воды, выпускаемые в водоем, обычно содержат 48 мг/л растворенного кислорода.
Содержание токсичных веществ. К группе токсичных элементов относятся тяжелые металлы: железо, никель, медь, свинец и цинк, а также мышьяк, сурьма, бор, алюминий, хром.
Особенно важно контролировать содержание этих элементов в производственных сточных водах, поступающих на сооружения биологической очистки. Предельно-допустимые концентрации (ПДК) этих элементов очень низки. Так, для свинца ПДК для сооружений аэробной очистки составляет 1 мг/л, а для меди 0,5 мг/л.
Кроме неорганических соединений в некоторых видах производственных сточных вод оказываются токсичные органические примеси, такие, как нефтепродукты, фонолы, красители и т.д. Допустимые концентрации этих веществ, не нарушающие работу очистных сооружений.
Биологические загрязнения. Микрофлора бытовых сточных вод представлена в основном микроорганизмами, выделяемыми из кишечника человека, смываемыми с тела и окружающих предметов. С физиологическими выделениями человека в сточную воду поступает несколько триллионов микробов в сутки. Среди них значительное число составляют кишечные палочки, лактобациллы, энтерококки, грибы, простейшие. При спуске в городскую канализацию некоторых производственных отходов в сточных водах оказываются специфические микроорганизмы (грибы, актиномицеты, дрожжи и т.д.), используемые в промышленности. [2]
Для полной санитарно-эпидемиологической оценки сточных вод кроме микробного числа и коли-теста определяют третий показатель содержание яиц гельминтов.
Содержание яиц гельминтов в сточной воде характеризует общую и видовую пораженность населения гельминтозами и позволяет оценить уровень санитарного состояния населенного пункта. В сточной воде наиболее часто встречаются яйца аскарид. На их долю приходится около 92% общего числа яиц гельминтов, остальные 8% составляют яйца власоглава, остриц, широкого лентеца.
Увеличение водопотребления наряду с повышением общей культуры населения приводит к постоянному снижению содержания яиц гельминтов в сточных водах.
1.3. Требования к сточным водам промышленных предприятий
В России существует запрет на сброс в городские канализации определенных видов сточных вод. В том числе, запрещается сбрасывать сточные воды, содержащие:
- вещества, которые могут засорять трубы, колодцы или отлагаться на стенках труб, колодцев, решеток (окалина, известь, песок, глина, металлическая стружка и т.д.);
- вещества, оказывающие разрушающее действие на металл труб и элементы сооружений канализации;
- вредные вещества в концентрациях, препятствующих биологической очистке сточных вод; опасные бактериальные загрязняющие вещества;
- нерастворимые масла, смолы, мазут;
- биологические трудно окисляемые органические вещества;
- взвешенные и всплывающие вещества в концентрациях, превышающих 500 мг/л;
- биологически «жесткие» ПАВ;
- вещества, для которых не установлены предельно-допустимые концентрации (ПДК) в воде водных объектов;
- кислоты, горючие примеси, токсичные и растворенные газообразные вещества (в частности, растворители: бензин, диэтиленовый эфир, дихлорметан и др.), способные образовывать в канализационных сетях и сооружениях токсичные газы (сероводород, сероуглерод, окись углерода, цианистоводородная кислота, пары летучих ароматических углеводородов и другие взрывоопасные и токсичные смеси;
- сточные воды, расход и состав которых может привести к превышению допустимого установленного правилами количества загрязняющих веществ, поступающих в водный объект;
- сточные воды, имеющие температуру выше 40°С, рН ниже 6,5 или выше 9, ХПК выше БПК5 более чем в 2,5 раза или БПКполн более, чем в 1,5 раза;
- концентрированные маточные или кубовые растворы;
- залповые сбросы;
- поверхностный сток с территории промышленных площадок (дождевые, талые, поливочно-моечные) и дренажные воды при полной раздельной системе канализации. [8]
В связи с тем, что в промышленных стоках содержатся специфические загрязнения и компоненты, их сброс и условия выпуска регламентированы «Правилами приема производственных сточных вод в системы канализации населенных пунктов».
Основными ограничениями на сброс промстоков в водоотводящую сеть являются:
- превышение расходов и концентраций загрязнений, установленных для данного предприятия;
- нарушение работы сетей, насосных станций, сооружений;
- присутствие веществ, отлагающихся на стенках трубопроводов и засоряющих или разрушающих их;
- наличие горючих и растворенных газообразных веществ, которые могут вызывать взрыв;
- содержание токсичных для микрофлоры очистных сооружений веществ;
- температура более 40 оС;
- рН вне пределов 6,5 9;
- содержание органических веществ по химическому потреблению кислорода, превышающие биохимическое потребление кислорода более чем в 1,5 раза. [9]
1.4. Основные методы очистки сточных вод
К основным методам очистки производственных сточных вод относятся:
- механические методы,
- химические методы,
- физико-химические методы,
- биологические методы.
1.4.1. Механические методы очистки
Механическая очистка применяется для выделения из сточных вод нерастворимых минеральных и органических примесей. Обычно механическая очистка предшествует биологическому, физико-химическому или другому методу глубокой очистки. Чаще всего, механическая очистка является предварительным, реже окончательным этапом для очистки производственных сточных вод. Она обеспечивает выделение взвешенных веществ до 90-95% и снижение органических загрязнений (по показателю БПК полн.) до 20-25%.
Основные типы оборудования:
- отстойники,
- фильтры,
- песколовки,
- нефтеловушки.
Стандартная схема очистки на современных очистных станциях состоит из процеживания через решетки, пескоулавливания, отстаивания и фильтрования. [24]
В ряде случаев возможно применения и других устройств, таких как: преаэраторы, биокоагуляторы, осветлители, нефтеловушки и смолоотстойники, гидроциклоны. Для очистки сточных вод от мелкодисперсных загрязнений применяют осадительные центрифуги и жидкостные сепараторы.
С целью обеспечения надежной работы сооружений механической очистки производственных сточных вод рекомендуется применять не менее двух рабочих единиц основного технологического оборудования решеток, песколовок, усреднителей, отстойников или фильтров.
1.4.2. Химические методы очистки
К химическим методам очистки сточных вод относят следующие: нейтрализация, окисление, восстановление, реагентные методы выделения загрязняющих веществ в виде малорастворимых и нерастворимых соединений.
Химическая очистка сточных вод производится перед их подачей в систему оборотного водоснабжения, а также перед спуском их в водоем или городскую канализационную сеть. Кроме того, указанный метод применяется для предварительной очистки сточных вод перед биологической или физико-химической очисткой, а также в системах локальной очистки производственных сточных вод. Химическая обработка находит применение и как метод глубокой очистки сточных вод с целью их дезинфекции или обесцвечивания.
1.4.3. Физико-химические методы очистки
Физико-химические методы играют существенную роль при обработке производственных сточных вод. К ним относятся следующие: коагуляция и флокуляция, сорбция, ионный обмен, экстракция, различные электрохимические методы, мембранные методы (обратный осмос, ультрафильтрация) и др. Эти методы используют как самостоятельно, так и в сочетании с механическими, биологическими и химическими методами очистки. В настоящее время область применения физико-химических методов очистки расширяется. Наиболее эффективное применение физико-химических методов достигается в локальных системах очистки сточных вод промышленных предприятий.
1.4.4. Биологические методы очистки
Биологический (или биохимический) метод очистки сточных вод применяется для очистки производственных и бытовых сточных вод от органических и неорганических загрязнителей. Данный процесс основан на способности некоторых микроорганизмов использовать загрязняющие сточные воды вещества для питания в процессе своей жизнедеятельности.
Основной процесс, протекающий при биологической очистке сточных вод это биологическое окисление. Данный процесс осуществляется сообществом микроорганизмов (биоценозом), состоящим из множества различных бактерий, простейших водорослей, грибов и др., связанных между собой в единый комплекс сложными взаимоотношениями (метабиоза, симбиоза и антагонизма). Главенствующая роль в этом сообществе принадлежит бактериям.
Очистку сточных вод рассматриваемым методом проводят в аэробных (т.е. в присутствии растворенного в воде кислорода) и в анаэробных (в отсутствии растворенного в воде кислорода) условиях. Сообщество микроорганизмов представлено одними бактериями при очистке в анаэробных условиях. При очистке в аэробных условиях в сообществе микроорганизмов развиваются простейшие. [19]
Среди бактерий в очистных сооружениях сосуществуют гетеротрофы и автотрофы, которые различаются по своему отношению к источнику углеродного питания. Гетеротрофы используют в качестве источника углерода готовые органические вещества и перерабатывают их для получения энергии и биосинтеза клетки. Автотрофные организмы потребляют для синтеза неорганический углерод, а энергию получают либо за счет фотосинтеза, либо за счет хемосинтеза при окислении ряда неорганических соединений.
- Биохимические основы методов биологической очистки сточных вод
Биологические методы очистки сточных вод основываются на естественных процессах жизнедеятельности гетеротрофных микроорганизмов. Микроорганизмы, как известно, обладают целым рядом особых свойств, из которых следует выделить три основных, широко используемых целей очистки:
1. Способность потреблять в качестве источников питания самые разнообразные органические (и некоторые неорганические) соединения для получения энергии и обеспечения своего функционирования.
2. Во-вторых, это свойство быстро размножаться. В среднем число бактериальных клеток удваивается через каждые 30 мин.
3. Способность образовывать колонии и скопления, которые сравнительно легко можно отделить от очищенной воды после завершения процессов изъятия содержавшихся в ней загрязнений.
В живой микробиальной клетке непрерывно и одновременно протекают два процесса - распад молекул (катаболизм) и их синтез (анаболизм), составляющие в целом процесс обмена веществ метаболизм. Иными словами, процессы деструкции потребляемых микроорганизмами органических соединений неразрывно связаны с процессами биосинтеза новых микробиальных клеток, различных промежуточных или конечных продуктов, на проведение которых расходуется энергия, получаемая микробиальной клеткой в результате потребления питательных веществ. [19] Источником питания для гетеротрофных микроорганизмов являются углеводы, жиры, белки, спирты и т.д., которые могут расщепляться ими либо в аэробных, либо в анаэробных условиях. Значительная часть продуктов микробной трансформации может выделяться клеткой в окружающую среду или накапливаться в ней.
Некоторые промежуточные продукты служат питательным резервом, который клетка использует после истощения основного питания.
Весь цикл взаимоотношений клетки с окружающей средой в процессе изъятия из нее и трансформации питательных веществ определяется и регулируется соответствующими ферментами. Ферменты локализуются в цитоплазме и в различных субструктурах, встроенных в мембрану клетки, выделяются на поверхность клетки или в окружающую среду. Общее содержание ферментов в клетке достигает 40-60% от общего содержания в ней белка, а содержание каждого из ферментов может составлять от 0,1 до 5% от содержания белка. При этом в клетках может находиться свыше 1000 видов ферментов, а каждую биохимическую реакцию, осуществляемую клеткой, могут катализировать 50-100 молекул соответствующего фермента. [24] Часть ферментов представляют собой сложные белки (протеиды), содержащие кроме белковой части (апофермента) небелковую часть (кофермент). Во многих случаях коферментами являются витамины, иногда - комплексы, содержащие ионы металлов.
Ферменты делятся на шесть классов по характеру реакций, катализирующих: окислительные и восстановительные процессы; перенос различных химических групп от одного субстрата к другому; гидролитическое расщепление химических связей субстратов; отщепление от субстрата химической группы или присоединение таковой; изменение в пределах субстрата; соединение молекул субстрата с использованием высокоэнергетических соединений.
Поскольку микробиальная клетка потребляет только растворенные в воде органические вещества, то проникновение в клетку нерастворимых в воде веществ, таких, например, как крахмал, белки, целлюлоза и др. возможно лишь после их соответствующей подготовки, для чего клетка выпускает в окружающую жидкость необходимые ферменты для гидролитического их расщепления на более простые субъединицы.
Коферменты определяют природу катализируемой реакции и по выполняемым функциям подразделяются на три группы:
1. Переносящие ионы водорода или электроны. Связаны с окислительно-восстановительными ферментами - оксидоредуктазами.
2. Участвующие в переносе групп атомов (АТФ - аденозинтрифосфорная кислота, фосфаты углеводов, СоА - коферменат А и др.)
3. Катализирующие реакции синтеза, распада и изомеризации углеродных связей.
Механизм изъятия из раствора и последующей диссимиляции субстрата носит весьма сложный и многоступенчатый характер взаимосвязанных и последовательных биохимических реакций, определяемых типом питания и дыхания бактерий. Достаточно сказать, что многие аспекты этого механизма не совсем ясны до сих пор, несмотря на его практическое использование, как в области биотехнологии, так и в области биохимической очистки воды от органических примесей в широком спектре схем его технологического оформления.
Наиболее ранняя модель процесса биохимического изъятия и окисления загрязнений основывалась на трех главных положениях: сорбционное изъятие и накопление изымаемого вещества на поверхности клетки; диффузионное перемещение через клеточную оболочку либо самого вещества, либо продуктов его гидролиза, либо гидрофобного комплекса образуемого гидрофильным проникающим веществом и белком-посредником; метаболическая трансформация поступивших внутрь клетки питательных веществ, обеспечивающая диффузионное проникновение вещества в клетку.[7]
ГЛАВА 2 СТАДИИ ОЧИСТКИ БЫТОВЫХ СТОЧНЫХ ВОД
2.1 Механическая очистка
2.1.1 Усреднитель
Для обеспечения нормальной работы очистных сооружений усредняют расход сточной воды или концентрации веществ, находящихся в ней. Иногда усреднение осуществляют по двум показателям одновременно. Исключение пиковых расходов воды, поступающей на очистку, позволяет более экономично и надежно проводить процесс.
Усреднение проводят в контактных и проточных усреднителях. Контактные усреднители используют при небольших расходах сточной воды, в периодических процессах и для обеспечения высоких степеней выравнивания концентраций. В большинстве случаев применяют проточные усреднители, которые представляют собой многокоридорные (многоходовые) резервуары или емкости, снабженные перемешивающими устройствами.
Проточные усреднители с перемешивающими устройствами работают по принципу полного перемешивания вновь поступающих сточных вод с содержимым накопительной емкости. Наиболее удобными в эксплуатации являются усреднители с перфорированными трубчатыми барботерами. Являясь полными усреднителями расхода, они не обеспечивают полного усреднения концентрации загрязнений.
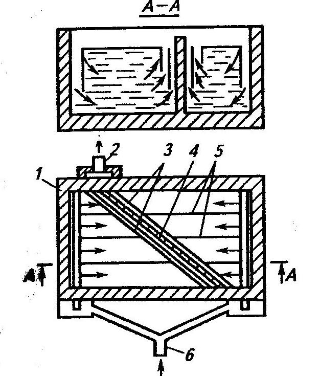
Многокоридорные усреднители могут быть прямоугольные (рис.2.1) и круглые (рис.2.2). Усреднение в них достигается смешением струй сточной воды разной концентрации. Усреднение расхода воды достигается также при перекачке ее насосами. В этом случае усреднитель представляет собой простую емкость. Перемешивание жидкости может быть обеспечено и механическими мешалками или барботажем воздуха (рис. 2.3).

Рисунок 2.1 Прямоугольный усреднитель
1-распределительный лоток; 2-водоподающий канал; 3-сборные лотки; 4-глухая перегородка; 5-вертекальные перегородки; 6-подвод воды

Рисунок 2.2 Круглый усреднитель
1-распределительный лоток; 2-перегородка ; 3-сборный лоток; 4-подвод воды

Рисунок 2.3 Усреднитель с перемешивающим устройством
1-выпускная камера; 2-выпускное устройство; 3-корпус; 4-лоток; 5-барботер
2.1.2 Песколовки
Песколовки предназначаются для выделения из сточных вод песка и других минеральных примесей с размером частиц 0,15-0,2 мм и более, а также частиц всплывающей нефти и нефтепродуктов, для чего они оборудуются нефтесборными устройствами [11]. Песколовки устанавливают перед нефтеловушками с целью уменьшения нагрузки на нефтеловушки по механическим примесям, нефти и нефтепродуктам.
Периодичность очистки песколовок от осадка должна устанавливаться при эксплуатации в каждом конкретном случае в зависимости от объема осадка и во избежании его слеживания, но не реже 1 раза в сутки. Полное опорожнение песколовки необходимо производить не реже 1 раза в неделю. При оборудовании песколовок стационарными шламовыми насосами разрыхление осадка осуществляется с помощью специально уложенной для этой цели труб. При откачке осадка секция песколовки из работы не выключается.
В песколовках необходимо регулярно отбирать всплывающие нефтепродукты. Для этой цели могут применяться трубы-качалки или щелевые поворотные нефтесборные трубы. Более целесообразно применение щелевых нефтесборных труб и нефтеудерживающих полупогруженных щитов, устанавливаемых в лотках на выходе из песколовок. Как показывает практика, в песколовках выделяется 20-40% всех нефтепродуктов, поступающих со сточными водами на очистные сооружения. При эксплуатации многосекционных песколовок необходимо следить за равномерным распределением воды между секциями для того, чтобы количество воды, приходящейся на каждую секцию, соответствовало расчетному расходу, предусмотренному проектом.
Распределение потока по секциям песколовки должно быть равномерным и производиться обслуживающим персоналом с помощью впускных шиберов.
Для контроля за работой песколовок необходимо регулярно проводить анализ проб на содержание механических примесей и нефтепродуктов в поступающей и очищенной сточной воде. Для сокращения объема сооружений песколовку следует совместить с нефтеловушкой.
Рисунок 2.4 Общий вид песколовки
1 - гидроэлеватор; 2 - трубопровод для отвода всплывающих примесей; 3 - желоб;
4 - затворы; 5 - подводящий лоток; 6 - пульпопровод; 7 - трубопровод рабочей жидкости;
8 - камера переключения; 9 - устройство для сбора всплывающих примесей; 10 - отводящий лоток; 11 полупогружные щиты
Стремление к упрощению выгрузки осадка из песколовок привело к созданию радиальной песколовки с круговым движением воды. Проточная часть песколовки в поперечном сечении имеет в верхней части прямоугольную форму, а в основании треугольную со щелью внизу. Весь улавливаемый осадок проваливается через щель в осадочную часть, имеющую коническую форму. Для выгрузки осадка достаточно установки гидроэлеватора.
2.1.3 Песковые площадки
Песковые площадки предусматриваются на бетонном основании с горизонтальным и вертикальным дренажом.
Количество песка, задерживаемого в песколовках, для бытовых сточных вод надлежит принимать 0,02 л/(челсут), влажность песка 60%, объемный вес 1,5 т/м3.
Для подсушивания песка, поступающего из песколовок, необходимо предусматривать площадки с ограждающими валиками высотой 12 м. Нагрузку на площадку надлежит предусматривать не более 3 м3/м2 в год при условии периодического вывоза подсушенного песка в течение года. Допускается применять накопители со слоем напуска песка до 3 м в год. Удаляемую с песковых площадок воду необходимо направлять в начало очистных сооружений.
Для съезда автотранспорта на песковые площадки надлежит устраивать пандус уклоном 0,120,2.
Рисунок 2.5 Общий вид песковой площадки
1 пескопровод диаметром 200 мм от песколовок; 2 разводящий лоток сечением 200х200 мм (i = 0,01); 3 трубопровод диаметром 200 мм для отвода дренажной воды
2.2 Биологическая очистка
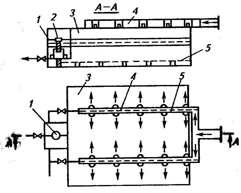
2.2.1 Мембранный биореактор (МБР)
Технология МБР это комбинирование различных биохимических и мембранных процессов. Мембранный биореактор сочетает в себе процессы микрофильтрации и ультрафильтрации, а также процесс аэробной биологической очистки сточных вод. Мембраны (трубчатые, половолоконные и плоскорамные элементы) служат в МБР в качестве барьера, дающего возможность очищать воду от содержащихся в ней загрязнений с высокой селективностью (высокомолекулярные соединения, взвешенные вещества, микроорганизмы активного ила и пр.). В зависимости от технологических задач мембранный биореактор может использоваться как на этапе финишной очистки (до стадии обеззараживания), так и для предочистки перед нанофильтрацией и обратным осмосом при необходимости обессоливания очищенной воды.

Рисунок 2.6 Мембранный биореактор
1 - реактор, 2 - аэратор, 3 - половолоконные мембраны, 4 - воздух, 5 - очищенная вода, 6, 9 - насосы, 7 - манометр, 8 - фильтрат
Функционирование мембранного биореактора (MBR).
Принцип действия мембранного биореактора основан на эффективном разделении ило-водяной суспензии методом микро- (>0,1 мкм) и ультрафильтрации (0,1...0,01 мкм) в системе полых полимерных мембран. Смесь, поступающая из аэротенка, циркулирует через мембранный модуль. Для организации фильтрации между внутренней полостью мембран и пространством мембранного блока создается разность давлений (0.01~0.06MПа). В результате отделения твердых и коллоидных частиц на половолоконных мембранах концентрация активного ила в блоке мембранного биоректора и в аэротенке повышается, что способствует глубокой биологической очистке стоков и обеспечивает уменьшение объема аэротенка не менее, чем на 2...3 раза.
Мембранный блок активно аэрируется, осуществляется интенсивная циркуляция иловой смеси с организацией постоянного омывания мебран потоком воздуха и иловодяной смеси, что дает возможность эффективно управлять процессом мембранного фильтрования, поддерживает ил во взвешенном состоянии и замедляет процесс засорения мембран.
Мембранный биореактор работает в условиях высокой концентрации биомассы, вынужденной расходовать свою энергию на поддержание жизнедеятельности, что приводит к снижению ее прироста (концентрация ила в реакторе составляет 10-20 мг/л против 2-3 мг/л в обычном аэротенке).[12]
Применение мембранных биореакторов:
- Очистка сточных вод промышленных предприятий;
- Очистка сточных вод молокозаводов и маслосырзаводов;
- Очистка поверхностные сточных вод;
- Промышленная очистка воды текстильного производства;
- Очистка сточных вод птицефабрик.
Для биологической очистки промышленных сточных вод мембранные биореактора имеют значительные преимущества перед обычными биореакторами. Основные сравнительные характеристики классического и мембранного биореакторов отражены в таблице 2.1
Таблица 2.1
Сравнительные характеристики классического и мембранного биореакторов
|
Классический |
МБР |
|
• укороченное время жизни активного осадка • только бактерии-флоккулянты • только быстрорастущие бактерии • не развиваются компонент-специфические бактерии • переток осадка • конечные стоки низкого качества
|
• удлиненное время жизни активного осадка • все виды бактерий выживают • хорошие условия для развития компонент-специфических бактерий
• нет перетока осадка • конечные стоки высокого качества
|
Кроме перечисленных преимуществ в применении мембранного биореактора для очистки любых сточных вод необходимо отметить следующее. После классического биореактора очищенная вода требует дополнительной фильтрации и обеззараживания. В настоящее время для обеззараживания очищенной сточной воды после классического биореактора используют добавление гипохлорита натрия или ультрафиолетовые лампы. Гипохлорит натрия вызывает необходимость использования сорбционных фильтров на конце технологии, а ультрафиолетовые лампы не дают необходимой эффективности обеззараживания. Мембранный биореактор решает данные проблемы высокой степенью надежности.
Bспользование мембранных биореакторов является наиболее перспективным направлением для очистки промышленных сточных вод.
2.2.2 Вторичные отстойники
Прежде чем перейти к рассмотрению процесса вторичного отстаивания уместно вспомнить историю первых открытий в области биологической очистки, поскольку это поможет нам по достоинству оценить роль вторичных отстойников в обеспечении скорости и эффективности биохимического окисления загрязняющих веществ.
Основоположниками биохимической очистки сточных вод в аэротенках были англичане, так как к концу XIX в. промышленное развитие этой страны достигло своего расцвета, а почвенные методы, применяемые в то время, не могли обеспечить очистку такого большого объема образующихся сточных вод.
В 1883-1884 гг. Сорби и Дюпре показали, что процессы самоочищения в реке связаны с жизнедеятельностью микроорганизмов. Это открытие в биологии позволило химику Дибдину, работавшему в Лондоне вместе с Сорби и Дюпре, предсказать принципы и механизм обеспечения биологической очистки в первичных отстойниках и аэротенках.
Дибдин записал в 1887 г.: «По всей вероятности, правильное направление в очистке сточной жидкости (при отсутствии подходящей почвы) состояло бы в том, чтобы сначала выделить осадок, а затем к осветленной жидкости прибавить разводку специфических всевозможных организмов, специально культивируемых для этой цели, потом выдержать жидкость в течение достаточного времени, энергично ее аэрируя, и, наконец, спустить в реку в состоянии действительно очищенном. В сущности, задача только в этом, и она несовершенно выполняется на полях орошения».
Гениальное предвидение Дибдина полностью воплотилось в отношении первичных отстойников и аэротенков. Однако практическая реализация сформулированной идеи задержалась, так как научная мысль была прикована к методам почвенной очистки. Долгое время исследователи считали, что микроорганизмы минерализаторы загрязнений должны иметь твердую опору (загрузку), поэтому применение биофильтров началось примерно на 20 лет раньше, чем аэротенков.
В 1912-1913 гг. Фоулер (G.J. Fowler) теоретически обосновал очистку сточных вод в свободном объеме с использованием аэрации. В лаборатории Фоулера работали два молодых аспиранта химика Ардерн и Локетт (Е. Ardern and W.T. Lockett), которые в 1914 г. провели эксперименты на открытом воздухе в деревянных бочках, на дне которых укладывались пористые керамические пластины и через них подавался воздух. Бочки-аэротенки работали в периодическом режиме, в них добавлялись микроорганизмы из реки (Ardern and Lockett, 1922/23; Lockett, 1928). В условиях опыта достигалось снижение окисляемости, аммонийного и белкового азота на 90-94 % с одновременной глубокой нитрификацией сточных вод. Но на это требовалось продолжительное время пребывания сточных вод в бочках, не менее пяти недель.[16]
Каково же было удивление химиков, регулярно измеряющих качество воды в бочке, когда при повторном ее заполнении (с оставшейся на дне «грязью» из микроорганизмов) процесс очистки резко ускорился, и его продолжительность составила несколько часов. Таким образом, Ардерн и Локетт экспериментально показали, что в результате использования возвратного ила можно получить ускорение эффекта очистки с пяти недель до нескольких часов. Огромной заслугой Ардерна и Локетта следует считать то, что именно они предложили использовать не периодическое заполнение сооружений, а проточную систему очистки сточных вод и обосновали возможность компенсирования при этом потерь микроорганизмов активного ила путем его отстаивания и возврата в систему очистки.
Эффективное разделение ила и очищенной воды, а также обеспечение аэротенков повышенной дозой ила настолько важные функции вторичных отстойников, что этот процесс, как правило, наиболее критический на действующих сооружениях биологической очистки.
Рисунок 2.7 Вторичный горизонтальный отстойник
1подающий трубопровод, 2 затопленные щели, 3 зубчатый водослив,
4 сборный лоток, 5отводящая труба, 6 скребковый механизм, 7 иловый приямок, 8 иловая труба, 9 трубопровод опорожнения, 10- датчики уровня ила,
11 рельсы, 12 люки
Вторичные отстойники устанавливают после биофильтров для задержания нерастворенных (взвешенных) веществ (представляющих собой частицы отмершей биологической пленки) и после аэротенков для отделения активного ила от очищенных сточных вод. В качестве вторичных применяют горизонтальные, вертикальные и радиальные отстойники.
Основная масса активного ила, отстоявшегося во вторичном отстойнике, должна перекачиваться снова в аэротенк. Однако активного ила осаждается больше, чем нужно для повторного использования, поэтому его избыточное количество следует отделять и направлять на утилизацию. Избыточный ил при влажности 99,2 % составляет 4 дм3/сут на одного жителя и имеет большую влажность, чем сырой осадок из первичного отстойника, что увеличивает общий объем осадка.
Основные отличия вторичных отстойников от первичных заключаются в следующем:
- у вторичных отстойников нет устройства для сбора и удаления масел, нефтепродуктов и других плавающих веществ;
- как правило, применяется разная система откачки осадка (илососы во вторичных отстойниках на крупных станциях и эрлифты на сооружениях небольшой производительности);
- осадок или непродолжительно храниться во вторичных отстойниках, или непрерывно возвращается в аэротенки.[16]
2.3 Доочистка сточных вод
2.3.1 Биофильтр
Представляет собой резервуар с двойным дном, наполненный крупнозернистым фильтрующим материалом (керамзитом, шлаком, гравием и пр.). Сточная вода, проходя через фильтрующий материал, образует на его поверхности биологическую пленку из скоплений микроорганизмов, разрушающих органические вещества сточных вод.
Применение биофильтров допускает очистку неочищенных стоков в качестве основных очистных сооружений или как дополнительную ступень очистки после предварительных очистных сооружений.
Септики установленные перед биофильтром пропорционально снижают нагрузку, убирая из сточных вод грубые загрязнители, тем самым в биофильтре происходит дополнительная доочистка стоков.
Загрузка биофильтров не просто материал, используемый в качестве фильтра (для этих целей достаточно использования кварцевого писка), а инертная загрузка с определенными требованиями, предъявляемыми к ней. Керамзит наиболее распространенный материал, используемый в качестве инертной загрузки. Пористая структура керамзита обеспечивает максимальную площадь поверхности необходимую для процесса биоценоза (развития микробиологических процессов на основе прикрепленной биопленки). Прочностные характеристики керамзита обеспечивают целостность гранул при эксплуатации. Требования к размещению инертной загрузки играют наиболее важную роль в работе биофильтра.
Технология работы биофильтра.
Стоки, поступающие на биофильтр, должны равномерно распределяться по площади керамзита. Устройство для распыления или распределения стоков на поверхность биофильтра должно находиться над поверхностью керамзита не менее, чем 0.15-0.2м. (в данном случае просто уложить участок дренажной трубы на поверхность керамзита будет явно недостаточно), да и диаметр отверстий тоже должен быть не менее 10мм. Высота и толщина слоя керамзита величина расчетная, но должна составлять не менее 1.5-2 м. Качество очистки после биофильтра до 80%
2.3.2. Сорбционный фильтр
Сорбционный фильтр безнапорный предназначен для доочистки поверхностных и близких к ним по составу производственных сточных вод от тонкодисперсных взвешенных веществ и растворённых нефтепродуктов. Фильтр выполняется в виде вертикальной цилиндрической ёмкости из армированного стеклопластика полной заводской готовности O от 1500 до 3000мм. При постоянно наблюдающемся превышении концентрации нефтепродуктов в очищенной воде над допустимой концентрацией производится замена отработанной загрузки. Сорбционный фильтр отличный вариант. Замена осуществляется путём её выгрузки и заполнения камеры фильтрования новой порцией «свежей» загрузки.