Спиральный сепаратор
Министерство образования и науки РФ
ФГБОУ ВПО
Волгоградский государственный технический университет
Факультет подготовки инженерных кадров
Кафедра: САПР и ПК
Контрольная работа
по Концептуальному проектированию систем
Тема: «Спиральный сепаратор».
Вариант №18.
№ зачетной книжки 20161639
Выполнил:
студент группы АУЗ 361с
Тюляева И.А.
Проверил: доц. Бутенко Д.В.
Волгоград 2012
Цель работы.
Выполнение контрольной работы является важным этапом в изучении дисциплины «Концептуальное проектирование систем», обеспечивающим: углубление и закрепление знаний по изучаемой дисциплине; приобретение навыков практического использования теоретических положений для работы с техническими решениями и фондом эвристических приёмов.
Выбор варианта.
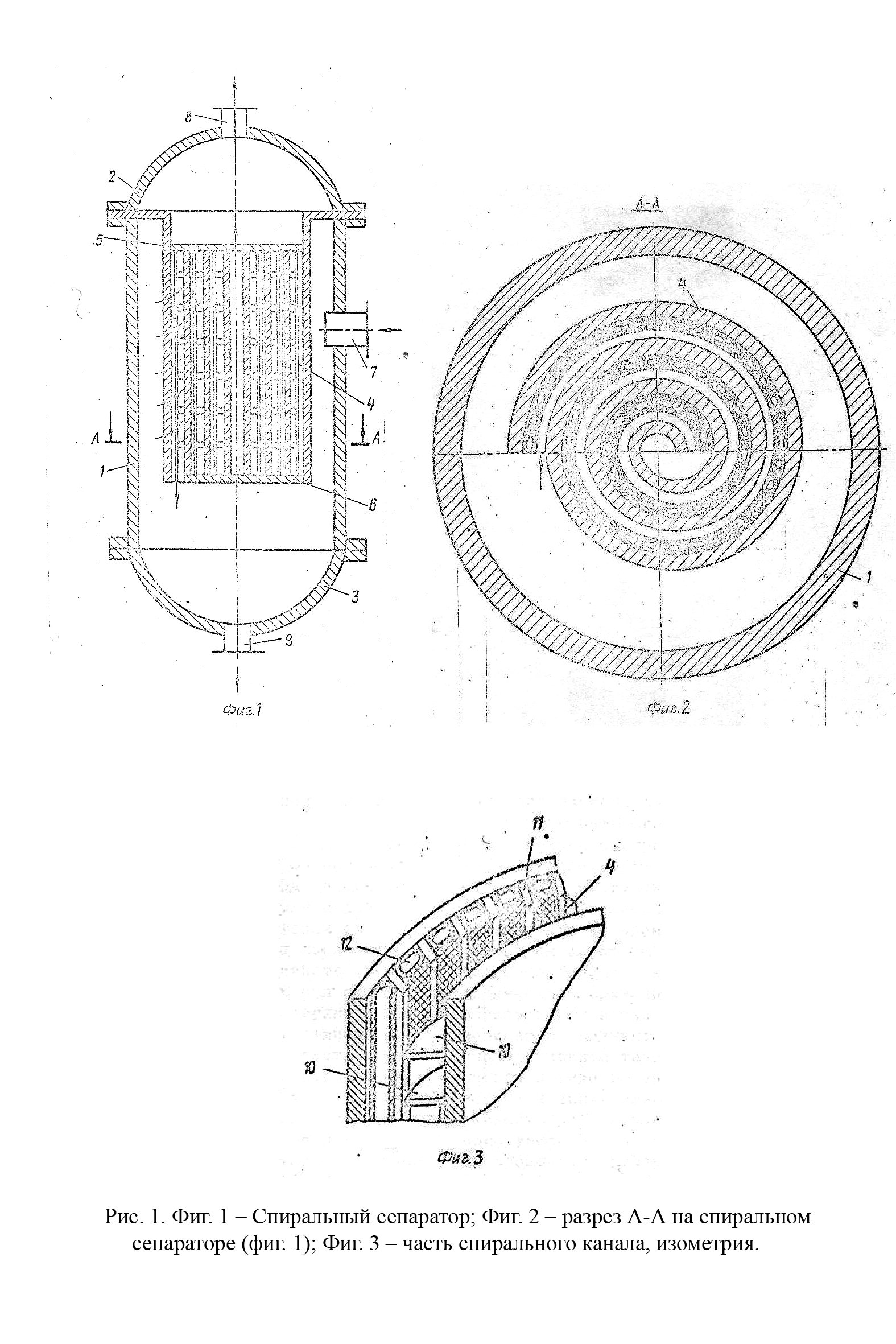
Для выполнения контрольной работы был выбран патент SU 1264963 А1 от 23.10.1986 г. спиральный сепаратор авторов: Систер В.Г., Подпольский И.И., Овчинников Ю.Д., Калашников В.А., Силкин С.К, Дильман В.В., Менх Г.А., Аскельруд Э.И., Пронин В.Б., Сергеев С.П., Карданахишвили Т.С., Шнейдер Д.В. Функционирование представлено на рисунке 1, спиральный сепаратор, который снабжен продольными ребрами, установленными на наружной поверхности канала. Выбор производился самостоятельно из архивного фонда кафедры бумажных и электронных копий описания патентов технических устройств СССР и РФ и информационных систем.
Спиральный сепаратор состоит из:
1 корпус;
2, 3 крышки корпуса;
4 спиральный сепарационный канал;
5 верхнее днище;
6 нижнее днище;
7 штуцер для ввода газожидкостной смеси;
8 штуцер для вывода газа;
9 штуцер для вывода отделенной жидкости;
10 продольные ребра;
11 поперечные ребра;
12 трубки из пористого материала.

Таблица 1
Функционально-физический анализ спирального сепаратора
|
№ |
Наименование функционального элемента |
Выполняемые функции |
|
1. |
Корпус |
Корпус спирального сепаратора содержит другие элементы |
|
2. |
Крышка корпуса |
Элемент корпуса |
|
3. |
Крышка корпуса |
Элемент корпуса |
|
4. |
Спиральный сепарационный канал |
Сглаживание поперечных пульсаций |
|
5. |
Верхнее днище |
Фиксирование спирального сепарационного канала |
|
6. |
Нижнее днище |
Фиксирование спирального сепарационного канала |
|
7. |
Штуцер для ввода газожидкостной смеси |
Подача газожидкостной смеси в сепаратор |
|
8. |
Штуцер для вывода газа |
Вывод газа |
|
9. |
Штуцер для вывода отделенной жидкости |
Вывод отделенной жидкости |
|
10. |
Продольные ребра |
Создание каналов для равномерного прохода потока |
|
11. |
Поперечные ребра |
Образования зон отсутствия газового потока |
|
12. |
Трубки из пористого материала |
Препятствие вихревых потоков |
Таблица 2
Недостатки функциональных элементов спирального сепаратора
|
№ |
Наименование функционального элемента |
Описание недостатков выполнения функции, обоснование оценки |
|
1. |
Штуцеры |
Малый диаметр |
|
2. |
Продольные ребра |
Неравномерное распределение потока по сечению |
|
3. |
Поперечные ребра |
Присутствие газового потока при сепарации жидкости, т.е. унос жидкости из сепаратора |
|
4. |
Трубки из пористого материала |
Неполное удаление примесей из сепарируемой жидкости |
Устранение недостатков:
- Создание большего количества поперечных ребер в системе, находящихся на малом расстоянии друг от друга, для наилучшего отделения жидкости от газа.
- Заменить материал трубчатого элемента, поверхность которого перфорирована для более эффективного сбора тяжелых частиц.
- Увеличить диаметр штуцеров, что повысит скорость.
- Создание большего количества каналов в системе для максимально равномерного прохода потока жидкости.
Таблица 3
Синтез нового решения с использованием ЭП
|
№ |
Формулировка ЭП |
Интерпретация ЭП |
Формулировка нового решения с использованием ЭП |
Устраняемый недостаток интерфейса |
|
5 |
Гиперболизировать, значительно увеличить размеры объекта и найти ему применение. Инверсия приема. |
Изменить диаметр входящих в состав механизма штуцеров, что увеличит скорость работы |
Увеличить диаметр штуцеров, что повысит скорость работы |
Плохая проходимость потоков жидкости |
|
53 |
Изменить физические свойства материала. |
Заменить материал трубчатого элемента, для более эффективного сбора тяжелых частиц. |
Заменить материал трубчатого элемента на наиболее перфорированный для более эффективного сбора тяжелых частиц |
Получение отделенной жидкости с примесями |
|
1 |
Увеличить степень дробления (измельчения) объекта. Инверсия приема. |
Изменение количества поперечных ребер в механизме |
Создание большего количества поперечных ребер в системе, находящихся на малом расстоянии друг от друга, для наилучшего отделения жидкости от газа |
Присутствие газового потока при сепарации жидкости, т.е. унос жидкости из сепаратора |
|
1 |
Увеличить степень дробления (измельчения) объекта. Инверсия приема. |
Изменение количества продольных ребер в механизме |
Создание большего количества каналов в системе для максимально равномерного прохода потока |
Неравномерное распределение потока по сечению |
Вывод:
На примере спирального сепаратора были получены и закреплены знания по дисциплине «Концептуальное проектирование систем», приобретены навыки практического использования теоретических положений для работы с техническими решениями и фондом эвристических приёмов.
Спиральный сепаратор