Исследование механических анероидно-манометрических измерителей высоты и вертикальной скорости
МОСКОВСКИЙ АВИАЦИОННЫЙ ИНСТИТУТ
(ГОСУДАРСТВЕННЫЙ ТЕХНИЧЕСКИЙ УНИВЕРСИТЕТ)
Кафедра 303
УТВЕРЖДАЮ
Заведующий кафедрой 303
_______________Костюков В.М.
«____»__________20__ г.
Лабораторная работа № 1
«Исследование механических анероидно-манометрических измерителей высоты и вертикальной скорости».
По дисциплине: «Основы проектирования приборов и систем».
Специальность 200103 Авиационные приборы и измерительно-
вычислительные комплексы.
Обсуждено на заседании кафедры
«___»________________20___г.
Протокол № ____
МАИ 20 __г.
ОГЛАВЛЕНИЕ:
1. Введение……………………………………………………………………………...…….2
2. Цель работы……………………………………….………………………………..….…..2
3. Изучение принципа действия, особенностей устройства,
конструкции и характеристик механического барометрического высотомера….…2
4. Изучение принципа действия, особенностей устройства, конструкции и характеристик манометрического вариометра…………………………………..….…..9
5 Экспериментальная часть………………………………………………………………12
5.1 Описание лабораторной установки …………………………...…………..………..12
5.2 Поверка высотомеров ……………………………………………………….………..13
5.3 Поверка вариометров…………………………………………………………….……14
5.4 Содержание отчёта……………………………………………………..………….…..15
1. Введение
В настоящее время существует тенденция оснащения современных и перспективных летательных аппаратов электронными устройствами отображения информации, воспринимаемой экипажем. Электронные устройства отображения информации работают в комплексе с бортовыми ЦВМ, воспринимающих первичные сигналы от датчиков. Однако, общепризнанно, что как в настоящее время, так и в будущем будут сохраняться некоторые механические приборы, имеющие высокую надежность и автономность, к числу которых относятся барометрические высотомер и вариометр. При наличии электронной индикации указанные механические приборы используются как дублирующие и резервные, особенно в аварийных и непредвиденных ситуациях, когда отказывают электронные средства.
2. Цель работы
Настоящая работа ставит своей целью изучить назначение, принцип действия, особенности устройства и конструкции, а также основные метрологические характеристики барометрических высотомеров и вариометров. При выполнении работы также необходимо ознакомиться с методами поверки указанных приборов, с особенностями лабораторной установки и снять экспериментальные зависимости. В результате работы проанализировать погрешности поверяемых приборов и произвести их оценку по итогам проведенного эксперимента.
3. Изучение принципа действия, особенностей устройства,
конструкции и характеристик механического барометрического высотомера
Высота полета определяется как расстояние по вертикали от уровня полета летательного аппарата до некоторой поверхности Земли.
- Абсолютную высоту отсчитывают от уровня моря.
- Относительная высота определяется от некоторого выбранного уровня, например, от места взлета и посадки.
- Истинная высота отсчитывается от места, над которым пролетает в данный момент летательный аппарат.
Механический барометрический высотомер предназначен для измерения барометрической высоты , которая отсчитывается от места с заданным давлением и в качестве которой может выступать или
Барометрический метод измерения высоты основан на зависимости атмосферного (статического) давления от высоты, которая для высот менее 11 км имеет вид 1:
(1)
где - атмосферное давление на высоте Н, м
- атмосферное давление при Н=0, мм рт.ст. или Па
- вертикальный температурный градиент, равный 0,0065 К/м
R - газовая постоянная воздуха, равная 29,27 м/К
T - абсолютная температура при Н=0, К
В диапазоне высот от 11 до 25 км при Т(Н)=Т =const барометрическая формула трансформируется в выражение:
(2)
где Р ,Т - давление и температура воздуха на высоте 11000 м. Формула 2 для высотомера может быть преобразована:
H=43558-6341*lnPст
Данные по зависимости параметров (давления, плотности и т.д.) стандартной атмосферы приведены в ГОСТ 4401-81.
Принципиальная схема барометрического высотомера представлена на рис. 1. Чувствительным элементом, воспринимающим атмосферное давление, служит блок анероидных коробок 8. Он состоит из двух анероидных коробок для повышения чувствительности прибора. Каждая анероидная коробка состоит из двух спаянных между собой гофрированных мембран. Для правильного измерения атмосферного давления необходимо, чтобы блок анероидных коробок воспринимал статическое давление наружного воздуха на уровне полета. Давление воздуха внутри самолета, где расположен высотомер, может значительно отличаться от статического давления наружного воздуха. Поэтому блок анероидных коробок помещают в герметичный корпус 7, который трубопроводом 5 сообщается с приемником статического давления 6. Снаружи на блок анероидных коробок действуют силы статического давления воздуха. Эти силы уравновешиваются упругими силами коробок. При подъеме на высоту давление, действующее на анероидные коробки, уменьшается и подвижный центр блока коробок перемещается. С подвижным центром связана кривошипно-шатунная передача 4, которая поворачивает зубчатый сектор 3. Поворот сектора передается трибке 2, на оси которой укреплена стрелка 1. Стрелка поворачивается относительно неподвижной шкалы, которая проградуирована в единицах высоты.
Кинематическая схема барометрического высотомера изображена на рис. 2. Блок анероидных коробок 11 вместе с механизмом укреплен на основании 2.От приемника статического давления по трубопроводам воздух подается внутрь корпуса прибора. Его статическое давление воспринимается анероидными коробками 11. При изменении высоты полета коробки деформируются. Деформация коробок через укрепленный в верхнем (подвижном) жестком центре биметаллический компенсатор первого рода 10, тягу 9, биметаллический компенсатор второго рода 6 передается на валик 7. При повороте валика 7 движется зубчатый сектор 4,который вращает трибку 13 и большоезубчатое колесо 12, сцепленное с малым зубчатым колесом 3. На оси колеса 3 укреплена большая стрелка прибора. Малая стрелка прибора укреплена на полой оси 14. Параметры анероидных коробок и передаточного механизма выбраны такими, что при подъеме на высоту 1000 м большая стрелка делает один оборот. Внешняя шкала прибора проградуирована в сотнях и десятках метров. Для отсчета единиц и десятков километров в высотомере имеется внутренняя шкала, возле которой движется малая стрелка. Для получения замедленного движения малой стрелки применен редуктор, выходное колесо которого укреплено на полой оси 14, а входное на оси большой стрелки. Для уравновешивания массы блока анероидных коробок служит противовес 8, шарнирно соединенный с валиком 7 посредством отдельной тяги. Для перевода стрелок служит кремальера 15, с помощью которой поворачивается основание 2 вместе с механизмом и блоком анероидных коробок. При повороте основания на некоторый угол большая стрелка смещается относительно шкалы высот на тот же угол, а малая стрелка на угол, меньший в число раз, равное передаточному числу редуктора. Одновременно с основанием поворачивается барометрическая шкала.
Рис. 1. Принципиальная схема барометрического высотомера:
1стрелка; 2трибка; 3зубчатый сектор; 4передаточный механизм; 5трубопровод; 6приемник статического давления; 7корпус; 8блок анероидных коробок
Рис. 2. Кинематическая схема двух стрелочного высотомера:
1барометрическая шкала; 2основание; 3, 12зубчатые колеса; 4зубчатый
сектор; 5пружина; 6биметаллический компенсатор второго рода; 7валик;
8противовес; 9тяга; 10биметаллический компенсатор первого рода; 11анероидные коробки; 13трибка; 14полая ось; 15ручка кремальеры
Структурная схема барометрического высотомера может быть представлена в виде последовательного соединения трех звеньев:
- Условного звена, отражающего барометрическую формулу.
- Чувствительного элемента.
- Передаточно-множительного механизма.
Статическая и динамическая характеристики барометрического высотомера зависят от уравнений указанных звеньев.
Передаточная функция звена передачи статического давления от внешней среды до чувствительного элемента имеет вид:
(3)
где
T1 - постоянная времени трубопровода и корпуса.
Передаточная функция подвижной системы, включая чувствительный элемент и передаточный механизм с приведенными массами m, коэффициентом демпфирования К, жесткостью С и постоянной времени Т определяется по формуле:
(4)
Следовательно:
(5)
Барометрическим высотомерам свойственны методические и инструментальные погрешности.
Методические погрешности:
- Погрешности, зависящей от изменения рельефа местности.
- Погрешности от изменения начального давления в месте, относительно которого отсчитывается высота.
- Погрешности от изменения средней температуры воздуха по сравнению с расчетным значением.
Инструментальные погрешности:
- Погрешности от неточного измерения приемником статического давления.
- Погрешности, вносимые анероидным узлом.
- Погрешности, вносимые передаточно-множительным механизмом.
- Шкаловая погрешность и т.д.
Допустимые погрешности механического барометрического высотомера при нормальной температуре представлены в таблице 1.
Таблица 1
|
Проверяемые значения высоты, км |
0 |
0,6 |
1,2 |
1,8 |
2,4 |
3,0 |
3,6 |
4,2 |
4,8 |
5,4 |
6,0 |
6,6 |
7,2 |
7,8 |
8,4 |
|
9,0 |
10 |
11 |
12 |
13 |
14 |
15 |
|||||||||
|
Погрешность |
15 |
20 |
40 |
40 |
50 |
50 |
50 |
60 |
60 |
60 |
60 |
70 |
70 |
70 |
80 |
|
80 |
80 |
100 |
100 |
100 |
120 |
120 |
Максимальное значение высоты, измеряемое прибором рассмотренного типа составляет 30 км.
4. Изучение принципа действия, особенностей устройства,
конструкции и характеристик манометрического вариометра
Вариометром называется прибор, предназначенный для измерения вертикальной скорости полета.
Принцип действия механического манометрического вариометра основан на измерении мембранной коробкой разности между атмосферным давлением, поступающим в ее внутреннюю полость, и давлением внутри корпуса прибора, запаздывающим по отношению к атмосферному из-за наличия капиллярных трубок.
Характеристика манометрического вариометра определяется как зависимость измеряемой разности давления Р от вертикальной скорости VВ , исходя из веса воздуха внутри корпуса, управления состояния этого воздуха и его весового расхода через капилляры при ламинарном течении :
(6)
где - коэффициент динамической вязкости воздуха, кг с/м;
l - длина капилляра, м;
V - объем корпуса прибора, м ;
Tk - средняя абсолютная температура воздуха внутри капилляра, К;
d - диаметр капилляра, м;
R - газовая постоянная, равная 29,27 м/град;
Tв - температура воздуха внутри корпуса, К;
TH - абсолютная температура воздуха вне самолета, К.
На рис.3 представлена кинематическая схема вариометра. В качестве чувствительного элемента используется манометрическая коробка 9, внутренняя полость которой сообщается непосредственно с магистралью статического давления 10. Внутренняя полость герметичного корпуса 11 прибора сообщается с магистралью статического давления через капилляр 8.
Если самолет летит горизонтально, то статическое атмосферное давление р внутри манометрической коробки и давление pv внутри корпуса прибора будут одинаковы и, следовательно, разность между ними равна нулю.
В зависимости от высоты полета изменяется статическое давление р. Внутри манометрической коробки это давление устанавливается практически мгновенно, а в корпусе прибора, вследствие сопротивления капилляра, давление р отличается от статического. Чем больше вертикальная скорость полета самолета, тем больше разность давлений. Под действием этой разности давлений манометрическая коробка деформируется. Деформация коробки через тягу 7, зубчатый сектор14 и трубку16 передается на стрелку 1, которая отклоняется от среднего положения вверх при наборе высоты, вниз -- при снижении. По шкале определяют величину вертикальной скорости.
Рис.3 . Кинематическая схема вариометра:
1 стрелка; 2 рычаг; 3 ось рычага; 4 балансир; 5 поводок; 6 и 15 спиральные пружины- 7 тяга; 8 капилляры; 9 манометрическая коробка; 10 трубка для подвода давлений; 11 корпус прибора; 12 поводок; 13 эксцентрик; 14 зубчатое колесо с прорезью; 16 трубка на оси стрелки; 17 рукоятка (кремальера) для установки стрелки на нуль
Составляющими методической погрешности вариометра являются:
- Динамическая погрешность от запаздывания изменения давления внутри корпуса.
- Температурные погрешности от непостоянства температуры внутри корпуса, а также от неодинаковости температур наружного воздуха, в капилляре и корпусе.
Для уменьшения первой составляющей погрешности необходимо уменьшать постоянную времени, однако при этом уменьшается рабочий перепад давлений Р, что ведет к снижению чувствительности прибора. Для уменьшения температурных погрешностей является улучшение термоизоляции корпуса, также применение специальных термокомпенсаторов.
Инструментальные погрешности механических вариометров имеют ту же природу, что и у барометрических вариометров.
Допустимые погрешности современного вариометра при температуре 20 С имеют следующие значения (таблица 2).
Таблица 2
|
Показания вариометра, м/с |
0 |
5 |
10 |
15 |
30 |
45 |
60 |
75 |
|
Допустимая погрешность, м/с |
± 0,5 |
± 2,0 |
± 2,0 |
± 2,5 |
± 3,0 |
± 4,0 |
± 4,0 |
± 5,0 |
В настоящее время используются вариометры с равномерными или затухающими шкалами до 10 м/с, 30м/с, 50м/с, 75м/с, 150м/с, 300м/с, массой не более 700 г.
"Исследование механических и анероидно-манометрических
измерителей высоты и вертикальной скорости"
5. Экспериментальная часть
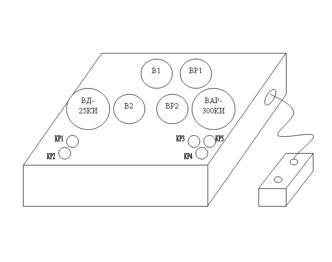
5.1 Описание лабораторной установки

Рис. 5 Лабораторная установка
В лабораторное оборудование входят: Поверяемые приборы, контрольные приборы, соединительные шланги, пневматические краны, вакуумный насос. Поверяемые приборы: 2 высотомера ВМ-15К (обозначение на схеме В1 и В2)
Вариометры ВР1 и ВР2.
Контрольные приборы:
Высотомер ВД- 25КИ-КВ
Вариометр Вар-300КИ-КВР
Пневматические краны: служат для подключения и отключения поверяемых приборов. В положении "закрыто" кран изолирует прибор от общей пневмосети. С этой целью кран используется для соответствующих приборов:
а) КР1 - высотомер В1
б) КР2 - высотомер В2
в) КР3 - вариометр ВР1
г) КР4 - вариометр ВР2
д) КР5 - служит для подключения и отключения пневмосети всей установки к вакуумному насосу.
Вакуумный насос установки обеспечивает разряжение, соответствующее высоте до 25000 м.
Порядок проведения работы и запись показаний
Поверка приборов производится путем сличения показаний образцовых и рабочих приборов.
5.2 Поверка высотомеров
2.1. Записать в табл.1 показания контрольного (образцового) высотомера.
2.2. Установить показания в метрах на высотомерах В1 и В2, соответствующие показанием контрольного высотомера. Установка производится кремальерой 45, для чего необходимо, не выдвигая последнюю, вращать ее до совмещения стрелки с выбранным значением деления шкалы.
2.3. По гипсометрической формуле (см. приложение) для показаний п.2.1. и текущих условий окружающей среды определить значение барометрического давления.
2.4. Установить данное значение на шкале поверяемых высотомеров В1 и В2 вращая кремальеру 45, выдвинув ее при этом на себя.
2.5. Открыть краны КР1, КР2 и КР5 и верхний кран вакуумного насоса (3-4 оборота против часовой стрелки).
2.6. Плавно вращая ручку вакуумного насоса установить режим набора высоты и записывать показания в табл. 1.
Показания приборов при режиме набора высоты (прямой ход)
Табл. 1
|
Высота в км |
Начальное значение |
500 |
700 |
1000 |
1200 |
1500 |
1800 |
2000 |
2200 |
|
Показания контрольного Высотомера ВД |
|||||||||
|
Показания поверяемого высотомера В1 |
|||||||||
|
Показания поверяемого высотомера В2 |
|||||||||
|
Абсолютная погрешность Н, м |
2.7. Плавно вывинчивая нижний кран (не более 3-4 оборотов головки крана против часовой стрелки) вакуумного насоса, установить режим снижения, записывая показания со всех высотомеров в табл. 2.
2.8. По завершении эксперимента закрыть нижний кран вакуумного насоса.
Показания приборов при режиме снижения (обратный ход)
Табл. 2
|
Высота Н, м |
2500 |
2200 |
2000 |
1800 |
1500 |
1200 |
1000 |
750 |
500 |
|
Рст расч. мм.рт.ст. |
|||||||||
|
Показания высотомер ВД |
|||||||||
|
В1 |
|||||||||
|
В2 |
|||||||||
|
Абсолютная погрешность Н, м |
5.3 Поверка вариометров
3.1. Открыть краны КР3,КР4.
3.2. Плавно вращая ручку вакуумного насоса, установить по контрольному вариометру набор высоты со значением 20 м/сек. Набор высоты вести до 3000 м.
3.3. С помощью нижнего крана на вакуумном насосе установить снижение 20 м/сек по контрольному вариометру.
3.4. По секундомеру определить время изменения высоты полета с 2500 м по 1500 м.
3.5. Записать в табл.3 показания поверяемых вариометров ВР1 и ВР2.
Табл. 3
|
Высота (м) |
2500-1500 |
1200-800 |
500-200 |
|
Время (сек) |
|||
|
Расчет. |
|||
|
Контрольного КВР |
|||
|
Проверяемого ВР1 |
|||
|
Проверяемого ВР2 |
|||
|
Абсолютная погрешность |
3.6. Установить режимы снижения с =10 м/сек и 5м/сек, со значений высот 1200-800 (м) и 500-200 (м), выполнив пункты 3.4 и 3.5.
3.7. Открыть нижний кран вакуумного насоса, установив режим снижения не более 20 м/сек и стравить воздух из системы.
3.8. Закрыть все краны.
5.4 Содержание отчёта
Отчёт должен содержать:
- Титульный лист (название института, работы, фамилии бригады).
- Содержание работы.
- Цель работы
- Краткую теоретическую часть (типы приборов, методы измерения, конструкции, характеристики, погрешности).
- Заполненные таблицы в ходе эксперимента (графики).
- Выводы о проделанной работе и пригодности поверяемых приборов.
Приложение
ГИПСОМЕТРИЧЕСКАЯ ТАБЛИЦА ДЛЯ ВЫСОТЫ ОТ -1000 ДО 30000 м
(ЗАВИСИМОСТЬ ДАВЛЕНИЯ ОТ ВЫСОТЫ)
|
высота, м |
Давление в мм рт.ст. при 0 |
Давление в мм рт.ст. при 20 |
высота, м |
||
|
Барометрическое |
Манометрическое |
Барометрическое |
Манометрическое |
||
|
-1000 |
684,59 |
-94,59 |
857,7 |
-94,94 |
-1000 |
|
-900 |
844.72 |
-84,72 |
847,8 |
-85,04 |
-900 |
|
-800 |
834,95 |
-74,95 |
837,98 |
-75,22 |
-800 |
|
-700 |
828,27 |
-65,27 |
828,27 |
-65,51 |
-700 |
|
-600 |
815,67 |
-55,67 |
818,64 |
-55,88 |
-600 |
|
-500 |
806,17 |
-46,17 |
809,1 |
-46,34 |
-500 |
|
-400 |
796,76 |
-36,76 |
799,66 |
-36,9 |
-400 |
|
-300 |
787,44 |
-27,44 |
790,3 |
-27,54 |
-300 |
|
-200 |
778,2 |
-18,2 |
787,03 |
-18,27 |
-200 |
|
-100 |
769,06 |
-9,06 |
771,85 |
-9,09 |
-100 |
|
-50 |
764,52 |
-4,52 |
767,3 |
-4,54 |
-50 |
|
0 |
760 |
0 |
762,76 |
0 |
0 |
|
50 |
755,5 |
4,5 |
758,25 |
4,51 |
50 |
|
100 |
751,03 |
8,97 |
753,76 |
9 |
100 |
|
200 |
742,14 |
17,86 |
744,84 |
17,92 |
200 |
|
300 |
733,34 |
26,66 |
736,01 |
26,75 |
300 |
|
400 |
724,62 |
35,33 |
727,26 |
35,5 |
400 |
|
500 |
715,99 |
44,01 |
718,59 |
44,17 |
500 |
|
600 |
707,44 |
52,56 |
710,02 |
52,54 |
600 |
|
700 |
698,98 |
61,02 |
701,52 |
61,24 |
700 |
|
800 |
690,59 |
69,41 |
693,1 |
69,66 |
800 |
|
900 |
682,29 |
77,71 |
684,77 |
77,99 |
900 |
|
1000 |
674,07 |
85,93 |
676,52 |
66,24 |
1000 |
|
1100 |
665,93 |
94,07 |
668,35 |
94,41 |
1100 |
|
1200 |
657,87 |
102,13 |
660,26 |
102,5 |
1200 |
|
1300 |
649,89 |
110,11 |
652,25 |
109,25 |
1300 |
|
1400 |
641,98 |
118,02 |
644,32 |
118,44 |
1400 |
|
1500 |
634,16 |
125,84 |
636,46 |
126,3 |
1500 |
|
1600 |
626,41 |
133,59 |
628,69 |
134,07 |
1600 |
|
1700 |
618,74 |
141,26 |
620,99 |
141,77 |
1700 |
|
1800 |
611,15 |
148,85 |
613,37 |
149,39 |
1800 |
|
1900 |
603,63 |
156,37 |
605,82 |
156,94 |
1900 |
|
2000 |
581,52 |
178,48 |
593,63 |
169,13 |
2000 |
|
2100 |
588,81 |
177,19 |
590,95 |
171,81 |
2100 |
|
2200 |
581,52 |
178,48 |
593,63 |
169,13 |
2200 |
|
2300 |
574,3 |
185,7 |
576,38 |
186,38 |
2300 |
|
2400 |
567,15 |
192,85 |
569,21 |
193,55 |
2400 |
|
2500 |
560,07 |
199,93 |
562,11 |
200,65 |
2500 |
|
2600 |
553,06 |
206,94 |
555,07 |
207,69 |
2600 |
|
2700 |
546,13 |
213,87 |
548,11 |
214,65 |
2700 |
|
2800 |
539,27 |
220,73 |
541,23 |
221,53 |
2800 |
|
2900 |
532,47 |
227,53 |
534,41 |
228,35 |
2900 |
|
3000 |
525,75 |
234,25 |
527,66 |
235,1 |
3000 |
|
3100 |
519,09 |
240,91 |
520,98 |
241,78 |
3100 |
|
3200 |
512,51 |
247,49 |
514,37 |
248,39 |
3200 |
|
3300 |
505,99 |
254,01 |
507,83 |
254,93 |
3300 |
|
3400 |
499,54 |
260,46 |
501,85 |
261,41 |
3400 |
|
3500 |
493,15 |
266,85 |
494,94 |
266,83 |
3500 |
|
3600 |
486,83 |
273,17 |
488,6 |
274,16 |
3600 |
|
3700 |
480,58 |
279,42 |
482,33 |
280,43 |
3700 |
|
3800 |
474,39 |
285,61 |
476,12 |
286,64 |
3800 |
|
3900 |
468,27 |
291,73 |
469,97 |
292,79 |
3900 |
|
4000 |
462,21 |
297,79 |
463,89 |
298,87 |
4000 |
|
4100 |
456,21 |
303,79 |
457,87 |
304,8 |
4100 |
|
4200 |
450,28 |
309,72 |
451,92 |
310,84 |
4200 |
|
4300 |
444,41 |
315,59 |
446,03 |
316,73 |
4300 |
|
4400 |
438,6 |
321,4 |
420,2 |
322,56 |
4400 |
|
4500 |
432,86 |
327,14 |
434,43 |
328,33 |
4500 |
|
4600 |
427,17 |
332,83 |
428,73 |
334,03 |
4600 |
|
4700 |
421,55 |
338,45 |
423,08 |
338,68 |
4700 |
|
4800 |
415,99 |
344,01 |
417,5 |
345,26 |
4800 |
|
4900 |
410,48 |
349,52 |
411,97 |
350,79 |
4900 |
|
5000 |
405,04 |
354,96 |
406,51 |
356,25 |
5000 |
|
5100 |
399,65 |
360,35 |
401,1 |
361,66 |
5100 |
|
5200 |
394,32 |
365,68 |
395,75 |
367,01 |
5200 |
|
5300 |
389,05 |
370,95 |
390,46 |
372,3 |
5300 |
|
5400 |
388,84 |
376,16 |
385,23 |
377,53 |
5400 |
|
5500 |
378,68 |
381,32 |
380,06 |
382,7 |
5500 |
|
5600 |
373,58 |
386,42 |
374,94 |
387,82 |
5600 |
|
5700 |
368,53 |
391,47 |
369,87 |
392,89 |
5700 |
|
5800 |
363,54 |
396,46 |
364,87 |
397,89 |
5800 |
|
5900 |
358,61 |
401,39 |
359,91 |
402,85 |
5900 |
|
6000 |
353,73 |
406,27 |
355,02 |
407,74 |
6000 |
|
6100 |
348,9 |
411,1 |
350,17 |
412,59 |
6100 |
|
6200 |
344,13 |
415,87 |
345,38 |
417,38 |
6200 |
|
6300 |
339,41 |
420,59 |
340,64 |
422,12 |
6300 |
|
6400 |
334,74 |
425,26 |
335,96 |
426,8 |
6400 |
|
6500 |
330,13 |
429,87 |
331,33 |
431,43 |
6500 |
|
6600 |
325,56 |
434,44 |
326,75 |
436,01 |
6600 |
|
6700 |
321,05 |
438,95 |
322,22 |
440,54 |
6700 |
|
6800 |
316,59 |
443,41 |
317,74 |
445,02 |
6800 |
|
6900 |
312,18 |
447,82 |
313,31 |
449,45 |
6900 |
|
7000 |
307,82 |
452,18 |
318,94 |
453,82 |
7000 |
|
7100 |
303,5 |
456,5 |
304,61 |
458,15 |
7100 |
|
7200 |
299,24 |
460,76 |
300,33 |
462,43 |
7200 |
|
7300 |
295,03 |
464,97 |
296,1 |
466,66 |
7300 |
|
7400 |
290,86 |
469,14 |
291,92 |
470,84 |
7400 |
|
7500 |
286,74 |
473,26 |
287,79 |
474,97 |
7500 |
|
7600 |
282,67 |
477,33 |
283,7 |
479,06 |
7600 |
|
7700 |
278,65 |
481,35 |
279,66 |
483,1 |
7700 |
|
7800 |
274,67 |
485,33 |
275,67 |
487,09 |
7800 |
|
7900 |
270,74 |
489,26 |
271,72 |
491,04 |
7900 |
|
8000 |
266,85 |
493,15 |
267,82 |
494,94 |
8000 |
|
8100 |
263,01 |
496,99 |
263,97 |
498,79 |
8100 |
|
8200 |
259,22 |
500,78 |
260,16 |
502,6 |
8200 |
|
8300 |
255,47 |
504,47 |
256,39 |
506,37 |
8300 |
|
8400 |
251,76 |
508,24 |
252,67 |
510,09 |
8400 |
|
8500 |
248,1 |
511,9 |
249 |
513,76 |
8500 |
|
8600 |
244,48 |
515,52 |
245,96 |
517,4 |
8600 |
|
8700 |
249,99 |
519,1 |
241,77 |
520,99 |
8700 |
|
8800 |
237,36 |
522,64 |
238,23 |
524,53 |
8800 |
|
8900 |
233,87 |
526,13 |
234,72 |
528,04 |
8900 |
|
9000 |
230,42 |
529,58 |
231,26 |
531,5 |
9000 |
|
9100 |
227,01 |
532,99 |
227,84 |
534,92 |
9100 |
|
9200 |
223,64 |
536,36 |
224,46 |
538,3 |
9200 |
|
9300 |
200,31 |
539,69 |
221,12 |
541,64 |
9300 |
|
9400 |
217,03 |
542,97 |
217,82 |
544,94 |
9400 |
|
9500 |
213,78 |
546,22 |
214,56 |
548,2 |
9500 |
|
9600 |
210,57 |
549,43 |
211,34 |
551,42 |
9600 |
|
9700 |
207,4 |
552,6 |
208,16 |
554,6 |
9700 |
|
9800 |
204,27 |
555,73 |
205,01 |
557,75 |
9800 |
|
9900 |
201,18 |
558,82 |
201,91 |
560,85 |
9900 |
|
10000 |
198,12 |
561,88 |
198,84 |
563,92 |
10000 |
|
10100 |
195,11 |
564,89 |
195,82 |
566,94 |
10100 |
|
10200 |
192,13 |
567,87 |
192,83 |
569,93 |
10200 |
|
10300 |
189,19 |
570,81 |
189,87 |
572,89 |
10300 |
|
10400 |
186,28 |
573,72 |
186,96 |
575,8 |
10400 |
|
10500 |
183,41 |
576,59 |
184,08 |
578,68 |
10500 |
|
10600 |
180,58 |
579,42 |
181,23 |
581,53 |
10600 |
|
10700 |
177,78 |
582,22 |
178,43 |
584,33 |
10700 |
|
10800 |
175,02 |
582,98 |
175,65 |
583,11 |
10800 |
|
10900 |
172,29 |
587,71 |
172,92 |
589,84 |
10900 |
|
11000 |
169,6 |
590,4 |
170,21 |
592,55 |
11000 |
|
11100 |
166,94 |
593,06 |
167,55 |
595,21 |
11100 |
|
11200 |
164,33 |
595,67 |
167,92 |
597,84 |
11200 |
|
11300 |
161,75 |
598,25 |
162,34 |
600,42 |
11300 |
|
11400 |
159,22 |
600,78 |
159,8 |
602,96 |
11400 |
|
11500 |
156,76 |
603,24 |
157,33 |
605,43 |
11500 |
|
11600 |
154,31 |
605,69 |
154,87 |
607,89 |
11600 |
|
11700 |
151,89 |
608,11 |
152,44 |
610,32 |
11700 |
|
11800 |
149,51 |
610,49 |
150,06 |
612,7 |
11800 |
|
11900 |
147,17 |
612,83 |
147,71 |
615,05 |
11900 |
|
12000 |
144,87 |
615,13 |
145,4 |
617,36 |
12000 |
|
12100 |
142,6 |
617,4 |
143,12 |
619,64 |
12100 |
|
12200 |
140,37 |
619,63 |
140,88 |
621,88 |
12200 |
|
12300 |
138,17 |
621,83 |
136,51 |
626,25 |
12300 |
|
12400 |
136,01 |
623,99 |
136,51 |
626,25 |
12400 |
|
12500 |
133,88 |
626,12 |
134,37 |
628,39 |
12500 |
|
12600 |
131,78 |
628,22 |
132,26 |
630,5 |
12600 |
|
12700 |
129,73 |
630,27 |
130,19 |
632,57 |
12700 |
|
12800 |
127,69 |
632,31 |
128,16 |
634,6 |
12800 |
|
12900 |
125,69 |
634,31 |
126,15 |
636,31 |
12900 |
|
13000 |
123,72 |
636,28 |
124,17 |
638,59 |
13000 |
|
13100 |
121,79 |
638,21 |
122,23 |
640,53 |
13100 |
|
13200 |
119,88 |
640,12 |
120,32 |
642,44 |
13200 |
|
13300 |
118,01 |
641,99 |
118,43 |
644,33 |
13300 |
|
13400 |
116,16 |
643,84 |
116,58 |
646,18 |
13400 |
|
13500 |
114,34 |
645,66 |
114,76 |
648 |
13500 |
|
13600 |
112,55 |
647,45 |
112,96 |
649,8 |
13600 |
|
13700 |
110,79 |
649,21 |
111,19 |
651,57 |
13700 |
|
13800 |
109,05 |
650,95 |
109,45 |
653,51 |
13800 |
|
13900 |
107,35 |
652,65 |
107,74 |
655,02 |
13900 |
|
14000 |
105,67 |
654,33 |
106,05 |
656,71 |
14000 |
|
14100 |
104,01 |
655,99 |
104,39 |
658,37 |
14100 |
|
14200 |
102,39 |
657,61 |
102,76 |
660 |
14200 |
|
14300 |
100,78 |
659,22 |
101,15 |
661,61 |
14300 |
|
14400 |
99,2 |
660,8 |
99,56 |
663,2 |
14400 |
|
14500 |
97,65 |
662,35 |
98,01 |
664,75 |
14500 |
|
14600 |
96,12 |
663,88 |
96,47 |
666,29 |
14600 |
|
14700 |
94,62 |
665,38 |
94,96 |
667,8 |
14700 |
|
14800 |
93,14 |
666,86 |
93,47 |
669,29 |
14800 |
|
14900 |
91,68 |
668,32 |
92,01 |
670,75 |
14900 |
|
15000 |
90,24 |
669,76 |
90,57 |
672,19 |
15000 |
|
15100 |
88,83 |
671,17 |
89,15 |
673,61 |
15100 |
|
15200 |
87,44 |
672,56 |
87,76 |
675 |
15200 |
|
15300 |
86,07 |
673,93 |
86,38 |
675,38 |
15300 |
|
15400 |
84,72 |
675,28 |
85,03 |
677,73 |
15400 |
|
15500 |
83,4 |
676,6 |
83,7 |
679,06 |
15500 |
|
15600 |
82,01 |
677,91 |
82,39 |
680,37 |
15600 |
|
15700 |
80,81 |
679,19 |
81,1 |
681,66 |
15700 |
|
15800 |
79,54 |
680,46 |
79,83 |
682,93 |
15800 |
|
15900 |
78,3 |
681,7 |
78,58 |
684,18 |
15900 |
|
16000 |
77,07 |
682,93 |
77,35 |
685,41 |
16000 |
|
16100 |
75,86 |
684,14 |
76,14 |
686,62 |
16100 |
|
16200 |
74,68 |
685,32 |
74,95 |
687,81 |
16200 |
|
16300 |
73,51 |
686,49 |
73,77 |
688,99 |
16300 |
|
16400 |
72,36 |
687,64 |
72,62 |
690,14 |
16400 |
|
16500 |
71,22 |
688,78 |
71,48 |
691,28 |
16500 |
|
16600 |
70,11 |
689,89 |
70,36 |
692,4 |
16600 |
|
16700 |
69,01 |
690,99 |
69,26 |
693,5 |
16700 |
|
16800 |
67,93 |
692,07 |
68,18 |
694,58 |
16800 |
|
16900 |
66,87 |
693,13 |
67,11 |
695,65 |
16900 |
|
17000 |
65,82 |
694,18 |
66,06 |
696,7 |
17000 |
|
17100 |
64,79 |
695,91 |
65,02 |
697,74 |
17100 |
|
17200 |
63,78 |
696,22 |
64,01 |
698,75 |
17200 |
|
17300 |
62,78 |
697,22 |
63,01 |
699,75 |
17300 |
|
17400 |
61,79 |
698,21 |
62,02 |
700,74 |
17400 |
|
17500 |
60,83 |
699,17 |
61,05 |
701,71 |
17500 |
|
17600 |
59,88 |
700,12 |
60,09 |
702,67 |
17600 |
|
17700 |
58,94 |
701,06 |
59,15 |
703,61 |
17700 |
|
17800 |
58,21 |
703,79 |
56,42 |
706,34 |
17800 |
|
17900 |
57,11 |
702,89 |
57,32 |
705,44 |
17900 |
|
18000 |
56,21 |
703,79 |
56,42 |
706,34 |
18000 |
|
18100 |
55,53 |
704,67 |
55,53 |
707,23 |
18100 |
|
18200 |
54,47 |
705,53 |
54,66 |
708,1 |
18200 |
|
18300 |
53,62 |
706,38 |
53,81 |
708,95 |
18300 |
|
18400 |
52,78 |
707,22 |
52,97 |
709,79 |
18400 |
|
18500 |
51,95 |
708,05 |
52,14 |
710,92 |
18500 |
|
18600 |
51,14 |
708,86 |
51,32 |
711,44 |
18600 |
|
18700 |
50,34 |
709,66 |
50,52 |
712,24 |
18700 |
|
18800 |
49,55 |
710,45 |
49,73 |
713,03 |
18800 |
|
18900 |
48,77 |
711,23 |
48,95 |
713,81 |
18900 |
|
19000 |
48,01 |
711,99 |
48,18 |
714,58 |
19000 |
|
19100 |
47,26 |
712,74 |
47,43 |
715,33 |
19100 |
|
19200 |
46,52 |
713,48 |
46,69 |
716,07 |
19200 |
|
19300 |
45,79 |
714,21 |
45,95 |
716,8 |
19300 |
|
19400 |
45,07 |
714,93 |
45,24 |
717,52 |
19400 |
|
19500 |
44,37 |
715,63 |
44,53 |
718,23 |
19500 |
|
19600 |
43,67 |
716,33 |
43,83 |
718,93 |
19600 |
|
19800 |
42,32 |
717,68 |
42,47 |
720,29 |
19800 |
|
19900 |
41,65 |
718,35 |
41,81 |
720,95 |
19900 |
|
20000 |
41 |
719 |
41,15 |
721,61 |
20000 |
|
20500 |
37,89 |
722,11 |
38,03 |
724,73 |
20500 |
|
21000 |
35,02 |
724,98 |
35,14 |
727,62 |
21000 |
|
21500 |
32,36 |
727,64 |
32,48 |
730,28 |
21500 |
|
22000 |
29,91 |
730,09 |
30,01 |
732,75 |
22000 |
|
22500 |
27,64 |
732,36 |
27,74 |
735,02 |
22500 |
|
23000 |
25,54 |
734,46 |
25,63 |
737,13 |
23000 |
|
23500 |
23,6 |
736,4 |
23,69 |
739,07 |
23500 |
|
24000 |
21,81 |
738,19 |
21,89 |
740,87 |
24000 |
|
24500 |
20,16 |
739,84 |
20,23 |
742,53 |
24500 |
|
25000 |
18,63 |
741,37 |
18,7 |
744,06 |
25000 |
|
25500 |
17,22 |
748,78 |
17,28 |
745,48 |
25500 |
|
26000 |
15,91 |
744,09 |
15,97 |
746,79 |
26000 |
|
26500 |
14,7 |
745,3 |
14,76 |
748 |
26500 |
|
27000 |
13,59 |
746,41 |
13,64 |
749,12 |
27000 |
|
27500 |
12,56 |
747,44 |
12,6 |
750,16 |
27500 |
|
28000 |
11,6 |
748,4 |
11,65 |
751,11 |
28000 |
|
28500 |
10,72 |
749,28 |
10,76 |
752 |
28500 |
|
29000 |
9,91 |
750,09 |
9,95 |
752,81 |
29000 |
|
29500 |
9,16 |
750,84 |
9,19 |
753,57 |
29500 |
|
30000 |
8,46 |
751,54 |
8,49 |
754,27 |
30000 |
Исследование механических анероидно-манометрических измерителей высоты и вертикальной скорости